WO2016136168A1 - 駆動装置 - Google Patents

駆動装置 Download PDF

Info

Publication number
WO2016136168A1
WO2016136168A1 PCT/JP2016/000712 JP2016000712W WO2016136168A1 WO 2016136168 A1 WO2016136168 A1 WO 2016136168A1 JP 2016000712 W JP2016000712 W JP 2016000712W WO 2016136168 A1 WO2016136168 A1 WO 2016136168A1
Authority
WO
WIPO (PCT)
Prior art keywords
rotation
central axis
protrusion
drive device
peripheral surface
Prior art date
Legal status (The legal status is an assumption and is not a legal conclusion. Google has not performed a legal analysis and makes no representation as to the accuracy of the status listed.)
Ceased
Application number
PCT/JP2016/000712
Other languages
English (en)
French (fr)
Japanese (ja)
Inventor
佐藤 広之
Current Assignee (The listed assignees may be inaccurate. Google has not performed a legal analysis and makes no representation or warranty as to the accuracy of the list.)
Denso Corp
Original Assignee
Denso Corp
Priority date (The priority date is an assumption and is not a legal conclusion. Google has not performed a legal analysis and makes no representation as to the accuracy of the date listed.)
Filing date
Publication date
Application filed by Denso Corp filed Critical Denso Corp
Publication of WO2016136168A1 publication Critical patent/WO2016136168A1/ja
Anticipated expiration legal-status Critical
Ceased legal-status Critical Current

Links

Images

Classifications

    • FMECHANICAL ENGINEERING; LIGHTING; HEATING; WEAPONS; BLASTING
    • F16ENGINEERING ELEMENTS AND UNITS; GENERAL MEASURES FOR PRODUCING AND MAINTAINING EFFECTIVE FUNCTIONING OF MACHINES OR INSTALLATIONS; THERMAL INSULATION IN GENERAL
    • F16HGEARING
    • F16H25/00Gearings comprising primarily only cams, cam-followers and screw-and-nut mechanisms
    • F16H25/18Gearings comprising primarily only cams, cam-followers and screw-and-nut mechanisms for conveying or interconverting oscillating or reciprocating motions
    • F16H25/20Screw mechanisms

Definitions

  • the present disclosure relates to a drive device that drives a door member.
  • the air conditioner is provided with a door member for switching the flow path through which air passes.
  • a door member for example, there is a member (air mix door) that adjusts the temperature of air by changing the amount of air passing through a heater.
  • a door for switching between a flow path of air blown toward the driver's upper body and a flow path of air blown toward the driver's feet There are parts.
  • the air conditioner is often provided with a driving device that drives the door member by the driving force of a motor (rotating electric machine) so that the flow path is switched automatically instead of manually.
  • a drive device has a structure having a speed reduction mechanism in addition to the motor.
  • the deceleration mechanism is a mechanism for converting the rotation of the rotating shaft of the motor into an opening / closing operation of the door member.
  • the driving force of the motor is decelerated by the deceleration mechanism and the torque is increased and transmitted to the door member.
  • Patent Document 1 proposes a drive device having a structure in which a speed reduction mechanism is housed inside a cylindrical portion (shaft) serving as a rotating shaft among door members of a rotating door.
  • the drive device includes a first screw connected to the rotating shaft of the motor, and a second screw disposed away from the first screw along the axial direction of the rotating shaft.
  • the drive device further includes a slider having one end screwed into the first screw and the other end screwed into the second screw.
  • the reduction mechanism as described above for converting the rotational movement of the rotating shaft of the motor into the opening / closing operation of the door member is provided inside the columnar portion serving as the rotating shaft of the door member. It has a stored configuration. For this reason, for example, as compared with a configuration in which the speed reduction mechanism is disposed outside the space (air flow path) in which the door member is accommodated, the entire drive device including the speed reduction mechanism can be reduced in size.
  • the conversion mechanism for converting the rotational motion of the first screw into the linear motion of the slider, and the linear motion of the slider are converted to the second screw.
  • a conversion mechanism for converting into the rotational motion of the motor are arranged so as to be spaced apart from each other along the central axis of the rotation shaft of the motor. For this reason, it has been difficult to further reduce the size by reducing the dimension in the direction along the central axis.
  • the first screw and the second screw need to be arranged so that their central axes coincide with each other.
  • these are configured as separate parts, there is a possibility that the respective central axes may be displaced due to variations during assembly. As a result, the linear motion of the slider is hindered, and the operation accuracy (positioning accuracy) of the door member may be deteriorated.
  • the present disclosure has been made in view of such problems, and an object of the present disclosure is to provide a driving device that can further reduce the size of the whole without deteriorating the operation accuracy of the door member.
  • the drive device drives the door member.
  • the drive device includes a motor, a first member, a second member, a third member, a first conversion mechanism, and a second conversion mechanism.
  • the motor has a rotating shaft.
  • the first member has a rod shape and rotates together with the rotation shaft.
  • the second member is disposed so as to surround at least a part of the first member from the outside.
  • the third member is disposed so as to surround at least a part of the second member from the outside.
  • the first conversion mechanism moves the second member in a direction along the central axis by the rotation of the first member around the central axis of the rotary shaft, and moves the second member at a rotation speed slower than the rotation speed of the first member. Rotate around the center axis.
  • the second conversion mechanism rotates the third member around the central axis by the rotation of the second member around the central axis.
  • the door member is driven in conjunction with the rotational movement of the third member.
  • the rotational movement of the first member is converted into the movement of the second member by the first conversion mechanism.
  • the second member rotates around the central axis at a rotational speed slower than the rotational speed of the first member while moving in the direction along the central axis.
  • the movement of the second member is converted into the movement of the third member by the second conversion mechanism.
  • the third member rotates around the central axis similarly to the second member.
  • the door member is driven in conjunction with the rotational movement of the third member.
  • the first member, the second member, and the third member are arranged in this order from the central axis of the motor toward the outside.
  • the first conversion mechanism and the second conversion mechanism do not need to be spaced apart from each other along the central axis of the motor. Can be placed. For this reason, the dimension along the central axis of the motor can be shortened.
  • the second member is disposed so as to surround at least a part of the first member from the outside
  • the third member is disposed so as to surround at least a part of the second member from the outside.
  • the main components of the driving device are not arranged so as to be divided into a plurality along the central axis of the motor. For this reason, it is prevented that the position of several components shifts
  • FIG. 1 It is a perspective view which shows the drive device which concerns on 1st Embodiment. It is a figure which shows typically the internal structure of the drive device shown by FIG. It is a figure which shows the slider of the drive device shown by FIG. It is a figure which shows the shape of the groove
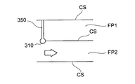
  • the drive device 10 forms part of the vehicle air conditioner, and is housed in a casing CS that divides the air flow path, as shown in FIG.
  • the driving device 10 is a device for driving the door member 350 for regulating the air flow and changing the air flow.
  • the door member 350 to be driven is formed integrally with a component (a door shaft 310 described later) constituting the driving device 10.
  • a plurality of flow paths through which air passes are formed. Specifically, as shown in FIGS. 9A and 9B, an upper flow path FP1 and a lower flow path FP2 are formed.
  • the flow path FP1 is a flow path for guiding air so that air from a blower (not shown) arranged on the upstream side (left side in FIGS. 9A and 9B) is blown out toward the upper body of the driver. is there.
  • the flow path FP2 is a flow path for guiding the air so that the air from the blower is blown out toward the driver's feet. 9A and 9B, the air from the blower flows from the left side to the right side in any flow path.
  • FIG. 9A shows a state in which air is blown out toward the driver's feet, that is, a state in which the air blowing is switched to the “FOOT side” by the driver's operation.
  • the entire entrance of the flow path FP1 is closed by the door member 350.
  • the air from the blower does not flow into the flow path FP1, but flows into the flow path FP2 and is supplied to the driver's feet through the flow path FP2.
  • FIG. 9B shows a state in which air is blown out toward the upper body of the driver, that is, a state in which the air blowing is switched to “FACE side” by the driver's operation.
  • the entire inlet of the flow path FP2 is closed by the door member 350.
  • the air from the blower does not flow into the flow path FP2, but flows into the flow path FP1 and is supplied to the upper body side of the driver through the flow path FP1.
  • Switching between the state shown in FIG. 9A and the state shown in FIG. 9B is performed by driving the door member 350 by the driving device 10. Specifically, the state is switched by rotating the door member 350 around the central axis of the door shaft 310 (third member).
  • the position of the door member 350 (rotation angle in the present embodiment) is changed by the driving device 10, and the flow path through which the air flows is switched from the FOOT side to the FACE side or from the FACE side to the FOOT side.
  • the drive device 10 can be applied not only to the flow path switching mechanism as shown in FIGS. 9A and 9B but also to various types of conventionally known flow path switching mechanisms (for example, air mix doors). .
  • FIGS. 9A and 9B can be applied not only to the flow path switching mechanism as shown in FIGS. 9A and 9B but also to various types of conventionally known flow path switching mechanisms (for example, air mix doors). .
  • FIGS. 9A and 9B for example, air mix doors
  • the drive device 10 includes a motor M, a motor folder 400, a screw 100 (first member), a slider 200 (second member), and a rotary door 300. Almost the entire drive device 10 is disposed inside the casing CS (a flow path through which air passes).
  • FIG. 1 shows a state in which a part (front side portion) of each of the slider 200, the rotary door 300, and the motor folder 400 is cut so that the internal structure of the driving device 10 is clarified. Yes.
  • FIG. 2 shows a state in which the normal direction of the main surface of the door member 350 is horizontal because the door member 350 is rotated so that the overall shape of the door member 350 is shown in cross section.
  • the motor M is a rotating electric machine having a substantially cylindrical housing.
  • the motor M is a source of driving force necessary for opening and closing the door member 350.
  • the motor M is fixed to the inner surface of the casing CS in a state where the rotation axis MX is directed in the horizontal direction and toward the inside of the casing CS. Specifically, it is fixed to the casing CS via the motor folder 400 while being held and fixed in a motor folder 400 described later.
  • the rotation axis MX is rotated around its central axis (central axis CA) by the driving force of the motor M.
  • the motor M is a DC motor.
  • the motor M is not necessarily a DC motor, and various rotating electrical machines having a rotating shaft (output shaft) such as a step motor and a brushless motor can be employed.
  • the drive device 10 is a part of an automotive air conditioner, it is desirable that the motor M has a specification that operates by supplying 12V or 24V power.
  • the x-axis is set with the x direction being the direction from the motor M toward the revolving door 300 along the central axis CA.
  • the y axis is set with the y direction being the horizontal direction and the direction perpendicular to the x direction.
  • the z-axis is set with the direction going vertically upward as the z direction.
  • the x axis, the y axis, and the z axis are similarly set.
  • the motor folder 400 is a member for holding the motor M.
  • the motor folder 400 is formed in a substantially cylindrical shape, and is arranged in a state where the central axis thereof coincides with the central axis CA of the rotation axis MX.
  • the motor folder 400 has a large diameter part 410 and a small diameter part 420 (fourth member).
  • the large diameter portion 410 is a portion of the motor folder 400 on the ⁇ x direction side.
  • the inner diameter of the large diameter portion 410 is substantially the same as the outer diameter of the casing of the motor M.
  • the housing of the motor M is fixed to the large diameter portion 410 with the entire outer peripheral surface thereof being in contact with the inner peripheral surface of the large diameter portion 410.
  • a fixing method of the motor M various fixing methods can be adopted.
  • a plurality of protrusions may be formed on the inner peripheral surface of the large diameter portion 410, and only the tips of the protrusions may be in contact with the housing of the motor M.
  • the vicinity of the end portion on the ⁇ x direction side of the large diameter portion 410 is inserted into a circular through hole formed in the wall surface of the casing CS and fixed to the casing CS.
  • the casing of the motor M is fixed to the casing CS via the large diameter portion 410 of the motor folder 400. For this reason, the housing of the motor M is prevented from sliding in the x direction and rotating around the central axis CA.
  • the small diameter portion 420 is a portion of the motor folder 400 on the x direction side.
  • the inner diameter of the small diameter portion 420 is smaller than the inner diameter of the large diameter portion 410 and slightly larger than the outer diameter of the slider 200.
  • Three grooves 422 are formed on the inner peripheral surface 440 of the small diameter portion 420 so as to surround the central axis CA in a spiral shape. Note that the number of the grooves 422 need not be limited to three, and a plurality of four or more grooves 422 may be formed at equal intervals. One or two grooves 422 may be formed.
  • these grooves 422 guide the movement of the slider 200 when the motor M is driven. That is, the motor folder 400 has both a function of holding the motor M and fixing it to the casing CS and a function of guiding the movement of the slider 200.
  • the internal space of the small diameter portion 420 is also referred to as “internal space 421”.
  • the motor folder 400 is formed by resin molding.
  • the motor folder 400 may be formed integrally with the casing CS. Further, the motor folder 400 having a shape as shown in FIG. 2 may be integrally formed with the housing of the motor M. In this case, the motor folder 400 (formed integrally) and the motor M are fixed to the casing CS.
  • the screw 100 is a rod-shaped (columnar) member having one end fixed to the rotation shaft MX.
  • the screw 100 is arranged in a state in which the central axis thereof coincides with the central axis CA of the rotation axis MX.
  • a recess (not shown) is formed on the end surface of the screw 100 on the side opposite to the motor M.
  • a projection HP formed on the casing CS is accommodated in the recess.
  • the screw 100 is held in a rotatable state by the protrusion HP.
  • the configuration for holding the screw 100 is not limited to this, and various configurations can be adopted.
  • a cylindrical bearing portion formed on the inner surface (surface on the screw 100 side) of the casing CS may support the screw 100 from the outer peripheral side (the outer side in the radial direction of the screw 100).
  • a screw-shaped protrusion 110 is formed on substantially the entire outer peripheral surface of the screw 100.
  • the screw 100 is formed by resin molding, but the screw 100 may be a metal part.
  • the slider 200 is a substantially cylindrical member, and is arranged in a state where the central axis thereof coincides with the central axis CA of the rotation axis MX.
  • the inner diameter of the slider 200 is substantially equal to the outer diameter of the screw 100.
  • a spiral groove 210 is formed on the inner peripheral surface of the slider 200.
  • a screw 100 is inserted through the slider 200, and the protrusion 110 of the screw 100 and the groove 210 of the slider 200 are screwed together.
  • the shapes of the screw 100 and the slider 200 are not formed as described above. If the rotation of the screw 100 can be converted into the smooth linear movement (movement in the direction along the central axis CA) of the slider 200 when the screw 100 rotates around the central axis CA, various configurations are adopted. obtain.
  • a columnar protrusion formed on the surface of the screw 100 may be accommodated in a spiral groove formed on the inner surface of the slider 200.
  • a screw-like protrusion 210 a is formed on the inner peripheral surface of the slider 200, and a spiral groove 110 a that is screwed with the protrusion 210 a is formed on the outer peripheral surface of the screw 100. good.
  • the groove 110 a of the screw 100 receives the protrusion 210 a of the slider 200.
  • the slider 200 is formed by resin molding, but the slider 200 may be a metal part.
  • protrusions 220 that protrude outward are formed in the vicinity of the end on the ⁇ x direction side of the outer peripheral surface of the slider 200.
  • the protrusions 220 are arranged so as to be equally spaced from each other when viewed along the x-axis. That is, the three straight lines connecting the central axis CA and the respective protrusions 220 are arranged at positions where they intersect each other at an angle of 120 degrees.
  • each projection 220 is accommodated in each of three grooves 422 formed on the inner peripheral surface 440 of the small diameter portion 420.
  • the respective grooves 422 are formed at positions where the respective protrusions 220 arranged as shown in FIG. 3 are accommodated.
  • the small-diameter portion 420 has a protrusion 422 a (rotation protrusion) that protrudes from the inner peripheral surface 440, and three grooves 220 a (for rotation) extending spirally on the outer peripheral surface of the slider 200 Groove) may be formed.
  • the groove 220a receives the protrusion 422a.
  • the number of the grooves 422 (grooves 220a) is not necessarily limited to three, and four or more or two or less (that is, a single or plural) grooves 422 may be formed.
  • the same number of protrusions 220 as the number of grooves 422 are formed on the outer peripheral surface of the slider 200 at positions corresponding to the grooves 422.
  • the grooves 422 and the protrusions 220 are desirably arranged at equal intervals, but may not be equally spaced.
  • FIG. 4 is a diagram showing the shape and arrangement of the groove 422 formed in the inner peripheral surface 440 of the small diameter portion 420.
  • FIG. 4 shows the entire inner peripheral surface 440 (which is a cylindrical curved surface) developed and drawn. The upper side and the lower side in FIG. 4 are actually connected. The same applies to FIGS. 6 and 7 used for later description.
  • the three grooves 422 formed on the inner peripheral surface 440 are arranged in parallel with each other at equal intervals.
  • Each of the grooves 422 is formed such that the angle formed by the longitudinal direction with respect to the central axis CA is ⁇ 1.
  • the slider 200 is guided so that the protrusion 220 moves along the groove 422. For this reason, the slider 200 rotates around the central axis CA while moving in a direction along the central axis CA. At this time, the rotation speed of the slider 200 is smaller than the rotation speed of the screw 100. In other words, the slider 200 rotates around the central axis CA at a rotational speed that is slower than the rotational speed of the screw 100.
  • the movement of the slider 200 as described above is shown, and is hereinafter also referred to as “translational rotation”.
  • the protrusion 110 (the groove 110a) and the groove 210 (the protrusion 210a) are screwed together, and the protrusion 220 (the protrusion 422a) is accommodated in the groove 422 (the groove 220a).
  • the rotational motion of the screw 100 is converted into the translational rotational motion of the slider 200.
  • the protrusion 110, the groove 210, the protrusion 220, and the groove 422 correspond to the “first conversion mechanism” of the present disclosure.
  • the rotary door 300 includes a door shaft 310 and a door member 350, which are integrally formed by resin molding.
  • the door shaft 310 is a portion formed in a substantially cylindrical shape, and is arranged in a state where the central axis thereof coincides with the central axis CA of the rotation axis MX.
  • the door shaft 310 surrounds substantially the entire screw 100 from the outside.
  • the door shaft 310 includes a first portion and a second portion.
  • the first portion is a portion surrounding the small diameter portion 420 of the motor folder 400 from the outside, and indicates a portion on the ⁇ x direction side from the dotted line DL1 in FIG.
  • the inner diameter of the first portion of the door shaft 310 is slightly larger than the outer diameter of the small diameter portion 420.
  • the second portion is a portion further on the x direction side than the end portion on the x direction side of the small diameter portion 420, and indicates a portion on the x direction side with respect to the dotted line DL1 in FIG.
  • the inner diameter of the second portion of the door shaft 310 is slightly larger than the outer diameter of the slider 200.
  • the inner peripheral surface of the second portion of the door shaft 310 is also referred to as an “inner peripheral surface 340”.
  • an internal space of the door shaft 310 a space defined by the first portion and accommodating the small diameter portion 420 is also referred to as an “internal space 311” below.
  • the space defined by the second portion of the internal space of the door shaft 310 is hereinafter also referred to as “internal space 312”.
  • part of the slider 200 is always arranged in the internal space 312 of the door shaft 310.
  • Three protrusions 230 (drive protrusions) that protrude outward are formed in the vicinity of the end on the x-direction side of the outer peripheral surface of the slider 200. Similar to the protrusions 220 described with reference to FIG. 3, the protrusions 230 are arranged at equal intervals when viewed along the x-axis. That is, the three straight lines connecting the central axis CA and the respective protrusions 230 are arranged at positions that intersect each other at an angle of 120 degrees.
  • each protrusion 230 is housed in each of these grooves 313.
  • each groove 313 is formed in the inner peripheral surface 340 at a position where each projection 230 arranged as shown in FIG. 3 is accommodated.
  • the door shaft 310 has a protrusion 313 a (drive protrusion) protruding from the inner peripheral surface 340, and a groove 230 a (on the outer peripheral surface of the slider 200 extends along the central axis.
  • Three driving grooves may be formed. In this case, the groove 230a receives the protrusion 313a.
  • the number of grooves 313 need not be limited to three, and four or more or two or less (that is, a single or plural) grooves 313 may be formed.
  • the number of protrusions 230 need not be limited to three, and four or more or two or less protrusions 230 may be formed.
  • the same number of protrusions 230 as the number of grooves 313 are formed on the outer peripheral surface of the slider 200 at positions corresponding to the grooves 313.
  • the grooves 313 and the protrusions 230 are desirably arranged at equal intervals, but may not be equally spaced.
  • FIG. 5 is a view showing the shape and arrangement of the groove 313 formed in the inner peripheral surface 340 of the door shaft 310.
  • FIG. 5 shows the entire inner peripheral surface 340 (which is a cylindrical curved surface) developed. The upper side and the lower side in FIG. 5 are actually connected.
  • each groove 313 formed on the inner peripheral surface 340 are arranged in parallel with each other at equal intervals.
  • each groove 313 is formed such that the angle formed by the longitudinal direction with respect to the central axis CA is zero. That is, the longitudinal direction of each groove 313 is parallel to the central axis CA (x axis).
  • each protrusion 230 of the slider 200 rotates around the central axis CA while moving in the direction along the central axis CA. For this reason, a force is applied by the protrusion 230 to the inner surface of the groove 313 in which the protrusion 230 is accommodated.
  • the door shaft 310 rotates around the central axis CA by the force.
  • the force applied to the inner surface of the groove 313 by the protrusion 230 is a force (rotational force) that rotates the door shaft 310 around the central axis CA. It becomes only. In other words, a force (straight forward force) that moves the door shaft 310 in the direction along the central axis CA is not applied to the door shaft 310.
  • the translational rotation motion of the slider 200 is converted into the rotation motion of the door shaft 310 (the rotation door 300) by accommodating the protrusion 230 in the linearly formed groove 313.
  • Each protrusion 230 and the groove 313 correspond to the “second conversion mechanism” of the present disclosure.
  • the door member 350 is a member for switching the flow path through which air flows in the air conditioner, as already described with reference to FIGS. 9A and 9B.
  • the door member 350 is a substantially rectangular plate-like body, and is formed so as to extend outward from the outer peripheral surface of the door shaft 310. Further, a boundary portion between the door member 350 and the door shaft 310 extends over substantially the entire door shaft 310 along the x axis.
  • the rotation of the rotation shaft MX of the motor M is transmitted to the door member 350 via two mechanisms (a first conversion mechanism and a second conversion mechanism). Specifically, the rotation of the rotation axis MX is decelerated by the first conversion mechanism, and the slider 200 is translated and rotated. Of this translational rotary motion, only the rotary motion around the central axis CA is transmitted to the door member 350 by the second conversion mechanism.
  • the range in which the first conversion mechanism is arranged (screw 100 and slider 200) and the range in which the second conversion mechanism is arranged (slider 200 and door shaft 310) are along the x direction. Are not separated from each other and overlap along the x-axis. It can also be said that the first conversion mechanism and the second conversion mechanism are arranged so as to overlap each other along the radial direction of the door shaft 310.
  • the first conversion mechanism and the second conversion mechanism are arranged in this way, it is possible to shorten the overall dimensions of the drive device 10 along the x-axis. In other words, even if the internal dimension of the flow path is small, substantially the entire drive device 10 can be accommodated in the flow path.
  • the slider 200 is disposed so as to surround the screw 100 from the outside, and the door shaft 310 is disposed so as to surround the slider 200 from the outside. Further, the small diameter portion 420 of the motor folder 400 surrounds the slider 200 from the outside and is surrounded by the door shaft 310 from the outside.
  • the main components of the drive device 10 are not arranged so as to be divided into a plurality along the central axis CA, but are arranged so as to overlap each other in the radial direction (direction perpendicular to the central axis CA). ing. For this reason, it is prevented that the position of a some component shifts
  • the rotation angle (that is, the opening) of the door member 350 changes accordingly.
  • the motor M is not driven, changing the opening degree of the door member 350 is undesirable because it causes a change in the flow rate of air passing through the casing CS.
  • the groove 313 is not spiral, but is formed in a straight line along the central axis CA. Therefore, even if the door member 350 moves in the thrust direction due to the backlash, no force in the rotational direction is applied to the inner wall surface of the groove 313, and the door member 350 rotates around the central axis CA. There is no end to it. In the present embodiment, it is possible to maintain the opening degree of the door member 350 with high accuracy while allowing the backlash to occur in the thrust direction.
  • a groove 422 for guiding the movement of the slider 200 is formed in the small diameter portion 420 of the motor folder 400.
  • the motor folder 400 may have only a function of holding the motor M, and the movement of the slider 200 may be guided by a member different from the motor folder 400.
  • a part of the casing CS may extend along the outer peripheral surface of the slider 200, and a groove (corresponding to the groove 422) that houses the protrusion 220 may be formed in a part of the casing CS.
  • door shaft 310 and the door member 350 may not be integrally formed, but may be connected to each other after being formed as separate parts.
  • the number of protrusions 220 may not be three.
  • the number of the protrusions 220 may be four. In this case, it is desirable that the four straight lines connecting the central axis CA and the respective protrusions 220 intersect with each other at an angle of 90 degrees.
  • protrusion 220 only one protrusion 220 may be formed. However, in this case, the protrusion 220 is pressed against the inner surface of the groove 422 with a strong force. It is also conceivable that the force that the slider 200 receives from the entire small-diameter portion 420 acts in a direction in which the central axis of the slider 200 and the central axis of the small-diameter portion 420 are shifted. In view of this point, it is desirable that the plurality of protrusions 220 are arranged at equal intervals from each other as in the present embodiment.
  • the number of the protrusions 230 is not necessarily limited to three, and only one protrusion 230 may be formed. However, for the same reason as described above, it is desirable that the plurality of protrusions 230 are arranged at equal intervals.
  • the entire slider 200 (along the x-axis) is surrounded by the door shaft 310 from the outside.
  • only a part of the slider 200 (along the x-axis) may be surrounded from the outside by the door shaft 310.
  • the three grooves 422 formed on the inner peripheral surface 440 of the small diameter portion 420 are all formed in a uniform spiral shape (see FIG. 4). That is, when the inner peripheral surface 440 is developed and drawn as shown in FIG. 4, each groove 422 is linear and is inclined at a constant angle ( ⁇ 1) with respect to the central axis CA. .
  • each groove 422 along the x-axis may be formed in a straight line extending along the central axis CA.
  • FIG. 6 shows the entire inner peripheral surface 440 in a modified example in the same manner as in FIG. The upper side and the lower side in FIG. 6 are actually connected.
  • the groove 422 extends along the central axis CA in a part of the range along the x axis (between the dotted line DL3 and the dotted line DL4).
  • the portion on the ⁇ x direction side from the dotted line DL3 and the portion on the x direction side from the dotted line DL4 are constant with respect to the central axis CA as shown in FIG. Is inclined at an angle of
  • the rotation of the slider 200 around the central axis CA temporarily stops and then starts to rotate again. Specifically, the rotation of the slider 200 stops while the protrusion 220 is located between the dotted line DL3 and the dotted line DL4.
  • the groove 422 extends along the central axis CA in a partial range along the x axis (between the dotted line DL5 and the dotted line DL6). Further, in the range on the ⁇ x direction side from the dotted line DL5 and the range on the x direction side from the dotted line DL6, the groove 422 is formed to have a spiral shape in the opposite direction.
  • the rotation of the slider 200 temporarily stops and then starts to rotate in the opposite direction to the original. Specifically, the rotation of the slider 200 stops while the protrusion 220 is between the dotted line DL5 and the dotted line DL6.
  • the door shaft 310 and the door member 350 can be operated in various operation patterns by appropriately changing the shape of the groove 422.
  • the object driven by the driving device 10 is a revolving door
  • the present disclosure can also be applied to a driving device for driving the sliding door.
  • FIG. 8 is a diagram schematically illustrating a part of the drive device 11 according to the second embodiment.
  • the drive device 11 is different from the drive device 10 in that the object to be driven is a sliding door 700 instead of a rotary door, and the shape of the door shaft.
  • the other points of the driving device 11 are the same as those of the driving device 10.
  • the door shaft of the driving device 11 is referred to as “door shaft 310A”.
  • the door shaft 310A has a configuration in which the door member 350 is removed from the rotary door 300 of the driving device 10 (only the door shaft 310 is provided), and gears 361 and 362 are formed on the outer peripheral surface of the door shaft 310 of the driving device 10.
  • the gear 361 is formed to make one round along the circumferential direction in the vicinity of the end on the ⁇ x direction side of the outer peripheral surface of the door shaft 310A.
  • the gear 362 is formed so as to make one round along the circumferential direction in the vicinity of the end on the x-direction side of the outer peripheral surface of the door shaft 310A.
  • the sliding door 700 to be driven is a rectangular flat plate formed so that its dimension along the x-axis is the same as the length of the door shaft 310A.
  • the slide door 700 is disposed in a state where one main surface 701 is in contact with or close to the outer peripheral surface of the door shaft 310A.
  • a gear 761 (rack gear) is formed along the y axis in the vicinity of the end on the ⁇ x direction side of the main surface 701.
  • the gear 761 meshes with a gear 361 formed on the door shaft 310A.
  • a gear 762 (rack gear) is formed along the y axis in the vicinity of the end on the x direction side of the main surface 701.
  • the gear 762 meshes with a gear 362 formed on the door shaft 310A.
  • the door shaft 310A rotates around the central axis CA by the same mechanism as that of the driving device 10.
  • the slide door 700 receives a force from the door shaft 310A at the gears 761 and 762 and moves along the y-axis. That is, the opening / closing operation of the slide door 700 is performed.
  • the drive target of the drive device according to the present disclosure is not limited to the revolving door, and various types of doors can be driven.

Landscapes

  • Engineering & Computer Science (AREA)
  • General Engineering & Computer Science (AREA)
  • Mechanical Engineering (AREA)
  • Transmission Devices (AREA)
  • Air-Conditioning For Vehicles (AREA)
  • Power-Operated Mechanisms For Wings (AREA)
PCT/JP2016/000712 2015-02-24 2016-02-11 駆動装置 Ceased WO2016136168A1 (ja)

Applications Claiming Priority (2)

Application Number Priority Date Filing Date Title
JP2015033661A JP6511853B2 (ja) 2015-02-24 2015-02-24 駆動装置
JP2015-033661 2015-02-24

Publications (1)

Publication Number Publication Date
WO2016136168A1 true WO2016136168A1 (ja) 2016-09-01

Family

ID=56789220

Family Applications (1)

Application Number Title Priority Date Filing Date
PCT/JP2016/000712 Ceased WO2016136168A1 (ja) 2015-02-24 2016-02-11 駆動装置

Country Status (2)

Country Link
JP (1) JP6511853B2 (enExample)
WO (1) WO2016136168A1 (enExample)

Families Citing this family (3)

* Cited by examiner, † Cited by third party
Publication number Priority date Publication date Assignee Title
JP2018076926A (ja) * 2016-11-10 2018-05-17 日本電産コパル株式会社 減速装置及び減速機付きモータ並びに電子機器
JP7285738B2 (ja) * 2019-08-28 2023-06-02 ニデックプレシジョン株式会社 ギヤドモータ
CN114179593B (zh) * 2022-02-16 2022-04-29 河南新飞电器集团有限公司 车载方舱用冷藏冷冻制冷空调机组

Citations (4)

* Cited by examiner, † Cited by third party
Publication number Priority date Publication date Assignee Title
JPS5833429B2 (ja) * 1971-12-01 1983-07-19 サンドストランド コ−ポレ−シヨン ドウリヨクサドウガタピボツトツギテ
JPS60263763A (ja) * 1984-06-11 1985-12-27 Maezawa Kogyo Kk 減速機
JPH08200465A (ja) * 1995-01-25 1996-08-06 Akebono Brake Res & Dev Center Ltd 微小送り機構
JP2011085172A (ja) * 2009-10-14 2011-04-28 Mitsubishi Electric Corp 回転弁減速機構

Patent Citations (4)

* Cited by examiner, † Cited by third party
Publication number Priority date Publication date Assignee Title
JPS5833429B2 (ja) * 1971-12-01 1983-07-19 サンドストランド コ−ポレ−シヨン ドウリヨクサドウガタピボツトツギテ
JPS60263763A (ja) * 1984-06-11 1985-12-27 Maezawa Kogyo Kk 減速機
JPH08200465A (ja) * 1995-01-25 1996-08-06 Akebono Brake Res & Dev Center Ltd 微小送り機構
JP2011085172A (ja) * 2009-10-14 2011-04-28 Mitsubishi Electric Corp 回転弁減速機構

Also Published As

Publication number Publication date
JP2016156422A (ja) 2016-09-01
JP6511853B2 (ja) 2019-05-15

Similar Documents

Publication Publication Date Title
US10359037B2 (en) Peristaltic pump having adjustable roller guiding parts
JP5252279B2 (ja) ボールねじ機構
CN108027028B (zh) 致动器
JP6670179B2 (ja) 進退移動装置
WO2016136168A1 (ja) 駆動装置
KR20160002986A (ko) 나사형 로드를 구비하는 전기 액추에이터
US9320161B2 (en) On-vehicle electronic device
JP2020517870A (ja) サーボシリンダー
WO2012026369A1 (ja) 車両用空気調和装置
WO2014203480A1 (ja) 送風機
CN219583897U (zh) 一种空调模块
JP2011507019A (ja) 光学部品の位置調整装置および位置調整方法
JP6375848B2 (ja) 駆動装置
JP2006010246A (ja) 空気通路開閉装置
JP4222240B2 (ja) 制御ドア駆動装置
JP5148940B2 (ja) 減速装置
KR20090007211A (ko) 이중 케이블을 가진 회전 제어 조립체
KR101511121B1 (ko) 콤팩트형 회전장치
KR101804748B1 (ko) 자동차 헤드 램프용 액츄에이터
CN109253575B (zh) 风门装置
US11867278B1 (en) Planetary gear device
JP5981826B2 (ja) 工具径可変型主軸装置
JP2019085865A (ja) 車両用ドア開閉装置
JP2019084972A (ja) 車両用ドア開閉装置
KR101804163B1 (ko) 자동차 헤드 램프용 액츄에이터

Legal Events

Date Code Title Description
121 Ep: the epo has been informed by wipo that ep was designated in this application

Ref document number: 16754923

Country of ref document: EP

Kind code of ref document: A1

NENP Non-entry into the national phase

Ref country code: DE

122 Ep: pct application non-entry in european phase

Ref document number: 16754923

Country of ref document: EP

Kind code of ref document: A1