WO2016136006A1 - 射出成形装置及び連結成形品 - Google Patents

射出成形装置及び連結成形品 Download PDF

Info

Publication number
WO2016136006A1
WO2016136006A1 PCT/JP2015/075689 JP2015075689W WO2016136006A1 WO 2016136006 A1 WO2016136006 A1 WO 2016136006A1 JP 2015075689 W JP2015075689 W JP 2015075689W WO 2016136006 A1 WO2016136006 A1 WO 2016136006A1
Authority
WO
WIPO (PCT)
Prior art keywords
hollow body
cavity
box
engaging portion
injection molding
Prior art date
Legal status (The legal status is an assumption and is not a legal conclusion. Google has not performed a legal analysis and makes no representation as to the accuracy of the status listed.)
Ceased
Application number
PCT/JP2015/075689
Other languages
English (en)
French (fr)
Japanese (ja)
Inventor
秀彰 酒井
曽根 靖博
邦弘 岩田
Current Assignee (The listed assignees may be inaccurate. Google has not performed a legal analysis and makes no representation or warranty as to the accuracy of the list.)
Toyoda Iron Works Co Ltd
Original Assignee
Toyoda Iron Works Co Ltd
Priority date (The priority date is an assumption and is not a legal conclusion. Google has not performed a legal analysis and makes no representation as to the accuracy of the date listed.)
Filing date
Publication date
Application filed by Toyoda Iron Works Co Ltd filed Critical Toyoda Iron Works Co Ltd
Publication of WO2016136006A1 publication Critical patent/WO2016136006A1/ja
Anticipated expiration legal-status Critical
Ceased legal-status Critical Current

Links

Images

Classifications

    • BPERFORMING OPERATIONS; TRANSPORTING
    • B29WORKING OF PLASTICS; WORKING OF SUBSTANCES IN A PLASTIC STATE IN GENERAL
    • B29CSHAPING OR JOINING OF PLASTICS; SHAPING OF MATERIAL IN A PLASTIC STATE, NOT OTHERWISE PROVIDED FOR; AFTER-TREATMENT OF THE SHAPED PRODUCTS, e.g. REPAIRING
    • B29C45/00Injection moulding, i.e. forcing the required volume of moulding material through a nozzle into a closed mould; Apparatus therefor
    • B29C45/17Component parts, details or accessories; Auxiliary operations
    • B29C45/26Moulds
    • B29C45/33Moulds having transversely, e.g. radially, movable mould parts
    • BPERFORMING OPERATIONS; TRANSPORTING
    • B29WORKING OF PLASTICS; WORKING OF SUBSTANCES IN A PLASTIC STATE IN GENERAL
    • B29CSHAPING OR JOINING OF PLASTICS; SHAPING OF MATERIAL IN A PLASTIC STATE, NOT OTHERWISE PROVIDED FOR; AFTER-TREATMENT OF THE SHAPED PRODUCTS, e.g. REPAIRING
    • B29C45/00Injection moulding, i.e. forcing the required volume of moulding material through a nozzle into a closed mould; Apparatus therefor
    • B29C45/17Component parts, details or accessories; Auxiliary operations
    • B29C45/26Moulds
    • B29C45/37Mould cavity walls, i.e. the inner surface forming the mould cavity, e.g. linings
    • BPERFORMING OPERATIONS; TRANSPORTING
    • B29WORKING OF PLASTICS; WORKING OF SUBSTANCES IN A PLASTIC STATE IN GENERAL
    • B29CSHAPING OR JOINING OF PLASTICS; SHAPING OF MATERIAL IN A PLASTIC STATE, NOT OTHERWISE PROVIDED FOR; AFTER-TREATMENT OF THE SHAPED PRODUCTS, e.g. REPAIRING
    • B29C45/00Injection moulding, i.e. forcing the required volume of moulding material through a nozzle into a closed mould; Apparatus therefor
    • B29C2045/0087Injection moulding, i.e. forcing the required volume of moulding material through a nozzle into a closed mould; Apparatus therefor making hollow articles using a floating core movable in the mould cavity by fluid pressure and expelling molten excess material

Definitions

  • the present invention relates to an injection molding apparatus for manufacturing a connected molded product formed by connecting a pipe-shaped hollow body and a box having an open surface through a hinge, and a connected molded product manufactured by the injection molding apparatus. Is.
  • Patent Document 1 Conventionally, as a technique related to the above-described injection molding apparatus, for example, there is a method for manufacturing a hollow body described in Patent Document 1 below.
  • a pipe-shaped hollow body is manufactured by an injection molding method.
  • a molten thermoplastic resin in an amount larger than the required amount required for forming the hollow body is injected into the mold cavity corresponding to the outer shape of the hollow body.
  • a floating core of a size that can pass through the mold cavity is pushed by the pressurized fluid from the pressurized port of the cavity to move along the mold cavity through the molten resin in the mold cavity to the outlet of the mold cavity. Let Then, the pressure of the pressurized fluid is maintained until the entire molten resin adhering to the inner wall of the mold cavity is solidified in the mold cavity.
  • the floating core moves in the molten resin in the mold cavity, so that a good cavity portion is formed while being injection molded. Furthermore, since the resin is pressed against the mold cavity by applying pressure from the cavity, the surface state of the molded product (hollow body) is smooth, and there is no sink or warp.
  • the present invention has been made in view of the above-described points, and when forming a connection molded product formed by connecting a pipe-shaped hollow body and a box body having one open surface via a hinge, It is an object of the present invention to provide an injection molding apparatus and a connected molded product that can prevent a part from remaining inside the box body and omit a cutting step of cutting a part of the hollow body.
  • an injection molding apparatus includes a hollow body cavity for forming a pipe-like hollow body, a box body cavity for forming a box body with one surface open, and the hollow body and the box body connected to each other.
  • the hollow body cavity, the box body cavity, and the hinge cavity have a hinge cavity for forming a hinge, and the hollow body is fired from a mold that is communicated with each other and a launch base disposed at one end of the hollow body cavity.
  • a floating core that moves through the resin filled in the cavity and extrudes the resin to form a hollow body.
  • the hollow body is formed by the cooperation of the launch base and the floating core.
  • a first cavity that molds the first engaging portion at one end and a second engaging portion that engages with the first engaging portion are formed at one end of the box cavity. Second that a cavity characterized by.
  • An injection molding apparatus is the injection molding apparatus according to the first aspect, wherein the first cavity forms a convex portion at the first engaging portion, and the second cavity is the second A concave portion that engages with the convex portion is formed in the engaging portion.
  • An injection molding apparatus is the injection molding apparatus according to the first or second aspect, wherein the projecting base is provided with a projecting piece that forms a slit at one end of the hollow body. It is characterized by being.
  • a connected molded product according to claim 4 is formed at one end of the hollow body, a pipe-shaped hollow body, a box body having one open surface, a hinge connecting the hollow body and the box body, and the hollow body.
  • a first engagement portion formed on the box body and a second engagement portion engageable with the first engagement portion, the hollow body and the box body via the hinge The first engaging portion and the second engaging portion are engaged with each other in a connected state, and are integrated with each other.
  • the connected molded product according to claim 5 is the connected molded product according to claim 4, wherein the convex molded portion formed in the first engaging portion and the second engaging portion are formed. And a concave portion engaged with the convex portion of the first engaging portion.
  • a connected molded product according to claim 6 is the connected molded product according to claim 4 or 5, and is characterized by including a slit formed at one end of the hollow body.
  • a hollow body cavity for forming a pipe-like hollow body, a box body cavity for forming a box body with one surface opened, and a hinge for forming a hinge for connecting the hollow body and the box body A hollow body cavity, a box cavity, and a hinge cavity having a cavity, a mold that communicates with each other, and a resin that is fired from a launch base disposed at one end of the hollow body cavity and filled into the hollow body cavity Since it has a floating core that moves inside and extrudes resin to form a hollow body, the hollow body, the box body and the hinge are molded integrally with the hollow body and the box body connected by a hinge. The body is molded by moving the floating core through the resin filled in the hollow body cavity and extruding the resin.
  • the first cavity for forming the first engaging portion at the one end portion of the hollow body by cooperation of the launch base and the floating core, and the box body Since the second cavity for forming the second engaging portion that engages with the first engaging portion is formed at one end of the cavity, when the hollow body, the box body, and the hinge are integrally formed, A first engagement portion is molded at one end and a second engagement portion is molded at one end of the box.
  • the first engagement portion formed at one end portion of the hollow body and the one end portion of the box body with the hollow body and the box body connected via a hinge The hollow body and the box body can be easily assembled by elastically engaging the second engaging portions formed in the above.
  • the hollow body and the box can be assembled and joined easily and reliably by the operation of merely elastically engaging the first engaging portion of the hollow body and the second engaging portion of the box.
  • the hollow body, the box body and the hinge can be integrally molded, thereby reducing the mold size and reducing the amount of injection resin. Therefore, costs such as equipment costs and material costs can be suppressed, and productivity can be improved.
  • the first cavity forms a convex portion at the first engaging portion
  • the second cavity forms a concave portion that engages with the convex portion at the second engaging portion. Since the first engaging portion and the second engaging portion are engaged with each other, the convex portion formed on the first engaging portion and the concave portion formed on the second engaging portion are both
  • the hollow body and the box body can be assembled and joined more easily and reliably, and the assembly joint can be further prevented from coming off.
  • the first engaging portion and the second engaging portion are engaged with each other.
  • the first engaging portion can be expanded through the slit formed in the one end portion of the hollow body by the protruding piece, and the hollow body and the box body can be assembled and joined more easily and reliably.
  • the hollow body and the box body in the connected molded product are assembled, the hollow body and the box body are connected via a hinge.
  • the hollow body and the box are formed by elastically engaging the first engaging part formed at one end of the hollow body and the second engaging part formed at one end of the box. You can easily assemble your body. In the state where the hollow body and the box are assembled in this way, a part of the hollow body does not remain inside the box, and accordingly, a cutting process for cutting off a part of the unnecessary hollow body in the box is performed. It can be omitted.
  • the hollow body and the box can be assembled and joined easily and reliably by the operation of merely elastically engaging the first engaging portion of the hollow body and the second engaging portion of the box.
  • the convex portion formed in the first engagement portion and the concave portion formed in the second engagement portion and engaged with the convex portion of the first engagement portion Since the first engaging portion and the second engaging portion are engaged with each other, the convex portion formed on the first engaging portion and the concave portion formed on the second engaging portion are It is only necessary to engage with each other based on the concavo-convex relationship, whereby the hollow body and the box can be assembled and joined more easily and reliably, and the assembly joint can be further prevented from coming off.
  • the slit formed at one end portion of the hollow body is provided, when the first engagement portion and the second engagement portion are engaged with each other, The first engaging portion can be expanded through the formed slit, and the hollow body and the box can be assembled and joined more easily and reliably.
  • connection molded product which concerns on 1st Embodiment of this invention.
  • connection molding It is a perspective view showing the use condition of a connection molding.
  • FIG. 7 is a cross-sectional view showing a launch base cut along line AA in FIG. 6. It is a perspective view showing the launching base in which the floating core was installed.
  • FIG. 10 is a cross-sectional view of a launch base on which a floating core is installed, cut along line BB in FIG. 9. It is explanatory drawing which shows the state before the movement of a floating core is started in the hollow body cavity with which resin was filled. It is explanatory drawing which shows the state which the floating core moved to the final position along the hollow body cavity by the hollow body cavity.
  • FIG. 3 is a cross-sectional view showing a hollow body formed by a hollow cavity cut along line CC in FIG. 2.
  • FIG. 3 is a cross-sectional view of a joined molded product in which an end of a hollow body and an end of a box are engaged with each other, cut along line CC in FIG. 2.
  • FIG. 21 is a cross-sectional view of a launch base on which a floating core is installed, cut along line DD in FIG. 20.
  • FIG. 17 is a cross-sectional view of a joined molded product in which an end of a hollow body and an end of a box are engaged, cut along line EE in FIG.
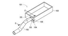
  • the connected molded product 1 includes a pipe-shaped hollow body 2, a box 3 with one surface (upper surface in FIG. 2) open, and an integral hinge 4 that connects the two. It is a resin molded product manufactured by injection molding of a molten resin.
  • the hollow body 2 is composed of a three-dimensional bent pipe.
  • the integral hinge 4 is a hinge that connects the hollow body 2 and the box 3 and is bendable.
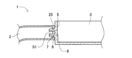
  • 1st opening part 5 of the hollow body 2 is provided with the 1st engaging part 6 which has the convex-shaped part 25 (refer FIG. 13) along the inner surface.
  • a second engaging portion 7 is provided which is formed to project in a cylindrical shape.
  • An annular concave portion 8 is provided near the base of the outer peripheral surface of the second engaging portion 7.
  • the second engagement portion 7 is provided with a slit S1.
  • the hollow body 2 and the box body 3 can be assembled and joined by bending the integral hinge 4 into a U shape.
  • the first engaging portion 6 formed in the one end opening 5 of the hollow body 2 is connected to the second engaging portion 7 with respect to the cylindrical second engaging portion 7 in the box 3. It is inserted from the outside.
  • the convex portion 25 of the first engaging portion 6 is elastically engaged with the concave portion 8 of the second engaging portion 7.
  • the mold 9 shown in FIG. 3 is used.
  • the mold 9 is provided with a hollow body cavity 10, a box body cavity 11, and a hinge cavity 12.
  • the hollow body cavity 10 and the box body cavity 11 are communicated with each other via a hinge cavity 12.
  • a second cavity K ⁇ b> 2 for molding a second engagement portion 7 described later is provided on the side portion (lower side portion in FIG. 3) of the box cavity 11.
  • the hollow body 2 that is a three-dimensional bent pipe is formed.
  • the box cavity 11 the box 3 having one surface opened is formed.
  • the integral hinge 4 is formed in the hinge cavity 12.
  • the mold 9 is provided in the injection molding apparatus 13 according to the first embodiment.
  • a known technique for example, a liner that fills each cavity of the mold 9 with a resin, a resin that is extruded when the hollow body 2 is molded, except for matters specifying the present invention.
  • the description of the escape configuration etc. is omitted.
  • the box 3 and the integral hinge 4 are also molded by the mold 9 at the same time. That is, in the mold 9, the connected molded product 1 is integrally molded, but the molding technique for the box 3 and the integral hinge 4 is a known technique, and thus the description thereof is omitted.
  • the launch base 14 includes a first cylindrical portion 16, an annular flat surface portion 17, a truncated cone portion 18, a second cylindrical portion 19, and a pressure hole 20.
  • the outer peripheral surface of the first cylindrical portion 16 matches the inner peripheral surface of one end of the hollow body cavity 10. Therefore, when the launch base 14 is loaded at one end of the hollow body cavity 10, the first cylindrical portion 16 of the launch base 14 is fitted into one end of the hollow body cavity 10.
  • An annular flat surface portion 17 is provided on the inner circumference of the upper surface of the first cylindrical portion 16.
  • a truncated cone part 18 is provided inside the annular flat part 17.
  • a second cylindrical portion 19 is provided on the upper surface of the truncated cone portion 18.
  • a pressurizing hole 20 is penetrated on the rotation center axis of the launch base 14.
  • a floating core 15 is installed on the launch base 14.
  • the floating core 15 has a cylindrical portion 21 and a conical portion 22.
  • the conical portion 22 is provided on the upper side of the cylindrical portion 21.
  • a cylindrical recess 23 is provided on the bottom surface of the cylindrical portion 21. The cylindrical recess 23 is fitted to the second cylindrical portion 19 of the launch base 14.
  • the floating core 15 is installed on the launch base 14 by fitting the second cylindrical portion 19 of the launch base 14 and the cylindrical recess 23 of the floating core 15 together.
  • the cylindrical recess 23 of the floating core 15 contacts the pressurizing hole 20 of the launch pedestal 14.
  • the molten resin 24 is injected into the hollow body cavity 10. Filled. Thereafter, the fluid is press-fitted from the pressurizing hole 20 of the launch base 14.
  • the floating core 15 is moved from one end to the other end of the hollow body cavity 10 by the fluid press-fitting.
  • the outer peripheral portion of the molten resin 24 that has started cooling and solidification is left on the inner peripheral wall, and the central portion of the molten resin 24 that is delayed in cooling is pushed out.
  • the shape of the outer peripheral portion of the molten resin 24 is maintained by being pressed against the inner peripheral wall of the hollow cavity 10 by the pressure of the fluid.
  • the connected molded product 1 is taken out from the mold 9.
  • the first engagement portion 6 is formed at the one end opening 5 of the hollow body 2 constituting the connected molded product 1. More specifically, the first engaging portion 6 is formed with a convex portion 25 having a right triangle shape in cross section.
  • the first engaging part 6 having the convex part 25 is formed at the one end part (the lower end part in FIG. 4) of the hollow body cavity 10 by the cooperation of the launch base 14 and the floating core 15. Inside, the molten resin 24 is filled and solidified to be molded.
  • the connected molded product 1 is in a state where the pipe-shaped hollow body 2 and the box 3 are connected by the integral hinge 4 (see FIG. 1 above).
  • the mold 9 is integrally formed (see FIG. 3 above).
  • the floating core 15 moves from the launch base 14 to the hollow body cavity 10 of the mold 9 (see FIG. 11 above).
  • the said hollow body 2 is shape
  • the first cavity K 1 formed by the cooperation of the launch base 14 and the floating core 15 has a first end 5 at the one end opening 5 of the hollow body 2.
  • the engaging portion 6 is formed (see FIG. 3 and FIGS. 11 to 13).
  • the second engagement portion 7 is formed in the box 3 by the second cavity K2 formed in the side portion (left side portion in FIG. 3) of the box cavity 11 (see FIG. 1 and FIG. 1). (See FIG. 3 above).
  • the pipe-shaped hollow body 2 and the box 3 are connected by the integral hinge 4 (see FIG. 1 above),
  • the integral hinge 4 is bent, the first engaging portion 6 formed in the one end opening 5 of the hollow body 2 can be engaged with the second engaging portion 7 formed in the box 3 (described above). (See FIG. 2).
  • a cutting process for cutting a part of the hollow body 2 as an unnecessary part is omitted. be able to.
  • connection molded product 1 manufactured by the injection molding apparatus 13 according to the first embodiment the first engagement portion 6 and the second engagement portion 7 are elastically engaged with each other, thereby the hollow body 2 and The box 3 can be assembled and joined easily and reliably.
  • the hollow body 2, the box 3 and the integral hinge 4 constituting the connected molded product 1 are integrally molded by the mold 9 (see FIGS. 1 and 3 above). reference). Accordingly, the mold size can be reduced and the amount of the injection resin can be reduced, so that costs such as equipment costs and material costs can be suppressed and productivity can be improved.
  • the convex portion 25 is formed on the first engagement portion 6 in the one end opening 5 of the hollow body 2 (see FIG. 13 above), and is in the box 3.
  • a concave portion 8 is formed in the second engaging portion 7 (see FIG. 1 above).
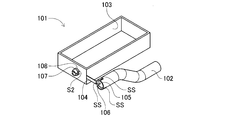
  • the connected molded product 101 includes a pipe-shaped hollow body 102, a box 103 with one side opened (upper surface in FIGS. 15 and 16), and an integrator that connects the two.
  • This is a resin molded product having a lug hinge 104 and manufactured by injection molding of a molten resin.
  • the hollow body 102 is made of a three-dimensional bent pipe.
  • the integral hinge 104 is a hinge that connects the hollow body 102 and the box body 103 and is bendable.
  • the first engagement portion 106 of the convex portion 125 is provided along the inner surface of the one end opening portion 105 of the hollow body 102.
  • a second engaging portion 107 is provided that protrudes in a cylindrical shape.
  • An annular concave portion 108 is provided near the base of the outer peripheral surface of the second engagement portion 107.
  • the second engagement portion 107 is provided with a slit S2.
  • three slits SS are provided at equal intervals in the one end opening 105 of the hollow body 102.
  • the hollow body 102 and the box body 103 can be assembled and joined by bending the integral hinge 104 into a U shape.
  • the first engaging portion 106 formed in the one end opening 105 of the hollow body 102 is connected to the second engaging portion 107 with respect to the cylindrical second engaging portion 107 in the box 103. It is inserted from the outside.
  • the convex portion 125 of the first engaging portion 106 is elastically engaged with the concave portion 108 of the second engaging portion 107.
  • connection molded product 1 In the connection molded product 1 according to the first embodiment, the integral hinge 4 is provided on the bottom surface of the box 3 (see FIG. 1 and FIG. 2 above), but the connection molding according to the second embodiment. In the product 101, an integral hinge 104 is provided on the side surface of the box body 103.
  • the mold 109 shown in FIG. 17 is used.
  • the mold 109 is provided with a hollow body cavity 110, a box body cavity 111 and a hinge cavity 112.
  • the hollow body cavity 110 and the box body cavity 111 are communicated with each other via a hinge cavity 112.
  • a second cavity K4 for forming a second engaging portion 107 described later is provided on the side portion (lower side portion in FIG. 17) of the box cavity 111.
  • a hollow body 102 that is a three-dimensional bent pipe is formed.
  • the box 103 having one surface opened is formed.
  • the integral hinge 104 is formed in the hinge cavity 112 in the hinge cavity 112.
  • the mold 109 is provided in the injection molding apparatus 113 according to the second embodiment.
  • a known technique for example, a liner that fills each cavity of the mold 109 with a resin, and a resin that is extruded when the hollow body 102 is molded, except for matters specifying the present invention.
  • the description of the escape configuration etc. is omitted.
  • the first engagement portion 106 provided in the one end opening 105 of the hollow body 102 is molded by the mold 109, the box 103 and the integral hinge 104 are also molded by the mold 109 at the same time. That is, in the mold 109, the connected molded product 101 is integrally molded.
  • the molding technique of the box 103 and the integral hinge 104 is a known technique, and thus the description thereof is omitted.
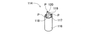
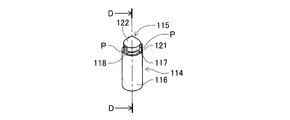
  • the launch base 114 includes a first cylindrical portion 116, an annular flat surface portion 117, a truncated cone portion 118, a second cylindrical portion 119, and a pressure hole 120.
  • the outer peripheral surface of the first cylindrical portion 116 matches the inner peripheral surface of one end of the hollow body cavity 110. Accordingly, when the launch base 114 is loaded at one end of the hollow body cavity 110, the first cylindrical portion 116 of the launch base 114 is fitted into one end of the hollow body cavity 110.
  • An annular flat surface portion 117 is provided on the inner circumference of the upper surface of the first cylindrical portion 116.
  • a truncated cone part 118 is provided inside the annular flat part 117.
  • a second cylindrical portion 119 is provided on the upper surface of the truncated cone portion 118. Since the truncated cone part 118 is provided between the second cylindrical part 119 and the first cylindrical part 116, the outer diameter of the second cylindrical part 119 is smaller than the outer diameter of the first cylindrical part 116.
  • a pressurizing hole 120 is penetrated on the rotation center axis of the launch base 114.
  • each projecting piece P is erected on the annular flat surface portion 117 at equal intervals.
  • the vicinity of the base of each projecting piece P projects along the truncated cone portion 118.
  • the outer peripheral surface of each projecting piece P is flush with the outer peripheral surface of the first cylindrical portion 116. Therefore, the outer peripheral surface of each projecting piece P matches the inner peripheral surface of one end of the hollow body cavity 110.
  • the floating pedestal 114 is provided with a floating core 115.
  • the floating core 115 has a cylindrical portion 121 and a conical portion 122.
  • the conical part 122 is provided on the upper surface of the cylindrical part 121.
  • a cylindrical concave portion 123 is provided on the bottom surface of the cylindrical portion 121.
  • the cylindrical recess 123 is fitted with the second cylindrical portion 119 of the launch base 114.
  • the floating core 115 is installed on the launch base 114 by fitting the second cylindrical portion 119 of the launch base 114 and the cylindrical recess 123 of the floating core 115 together.
  • the cylindrical recess 123 of the floating core 115 is in contact with the pressure hole 120 of the launch base 114.
  • a tapered surface that extends upward toward the cylindrical portion 121 is provided around the cylindrical concave portion 123. Further, when the floating core 115 is installed on the launch pedestal 114, the cylindrical portion 121 of the floating core 115 is fitted to each projecting piece P of the launch pedestal 114.
  • the hollow body cavity 110 is the same as in the first embodiment (see FIG. 11). 110 is injected and filled with molten resin. Thereafter, the fluid is press-fitted from the pressurizing hole 120 of the launch base 114.
  • the floating core 115 is moved from one end to the other end of the hollow body cavity 110 in the same manner as in the first embodiment (see FIG. 12 above) by press-fitting the fluid.
  • the outer peripheral portion of the molten resin that has started to be cooled and solidified is left on the inner peripheral wall, and the central portion of the molten resin that is delayed in cooling is extruded. Further, the outer peripheral portion of the molten resin is pressed against the inner wall of the hollow cavity 110 by the pressure of the fluid, so that the shape thereof is maintained.
  • the connected molded product 101 is taken out from the mold 109.
  • the first engaging portion 106 is formed as shown in FIG. More specifically, the first engaging portion 106 is formed with a convex portion 125 having a cross section of an isosceles triangle as shown in FIG.
  • the first engaging part 106 having the convex part 125 is formed at the one end part (lower end part in FIG. 18) of the hollow body cavity 110 by the cooperation of the launch base 114 and the floating core 115. Inside, the molten resin 24 is filled and solidified to be molded.
  • each slit SS is formed by each projecting piece P of the launch base 114 as shown in FIG. 15 and FIG.
  • connection molded product 1 In the connection molded product 1 according to the first embodiment, the cross section of the convex portion 25 of the first engagement portion 6 is a right triangle (see FIG. 13), but the connection molding according to the second embodiment.
  • the cross section of the convex portion 125 of the first engaging portion 106 is an isosceles triangle.
  • the connected molded product 101 is a state where the resin pipe-shaped hollow body 102 and the resin box 103 are connected by the resin integral hinge 104. (See FIG. 15 above), the die 109 is integrally formed (see FIG. 17 above).
  • the floating core 115 moves from the launch base 114 to the hollow body cavity 110 of the mold 109, whereby the hollow body 102. Is formed.
  • the first cavity K ⁇ b> 3 formed by the cooperation of the launch base 14 and the floating core 15 has the first end 5 in the hollow body 2.
  • the engaging portion 6 is formed (see FIGS. 15 and 17).
  • the second engagement portion 107 is formed into the box body 103 by the second cavity K4 formed in the side portion (lower side portion in FIG. 17) of the box cavity 111 (FIG. 15 above). And FIG. 17 above).
  • the convex portion 125 of the first engaging portion 106 is elastically engaged with the concave portion 108 of the second engaging portion 107.
  • the hollow body 2 and the box 3 are engaged and connected to each other.
  • the resin pipe-shaped hollow body 102 and the resin box 103 are connected by the resin integral hinge 104.
  • the integral hinge 104 is bent (see FIG. 15 above)
  • the first engaging portion 106 formed in the one end opening 105 of the hollow body 102 and the second engaging portion 107 formed in the box 103 are formed. It can be engaged (see FIG. 16 above).
  • a cutting process for cutting a part of the hollow body 102 as an unnecessary part is omitted. It is possible.
  • the first engagement portion 106 and the second engagement portion 107 are elastically engaged with each other,
  • the box body 103 can be assembled and joined easily and reliably.
  • the hollow body 102, the box body 103, and the integral hinge 104 constituting the connected molded product 101 are integrally molded by the mold 109 (see FIGS. 15 and 17 above). reference). Accordingly, the mold size can be reduced and the amount of the injection resin can be reduced, so that costs such as equipment costs and material costs can be suppressed and productivity can be improved.
  • the convex portion 125 is formed on the first engagement portion 106 in the one end opening 105 of the hollow body 102 (see FIG. 22 above), and is in the box body 103.
  • a concave portion 108 is formed in the second engagement portion 107 (see FIG. 15 above).
  • the joint molded product 101 manufactured by the injection molding apparatus 113 according to the second embodiment when the first engagement portion 106 and the second engagement portion 107 are engaged, the relationship is shown in FIG. As described above, the convex portion 125 formed on the first engaging portion 106 and the concave portion 108 formed on the second engaging portion 107 are merely engaged with each other only in the concave-convex relationship.
  • the box body 103 can be assembled and joined more easily and reliably with one touch, and the assembly joint can be further prevented from coming off.
  • each of the slits SS is formed in the one end opening 105 of the hollow body 102 by each protrusion P provided on the launch base 114 (see FIG. 19 and FIG. 20). Molded (see FIG. 15 and FIG. 16).
  • each slit SS formed in the portion 105 expands the first engaging portion 106 formed in the one end opening 105 of the hollow body 102, so that the hollow body 102 and the box 103 can be more easily and reliably assembled. Can be attached.
  • this invention is not limited to said each Embodiment 1 and 2, A various change is possible in the range which does not deviate from the meaning.
  • the launch bases 14 and 114 and the floating cores 15 and 115 are loaded at one end of the hollow body cavities 10 and 110 (see, for example, FIG. 4 and FIG. 18 above).
  • the annular flat surface portions 17 and 117 of the launch bases 14 and 114 may be pressed against the molds 9 and 109 forming one end of the hollow body cavities 10 and 110.
  • the truncated cone portions 18 and 118 and the second cylindrical portions 19 and 119 of the launch bases 14 and 114 are inserted into one end of the hollow body cavities 10 and 110, and the floating cores 15 and 115 are also inserted. .
  • each notch into which each projecting piece P of the launch base 114 is fitted is formed on the mold 109 (the inner wall at one end of the hollow body cavity 110).

Landscapes

  • Engineering & Computer Science (AREA)
  • Manufacturing & Machinery (AREA)
  • Mechanical Engineering (AREA)
  • Moulds For Moulding Plastics Or The Like (AREA)
PCT/JP2015/075689 2015-02-27 2015-09-10 射出成形装置及び連結成形品 Ceased WO2016136006A1 (ja)

Applications Claiming Priority (2)

Application Number Priority Date Filing Date Title
JP2015038382A JP6295216B2 (ja) 2015-02-27 2015-02-27 射出成形装置及び連結成形品
JP2015-038382 2015-02-27

Publications (1)

Publication Number Publication Date
WO2016136006A1 true WO2016136006A1 (ja) 2016-09-01

Family

ID=56788142

Family Applications (1)

Application Number Title Priority Date Filing Date
PCT/JP2015/075689 Ceased WO2016136006A1 (ja) 2015-02-27 2015-09-10 射出成形装置及び連結成形品

Country Status (2)

Country Link
JP (1) JP6295216B2 (enExample)
WO (1) WO2016136006A1 (enExample)

Citations (3)

* Cited by examiner, † Cited by third party
Publication number Priority date Publication date Assignee Title
JP2009178931A (ja) * 2008-01-30 2009-08-13 Tokai Rubber Ind Ltd 筒部材および筒部材成形方法および金型
JP2010241084A (ja) * 2009-04-10 2010-10-28 Rp Topla Ltd 中空体の製造方法
JP2012153086A (ja) * 2011-01-28 2012-08-16 Rp Topla Ltd 中空体成形装置

Family Cites Families (1)

* Cited by examiner, † Cited by third party
Publication number Priority date Publication date Assignee Title
IT1269387B (it) * 1994-07-05 1997-03-26 Unifill Spa Contenitore in materiale termosaldabile, particolarmente per liquidi

Patent Citations (3)

* Cited by examiner, † Cited by third party
Publication number Priority date Publication date Assignee Title
JP2009178931A (ja) * 2008-01-30 2009-08-13 Tokai Rubber Ind Ltd 筒部材および筒部材成形方法および金型
JP2010241084A (ja) * 2009-04-10 2010-10-28 Rp Topla Ltd 中空体の製造方法
JP2012153086A (ja) * 2011-01-28 2012-08-16 Rp Topla Ltd 中空体成形装置

Also Published As

Publication number Publication date
JP2016159464A (ja) 2016-09-05
JP6295216B2 (ja) 2018-03-14

Similar Documents

Publication Publication Date Title
JP5682794B2 (ja) インテークマニホルドの樹脂成形型、インテークマニホルド及びインテークマニホルドの樹脂成形方法
JP6156985B2 (ja) 射出成形方法及び樹脂成形品
CN104955630A (zh) 注射模制紧固元件的方法以及紧固元件
JP6295216B2 (ja) 射出成形装置及び連結成形品
JP5244426B2 (ja) 表皮材インサート成形装置および成形方法
JP2015193116A (ja) 合成樹脂製管継手およびその製造方法
JP4464847B2 (ja) 管体の接続構造および管体の接続方法
US20240123493A1 (en) Vertically divided feeder for use in metal casting in casting molds and method for production thereof
JP2012102757A (ja) ホールプラグおよびホールプラグの製造方法
RU2014107624A (ru) Способ выдувного формования резервуара и резервуар, изготавливаемый этим способом
CN104582935A (zh) 模制产品和方法
JP2007269358A5 (enExample)
KR102185526B1 (ko) 두 개의 셸 부분을 포함하는 구조물
CN203401637U (zh) 定位装置
KR101380027B1 (ko) 사출금형의 캐비티와 코어의 형합 위치를 설정하는 인로우의 설치구조
JP6679470B2 (ja) 金型装置、インサート成形品の製造方法、及びインサート成形品
US10179431B2 (en) Plastic part with reduced read-through
CN103240838B (zh) 用于制造注塑件的方法以及注塑件
JP2020082645A (ja) 樹脂管の製造方法
CN114502345B (zh) 中空成形体成形模以及中空成形体的制造方法
CN103542675B (zh) 用于冷柜的口框及其制造方法、具有该口框的冷柜
CN108656446A (zh) 一种分层注塑的成型核心的固定结构及模具
JP2019181889A (ja) 枝管付合成樹脂製管
TWI609760B (zh) 中空吹氣盒及其配件單元間同步產製構造
JP6152035B2 (ja) 射出成形方法

Legal Events

Date Code Title Description
121 Ep: the epo has been informed by wipo that ep was designated in this application

Ref document number: 15883296

Country of ref document: EP

Kind code of ref document: A1

NENP Non-entry into the national phase

Ref country code: DE

32PN Ep: public notification in the ep bulletin as address of the adressee cannot be established

Free format text: NOTING OF LOSS OF RIGHTS PURSUANT TO RULE 112(1) EPC (EPO FORM 1205A DATED 04/12/2017)

122 Ep: pct application non-entry in european phase

Ref document number: 15883296

Country of ref document: EP

Kind code of ref document: A1