WO2016072125A1 - 吸収性物品 - Google Patents

吸収性物品 Download PDF

Info

Publication number
WO2016072125A1
WO2016072125A1 PCT/JP2015/073324 JP2015073324W WO2016072125A1 WO 2016072125 A1 WO2016072125 A1 WO 2016072125A1 JP 2015073324 W JP2015073324 W JP 2015073324W WO 2016072125 A1 WO2016072125 A1 WO 2016072125A1
Authority
WO
WIPO (PCT)
Prior art keywords
center line
separation
absorbent article
liquid
sheet
Prior art date
Legal status (The legal status is an assumption and is not a legal conclusion. Google has not performed a legal analysis and makes no representation as to the accuracy of the status listed.)
Ceased
Application number
PCT/JP2015/073324
Other languages
English (en)
French (fr)
Japanese (ja)
Inventor
文美 合田
貴志 野本
Current Assignee (The listed assignees may be inaccurate. Google has not performed a legal analysis and makes no representation or warranty as to the accuracy of the list.)
Unicharm Corp
Original Assignee
Unicharm Corp
Priority date (The priority date is an assumption and is not a legal conclusion. Google has not performed a legal analysis and makes no representation as to the accuracy of the date listed.)
Filing date
Publication date
Application filed by Unicharm Corp filed Critical Unicharm Corp
Priority to CN201580048037.4A priority Critical patent/CN107072826B/zh
Publication of WO2016072125A1 publication Critical patent/WO2016072125A1/ja
Anticipated expiration legal-status Critical
Ceased legal-status Critical Current

Links

Images

Classifications

    • AHUMAN NECESSITIES
    • A61MEDICAL OR VETERINARY SCIENCE; HYGIENE
    • A61FFILTERS IMPLANTABLE INTO BLOOD VESSELS; PROSTHESES; DEVICES PROVIDING PATENCY TO, OR PREVENTING COLLAPSING OF, TUBULAR STRUCTURES OF THE BODY, e.g. STENTS; ORTHOPAEDIC, NURSING OR CONTRACEPTIVE DEVICES; FOMENTATION; TREATMENT OR PROTECTION OF EYES OR EARS; BANDAGES, DRESSINGS OR ABSORBENT PADS; FIRST-AID KITS
    • A61F13/00Bandages or dressings; Absorbent pads
    • A61F13/15Absorbent pads, e.g. sanitary towels, swabs or tampons for external or internal application to the body; Supporting or fastening means therefor; Tampon applicators
    • AHUMAN NECESSITIES
    • A61MEDICAL OR VETERINARY SCIENCE; HYGIENE
    • A61FFILTERS IMPLANTABLE INTO BLOOD VESSELS; PROSTHESES; DEVICES PROVIDING PATENCY TO, OR PREVENTING COLLAPSING OF, TUBULAR STRUCTURES OF THE BODY, e.g. STENTS; ORTHOPAEDIC, NURSING OR CONTRACEPTIVE DEVICES; FOMENTATION; TREATMENT OR PROTECTION OF EYES OR EARS; BANDAGES, DRESSINGS OR ABSORBENT PADS; FIRST-AID KITS
    • A61F13/00Bandages or dressings; Absorbent pads
    • A61F13/15Absorbent pads, e.g. sanitary towels, swabs or tampons for external or internal application to the body; Supporting or fastening means therefor; Tampon applicators
    • A61F13/53Absorbent pads, e.g. sanitary towels, swabs or tampons for external or internal application to the body; Supporting or fastening means therefor; Tampon applicators characterised by the absorbing medium

Definitions

  • the present invention relates to an absorbent article such as a sanitary napkin.
  • Patent Document 1 discloses an absorbent article having a longitudinal direction and a lateral direction, and including a liquid-permeable surface layer, a liquid-impermeable back layer, and a liquid-absorbing layer interposed between both layers. It is disclosed.
  • the body fluid is excellent in diffusibility and longitudinal direction along the recesses. It becomes easy to bend and can be curved along the body.
  • An object of the present invention is an improvement of a conventional absorbent article, an absorbent article that can adapt to the movement of an undergarment during walking and the like, and can suppress the feeling of foreign matter wearing. It is to provide.
  • the present invention has a vertical direction and a horizontal direction, a vertical center line, and a horizontal center line, a liquid-permeable surface layer, a liquid-impermeable back layer,
  • the present invention relates to an absorbent article including a liquid absorbing layer interposed between front and back layers.
  • the liquid absorption layer has first and second end regions facing each other in the longitudinal direction, and at least the first end region of the first and second end regions.
  • at least one slit-like shape penetrating the liquid-absorbing layer disposed in at least one of the first and second side portions opposed to each other across the vertical center line, and the first and second side portions.
  • a first separation part, the first separation part has an inner end and an outer end located on the longitudinal center line side, and an imaginary line passing through the inner and outer ends is oblique to the longitudinal center line Of the intersection angles between the virtual line and the vertical center line, the intersection angle facing the horizontal center line is an acute angle.
  • An absorbent article according to one or more embodiments of the present invention is provided in at least one of the first and second side portions in at least the first end region of the first and second end regions of the liquid absorption layer. Since at least one first separation part is arranged, even when the undergarment is pulled in a direction inclined in the vertical direction and the horizontal direction when the wearer walks, the undergarment moves. It can adapt and there is no risk of giving the wearer a feeling of foreign matter.
  • FIG. 3 is a schematic cross-sectional view taken along line III-III in FIG. 1.
  • FIG. 5 is a partially enlarged view of a region surrounded by a V line in FIG. 4.
  • FIG. 6 is a partially enlarged view of a region surrounded by a VI line in FIG. 5.
  • the top view when pulling a liquid absorption layer to the vertical direction and the inclination direction.
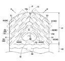
  • a sanitary napkin 10 shown as an example of the absorbent article of the present invention has a longitudinal direction Y and a transverse direction X, and a longitudinal center line P and longitudinal dimensions that bisect the dimension in the transverse direction X.
  • a lateral center line Q that bisects the dimension in Y, the front surface facing the wearer's skin and the back surface on the opposite side, the convex and curved first and second edges 10a, 10b, Both side edges 10c and 10d that are curved in the center where the center line Q is located, a liquid-permeable top sheet 11 located on the front side, a liquid-impervious back sheet 12 located on the back side, and both The liquid absorption layer 13 located between the sheets 11 and 12 and the leak-proof sheet
  • an intermediate sheet made of a relatively bulky fiber nonwoven fabric may be disposed between the top sheet 11 and the liquid absorbing layer 13.
  • the outer peripheral edge of the sanitary napkin 10 defined by the first and second end edges 10a, 10b and both side edges 10c, 10d is an uneven shape extending continuously in the circumferential direction, and these are linear It gives a flexible impression as compared to, and has an overall aesthetic appearance and excellent design.
  • a layer formed of one or a plurality of sheet materials located on the surface side is the surface layer 18 (in the present embodiment, only the surface sheet 11), and the liquid absorbing layer.
  • a layer formed of one or a plurality of sheet members positioned on the back surface side of 13 is referred to as a back surface layer 19 (in this embodiment, the back surface sheet 12 and the leak-proof sheet 14). Therefore, the liquid absorption layer 13 is interposed between the front surface layer 18 and the back surface layer 19.
  • the back sheet 12 extends further outward in the lateral direction X than the top sheet 11, and a pair of side sheets 20 are fixed on the front side.
  • the side sheet 20 extends from both side edges 10 c and 10 d of the sanitary napkin 10 to the bottom surface of the liquid absorbing layer 13.
  • An end flap 22 located outside the liquid absorbing layer 13 in the longitudinal direction Y is formed by a part of the top sheet 11, the back sheet 12, and the side sheet 20, and the back sheet 12 and the side sheet 20 are lateral to the liquid absorbing layer 13.
  • Side flaps 24 having a pair of wing portions 23 that are located outside the direction X and that protrude outward in the vicinity of the lateral center line Q are formed.
  • the leak-proof sheet 14 By disposing the leak-proof sheet 14 on the bottom surface of the liquid-absorbing layer 13, leakage of body fluid can be prevented.
  • seat 20 is formed from the sheet
  • the wing portion 23 may be formed from the back sheet 12.
  • the back surface side of the sanitary napkin 10, i.e., the outer surface of the back sheet 12, is formed of a pressure-sensitive adhesive for attaching the sanitary napkin 10 to clothing such as an undergarment.
  • a plurality of first fastening portions 31 that extend in a line shape in the vertical direction Y and are arranged in the horizontal direction X with a predetermined distance are arranged in the portion.
  • a second fastening portion 32 made of a pressure sensitive adhesive is also disposed on the outer surface of the wing portion 23.
  • the first and second fastening portions 31 and 32 are covered with a separator 33 made of a plastic film or a fiber nonwoven fabric. It is preferable that the first and second fastening portions 31 and 32 have a fastening strength sufficient for the wearer's clothing at a practical level, specifically, a fastening of about 2.0 to 4.0 N. Has strength.
  • each sheet member is a known joining means, for example, a heat A seal portion (round seal) joined by various heat welding means such as embossing / debossing and sonic processing is formed.
  • a publicly known hot melt adhesive can be used in this type of field, but the stretchability of the sanitary napkin 10 as a whole can be increased. In order not to inhibit, it is preferable to use a hot melt adhesive made of a known rubber adhesive or the like and a mixture thereof.
  • a well-known non-woven fabric such as a spunbond non-woven fabric or SMS non-woven fabric is used for the front and back sheets 11 and 12, and a leak-proof plastic film is suitably used for the leak-proof sheet 14.
  • the liquid-absorbing layer 13 is a panel shape shaped to a predetermined shape and size, and has an absorbent core 28 having a bending rigidity higher than that of the sheet member and a semi-rigidity and an elastic restoring property, and optionally, And a liquid-permeable core wrap sheet 29 that encloses the absorbent core for improving shape retention and liquid diffusibility.
  • the liquid absorption layer 13 includes curved first and second end edges 13 a and 13 b that are spaced apart from each other in the longitudinal direction Y, and both side edges 13 c and 13 d that are positioned between both end edges 13 a and 13 b.
  • the liquid absorbing layer 13 includes, in the longitudinal direction Y, a first end region 41 located on the wearer's abdomen side, a second end region 42 located on the wearer's back side, and both end regions 41. , 42, and in the horizontal direction X, the first side portion 45, the vertical center line P, and the side edges that are positioned between the vertical center line P and the side edges 13c. It is divided into a second side part 46 located between 13d.
  • the vertical direction Y dimensions L2 and L3 of the first end region 41 and the second end region 42 are about 25 to 35% of the vertical direction Y dimension L1 of the liquid absorbing layer 13.
  • the vertical dimension L4 of the intermediate region 43 is about 30 to 50% of the vertical dimension Y1 of the liquid absorbing layer 13.
  • the first and second end regions 41, 42 and the intermediate region 43 may have a size obtained by equally dividing the dimension L1 of the liquid absorption layer 13 in the longitudinal direction Y into three, or the first and second ends.
  • the dimensions L2 and L3 in the longitudinal direction Y of the areas 41 and 42 may be larger or smaller than that in the intermediate area 43, or the dimension L2 in the longitudinal direction Y of the first end area 41 and the longitudinal direction of the second end area 42 It may be different from the dimension L3 of Y.
  • the liquid absorption layer 13 is provided with first to fourth separation parts 51 to 54 each including a plurality of slits penetrating in the thickness direction (Z direction).
  • each of the first and second side portions 45 and 46 of the first and second end regions 41 and 42 includes a plurality of first separation portions independent of each other. 51 is arranged.
  • the first separation part 51 has an inner end 51a located on the vertical center line P side and an outer end 51b located on the side edges 13c, 13d side, and a linear imaginary line K passing through the inner and outer ends 51a, 51b. Is inclined with respect to the longitudinal center line P.
  • the first separation portion 51 has a shape that curves toward the inside or the outside in the tilt direction R, and the inner end 51a has a smaller distance from the longitudinal center line P than the outer end 51b.
  • “inclination direction R” means a direction inclined about 10 to 80 degrees with respect to the vertical center line P and the horizontal center line Q.
  • an intersection angle ⁇ of the imaginary line K connecting the inner end 51a and the outer end 51b of the first separation portion 51 and the vertical center line P facing the horizontal center line Q forms an acute angle (90 degrees or less).
  • one or a plurality of first separation portions 51 extending obliquely from the horizontal center line Q side toward the vertical center line P are regularly arranged.
  • the separation unit 60 is configured as described above. Specifically, the separation unit 60 is preferably symmetric with respect to the longitudinal center line P with respect to the first side portion 45 and the second side portion 46 of the first end region 41, and the first end edge 13a.
  • First to fourth separation units 61 to 64 that are spaced apart from each other toward the horizontal center line Q are disposed.
  • the fourth separation unit 64 includes only one first separation unit 51. At least one of the inner and outer ends 51a and 51b of the first separation part 51 constituting the first to third separation units 61 to 63 overlaps with a part of the adjacent first separation part 51 in the inclination direction R described later. Yes. “A part of the adjacent first separation parts 51 overlaps each other in the inclination direction R” means that a virtual line along the inclination direction R intersects with a part of two adjacent first separation parts 51. .
  • a plurality of separation units 60 configured from a plurality of first separation units 51 are arranged in the second end region 42. Since the second end area 42 has a dimension in the vertical direction Y larger than that of the first end area 41, more separation units 60 are arranged than the first end area 41, and the second end area 42 is obliquely separated in the vertical direction Y. Positioned first to fifth separation units 61 to 65 are arranged.
  • first and second end regions 41, 42 a plurality of the first separation parts 51 are arranged in the first and second end regions 41, 42.
  • the first and second end regions 41, At least one of the first side portions 45 and the second side portions 46 may be arranged on one of the two sides 42.
  • the first separation portion 51 may not be curved, but may be linear, convex, or the like.
  • the vertical center line P It may extend continuously from the vicinity to both side edges 13c and 13d.
  • ⁇ Second separation unit> Referring to FIGS. 4 to 6, on the vertical center line P of the first end region 41 and the second end region 42, the second end having a convex shape toward the first and second end edges 13a and 13b, respectively.
  • a separation unit 52 is disposed.
  • the second separation parts 52 are preferably symmetric with respect to the longitudinal center line P and are spaced apart from each other in the longitudinal direction Y.
  • the second separation unit 52 may not be symmetric with respect to the vertical center line P, and may be any known linear, angular, curved, flat, or the like. It may be a shape.
  • a portion on the lateral center line Q side of the first end region 41 and a portion on the lateral center line Q side of the second end region 42 centering on the intermediate region 43 extend in a wave shape in the lateral direction X.
  • a plurality of spaced apart third separation portions 53 are located.
  • the third separation portion 53 extends in the horizontal direction X so as to intersect the vertical center line P, and both ends thereof do not extend to both side edges 13 c and 13 d of the liquid absorption layer 13.
  • the third separation portions 53 that are separated from each other in the vertical direction Y extend in a wavy shape in the horizontal direction X and are arranged symmetrically with respect to the vertical center line P without intersecting with the vertical center line P.
  • the fourth separation part 54 is positioned. The outer edge of the fourth separation portion 54 extends to both side edges 13 c and 13 d of the liquid absorption layer 13, and both side edges 13 c and 13 d are partially separated by the fourth separation portion 54.
  • the liquid-absorbing layer 13 it is preferable to use a layer formed by superposing a single layer or a plurality of layers of an air-laid nonwoven fabric that does not contain superabsorbent polymer particles.
  • a layer formed by superposing a single layer or a plurality of layers of an air-laid nonwoven fabric that does not contain superabsorbent polymer particles.
  • a known cutting means can be adopted. However, when the liquid absorption layer 13 includes superabsorbent polymer particles, thermoplastic fibers, etc.
  • the heat-fusible material is simultaneously with the cutting or before and after the cutting. (When the core wrap sheet 29 is formed from thermoplastic fibers, the core wrap sheet 29 is also fused at the same time), and the superabsorbent polymer particles leak from the cut surface by the heat fusible material. It can be prevented from coming out.
  • the liquid absorption layer 13 has the first to fourth separation portions 51 to 54 opened in the state where the forces F1 and F2 are applied to pull the liquid absorption layer 13 outward in the longitudinal direction Y and the inclination direction R. Thus, it is slightly extended in both directions R and Y.
  • the liquid absorption layer 13 has a size L in the longitudinal direction Y that is increased by the opening of each separation part. However, since the outer peripheral edge of the liquid absorption layer 13 and the first and fourth separation parts 51 and 54 intersect, Is partially cut out at a plurality of locations, and the liquid absorbing layer 13 is further elongated, and the dimension L1 in the longitudinal direction Y is increased.
  • the liquid absorption layer 13 disposed on the sanitary napkin 10 is fixed to the front and back layers 18 and 19, the force to pull the sanitary napkin 10 to the outside in the longitudinal direction Y and the inclined direction R.
  • F1 and F2 act, its original elongation is suppressed.
  • the degree of elongation of the liquid absorbing layer 13 depends on the inelastic extensibility of the front and back layers 18 and 19 made of a fiber nonwoven sheet (the front and back layers 18 and 19 have elastic extensibility).
  • the film can be stretched by about 5 to 25% at least in the longitudinal direction Y and the tilt direction R.
  • the undergarment 70 is usually formed from a material having a high elasticity, the undergarment 70 is attached to the undergarment 70 when it is easily stretched when a force F2 that tries to pull it in the inclined direction R is acted upon by the wearer's movement.
  • the sanitary napkin 10 is not able to adapt to the movement of the undergarment 70, not only does the feeling of wear deteriorate and give a feeling of foreign matter, but also the first and second fastening portions 31 are displaced due to misalignment. There is a possibility that 32 will come off from the undergarment 70.
  • first and second end regions 41 and 42 of the sanitary napkin 10 a plurality of first separation portions 51 that are inclined with respect to the vertical center line P are disposed.
  • the first separation portion 51 opens and the first and second end regions are opened.
  • 41 and 42 are extended in the inclination direction R, and the liquid absorbing layer 13 and the sanitary napkin 10 including the same can adapt to the movement of the undergarment 70. Therefore, when the wearer walks, the wearing feeling of the sanitary napkin 10 is not impaired, and a foreign object feeling is not given, and the first and second fastening portions 31 and 32 are displaced from the undergarment 70. There is no risk of being released.
  • the intersection angle ⁇ between the imaginary line K connecting the inner end 51a and the outer end 51b of the first separation portion 51 and the vertical center line P on the side of the horizontal center line Q is an acute angle
  • the tensile force F2 is When acted, the first and second end regions 41, 42 are extended outward in the tilt direction R.
  • the crossing angle ⁇ is a right angle ( ⁇ 90 degrees.
  • the first separation portion 51 is parallel to the horizontal center line Q) or an obtuse angle (90 degrees or more), that is, the first separation portion 51 has the horizontal center line Q.
  • the first and / or second end regions in the case of a shape extending in the horizontal direction X substantially in parallel to the first end edge 13a or a shape extending obliquely so as to approach the vertical center line P from the first end edge 13a side. Since 41 and 42 are hard to extend outward in the inclination direction R, the sanitary napkin 10 cannot adapt to the movement of the undergarment 70. Accordingly, the intersection angle ⁇ is preferably an acute angle (0 to 90 degrees), and more preferably about 50 to 80 degrees. This is because, when the intersection angle ⁇ is 50 degrees or less and 80 degrees or more, the first separation part 51 may not easily open depending on the magnitude and direction of the force for extending the sanitary napkin 10 in the inclination direction R. .
  • At least one of the first and second end regions 41 and 42 because the sanitary napkin 10 does not have a risk of giving a large foreign body sensation when the sanitary napkin 10 is adapted to one of the ventral side and the back side of the undergarment 70.
  • at least one first separation part 51 is disposed in each of the first and second side parts 45 and 46.
  • the first separation part 51 disposed in the first and second side parts 45 and 46 has It is preferable that they are positioned to face each other in the lateral direction X.
  • first and second side portions 45 and 46 are arranged so as to be symmetrical with the vertical center line P, respectively. Since the extended portions in the inclination direction R are the same on both sides of the first and second end regions 41 and 42, the overall adaptability is improved as compared with the asymmetric case.
  • the liquid absorption layer 13 has a plurality of separation units 60 configured with a plurality of first separation portions 51 that are positioned obliquely with respect to the vertical center line P. Since the first separation portion 51 has such an arrangement mode, the position of the separation unit 60 is compared with the case where the first separation portion 51 is arranged symmetrically with respect to the longitudinal center line P but is irregularly arranged. The entire region to be stretched can be regularly elongated, and the stretchability in the tilt direction R can be further enhanced.
  • the inner end 51a and / or the outer end 51b of any first separation part 51 constituting the separation unit 60 overlap each other in the inclination direction R with the adjacent first separation part 51.
  • the adjacent 1st separation parts 51 have the curved shape curved in the mutually opposite direction.
  • a force to twist the entire body due to the movement of the wearer or a change in posture may be applied. Even if the force which tries to twist it to the undergarment 70 acts by having such a shape and arrangement
  • the first and second end regions 41 and 42 are three-dimensionally deformed to improve fit to the body.
  • the sanitary napkin 10 absorbs the force to twist it, and can suppress a decrease in absorbability due to cracking of the liquid absorbing layer 13.
  • the first and second end regions 41, 42 since the second separation portion 52 located on the vertical center line P is disposed, the first and second end regions 41, 42 are arranged in the inclination direction R. It is possible to extend not only outward but also in the longitudinal direction Y. Further, when the sanitary napkin 10 is extended in the longitudinal direction Y because the third and fourth separation parts 53 and 54 are located in the intermediate region 43 of the liquid absorption layer 13, the separation parts 53 and 54. The space is a plurality of strips partially connected in the vertical direction Y. Thus, since it is excellent in the extensibility to the vertical direction Y, the sanitary napkin 10 whole can exhibit the curve shape along a wearer's body shape, and can improve a wear feeling.
  • the front and back layers 18 and 19 can be formed with irregularities that alternately extend in the vertical direction by a known gear stretching process to improve the extensibility of the sanitary napkin 10 in the horizontal direction X. .
  • the first separation portion 51 of the liquid absorption layer 13 is opened, and the sanitary napkin 10 can adapt to the movement of the undergarment 70.
  • separation part 51 can open to the inclination direction R which inclines in the vertical direction Y and the horizontal direction X, the force which is going to pull it on the sanitary napkin 10 to the horizontal direction X and the vertical direction Y
  • the liquid absorbing layer 13 can be extended with the required opening.
  • the core wrap sheet 29 is separated together with the absorbent core 28 in each separating portion 51 to 54 to form an opening, but each separating portion 51 to 54 is disposed only in the absorbent core 28,
  • positioned may be sufficient.
  • the core wrap sheet 29 in order to allow the core wrap sheet 29 to expand as the absorbent core 28 is expanded by opening the separation parts 51 to 54, the core wrap sheet 29 is It is preferably formed from a sheet material having extensibility. Moreover, you may provide the color visually recognizable from the outside along the external shape outline of the 1st isolation
  • the design is improved by the portion colored by the liquid absorption layer 13 being visually recognized by the wearer through the surface layer 18 and / or the back layer 19. Further, the wearer can visually recognize the presence of the first separation part 51 to give a sense of security that the sanitary napkin 10 can adapt to the undergarment 70, and is actually stretched when worn. Can be recognized.
  • the sanitary napkin 10 is arranged so that the first end region 41 is located on the front side (abdomen side) of the wearer, but the first end region 41 is on the rear side (back side). You may arrange.
  • each separation portion of the liquid absorption layer 13 may be disposed in at least one end region of the first and second end regions 41 and 42 of the sanitary napkin 10, but only in one of them.
  • positioning it is preferable to arrange
  • the separation portions 51 to 54 are arranged symmetrically with respect to the longitudinal center line P, that is, in the first and / or second end regions 41 and 42, the first side portions 45 are arranged.
  • the second side portion 46 are arranged symmetrically, thereby being excellent in adaptability to the inclination direction R, but not all or part of them is symmetrical, They may be arranged in a position shifted in the lateral direction X, and the number and shape of the separation parts 51 to 54 in the first and second side parts 45 and 46 and the intersection angle of the virtual line K are different. There may be.
  • FIG. 9A is a plan view of the liquid absorption layer 13 in an example of a modification of the sanitary napkin 10.
  • the first and second end regions 41 and 42 of the liquid absorption layer 13 are illustrated.
  • the second separator 52, the third and fourth separators 53, 54 are not arranged.
  • the first and second ends are applied when the force F2 to pull the sanitary napkin 10 in the inclination direction R is applied.
  • the areas 41 and 42 are not extended in the longitudinal direction Y, but are extended only outward in the inclined direction R.
  • FIG. 9B is a plan view of the liquid absorption layer 13 in another example of the sanitary napkin 10, and in the present modification, the first separation portion 51 is located with respect to the vertical center line P. It is formed from a slit that inclines and extends straight. Even if the first separating portion 51 is not curved but straight, the imaginary line K passing through the inner and outer ends 51a and 51b intersects the vertical center line P and faces the horizontal center line Q. Since the intersection angle ⁇ is an acute angle, the above-described technical effect is achieved.
  • the surface layer 18 and the back surface layer 19 are composed of one or a plurality of sheet members (the surface layer 18 is the surface sheet 11 and the intermediate sheet, and the back surface layer 19 is the back surface sheet 12. And the leak-proof sheet 14) and has extensibility in the vertical direction Y and / or the horizontal direction X. That is, all the sheets constituting the front and back layers 8 and 9 have elastic or inelastic stretchability.
  • an inelastic and stretchable sheet for example, spunbond fiber nonwoven fabric, various known fiber nonwoven fabrics such as SMS (spunbond / meltblown / spunbond) and fiber nonwoven fabric, and plastic film can be subjected to gear stretching and slit processing.
  • stretching process is used for each sheet
  • the “extensible sheet” means 3% from the dimension in the longitudinal direction Y in the natural state when the target sheet is stretched from the natural state in the longitudinal direction Y with a force of 30 mN / 25 mm. What can be extended as described above, that is, a length that is 1.03 or more times longer than the length before the extension force is applied.
  • a length of 30 mm in the longitudinal direction Y was pulled at a speed of 100 mm / min, and an elongation rate (%) was measured when a stretching force of 30 mN acted on the longitudinal direction Y with respect to a width of 25 mm in the transverse direction X.
  • the sheet members constituting the front and back surface layers 18 and 19 can be formed of a material having elasticity in the vertical direction Y and / or the horizontal direction X.
  • the sheet having stretchability is a spunbond nonwoven fabric composed of only elastic fibers, SMS (spunbond / meltblown / spunbond) fiber nonwoven fabric, or SM (spunbond / meltblown).
  • SMS spunbond / meltblown / spunbond
  • SM spunbond / meltblown
  • a plurality of layers of fiber non-woven fabric can be used, and the elastic fiber non-woven fabric can be formed from a stretchable composite sheet formed by joining a non-stretchable fiber non-woven fabric composed of non-stretchable fibers. it can.
  • the stretchable composite sheet can also be formed from a plurality of layers in which stretchable fiber nonwoven fabrics are arranged between two non-stretchable fiber nonwoven fabrics.
  • the non-stretchable fiber nonwoven fabric is formed from various known fiber nonwoven fabrics such as an air-through fiber nonwoven fabric and a heat roll fiber nonwoven fabric in addition to the spunbond fiber nonwoven fabric.
  • Examples of the constituent fibers of the nonwoven fabric used as the inelastic sheet include fibers made of polyethylene (PE), polypropylene (PP), polyester (PET), and the like.
  • the sanitary napkin 10 has concave compressed grooves 81 to 83 located in the region where the liquid absorption layer 13 exists on the skin facing surface side.
  • the squeezing grooves 81 to 83 each have a vertically long outer peripheral portion 81, a heart-shaped decorative portion 82 located in the outer peripheral portion 81, and a curved portion 83 that is positioned to face each other in the vertical direction Y.
  • the squeezing grooves 81 to 83 serve as a body fluid guiding groove for diffusing body fluids and a deformation assisting means that enables deformation according to the body shape.
  • the plurality of separating parts 51 to 54 are used.
  • the sanitary napkin 10 Since the members constituting the sanitary napkin 10 including the liquid-absorbing layer 13 in which is disposed are all extensible, the sanitary napkin 10 conforms to the undergarment 70 and is excessively extended in one direction. It can also serve as an extension suppressing means for suppressing the above.
  • a fastening means for fastening the sanitary napkin 10 to the undergarment 70 is disposed on the back side of the sanitary napkin 10.
  • the fastening means includes a central fastening means 85 extending in the longitudinal direction Y at the central portion of the sanitary napkin 10 in the lateral direction X, a pair of side fastening means 86 disposed on both wing portions 23, and a central fastening means. And a pair of end fastening means 87 located outside the longitudinal direction Y of 85.
  • the sanitary napkin 10 is extended in the longitudinal direction Y and the lateral direction X between the side fastening means 86 and the end fastening means 87. Further, since the end fastening means 87 is disposed so as to intersect with the first and second end edges 13a and 13b of the liquid absorbing layer 13, the sanitary napkin 10 is adapted to adapt to the movement of the undergarment 70. When a force pulling it in the vertical direction Y is applied, the liquid absorbing layer 13 is extended in the vertical direction Y.
  • the non-extensible regions (regions not subjected to gear stretching processing) of the sheets constituting the front and back layers 18 and 19 are located.
  • the stretchable region of each sheet subjected to gear stretching is located in the arrangement region of each fastening means 85 to 87, the fastening means 85 to 87 are fixed to the undergarment 70 to exhibit the stretchability.
  • the arrangement area is extended when the fastening means 85 to 87 are peeled off from the undergarment 70 after wearing, particularly when the back surface layer 19 is stretched, the peeling force acts. Therefore, it can be said that the peeling operation may be difficult.
  • the components constituting the sanitary napkin 10 are not limited to the materials described in the present specification.
  • the material can be used without limitation.
  • the terms “first” to “fourth” used in the present specification and claims are used to simply distinguish similar elements, positions, and the like.
  • the liquid absorption layer has first and second end regions facing each other in the longitudinal direction, and at least the first end region of the first and second end regions is the longitudinal region. At least one slit-shaped first separation portion penetrating the liquid-absorbing layer disposed in at least one of the first and second side portions opposed to each other across the center line, and the first and second side portions.
  • the first separation part has an inner end and an outer end located on the longitudinal center line side, and a virtual line passing through the inner and outer ends extends obliquely with respect to the longitudinal center line.
  • a virtual line passing through the inner and outer ends extends obliquely with respect to the longitudinal center line.
  • the intersection angle facing the horizontal center line is an acute angle.
  • the present invention disclosed in the paragraph 0047 includes at least the following embodiments, and each of the embodiments may be a single type or a combination.
  • the first separation portion is disposed to face the first side portion and the second side portion in the lateral direction.
  • the angle of intersection facing the lateral center line is about 50 to 80 degrees.
  • the first end region includes at least one separation unit that is configured by a plurality of the first separation portions and extends obliquely with respect to the longitudinal center line, and the first adjacent regions in the separation units.
  • a part of the separating portions is arranged so as to overlap each other in a direction inclined in the vertical direction and the horizontal direction.
  • the first separation portion is curved, and adjacent separation portions are curved in directions opposite to each other.
  • a slit-shaped second separation portion that is located on the vertical center line and penetrates the liquid absorption layer having a shape protruding outward in the vertical direction is disposed.
  • the liquid absorption layer further includes an intermediate area located between the first end area and the second end area, and the intermediate area includes a plurality of slit-shaped holes penetrating the liquid absorption layer.
  • the third and fourth separators are disposed, the third separators are spaced apart from each other in the longitudinal direction, extend in the lateral direction across the longitudinal center line, and The four separating portions extend from the side edges of the liquid absorption layer toward the longitudinal center line between the third separating portions and are opposed to each other with the longitudinal center line interposed therebetween.
  • the first and fourth separators are positioned symmetrically with respect to the vertical center line, and the second and third separators have a symmetrical shape with respect to the vertical center line.
  • the liquid-absorbing layer includes an absorbent core and a core wrap sheet that covers the absorbent core, and the core wrap sheet is formed of an extensible sheet.
  • the front side or the back side of the liquid absorption layer is colored along the first separation portion.
  • At least one of the front surface layer and the back surface layer is formed from a sheet having extensibility.
  • At least one of the front surface layer and the back surface layer is formed of a stretchable sheet.

Landscapes

  • Health & Medical Sciences (AREA)
  • Epidemiology (AREA)
  • Engineering & Computer Science (AREA)
  • Biomedical Technology (AREA)
  • Heart & Thoracic Surgery (AREA)
  • Vascular Medicine (AREA)
  • Life Sciences & Earth Sciences (AREA)
  • Animal Behavior & Ethology (AREA)
  • General Health & Medical Sciences (AREA)
  • Public Health (AREA)
  • Veterinary Medicine (AREA)
  • Absorbent Articles And Supports Therefor (AREA)
PCT/JP2015/073324 2014-11-05 2015-08-20 吸収性物品 Ceased WO2016072125A1 (ja)

Priority Applications (1)

Application Number Priority Date Filing Date Title
CN201580048037.4A CN107072826B (zh) 2014-11-05 2015-08-20 吸收性物品

Applications Claiming Priority (2)

Application Number Priority Date Filing Date Title
JP2014225628A JP6429596B2 (ja) 2014-11-05 2014-11-05 吸収性物品
JP2014-225628 2014-11-05

Publications (1)

Publication Number Publication Date
WO2016072125A1 true WO2016072125A1 (ja) 2016-05-12

Family

ID=55908855

Family Applications (1)

Application Number Title Priority Date Filing Date
PCT/JP2015/073324 Ceased WO2016072125A1 (ja) 2014-11-05 2015-08-20 吸収性物品

Country Status (3)

Country Link
JP (1) JP6429596B2 (enExample)
CN (1) CN107072826B (enExample)
WO (1) WO2016072125A1 (enExample)

Families Citing this family (2)

* Cited by examiner, † Cited by third party
Publication number Priority date Publication date Assignee Title
JP6226947B2 (ja) * 2015-12-29 2017-11-08 ユニ・チャーム株式会社 吸収性物品
JP7744847B2 (ja) * 2022-02-22 2025-09-26 花王株式会社 吸収性複合材及び吸収性物品

Citations (5)

* Cited by examiner, † Cited by third party
Publication number Priority date Publication date Assignee Title
JPH09504471A (ja) * 1993-10-22 1997-05-06 ザ、プロクター、エンド、ギャンブル、カンパニー 吸収材ゲル粒子の多孔性マクロ構造を有する吸収材材料
JP2003325563A (ja) * 2002-05-10 2003-11-18 Uni Charm Corp 使い捨ておむつ
JP2006271898A (ja) * 2005-03-30 2006-10-12 Daio Paper Corp 吸収性物品
JP2009153736A (ja) * 2007-12-27 2009-07-16 Kao Corp 吸収性物品
JP2014068680A (ja) * 2012-09-27 2014-04-21 Kao Corp 吸収性物品

Family Cites Families (5)

* Cited by examiner, † Cited by third party
Publication number Priority date Publication date Assignee Title
JPH0187720U (enExample) * 1987-12-01 1989-06-09
KR100263234B1 (ko) * 1995-07-03 2000-09-01 데이비드 엠 모이어 신장가능한연결부분을갖는흡수제품
US20020165517A1 (en) * 2001-03-01 2002-11-07 Kimberly-Clark Worldwide, Inc. Prefastened diaper/pant for infants with improved fit range
US8211078B2 (en) * 2005-02-17 2012-07-03 The Procter And Gamble Company Sanitary napkins capable of taking complex three-dimensional shape in use
JP6012270B2 (ja) * 2012-06-11 2016-10-25 花王株式会社 吸収性物品

Patent Citations (5)

* Cited by examiner, † Cited by third party
Publication number Priority date Publication date Assignee Title
JPH09504471A (ja) * 1993-10-22 1997-05-06 ザ、プロクター、エンド、ギャンブル、カンパニー 吸収材ゲル粒子の多孔性マクロ構造を有する吸収材材料
JP2003325563A (ja) * 2002-05-10 2003-11-18 Uni Charm Corp 使い捨ておむつ
JP2006271898A (ja) * 2005-03-30 2006-10-12 Daio Paper Corp 吸収性物品
JP2009153736A (ja) * 2007-12-27 2009-07-16 Kao Corp 吸収性物品
JP2014068680A (ja) * 2012-09-27 2014-04-21 Kao Corp 吸収性物品

Also Published As

Publication number Publication date
CN107072826B (zh) 2020-08-04
CN107072826A (zh) 2017-08-18
JP6429596B2 (ja) 2018-11-28
JP2016087119A (ja) 2016-05-23

Similar Documents

Publication Publication Date Title
KR102236503B1 (ko) 착용 물품
JP5009040B2 (ja) 使い捨て紙おむつ
JP5865778B2 (ja) 使い捨て着用物品
JP2010131297A (ja) 吸収性物品
JP6129124B2 (ja) 着用物品
JP4950025B2 (ja) 使い捨て着用物品
WO2013018807A1 (ja) 使い捨て着用物品
JP6168855B2 (ja) 使い捨て着用物品
JP6207475B2 (ja) 吸収性物品
JP5734161B2 (ja) 使い捨て着用物品
JP5805234B2 (ja) 使い捨て着用物品
WO2016208280A1 (ja) 使い捨て着用物品
CN106488760A (zh) 吸收性物品
JP5030548B2 (ja) 生理用ナプキン及びその製造方法
JP6199646B2 (ja) 吸収性物品
JP6429596B2 (ja) 吸収性物品
JP7129799B2 (ja) 使い捨て着用物品
JP4679300B2 (ja) 吸収性物品の吸収体
CN108697564A (zh) 吸收性物品
WO2016189906A1 (ja) 使い捨て着用物品
JP6422811B2 (ja) 使い捨て着用物品
JP4671855B2 (ja) 吸収性物品の包装構造
JP5934505B2 (ja) 吸収性物品
JP5717379B2 (ja) 吸収性物品
JP6317143B2 (ja) 吸収性物品

Legal Events

Date Code Title Description
121 Ep: the epo has been informed by wipo that ep was designated in this application

Ref document number: 15857439

Country of ref document: EP

Kind code of ref document: A1

NENP Non-entry into the national phase

Ref country code: DE

122 Ep: pct application non-entry in european phase

Ref document number: 15857439

Country of ref document: EP

Kind code of ref document: A1