WO2015178072A1 - ユニット開閉器及び開閉装置並びに鉄道車両 - Google Patents

ユニット開閉器及び開閉装置並びに鉄道車両 Download PDF

Info

Publication number
WO2015178072A1
WO2015178072A1 PCT/JP2015/057404 JP2015057404W WO2015178072A1 WO 2015178072 A1 WO2015178072 A1 WO 2015178072A1 JP 2015057404 W JP2015057404 W JP 2015057404W WO 2015178072 A1 WO2015178072 A1 WO 2015178072A1
Authority
WO
WIPO (PCT)
Prior art keywords
unit switch
electrical connection
unit
vehicle
electrode side
Prior art date
Legal status (The legal status is an assumption and is not a legal conclusion. Google has not performed a legal analysis and makes no representation as to the accuracy of the status listed.)
Ceased
Application number
PCT/JP2015/057404
Other languages
English (en)
French (fr)
Japanese (ja)
Inventor
佐藤 隆
歩 森田
土屋 賢治
渡辺 誠
佳典 嶋田
Current Assignee (The listed assignees may be inaccurate. Google has not performed a legal analysis and makes no representation or warranty as to the accuracy of the list.)
Hitachi Ltd
Original Assignee
Hitachi Ltd
Priority date (The priority date is an assumption and is not a legal conclusion. Google has not performed a legal analysis and makes no representation as to the accuracy of the date listed.)
Filing date
Publication date
Application filed by Hitachi Ltd filed Critical Hitachi Ltd
Priority to EP15796257.2A priority Critical patent/EP3147924B1/en
Priority to CN201580027092.5A priority patent/CN106415767B/zh
Publication of WO2015178072A1 publication Critical patent/WO2015178072A1/ja
Anticipated expiration legal-status Critical
Ceased legal-status Critical Current

Links

Images

Classifications

    • HELECTRICITY
    • H01ELECTRIC ELEMENTS
    • H01HELECTRIC SWITCHES; RELAYS; SELECTORS; EMERGENCY PROTECTIVE DEVICES
    • H01H33/00High-tension or heavy-current switches with arc-extinguishing or arc-preventing means
    • H01H33/60Switches wherein the means for extinguishing or preventing the arc do not include separate means for obtaining or increasing flow of arc-extinguishing fluid
    • H01H33/66Vacuum switches
    • H01H33/662Housings or protective screens
    • H01H33/66207Specific housing details, e.g. sealing, soldering or brazing
    • BPERFORMING OPERATIONS; TRANSPORTING
    • B60VEHICLES IN GENERAL
    • B60LPROPULSION OF ELECTRICALLY-PROPELLED VEHICLES; SUPPLYING ELECTRIC POWER FOR AUXILIARY EQUIPMENT OF ELECTRICALLY-PROPELLED VEHICLES; ELECTRODYNAMIC BRAKE SYSTEMS FOR VEHICLES IN GENERAL; MAGNETIC SUSPENSION OR LEVITATION FOR VEHICLES; MONITORING OPERATING VARIABLES OF ELECTRICALLY-PROPELLED VEHICLES; ELECTRIC SAFETY DEVICES FOR ELECTRICALLY-PROPELLED VEHICLES
    • B60L50/00Electric propulsion with power supplied within the vehicle
    • B60L50/50Electric propulsion with power supplied within the vehicle using propulsion power supplied by batteries or fuel cells
    • B60L50/53Electric propulsion with power supplied within the vehicle using propulsion power supplied by batteries or fuel cells in combination with an external power supply, e.g. from overhead contact lines
    • BPERFORMING OPERATIONS; TRANSPORTING
    • B60VEHICLES IN GENERAL
    • B60LPROPULSION OF ELECTRICALLY-PROPELLED VEHICLES; SUPPLYING ELECTRIC POWER FOR AUXILIARY EQUIPMENT OF ELECTRICALLY-PROPELLED VEHICLES; ELECTRODYNAMIC BRAKE SYSTEMS FOR VEHICLES IN GENERAL; MAGNETIC SUSPENSION OR LEVITATION FOR VEHICLES; MONITORING OPERATING VARIABLES OF ELECTRICALLY-PROPELLED VEHICLES; ELECTRIC SAFETY DEVICES FOR ELECTRICALLY-PROPELLED VEHICLES
    • B60L9/00Electric propulsion with power supply external to the vehicle
    • HELECTRICITY
    • H01ELECTRIC ELEMENTS
    • H01HELECTRIC SWITCHES; RELAYS; SELECTORS; EMERGENCY PROTECTIVE DEVICES
    • H01H33/00High-tension or heavy-current switches with arc-extinguishing or arc-preventing means
    • H01H33/60Switches wherein the means for extinguishing or preventing the arc do not include separate means for obtaining or increasing flow of arc-extinguishing fluid
    • H01H33/66Vacuum switches
    • H01H33/6606Terminal arrangements
    • BPERFORMING OPERATIONS; TRANSPORTING
    • B60VEHICLES IN GENERAL
    • B60LPROPULSION OF ELECTRICALLY-PROPELLED VEHICLES; SUPPLYING ELECTRIC POWER FOR AUXILIARY EQUIPMENT OF ELECTRICALLY-PROPELLED VEHICLES; ELECTRODYNAMIC BRAKE SYSTEMS FOR VEHICLES IN GENERAL; MAGNETIC SUSPENSION OR LEVITATION FOR VEHICLES; MONITORING OPERATING VARIABLES OF ELECTRICALLY-PROPELLED VEHICLES; ELECTRIC SAFETY DEVICES FOR ELECTRICALLY-PROPELLED VEHICLES
    • B60L2200/00Type of vehicles
    • B60L2200/26Rail vehicles
    • BPERFORMING OPERATIONS; TRANSPORTING
    • B60VEHICLES IN GENERAL
    • B60LPROPULSION OF ELECTRICALLY-PROPELLED VEHICLES; SUPPLYING ELECTRIC POWER FOR AUXILIARY EQUIPMENT OF ELECTRICALLY-PROPELLED VEHICLES; ELECTRODYNAMIC BRAKE SYSTEMS FOR VEHICLES IN GENERAL; MAGNETIC SUSPENSION OR LEVITATION FOR VEHICLES; MONITORING OPERATING VARIABLES OF ELECTRICALLY-PROPELLED VEHICLES; ELECTRIC SAFETY DEVICES FOR ELECTRICALLY-PROPELLED VEHICLES
    • B60L3/00Electric devices on electrically-propelled vehicles for safety purposes; Monitoring operating variables, e.g. speed, deceleration or energy consumption
    • B60L3/0023Detecting, eliminating, remedying or compensating for drive train abnormalities, e.g. failures within the drive train
    • B60L3/0069Detecting, eliminating, remedying or compensating for drive train abnormalities, e.g. failures within the drive train relating to the isolation, e.g. ground fault or leak current
    • HELECTRICITY
    • H01ELECTRIC ELEMENTS
    • H01HELECTRIC SWITCHES; RELAYS; SELECTORS; EMERGENCY PROTECTIVE DEVICES
    • H01H33/00High-tension or heavy-current switches with arc-extinguishing or arc-preventing means
    • H01H33/60Switches wherein the means for extinguishing or preventing the arc do not include separate means for obtaining or increasing flow of arc-extinguishing fluid
    • H01H33/66Vacuum switches
    • H01H33/662Housings or protective screens
    • H01H33/66207Specific housing details, e.g. sealing, soldering or brazing
    • H01H2033/6623Details relating to the encasing or the outside layers of the vacuum switch housings
    • HELECTRICITY
    • H01ELECTRIC ELEMENTS
    • H01HELECTRIC SWITCHES; RELAYS; SELECTORS; EMERGENCY PROTECTIVE DEVICES
    • H01H33/00High-tension or heavy-current switches with arc-extinguishing or arc-preventing means
    • H01H33/60Switches wherein the means for extinguishing or preventing the arc do not include separate means for obtaining or increasing flow of arc-extinguishing fluid
    • H01H33/66Vacuum switches
    • H01H33/666Operating arrangements
    • H01H2033/6667Details concerning lever type driving rod arrangements
    • HELECTRICITY
    • H01ELECTRIC ELEMENTS
    • H01HELECTRIC SWITCHES; RELAYS; SELECTORS; EMERGENCY PROTECTIVE DEVICES
    • H01H33/00High-tension or heavy-current switches with arc-extinguishing or arc-preventing means
    • H01H33/02Details
    • H01H33/28Power arrangements internal to the switch for operating the driving mechanism
    • H01H33/30Power arrangements internal to the switch for operating the driving mechanism using fluid actuator
    • H01H33/32Power arrangements internal to the switch for operating the driving mechanism using fluid actuator pneumatic
    • HELECTRICITY
    • H01ELECTRIC ELEMENTS
    • H01HELECTRIC SWITCHES; RELAYS; SELECTORS; EMERGENCY PROTECTIVE DEVICES
    • H01H33/00High-tension or heavy-current switches with arc-extinguishing or arc-preventing means
    • H01H33/02Details
    • H01H33/28Power arrangements internal to the switch for operating the driving mechanism
    • H01H33/38Power arrangements internal to the switch for operating the driving mechanism using electromagnet
    • HELECTRICITY
    • H01ELECTRIC ELEMENTS
    • H01HELECTRIC SWITCHES; RELAYS; SELECTORS; EMERGENCY PROTECTIVE DEVICES
    • H01H33/00High-tension or heavy-current switches with arc-extinguishing or arc-preventing means
    • H01H33/60Switches wherein the means for extinguishing or preventing the arc do not include separate means for obtaining or increasing flow of arc-extinguishing fluid
    • H01H33/66Vacuum switches
    • H01H33/666Operating arrangements
    • H01H33/6662Operating arrangements using bistable electromagnetic actuators, e.g. linear polarised electromagnetic actuators
    • HELECTRICITY
    • H02GENERATION; CONVERSION OR DISTRIBUTION OF ELECTRIC POWER
    • H02BBOARDS, SUBSTATIONS OR SWITCHING ARRANGEMENTS FOR THE SUPPLY OR DISTRIBUTION OF ELECTRIC POWER
    • H02B13/00Arrangement of switchgear in which switches are enclosed in, or structurally associated with, a casing, e.g. cubicle
    • H02B13/01Arrangement of switchgear in which switches are enclosed in, or structurally associated with, a casing, e.g. cubicle with resin casing
    • HELECTRICITY
    • H02GENERATION; CONVERSION OR DISTRIBUTION OF ELECTRIC POWER
    • H02BBOARDS, SUBSTATIONS OR SWITCHING ARRANGEMENTS FOR THE SUPPLY OR DISTRIBUTION OF ELECTRIC POWER
    • H02B13/00Arrangement of switchgear in which switches are enclosed in, or structurally associated with, a casing, e.g. cubicle
    • H02B13/02Arrangement of switchgear in which switches are enclosed in, or structurally associated with, a casing, e.g. cubicle with metal casing
    • H02B13/035Gas-insulated switchgear
    • H02B13/075Earthing arrangements
    • YGENERAL TAGGING OF NEW TECHNOLOGICAL DEVELOPMENTS; GENERAL TAGGING OF CROSS-SECTIONAL TECHNOLOGIES SPANNING OVER SEVERAL SECTIONS OF THE IPC; TECHNICAL SUBJECTS COVERED BY FORMER USPC CROSS-REFERENCE ART COLLECTIONS [XRACs] AND DIGESTS
    • Y02TECHNOLOGIES OR APPLICATIONS FOR MITIGATION OR ADAPTATION AGAINST CLIMATE CHANGE
    • Y02TCLIMATE CHANGE MITIGATION TECHNOLOGIES RELATED TO TRANSPORTATION
    • Y02T10/00Road transport of goods or passengers
    • Y02T10/60Other road transportation technologies with climate change mitigation effect
    • Y02T10/70Energy storage systems for electromobility, e.g. batteries

Definitions

  • the present invention relates to a unit switch, a switching device, and a railway vehicle, and more particularly to a unit switch, a switching device, and a railway vehicle that are suitable for a power distribution switchgear mounted on a railway vehicle.
  • the conventional switchgear described in Patent Document 1 has various combinations by combining a unit open / close part in which a vacuum valve is molded with an insulating material such as silicon rubber or epoxy resin, a solid insulation bus, a solid insulation operation mechanism case, and the like.
  • the switchgear having a simple structure is configured.
  • the unit opening and closing part has one electrical connection part on each of the movable side and the fixed side, and a conductor part and a contact for energizing the center part in each electrical intermittent part,
  • the peripheral portion is provided with a conical solid insulator creepage surface to ensure electrical insulation.
  • the unit opening / closing part of the solid insulation switchgear described in Patent Document 1 described above has one electrical connection part on each of the movable side and the fixed side, but two circuits are connected to one electrical connection part.
  • the present invention has been made in view of the above points, and the object of the present invention is to prevent an increase in the number of components and an increase in the size of the device even when two circuits are connected to one electrical connection portion.
  • An object of the present invention is to provide a unit switch and a switching device that can be used, and a railway vehicle equipped with them.
  • the unit switch according to the present invention has a vacuum interrupter having at least a movable electrode and a fixed electrode arranged opposite to each other, which is molded with a solid insulator, and on the fixed electrode side.
  • Two electrical connection portions, one electrical connection portion on the movable electrode side, and a current collecting mechanism and an insulating operation rod for driving the movable electrode to open and close are provided on the movable electrode side.
  • the switchgear according to the present invention has three unit switches having the above-described configuration arranged in parallel, and one of the electrical connection portions on the fixed electrode side of each unit switch is a circuit.
  • Three electromagnetic actuators that are electrically connected to each other by inter-connecting buses and that individually open and close the movable electrodes of each unit switch are arranged in parallel below the unit switches, and three A pantograph circuit is connected to the remaining electrical connection portion on the fixed electrode side of the first unit switch of the unit switch, and AC is connected to the electrical connection portion on the movable electrode side of the first unit switch.
  • a circuit or a DC circuit is connected, an arrester is connected to the remaining electrical connection part on the fixed electrode side of the second unit switch, and an electrical connection part on the movable electrode side of the second unit switch is connected to the electrical connection part , A circuit other than the AC circuit or the DC circuit connected to the electric connection part on the movable electrode side of the first unit switch is connected, and the electric connection part on the movable electrode side of the third unit switch is connected to the electric connection part A ground circuit is connected.
  • the railway vehicle according to the present invention is powered by a power supply line via a pantograph, and main power devices constituting a power supply unit are distributed and mounted on a plurality of vehicles.
  • a plurality of vehicle units formed and connected to each vehicle; a cable disposed through the vehicle to connect the power supply unit of each vehicle unit; and installed in the middle of the cable And a unit switch or switchgear configured as described above for electrically disconnecting the vehicle units.
  • Example 1 of the unit switch of this invention It is a longitudinal cross-sectional view which shows Example 1 of the unit switch of this invention. It is a figure which partially shows the state which installed the electromagnetic actuator before connecting a cable head, an arrester, etc. to Example 1 of the unit switch of this invention. It is a side view which shows Example 1 of the unit switch of this invention. It is an electrical connection figure in Example 1 of the unit switch of this invention. It is a top view which shows the opening / closing apparatus which is Example 2 of this invention in cross section. It is a front view which shows the opening / closing apparatus which is Example 2 of this invention in cross section. It is a side view which partially shows and shows the switchgear which is Example 2 of the present invention. It is an electrical connection figure in the switchgear which is Example 2 of this invention.
  • FIG. 13 is a cross-sectional view taken along line AA ′ of FIG.
  • 1 to 4 show a unit switch according to a first embodiment of the present invention.
  • the unit switch 70 of this embodiment includes a vacuum interrupter 1 including a fixed electrode 3 and a movable electrode 5, an arc shield 6, a ceramic insulating cylinder 7, and a bellows 2 that are arranged to face each other. And a bushing conductor 12A, which is a central conductor connected to the movable electrode 5, and a bushing conductor 12B, which is a central conductor connected to the fixed electrode 3, are molded with a solid insulator 21 such as an epoxy resin, and the vacuum interrupter 1
  • the movable side includes a current collecting mechanism such as a spring contact 22, and an air-insulating operating rod 20 that drives the movable electrode 5 of the vacuum interrupter 1 so as to be movable toward and away from the fixed electrode 3.
  • the space around the air-insulating operation rod 20 is sealed with a flexible member such as a solid insulator 21 and a rubber bellows 23, and an insulating gas such as dry air is sealed inside.
  • a linear seal may be applied instead of the rubber bellows 23, or it may be sealed with a film having moisture permeability, or by ensuring a sufficiently large creepage distance of the air-insulating operation rod 20,
  • the surrounding space may be in an atmospheric state without sealing.
  • the unit switch 70 of this embodiment includes two electrical connection portions 10B and 10C on the fixed electrode 3 side of the vacuum interrupter 1 and one electrical connection portion 10A on the movable electrode 5 side.
  • the electrical connection portion 10B on the fixed electrode 3 side and the electrical connection portion 10A on the movable electrode 5 side are cone-shaped bushings, and the electrical connection portion 10C on the fixed electrode 3 side has a concave shape. That is, one electrical connection portion 10B on the fixed electrode 3 side is a coaxial conical convex connection portion, and the other one electrical connection portion 10C is a coaxial cylindrical concave connection portion.
  • the bushing conductor 12B which is the central conductor, is integrally formed and molded, and a through hole (not shown) is provided at the center bottom of the central conductor of the electrical connecting portion 10C, which is a coaxial cylindrical concave connecting portion.
  • the fixed electrode 3 of the vacuum interrupter 1 is fastened by a bolt 62 penetrating the wire, and the inner surface of the coaxial cylindrical concave connection portion of the electric connection portion 10C is electrically connected to the fixed electrode 3 by fastening with the bolt 62. Connected).
  • the shape of the electrical connection portion 10C on the fixed electrode 3 side may be a cone-shaped bushing like the electrical connection portion 10B.
  • cables 42A and 42B with cable heads 40A and 40B attached to the tips are connected to the electrical connection 10A on the movable electrode 5 side and the electrical connection 10B on the fixed electrode 3 side of the unit switch 70.
  • the upper portions of the cable heads 40A and 40B are sealed with insulating plugs 41A and 41B.
  • the cable 42A is connected to an AC circuit (for example, a transformer) 50 or a DC circuit (for example, a converter) 51, which will be described later, and the cable 42B is connected to a pantograph circuit 52, which will be described later.
  • the arrester 43 is connected to the remaining electrical connection portion 10C on the fixed electrode 3 side.
  • an electromagnetic operating device 30 is provided below the unit switch 70, and this electromagnetic operating device 30 is connected to the air-insulated operating rod 20 via a lever 31. Then, by operating the electromagnetic operating device 30, the air-insulating operating rod 20 is operated via the lever 31, and the opening / closing (contact / separation) operation of the fixed electrode 3 and the movable electrode 5 of the vacuum interrupter 1 is performed.
  • FIG. 3 is a side view of the unit switch 70 shown in FIG. 2 (viewed from the left side of FIG. 2 with the cable heads 40A and 40B of FIG. 2 connected to the electrical connection portions 10A and 10B).
  • the central axes of the electrical connection portion 10B, the unit switch 70, the electromagnetic actuator 30, and the arrester 43 are placed on the same plane (the arrester 43, the electromagnetic actuator 30, the unit switch 70, and the vertical direction of the electrical connection portion 10B). (Axis is in the same plane, and the axis of each device is not shifted left and right in FIG. 3).
  • FIG. 2 is a plan view.
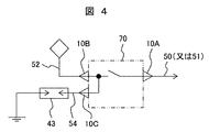
  • FIG. 4 is an electrical connection diagram of the present embodiment.
  • the pantograph circuit 52 is connected to the electrical connection portion 10B of the unit switch 70, the AC circuit 50 is connected to the electrical connection portion 10A, and the arrester circuit 54 is connected to the electrical connection portion 10C. .
  • three unit switches 70 (70A, 70B, 70C) having the configuration described in the first embodiment are arranged in parallel, and the first to third units are arranged in parallel.
  • One electrical connection portion 10C on the fixed electrode 3 side of the unit switches 70A, 70B, and 70C is electrically connected by the inter-circuit connecting bus 60, and the first to third unit switches 70A, 70B, and 70C.
  • the three electromagnetic actuators 30 for independently opening and closing the movable electrodes 5 of the unit switches 70A, 70B, and 70C are arranged in parallel below each other, and on the fixed electrode 3 side of the first unit switch 70A.
  • a pantograph circuit 52 is connected to the remaining electrical connection portion 10B, and an AC circuit (for example, a transformer) 50 or a DC circuit (for example, a transformer) is connected to the electrical connection portion 10A on the movable electrode 5 side of the first unit switch 70A. 51), an arrester (arrestor circuit 54) is connected to the remaining electrical connection portion 10B on the fixed electrode 3 side of the second unit switch 70B, and the movable electrode 5 side of the second unit switch 70B A circuit other than the AC circuit 50 or the DC circuit 51 connected to the electrical connection portion 10A on the movable electrode 5 side of the first unit switch 70A is connected to the electrical connection portion 10A of the first unit switch 70A. An earth circuit 53 is connected to the electric connecting portion 10A on the movable electrode 5 side.
  • an AC circuit for example, a transformer
  • DC circuit for example, a transformer
  • the first to third unit switches 70A, 70B, and 70C having the configuration described in the first embodiment are arranged in three circuits in the vertical direction on the paper surface, and each electrical connection portion 10C is a circuit. They are connected by an interlink bus 60.
  • the ground circuit 53 is connected to the movable electrode 10A side of the third unit switch 70C on the upper side of the drawing, and the DC circuit is connected to the movable electrode 5 side of the second unit switch 70B in the middle of the drawing.
  • the arrester circuit 54 is connected to the fixed electrode 3 side
  • the AC circuit 50 is connected to the movable electrode 5 side of the first unit switch 70A on the lower side of the page
  • the pantograph circuit 52 is connected to the fixed electrode 3 side.
  • the pantograph circuit 52 is connected to the electrical connection portion 10B on the fixed electrode 3 side of the vacuum interrupter 1 on the upper surface of the first unit switch 70A via the cable head 40B and the cable 42B.
  • An AC circuit 50 is connected to the electrical connection portion 10A on the movable electrode 5 side via a cable head 40A and a cable 42A.
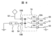
  • FIG. 7 is a side view of the second embodiment, and the inter-circuit connection bus 60 is fixed to the first to third unit switches 70A, 70B, and 70C with bolts 61.
  • the electrical connection portion above the paper surface of the third unit switch 70C on the left side of the paper surface can be omitted.
  • FIG. 8 is an electrical connection diagram of the present embodiment, in which the pantograph circuit 52 is connected to the electrical connection portion 10B of the first unit switch 70A, the AC circuit 50 is connected to the electrical connection portion 10A of the first unit switch 70A, and the second The arrester circuit 54 is connected to the electrical connection 10B of the unit switch 70B, the DC circuit 51 is connected to the electrical connection 10A of the second unit switch 70B, and the ground circuit 53 is connected to the electrical connection 10A of the third unit switch 70C. Has been.
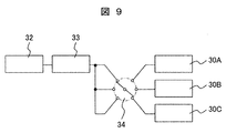
  • FIG. 9 shows a control circuit block diagram of the switchgear that is Embodiment 3 of the present invention.
  • an open / close signal by a power supply capacitor 32 and a control board 33 of a set of electromagnetic actuators 30 is converted into electromagnets 30A, 30B, and 30C of a plurality of electromagnetic actuators by an exclusive changeover switch 34. It is to be distributed to.
  • each of the electromagnetic operating devices 30 includes a power supply capacitor 32 and a control board 33, and an open / close signal by the power supply capacitor 32 and the control board 33 of the set of electromagnetic operating devices 30 is exclusively switched to the changeover switch 34.
  • the electric magnets 30A, 30B and 30C of the respective electromagnetic operating devices are distributed.
  • the first to third unit switches 70A, 70B and 70C can be operated.
  • the electromagnets 30A, 30B, and 30C of the electromagnetic actuator do not operate simultaneously, and an electrical interlock can be applied, thereby preventing malfunction.
  • Example 4 of the present invention an example in which the unit switch 70 described in Example 1 is mounted on a railway vehicle will be described with reference to FIGS. Although not described in detail, the same applies when the switchgear described in the second embodiment is mounted on a railway vehicle.
  • FIG. 10 shows an example of vehicle organization when the unit switch 70 described in the first embodiment is mounted on a railway vehicle.
  • the railway vehicle 100 of this embodiment is composed of 12 cars. Two cars constitute one vehicle unit, and the first vehicle unit 101, the second vehicle unit 102, and the third vehicle unit. 103, a fourth vehicle unit 104, a fifth vehicle unit 105, and a sixth vehicle unit 106.
  • each of the vehicle units 101 to 106 is equipped with a power supply unit composed of main power supply devices such as a main transformer and a main converter, an auxiliary power supply device, and auxiliary devices such as an air compressor.
  • main power supply devices such as a main transformer and a main converter
  • auxiliary power supply device such as an air compressor
  • the high-voltage cables 107A, 107B, 107C, and 107D connected through the high-voltage joint 110 and the three-branch high-voltage cable head 111 are connected to the power supply unit on which the vehicle units 101 to 106 are mounted.
  • the voltage cables 107A, 107B, 107C, and 107D are supplied with power from a power supply line (not shown) through pantographs 108A and 108B installed on the roof of the vehicle, and the high-voltage cables 107A, 107B, and 107C. , 107D supplies power to the power supply units of the vehicle units 101 to 106.
  • pantograph 108A is installed on the roof of the third vehicle that is the second vehicle unit 102
  • pantograph 108B is installed on the roof of the seventh vehicle that is the fourth vehicle unit 104.
  • the high voltage cables 107A, 107B, 107C, and 107D are flexible because they are arranged between the vehicles, and allow for changes such as curve passing, bending, and eccentricity. ing.
  • the roof of the fifth vehicle as the third vehicle unit 103 and the middle of the high voltage cable 107B and the high voltage cable 107C and the roof of the seventh vehicle as the fourth vehicle unit 104 are provided.
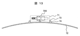
  • unit switches 70X and 70Y for electrically disconnecting the vehicle units are installed on the same plane as the roof of the vehicle.
  • the unit switches 70X and 70Y are installed on the roof 72 of the vehicle using a fixing means such as a bolt directly without using a lever or the like, and the opening / closing directions of the unit switches 70X and 70Y are horizontal.
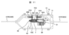
  • FIGS. 11 and 12 will be described by taking the unit switch 70X as an example.
  • the unit switch 70X is composed of a vacuum interrupter 1, the fixed side of the vacuum interrupter 1 is connected to a high voltage cable 107B (corresponding to the cable 42B of the first embodiment), and the movable side is a high voltage. It is connected to a cable 107C (corresponding to the cable 42A of the first embodiment).
  • the movable side of the vacuum interrupter 1 is connected to an electromagnetic operating device 30 via a link mechanism such as a lever 31. By operating the electromagnetic operating device 30, the movable electrode 5 of the vacuum interrupter 1 operates and the fixed electrode 3 is operated. (Opening and shutting off) is performed (FIG. 11 shows the closing state).
  • the vacuum interrupter 1 can also be operated with an air actuator using an air cylinder.
  • the unit switch 70X and the electromagnetic operating device 30 are installed in the case 71 together with a part of the high voltage cable 107C, and the case 71 is installed and fixed on the roof 72 of the vehicle.
  • the unit switch 70X and the electromagnetic operating device 30 are fixed on the roof 72 of the vehicle without using an insulator or the like.
  • FIG. 13 shows details of a state in which the case 71 containing the unit switch 70X and the electromagnetic actuator 30 is fixed on the roof 72 of the vehicle.
  • the case 71 containing the unit switch 70X and the electromagnetic actuator 30 is supported by a support plate 73, and this support plate 73 is attached to a U-shaped metal fitting 74 directly embedded in the roof 72 of the vehicle. By fixing with a bolt or the like, it is fixed on the roof 72 of the vehicle.
  • the case 71 containing the unit switch 70X and the electromagnetic actuator 30 can be directly fixed to the roof 72 of the vehicle.
  • the unit switches 70X and 70Y of the present embodiment are fixed on the same plane as the vehicle roof 72, that is, the vacuum interrupter 1 and the electromagnetic actuator 30 are housed in a single case 71. Since it is directly fixed to the roof 72 of the vehicle, it is advantageous in that the height direction does not have to be higher than that in which it is fixed using a lever or the like.
  • this invention is not limited to the above-mentioned Example, Various modifications are included.
  • the above-described embodiments have been described in detail for easy understanding of the present invention, and are not necessarily limited to those having all the configurations described.
  • a part of the configuration of one embodiment can be replaced with the configuration of another embodiment, and the configuration of another embodiment can be added to the configuration of one embodiment.
  • SYMBOLS 1 Vacuum interrupter, 2 ... Bellows, 3 ... Fixed electrode, 5 ... Movable electrode, 6 ... Arc shield, 7 ... Ceramic insulation cylinder, 10A, 10B, 10C ... Electrical connection part, 12A, 12B ... Bushing conductor, 20 ... Air Medium-insulating operating rod, 21 ... Solid insulator, 22 ... Spring contact, 23 ... Rubber bellows, 30 ... Electromagnetic actuator, 30A, 30B, 30C ... Electromagnet of electromagnetic actuator, 31 ... Lever, 32 ... Power supply capacitor, 33 ... Control board, 34 ... changeover switch, 40A, 40B ... cable head, 41A, 41B ...

Landscapes

  • Engineering & Computer Science (AREA)
  • Life Sciences & Earth Sciences (AREA)
  • Sustainable Development (AREA)
  • Sustainable Energy (AREA)
  • Power Engineering (AREA)
  • Transportation (AREA)
  • Mechanical Engineering (AREA)
  • Electric Propulsion And Braking For Vehicles (AREA)
  • High-Tension Arc-Extinguishing Switches Without Spraying Means (AREA)
  • Driving Mechanisms And Operating Circuits Of Arc-Extinguishing High-Tension Switches (AREA)
  • Gas-Insulated Switchgears (AREA)
  • Current-Collector Devices For Electrically Propelled Vehicles (AREA)
PCT/JP2015/057404 2014-05-22 2015-03-13 ユニット開閉器及び開閉装置並びに鉄道車両 Ceased WO2015178072A1 (ja)

Priority Applications (2)

Application Number Priority Date Filing Date Title
EP15796257.2A EP3147924B1 (en) 2014-05-22 2015-03-13 Unit switch, switching device, and railroad car
CN201580027092.5A CN106415767B (zh) 2014-05-22 2015-03-13 单元开关和开关装置以及铁道车辆

Applications Claiming Priority (2)

Application Number Priority Date Filing Date Title
JP2014-105784 2014-05-22
JP2014105784A JP6328998B2 (ja) 2014-05-22 2014-05-22 ユニット開閉器及び開閉装置並びに鉄道車両

Publications (1)

Publication Number Publication Date
WO2015178072A1 true WO2015178072A1 (ja) 2015-11-26

Family

ID=54553749

Family Applications (1)

Application Number Title Priority Date Filing Date
PCT/JP2015/057404 Ceased WO2015178072A1 (ja) 2014-05-22 2015-03-13 ユニット開閉器及び開閉装置並びに鉄道車両

Country Status (5)

Country Link
EP (1) EP3147924B1 (enExample)
JP (1) JP6328998B2 (enExample)
CN (1) CN106415767B (enExample)
TW (1) TWI573163B (enExample)
WO (1) WO2015178072A1 (enExample)

Cited By (4)

* Cited by examiner, † Cited by third party
Publication number Priority date Publication date Assignee Title
EP3179583A1 (en) * 2015-12-11 2017-06-14 ABB Schweiz AG Subsea medium voltage vacuum circuit breaker in sf6 insulated housing for the use in high pressure environments
EP3364438A1 (en) * 2017-02-21 2018-08-22 Hitachi Industrial Equipment Systems Co., Ltd. Rail car switch unit
WO2019092918A1 (ja) * 2017-11-10 2019-05-16 株式会社日立産機システム 開閉器ユニット及びこれを用いた鉄道車両
JP2019164900A (ja) * 2018-03-19 2019-09-26 株式会社日立産機システム 固体絶縁形の真空開閉器

Families Citing this family (7)

* Cited by examiner, † Cited by third party
Publication number Priority date Publication date Assignee Title
JP2017208870A (ja) 2016-05-16 2017-11-24 株式会社日立産機システム 分岐ユニットまたは車両システム
DE102017101015B4 (de) 2017-01-19 2020-03-26 Stemmann-Technik Gmbh Trennvorrichtung
JP7577539B2 (ja) * 2018-01-15 2024-11-05 セシュロン ソシエテ アノニム 電気開閉装置
JP6975098B2 (ja) * 2018-05-25 2021-12-01 株式会社日立産機システム 固体絶縁開閉器および鉄道車両
JP7141377B2 (ja) * 2019-09-24 2022-09-22 株式会社日立産機システム 鉄道車両用開閉器、及び、その製造方法
CN114113744B (zh) * 2021-11-04 2024-08-27 国网河北省电力有限公司石家庄供电分公司 一种离线式高压电缆户外终端避雷器测试装置
CN114940071B (zh) * 2022-05-27 2024-12-27 中国第一汽车股份有限公司 电动汽车高压互锁故障的检测方法及装置、存储介质

Citations (4)

* Cited by examiner, † Cited by third party
Publication number Priority date Publication date Assignee Title
JPS56128528A (en) * 1980-03-11 1981-10-08 Meidensha Electric Mfg Co Ltd Conductor for large current vacuum switch
JP2005251413A (ja) * 2004-03-01 2005-09-15 Toshiba Corp 固体絶縁スイッチギヤ
JP2009021124A (ja) * 2007-07-12 2009-01-29 Toshiba Corp 真空遮断器
JP2014002876A (ja) * 2012-06-18 2014-01-09 Hitachi Ltd 電磁操作式開閉装置

Family Cites Families (6)

* Cited by examiner, † Cited by third party
Publication number Priority date Publication date Assignee Title
SG99391A1 (en) * 1999-04-19 2003-10-27 Mitsubishi Electric Corp Switch gear and special-height metal closed type switch gear
US7501598B2 (en) * 2006-05-31 2009-03-10 Thomas & Betts International, Inc. Connector system for an insulated switch with provision for grounding and visible break
JP5311972B2 (ja) * 2007-11-09 2013-10-09 株式会社日立製作所 編成車両
JP5380467B2 (ja) * 2011-01-06 2014-01-08 株式会社日立製作所 開閉器ユニット及びスイッチギヤ
CN103282231B (zh) * 2011-01-14 2016-01-20 川崎重工业株式会社 电路断路单元及具备该电路断路单元的铁道车辆
JP5948176B2 (ja) * 2012-07-24 2016-07-06 株式会社日立製作所 開閉器

Patent Citations (4)

* Cited by examiner, † Cited by third party
Publication number Priority date Publication date Assignee Title
JPS56128528A (en) * 1980-03-11 1981-10-08 Meidensha Electric Mfg Co Ltd Conductor for large current vacuum switch
JP2005251413A (ja) * 2004-03-01 2005-09-15 Toshiba Corp 固体絶縁スイッチギヤ
JP2009021124A (ja) * 2007-07-12 2009-01-29 Toshiba Corp 真空遮断器
JP2014002876A (ja) * 2012-06-18 2014-01-09 Hitachi Ltd 電磁操作式開閉装置

Cited By (7)

* Cited by examiner, † Cited by third party
Publication number Priority date Publication date Assignee Title
EP3179583A1 (en) * 2015-12-11 2017-06-14 ABB Schweiz AG Subsea medium voltage vacuum circuit breaker in sf6 insulated housing for the use in high pressure environments
EP3364438A1 (en) * 2017-02-21 2018-08-22 Hitachi Industrial Equipment Systems Co., Ltd. Rail car switch unit
CN108454413A (zh) * 2017-02-21 2018-08-28 株式会社日立产机系统 铁路车辆用开关单元
WO2019092918A1 (ja) * 2017-11-10 2019-05-16 株式会社日立産機システム 開閉器ユニット及びこれを用いた鉄道車両
JP2019091527A (ja) * 2017-11-10 2019-06-13 株式会社日立産機システム 開閉器ユニット及びこれを用いた鉄道車両
JP2019164900A (ja) * 2018-03-19 2019-09-26 株式会社日立産機システム 固体絶縁形の真空開閉器
WO2019181271A1 (ja) * 2018-03-19 2019-09-26 株式会社日立産機システム 固体絶縁形の真空開閉器

Also Published As

Publication number Publication date
TWI573163B (zh) 2017-03-01
EP3147924B1 (en) 2020-06-10
JP2015222617A (ja) 2015-12-10
EP3147924A4 (en) 2018-02-14
CN106415767B (zh) 2018-11-23
CN106415767A (zh) 2017-02-15
JP6328998B2 (ja) 2018-05-23
TW201545192A (zh) 2015-12-01
EP3147924A1 (en) 2017-03-29

Similar Documents

Publication Publication Date Title
JP6328998B2 (ja) ユニット開閉器及び開閉装置並びに鉄道車両
US8710388B2 (en) Switchgear and method for operating switchgear
US20090179718A1 (en) High-powered switching device disposed on an electrically powered vehicle
KR101736290B1 (ko) 철도 차량
CN102139643A (zh) 布置在电气牵引轨道车辆的车顶上的电子装备
KR100952686B1 (ko) 전계완화전극이 구비된 가스절연개폐장치의 차단기부
US10589760B2 (en) Branching unit and vehicular system
JP6713940B2 (ja) 固体絶縁型開閉器ユニットの放熱装置、固体絶縁型開閉器ユニット、および、鉄道車両
JP6778129B2 (ja) 鉄道車両用開閉器ユニット
JP2018049764A (ja) 開閉器ユニット、および、それを用いた鉄道車両
JP2018049764A5 (enExample)
CN103368097B (zh) 用于固体绝缘开关装置的开关
JP7576190B2 (ja) 開閉器
JP2019164900A (ja) 固体絶縁形の真空開閉器
JP2014033481A (ja) スイッチギヤ
JP2016046235A (ja) ユニット開閉器及び開閉装置

Legal Events

Date Code Title Description
121 Ep: the epo has been informed by wipo that ep was designated in this application

Ref document number: 15796257

Country of ref document: EP

Kind code of ref document: A1

REEP Request for entry into the european phase

Ref document number: 2015796257

Country of ref document: EP

WWE Wipo information: entry into national phase

Ref document number: 2015796257

Country of ref document: EP

NENP Non-entry into the national phase

Ref country code: DE