WO2015133299A1 - 撮像装置、および内視鏡装置 - Google Patents

撮像装置、および内視鏡装置 Download PDF

Info

Publication number
WO2015133299A1
WO2015133299A1 PCT/JP2015/054841 JP2015054841W WO2015133299A1 WO 2015133299 A1 WO2015133299 A1 WO 2015133299A1 JP 2015054841 W JP2015054841 W JP 2015054841W WO 2015133299 A1 WO2015133299 A1 WO 2015133299A1
Authority
WO
WIPO (PCT)
Prior art keywords
imaging device
image pickup
lens
imaging
lens group
Prior art date
Legal status (The legal status is an assumption and is not a legal conclusion. Google has not performed a legal analysis and makes no representation as to the accuracy of the status listed.)
Ceased
Application number
PCT/JP2015/054841
Other languages
English (en)
French (fr)
Japanese (ja)
Inventor
紀幸 藤森
Current Assignee (The listed assignees may be inaccurate. Google has not performed a legal analysis and makes no representation or warranty as to the accuracy of the list.)
Olympus Corp
Original Assignee
Olympus Corp
Priority date (The priority date is an assumption and is not a legal conclusion. Google has not performed a legal analysis and makes no representation as to the accuracy of the date listed.)
Filing date
Publication date
Application filed by Olympus Corp filed Critical Olympus Corp
Priority to CN201580011337.5A priority Critical patent/CN106793916A/zh
Priority to DE112015001102.1T priority patent/DE112015001102T5/de
Publication of WO2015133299A1 publication Critical patent/WO2015133299A1/ja
Priority to US15/227,352 priority patent/US10542874B2/en
Anticipated expiration legal-status Critical
Ceased legal-status Critical Current

Links

Images

Classifications

    • GPHYSICS
    • G02OPTICS
    • G02BOPTICAL ELEMENTS, SYSTEMS OR APPARATUS
    • G02B23/00Telescopes, e.g. binoculars; Periscopes; Instruments for viewing the inside of hollow bodies; Viewfinders; Optical aiming or sighting devices
    • G02B23/24Instruments or systems for viewing the inside of hollow bodies, e.g. fibrescopes
    • G02B23/2407Optical details
    • G02B23/2423Optical details of the distal end
    • AHUMAN NECESSITIES
    • A61MEDICAL OR VETERINARY SCIENCE; HYGIENE
    • A61BDIAGNOSIS; SURGERY; IDENTIFICATION
    • A61B1/00Instruments for performing medical examinations of the interior of cavities or tubes of the body by visual or photographical inspection, e.g. endoscopes; Illuminating arrangements therefor
    • A61B1/00064Constructional details of the endoscope body
    • A61B1/00071Insertion part of the endoscope body
    • A61B1/0008Insertion part of the endoscope body characterised by distal tip features
    • A61B1/00096Optical elements
    • AHUMAN NECESSITIES
    • A61MEDICAL OR VETERINARY SCIENCE; HYGIENE
    • A61BDIAGNOSIS; SURGERY; IDENTIFICATION
    • A61B1/00Instruments for performing medical examinations of the interior of cavities or tubes of the body by visual or photographical inspection, e.g. endoscopes; Illuminating arrangements therefor
    • A61B1/00163Optical arrangements
    • AHUMAN NECESSITIES
    • A61MEDICAL OR VETERINARY SCIENCE; HYGIENE
    • A61BDIAGNOSIS; SURGERY; IDENTIFICATION
    • A61B1/00Instruments for performing medical examinations of the interior of cavities or tubes of the body by visual or photographical inspection, e.g. endoscopes; Illuminating arrangements therefor
    • A61B1/04Instruments for performing medical examinations of the interior of cavities or tubes of the body by visual or photographical inspection, e.g. endoscopes; Illuminating arrangements therefor combined with photographic or television appliances
    • A61B1/05Instruments for performing medical examinations of the interior of cavities or tubes of the body by visual or photographical inspection, e.g. endoscopes; Illuminating arrangements therefor combined with photographic or television appliances characterised by the image sensor, e.g. camera, being in the distal end portion
    • AHUMAN NECESSITIES
    • A61MEDICAL OR VETERINARY SCIENCE; HYGIENE
    • A61BDIAGNOSIS; SURGERY; IDENTIFICATION
    • A61B1/00Instruments for performing medical examinations of the interior of cavities or tubes of the body by visual or photographical inspection, e.g. endoscopes; Illuminating arrangements therefor
    • A61B1/04Instruments for performing medical examinations of the interior of cavities or tubes of the body by visual or photographical inspection, e.g. endoscopes; Illuminating arrangements therefor combined with photographic or television appliances
    • A61B1/05Instruments for performing medical examinations of the interior of cavities or tubes of the body by visual or photographical inspection, e.g. endoscopes; Illuminating arrangements therefor combined with photographic or television appliances characterised by the image sensor, e.g. camera, being in the distal end portion
    • A61B1/051Details of CCD assembly
    • GPHYSICS
    • G02OPTICS
    • G02BOPTICAL ELEMENTS, SYSTEMS OR APPARATUS
    • G02B23/00Telescopes, e.g. binoculars; Periscopes; Instruments for viewing the inside of hollow bodies; Viewfinders; Optical aiming or sighting devices
    • G02B23/02Telescopes, e.g. binoculars; Periscopes; Instruments for viewing the inside of hollow bodies; Viewfinders; Optical aiming or sighting devices involving prisms or mirrors
    • GPHYSICS
    • G02OPTICS
    • G02BOPTICAL ELEMENTS, SYSTEMS OR APPARATUS
    • G02B23/00Telescopes, e.g. binoculars; Periscopes; Instruments for viewing the inside of hollow bodies; Viewfinders; Optical aiming or sighting devices
    • G02B23/24Instruments or systems for viewing the inside of hollow bodies, e.g. fibrescopes
    • G02B23/2407Optical details
    • G02B23/2423Optical details of the distal end
    • G02B23/243Objectives for endoscopes
    • GPHYSICS
    • G02OPTICS
    • G02BOPTICAL ELEMENTS, SYSTEMS OR APPARATUS
    • G02B27/00Optical systems or apparatus not provided for by any of the groups G02B1/00 - G02B26/00, G02B30/00
    • G02B27/62Optical apparatus specially adapted for adjusting optical elements during the assembly of optical systems
    • HELECTRICITY
    • H04ELECTRIC COMMUNICATION TECHNIQUE
    • H04NPICTORIAL COMMUNICATION, e.g. TELEVISION
    • H04N23/00Cameras or camera modules comprising electronic image sensors; Control thereof
    • H04N23/50Constructional details
    • H04N23/555Constructional details for picking-up images in sites, inaccessible due to their dimensions or hazardous conditions, e.g. endoscopes or borescopes
    • HELECTRICITY
    • H04ELECTRIC COMMUNICATION TECHNIQUE
    • H04NPICTORIAL COMMUNICATION, e.g. TELEVISION
    • H04N23/00Cameras or camera modules comprising electronic image sensors; Control thereof
    • H04N23/56Cameras or camera modules comprising electronic image sensors; Control thereof provided with illuminating means
    • GPHYSICS
    • G02OPTICS
    • G02BOPTICAL ELEMENTS, SYSTEMS OR APPARATUS
    • G02B23/00Telescopes, e.g. binoculars; Periscopes; Instruments for viewing the inside of hollow bodies; Viewfinders; Optical aiming or sighting devices
    • G02B23/24Instruments or systems for viewing the inside of hollow bodies, e.g. fibrescopes
    • G02B23/2407Optical details
    • G02B23/2461Illumination
    • G02B23/2469Illumination using optical fibres

Definitions

  • the present invention relates to an imaging device provided at the tip of an insertion portion of an endoscope to be inserted into a subject to image a region to be examined, and an endoscope apparatus using the imaging device.
  • an endoscope apparatus is widely used for various examinations in the medical field and the industrial field.
  • the medical endoscope apparatus is configured such that a flexible elongated insertion portion having a built-in imaging device is inserted into a tip end portion of a body cavity of a subject such as a patient.
  • observation etc. can be performed, the diameter reduction of an insertion part is calculated
  • an imaging device used for an endoscope or the like holds the outer peripheral portion of a lens group as an objective optical system by a metal frame member, and defines the positions of the lens group in the radial direction and the optical axis direction.
  • a member for holding the frame member of the objective optical system is provided with an interval in the optical path direction, and after cutting the outer peripheral surface of this interval portion, disposed close to the upper surface side of the solid-state imaging device.
  • the thickness of the metal frame member becomes relatively large compared to the external dimensions of the system, which may hinder the miniaturization of the imaging device.
  • the thickness is limited in the same manner as metal, due to the limit in formation of the frame member (for example, when forming the frame member by injection molding), It could be a factor that impedes miniaturization.
  • This invention is made in view of the above, Comprising: It aims at providing an imaging device which can be miniaturized, and an endoscope apparatus.
  • an imaging device includes a lens group that collects incident light, a prism that reflects light collected by the lens group, and reflection by the prism And an imaging device having a light receiving unit that generates an electric signal by receiving the received light and performing photoelectric conversion, the prism is mounted on the light receiving unit, and the lens group is provided on the surface of the imaging device It is characterized in that it is directly implemented in
  • a flat portion having a planar shape is formed on the bottom surface of the lens group in contact with the imaging element.
  • the apparatus further comprises lens position defining means for defining the position of the lens group on the surface of the image sensor.
  • the lens position defining means is a silicon block having a V-shaped vertical cross section.
  • the lens position defining means is a recess formed in a thin film formed on the surface of the imaging element.
  • the lens position defining means is an alignment mark formed on the surface of the image pickup element.
  • the lens group is a unitary body integrated with a diaphragm member and a spacing member, and when defining the position of the unitary group on the imaging device, The mounting position of the set is adjusted based on the image information input from the set.
  • An endoscope apparatus is an endoscope apparatus including an imaging device which is inserted into a living body and images an inside of the living body, wherein the imaging device is the imaging device according to any one of the above. It is characterized by
  • the endoscope apparatus performs photoelectric conversion by receiving a lens group that collects incident light, a prism that reflects the light collected by the lens group, and light that is reflected by the prism. And an imaging device having a light receiving unit that generates an electrical signal, wherein the imaging device is provided at the distal end of the insertion unit, and the endoscope is configured to insert the insertion unit into a living body to acquire in-vivo information.
  • the image pickup device is characterized in that it is supported by a component of the tip portion.
  • the lens group by directly mounting the lens group on the surface of the imaging device, it is possible to achieve a reduction in diameter and a reduction in size of the imaging device.
  • FIG. 1 is a view schematically showing an entire configuration of an endoscope system according to an embodiment of the present invention.
  • FIG. 2A is a partial cross-sectional view of a vertical plane parallel to the optical axis direction of the tip of the endoscope shown in FIG.
  • FIG. 2B is a front view of the endoscope tip shown in FIG.
  • FIG. 3A is a perspective view of the imaging device shown in FIG. 2A.
  • FIG. 3B is a cross-sectional view taken along line AA of FIG. 3A.
  • FIG. 4 is a diagram for explaining a manufacturing process of the imaging device of FIG. 2A.
  • FIG. 5A is a diagram for explaining an imaging device according to a first modification of the present embodiment.
  • FIG. 5B is a view for explaining lens position defining means of the imaging device according to the second modification of the present embodiment.
  • FIG. 5C is a perspective view illustrating lens position defining means of the imaging device according to the third modification of the present embodiment.
  • FIG. 5D is a perspective view illustrating lens position defining means of the imaging device according to the fourth modification of the present embodiment.
  • FIG. 5E is a cross-sectional view taken along line BB of FIG. 5D.
  • an endoscope apparatus provided with an imaging module will be described as a mode for carrying out the present invention (hereinafter, referred to as "embodiment"). Further, the present invention is not limited by the embodiment. Furthermore, in the description of the drawings, the same parts are given the same reference numerals. Furthermore, it should be noted that the drawings are schematic, and the relationship between the thickness and width of each member, the ratio of each member, and the like are different from reality. In addition, among the drawings, there are included parts having different dimensions and ratios.
  • FIG. 1 is a view schematically showing an entire configuration of an endoscope system according to an embodiment of the present invention.
  • the endoscope apparatus 1 includes an endoscope 2, a universal cord 6, a connector 7, a light source device 9, a processor (control device) 10, and a display device 13.
  • the endoscope 2 captures an in-vivo image of a subject by inserting the insertion unit 4 into a body cavity of the subject, and outputs an imaging signal.
  • the electric cable bundle inside the universal cord 6 is extended to the tip of the insertion portion 4 of the endoscope 2 and connected to the imaging device provided at the tip portion 31 of the insertion portion 4.
  • the connector 7 is provided at the base end of the universal cord 6, connected to the light source device 9 and the processor 10, and performs predetermined signal processing on the imaging signal output from the imaging device of the distal end 31 connected to the universal cord 6.
  • the image pickup signal is analog-digital converted (A / D converted) and output as an image signal.
  • the light source device 9 is configured using, for example, a white LED.
  • the pulsed white light that the light source device 9 lights up becomes illumination light that is emitted toward the subject from the tip of the insertion portion 4 of the endoscope 2 via the connector 7 and the universal cord 6.
  • the processor 10 performs predetermined image processing on the image signal output from the connector 7 and controls the entire endoscope apparatus 1.
  • the display device 13 displays an image signal processed by the processor 10.
  • the proximal end side of the insertion portion 4 of the endoscope 2 is connected to the operation unit 5 provided with various buttons and knobs for operating the endoscope function.
  • the operation unit 5 is provided with a treatment instrument insertion port 17 for inserting a treatment instrument such as a biological forceps, an electric knife, and a test probe into a body cavity of a subject.
  • the insertion portion 4 is connected to a distal end portion 31 provided with an imaging device, a bending portion 32 bendable in a plurality of directions continuously connected to the proximal end side of the distal end portion 31, and a proximal end side of the bending portion 32. And a flexible tube portion 33.
  • the bending tube in the bending portion 32 is bent by the operation of a bending operation knob provided on the operation portion 5 and is bent in four directions, for example, in the upper, lower, left, and right directions along with the pulling and relaxing of the bending wire inserted into the insertion portion 4. It is free.
  • the endoscope 2 is provided with a light guide (not shown) for transmitting the illumination light from the light source device 9, and an illumination lens (not shown) is disposed at the emission end of the illumination light by the light guide.
  • the illumination lens is provided at the distal end portion 31 of the insertion portion 4 and the illumination light is emitted toward the subject.
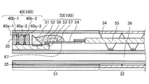
  • FIG. 2A is a cross-sectional view of the imaging device provided at the distal end portion 31 of the endoscope 2 taken along a plane orthogonal to the substrate surface of the imaging device and parallel to the optical axis direction of incident light of the imaging device.
  • FIG. 2B is a front view of the distal end portion 31 of the endoscope 2.
  • the distal end portion 31 of the insertion portion 4 of the endoscope 2 and a part of the bending portion 32 are illustrated.
  • the bending portion 32 is bendable in four directions, upward, downward, leftward, and rightward, as the bending wire inserted into the bending tube 34 is pulled and loosened.
  • the imaging device 100 is provided at the upper portion inside the distal end portion 31 extended to the distal end side of the curved portion 32, and a treatment instrument channel 36 for extending various treatment instruments is formed at the lower portion.
  • the imaging device 100 includes a lens unit 40 and an imaging unit 50 disposed on the proximal end side of the lens unit 40, and is adhered to the inside of the distal end portion 31 with an adhesive.
  • the tip portion 31 is formed of a hard member for forming an internal space for housing the imaging device 100.
  • the proximal outer periphery of the distal end portion 31 is covered by a flexible cladding tube (not shown).
  • the member on the proximal side of the distal end portion 31 is formed of a flexible member so that the bending portion 32 can be bent.
  • the lens unit 40 includes a plurality of objective lenses 40a-1 to 40a-3, spacers 40b-1 and 40b-2 disposed between the plurality of objective lenses 40a-1 to 40a-3, and a diaphragm member (not shown)
  • the upper ends of the objective lens 40a-1 and the spacer 40b-1 are fixed to the distal end portion 31 by being fitted and fixed to the distal end fixing portion 35 inside the distal end portion 31.
  • the outer diameter of the tip of the endoscope can be reduced by reducing the thickness of the imaging device 53.
  • the imaging device 53 is a semiconductor and made of a brittle material such as single crystal silicon, The bending strength is significantly reduced.
  • the imaging device 53 is supported by the distal end fixing portion 35 and the treatment tool channel 36, and the imaging device 53 is reinforced so as not to be broken by external stress or the like.
  • the reinforcement of the imaging device 53 may be made by either the distal end fixing portion 35 or the treatment instrument channel 36, or may be made by another component of the distal end portion 31.
  • the imaging unit 50 generates an electrical signal by receiving light reflected by the prism 51 that reflects light emitted from the objective lenses 40 a-1 to 40 a-3 of the lens unit 40 and light reflected by the prism 51.
  • an imaging device 53 having a light receiving unit 52.
  • the imaging device 53 is a horizontal type in which the light receiving unit 52 is disposed horizontally, and the prism 51 is bonded on the light receiving unit 52.
  • the flexible printed circuit board 54 to which the signal cable 55 is connected is connected to the base end of the imaging device 53.
  • Electronic components 57 for driving the imaging device 53 and the like are mounted on the flexible printed circuit 54.
  • the imaging device 53 according to the embodiment of the present invention is a semiconductor imaging device of a charge coupled device (CCD) or a complementary metal oxide semiconductor (CMOS) type.
  • CCD charge coupled device
  • CMOS complementary metal oxide semiconductor
  • the proximal end of the signal cable 55 extends in the proximal direction of the insertion portion 4.
  • the signal cable 55 is inserted through the insertion portion 4 and extends to the connector 7 through the operation portion 5 and the universal cord 6 shown in FIG.
  • the light incident on the front end portion 31 is condensed by the objective lenses 40 a-1 to 40 a-3 and is incident on the prism 51.
  • the light receiving unit 52 receives the light emitted from the prism 51, and converts the received light into an imaging signal.
  • the imaging signal is output to the processor 10 via the signal cable 55 connected to the flexible printed circuit 54 and the connector 7.
  • the light incident side of the front end portion 31, that is, the side on which the objective lenses 40a-1 to 40a-3 are disposed is referred to as a front end
  • the side on which the prism 51 is disposed is referred to as a rear end.
  • the side surface of the imaging element 53 in contact with the inner wall surface of the tip fixing portion 35 is bonded to the inner wall surface of the tip fixing portion 35 with an adhesive as shown in FIG.
  • the side is sealed by a sealing resin 67.
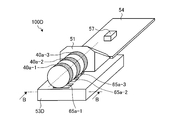
  • FIG. 3A is a perspective view of the imaging device 100 shown in FIG. 2A.
  • FIG. 3B is a cross-sectional view taken along line AA of FIG. 3A.
  • the outer peripheries of the objective lenses 40a-1 to 40a-3 are directly mounted on the surface of the imaging element 53.
  • the objective lenses 40a-1 to 40a-3 and the prism 51 constitute an imaging optical system, and an object image is formed on the light receiving portion 52 of the imaging element 53 by the imaging optical system.
  • An imaging element electrode 56 for connecting the flexible printed circuit 54 is formed on the rear end side of the imaging element 53.
  • the distance between the objective lenses 40a-1 to 40a-3 is adjusted by the spacers 40b-1 and 40b-2 to define the position, but the spacers 40b-1 and 40b-2
  • the thickness in the optical axis direction of the lens is thinner than that of the objective lenses 40a-1 to 40a-3, and therefore, it is preferable to be integrated with any of the objective lenses 40a-1 to 40a-3.
  • the objective lens 40 a-3 and the spacer 40 b-2, and the objective lens 40 a-2 and the spacer 40 b-1 be integrated and mounted at a predetermined position of the imaging device 53 for each integrated part.
  • the diaphragm members (not shown) be integrated with any of the objective lenses 40a-1 to 40a-3.
  • the integration of the objective lens and the spacer can be performed by moving the objective lens held by the jig onto the mounted spacer, aligning by image processing, and then bonding and integrating by an adhesive. .
  • an optical path of incident light may be formed by etching or the like to form an objective lens in which the spacer is integrated.
  • the imaging optical system can perform passive alignment to the surface of the imaging element 53 by image processing (so-called passive alignment). Furthermore, in order to align on the imaging device 53 with higher accuracy, the objective lens 40a-1 to 40a-3, the spacers 40b-1 and 40b-2, and the lens unit 40 including the aperture member are integrated as one unit. After that, it is preferable to perform so-called active alignment in which the position of the partial set is adjusted and the active alignment is performed while confirming the image output of the imaging device 53.
  • an adhesive is applied in advance to the connecting surfaces of the objective lenses 40a-1 to 40a-3 or the spacers 40b-1 and 40b-2, and in the frame member for integration, for example, the objective lens 40a -3, Spacer 40b-2, Objective lens 40a-2, Spacer 40b-1, Objective lens 40a-1 and so on in that order and curing the adhesive, and then taking out the lens unit 40 from the frame member can do.
  • the integrated lens unit 40 is held by a jig 58 or the like having a suction function, and is mounted on the image pickup device 53 to which the prism 51 is connected in advance on the light receiving unit 52.
  • FIG. 4 is a diagram for explaining the manufacturing process of the imaging device 100. As shown in FIG. First, as shown in FIG. 4A, the integrated lens unit 40 is placed on the imaging device 53 in a state of being held by the jig 58. As shown in FIG. 4B, in a state where the lens unit 40 is held by the jig 58, the test chart 59 is imaged, and the image is input to the light receiving unit 52 through the lens unit 40.
  • the image data converted into the electric signal by the light receiving unit 52 is output to the monitor 61 by bringing the probe 60 into contact with the imaging element electrode 56.
  • Active alignment may be performed by adjusting the position of the lens unit 40 based on the image output to the monitor 61.
  • the position of the lens unit 40 may be adjusted based on analysis by software or the like without outputting image data to the monitor 61 or the like. Since the alignment of the lens unit 40 is performed on the imaging device 53, not only positional adjustment of front and rear and left and right but also adjustment of the tilt angle is possible, and the position can be defined with high accuracy.
  • the adhesive applied in advance to the connection portion with the imaging device 53 such as the objective lenses 40a-1 to 40a-3 is cured.
  • the lens unit 40 can be connected on the surface of the imaging element 53.
  • the surface of the imaging device 53 includes not only the silicon surface of the imaging device 53 main body but also thin film surfaces such as pixels and color filters formed on the silicon surface.
  • the imaging device 100 can directly mount the objective lenses 40a-1 to 40a-3 on the imaging device 53 without using a frame member, so the imaging device 100 can be miniaturized. .
  • the mounting position of the lens unit 40 is defined by active alignment, the position of the imaging optical system can be defined more accurately.
  • FIG. 5A is a diagram for explaining an imaging device according to a first modification of the present embodiment.
  • Flat portions 40c-1 to 40c-3 (flat portions 40c-2 and 40c-3 are not shown) are formed on a flat surface and can be formed by cutting off side portions of objective lenses 40a-1 to 40a-3. It is.
  • the flat portions 40c-1 to 40c-3 the contact area with the surface of the imaging element 53 is increased, so that the positions of the objective lenses 40a-1 to 40a-3 can be defined simply and stably.
  • the lens unit 40 can be simply and stably.
  • the position of can be defined.
  • a lens position defining member 62 may be provided on the image sensor 53 to define the positions of the objective lenses 40a-1 to 40a-3.
  • FIG. 5B is a diagram for explaining an imaging device according to the second modification of the present embodiment.
  • the lens position defining member 62 is made of a silicon block and has a groove 63 having a V-shaped vertical cross section.
  • the lens position defining member 62 can form a V-shaped groove 63 by bonding a plate-like silicon block to the surface of the imaging element 53 and etching the bonded silicon block.
  • the lens position defining member 62 forms a lens position defining member having a length approximately equal to or longer than the length in the optical axis direction of the lens unit 40 including the spacers 40b-1 and 40b-2.
  • the position of the integrated lens unit 40 may be defined by the defining member 62.
  • a plurality of lens position defining members corresponding to the objective lenses 40a-1 to 40a-3 are formed at the positions where the objective lenses 40a-1 to 40a-3 are to be mounted, and each of the objective lenses 40a-1 to 40a-3 is Position may be defined.
  • FIG. 5C is a perspective view for describing an imaging device 100C according to the third modification of the present embodiment.
  • the alignment marks 64a-1 to 64a-3 are formed on the imaging device 53C by photolithography or the like, and provided so as to correspond to the connection positions of the objective lenses 40a-1 to 40a-3.
  • the objective lenses 40 a-1 to 40 a-3 are moved to the corresponding alignment marks 64 a-1 to 64 a-3 while the upper side surfaces of the objective lenses 40 a-1 to 40 a-3 are individually attracted by a jig or the like.
  • the objective lenses 40a-1 to 40a-3 used in the third modification may have flat portions 40c-1 to 40c-3 formed thereon.
  • FIG. 5D is a perspective view for explaining the lens position defining means of the imaging device 100D according to the fourth modification of the present embodiment.
  • FIG. 5E is a cross-sectional view taken along line BB of FIG. 5D.
  • the recesses 65a-1 to 65a-3 are formed by etching the thin film 66.
  • the thin film 66 such as a color filter formed on the surface of the imaging device 53D has a thickness of about 10 ⁇ m, but the thin film 66 at the connection position of the objective lenses 40a-1 to 40a-3 is partially removed by etching Thus, the recesses 65a-1 to 65a-3 are formed. Even if the depth of the concave portion is about the thickness of the thin film 66, as shown in FIG. 5E, the positions are passive by fitting the objective lenses 40a-1 to 40a-3 to the concave portions 65a-1 to 65a-3. It is possible to define
  • the front end surface of the objective lens 40a-1 is located behind the front end side surface of the imaging device, but the surface of the imaging device connected to the objective lens 40a-1 is within the viewing angle. It is preferable to be mounted in the position which does not enter.
  • the front end surface of the objective lens 40a-1 is aligned with the front end side surface of the imaging device, but by arranging the front end surface of the objective lens 40a-1 in front of the front end side surface of the imaging device, When it is inserted into the distal end portion of an endoscope apparatus or the like and inserted into and fixed to the distal end fixing portion, it is easy to hold the inside in a liquid tight manner.

Landscapes

  • Physics & Mathematics (AREA)
  • Health & Medical Sciences (AREA)
  • Life Sciences & Earth Sciences (AREA)
  • Optics & Photonics (AREA)
  • Surgery (AREA)
  • Engineering & Computer Science (AREA)
  • General Physics & Mathematics (AREA)
  • Biomedical Technology (AREA)
  • Veterinary Medicine (AREA)
  • Pathology (AREA)
  • Radiology & Medical Imaging (AREA)
  • Biophysics (AREA)
  • Nuclear Medicine, Radiotherapy & Molecular Imaging (AREA)
  • Heart & Thoracic Surgery (AREA)
  • Medical Informatics (AREA)
  • Molecular Biology (AREA)
  • Animal Behavior & Ethology (AREA)
  • General Health & Medical Sciences (AREA)
  • Public Health (AREA)
  • Astronomy & Astrophysics (AREA)
  • Signal Processing (AREA)
  • Multimedia (AREA)
  • Endoscopes (AREA)
  • Instruments For Viewing The Inside Of Hollow Bodies (AREA)
  • Mounting And Adjusting Of Optical Elements (AREA)
PCT/JP2015/054841 2014-03-03 2015-02-20 撮像装置、および内視鏡装置 Ceased WO2015133299A1 (ja)

Priority Applications (3)

Application Number Priority Date Filing Date Title
CN201580011337.5A CN106793916A (zh) 2014-03-03 2015-02-20 摄像装置和内窥镜装置
DE112015001102.1T DE112015001102T5 (de) 2014-03-03 2015-02-20 Abbildungsvorrichtung und Endoskopvorrichtung
US15/227,352 US10542874B2 (en) 2014-03-03 2016-08-03 Imaging device and endoscope device

Applications Claiming Priority (2)

Application Number Priority Date Filing Date Title
JP2014041041A JP6329394B2 (ja) 2014-03-03 2014-03-03 撮像装置、および内視鏡装置
JP2014-041041 2014-03-03

Related Child Applications (1)

Application Number Title Priority Date Filing Date
US15/227,352 Continuation US10542874B2 (en) 2014-03-03 2016-08-03 Imaging device and endoscope device

Publications (1)

Publication Number Publication Date
WO2015133299A1 true WO2015133299A1 (ja) 2015-09-11

Family

ID=54055109

Family Applications (1)

Application Number Title Priority Date Filing Date
PCT/JP2015/054841 Ceased WO2015133299A1 (ja) 2014-03-03 2015-02-20 撮像装置、および内視鏡装置

Country Status (5)

Country Link
US (1) US10542874B2 (enExample)
JP (1) JP6329394B2 (enExample)
CN (1) CN106793916A (enExample)
DE (1) DE112015001102T5 (enExample)
WO (1) WO2015133299A1 (enExample)

Families Citing this family (4)

* Cited by examiner, † Cited by third party
Publication number Priority date Publication date Assignee Title
CN107533205A (zh) 2015-05-12 2018-01-02 奥林巴斯株式会社 摄像装置、内窥镜系统以及摄像装置的制造方法
WO2018061564A1 (ja) * 2016-09-30 2018-04-05 シャープ株式会社 撮像装置
CN111856742B (zh) * 2020-06-22 2023-06-20 杭州汇桐泽瑞医疗科技有限公司 一种硬管内窥镜
CN116546937A (zh) * 2020-10-28 2023-08-04 爱尔康公司 用于支持眼外科手术的成像工具

Citations (3)

* Cited by examiner, † Cited by third party
Publication number Priority date Publication date Assignee Title
JPS6235314U (enExample) * 1985-08-16 1987-03-02
JPH0320312U (enExample) * 1989-07-10 1991-02-27
JP2009268639A (ja) * 2008-05-02 2009-11-19 Olympus Corp カプセル型内視鏡

Family Cites Families (12)

* Cited by examiner, † Cited by third party
Publication number Priority date Publication date Assignee Title
US5051823A (en) * 1988-01-28 1991-09-24 Fuji Optical Systems, Inc. Dental instrument including laser device and electronic video dental camera
CN1122925A (zh) * 1994-11-07 1996-05-22 颜艮山 可即时监看的鼠标扫描器
JP3668638B2 (ja) * 1999-03-23 2005-07-06 フジノン株式会社 内視鏡用撮像装置
JP2002045333A (ja) 2000-08-01 2002-02-12 Fuji Photo Optical Co Ltd 内視鏡撮像装置
JP2003153853A (ja) * 2001-11-22 2003-05-27 Olympus Optical Co Ltd 内視鏡
ES2528722T3 (es) * 2005-01-27 2015-02-12 Covidien Lp Endoscopio con conjunto en miniatura de formación de imágenes
US8823859B2 (en) * 2008-10-08 2014-09-02 Olympus Corporation Image pickup unit, optical unit, and manufacturing method for the image pickup unit
JP5080695B2 (ja) * 2010-02-01 2012-11-21 オリンパスメディカルシステムズ株式会社 内視鏡用撮像ユニット
JP5436470B2 (ja) * 2011-01-31 2014-03-05 富士フイルム株式会社 撮像装置及びこれを備えた電子内視鏡
JP5547118B2 (ja) * 2011-03-03 2014-07-09 富士フイルム株式会社 画像取得装置および画像取得装置の作動方法
JP6210656B2 (ja) * 2011-06-08 2017-10-11 オリンパス株式会社 撮像装置
EP3041396A4 (en) * 2013-08-26 2017-06-28 King Systems Corporation Visualization instrument

Patent Citations (3)

* Cited by examiner, † Cited by third party
Publication number Priority date Publication date Assignee Title
JPS6235314U (enExample) * 1985-08-16 1987-03-02
JPH0320312U (enExample) * 1989-07-10 1991-02-27
JP2009268639A (ja) * 2008-05-02 2009-11-19 Olympus Corp カプセル型内視鏡

Also Published As

Publication number Publication date
JP6329394B2 (ja) 2018-05-23
JP2015165847A (ja) 2015-09-24
DE112015001102T5 (de) 2016-12-01
CN106793916A (zh) 2017-05-31
US10542874B2 (en) 2020-01-28
US20160338574A1 (en) 2016-11-24

Similar Documents

Publication Publication Date Title
US8917315B2 (en) Imaging module
EP2777481B1 (en) Image pickup unit and image pickup module
CN106886088B (zh) 内窥镜
US10084947B2 (en) Imaging module
US20200337538A1 (en) Oblique-viewing endoscope
US10437040B2 (en) Imaging device and endoscope device
US10542874B2 (en) Imaging device and endoscope device
US10416438B2 (en) Imaging device for imaging inside of subject and endoscope device using the same
US10739576B2 (en) Imaging apparatus, endoscopic system, and imaging apparatus manufacturing method
JP6529703B2 (ja) 撮像ユニット、および内視鏡
JP6137824B2 (ja) 撮像ユニット、内視鏡装置および撮像ユニットの製造方法
WO2019193911A1 (ja) 撮像ユニット、および内視鏡
JP5877231B2 (ja) 撮像モジュール
JPWO2017072861A1 (ja) 撮像装置および内視鏡
JP6617206B2 (ja) 内視鏡
JPWO2018079070A1 (ja) 内視鏡
JP2019050508A (ja) 立体視撮像装置および立体視内視鏡

Legal Events

Date Code Title Description
121 Ep: the epo has been informed by wipo that ep was designated in this application

Ref document number: 15758341

Country of ref document: EP

Kind code of ref document: A1

WWE Wipo information: entry into national phase

Ref document number: 112015001102

Country of ref document: DE

122 Ep: pct application non-entry in european phase

Ref document number: 15758341

Country of ref document: EP

Kind code of ref document: A1