WO2015068718A1 - 吸収性物品 - Google Patents

吸収性物品 Download PDF

Info

Publication number
WO2015068718A1
WO2015068718A1 PCT/JP2014/079311 JP2014079311W WO2015068718A1 WO 2015068718 A1 WO2015068718 A1 WO 2015068718A1 JP 2014079311 W JP2014079311 W JP 2014079311W WO 2015068718 A1 WO2015068718 A1 WO 2015068718A1
Authority
WO
WIPO (PCT)
Prior art keywords
groove
longitudinal direction
absorber
absorbent article
sheet
Prior art date
Legal status (The legal status is an assumption and is not a legal conclusion. Google has not performed a legal analysis and makes no representation as to the accuracy of the status listed.)
Ceased
Application number
PCT/JP2014/079311
Other languages
English (en)
French (fr)
Japanese (ja)
Inventor
香織 梅本
陽子 鈴木
Current Assignee (The listed assignees may be inaccurate. Google has not performed a legal analysis and makes no representation or warranty as to the accuracy of the list.)
Daio Paper Corp
Original Assignee
Daio Paper Corp
Priority date (The priority date is an assumption and is not a legal conclusion. Google has not performed a legal analysis and makes no representation as to the accuracy of the date listed.)
Filing date
Publication date
Application filed by Daio Paper Corp filed Critical Daio Paper Corp
Priority to KR1020167011179A priority Critical patent/KR102287121B1/ko
Priority to US15/030,401 priority patent/US10071000B2/en
Priority to EP14859756.0A priority patent/EP3067028B1/en
Priority to CN201480058866.6A priority patent/CN105722484B/zh
Publication of WO2015068718A1 publication Critical patent/WO2015068718A1/ja
Anticipated expiration legal-status Critical
Ceased legal-status Critical Current

Links

Images

Classifications

    • AHUMAN NECESSITIES
    • A61MEDICAL OR VETERINARY SCIENCE; HYGIENE
    • A61FFILTERS IMPLANTABLE INTO BLOOD VESSELS; PROSTHESES; DEVICES PROVIDING PATENCY TO, OR PREVENTING COLLAPSING OF, TUBULAR STRUCTURES OF THE BODY, e.g. STENTS; ORTHOPAEDIC, NURSING OR CONTRACEPTIVE DEVICES; FOMENTATION; TREATMENT OR PROTECTION OF EYES OR EARS; BANDAGES, DRESSINGS OR ABSORBENT PADS; FIRST-AID KITS
    • A61F13/00Bandages or dressings; Absorbent pads
    • A61F13/15Absorbent pads, e.g. sanitary towels, swabs or tampons for external or internal application to the body; Supporting or fastening means therefor; Tampon applicators
    • A61F13/45Absorbent pads, e.g. sanitary towels, swabs or tampons for external or internal application to the body; Supporting or fastening means therefor; Tampon applicators characterised by the shape
    • A61F13/49Absorbent pads, e.g. sanitary towels, swabs or tampons for external or internal application to the body; Supporting or fastening means therefor; Tampon applicators characterised by the shape specially adapted to be worn around the waist, e.g. diapers, nappies
    • A61F13/49001Absorbent pads, e.g. sanitary towels, swabs or tampons for external or internal application to the body; Supporting or fastening means therefor; Tampon applicators characterised by the shape specially adapted to be worn around the waist, e.g. diapers, nappies having preferential bending zones, e.g. fold lines or grooves
    • AHUMAN NECESSITIES
    • A61MEDICAL OR VETERINARY SCIENCE; HYGIENE
    • A61FFILTERS IMPLANTABLE INTO BLOOD VESSELS; PROSTHESES; DEVICES PROVIDING PATENCY TO, OR PREVENTING COLLAPSING OF, TUBULAR STRUCTURES OF THE BODY, e.g. STENTS; ORTHOPAEDIC, NURSING OR CONTRACEPTIVE DEVICES; FOMENTATION; TREATMENT OR PROTECTION OF EYES OR EARS; BANDAGES, DRESSINGS OR ABSORBENT PADS; FIRST-AID KITS
    • A61F13/00Bandages or dressings; Absorbent pads
    • A61F13/15Absorbent pads, e.g. sanitary towels, swabs or tampons for external or internal application to the body; Supporting or fastening means therefor; Tampon applicators
    • A61F13/51Absorbent pads, e.g. sanitary towels, swabs or tampons for external or internal application to the body; Supporting or fastening means therefor; Tampon applicators characterised by the outer layers of the pads
    • A61F13/511Topsheet, i.e. the permeable cover or layer facing the skin
    • A61F13/51104Topsheet, i.e. the permeable cover or layer facing the skin the top sheet having a three-dimensional cross-section, e.g. corrugations, embossments, recesses or projections
    • A61F13/51108Topsheet, i.e. the permeable cover or layer facing the skin the top sheet having a three-dimensional cross-section, e.g. corrugations, embossments, recesses or projections the top sheet having corrugations or embossments having one axis relatively longer than the other axis, e.g. forming channels or grooves in a longitudinal direction
    • AHUMAN NECESSITIES
    • A61MEDICAL OR VETERINARY SCIENCE; HYGIENE
    • A61FFILTERS IMPLANTABLE INTO BLOOD VESSELS; PROSTHESES; DEVICES PROVIDING PATENCY TO, OR PREVENTING COLLAPSING OF, TUBULAR STRUCTURES OF THE BODY, e.g. STENTS; ORTHOPAEDIC, NURSING OR CONTRACEPTIVE DEVICES; FOMENTATION; TREATMENT OR PROTECTION OF EYES OR EARS; BANDAGES, DRESSINGS OR ABSORBENT PADS; FIRST-AID KITS
    • A61F13/00Bandages or dressings; Absorbent pads
    • A61F13/15Absorbent pads, e.g. sanitary towels, swabs or tampons for external or internal application to the body; Supporting or fastening means therefor; Tampon applicators
    • A61F13/51Absorbent pads, e.g. sanitary towels, swabs or tampons for external or internal application to the body; Supporting or fastening means therefor; Tampon applicators characterised by the outer layers of the pads
    • A61F13/511Topsheet, i.e. the permeable cover or layer facing the skin
    • A61F13/5116Topsheet, i.e. the permeable cover or layer facing the skin being formed of multiple layers
    • AHUMAN NECESSITIES
    • A61MEDICAL OR VETERINARY SCIENCE; HYGIENE
    • A61FFILTERS IMPLANTABLE INTO BLOOD VESSELS; PROSTHESES; DEVICES PROVIDING PATENCY TO, OR PREVENTING COLLAPSING OF, TUBULAR STRUCTURES OF THE BODY, e.g. STENTS; ORTHOPAEDIC, NURSING OR CONTRACEPTIVE DEVICES; FOMENTATION; TREATMENT OR PROTECTION OF EYES OR EARS; BANDAGES, DRESSINGS OR ABSORBENT PADS; FIRST-AID KITS
    • A61F13/00Bandages or dressings; Absorbent pads
    • A61F13/15Absorbent pads, e.g. sanitary towels, swabs or tampons for external or internal application to the body; Supporting or fastening means therefor; Tampon applicators
    • A61F13/53Absorbent pads, e.g. sanitary towels, swabs or tampons for external or internal application to the body; Supporting or fastening means therefor; Tampon applicators characterised by the absorbing medium
    • A61F13/531Absorbent pads, e.g. sanitary towels, swabs or tampons for external or internal application to the body; Supporting or fastening means therefor; Tampon applicators characterised by the absorbing medium having a homogeneous composition through the thickness of the pad
    • A61F13/532Absorbent pads, e.g. sanitary towels, swabs or tampons for external or internal application to the body; Supporting or fastening means therefor; Tampon applicators characterised by the absorbing medium having a homogeneous composition through the thickness of the pad inhomogeneous in the plane of the pad
    • A61F13/533Absorbent pads, e.g. sanitary towels, swabs or tampons for external or internal application to the body; Supporting or fastening means therefor; Tampon applicators characterised by the absorbing medium having a homogeneous composition through the thickness of the pad inhomogeneous in the plane of the pad having discontinuous areas of compression
    • AHUMAN NECESSITIES
    • A61MEDICAL OR VETERINARY SCIENCE; HYGIENE
    • A61FFILTERS IMPLANTABLE INTO BLOOD VESSELS; PROSTHESES; DEVICES PROVIDING PATENCY TO, OR PREVENTING COLLAPSING OF, TUBULAR STRUCTURES OF THE BODY, e.g. STENTS; ORTHOPAEDIC, NURSING OR CONTRACEPTIVE DEVICES; FOMENTATION; TREATMENT OR PROTECTION OF EYES OR EARS; BANDAGES, DRESSINGS OR ABSORBENT PADS; FIRST-AID KITS
    • A61F13/00Bandages or dressings; Absorbent pads
    • A61F13/15Absorbent pads, e.g. sanitary towels, swabs or tampons for external or internal application to the body; Supporting or fastening means therefor; Tampon applicators
    • A61F13/45Absorbent pads, e.g. sanitary towels, swabs or tampons for external or internal application to the body; Supporting or fastening means therefor; Tampon applicators characterised by the shape
    • A61F2013/4587Absorbent pads, e.g. sanitary towels, swabs or tampons for external or internal application to the body; Supporting or fastening means therefor; Tampon applicators characterised by the shape with channels or deep spot depressions on the upper surface
    • AHUMAN NECESSITIES
    • A61MEDICAL OR VETERINARY SCIENCE; HYGIENE
    • A61FFILTERS IMPLANTABLE INTO BLOOD VESSELS; PROSTHESES; DEVICES PROVIDING PATENCY TO, OR PREVENTING COLLAPSING OF, TUBULAR STRUCTURES OF THE BODY, e.g. STENTS; ORTHOPAEDIC, NURSING OR CONTRACEPTIVE DEVICES; FOMENTATION; TREATMENT OR PROTECTION OF EYES OR EARS; BANDAGES, DRESSINGS OR ABSORBENT PADS; FIRST-AID KITS
    • A61F13/00Bandages or dressings; Absorbent pads
    • A61F13/15Absorbent pads, e.g. sanitary towels, swabs or tampons for external or internal application to the body; Supporting or fastening means therefor; Tampon applicators
    • A61F13/53Absorbent pads, e.g. sanitary towels, swabs or tampons for external or internal application to the body; Supporting or fastening means therefor; Tampon applicators characterised by the absorbing medium
    • A61F2013/530868Absorbent pads, e.g. sanitary towels, swabs or tampons for external or internal application to the body; Supporting or fastening means therefor; Tampon applicators characterised by the absorbing medium characterized by the liquid distribution or transport means other than wicking layer

Definitions

  • the present invention mainly relates to absorbent articles used for incontinence pads, sanitary napkins, vaginal sheets, medical pads, toiletries, disposable diapers, etc., and grooves along the longitudinal direction on the surface side of the absorbent body
  • the present invention relates to an absorbent article in which is formed.
  • an absorbent body is interposed between a liquid-impermeable back sheet such as a polyethylene sheet or a polyethylene sheet-laminated nonwoven fabric and a liquid-permeable surface sheet such as a nonwoven fabric or a liquid-permeable plastic sheet. It has been known.
  • the absorbent body has an upper layer absorbent body on the skin contact surface side and a lower layer absorbent body on the non-skin contact surface side, and the middle and high portions formed by the upper layer absorbent body and the lower layer absorbent body Has a recess extending in the longitudinal direction formed on the skin contact surface side, and the recess is an opening penetrating the upper layer absorber, and the lower surface of the upper layer absorber forms the bottom surface of the opening.
  • the absorption layer is formed by laminating an upper absorption layer and a lower absorption layer having different areas, and the absorption layer has a step formed integrally with the topsheet and the absorption layer.
  • a concave portion extending in the longitudinal direction of the absorbent article is formed, and the concave portion is formed at the center in the short direction of the absorbent article across the high and low portions of the step, and the concave portion is formed by absorbing the absorbent article.
  • An absorbent article that is continuously formed without interruption at the stepped portion of the layer is disclosed.
  • the embossing groove portion is stiffened and extended from the inner edge to the outer edge on the bottom surface of the embossing groove for the purpose of suppressing diffusion of body fluid in the embossing groove.
  • the strong squeezed portions that do not reach the outer edge in the groove longitudinal direction, and intermittently press the strong squeezed portions that extend from the outer edge toward the inner edge and do not reach the inner edge in the groove longitudinal direction.
  • an absorbent article is disclosed in which a strong squeezed portion formed from the inner edge and a strong squeezed portion formed from the outer edge are alternately arranged in the longitudinal direction of the groove.
  • JP 2009-112590 A Japanese Patent No. 5105884 JP 2003-265518 A
  • the main problem of the present invention is to prevent deformation of the concave groove when worn in an absorbent article having a concave groove formed along the longitudinal direction on the surface side of the absorbent body, and easily diffuse body fluid in the longitudinal direction of the groove. It is in providing the absorbent article which was made.
  • an absorbent body is interposed between the liquid-permeable surface sheet and the back sheet, and the surface of the absorbent body on the liquid-permeable surface sheet side is substantially omitted.
  • An absorbent article in which a groove along the longitudinal direction is formed, and a high-pressure portion is formed on the bottom surface of the groove, The high pressing portion includes an inclined element extending in the groove width direction and inclined in the groove longitudinal direction in a unit section in which the groove is partitioned in the groove longitudinal direction, and from the side end on one side of the groove to the other side.
  • an absorbent article characterized in that it is formed substantially transversely to the side end and is formed in a pattern in which the high-pressure portion of the unit section is repeatedly reversed in the longitudinal direction of the groove.
  • the unit section in which the groove is partitioned in the groove longitudinal direction extends in the groove width direction and inclines in the groove longitudinal direction.
  • the inclined elements of the high-pressure portion are arranged in a zigzag shape that substantially crosses the groove longitudinal direction in the width direction of the groove, so that the rigidity of the groove can be improved.
  • the absorbent article according to claim 1 wherein the inclined element is configured by a straight line, a curved line, or a combination thereof.
  • the invention according to claim 2 stipulates that the inclined element can be constituted by a straight line, a curved line, or a combination thereof.
  • the pattern as a whole is formed by a zigzag broken line along the longitudinal direction of the groove when the inclined element is constituted by a straight line. Is formed by a wavy line or a substantially semicircular continuous line.
  • the squeezed portion is formed in a curved shape extending substantially in the longitudinal direction of the groove from both ends of the inclined element or in the vicinity thereof and projecting outward in the groove width direction.
  • the squeezed portion is formed in a curved shape extending in the longitudinal direction of the groove from both ends of the inclined element or in the vicinity thereof and projecting outward in the groove width direction. Therefore, when receiving leg pressure from both sides in the width direction during mounting, the arch element generates a resistance force against the external force in the width direction, and acts to further increase the rigidity of the concave groove.
  • the said absorber is not based on pressing over the longitudinal direction range including a bodily fluid discharge
  • Comprising a formed absorber recess The absorbent article according to any one of claims 1 to 4, wherein an embossed portion including the high-pressure portion is formed along the absorber concave portion.
  • an absorber recess is formed in the absorber in advance without squeezing, and an embossed portion including the high-pressure squeezed portion is formed along the absorber recess with respect to the absorber recess. Try to form.
  • the concave portion of the absorbent body is formed by squeezing the absorbent body, so that the bulge of the bottom portion when absorbing bodily fluid is suppressed to be extremely small compared to the case where the polymer or pulp at the bottom portion has a high density, and the concave portion is also depressed after absorbing the bodily fluid The state of the groove can be maintained.
  • the absorbent article according to claim 5 wherein the embossed portion is provided with an emboss width smaller than a groove width of the absorber recess.
  • the embossed portion is provided with an emboss width larger than the groove width of the absorber concave portion, and the absorber is squeezed on both sides of the absorber concave portion by the provision of the embossed portion.
  • the embossed portion may be provided with an emboss width smaller than the groove width of the absorber recess as in the invention described in claim 6, or the groove of the absorber recess as in the invention described in claim 7. You may give by the emboss width larger than a width
  • a high-density region in which the absorber is squeezed is formed on both sides of the bottom of the absorber recess.
  • a density gradient in which the fiber density increases from the center to both sides is formed at the bottom of the groove, so that absorbed body fluid is absorbed from the center to both sides by capillary action.
  • the body fluid in the concave groove can be more quickly transferred to the absorber side.
  • FIG. 3 is a view taken along line III-III in FIG. (A) to (F) are planar patterns of the high-pressure portion 23.
  • (A) to (C) are plane patterns of the high-pressure portion 23. It is a plane pattern of the high pressing part 23 at the time of providing the pressing part 27.
  • FIG. (A) to (D) are plane patterns of the high-pressure parts not corresponding to the present invention.
  • FIG. 4 is a cross-sectional view of the absorber 4.
  • (A) is a cross-sectional view showing a permeation state of body fluid
  • (B) is a cross-sectional view showing an expanded state during liquid absorption.
  • (A) is a cross-sectional view before embossing
  • (B) is a cross-sectional view after embossing.
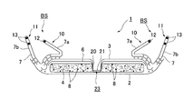
  • an incontinence pad 1 includes a liquid-impervious back sheet 2 made of a polyethylene sheet and the like, a liquid-permeable front sheet 3 that allows urine to permeate quickly, and the like.
  • An absorbent body 4 made of cotton-like pulp or synthetic pulp interposed between the two sheets 2 and 3 and a hydrophilic substance disposed between the liquid-permeable surface sheet 3 and the absorbent body 4 as necessary.
  • the outer edge with 3 is hot melt
  • the liquid-impervious back sheet 2 and the side nonwoven fabric 7 which are bonded by an adhesive such as an adhesive or heat seal or the like and extend laterally from the absorbent body 4 at both side edges thereof are hot-melted.
  • the absorber 4 can be surrounded by an encapsulating sheet (not shown) such as crepe paper or non-woven fabric in order to maintain the shape and improve the diffusibility.
  • the liquid-impervious back sheet 2 is made of a sheet material having at least water-impervious properties such as polyethylene and polypropylene, but in addition to this, a non-woven sheet after securing a substantially liquid-impervious property through a waterproof film.
  • a liquid-impervious back sheet is composed of the waterproof film and the nonwoven fabric.
  • those having moisture permeability tend to be suitably used from the viewpoint of preventing stuffiness.
  • the water- and moisture-permeable sheet material is a microporous material obtained by melting and kneading an inorganic filler in an olefin-based resin such as polyethylene or polypropylene to form a sheet, and then stretching in a uniaxial or biaxial direction.
  • a sheet is preferably used.
  • the liquid-permeable surface sheet 3 is preferably a porous or non-porous nonwoven fabric or a porous plastic sheet.
  • the material fibers constituting the nonwoven fabric include synthetic fibers such as polyethylene or polypropylene, synthetic fibers such as polyester and polyamide, recycled fibers such as rayon and cupra, and natural fibers such as cotton.
  • a nonwoven fabric obtained by an appropriate processing method such as a lace method, a spun bond method, a thermal bond method, a melt blown method, or a needle punch method can be used. Among these processing methods, the spunlace method is excellent in terms of flexibility and drapeability, and the thermal bond method is excellent in terms of being bulky and soft.
  • the absorbent body 4 is composed of, for example, absorbent fibers such as fluffy pulp and the superabsorbent polymer 8, and in the illustrated example, the planar shape is an oblong shape that is long in the longitudinal direction of the pad.
  • the superabsorbent polymer 8 is, for example, granular powder, and is dispersed and mixed in the pulp constituting the absorber 4.
  • the pulp examples include chemical fibers obtained from wood, cellulose fibers such as dissolved pulp, and artificial cellulose fibers such as rayon and acetate. Softwood pulp having a longer fiber length than hardwood pulp functions and It is preferably used in terms of price.
  • the encapsulating sheet is interposed between the liquid-permeable surface sheet 3 and the absorbent body 4 as a result, and the above-described excellent absorbency is achieved. The body fluid is quickly diffused by the encapsulating sheet, and the reverse of such urine is prevented.
  • the basis weight of the pulp is 100 g / m 2 to 600 g / m 2 , preferably 200 g / m 2 to 500 g / m 2 .
  • the superabsorbent polymer 8 examples include a cross-linked polyacrylate, a self-crosslinked polyacrylate, a saponified acrylate-vinyl acetate copolymer cross-linked product, and a cross-linked isobutylene / maleic anhydride copolymer.
  • a crosslinked polysulfonate, and a partially crosslinked water-swellable polymer such as polyethylene oxide and polyacrylamide.
  • those based on acrylic acid or acrylate that are excellent in water absorption and water absorption speed are preferred.
  • the water-absorbing polymer having the water-absorbing performance can be adjusted in water absorption (absorption capacity) and water absorption speed by adjusting the crosslinking density and the crosslinking density gradient in the production process.
  • the basis weight of the polymer is 150 g / m 2 to 500 g / m 2 , preferably 200 g / m 2 to 450 g / m 2 .
  • synthetic fibers may be mixed in the absorber 4.
  • synthetic fiber for example, polyolefins such as polyethylene or polypropylene, polyesters such as polyethylene terephthalate and polybutylene terephthalate, polyamides such as nylon, and copolymers thereof can be used. It may be a mixture.
  • a composite fiber such as a core-sheath fiber, a side-by-side fiber, or a split fiber having a fiber having a high melting point as a core and a fiber having a low melting point as a sheath can also be used.
  • hydrophobic fiber it is desirable to use a synthetic fiber that has been surface-treated with a hydrophilizing agent so as to have an affinity for body fluids.
  • the second sheet 6 only needs to be hydrophilic to body fluids. Specifically, by using recycled fibers such as rayon and cupra, natural fibers such as cotton, the material itself has hydrophilicity, or synthesis of olefins such as polyethylene or polypropylene, polyesters, polyamides, etc. The fiber which surface-treated with the hydrophilizing agent and provided the hydrophilic property can be used. Further, the second sheet 6 may have a porous film layer on the back surface side (absorbent body 4) in order to give elasticity, and may be a laminated sheet with an encapsulating sheet. You may use the raw material to contain.
  • Side nonwoven fabrics 7 and 7 are provided on both sides of the surface of the incontinence pad 1 along the longitudinal direction and over the entire length of the incontinence pad 1, and the outer portions of the side nonwoven fabrics 7 and 7 extend laterally.
  • the liquid-impermeable back sheet 2 is laterally extended, and the side nonwoven fabric 7 portion and the liquid-impermeable back sheet 2 portion that are extended to the side are formed by a hot melt adhesive or the like. Joined to form side flaps.
  • a water-repellent treated nonwoven fabric or a hydrophilic treated nonwoven fabric can be used from the viewpoint of important functions. For example, if importance is placed on functions such as preventing the penetration of urine, etc. or enhancing the feeling of touch, such as SSMS, SMS, and SMMS coated with a silicon-based, paraffin-based, alkylchromic chloride-based water repellent, etc.
  • a water-repellent non-woven fabric It is desirable to use a water-repellent non-woven fabric, and if importance is attached to the absorbability of body fluids, a method of polymerizing a compound having a hydrophilic group, such as an oxidation product of polyethylene glycol, in the synthetic fiber production process, Treating with metal salt such as stannic, partially dissolving the surface to make it porous and making the synthetic fiber swell or porous by applying a metal hydroxide, etc., applying capillary action to impart hydrophilicity It is desirable to use a hydrophilic treated nonwoven fabric. As this side nonwoven fabric 7, what was formed by a proper processing method using natural fiber, synthetic fiber, regenerated fiber, etc. as a raw material can be used.
  • a hydrophilic group such as an oxidation product of polyethylene glycol
  • the side nonwoven fabrics 7 and 7 are appropriately folded, and a pair of left and right inner solid gathers 10 and 10 that stand on the skin side with the position near the side edge of the absorbent body 4 as a standing base end, and the inner side relatively
  • a pair of left and right outer three-dimensional gathers 11 standing on the skin side formed by the liquid-impervious back sheet 2 and the side nonwoven fabric 7 that are located outside the three-dimensional gather 10 and extend laterally from the absorbent body 4, 11 is a three-dimensional gather BS having a double gather structure.
  • the three-dimensional gather BS may have a single gather structure including only the inner three-dimensional gather 10 or the outer three-dimensional gather 11, or a three-dimensional gather standing up on the skin side simply by disposing the side nonwoven fabric 7. It does not have to be formed into a shape.
  • the side nonwoven fabric 7 is folded back on both sides in the width direction toward the back side of the pad.
  • one or a plurality of double sheet portions 7a and 7b are formed on the outer side, and both ends or appropriate positions in the longitudinal direction are fixed inside the double sheet portion 7a on the inner side in the width direction.
  • One or a plurality of thread elastic elastic members 12 are arranged in the double sheet portion 7b on the outer side in the width direction, and two appropriate positions in the longitudinal direction are fixed.
  • the base end portion of the double sheet portion 7 b on the outer side in the width direction extending laterally from the absorbent body 4.
  • the inner solid gathers 10 standing on the skin side are formed by the double sheet portion 7a on the inner side in the width direction, and the skin is formed by the double sheet portion 7b on the outer side in the width direction.
  • An outer three-dimensional gather 11 standing on the side is formed. As shown in FIG.
  • the side nonwoven fabric 7 is not provided with the elastic elastic members 12 and 13 at both ends in the longitudinal direction of the pad, and the double sheet portion 7a on the inner side in the width direction is hot. It is joined to the absorber 4 side by a melt adhesive or the like.
  • a concave groove 22 for inflow of body fluid is formed along the longitudinal direction of the pad on the liquid-permeable surface sheet 3 side (skin surface side), and a high-pressure squeezed portion having a predetermined pattern is formed on the bottom surface of the concave groove 22. 23 is formed.
  • the concave groove 22 receives the body fluid discharged on the surface of the liquid-permeable top sheet 3, temporarily stores the body fluid, promotes the diffusion of the body fluid in the front-rear direction, and absorbs the body fluid into the absorber 4. This is to increase the speed and prevent side leakage.
  • the concave groove 22 may be formed by integrally squeezing components from the surface side of the liquid-permeable surface sheet 3 to the absorber 4 from the surface side, but will be described in detail later.
  • the embossing which forms the absorber recessed part 20 in the said absorber 4 previously, and squeezes the structural member of the upper layer side from the absorber 4 from the surface side of the liquid-permeable surface sheet 3 along this absorber recessed part 20 is carried out.
  • the one formed by providing the portion 21 is preferable because the deformation of the concave groove 22 due to leg pressure can be prevented.
  • the high-pressure squeezed portion 23 is a portion squeezed deeper than the bottom surface of the peripheral groove 22 and is formed in a predetermined pattern with respect to the bottom surface of the groove 22. Specifically, as shown in FIG. 4, the high pressing portion 23 extends in the groove width direction and inclines in the groove longitudinal direction in a virtual unit section 24 in which the groove 22 is partitioned in the groove longitudinal direction in plan view. And is formed so as to cross substantially from one side end in the width direction of the concave groove 22 to the other side end thereof, and the high pressure portion 23 of the unit section 24 extends in the groove longitudinal direction. It is formed in a pattern that is repeatedly positively inverted.
  • the high pressing parts 23 formed in the unit section 24 are formed in a pattern in which a normal arrangement and a reverse arrangement reversed in the groove longitudinal direction are alternately arranged.
  • the high pressing part 23 is formed substantially transversely
  • the high pressing part 23 is formed by a continuous line extending from one side end to the other side end in the width direction.
  • it is meant to include both the case where the line is formed by a discontinuous line such as a dotted line or an intermittent line separated in the middle (see FIG. 5C).
  • the inclined elements 25 of the high-compressed portion 23 are arranged in a zigzag shape along the longitudinal direction of the groove on the bottom surface of the concave groove 22.
  • the rigidity of the concave groove 22 can be increased with respect to pressure from both sides in the direction. That is, in addition to the pressure from both sides in the groove width direction perpendicular to the groove longitudinal direction, it has proof strength against the pressure from the oblique direction, and the rigidity of the concave groove 22 can be improved reliably. It becomes like this.
  • the inclined elements 25 are arranged in a zigzag shape, body fluid is guided along the zigzag high pressure portion 23 along the groove longitudinal direction formed on the bottom surface of the recessed groove 22, so that the groove longitudinal direction The diffusion of the body fluid along the body is promoted, and the body fluid that has been dripped out at a stretch can be absorbed by the absorber 4 in a wider range.
  • the unit section 24 is an area in which the concave groove 22 is partitioned at equal intervals in the groove longitudinal direction, and two parallel straight lines along the groove width direction separated in the groove longitudinal direction. And a rectangular region surrounded by both side surfaces of the concave groove 22.
  • the high pressing portion 23 extends from one side to the other side in the groove width direction.
  • the inclined element 25 of the high pressing portion 23 is provided so as to be inclined in the opposite direction with respect to the groove longitudinal direction with the boundary line of these sections as a base point.
  • pattern in which the high-compressed portion 23 of the unit section 24 is repeatedly positively reversed in the groove longitudinal direction means that the unit section 24 in which the high-compressed portion 23 is formed in a predetermined pattern is the unit section 24. It is a pattern formed by repeatedly turning back at a pad width direction line S passing through the edge in the groove longitudinal direction.
  • the inclined element 25 is a line extending across the longitudinal center line L of the concave groove 22 from one side to the other side in the groove width direction, and is not necessarily based on both side edges in the groove width direction. It may be formed using a position spaced inward from the edge as a base point.
  • the inclined element 25 has a component which is inclined only on one side (front side or rear side) in the groove longitudinal direction within one unit section 24, and is inclined on the other side in the groove longitudinal direction opposite to this. It does not have a component to do.
  • the inclined element 25 may be constituted by a straight line as shown in FIGS. 4A, 4B, and 5 and as shown in FIGS. 4C to 4E. Alternatively, it may be configured by a curve. Moreover, although not shown in figure, you may comprise by the combination of a straight line and a curve.
  • the inclined element 25 when the inclined element 25 is configured with a straight line, the entire pattern along the longitudinal direction of the groove of the high pressure portion 23 is formed with a zigzag-shaped broken line, When the inclined element 25 is configured by a curve, it is formed by a wavy line or a continuous line of a substantially semicircular arc.
  • the high pressure portion 23 may be constituted by only the inclined element 25, or as shown in FIG. You may comprise by the pattern combined.
  • the high pressing portion 23 is continuous with both end portions of the inclined element 25 or is separated from both end portions of the inclined element 25 in the vicinity thereof.
  • a curved arch element 26 that extends substantially in the longitudinal direction of the groove and projects outward in the groove width direction.
  • the high pressure portion 23 is from one side in the groove width direction.
  • An inclined element 25 extending diagonally from one side in the groove longitudinal direction toward the other side and the other side in the groove width direction of the inclined element 25 continuously extends to the other side in the groove longitudinal direction.
  • a semicircular arc-shaped one-side arch element 26a projecting outward in the groove width direction, and extending from one end of the inclined element 25 in the groove width direction to the other side in the groove longitudinal direction. It is formed in a substantially S-shape in the lateral direction by being configured from the semicircular arc-shaped other side arch element 26b protruding outward in the width direction.
  • the pattern of the entire groove obtained by repeatedly reversing the high-pressed portion 23 of the unit section 24 in the longitudinal direction of the groove has an appearance in which horizontal heart shapes are alternately arranged in opposite directions. Accordingly, the design is excellent and the arch elements 26a and 26b are finely formed, so that a resistance force is easily exerted against an external force from both sides in the width direction.
  • the arch element 26 may be formed in a curved shape projecting on both sides in one groove width direction in the adjacent unit sections 24 and 24.
  • the inclined element 25 and the arch element 26 may be separated from each other.
  • the inclined element 25 may be constituted by a single line in one unit section 24, or as shown in FIGS. 4 (E) and 4 (F).
  • a double line separated in the groove longitudinal direction may be used.
  • the rigidity of the concave groove 22 can be more firmly enhanced, and the body fluid can be diffused more smoothly.
  • pressing parts 27, 27... Deeper than the pressing part 23 may be formed in the pressing part 23.
  • the said compression part 27 is made into the several dot formed at predetermined intervals along the groove direction.
  • the high-pressure portion that extends from one side edge in the groove width direction toward the other side edge and does not reach the other side edge, and the other side in the groove width direction has low rigidity with respect to the pressure from the groove width direction, and the groove length Since it is difficult for the body fluid to diffuse in the direction, it is not preferable.
  • the absorbent body 4 is, as shown in FIG. 2, a longitudinal direction including a body fluid discharge site H along the pad longitudinal direction on the surface on the liquid-permeable surface sheet 3 side (surface on the skin side).
  • the absorbent body recess 20 formed without being squeezed over the range is provided.
  • the said absorber recessed part 20 is a non-penetrating recessed part which has a bottom face dented from the surrounding absorber to the liquid-impermeable back sheet 2 side on the surface on the liquid-permeable surface sheet 3 side, and is by compression
  • (A) stacked fiber or (B) the lower layer absorbent body 4 a formed with the thickness of the bottom of the absorbent body recess 20, and a portion corresponding to the absorbent body recess 20 are opened. It is formed by the laminated structure with the upper layer absorber 4b.
  • the absorbent 4 portion interposed in the bottom of the absorbent recess 20 has a pulp basis weight of 70 g / m 2 to 210 g / m 2 , preferably 90 g / m 2 to 190 g / m 2 is preferable, and the basis weight of the polymer is 60 g / m 2 to 200 g / m 2 , preferably 80 g / m 2 to 180 g / m 2 .
  • the embossed portion 21 is provided from the surface side of the liquid-permeable surface sheet 3 in a state where at least the liquid-permeable surface sheet 3 and the absorber 4 are laminated. At this time, the embossed portion 21 may be provided with an emboss width smaller than the groove width of the absorber concave portion 20 by providing the embossed portion with an emboss having a tip width smaller than the groove width of the absorber concave portion 20.
  • the corner formed on the skin side surface of the absorbent body 4 is crushed and rounded by providing the absorber recessed portion 20 Since the outer surface is formed with a cross-sectional shape having an inclined side surface curved so as to bulge inside the concave groove, the groove width becomes narrower as it goes to the non-skin side as a whole. Even if the groove width is slightly narrowed, the concave groove does not disappear completely immediately, but gradually becomes narrower from the bottom surface side, so that the absorption performance of body fluid is slightly reduced, but a certain level of absorption performance can be maintained. It becomes like this.
  • the embossed portion 21 is a state in which the liquid-permeable surface sheet 3 and the second sheet 6 are laminated. It is given in one. Further, when the absorbent body 4 is surrounded by the encapsulating sheet, the encapsulating sheet is also embossed with the liquid-permeable surface sheet 3.
  • the embossed portion 21 can be formed with a size smaller than the absorber concave portion 20 in the pad width direction (FIG. 9), and formed with a size larger than the absorber concave portion 20 as will be described in detail later. (FIG. 10). Also, it can be formed with a small dimension in the longitudinal direction of the pad, or can be formed protruding.
  • the embossed portion 21 may be simply applied with pressure without being heat-sealed to the bottom of the absorber recess 20, or contained in the liquid-permeable surface sheet 3, the second sheet 6 and the absorber 4. Synthetic fibers may be heat-sealed or ultrasonically fused, and the liquid-permeable surface sheet 3 and the second sheet 6 may be bonded to the absorber 4.
  • the emboss width A of the embossed portion 21 is formed smaller than the groove width B of the absorber concave portion 20, as shown in FIG. 9A, it flows on the surface of the liquid-permeable surface sheet 3.
  • the body fluid flows into the embossed portion 21, it temporarily passes through the liquid-permeable surface sheet 3 and the second sheet 6 and is temporarily stored in the buffer zone Z formed between the side surface of the absorber recess 20 and the liquid-permeable surface sheet 3. Is done.
  • diffusing in the front-rear direction along the absorbent body recess 20 it is absorbed and held in the absorbent body 4 through the side surface of the absorbent body recess 20. Therefore, even when a large amount of urination occurs at a stretch, it can be quickly absorbed by being temporarily stored in the buffer zone Z.
  • the said absorber recessed part 20 is formed without squeezing, as shown in FIG.9 (B), a bodily fluid osmose
  • the said embossed part 21 provided by the embossing from the surface side of the liquid-permeable surface sheet 3 is provided with respect to this absorber recessed part 20, both the side surfaces of the absorber recessed part 20 bulge inside.
  • liquid-permeable surface sheet 3 interposed in the absorber concave portion 20 acts to firmly press down both side surfaces to be expanded, expansion of both side surfaces can be suppressed to a small level. Accordingly, it is possible to prevent the absorbent recess 20 from being blocked by the polymer 8 or pulp that has expanded during liquid absorption and thus reducing the absorbability of the body fluid.
  • the absorbent body recess 20 is formed by stacking fibers or a laminated structure of the absorbent bodies 4a and 4b without being compressed, there is no consolidation due to the compressed body of the absorbent body or hardening due to heat fusion and absorption. The body's original flexibility can be maintained, and a good wearing feeling can be maintained.
  • the said embossing part 21 is provided in the inside of the said absorber recessed part 20 by the embossing from the surface side of the liquid-permeable surface sheet 3, the liquid-permeable surface sheet 3 interposes in the absorber recessed part 20. In other words, even when an external force is applied, the absorber recess 20 is not easily crushed, and a structure that quickly absorbs body fluid can be maintained.
  • the ratio A / B is 0.5 to less than 1, preferably 0.5 to less than 0.8.
  • surfaces may be formed in an inclined shape in consideration of draft, but in that case, the groove width B of the said absorber recessed part 20 is The width on the bottom side (impermeable liquid back sheet 2 side) of the absorber recess 20 is taken.
  • the emboss width A of the embossed portion 21 is such that an emboss having an end width equal to or greater than the groove width B of the absorber recessed portion 20 is used. It is also possible to make it larger than the groove width B (A ⁇ B).
  • FIG. 10 (B) by providing the embossed portion 21, high-density regions 28 and 28 in which the absorbent body 4 is squeezed are formed on both sides of the bottom portion of the absorbent body concave portion 20. Become so.
  • the rigidity of the concave groove 22 is increased, and a density gradient is formed at the bottom of the concave groove 22 so that the fiber density increases from the central part toward both side parts. Therefore, the body fluid in the groove 22 can be transferred to the absorber 4 side more quickly.
  • the absorbent body 4 may be applied only to the absorbent body 4 by squeezing from the surface side of the absorbent body 4, or may be applied integrally to the encapsulating sheet and the absorbent body 4 by squeezing from the front surface side of the encapsulated sheet. If at least the high pressure portion 23 is provided in the absorbent body 4, deformation of the concave groove at the time of mounting can be prevented, and body fluid can easily diffuse along the longitudinal direction of the groove.

Landscapes

  • Health & Medical Sciences (AREA)
  • Epidemiology (AREA)
  • Engineering & Computer Science (AREA)
  • Biomedical Technology (AREA)
  • Heart & Thoracic Surgery (AREA)
  • Vascular Medicine (AREA)
  • Life Sciences & Earth Sciences (AREA)
  • Animal Behavior & Ethology (AREA)
  • General Health & Medical Sciences (AREA)
  • Public Health (AREA)
  • Veterinary Medicine (AREA)
  • Absorbent Articles And Supports Therefor (AREA)
PCT/JP2014/079311 2013-11-05 2014-11-05 吸収性物品 Ceased WO2015068718A1 (ja)

Priority Applications (4)

Application Number Priority Date Filing Date Title
KR1020167011179A KR102287121B1 (ko) 2013-11-05 2014-11-05 흡수성 물품
US15/030,401 US10071000B2 (en) 2013-11-05 2014-11-05 Absorbent article
EP14859756.0A EP3067028B1 (en) 2013-11-05 2014-11-05 Absorbent article
CN201480058866.6A CN105722484B (zh) 2013-11-05 2014-11-05 吸收性物品

Applications Claiming Priority (2)

Application Number Priority Date Filing Date Title
JP2013229051A JP6031428B2 (ja) 2013-11-05 2013-11-05 吸収性物品
JP2013-229051 2013-11-05

Publications (1)

Publication Number Publication Date
WO2015068718A1 true WO2015068718A1 (ja) 2015-05-14

Family

ID=53041495

Family Applications (1)

Application Number Title Priority Date Filing Date
PCT/JP2014/079311 Ceased WO2015068718A1 (ja) 2013-11-05 2014-11-05 吸収性物品

Country Status (6)

Country Link
US (1) US10071000B2 (enExample)
EP (1) EP3067028B1 (enExample)
JP (1) JP6031428B2 (enExample)
KR (1) KR102287121B1 (enExample)
CN (1) CN105722484B (enExample)
WO (1) WO2015068718A1 (enExample)

Cited By (2)

* Cited by examiner, † Cited by third party
Publication number Priority date Publication date Assignee Title
KR20180050657A (ko) * 2015-09-07 2018-05-15 유니챰 가부시키가이샤 흡수성 물품
EP3466390A1 (en) 2017-10-09 2019-04-10 Grupo P.I. Mabe S.A. de C.V. Sanitary napkin for heavy uterine bleeding

Families Citing this family (17)

* Cited by examiner, † Cited by third party
Publication number Priority date Publication date Assignee Title
JP5938440B2 (ja) 2014-06-13 2016-06-22 大王製紙株式会社 吸収性物品
US10806642B2 (en) * 2014-08-29 2020-10-20 Daio Paper Corporation Absorbent article with a concave groove
JP6138872B2 (ja) * 2015-07-31 2017-05-31 大王製紙株式会社 吸収性物品
JP6250719B2 (ja) * 2016-02-29 2017-12-20 大王製紙株式会社 使い捨ておむつ
JP6242423B2 (ja) * 2016-03-29 2017-12-06 大王製紙株式会社 吸収性物品
BR112020010011A2 (pt) 2017-12-21 2020-11-03 Essity Hygiene And Health Aktiebolag artigo absorvente e núcleo absorvente
EP3791841A1 (en) 2017-12-21 2021-03-17 Gdm S.P.A. Method for manufacturing an absorbent article
JP7150023B2 (ja) 2017-12-21 2022-10-07 エシティ・ハイジーン・アンド・ヘルス・アクチエボラグ 吸収性物品
RU2747616C1 (ru) 2017-12-21 2021-05-11 Эссити Хайджин Энд Хелт Актиеболаг Впитывающее изделие и способ изготовления впитывающего изделия
WO2019125298A1 (en) * 2017-12-21 2019-06-27 Essity Hygiene And Health Aktiebolag Absorbent article with a sealing arrangement comprising welding spots and method for manufacturing the absorbent article
MY196723A (en) 2017-12-21 2023-05-02 Essity Hygiene & Health Ab Absorbent article with reduced sagging
RU2740891C1 (ru) 2017-12-21 2021-01-21 Эссити Хайджин Энд Хелт Актиеболаг Впитывающее изделие с уменьшенным провисанием и способ изготовления впитывающего изделия
CN111246825A (zh) * 2017-12-21 2020-06-05 易希提卫生与保健公司 适用于新生儿的吸收性物品和制造吸收性物品的方法
JP7086730B2 (ja) * 2018-06-04 2022-06-20 大王製紙株式会社 吸収性物品
JP7049965B2 (ja) * 2018-08-29 2022-04-07 大王製紙株式会社 脇用汗取りパッド
US11696858B2 (en) * 2019-05-15 2023-07-11 The Procter & Gamble Company Disposable absorbent article
JP2023065958A (ja) * 2021-10-28 2023-05-15 大王製紙株式会社 吸収性物品

Citations (6)

* Cited by examiner, † Cited by third party
Publication number Priority date Publication date Assignee Title
JP2002531172A (ja) * 1998-11-30 2002-09-24 ザ、プロクター、エンド、ギャンブル、カンパニー 溝を有する吸収体
JP2003038555A (ja) * 2001-07-30 2003-02-12 Shiseido Co Ltd 生理用ナプキン
JP2003265518A (ja) 2002-03-12 2003-09-24 Daio Paper Corp 吸収性物品
JP2009112590A (ja) 2007-11-07 2009-05-28 Kao Corp 吸収性物品
JP2010233839A (ja) * 2009-03-31 2010-10-21 Uni Charm Corp 吸収性物品及び吸収性物品の製造方法
JP5105884B2 (ja) 2007-01-17 2012-12-26 花王株式会社 吸収性物品

Family Cites Families (8)

* Cited by examiner, † Cited by third party
Publication number Priority date Publication date Assignee Title
JPS515884B1 (enExample) 1970-11-16 1976-02-24
WO2000032147A1 (en) * 1998-11-30 2000-06-08 The Procter & Gamble Company Absorbent article having channel
US6563013B1 (en) * 1998-11-30 2003-05-13 The Procter & Gamble Company Absorbent article having channel
JP5258380B2 (ja) * 2008-05-15 2013-08-07 ユニ・チャーム株式会社 吸収性物品
US8871123B2 (en) * 2008-08-05 2014-10-28 Johnson & Johnson Ind. E Com. Ltda. Method of making an absorbent core having a plurality of first regions and a second region surrounding each of the first regions
WO2013129327A1 (ja) * 2012-02-29 2013-09-06 ユニ・チャーム株式会社 吸収性物品
US20150282997A1 (en) * 2014-04-08 2015-10-08 The Procter & Gamble Company Absorbent articles having substrates having flow control materials
JP5938440B2 (ja) * 2014-06-13 2016-06-22 大王製紙株式会社 吸収性物品

Patent Citations (6)

* Cited by examiner, † Cited by third party
Publication number Priority date Publication date Assignee Title
JP2002531172A (ja) * 1998-11-30 2002-09-24 ザ、プロクター、エンド、ギャンブル、カンパニー 溝を有する吸収体
JP2003038555A (ja) * 2001-07-30 2003-02-12 Shiseido Co Ltd 生理用ナプキン
JP2003265518A (ja) 2002-03-12 2003-09-24 Daio Paper Corp 吸収性物品
JP5105884B2 (ja) 2007-01-17 2012-12-26 花王株式会社 吸収性物品
JP2009112590A (ja) 2007-11-07 2009-05-28 Kao Corp 吸収性物品
JP2010233839A (ja) * 2009-03-31 2010-10-21 Uni Charm Corp 吸収性物品及び吸収性物品の製造方法

Cited By (4)

* Cited by examiner, † Cited by third party
Publication number Priority date Publication date Assignee Title
KR20180050657A (ko) * 2015-09-07 2018-05-15 유니챰 가부시키가이샤 흡수성 물품
KR102592805B1 (ko) 2015-09-07 2023-10-20 유니챰 가부시키가이샤 흡수성 물품
EP3466390A1 (en) 2017-10-09 2019-04-10 Grupo P.I. Mabe S.A. de C.V. Sanitary napkin for heavy uterine bleeding
WO2019073355A1 (en) 2017-10-09 2019-04-18 Grupo P.I. Mabe S.A. De C.V. HYGIENIC TOWEL FOR HEAVY UTERINE BLEEDINGS

Also Published As

Publication number Publication date
CN105722484B (zh) 2019-06-28
US10071000B2 (en) 2018-09-11
EP3067028A4 (en) 2016-11-23
KR102287121B1 (ko) 2021-08-05
EP3067028B1 (en) 2018-07-04
CN105722484A (zh) 2016-06-29
KR20160081907A (ko) 2016-07-08
JP2015089382A (ja) 2015-05-11
EP3067028A1 (en) 2016-09-14
JP6031428B2 (ja) 2016-11-24
US20160250084A1 (en) 2016-09-01

Similar Documents

Publication Publication Date Title
JP6031428B2 (ja) 吸収性物品
JP2015089382A5 (enExample)
JP5992381B2 (ja) 吸収性物品
JP4035341B2 (ja) 生理用ナプキン
JP2015047432A5 (enExample)
JP5938440B2 (ja) 吸収性物品
JP6138872B2 (ja) 吸収性物品
JP6371814B2 (ja) 吸収性物品
JP6484416B2 (ja) 吸収性物品
WO2015099121A1 (ja) 吸収性物品の製造方法
JP6047606B2 (ja) 吸収性物品
JP6581337B2 (ja) 吸収性物品
JP6081422B2 (ja) 吸収性物品
JP2017029352A5 (enExample)
JP2018050987A5 (enExample)
JP6441621B2 (ja) 吸収性物品
WO2015190549A1 (ja) 吸収性物品
JP6484417B2 (ja) 吸収性物品
JP2014087461A (ja) 吸収性物品及びその表面シート並びに表面シートの製造方法
JP5957329B2 (ja) 吸収性物品
JP2017018659A (ja) 吸収性物品及びその表面シート

Legal Events

Date Code Title Description
121 Ep: the epo has been informed by wipo that ep was designated in this application

Ref document number: 14859756

Country of ref document: EP

Kind code of ref document: A1

WWE Wipo information: entry into national phase

Ref document number: 15030401

Country of ref document: US

ENP Entry into the national phase

Ref document number: 20167011179

Country of ref document: KR

Kind code of ref document: A

REEP Request for entry into the european phase

Ref document number: 2014859756

Country of ref document: EP

WWE Wipo information: entry into national phase

Ref document number: 2014859756

Country of ref document: EP

NENP Non-entry into the national phase

Ref country code: DE