WO2015004899A1 - 熱交換器用フィン - Google Patents

熱交換器用フィン Download PDF

Info

Publication number
WO2015004899A1
WO2015004899A1 PCT/JP2014/003598 JP2014003598W WO2015004899A1 WO 2015004899 A1 WO2015004899 A1 WO 2015004899A1 JP 2014003598 W JP2014003598 W JP 2014003598W WO 2015004899 A1 WO2015004899 A1 WO 2015004899A1
Authority
WO
WIPO (PCT)
Prior art keywords
fin
louver
heat transfer
transfer performance
flow direction
Prior art date
Legal status (The legal status is an assumption and is not a legal conclusion. Google has not performed a legal analysis and makes no representation as to the accuracy of the status listed.)
Ceased
Application number
PCT/JP2014/003598
Other languages
English (en)
French (fr)
Japanese (ja)
Inventor
中村 貢
下谷 昌宏
正 中坊
Current Assignee (The listed assignees may be inaccurate. Google has not performed a legal analysis and makes no representation or warranty as to the accuracy of the list.)
Denso Corp
Original Assignee
Denso Corp
Priority date (The priority date is an assumption and is not a legal conclusion. Google has not performed a legal analysis and makes no representation as to the accuracy of the date listed.)
Filing date
Publication date
Application filed by Denso Corp filed Critical Denso Corp
Priority to US14/903,392 priority Critical patent/US9915481B2/en
Priority to CN201480039787.0A priority patent/CN105452796B/zh
Priority to DE112014003247.6T priority patent/DE112014003247B4/de
Publication of WO2015004899A1 publication Critical patent/WO2015004899A1/ja
Anticipated expiration legal-status Critical
Ceased legal-status Critical Current

Links

Images

Classifications

    • FMECHANICAL ENGINEERING; LIGHTING; HEATING; WEAPONS; BLASTING
    • F28HEAT EXCHANGE IN GENERAL
    • F28FDETAILS OF HEAT-EXCHANGE AND HEAT-TRANSFER APPARATUS, OF GENERAL APPLICATION
    • F28F3/00Plate-like or laminated elements; Assemblies of plate-like or laminated elements
    • F28F3/02Elements or assemblies thereof with means for increasing heat-transfer area, e.g. with fins, with recesses, with corrugations
    • F28F3/025Elements or assemblies thereof with means for increasing heat-transfer area, e.g. with fins, with recesses, with corrugations the means being corrugated, plate-like elements
    • F28F3/027Elements or assemblies thereof with means for increasing heat-transfer area, e.g. with fins, with recesses, with corrugations the means being corrugated, plate-like elements with openings, e.g. louvered corrugated fins; Assemblies of corrugated strips
    • FMECHANICAL ENGINEERING; LIGHTING; HEATING; WEAPONS; BLASTING
    • F28HEAT EXCHANGE IN GENERAL
    • F28DHEAT-EXCHANGE APPARATUS, NOT PROVIDED FOR IN ANOTHER SUBCLASS, IN WHICH THE HEAT-EXCHANGE MEDIA DO NOT COME INTO DIRECT CONTACT
    • F28D1/00Heat-exchange apparatus having stationary conduit assemblies for one heat-exchange medium only, the media being in contact with different sides of the conduit wall, in which the other heat-exchange medium is a large body of fluid, e.g. domestic or motor car radiators
    • F28D1/02Heat-exchange apparatus having stationary conduit assemblies for one heat-exchange medium only, the media being in contact with different sides of the conduit wall, in which the other heat-exchange medium is a large body of fluid, e.g. domestic or motor car radiators with heat-exchange conduits immersed in the body of fluid
    • F28D1/04Heat-exchange apparatus having stationary conduit assemblies for one heat-exchange medium only, the media being in contact with different sides of the conduit wall, in which the other heat-exchange medium is a large body of fluid, e.g. domestic or motor car radiators with heat-exchange conduits immersed in the body of fluid with tubular conduits
    • F28D1/053Heat-exchange apparatus having stationary conduit assemblies for one heat-exchange medium only, the media being in contact with different sides of the conduit wall, in which the other heat-exchange medium is a large body of fluid, e.g. domestic or motor car radiators with heat-exchange conduits immersed in the body of fluid with tubular conduits the conduits being straight
    • F28D1/0535Heat-exchange apparatus having stationary conduit assemblies for one heat-exchange medium only, the media being in contact with different sides of the conduit wall, in which the other heat-exchange medium is a large body of fluid, e.g. domestic or motor car radiators with heat-exchange conduits immersed in the body of fluid with tubular conduits the conduits being straight the conduits having a non-circular cross-section
    • F28D1/05366Assemblies of conduits connected to common headers, e.g. core type radiators
    • F28D1/05383Assemblies of conduits connected to common headers, e.g. core type radiators with multiple rows of conduits or with multi-channel conduits
    • FMECHANICAL ENGINEERING; LIGHTING; HEATING; WEAPONS; BLASTING
    • F28HEAT EXCHANGE IN GENERAL
    • F28FDETAILS OF HEAT-EXCHANGE AND HEAT-TRANSFER APPARATUS, OF GENERAL APPLICATION
    • F28F1/00Tubular elements; Assemblies of tubular elements
    • F28F1/10Tubular elements and assemblies thereof with means for increasing heat-transfer area, e.g. with fins, with projections, with recesses
    • F28F1/12Tubular elements and assemblies thereof with means for increasing heat-transfer area, e.g. with fins, with projections, with recesses the means being only outside the tubular element
    • F28F1/126Tubular elements and assemblies thereof with means for increasing heat-transfer area, e.g. with fins, with projections, with recesses the means being only outside the tubular element consisting of zig-zag shaped fins
    • F28F1/128Fins with openings, e.g. louvered fins

Definitions

  • This disclosure relates to heat exchanger fins.
  • a corrugated fin is employed as a heat exchanger fin, and a plurality of louvers are cut and formed along the air flow direction on the surface of the corrugated fin.
  • Various techniques for improving heat exchange performance and the like by changing specifications such as corrugated fin width, fin pitch, and louver length have been proposed (see, for example, Patent Document 1).
  • louver pitch is made finer and the number of louvers is increased, the heat transfer coefficient of the fins is improved by the louver tip effect, and the heat transfer performance can be improved.
  • the louver pitch finer than the conventional manufacturing limit.
  • the louver pitch is made finer, the heat transfer rate is improved, but the fin efficiency is lowered and the heat flow emitted from the fin is lowered, so the actual fin has the effect of improving the heat transfer performance by making the louver pitch finer. In some cases, it cannot be obtained sufficiently. That is, in a heat exchanger fin having a plurality of louvers, it is difficult to improve the heat transfer performance by simply reducing the louver pitch.
  • This indication aims at providing the fin for heat exchangers which can improve heat transfer performance in view of the above-mentioned point.
  • the heat exchanger fins are joined to the outer surface of the heat exchange object and promote heat exchange between the heat exchange object and the fluid circulating around the heat exchange object.
  • the heat exchanger fin includes a plurality of plane portions substantially parallel to the fluid flow direction, a top portion connecting two adjacent plane portions, a plurality of louvers provided in the plane portion along the fluid flow direction, Is provided.
  • the plane portion and the top portion as a whole have a wave shape in a cross section perpendicular to the fluid flow direction, and the plurality of louvers are cut and raised at a predetermined raising angle with respect to the plane portion.
  • the plate thickness of the plane portion is t and the louver pitch of the louver is PL
  • the plate thickness and louver pitch of the plane portion satisfy the relationship of 0.035 ⁇ t / PL ⁇ 0.29.
  • the plate thickness and the louver pitch of the plane portion within the range of 0.035 ⁇ t / PL ⁇ 0.29, the heat transfer performance improvement effect of the heat exchanger fins by the refinement of the louver pitch PL is sufficiently achieved. Can get to. For this reason, it becomes possible to improve heat-transfer performance.
  • FIG. 2 is a sectional view taken along the line II-II in FIG. It is a front view which shows the fin in 1st Embodiment.
  • FIG. 4 is a sectional view taken along line IV-IV in FIG. 2. It is a figure which shows the V section of FIG. It is a characteristic view which shows the change of the heat transfer coefficient of a louver and the heat transfer coefficient of a fin with respect to the louver pitch in 1st Embodiment. It is a characteristic view which shows the relationship between the board thickness of the fin in 1st Embodiment, and the fall rate of the heat transfer coefficient of the fin with respect to the heat transfer coefficient of a louver.
  • the heater core of 1st Embodiment it is a characteristic view which shows the relationship between the louver pitch and the plate
  • the fin for a heat exchanger is applied to a fin mounted on a heater core that heats blown air using cooling water of a water-cooled internal combustion engine (hereinafter also referred to as an engine) as a heat source.
  • a water-cooled internal combustion engine hereinafter also referred to as an engine
  • the heater core includes a tube 1 that is a tube through which cooling water as an internal fluid flows.
  • the tube 1 is formed in an oval shape (flat shape) with a flat vertical cross section in the longitudinal direction so that the flow direction of air as an external fluid (hereinafter referred to as the air flow direction X1) coincides with the major axis direction. Yes.
  • a plurality of tubes 1 are arranged in parallel in the horizontal direction so that the longitudinal direction thereof coincides with the vertical direction.
  • the tube 1 has two flat surfaces 10a and 10b facing each other with a fluid passage through which the cooling water flows in the tube 1 interposed therebetween.
  • Fins 2 as heat transfer members formed in a wave shape are joined to the flat surfaces 10 a and 10 b on both sides of the tube 1.
  • the fin 2 increases the heat transfer area with the air to promote heat exchange between the cooling water and the air. For this reason, the tube 1 is corresponded to the heat exchange target object of this indication.
  • the substantially rectangular heat exchanging portion including the tube 1 and the fin 2 is referred to as a core portion 3.
  • the header tank 4 is a direction (horizontal direction in the present embodiment) orthogonal to the tube longitudinal direction X2 at an end portion (upper and lower ends in the present embodiment) of the longitudinal direction of the tube 1 (hereinafter referred to as the tube longitudinal direction X2). And communicates with the plurality of tubes 1.
  • the header tank 4 includes a core plate 4a to which the tube 1 is inserted and joined, and a tank body 4b that constitutes a tank internal space together with the core plate 4a.
  • the core plate 4a and the tank body 4b are made of metal (for example, aluminum alloy).
  • inserts 5 that reinforce the core portion 3 by extending substantially parallel to the tube longitudinal direction X ⁇ b> 2 are provided at both ends of the core portion 3.
  • the cooling water that has cooled the engine flows into the tank main body 4 b into the tank main body 4 b of the inlet side tank 41 that is arranged on the upper side and distributes the cooling water to the tube 1.
  • An inlet pipe 4c is provided.
  • the tank body 4 b of the outlet side tank 42 that is disposed on the lower side and collects the cooling water flowing out from the tube 1 is cooled by heat exchange with air.
  • An outlet pipe 4d that allows water to flow out toward the engine is provided.
  • an inner column portion 11 is provided inside the tube 1 so as to connect the two flat surfaces 10 a and 10 b to each other and to increase the pressure resistance of the tube 1.
  • the inner column part 11 is disposed in the center part of the air flow direction X1 inside the tube 1.
  • the inner pillar portion 11 divides the fluid passage inside the tube 1 into two.
  • the fin 2 is a corrugated fin formed in a wave shape so as to have a plate-like plane portion 21 (plate portion) and a top portion 22 that positions the adjacent plane portions 21 at a predetermined distance.
  • the flat surface portion 21 provides a surface that extends along the air flow direction X1 (perpendicular to the plane of FIG. 2).
  • the flat portion 21 can be provided by a flat plate.
  • the top portion 22 has a flat top plate portion that provides a narrow-width plane to face the outside. Between the top plate portion and the flat portion 21, a substantially right-angled bent portion is provided. The top plate portion is joined to the tube 1, and the fin 2 and the tube 1 are joined so that heat can be transferred.
  • the top portion 22 can be viewed as a curved portion that is curved as a whole when the width of the top plate portion is sufficiently narrow and the bent portion is formed with a large radius. Therefore, in the following description, the top portion 22 is also referred to as a curved portion.
  • the corrugated fin 2 is formed by subjecting a sheet metal material to a roller forming method.
  • the curved portion (22) of the fin 2 is joined to the flat surfaces 10a and 10b of the tube 1 by brazing.
  • an armor window-like louver 23 is integrally and seamlessly formed on the flat portion 21 of the fin 2 by cutting and raising the flat portion 21.
  • the louver 23 is cut and raised at a predetermined angle (hereinafter referred to as a cut-and-raise angle ⁇ ) with respect to the flat surface portion 21 when viewed from the stacking direction X3 (hereinafter referred to as the tube stacking direction X3) of the tube 1.
  • a plurality of flat portions 21 are provided along the air flow direction X1.
  • a louver passage 230 through which air can flow is formed.
  • the plurality of louvers 23 formed on one flat surface portion 21 include an upstream louver group including a plurality of louvers 23 located on the air flow upstream side and a plurality of louvers 23 located on the air flow downstream side. Divided into a group of downstream louvers. Then, the direction in which the louver 23 belonging to the upstream louver group is cut and raised is different from the direction in which the louver 23 belonging to the downstream louver group is cut and raised. That is, the upstream louver group and the downstream louver group are formed so that the louvers 23 belonging to each of the louvers 23 are raised and reversed.
  • the end of the plane portion 21 on the upstream side of the air flow is an upstream plane portion 24 where the louver 23 is not formed.
  • the air flow downstream end of the plane portion 21 is a downstream plane portion 25 in which the louver 23 is not formed.
  • the louver 23 is not formed between the substantially central portion of the plane portion 21 in the air flow direction X1, that is, between the upstream louver group and the downstream louver group, and is configured as a turning portion 26 in which the air flow direction is reversed.
  • the turning part 26 formed substantially parallel to the air flow direction X1 is provided between the upstream louver group and the downstream louver group.
  • the upstream end louver 23 a disposed on the most upstream side of the air flow is connected to the upstream plane portion 24. Further, among the plurality of louvers 23, the downstream end louver 23 b disposed on the most downstream side of the air flow is connected to the downstream plane portion 25.
  • louvers 23 are arranged on the upstream side and the downstream side of the air flow of the turning portion 26.
  • the plurality of louvers 23 are arranged symmetrically with respect to the center line (virtual line) C1 of the plane portion 21 in the air flow direction.
  • a two-dot chain line indicates a center line (virtual line) C ⁇ b> 2 in the plate thickness direction of the fin 2.
  • FIG. 6 shows changes in the heat transfer coefficient of the louver 23 and the heat transfer coefficient of the fin 2 when the louver pitch PL of the louver 23 is changed.
  • the vertical axis of FIG. 6 indicates the heat transfer coefficient of the louver 23 and the fin 2 when the heat transfer coefficient of the fin 2 (hereinafter referred to as a reference fin) having a louver pitch PL of 0.7 mm, which is the current fin 2, is 100%.
  • the heat transfer coefficient is shown.
  • the plate thickness t of the reference fin is 0.05 mm.
  • the plate thickness t of the fin 2 means the plate thickness of the flat portion 21 of the fin 2 and is equal to the plate thickness of the louver 23.
  • the heat transfer coefficient of the louver 23 is improved as the louver pitch PL of the louver 23 is finer in the fin 2.
  • the louver pitch PL is finer, the fin efficiency is lowered. Therefore, the fin 2 cannot sufficiently obtain the effect of increasing the heat transfer coefficient by miniaturizing the louver pitch LP.
  • the smaller the louver pitch PL the larger the difference between the heat transfer coefficient of the louver 23 and the heat transfer coefficient of the fin 2 (louver heat transfer coefficient ⁇ fin efficiency).
  • FIG. 7 shows the relationship between the plate thickness t of the fin 2 and the rate of decrease in the heat transfer coefficient of the fin 2 with respect to the heat transfer coefficient of the louver 23 in the fins 2 having different louver pitches PL.
  • the reduction rate of the heat transfer coefficient of the fin 2 with respect to the heat transfer coefficient of the louver 23 is 3%.
  • the difference between the heat transfer coefficient of the louver 23 and the heat transfer coefficient of the fin 2 increases as the plate thickness t of the fin 2 decreases. For this reason, when the louver pitch PL is made fine, in order to maintain the reduction rate of the heat transfer coefficient of the fin 2 with respect to the heat transfer coefficient of the louver 23 to be equal to that of the reference fin, the plate thickness t of the fin 2 is set to the louver pitch PL. Need to be relatively thick.
  • FIG. 8 shows the relationship between the plate thickness t of the fin 2 and the ventilation resistance in the fin 2 having a different louver pitch PL.
  • shaft of FIG. 8 has shown the increase rate of the ventilation resistance when the ventilation resistance of a reference
  • the present inventor examined the heat transfer performance of the fin 2 when the louver pitch PL was refined in consideration of the heat transfer coefficient and the ventilation resistance.
  • Nusselt number is Nu
  • heat transfer coefficient of fin 2 is ⁇
  • fin pitch of fin 2 is Pf (see FIG. 3)
  • thermal conductivity of air is ⁇ a
  • resistance coefficient is Cf
  • draft resistance is ⁇ Pa
  • the wind speed of air is Ua
  • the width of the fin 2 that is, the length of the fin 2 in the air flow direction X1 is D (see FIG. 2)
  • the Nusselt number and the resistance coefficient are expressed by the following formulas 1, 2 respectively. It is represented by
  • FIG. 9 The horizontal axis in FIG. 9 indicates the louver pitch PL.
  • the vertical axis in FIG. 9 indicates Nu / Cf of the fin 2 of the present embodiment relative to Nu 0 / Cf 0 of the fin 2 of the comparative example. The larger the value of the vertical axis, the more the heat transfer performance of the fin 2. Represents high.
  • the solid line is when t / PL is 0.05
  • the broken line is when t / PL is 0.1
  • the alternate long and short dash line is when t / PL is 0.2
  • the alternate long and two short dashes line is when t / PL is 0. .4 are shown respectively.
  • FIG. 10 shows the relationship between t / PL and the heat transfer performance of the fin 2 when the louver pitch PL is changed.
  • the size of the heater core is horizontal 200 mm, vertical 150 mm, width 16 mm, air volume of the air passing through the heater core 300 meters 3 / h, the air temperature 20 ° C., the cooling water temperature is 85 ° C..
  • the fin height Hf is 3 mm, and the cut-and-raised angle ⁇ of the louver 23 is 32 °.
  • shaft of FIG. 10 has shown the heat-transfer performance ratio of each fin 2 when the maximum value of the heat-transfer performance of the fin 2 whose louver pitch PL is 0.3 mm is 100%.
  • the broken line in FIG. 10 has shown the heat transfer performance in the fin 2 whose t / PL is 0.03.
  • the black circle plot indicates the maximum value of the heat transfer performance of each fin 2 having a different louver pitch PL, and the alternate long and short dash line is a graph curve passing through the black circle plot. Moreover, in FIG. 10, the black triangle plot has shown the maximum value of the heat-transfer performance in the fin 2 whose t / PL is 0.03.
  • the maximum value of the heat transfer performance of the fin 2 (hereinafter, also referred to as the maximum value of the fin heat transfer performance) is maximized, as shown in FIG.
  • the maximum value of the fin heat transfer performance is maximized, as shown in FIG.
  • heat transfer performance of 95% or more of the maximum value of fin heat transfer performance can be secured. That is, by setting t / PL to be 0.035 or more and 0.29 or less, it is possible to sufficiently obtain the heat transfer performance improvement effect of the fins 2 by miniaturizing the louver pitch PL.
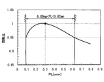
  • the relationship between the louver pitch PL and the heat transfer performance of the fin 2 in the heater core of the present embodiment is shown in FIG.
  • the conditions are the same as those in FIG. 10 except that the plate thickness t of the fin 2 in the heater core is 0.03 mm.
  • shaft of FIG. 11 has shown the heat transfer performance ratio of the fin 2 when the heat transfer performance of the fin 2 whose louver pitch PL is 0.3 mm is 100%.
  • louver pitch PL As shown in FIG. 11, by setting the louver pitch PL to be larger than 0.09 mm and smaller than 0.62 mm, it is possible to ensure a heat transfer performance of 95% or more of the maximum value of the fin heat transfer performance.
  • the relationship between the plate thickness t of the fin 2 and the heat transfer performance of the fin 2 is shown in FIG.
  • the conditions are the same as those in FIG. 10 except that the louver pitch PL in the heater core is 0.3 mm.
  • shaft of FIG. 12 has shown the heat transfer performance ratio of the fin 2 when the heat transfer performance of the fin 2 whose plate
  • the plate thickness t of the fin 2 As shown in FIG. 12, by setting the plate thickness t of the fin 2 to be larger than 0.006 mm and smaller than 0.05 mm, heat transfer performance of 95% or more of the maximum value of fin heat transfer performance can be secured.
  • the plate thickness t of the fin 2 is more preferably larger than 0.006 mm and smaller than 0.04 mm.
  • the relationship between the fin height Hf and the heat transfer performance of the fin 2 is shown in FIG.
  • the conditions are the same as those in FIG. 10 except that the louver pitch PL in the heater core is 0.3 mm and the plate thickness t of the fin 2 is 0.03 mm.
  • shaft of FIG. 13 has shown the heat transfer performance ratio of the fin 2 when the heat transfer performance of the fin 2 whose fin height Hf is 3 mm is 100%.
  • the relationship between the cut-and-raised angle ⁇ of the louver 23 and the heat transfer performance of the fin 2 is shown in FIG.
  • the conditions are the same as those in FIG. 10 except that the louver pitch PL in the heater core is 0.3 mm and the plate thickness t of the fin 2 is 0.03 mm.
  • the vertical axis in FIG. 14 represents the heat transfer performance ratio of the fin 2 when the heat transfer performance of the fin 2 having the cut-and-raised angle ⁇ of 32 ° of the louver 23 is 100%.
  • the heat transfer performance of 95% or more of the maximum value of the fin heat transfer performance can be secured by setting the cut-and-raised angle ⁇ of the louver 23 to be larger than 22.5 ° and smaller than 43.5 °.
  • the heat transfer of the fin 2 due to the refinement of the louver pitch PL is achieved by setting the plate thickness t and the louver pitch PL of the flat portion 21 of the fin 2 within the range of 0.035 ⁇ t / PL ⁇ 0.29. A sufficient performance improvement effect can be obtained. For this reason, it becomes possible to improve the heat transfer performance of the fin 2.
  • the plate thickness t and the louver pitch PL of the flat portion 21 of the fin 2 be in the range of 0.035 ⁇ t / PL ⁇ 0.17.
  • the heat transfer performance of the fins 2 can be further improved by setting the louver pitch PL to be larger than 0.3 mm and smaller than 0.62 mm.
  • FIG. 15 shows the relationship between the louver pitch PL and the heat transfer performance of the fin 2 in the radiator of the present embodiment.
  • the size of the radiator is 313 mm in width, 400 mm in length, and 16 mm in width.
  • the speed of air passing through the radiator is 4 m / s, the air temperature is 20 ° C., and the cooling water temperature is 80 ° C.
  • the fin height Hf is 3 mm
  • the plate thickness t of the fin 2 is 0.03 mm
  • the cut-and-raised angle ⁇ of the louver 23 is 32 °.
  • shaft of FIG. 15 has shown the heat-transfer performance ratio of the fin 2 when the heat-transfer performance of the fin 2 whose louver pitch PL is 0.3 mm is 100%.
  • louver pitch PL As shown in FIG. 15, by setting the louver pitch PL to be larger than 0.09 mm and smaller than 0.62 mm, it is possible to ensure a heat transfer performance of 95% or more of the maximum value of the fin heat transfer performance.
  • the relationship between the plate thickness t of the fin 2 and the heat transfer performance of the fin 2 is shown in FIG.
  • the conditions are the same as those in FIG. 15 except that the louver pitch PL in the radiator is 0.3 mm.
  • shaft of FIG. 16 has shown the heat transfer performance ratio of the fin 2 when the heat transfer performance of the fin 2 whose plate
  • the plate thickness t of the fin 2 As shown in FIG. 16, by setting the plate thickness t of the fin 2 to be larger than 0.006 mm and smaller than 0.05 mm, it is possible to ensure a heat transfer performance of 95% or more of the maximum value of the fin heat transfer performance.
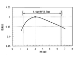
  • the relationship between the fin height Hf and the heat transfer performance of the fin 2 is shown in FIG.
  • the conditions are the same as those in FIG. 15 except that the louver pitch PL in the radiator is 0.3 mm and the plate thickness t of the fin 2 is 0.03 mm.
  • shaft of FIG. 17 has shown the heat-transfer performance ratio of the fin 2 when the heat-transfer performance of the fin 2 whose fin height Hf is 3 mm is 100%.
  • the fin height Hf As shown in FIG. 17, by making the fin height Hf larger than 1.4 mm and smaller than 6.5 mm, it is possible to ensure a heat transfer performance of 95% or more of the maximum value of the fin heat transfer performance.
  • the relationship between the cut-and-raised angle ⁇ of the louver 23 and the heat transfer performance of the fin 2 is shown in FIG.
  • the conditions are the same as those in FIG. 15 except that the louver pitch PL in the radiator is 0.3 mm and the plate thickness t of the fin 2 is 0.03 mm.
  • the vertical axis in FIG. 14 indicates the heat transfer performance ratio of the fin 2 when the heat transfer performance of the fin 2 having the louver 23 cut-and-raised angle ⁇ of 32 ° is defined as 100%.
  • the heat transfer performance of 95% or more of the maximum value of the fin heat transfer performance can be ensured by setting the cut-and-raised angle ⁇ of the louver 23 to be larger than 22.5 ° and smaller than 43.5 °.
  • all the louvers 23 formed on the flat surface portion 21 of the fin 2 have a cross-sectional shape perpendicular to the flat surface portion 21 and parallel to the air flow direction, which corresponds to two corner portions of the rectangle.
  • the part is formed in an arc shape.
  • the cross-sectional shape perpendicular to the flat surface portion 21 of the louver 23 and parallel to the air flow direction is formed such that portions corresponding to two corner portions on the diagonal line among the four corner portions of the rectangle are formed in an arc shape.
  • the remaining two corners are formed at right angles.
  • the corner portion 232 on the side close to the turning portion 26 is formed in an arc shape.
  • two corner portions 233 and 234 are formed in the louver 23 belonging to the upstream louver group.
  • the corner portion 233 far from the turning portion 26 is formed in an arc shape.
  • louver 23 belonging to the downstream louver group two corners 235 and 236 on the upstream side of the air flow in the rectangle in the cross section perpendicular to the plane portion 21 and parallel to the air flow direction (two corners on the lower side in the drawing).
  • the corner portion 236 on the side far from the turning portion 26 is formed in an arc shape.
  • two corners 237 and 238 two corners on the upper side of the paper surface on the downstream side of the air flow in the rectangle in the cross section perpendicular to the plane part 21 and parallel to the air flow direction.
  • the corner portion 237 closer to the turning portion 26 is formed in an arc shape.
  • the inter-louver passage 230 becomes narrower. For this reason, it becomes difficult for air to flow into the inter-louver passage 230, and as a result, the heat transfer performance of the fins 2 is lowered.
  • the cross-sectional shape perpendicular to the plane portion 21 of the louver 23 and parallel to the air flow direction is formed, and the portions corresponding to the two corners of the rectangle are formed in an arc shape.
  • air becomes easy to flow into the inter-louver passage 230.
  • board thickness t of the louver 23 is made relatively thick with respect to the louver pitch PL, it can suppress that the heat transfer performance of the fin 2 falls.
  • all the louvers 23 formed on one flat surface portion 21 of the fin 2 have a rectangular cross-section perpendicular to the flat surface portion 21 and parallel to the air flow direction.
  • a portion corresponding to one corner is formed in an arc shape.
  • the corner portion 232 on the side close to the turning portion 26 is formed in an arc shape.
  • the cross-sectional shape perpendicular to the plane portion 21 and parallel to the air flow direction has two corners 235 and 236 on the upstream side of the air flow in the rectangle (two corners on the lower side of the page). ), The corner portion 236 far from the turning portion 26 is formed in an arc shape.
  • the cross-sectional shape perpendicular to the plane portion 21 of the louver 23 and parallel to the air flow direction is a shape in which a portion corresponding to one corner of the rectangle is formed in an arc shape. Air becomes easy to flow into 230. For this reason, it is possible to obtain the same effect as the third embodiment.
  • the present invention is not limited thereto.
  • an electronic component or machine that generates heat such as a power card or an inverter element, may be employed as the heat exchange object, and a heat exchanger configured to directly join fins to the electronic component may be employed as the heat exchanger.
  • a heater core or a radiator is employed as the heat exchanger
  • the heat exchanger is not limited to this.
  • a refrigerant that cools the refrigerant by exchanging heat between the refrigerant circulating in the vehicle refrigeration cycle (air conditioner) and the air, or combustion air supplied to an internal combustion engine (engine) An intercooler that cools the intake air may be employed.
  • louvers 23 may be formed on the fins.
  • the cross-sectional shape perpendicular to the plane portion 21 of the louver 23 and parallel to the air flow direction is used, and the portion corresponding to two or one corner of the rectangle is an arc.
  • the present invention is not limited to this, and a portion corresponding to three or four corners of a rectangle may be formed in an arc shape.
  • the cross-sectional shape perpendicular to the plane portion 21 of the louver 23 and parallel to the air flow direction may be a shape in which a portion corresponding to at least one corner portion of the rectangle is formed in an arc shape.
  • all the louvers 23 formed on the flat surface portion 21 of the fin 2 have a cross-sectional shape perpendicular to the flat surface portion 21 and parallel to the air flow direction.
  • angular part the shape formed in circular arc shape was demonstrated, it is not limited to this. That is, in at least one louver among the plurality of louvers 23 formed on the flat surface portion 21 of the fin 2, the cross-sectional shape perpendicular to the flat surface portion 21 and parallel to the air flow direction is formed at at least one corner portion of the rectangle. It is good also as a shape where the corresponding site

Landscapes

  • Engineering & Computer Science (AREA)
  • Physics & Mathematics (AREA)
  • Thermal Sciences (AREA)
  • Mechanical Engineering (AREA)
  • General Engineering & Computer Science (AREA)
  • Geometry (AREA)
  • Heat-Exchange Devices With Radiators And Conduit Assemblies (AREA)
  • Cooling Or The Like Of Electrical Apparatus (AREA)
PCT/JP2014/003598 2013-07-12 2014-07-07 熱交換器用フィン Ceased WO2015004899A1 (ja)

Priority Applications (3)

Application Number Priority Date Filing Date Title
US14/903,392 US9915481B2 (en) 2013-07-12 2014-07-07 Fin for heat exchanger
CN201480039787.0A CN105452796B (zh) 2013-07-12 2014-07-07 换热器用散热片
DE112014003247.6T DE112014003247B4 (de) 2013-07-12 2014-07-07 Rippe für Wärmetauscher

Applications Claiming Priority (2)

Application Number Priority Date Filing Date Title
JP2013-146325 2013-07-12
JP2013146325A JP6011481B2 (ja) 2013-07-12 2013-07-12 熱交換器用フィン

Publications (1)

Publication Number Publication Date
WO2015004899A1 true WO2015004899A1 (ja) 2015-01-15

Family

ID=52279604

Family Applications (1)

Application Number Title Priority Date Filing Date
PCT/JP2014/003598 Ceased WO2015004899A1 (ja) 2013-07-12 2014-07-07 熱交換器用フィン

Country Status (5)

Country Link
US (1) US9915481B2 (enExample)
JP (1) JP6011481B2 (enExample)
CN (1) CN105452796B (enExample)
DE (1) DE112014003247B4 (enExample)
WO (1) WO2015004899A1 (enExample)

Families Citing this family (12)

* Cited by examiner, † Cited by third party
Publication number Priority date Publication date Assignee Title
US10209012B2 (en) * 2015-02-24 2019-02-19 Lgl France Heat exchanger with louvered fins
CN109070697B (zh) * 2016-06-01 2021-10-08 株式会社电装 蓄冷热交换器
JP2018132247A (ja) * 2017-02-15 2018-08-23 富士電機株式会社 自動販売機
WO2018185824A1 (ja) * 2017-04-04 2018-10-11 三菱電機株式会社 熱交換器および冷凍サイクル装置
CN108096872A (zh) * 2018-01-05 2018-06-01 浙江万享科技股份有限公司 一种板式结晶器
JP7480487B2 (ja) * 2018-11-13 2024-05-10 株式会社デンソー 熱交換器
EP4012315B1 (en) * 2019-08-06 2025-01-22 Mitsubishi Electric Corporation Heat exchanger and refrigeration cycle apparatus
KR102654846B1 (ko) * 2019-08-19 2024-04-05 현대자동차주식회사 차량용 쿨링모듈
JP2022102199A (ja) * 2020-12-25 2022-07-07 株式会社デンソー 熱交換器、空調システム
CN113465437B (zh) * 2021-06-24 2023-01-24 中原工学院 一种百叶窗翅片换热器、及其性能评价因子确定方法
TWM628613U (zh) * 2022-01-18 2022-06-21 訊凱國際股份有限公司 水冷排
DE102022208567A1 (de) * 2022-08-18 2024-02-29 Mahle International Gmbh Rippeneinrichtung, Wärmeübertrager mit derselben sowie Verfahren zur Herstellung einer Rippeneinrichtung

Citations (3)

* Cited by examiner, † Cited by third party
Publication number Priority date Publication date Assignee Title
JP2004263881A (ja) * 2003-01-23 2004-09-24 Showa Denko Kk 伝熱フィン、熱交換器、カーエアコン用エバポレータ及びコンデンサ
JP2007178015A (ja) * 2005-12-27 2007-07-12 Showa Denko Kk 熱交換器
JP2011190966A (ja) * 2010-03-12 2011-09-29 Denso Corp 熱交換器

Family Cites Families (28)

* Cited by examiner, † Cited by third party
Publication number Priority date Publication date Assignee Title
US1416570A (en) * 1918-01-22 1922-05-16 Arthur B Modine Radiator core
JPS5022751B1 (enExample) * 1970-12-27 1975-08-01
JPS5572795A (en) 1978-11-21 1980-05-31 Nippon Denso Co Ltd Corrugated fin type heat exchanger
JPS55105194A (en) * 1979-02-07 1980-08-12 Hitachi Ltd Heat-exchanger
JPS56155391A (en) * 1980-04-30 1981-12-01 Nippon Denso Co Ltd Corrugated fin type heat exchanger
JPS5795595A (en) * 1980-12-03 1982-06-14 Hitachi Ltd Fin for heat exchanger unit
JPS59215755A (ja) * 1983-05-24 1984-12-05 Nippon Telegr & Teleph Corp <Ntt> 放熱フインおよびその製造方法
US4550776A (en) * 1983-05-24 1985-11-05 Lu James W B Inclined radially louvered fin heat exchanger
US4621687A (en) * 1984-10-11 1986-11-11 Nihon Radiator Co., Ltd. Flat tube heat exchanger having corrugated fins with louvers
GB2169694B (en) * 1985-01-15 1988-01-20 Sanden Corp Serpentine heat exchanger
JPH01263498A (ja) * 1988-04-15 1989-10-19 Toyota Central Res & Dev Lab Inc 熱交換器のフィン
US5099914A (en) * 1989-12-08 1992-03-31 Nordyne, Inc. Louvered heat exchanger fin stock
JPH0716741B2 (ja) * 1990-11-02 1995-03-01 日本電装株式会社 コルゲートフィンの製造装置
JP3459271B2 (ja) 1992-01-17 2003-10-20 株式会社デンソー 自動車用空調装置のヒータコア
US5360060A (en) 1992-12-08 1994-11-01 Hitachi, Ltd. Fin-tube type heat exchanger
JPH07218174A (ja) * 1994-02-04 1995-08-18 Mitsubishi Alum Co Ltd 放熱フィン
US5669438A (en) * 1996-08-30 1997-09-23 General Motors Corporation Corrugated cooling fin with louvers
CN1210583A (zh) 1996-12-04 1999-03-10 株式会社杰克塞尔 热交换器
JP4198839B2 (ja) * 1999-10-14 2008-12-17 株式会社Pfu ヒートシンク
JP4041654B2 (ja) * 2001-01-31 2008-01-30 カルソニックカンセイ株式会社 熱交換器のルーバーフィンおよびその熱交換器並びにそのルーバーフィンの組付け方法
JP2003017878A (ja) * 2001-07-04 2003-01-17 Fujikura Ltd ヒートシンク
US20060169019A1 (en) 2003-07-10 2006-08-03 Kutscher Charles F Tabbed transfer fins for air-cooled heat exchanger
DE102004001306A1 (de) 2004-01-07 2005-08-04 Behr Gmbh & Co. Kg Wärmeübertrager
JP2005327795A (ja) * 2004-05-12 2005-11-24 Sumitomo Electric Ind Ltd 放熱器
JP2006207966A (ja) 2005-01-31 2006-08-10 Denso Corp 熱交換器
US9086243B2 (en) * 2006-02-06 2015-07-21 Panasonic Intellectual Property Management Co., Ltd. Fin-tube heat exchanger
CN101846475B (zh) * 2009-03-25 2013-12-11 三花控股集团有限公司 用于热交换器的翅片以及采用该翅片的热交换器
JP2011190996A (ja) * 2010-03-15 2011-09-29 Fujitsu Ltd ループ型ヒートパイプ、ウィック及び情報処理装置

Patent Citations (3)

* Cited by examiner, † Cited by third party
Publication number Priority date Publication date Assignee Title
JP2004263881A (ja) * 2003-01-23 2004-09-24 Showa Denko Kk 伝熱フィン、熱交換器、カーエアコン用エバポレータ及びコンデンサ
JP2007178015A (ja) * 2005-12-27 2007-07-12 Showa Denko Kk 熱交換器
JP2011190966A (ja) * 2010-03-12 2011-09-29 Denso Corp 熱交換器

Also Published As

Publication number Publication date
DE112014003247B4 (de) 2024-05-29
CN105452796B (zh) 2017-07-14
JP6011481B2 (ja) 2016-10-19
DE112014003247T5 (de) 2016-04-07
US20160153727A1 (en) 2016-06-02
JP2015017776A (ja) 2015-01-29
CN105452796A (zh) 2016-03-30
US9915481B2 (en) 2018-03-13

Similar Documents

Publication Publication Date Title
JP6011481B2 (ja) 熱交換器用フィン
CN102384674B (zh) 油冷却器
JP5803768B2 (ja) 熱交換器用フィンおよび熱交換器
US6213196B1 (en) Double heat exchanger for vehicle air conditioner
JP4674602B2 (ja) 熱交換器
EP2236972B1 (en) Fin for heat exchanger and heat exchanger using the fin
US9074820B2 (en) Heat exchanger
JP2006322698A (ja) 熱交換器
JP2015017776A5 (enExample)
JP2006078035A (ja) 熱交換装置
US7938172B2 (en) Heat exchanger
JP6160111B2 (ja) 熱交換器
JP7006376B2 (ja) 熱交換器
JP2007093023A (ja) 熱交換器
JP5772608B2 (ja) 熱交換器
JP5569410B2 (ja) 熱交換器用チューブ及び熱交換器
WO2019229180A1 (en) A core of a heat exchanger comprising corrugated fins
JP2007093024A (ja) 熱交換器
JP2005003350A (ja) 熱交換器用フィン、熱交換器、凝縮器及び蒸発器
JP2008082672A (ja) 熱交換器
JP2005061648A (ja) 熱交換器
JP5589860B2 (ja) 熱交換器
JP2005055013A (ja) 熱交換器
JP2019219139A (ja) 熱交換器用コルゲートフィン
JP7155538B2 (ja) 熱交換器

Legal Events

Date Code Title Description
WWE Wipo information: entry into national phase

Ref document number: 201480039787.0

Country of ref document: CN

121 Ep: the epo has been informed by wipo that ep was designated in this application

Ref document number: 14823865

Country of ref document: EP

Kind code of ref document: A1

WWE Wipo information: entry into national phase

Ref document number: 14903392

Country of ref document: US

WWE Wipo information: entry into national phase

Ref document number: 112014003247

Country of ref document: DE

122 Ep: pct application non-entry in european phase

Ref document number: 14823865

Country of ref document: EP

Kind code of ref document: A1