WO2015002029A1 - 熱電変換素子 - Google Patents

熱電変換素子 Download PDF

Info

Publication number
WO2015002029A1
WO2015002029A1 PCT/JP2014/066694 JP2014066694W WO2015002029A1 WO 2015002029 A1 WO2015002029 A1 WO 2015002029A1 JP 2014066694 W JP2014066694 W JP 2014066694W WO 2015002029 A1 WO2015002029 A1 WO 2015002029A1
Authority
WO
WIPO (PCT)
Prior art keywords
thermoelectric conversion
region
electrode
dopant
conversion element
Prior art date
Legal status (The legal status is an assumption and is not a legal conclusion. Google has not performed a legal analysis and makes no representation as to the accuracy of the status listed.)
Ceased
Application number
PCT/JP2014/066694
Other languages
English (en)
French (fr)
Japanese (ja)
Inventor
加納 丈嘉
Current Assignee (The listed assignees may be inaccurate. Google has not performed a legal analysis and makes no representation or warranty as to the accuracy of the list.)
Fujifilm Corp
Original Assignee
Fujifilm Corp
Priority date (The priority date is an assumption and is not a legal conclusion. Google has not performed a legal analysis and makes no representation as to the accuracy of the date listed.)
Filing date
Publication date
Application filed by Fujifilm Corp filed Critical Fujifilm Corp
Publication of WO2015002029A1 publication Critical patent/WO2015002029A1/ja
Anticipated expiration legal-status Critical
Ceased legal-status Critical Current

Links

Images

Classifications

    • HELECTRICITY
    • H10SEMICONDUCTOR DEVICES; ELECTRIC SOLID-STATE DEVICES NOT OTHERWISE PROVIDED FOR
    • H10NELECTRIC SOLID-STATE DEVICES NOT OTHERWISE PROVIDED FOR
    • H10N10/00Thermoelectric devices comprising a junction of dissimilar materials, i.e. devices exhibiting Seebeck or Peltier effects
    • H10N10/80Constructional details
    • H10N10/85Thermoelectric active materials
    • H10N10/856Thermoelectric active materials comprising organic compositions

Definitions

  • the dopant doping average in the first region which is a half region of the thermoelectric conversion layer on one electrode side is half the region of the thermoelectric conversion layer on the other electrode side. It is characterized by being larger than the average dopant doping rate in a certain second region. That is, the present invention is characterized in that the average density of the number of dopants in the first region, that is, the number density is larger than the average density of the dopants in the second region, and the amount of dopant in the first region is increased. More than the amount of dopant in the second region.
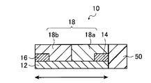
  • the thermoelectric conversion element 10 includes a first electrode 14 and a second electrode 16 that are laminated at spaced positions on the substrate 12, and further, the first electrode 14 and the second electrode 16.
  • a thermoelectric conversion layer 18 is laminated on the substrate 12 so as to cover the electrode 16.
  • the first electrode 14 and the second electrode 16 constitute an electrode pair.
  • the thermoelectric conversion layer 18 has two regions, the first region 18a and the second region 18b, having different doping rates, that is, dopant densities, in the direction from the first electrode 14 to the second electrode 16. Do it.
  • the first region 18a and the second region 18b are substantially the same size.
  • the first region 48a side which is the first electrode 44 side, which has a high dopant content
  • the second region 48b side which is the second electrode 46 side with a small amount
  • This increases the number of carriers on the high-temperature part side, increases the difference in the number of carriers with the low-temperature part side, and can increase the difference more than the difference in the number of carriers due to the temperature.
  • the thermoelectromotive force can be improved. Therefore, thermoelectric characteristics can be improved and conversion efficiency can be improved.
  • thermoelectric conversion layer which the thermoelectric conversion element of this invention has will not be specifically limited if a dopant is contained.
  • the thermoelectric conversion layer contains at least a thermoelectric conversion material and a dopant.
  • the thermoelectric conversion layer may contain a polymer material or an inorganic material.
  • the solvent is preferably degassed in advance.
  • the dissolved oxygen concentration in the solvent is preferably 10 ppm or less.
  • Examples of the degassing method include a method of irradiating ultrasonic waves under reduced pressure, a method of bubbling an inert gas such as argon, and the like.
  • the solvent is preferably dehydrated in advance.
  • the amount of water in the solvent is preferably 1000 ppm or less, and more preferably 100 ppm or less.
  • a dehydration method a known method such as a method using molecular sieve or distillation can be used.
  • the solvent may be used in an appropriate amount depending on the kind of the material, but is preferably 90 to 99.99% by mass, more preferably 95 to 99.95% by mass with respect to the total mass of the solution. 98 to 99.9% by mass is more preferable.
  • the film forming method is not particularly limited.
  • known coating methods such as spin coating, extrusion die coating, blade coating, bar coating, screen printing, stencil printing, roll coating, curtain coating, spray coating, dip coating, and inkjet method. Can be used.
  • coating a drying process is performed as needed.
  • the solvent can be volatilized and dried by blowing hot air.
  • the prepared chloroform solution of dispersion B is affixed with a Teflon (registered trademark) frame on the substrate on which the electrodes are formed, and the solution is poured into the frame and dried on a hot plate at 60 ° C. for 1 hour. After drying, the frame was removed, and a conductive film having a thickness of about 1.1 ⁇ m was formed. After that, half of the film formed using an ultraviolet irradiation machine (ECS-401GX manufactured by Eye Graphics Co., Ltd.) is irradiated with ultraviolet light at a light amount of 200 mJ / cm 2 , so that only the half region, ie, the first region is doped.
  • ECS-401GX ultraviolet irradiation machine

Landscapes

  • Compositions Of Macromolecular Compounds (AREA)
PCT/JP2014/066694 2013-07-02 2014-06-24 熱電変換素子 Ceased WO2015002029A1 (ja)

Applications Claiming Priority (2)

Application Number Priority Date Filing Date Title
JP2013-138831 2013-07-02
JP2013138831A JP2015012261A (ja) 2013-07-02 2013-07-02 熱電変換素子

Publications (1)

Publication Number Publication Date
WO2015002029A1 true WO2015002029A1 (ja) 2015-01-08

Family

ID=52143608

Family Applications (1)

Application Number Title Priority Date Filing Date
PCT/JP2014/066694 Ceased WO2015002029A1 (ja) 2013-07-02 2014-06-24 熱電変換素子

Country Status (2)

Country Link
JP (1) JP2015012261A (enExample)
WO (1) WO2015002029A1 (enExample)

Families Citing this family (4)

* Cited by examiner, † Cited by third party
Publication number Priority date Publication date Assignee Title
JP6704577B2 (ja) * 2015-02-23 2020-06-03 国立大学法人 奈良先端科学技術大学院大学 カーボンナノチューブ−ドーパント組成物複合体の製造方法およびカーボンナノチューブ−ドーパント組成物複合体
JP2021019032A (ja) * 2019-07-18 2021-02-15 株式会社テックスイージー 熱電素子及びその製造方法
JP2021111664A (ja) * 2020-01-08 2021-08-02 国立大学法人鳥取大学 熱電変換素子及びその製造方法並びに熱電変換デバイス
JP7713625B2 (ja) * 2021-02-26 2025-07-28 株式会社フューチャー・ブレイン 広報情報配信システムおよび端末装置

Citations (5)

* Cited by examiner, † Cited by third party
Publication number Priority date Publication date Assignee Title
US3564860A (en) * 1966-10-13 1971-02-23 Borg Warner Thermoelectric elements utilizing distributed peltier effect
WO2006043514A1 (ja) * 2004-10-18 2006-04-27 Meidensha Corporation ペルチェ素子又はゼーベック素子の構造及びその製造方法
WO2007097059A1 (ja) * 2006-02-22 2007-08-30 Murata Manufacturing Co., Ltd. 熱電変換モジュールおよびその製造方法
US20100193000A1 (en) * 2007-06-21 2010-08-05 Peter Prenninger Thermoelectric generator for converting thermal energy into electrical energy
WO2013065631A1 (ja) * 2011-10-31 2013-05-10 富士フイルム株式会社 熱電変換材料及び熱電変換素子

Family Cites Families (3)

* Cited by examiner, † Cited by third party
Publication number Priority date Publication date Assignee Title
JPH1074986A (ja) * 1996-06-27 1998-03-17 Natl Aerospace Lab 熱電変換素子、π型熱電変換素子対および熱電変換モジュールの各製造方法
JP2010278191A (ja) * 2009-05-28 2010-12-09 Konica Minolta Holdings Inc 熱電変換素子
CN103477397B (zh) * 2011-03-28 2016-07-06 富士胶片株式会社 导电性组合物、使用所述组合物的导电性膜及其制造方法

Patent Citations (5)

* Cited by examiner, † Cited by third party
Publication number Priority date Publication date Assignee Title
US3564860A (en) * 1966-10-13 1971-02-23 Borg Warner Thermoelectric elements utilizing distributed peltier effect
WO2006043514A1 (ja) * 2004-10-18 2006-04-27 Meidensha Corporation ペルチェ素子又はゼーベック素子の構造及びその製造方法
WO2007097059A1 (ja) * 2006-02-22 2007-08-30 Murata Manufacturing Co., Ltd. 熱電変換モジュールおよびその製造方法
US20100193000A1 (en) * 2007-06-21 2010-08-05 Peter Prenninger Thermoelectric generator for converting thermal energy into electrical energy
WO2013065631A1 (ja) * 2011-10-31 2013-05-10 富士フイルム株式会社 熱電変換材料及び熱電変換素子

Also Published As

Publication number Publication date
JP2015012261A (ja) 2015-01-19

Similar Documents

Publication Publication Date Title
Guan et al. Enhancement of the Seebeck coefficient of organic thermoelectric materials via energy filtering of charge carriers
Liang et al. Initiating a stretchable, compressible, and wearable thermoelectric generator by a spiral architecture with ternary nanocomposites for efficient heat harvesting
Sun et al. Review on application of PEDOTs and PEDOT: PSS in energy conversion and storage devices
Liu et al. Recent advances in polyaniline-based thermoelectric composites
CN104335371B (zh) 热电转换元件和使用其的热电转换材料
Hewitt et al. Multilayered carbon nanotube/polymer composite based thermoelectric fabrics
Zhang et al. Transparent, conductive, and flexible carbon nanotube films and their application in organic light-emitting diodes
Lee et al. Enhanced thermoelectric performance of bar-coated SWCNT/P3HT thin films
JP6205333B2 (ja) 熱電変換モジュール
JP6110818B2 (ja) 熱電変換材料、熱電変換素子ならびにこれを用いた熱電発電用物品およびセンサー用電源
Giri et al. In situ synthesis of cobalt doped polyaniline modified graphene composites for high performance supercapacitor electrode materials
Cho et al. Recent developments of the solution-processable and highly conductive polyaniline composites for optical and electrochemical applications
Seki et al. Freestanding bilayers of drop-cast single-walled carbon nanotubes and electropolymerized poly (3, 4-ethylenedioxythiophene) for thermoelectric energy harvesting
WO2017154823A1 (ja) 熱電変換素子、熱電変換素子の製造方法、熱電変換モジュール、および、熱電変換モジュールの製造方法
JP6771844B2 (ja) 熱電変換層、熱電変換層形成用組成物、熱電変換素子、熱電変換モジュール
Ube et al. Fabrication of well-isolated graphene and evaluation of thermoelectric performance of polyaniline–graphene composite film
Zhu et al. Recent progress of poly (3-hexylthiophene)-based materials for thermoelectric applications
WO2015002029A1 (ja) 熱電変換素子
Kausar Polymeric nanocomposites reinforced with nanowires: Opening doors to future applications
Mardi et al. Enhanced thermoelectric properties of poly (3-hexylthiophene) through the Incorporation of aligned carbon nanotube forest and chemical treatments
Karakoti et al. Tailoring the electrochemical performance of PEDOT: PSS via incorporation of spray dryer processed graphene oxide
Wang et al. Electrochemical polymerization of polyaniline/single-walled carbon nanotube bilayer films with enhanced thermoelectric properties
JPWO2018012370A1 (ja) n型半導体層、熱電変換層、熱電変換素子、熱電変換モジュール、及びn型半導体層形成用組成物
WO2014119468A1 (ja) 熱電変換材料、熱電変換素子並びにこれを用いた熱電発電用物品及びセンサー用電源
JP6535106B2 (ja) 熱電変換層、熱電変換素子および熱電変換層形成用組成物

Legal Events

Date Code Title Description
121 Ep: the epo has been informed by wipo that ep was designated in this application

Ref document number: 14820389

Country of ref document: EP

Kind code of ref document: A1

NENP Non-entry into the national phase

Ref country code: DE

122 Ep: pct application non-entry in european phase

Ref document number: 14820389

Country of ref document: EP

Kind code of ref document: A1