WO2014203534A1 - ヘッドアップディスプレイ装置、およびヘッドアップディスプレイ装置に用いられる照明装置 - Google Patents
ヘッドアップディスプレイ装置、およびヘッドアップディスプレイ装置に用いられる照明装置 Download PDFInfo
- Publication number
- WO2014203534A1 WO2014203534A1 PCT/JP2014/003285 JP2014003285W WO2014203534A1 WO 2014203534 A1 WO2014203534 A1 WO 2014203534A1 JP 2014003285 W JP2014003285 W JP 2014003285W WO 2014203534 A1 WO2014203534 A1 WO 2014203534A1
- Authority
- WO
- WIPO (PCT)
- Prior art keywords
- image
- light
- head
- display device
- display
- Prior art date
- Legal status (The legal status is an assumption and is not a legal conclusion. Google has not performed a legal analysis and makes no representation as to the accuracy of the status listed.)
- Ceased
Links
Images
Classifications
-
- G—PHYSICS
- G02—OPTICS
- G02B—OPTICAL ELEMENTS, SYSTEMS OR APPARATUS
- G02B27/00—Optical systems or apparatus not provided for by any of the groups G02B1/00 - G02B26/00, G02B30/00
- G02B27/01—Head-up displays
- G02B27/0101—Head-up displays characterised by optical features
-
- G—PHYSICS
- G02—OPTICS
- G02B—OPTICAL ELEMENTS, SYSTEMS OR APPARATUS
- G02B27/00—Optical systems or apparatus not provided for by any of the groups G02B1/00 - G02B26/00, G02B30/00
- G02B27/01—Head-up displays
-
- B—PERFORMING OPERATIONS; TRANSPORTING
- B60—VEHICLES IN GENERAL
- B60K—ARRANGEMENT OR MOUNTING OF PROPULSION UNITS OR OF TRANSMISSIONS IN VEHICLES; ARRANGEMENT OR MOUNTING OF PLURAL DIVERSE PRIME-MOVERS IN VEHICLES; AUXILIARY DRIVES FOR VEHICLES; INSTRUMENTATION OR DASHBOARDS FOR VEHICLES; ARRANGEMENTS IN CONNECTION WITH COOLING, AIR INTAKE, GAS EXHAUST OR FUEL SUPPLY OF PROPULSION UNITS IN VEHICLES
- B60K35/00—Instruments specially adapted for vehicles; Arrangement of instruments in or on vehicles
- B60K35/20—Output arrangements, i.e. from vehicle to user, associated with vehicle functions or specially adapted therefor
- B60K35/21—Output arrangements, i.e. from vehicle to user, associated with vehicle functions or specially adapted therefor using visual output, e.g. blinking lights or matrix displays
- B60K35/23—Head-up displays [HUD]
- B60K35/235—Head-up displays [HUD] with means for detecting the driver's gaze direction or eye points
-
- G—PHYSICS
- G02—OPTICS
- G02B—OPTICAL ELEMENTS, SYSTEMS OR APPARATUS
- G02B3/00—Simple or compound lenses
- G02B3/0006—Arrays
-
- G—PHYSICS
- G02—OPTICS
- G02B—OPTICAL ELEMENTS, SYSTEMS OR APPARATUS
- G02B5/00—Optical elements other than lenses
- G02B5/02—Diffusing elements; Afocal elements
-
- G—PHYSICS
- G02—OPTICS
- G02B—OPTICAL ELEMENTS, SYSTEMS OR APPARATUS
- G02B5/00—Optical elements other than lenses
- G02B5/08—Mirrors
- G02B5/10—Mirrors with curved faces
-
- G—PHYSICS
- G02—OPTICS
- G02B—OPTICAL ELEMENTS, SYSTEMS OR APPARATUS
- G02B6/00—Light guides; Structural details of arrangements comprising light guides and other optical elements, e.g. couplings
- G02B6/0001—Light guides; Structural details of arrangements comprising light guides and other optical elements, e.g. couplings specially adapted for lighting devices or systems
- G02B6/0096—Light guides; Structural details of arrangements comprising light guides and other optical elements, e.g. couplings specially adapted for lighting devices or systems the lights guides being of the hollow type
-
- G—PHYSICS
- G02—OPTICS
- G02B—OPTICAL ELEMENTS, SYSTEMS OR APPARATUS
- G02B27/00—Optical systems or apparatus not provided for by any of the groups G02B1/00 - G02B26/00, G02B30/00
- G02B27/01—Head-up displays
- G02B27/0101—Head-up displays characterised by optical features
- G02B2027/0118—Head-up displays characterised by optical features comprising devices for improving the contrast of the display / brillance control visibility
-
- G—PHYSICS
- G02—OPTICS
- G02B—OPTICAL ELEMENTS, SYSTEMS OR APPARATUS
- G02B27/00—Optical systems or apparatus not provided for by any of the groups G02B1/00 - G02B26/00, G02B30/00
- G02B27/01—Head-up displays
- G02B27/0101—Head-up displays characterised by optical features
- G02B2027/0123—Head-up displays characterised by optical features comprising devices increasing the field of view
Definitions
- concave mirror element a so-called concave mirror can be used, or a so-called combiner that is formed of a transparent material and reflects light projected from an oblique direction can be used.
- the head-up display device can display a high-luminance image. Therefore, sufficient luminance can be ensured even when an image to be displayed is enlarged.
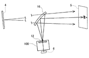
- FIG. 1A shows a state in which a head-up display device (hereinafter referred to as a HUD device) 10 of this embodiment is mounted on a vehicle 1.
- a head-up display device (hereinafter referred to as a HUD device) 10 according to the present embodiment is mounted in a dashboard 3 in front of the vehicle 1 when viewed from the driver's seat, and images toward the windshield 2. Project. Then, the image projected from the HUD device 10 is reflected by the windshield 2 and reaches the eyes of the driver. As a result, the driver recognizes the virtual image of the projected image as the display image 4 displayed on the other side of the windshield 2.
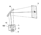
- the optical system of the HUD device 10 for enlarging the image displayed on the image display unit 12 to display a virtual image is hereinafter referred to as “HUD optical system”.
- the entrance pupil 6 of the HUD device 10 may be considered as a real image of the eye box 5 obtained by the concave mirror 16, the position where the entrance pupil 6 is formed is determined by the focal length of the concave mirror 16 and the concave mirror 16. It depends on the distance to the eyebox 5. This position is considerably behind the image display unit 12 as shown in FIG. Also, the size of the entrance pupil 6 is determined by the focal length of the concave mirror 16, the distance from the concave mirror 16 to the eye box 5, and the size of the eye box 5.
- the illumination efficiency is increased, and an image can be displayed with sufficient brightness without increasing the luminance of the light source.
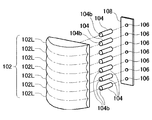
- the small lenses 102L constituting the lens array 102 have a small aperture, the focal length can be shortened. Moreover, a sufficient aperture can be realized for the entire lens array 102. For this reason, it becomes possible to implement
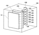
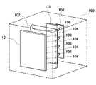
- the lighting device 100 can be further downsized for the following reasons. That is, as illustrated in FIG. 7A, the focal length of the lens array 102 can be further shortened by reducing the small lens 102L forming the lens array 102, and therefore the light pipe 104 is arranged close to the lens array 102. can do.
Landscapes
- Physics & Mathematics (AREA)
- General Physics & Mathematics (AREA)
- Optics & Photonics (AREA)
- Engineering & Computer Science (AREA)
- Chemical & Material Sciences (AREA)
- Combustion & Propulsion (AREA)
- Transportation (AREA)
- Mechanical Engineering (AREA)
- Instrument Panels (AREA)
Priority Applications (4)
| Application Number | Priority Date | Filing Date | Title |
|---|---|---|---|
| CN201480035130.7A CN105359030A (zh) | 2013-06-20 | 2014-06-19 | 平视显示装置以及用于平视显示装置的照明装置 |
| US14/899,492 US9835858B2 (en) | 2013-06-20 | 2014-06-19 | Head-up display device and illuminating device for head-up display device |
| DE112014002900.9T DE112014002900T5 (de) | 2013-06-20 | 2014-06-19 | Head-up-Anzeigevorrichtung und Beleuchtungsvorrichtung für eine Head-up-Anzeigevorrichtung |
| KR1020157035616A KR101766573B1 (ko) | 2013-06-20 | 2014-06-19 | 헤드업 디스플레이 장치 및 헤드업 디스플레이 장치에 사용되는 조명 장치 |
Applications Claiming Priority (2)
| Application Number | Priority Date | Filing Date | Title |
|---|---|---|---|
| JP2013130061A JP5974987B2 (ja) | 2013-06-20 | 2013-06-20 | ヘッドアップディスプレイ装置、およびヘッドアップディスプレイ装置に用いられる照明装置 |
| JP2013-130061 | 2013-06-20 |
Publications (1)
| Publication Number | Publication Date |
|---|---|
| WO2014203534A1 true WO2014203534A1 (ja) | 2014-12-24 |
Family
ID=52104285
Family Applications (1)
| Application Number | Title | Priority Date | Filing Date |
|---|---|---|---|
| PCT/JP2014/003285 Ceased WO2014203534A1 (ja) | 2013-06-20 | 2014-06-19 | ヘッドアップディスプレイ装置、およびヘッドアップディスプレイ装置に用いられる照明装置 |
Country Status (6)
| Country | Link |
|---|---|
| US (1) | US9835858B2 (enExample) |
| JP (1) | JP5974987B2 (enExample) |
| KR (1) | KR101766573B1 (enExample) |
| CN (1) | CN105359030A (enExample) |
| DE (1) | DE112014002900T5 (enExample) |
| WO (1) | WO2014203534A1 (enExample) |
Cited By (14)
| Publication number | Priority date | Publication date | Assignee | Title |
|---|---|---|---|---|
| CN104866106A (zh) * | 2015-06-03 | 2015-08-26 | 深圳市光晕网络科技有限公司 | 一种结合hud与红外识别的人机交互方法和系统 |
| CN104875680A (zh) * | 2015-06-03 | 2015-09-02 | 深圳市光晕网络科技有限公司 | 一种结合语音和视频识别的hud显示装置 |
| WO2017041212A1 (zh) * | 2015-09-07 | 2017-03-16 | 中国航空工业集团公司洛阳电光设备研究所 | 准直显示装置、车载或机载平视显示装置 |
| WO2017072841A1 (ja) * | 2015-10-27 | 2017-05-04 | 日立マクセル株式会社 | 情報表示装置 |
| CN108474954A (zh) * | 2016-01-19 | 2018-08-31 | 日本精机株式会社 | 平视显示装置与透镜单元 |
| CN108700749A (zh) * | 2016-02-23 | 2018-10-23 | 株式会社电装 | 平视显示装置 |
| WO2019138627A1 (ja) * | 2018-01-12 | 2019-07-18 | 株式会社Jvcケンウッド | 虚像表示装置 |
| WO2019138625A1 (ja) * | 2018-01-12 | 2019-07-18 | 株式会社Jvcケンウッド | 虚像表示装置 |
| WO2019138628A1 (ja) * | 2018-01-12 | 2019-07-18 | 株式会社Jvcケンウッド | 虚像表示装置 |
| WO2019138629A1 (ja) * | 2018-01-12 | 2019-07-18 | 株式会社Jvcケンウッド | 虚像表示装置 |
| JP2019124729A (ja) * | 2018-01-12 | 2019-07-25 | 株式会社Jvcケンウッド | 虚像表示装置 |
| JP2019211718A (ja) * | 2018-06-08 | 2019-12-12 | 株式会社Jvcケンウッド | 虚像表示装置 |
| CN112154077A (zh) * | 2018-05-24 | 2020-12-29 | 三菱电机株式会社 | 车辆用显示控制装置和车辆用显示控制方法 |
| WO2021010227A1 (ja) * | 2019-07-18 | 2021-01-21 | 株式会社デンソー | ウィンドシールド表示装置 |
Families Citing this family (24)
| Publication number | Priority date | Publication date | Assignee | Title |
|---|---|---|---|---|
| JP6369148B2 (ja) | 2014-06-09 | 2018-08-08 | 株式会社デンソー | ヘッドアップディスプレイ装置及びその照明ユニット |
| JP6287605B2 (ja) | 2014-06-09 | 2018-03-07 | 株式会社デンソー | ヘッドアップディスプレイ装置及びその照明ユニット |
| KR102424949B1 (ko) * | 2015-04-24 | 2022-07-25 | 엘지이노텍 주식회사 | 헤드 업 디스플레이 장치 |
| KR102362729B1 (ko) * | 2015-04-24 | 2022-02-15 | 엘지이노텍 주식회사 | 헤드업 디스플레이 장치 |
| JP6354667B2 (ja) | 2015-06-05 | 2018-07-11 | 株式会社デンソー | ヘッドアップディスプレイ装置 |
| JP6459921B2 (ja) | 2015-11-19 | 2019-01-30 | 株式会社デンソー | ヘッドアップディスプレイ装置 |
| JP6319354B2 (ja) * | 2016-02-23 | 2018-05-09 | 株式会社デンソー | ヘッドアップディスプレイ装置 |
| CN114002844A (zh) | 2016-02-26 | 2022-02-01 | 奇跃公司 | 具有用于多个光发射器的多个光管的显示系统 |
| JP6579126B2 (ja) | 2016-05-25 | 2019-09-25 | 株式会社デンソー | ヘッドアップディスプレイ装置及び画像投射ユニット |
| DE102016109951A1 (de) * | 2016-05-31 | 2017-11-30 | Valeo Schalter Und Sensoren Gmbh | Lichterzeugungsvorrichtung für eine Kopf-oben-Anzeige eines Kraftfahrzeugs |
| CN107843985A (zh) * | 2017-11-27 | 2018-03-27 | 上海驾馥电子科技有限公司 | 增强现实抬头显示器系统及方法 |
| JP7233008B2 (ja) | 2017-12-11 | 2023-03-06 | パナソニックIpマネジメント株式会社 | ヘッドアップディスプレイおよびヘッドアップディスプレイを搭載した移動体 |
| JP7233009B2 (ja) * | 2017-12-11 | 2023-03-06 | パナソニックIpマネジメント株式会社 | ヘッドアップディスプレイおよびヘッドアップディスプレイを搭載した移動体 |
| CN109991737B (zh) * | 2017-12-29 | 2024-06-14 | 深圳点石创新科技有限公司 | 光学投影系统 |
| CN110275295B (zh) * | 2018-03-14 | 2022-09-16 | 蒋晶 | 衍射显示系统 |
| CN108501722B (zh) | 2018-03-30 | 2020-06-02 | 京东方科技集团股份有限公司 | 一种车载显示系统 |
| CN110543016B (zh) * | 2018-05-31 | 2025-05-06 | 合肥疆程技术有限公司 | 一种基于激光光源的抬头显示器 |
| JP6734340B2 (ja) * | 2018-10-01 | 2020-08-05 | 本田技研工業株式会社 | 表示装置、表示制御方法、およびプログラム |
| JP7250582B2 (ja) * | 2019-03-26 | 2023-04-03 | 京セラ株式会社 | 画像表示モジュール、移動体、及び光学系 |
| DE102019130751A1 (de) * | 2019-11-14 | 2021-05-20 | Carl Zeiss Microscopy Gmbh | Beleuchtungsmodul für winkelvariable Beleuchtung |
| KR20210064684A (ko) * | 2019-11-26 | 2021-06-03 | 삼성전자주식회사 | Hud용 광 차단 필름 및 차량용 hud 시스템 |
| JP7277785B2 (ja) * | 2020-04-10 | 2023-05-19 | 日亜化学工業株式会社 | 発光装置 |
| KR102578802B1 (ko) * | 2021-04-07 | 2023-09-15 | 한국과학기술원 | 렌즈 어레이 광학 시트 및 이를 포함하는 광학 장치 |
| TWI888873B (zh) * | 2023-07-20 | 2025-07-01 | 怡利電子工業股份有限公司 | 具有錐形光杯陣列的背光顯示裝置 |
Citations (5)
| Publication number | Priority date | Publication date | Assignee | Title |
|---|---|---|---|---|
| JP2004126025A (ja) * | 2002-09-30 | 2004-04-22 | Nippon Seiki Co Ltd | 表示装置 |
| JP2005070255A (ja) * | 2003-08-22 | 2005-03-17 | Denso Corp | 虚像表示装置 |
| JP2006019027A (ja) * | 2004-06-30 | 2006-01-19 | Nippon Seiki Co Ltd | 照明装置 |
| JP2012203176A (ja) * | 2011-03-25 | 2012-10-22 | Nippon Seiki Co Ltd | ヘッドアップディスプレイ装置 |
| JP2014029430A (ja) * | 2012-07-31 | 2014-02-13 | Jvc Kenwood Corp | 画像表示装置 |
Family Cites Families (13)
| Publication number | Priority date | Publication date | Assignee | Title |
|---|---|---|---|---|
| US6534152B2 (en) * | 1989-09-28 | 2003-03-18 | Ppg Industries Ohio, Inc. | Windshield for head-up display system |
| JP2002031845A (ja) * | 2000-07-19 | 2002-01-31 | Seiko Epson Corp | プロジェクタ |
| US7128431B2 (en) | 2001-10-10 | 2006-10-31 | Siemens Aktiengesellschaft | Display device |
| JP3991764B2 (ja) * | 2002-05-10 | 2007-10-17 | セイコーエプソン株式会社 | 照明装置および投射型表示装置 |
| US7616638B2 (en) | 2003-07-29 | 2009-11-10 | Orbital Data Corporation | Wavefront detection and disambiguation of acknowledgments |
| JP2005141202A (ja) * | 2003-11-03 | 2005-06-02 | Arisawa Mfg Co Ltd | 透過型スクリーン |
| JP2007058163A (ja) * | 2005-07-27 | 2007-03-08 | Ricoh Co Ltd | 光源装置、光変調装置、表示装置、集光照明装置、及び投射型カラー表示装置 |
| WO2007115432A1 (fr) * | 2006-04-10 | 2007-10-18 | Renyong Ma | Dispositif collecteur de lumière de diodes optiques |
| US7764254B2 (en) | 2007-08-29 | 2010-07-27 | Epson Imaging Devices Corporation | Electro-optical device and electronic apparatus |
| JP4539760B2 (ja) | 2007-08-29 | 2010-09-08 | エプソンイメージングデバイス株式会社 | 電子機器 |
| JP5126051B2 (ja) | 2008-12-25 | 2013-01-23 | 株式会社デンソー | 照明装置 |
| KR101780420B1 (ko) * | 2011-03-24 | 2017-09-22 | 삼성디스플레이 주식회사 | 백라이트 유닛 및 이를 구비하는 입체 영상 표시 장치 |
| JP5941292B2 (ja) | 2012-02-10 | 2016-06-29 | 矢崎総業株式会社 | 車両用表示装置 |
-
2013
- 2013-06-20 JP JP2013130061A patent/JP5974987B2/ja active Active
-
2014
- 2014-06-19 DE DE112014002900.9T patent/DE112014002900T5/de not_active Ceased
- 2014-06-19 WO PCT/JP2014/003285 patent/WO2014203534A1/ja not_active Ceased
- 2014-06-19 US US14/899,492 patent/US9835858B2/en active Active
- 2014-06-19 CN CN201480035130.7A patent/CN105359030A/zh active Pending
- 2014-06-19 KR KR1020157035616A patent/KR101766573B1/ko not_active Expired - Fee Related
Patent Citations (5)
| Publication number | Priority date | Publication date | Assignee | Title |
|---|---|---|---|---|
| JP2004126025A (ja) * | 2002-09-30 | 2004-04-22 | Nippon Seiki Co Ltd | 表示装置 |
| JP2005070255A (ja) * | 2003-08-22 | 2005-03-17 | Denso Corp | 虚像表示装置 |
| JP2006019027A (ja) * | 2004-06-30 | 2006-01-19 | Nippon Seiki Co Ltd | 照明装置 |
| JP2012203176A (ja) * | 2011-03-25 | 2012-10-22 | Nippon Seiki Co Ltd | ヘッドアップディスプレイ装置 |
| JP2014029430A (ja) * | 2012-07-31 | 2014-02-13 | Jvc Kenwood Corp | 画像表示装置 |
Cited By (25)
| Publication number | Priority date | Publication date | Assignee | Title |
|---|---|---|---|---|
| CN104866106A (zh) * | 2015-06-03 | 2015-08-26 | 深圳市光晕网络科技有限公司 | 一种结合hud与红外识别的人机交互方法和系统 |
| CN104875680A (zh) * | 2015-06-03 | 2015-09-02 | 深圳市光晕网络科技有限公司 | 一种结合语音和视频识别的hud显示装置 |
| WO2017041212A1 (zh) * | 2015-09-07 | 2017-03-16 | 中国航空工业集团公司洛阳电光设备研究所 | 准直显示装置、车载或机载平视显示装置 |
| WO2017072841A1 (ja) * | 2015-10-27 | 2017-05-04 | 日立マクセル株式会社 | 情報表示装置 |
| JPWO2017072841A1 (ja) * | 2015-10-27 | 2018-08-30 | マクセル株式会社 | 情報表示装置 |
| US10942353B2 (en) | 2015-10-27 | 2021-03-09 | Maxell, Ltd. | Information display device |
| US10670864B2 (en) | 2015-10-27 | 2020-06-02 | Maxell, Ltd. | Information display device |
| CN108474954A (zh) * | 2016-01-19 | 2018-08-31 | 日本精机株式会社 | 平视显示装置与透镜单元 |
| CN108474954B (zh) * | 2016-01-19 | 2021-08-03 | 日本精机株式会社 | 平视显示装置与透镜单元 |
| CN108700749A (zh) * | 2016-02-23 | 2018-10-23 | 株式会社电装 | 平视显示装置 |
| DE112017000946B4 (de) | 2016-02-23 | 2023-03-30 | Denso Corporation | Head-up-anzeigevorrichtung |
| US10920958B2 (en) | 2016-02-23 | 2021-02-16 | Denso Corporation | Head-up display device |
| JP2019124729A (ja) * | 2018-01-12 | 2019-07-25 | 株式会社Jvcケンウッド | 虚像表示装置 |
| JP2019124730A (ja) * | 2018-01-12 | 2019-07-25 | 株式会社Jvcケンウッド | 虚像表示装置 |
| JP2019124731A (ja) * | 2018-01-12 | 2019-07-25 | 株式会社Jvcケンウッド | 虚像表示装置 |
| JP2019124727A (ja) * | 2018-01-12 | 2019-07-25 | 株式会社Jvcケンウッド | 虚像表示装置 |
| WO2019138629A1 (ja) * | 2018-01-12 | 2019-07-18 | 株式会社Jvcケンウッド | 虚像表示装置 |
| WO2019138628A1 (ja) * | 2018-01-12 | 2019-07-18 | 株式会社Jvcケンウッド | 虚像表示装置 |
| WO2019138625A1 (ja) * | 2018-01-12 | 2019-07-18 | 株式会社Jvcケンウッド | 虚像表示装置 |
| WO2019138627A1 (ja) * | 2018-01-12 | 2019-07-18 | 株式会社Jvcケンウッド | 虚像表示装置 |
| CN112154077A (zh) * | 2018-05-24 | 2020-12-29 | 三菱电机株式会社 | 车辆用显示控制装置和车辆用显示控制方法 |
| JP2019211718A (ja) * | 2018-06-08 | 2019-12-12 | 株式会社Jvcケンウッド | 虚像表示装置 |
| WO2021010227A1 (ja) * | 2019-07-18 | 2021-01-21 | 株式会社デンソー | ウィンドシールド表示装置 |
| JP2021018295A (ja) * | 2019-07-18 | 2021-02-15 | 株式会社デンソー | ウィンドシールド表示装置 |
| JP7059986B2 (ja) | 2019-07-18 | 2022-04-26 | 株式会社デンソー | ウィンドシールド表示装置 |
Also Published As
| Publication number | Publication date |
|---|---|
| US9835858B2 (en) | 2017-12-05 |
| KR101766573B1 (ko) | 2017-08-08 |
| US20160147061A1 (en) | 2016-05-26 |
| JP5974987B2 (ja) | 2016-08-23 |
| JP2015004825A (ja) | 2015-01-08 |
| KR20160010558A (ko) | 2016-01-27 |
| CN105359030A (zh) | 2016-02-24 |
| DE112014002900T5 (de) | 2016-03-10 |
Similar Documents
| Publication | Publication Date | Title |
|---|---|---|
| JP5974987B2 (ja) | ヘッドアップディスプレイ装置、およびヘッドアップディスプレイ装置に用いられる照明装置 | |
| US7599012B2 (en) | Luminous display device | |
| EP3447561B1 (en) | Head-up display device | |
| CN106796352B (zh) | 平视显示装置 | |
| CN106716228B (zh) | 平视显示装置 | |
| JP2015004825A5 (enExample) | ||
| CN106932900B (zh) | 导光体、虚像光学系统以及虚像显示装置 | |
| US20170115553A1 (en) | Scanning projector transmissive screen, and scanning projector system | |
| TW201243455A (en) | Planar light source device and liquid crystal display device | |
| JP2007505354A (ja) | 角度の選択的な拡散体を備えた表示デバイス | |
| WO2014119407A1 (ja) | ヘッドアップディスプレイ装置 | |
| KR20040049146A (ko) | 머리장착형 표시장치 | |
| JP6579180B2 (ja) | 虚像表示装置 | |
| WO2017169375A1 (ja) | ヘッドアップディスプレイ装置 | |
| US7549775B2 (en) | Light source apparatus and image display apparatus having same | |
| JP4797531B2 (ja) | 映像表示装置 | |
| US10527923B2 (en) | Scanning projector transmissive screen, and scanning projector system | |
| JP2009063914A (ja) | 表示装置 | |
| US6873470B2 (en) | Arrangement for the visualization of information in a motor vehicle | |
| JP7667846B2 (ja) | テーパ状の反射カップアレイを備えたバックライト付きディスプレイデバイス | |
| JP2020077001A (ja) | 光学素子およびプロジェクタ | |
| JP3747765B2 (ja) | ディスプレイ装置 | |
| JP6658797B2 (ja) | ヘッドアップディスプレイ用光学素子 | |
| WO2020049724A1 (ja) | 表示装置 | |
| WO2019093496A1 (ja) | 虚像投影光学系及び表示装置 |
Legal Events
| Date | Code | Title | Description |
|---|---|---|---|
| WWE | Wipo information: entry into national phase |
Ref document number: 201480035130.7 Country of ref document: CN |
|
| 121 | Ep: the epo has been informed by wipo that ep was designated in this application |
Ref document number: 14813237 Country of ref document: EP Kind code of ref document: A1 |
|
| ENP | Entry into the national phase |
Ref document number: 20157035616 Country of ref document: KR Kind code of ref document: A |
|
| WWE | Wipo information: entry into national phase |
Ref document number: 14899492 Country of ref document: US |
|
| WWE | Wipo information: entry into national phase |
Ref document number: 112014002900 Country of ref document: DE |
|
| 122 | Ep: pct application non-entry in european phase |
Ref document number: 14813237 Country of ref document: EP Kind code of ref document: A1 |