WO2014068885A1 - 鉄道車両 - Google Patents
鉄道車両 Download PDFInfo
- Publication number
- WO2014068885A1 WO2014068885A1 PCT/JP2013/006173 JP2013006173W WO2014068885A1 WO 2014068885 A1 WO2014068885 A1 WO 2014068885A1 JP 2013006173 W JP2013006173 W JP 2013006173W WO 2014068885 A1 WO2014068885 A1 WO 2014068885A1
- Authority
- WO
- WIPO (PCT)
- Prior art keywords
- vehicle
- end beam
- longitudinal direction
- sliding
- width direction
- Prior art date
- Legal status (The legal status is an assumption and is not a legal conclusion. Google has not performed a legal analysis and makes no representation as to the accuracy of the status listed.)
- Ceased
Links
Images
Classifications
-
- B—PERFORMING OPERATIONS; TRANSPORTING
- B61—RAILWAYS
- B61F—RAIL VEHICLE SUSPENSIONS, e.g. UNDERFRAMES, BOGIES OR ARRANGEMENTS OF WHEEL AXLES; RAIL VEHICLES FOR USE ON TRACKS OF DIFFERENT WIDTH; PREVENTING DERAILING OF RAIL VEHICLES; WHEEL GUARDS, OBSTRUCTION REMOVERS OR THE LIKE FOR RAIL VEHICLES
- B61F1/00—Underframes
- B61F1/08—Details
-
- B—PERFORMING OPERATIONS; TRANSPORTING
- B61—RAILWAYS
- B61D—BODY DETAILS OR KINDS OF RAILWAY VEHICLES
- B61D15/00—Other railway vehicles, e.g. scaffold cars; Adaptations of vehicles for use on railways
- B61D15/06—Buffer cars; Arrangements or construction of railway vehicles for protecting them in case of collisions
-
- B—PERFORMING OPERATIONS; TRANSPORTING
- B61—RAILWAYS
- B61F—RAIL VEHICLE SUSPENSIONS, e.g. UNDERFRAMES, BOGIES OR ARRANGEMENTS OF WHEEL AXLES; RAIL VEHICLES FOR USE ON TRACKS OF DIFFERENT WIDTH; PREVENTING DERAILING OF RAIL VEHICLES; WHEEL GUARDS, OBSTRUCTION REMOVERS OR THE LIKE FOR RAIL VEHICLES
- B61F1/00—Underframes
- B61F1/08—Details
- B61F1/10—End constructions
Definitions
- the present invention relates to a railway vehicle equipped with a vehicle body that can protect a guest room from impact.
- Patent Document 1 proposes a railway vehicle having a vehicle body structure that can protect a passenger room when a large external force is applied to the wife structure.
- an end beam is provided at an end of the vehicle body frame via a crushable zone, and a wife structure is joined to the end beam.
- the crushable zone there is a slide center beam protruding from the center of the end beam toward the pillow beam to which the carriage is attached.
- the slide center beam is guided to the guide center beam provided on the pillow beam side. In this state, it is joined to the guide beam by a fuse member.
- One end of the shock absorbing member is attached to the end face of the pillow beam (and the guide middle beam), and the other end of the shock absorbing member is directed to the slide middle beam (and the end beam).
- a beam extending in the vehicle width direction connected to the tip of the side beam of the underframe is divided at the center in the vehicle width direction, and the middle slide beam passes through the divided portion.
- An impact absorbing member is disposed between the pillow beam and the slide middle beam. If it does so, at the time of impact absorption, since a slide middle beam will operate
- an object of the present invention is to improve the performance of protecting the vehicle cabin.
- a vehicle body of a railway vehicle includes a frame and an energy absorber provided on the frame, and the frame is arranged in a vehicle width direction at an end of the frame in the longitudinal direction of the vehicle body. Sliding connecting the first end beam, the second end beam extending in the vehicle width direction inward of the longitudinal direction of the vehicle body than the first end beam, and the first end beam and the second end beam A first beam member connected to the first end beam side, a second beam member connected to the second end beam side, and the first beam member. A coupling member that couples the first beam member to the second beam member, the coupling member breaking when an impact load exceeding a predetermined load is applied.
- the energy absorber absorbs energy from an impact load transmitted from the first end beam to the second end beam.
- the energy absorber is disposed in a region between said first end beam and said second end beam.
- the sliding middle beam connecting the first end beam and the second end beam has the first beam member connected to the first end beam side and the second beam connected to the second end beam side.
- the sliding middle beam and the energy absorber are arranged in a region between the first end beam and the second end beam. Then, at the time of impact absorption, even if the first beam member slides with respect to the second beam member and the energy absorber is destroyed, the sliding middle beam and the energy absorber are in the region of the first end beam and the second end beam. Therefore, the deformation does not easily reach the guest room.
- an entrance / exit, a toilet, and various devices are installed in the region between the first end beam and the second end beam, the influence on the guest room due to the impact can be reduced. Therefore, it is possible to improve the performance of protecting the passenger compartment of the vehicle body.
- the performance of protecting the passenger compartment of the vehicle body can be improved.
- FIG. 1 is a side view showing a railway vehicle according to a first embodiment. It is a front view which shows the vehicle body of the rail vehicle of FIG. It is a top view which shows the stand frame and energy absorber of the vehicle body of the rail vehicle of FIG.
- FIG. 4 is a sectional view taken along line IV-IV in FIG. 3.
- FIG. 5 is a sectional view taken along line VV in FIG. 3.
- FIG. 6 is a sectional view taken along line VI-VI in FIG. 4. It is sectional drawing of the energy absorber shown in FIG. It is drawing equivalent to FIG. 3 of the rail vehicle which concerns on 2nd Embodiment. It is the IX-IX sectional view taken on the line of FIG.
- FIG. 1 is a side view showing a railway vehicle 1 according to the first embodiment.
- FIG. 2 is a front view showing the vehicle body 2 of the railway vehicle 1 of FIG.
- the railway vehicle 1 according to the first embodiment includes a vehicle body 2 having a cabin on which passengers board, and a carriage 3 provided with wheels 3 a and supporting the vehicle body 2 via pillow springs 4.
- the vehicle body 2 includes a frame 6 serving as a vehicle body bottom, a side structure 7 having a window opening 7a and a door opening 7b and having a lower end connected to a side of the frame 6 in the vehicle width direction, 6, and a roof structure 9 connected to the side structure 7 and the upper end of the wife structure 8.
- the door opening 7b is located outward in the vehicle longitudinal direction from the carriage 3 in the side structure 7.
- a passenger seat 10 is disposed inward of the vehicle longitudinal direction from the door opening 7b.
- a connector 5 for connecting adjacent vehicles is provided at an end of the frame 6 in the longitudinal direction of the vehicle, and the coupler 5 is directed outward in the longitudinal direction of the vehicle from the wife structure 8. Protruding.
- the end structure 8 includes a pair of corner pillars 11 extending in the vertical direction at both ends in the vehicle width direction, and the first end beam 22 to the roof structure 9 inward of the corner pillar 11 in the vehicle width direction. And a reinforcing beam 13 that connects the corner post 11 and the end post 12 in the vehicle width direction.
- FIG. 3 is a plan view showing the frame 6 and the energy absorber 31 of the vehicle body 2 of the railway vehicle 1 of FIG. 4 is a cross-sectional view taken along line IV-IV in FIG. 5 is a cross-sectional view taken along line VV in FIG. 6 is a cross-sectional view taken along line VI-VI in FIG.
- FIG. 7 is a cross-sectional view of the energy absorber 31 shown in FIG.
- the frame 6 is formed symmetrically in the vehicle width direction.
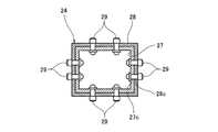
- the underframe 6 includes a pair of side beams 21 extending in the vehicle longitudinal direction on both sides in the vehicle width direction, a first end beam 22 extending in the vehicle width direction at an end of the frame 6 in the vehicle longitudinal direction, A second end beam 23 extending in the vehicle width direction inward of the longitudinal direction of the vehicle with respect to the end beam 22, and a pair of left and right sliding middle beams 24 connecting the first end beam 22 and the second end beam 23;
- a pair of side beams 21 extending in the vehicle longitudinal direction on both sides in the vehicle width direction
- a first end beam 22 extending in the vehicle width direction at an end of the frame 6 in the vehicle longitudinal direction
- a second end beam 23 extending in the vehicle width direction inward of the longitudinal direction of the vehicle with respect to the end beam 22, and a pair of left and right sliding middle beams 24 connecting the first end beam 22 and the second end beam 23;
- the first end beams 22 are disposed away from the longitudinal ends of the pair of side beams 21 outward in the vehicle longitudinal direction.
- the first end beam 22 has a pair of first cutout portions 22 a for fixing the corner post 11 and a pair of second cutout portions 22 b for fixing the end post 12.
- the first notches 22a are formed at both ends in the vehicle width direction of the first end beam 22, and open toward the outside in the vehicle longitudinal direction and the outside in the vehicle width direction.
- the second cutout portion 22b is formed inward in the vehicle width direction than the first cutout portion 22a, and opens toward the outside in the vehicle longitudinal direction.
- the lower end part of the corner pillar 11 and the end pillar 12 is each fitted by the 1st notch part 22a and the 2nd notch part 22b, and it connects by welding etc.
- the second end beams 23 connect the end portions in the longitudinal direction of the pair of side beams 21 in the vehicle width direction, and extend linearly continuously from one side beam 21 to the other side beam 21. Yes.
- the 2nd end beam 23 is arrange
- the distance L1 from the vehicle longitudinal direction outer end surface of the first end beam 22 to the vehicle longitudinal direction outer end surface of the second end beam 23 is the pillow beam 25 from the vehicle longitudinal direction outer end surface of the second end beam 23. Shorter than the distance L2 to the outer end surface of the vehicle longitudinal direction.
- a passenger seat is not disposed in a space immediately above the region between the first end beam 22 and the second end beam 23. (See FIG. 1) is arranged only in the space in the vehicle longitudinal direction from the second end beam 23.
- the sliding middle beam 24 is fixed to the first end beam 22 by welding or the like, and is fixed to the first beam member 27 whose length in the longitudinal direction of the vehicle is La and the second end beam 23 by welding or the like.
- a second beam member 28 having a length Lb, and a coupling member 29 for coupling the first beam member 27 to the second beam member 28.
- the first beam member 27 and the second beam member 28 have a rectangular tube shape (see FIG. 6).
- the mutually opposing ends 27a, 28a of the first beam member 27 and the second beam member 28 are fitted together.
- a plurality of holes 27c, 28c see FIG.
- the coupling member 29 is set to have a strength to be broken by the impact load when an impact load exceeding a predetermined load is applied to the first end beam 22 inward in the longitudinal direction of the vehicle.
- the outer end 27b of the first beam member 27 in the longitudinal direction of the vehicle is fixed to the first end beam 22 by welding or the like. At least one surface of the side wall of the end portion 27b fixed to the first end beam 22 of the first beam member 27 is substantially flush with the surface of the end post 12 extending in the vehicle longitudinal direction. That is, the sliding middle beam 24 is directly subjected to an impact load from the front (right side in FIG. 3) acting on the end post 12. An end 28b of the second beam member 28 in the vehicle longitudinal direction is fixed to the second end beam 23 by welding or the like.
- the side wall 28d on the inner side in the vehicle width direction of the end portion 28b of the second beam member 28 is inclined obliquely inward in the vehicle width direction so that the width of the second beam member 28 increases toward the second end beam 23. Yes.
- the side wall 28e on the outer side in the vehicle width direction of the end portion 28b of the second beam member 28 is formed linearly along the vehicle longitudinal direction.
- the energy absorber 31 includes a first pipe 32 whose end 32a on the vehicle longitudinal direction outer side is fixed to the first end beam 22 by welding or the like, and an inner end 33a on the vehicle longitudinal direction for the second end beam. And a second pipe 33 fixed to 23 by welding or the like.
- the first pipe 32 and the second pipe 33 are cylindrical pipes whose axial direction coincides with the longitudinal direction of the vehicle, and the lengths in the longitudinal direction are Lc.
- the first pipe 32 includes a main body 32d having a constant diameter, an end facing the second pipe 33, a large diameter 32b having a diameter larger than the main body 32d and having a constant diameter, and a main body 32d. And a stepped portion 32c that continues to the large diameter portion 32b. That is, the large-diameter portion 32 b is an end portion where the diameter of the first pipe 32 is increased.
- the second pipe 33 has the same diameter as the main body portion 32 d of the first pipe 32, and an end portion 33 b of the second pipe 33 facing the first pipe 32 is fitted into the large diameter portion 32 b of the first pipe 32. (See FIG. 7).
- a gap G ⁇ b> 1 is formed between the end 33 b of the second pipe 33 and the stepped portion 32 c of the first pipe 32.
- the distance L3 in the vehicle longitudinal direction of the gap G1 is based on the outer diameter (size in the vehicle longitudinal direction) of the portion of the coupling member 29 inserted into the holes 27c, 28c of the first beam member 27 and the second beam member 28. Is also set larger.
- the underframe 6 has a pillow beam 25 to which the carriage 3 is attached via the pillow spring 4, and a pair of left and right non-sliding middle beams 26 that connect the second end beam 23 to the pillow beam 25 so as not to slide. is doing.
- the pair of non-sliding intermediate beams 26 are arranged obliquely with respect to the longitudinal direction of the vehicle in plan view, and the interval in the vehicle width direction extends from the second end beam 23 toward the pillow beam 25.
- the pillow beam 25 has an attachment portion 25a provided on both ends of the vehicle width direction and attached on the pillow spring 4, and a connection portion 25b extending in the vehicle width direction so as to connect the attachment portions 25a. .
- the mounting portion 25a is formed to have a larger width in the vehicle width direction than the connecting portion 25b.
- the side surface 25c of the mounting portion 25a to which the end portion 26a of the non-sliding middle beam 26 is fixed is inclined with respect to the vehicle width direction, and the normal direction of the side surface 25c is the extending direction of the non-sliding middle beam 26. It matches.
- At least one surface of the side wall of the end 24b of the sliding middle beam 24 on the second end beam 23 side is substantially flush with the surface of the side wall of the non-sliding middle beam 26 on the second end beam 23 side.
- both side walls of the end portion 28b of the sliding middle beam 24 coincide with both side walls of the end portion 26b of the non-sliding middle beam 26 in the vehicle width direction position.
- the side wall 26c on the outer side in the vehicle width direction of the end portion 26b of the non-sliding middle beam 26 extends in a direction along the vehicle longitudinal direction.
- a side wall 26d on the inner side in the vehicle width direction of the end portion 26b of the non-sliding middle beam 26 is formed linearly along the extending direction of the non-sliding middle beam 26.
- the end 26b of the non-sliding intermediate beam 26 in the longitudinal direction of the vehicle is curved downward so that the lower wall portion 26e expands the vertical dimension of the non-sliding intermediate beam 26.
- An attachment plate 35 in which an attachment portion 35a for attaching the coupler 5 is formed is fixed to the end portion 26b of the non-sliding intermediate beam 26 below the second end beam 23. That is, the coupler 5 is connected to the second end beam 23 instead of the first end beam 22.
- the mounting plate 35 is horizontally long so as to reach a position below the sliding middle beam 24 in a front view.
- a triangular gusset plate 36 is fixed to the front surface of the mounting plate 35 and the lower surface of the sliding middle beam 24 by welding or the like.
- the frame 6 is provided with a linear body 40 that is at least one of wiring and piping along the longitudinal direction of the vehicle at the center position in the vehicle width direction.
- the linear body 40 passes through a guide passage 25e provided in the pillow beam 25. Then, the linear body 40 is directed in the longitudinal direction of the vehicle along the frame 6 to the vicinity of the second end beam 23 over the wheel 3a outside the longitudinal direction of the vehicle of the carriage 3 (see FIG. 1) in plan view. Further, outside the longitudinal direction of the vehicle, it is disposed toward a terminal box or the like disposed at the end of the vehicle while appropriately changing the direction downward or laterally. *
- the shock absorbing operation in the railway vehicle 1 of this embodiment will be described.
- another railway vehicle hereinafter simply referred to as “another vehicle”
- the other vehicle collides with the coupler 5 (see FIG. 1).
- the coupler 5 since the coupler 5 is attached to the second end beam 23, the coupler 5 is not directly transmitted to the first end beam 22, the sliding middle beam 24 and the energy absorber 31. It will be destroyed.
- the counterpart vehicle collides with the end pillar 12 or the first end beam 22, and the impact is transmitted to the coupling member 29, and the coupling member 29 is broken by an impact load of a predetermined level or more.
- the coupling member 29 absorbs the applied impact load slightly when it breaks.
- the energy absorber 31 may be resistant to the breakage of the coupling member 29. It is prevented. In other words, the energy absorber 31 has a dead zone (play) for moving the first end beam 22 toward the second end beam 23 until the coupling member 29 is broken. Then, the first beam member 27 can slide with respect to the second beam member 28 by breaking the coupling member 29. As a result, the sliding middle beam 24 contracts in the vehicle longitudinal direction, and the first end beam 22 moves so as to approach the second end beam 23 while maintaining the posture.
- the energy absorber 31 is deformed so as to be crushed between the first end beam 22 and the second end beam 23, and the energy due to the impact load is absorbed. Specifically, not only the first pipe 32 and the second pipe 33 are crushed in the axial direction but also the end 33b (see FIG. 7) of the second pipe 33 pushes the main body 32d of the first pipe 32 in the radial direction. By acting to expand, energy is effectively absorbed. Even after the sliding intermediate beam 24 is slid and contracted and the energy absorber 31 is crushed, the sliding intermediate beam 24 and the energy absorber 31 are located between the first end beam 22 and the second end beam 23. Will remain in place.
- the sliding middle beam 24 and the energy absorber 31 are disposed in the region between the first end beam 22 and the second end beam 23, and the first beam is absorbed during shock absorption. Even if the member 27 slides with respect to the second beam member 28 and the energy absorber 31 is destroyed, the sliding middle beam 24 and the energy absorber 31 are located in the vehicle longitudinal direction more than the second end beam 23 of the underframe 6. Because it is not in the area, the deformation is difficult to reach the cabin. Therefore, it is possible to improve the performance of protecting the passenger compartment of the vehicle body 2.
- the sliding intermediate beam 24 and the energy absorber 31 do not occupy the area in the vehicle longitudinal direction from the second end beam 23 of the frame 6, wiring in the frame 6 (linear body 40) As a result, the installation workability is improved and the cabin space is not impaired. Therefore, it is possible to improve the performance of protecting the passenger compartment of the vehicle body 2 while improving the workability and space efficiency of wiring and the like in the vehicle body 2.
- the coupler 5 is attached to the second end beam 23 since the impact load transmitted to the coupler 5 is prevented from being directly transmitted to the sliding intermediate beam 24 and the energy absorber 31. Therefore, the impact load from the front is received by the first end beam 22 after being received by the coupler 5, and shock absorption can be performed in multiple stages. Further, since the load when the coupler 5 is normally coupled to the coupler of another vehicle is not directly transmitted to the first end beam 22, the connecting member 29 is repeatedly stressed and fatigued. This can also be prevented.
- the sliding middle beam 24 overlaps the end pillar 12 at the position in the vehicle width direction, the impact received by the end post 12 from the front can be smoothly transmitted to the sliding intermediate beam 24. Further, the end portion 26b on the second end beam 23 side of the non-sliding middle beam 26 overlaps the end portion 28b on the second end beam 23 side of the sliding middle beam 24 at the position in the vehicle width direction. Can be transmitted to the non-sliding intermediate beam 26 smoothly.
- the non-sliding intermediate beam 26 is disposed obliquely with respect to the longitudinal direction of the vehicle in a plan view, and the end 26 a of the non-sliding intermediate beam 26 in the longitudinal direction of the vehicle is a side beam 21 of the pillow beam 25. Therefore, the impact transmitted to the non-sliding middle beam 26 can be stably received by the pillow beam 25 or the like.
- the length La of the first beam member 27, the length Lb of the second beam member 28, and the length Lc of the energy absorber 31 are all.
- the length is equal.
- FIG. 8 is a drawing corresponding to FIG. 3 of the railway vehicle according to the second embodiment.
- 9 is a cross-sectional view taken along line IX-IX in FIG.
- symbol is attached
- the rail vehicle according to the second embodiment uses a trapezoidal energy absorber 131 in plan view.
- the energy absorber 131 is disposed between the pair of sliding middle beams 24 and between the first end beam 22 and the second end beam 23, and transmits an impact load transmitted from the first end beam 22 to the second end beam 23. Absorb energy by.
- the energy absorber 131 has a rectangular cylindrical shape, has a trapezoidal shape in plan view, and gradually decreases in width in the vehicle longitudinal direction.
- the side wall in the vehicle width direction of the end portion 28b of the second beam member 28 is inclined obliquely inward in the vehicle width direction so that the width of the second beam member 28 increases toward the second end beam 23. Therefore, the energy absorber 131 can be laid out with good space efficiency by disposing the wide end portion 131a of the trapezoidal energy absorber 131 on the first end beam 22 side.
- the wide end portion 131a of the energy absorber 131 outside in the longitudinal direction of the vehicle is fixed to the first end beam 22 by welding or the like.
- the other narrow end 131b of the energy absorber 131 in the vehicle longitudinal direction is slidably sandwiched between a pair of upper and lower guide plates 123 projecting outward from the second end beam 23 in the vehicle longitudinal direction. Yes.
- the other end 131 b of the energy absorber 131 has a predetermined gap G ⁇ b> 2 between the second end beam 23.
- the distance L4 in the vehicle longitudinal direction of the gap G2 is determined from the outer diameter (size in the vehicle longitudinal direction) of the portion of the coupling member 29 inserted into the holes 27c and 28c of the first beam member 27 and the second beam member 28. Is also set larger.
- the presence of the gap G ⁇ b> 2 prevents the energy absorber 131 from becoming a resistance against the breaking of the coupling member 29.
- the energy absorber 131 has a dead zone (play) for moving the first end beam 22 toward the second end beam 23 until the coupling member 29 is broken.
- the other end portion 131b of the energy absorber 131 hits the second end beam 23, and the first end beam
- the energy absorber 131 is sandwiched between the second end beam 23 and the second end beam 23 so that the energy is absorbed.
- the pair of upper and lower guide plates 123 are provided, the other end portion 131b of the energy absorber 131 is prevented from being displaced vertically from the second end beam 23, and the energy absorbing operation is stably performed. It will be.
- the plate constituting the energy absorber 131 may be perforated as necessary in consideration of reaction force characteristics and the like, and a partition wall may be provided in the rectangular tube.
- the connecting member 29 of the sliding intermediate beam 24 may use a welding material instead of a fastening member such as a rivet. That is, the first beam member 27 and the second beam member 28 may be locally welded so that the welded portion is broken when an impact load exceeding a predetermined load is applied.
- the sliding middle beam 24 and the energy absorber 31 are directly fixed to the first end beam 22 and the second end beam 23, but another member may be interposed therebetween.
- a member that acts as an energy absorbing element as in the energy absorber 31 may be incorporated in the second beam member 28.
- the railway vehicle 1 is applied to an intermediate vehicle in train formation, but it may be applied to a leading vehicle.
- the non-sliding middle beam 26 is disposed obliquely with respect to the longitudinal direction of the vehicle in plan view, it may be disposed in a direction orthogonal to the second end beam 23 and the pillow beam 25.
- the railway vehicle according to the present invention has an excellent effect of suitably protecting the passenger room from an impact, and it is beneficial to be widely applied to railway vehicles capable of exhibiting the significance of this effect.
Landscapes
- Engineering & Computer Science (AREA)
- Mechanical Engineering (AREA)
- Transportation (AREA)
- Vibration Dampers (AREA)
- Body Structure For Vehicles (AREA)
Priority Applications (2)
| Application Number | Priority Date | Filing Date | Title |
|---|---|---|---|
| US14/440,633 US9493173B2 (en) | 2012-11-05 | 2013-10-17 | Railcar |
| CN201380055069.8A CN104755351B (zh) | 2012-11-05 | 2013-10-17 | 铁道车辆 |
Applications Claiming Priority (2)
| Application Number | Priority Date | Filing Date | Title |
|---|---|---|---|
| JP2012-243390 | 2012-11-05 | ||
| JP2012243390A JP6243596B2 (ja) | 2012-11-05 | 2012-11-05 | 鉄道車両 |
Publications (1)
| Publication Number | Publication Date |
|---|---|
| WO2014068885A1 true WO2014068885A1 (ja) | 2014-05-08 |
Family
ID=50626837
Family Applications (1)
| Application Number | Title | Priority Date | Filing Date |
|---|---|---|---|
| PCT/JP2013/006173 Ceased WO2014068885A1 (ja) | 2012-11-05 | 2013-10-17 | 鉄道車両 |
Country Status (4)
| Country | Link |
|---|---|
| US (1) | US9493173B2 (enExample) |
| JP (1) | JP6243596B2 (enExample) |
| CN (1) | CN104755351B (enExample) |
| WO (1) | WO2014068885A1 (enExample) |
Cited By (3)
| Publication number | Priority date | Publication date | Assignee | Title |
|---|---|---|---|---|
| WO2017037852A1 (ja) * | 2015-08-31 | 2017-03-09 | 日本車輌製造株式会社 | 鉄道車両 |
| WO2017037854A1 (ja) * | 2015-08-31 | 2017-03-09 | 日本車輌製造株式会社 | 鉄道車両 |
| CN107614351A (zh) * | 2015-06-03 | 2018-01-19 | 川崎重工业株式会社 | 铁道车辆的车身 |
Families Citing this family (10)
| Publication number | Priority date | Publication date | Assignee | Title |
|---|---|---|---|---|
| JP6243596B2 (ja) * | 2012-11-05 | 2017-12-06 | 川崎重工業株式会社 | 鉄道車両 |
| CN105501240A (zh) * | 2016-01-08 | 2016-04-20 | 中车青岛四方机车车辆股份有限公司 | 牵引梁 |
| CN105818831B (zh) * | 2016-03-31 | 2017-10-24 | 中南大学 | 组合式吸能机构及具有该组合式吸能机构的轨道车辆 |
| AT519881B1 (de) * | 2017-06-21 | 2018-11-15 | Siemens Ag Oesterreich | Schienenfahrzeug |
| US10967886B2 (en) * | 2018-10-05 | 2021-04-06 | Bombardier Transportation Gmbh | Draft sill using a tension cable |
| CN111361591B (zh) * | 2018-12-25 | 2021-03-30 | 中车唐山机车车辆有限公司 | 一种双层轨道车辆及其底架 |
| SG11202112808XA (en) * | 2019-06-10 | 2021-12-30 | Kawasaki Railcar Manufacturing Co Ltd | Railcar bodyshell |
| CN112026816B (zh) * | 2020-08-07 | 2021-11-12 | 中车青岛四方机车车辆股份有限公司 | 底架及轨道车辆 |
| CN112026831B (zh) * | 2020-08-07 | 2022-02-15 | 中车青岛四方机车车辆股份有限公司 | 防爬器传力结构、端部底架及轨道车辆 |
| CN112026836B (zh) * | 2020-08-07 | 2022-02-15 | 中车青岛四方机车车辆股份有限公司 | 牵引梁传力结构、底架及轨道车辆 |
Citations (7)
| Publication number | Priority date | Publication date | Assignee | Title |
|---|---|---|---|---|
| JPH02127586U (enExample) * | 1989-03-31 | 1990-10-22 | ||
| EP0612647A1 (de) * | 1993-02-24 | 1994-08-31 | SGP Verkehrstechnik Gesellschaft m.b.H. | Einrichtung zum Schutz für Passagiere gegen Verletzungen bei einem Zusammenstoss von Eisenbahnzügen |
| JPH076025U (ja) * | 1993-06-22 | 1995-01-27 | 日本車輌製造株式会社 | 鉄道車両用排障器 |
| JP2001048016A (ja) * | 1999-08-09 | 2001-02-20 | Nippon Sharyo Seizo Kaisha Ltd | 鉄道車両用構体 |
| JP2008126856A (ja) * | 2006-11-21 | 2008-06-05 | Hitachi Ltd | 車両 |
| JP2009001178A (ja) * | 2007-06-22 | 2009-01-08 | Nippon Sharyo Seizo Kaisha Ltd | 鉄道車両 |
| JP2011235731A (ja) * | 2010-05-10 | 2011-11-24 | Nippon Sharyo Seizo Kaisha Ltd | 鉄道車両 |
Family Cites Families (30)
| Publication number | Priority date | Publication date | Assignee | Title |
|---|---|---|---|---|
| US3968862A (en) * | 1974-03-20 | 1976-07-13 | Menasco Manufacturing Company | Kinetic energy absorbing value assembly |
| FR2704286B1 (fr) * | 1993-04-23 | 1995-06-02 | Gec Alsthom Transport Sa | Dispositif d'amortissement de choc. |
| FR2712950B1 (fr) * | 1993-11-25 | 1995-12-29 | Gec Alsthom Transport Sa | Dispositifs et procédé d'amortissement de choc, ossature et véhicule comportant de tels dispositifs d'amortissement de choc. |
| WO1999038751A1 (de) * | 1998-01-28 | 1999-08-05 | Siemens Krauss-Maffei Lokomotiven Gmbh | Aufprallschutzvorrichtung für schienenfahrzeuge |
| JPH11301476A (ja) * | 1998-04-17 | 1999-11-02 | Kinki Sharyo Co Ltd | 鉄道車両用衝撃吸収台枠構造 |
| AT408875B (de) * | 2000-02-18 | 2002-03-25 | Siemens Sgp Verkehrstech Gmbh | Deformationselement eines schienenfahrzeuges |
| ES2300829T3 (es) * | 2003-09-19 | 2008-06-16 | Siemens Transportation Systems Inc. | Sistema de proteccion de impacto integrado. |
| SE526663C2 (sv) * | 2004-02-04 | 2005-10-18 | Dellner Couplers Ab | Draginrättning för tågkoppel samt deformationsrör härför |
| SE527014C2 (sv) * | 2004-04-20 | 2005-12-06 | Dellner Couplers Ab | Tågfordon samt klämanordning för fixering av en draginrättning för dylika fordon |
| EP1873037B1 (en) * | 2006-05-10 | 2011-12-28 | Hitachi, Ltd. | Collision energy absorbing device and railway vehicle having the device |
| CN101070071B (zh) * | 2006-05-10 | 2011-07-20 | 株式会社日立制作所 | 具备碰撞能量吸收装置的轨道车辆 |
| JP4966712B2 (ja) * | 2007-03-30 | 2012-07-04 | 株式会社日立製作所 | 輸送機 |
| CA2695818C (en) * | 2007-09-11 | 2015-03-24 | Voith Patent Gmbh | Shock absorber |
| RU2520632C2 (ru) * | 2008-09-15 | 2014-06-27 | Войс Патент Гмбх | Лобовая часть транспортного средства для прикрепления к передней части рельсового транспортного средства, в частности, железнодорожного транспортного средства |
| JP4852624B2 (ja) * | 2009-03-31 | 2012-01-11 | 株式会社日立製作所 | 衝突緩和装置を備えた軌条車輌 |
| US8327773B2 (en) * | 2010-01-04 | 2012-12-11 | Nippon Sharyo, Ltd. | Railway vehicle |
| AT509376B1 (de) * | 2010-02-11 | 2011-11-15 | Siemens Ag Oesterreich | Crashmodul für ein schienenfahrzeug |
| US8707872B2 (en) * | 2010-05-10 | 2014-04-29 | Nippon Sharyo, Ltd. | Railway vehicle |
| JP5209663B2 (ja) | 2010-05-10 | 2013-06-12 | 日本車輌製造株式会社 | 鉄道車両 |
| WO2011142208A1 (ja) * | 2010-05-10 | 2011-11-17 | 日本車輌製造株式会社 | 鉄道車両 |
| CA2798570C (en) * | 2010-05-10 | 2017-07-25 | Nippon Sharyo, Ltd. | Railway vehicle |
| JP5677815B2 (ja) * | 2010-11-19 | 2015-02-25 | 川崎重工業株式会社 | 鉄道車両の衝突エネルギー吸収体 |
| JP5851524B2 (ja) * | 2011-02-14 | 2016-02-03 | アンドロイド インダストリーズ エルエルシー | シャーシ |
| AT511290A1 (de) * | 2011-04-04 | 2012-10-15 | Siemens Ag Oesterreich | Schienenfahrzeug mit verformungszone |
| CA2857935C (en) * | 2011-12-02 | 2016-01-26 | Nippon Sharyo, Ltd. | Rolling stock |
| CN102514588A (zh) * | 2011-12-16 | 2012-06-27 | 唐山轨道客车有限责任公司 | 排障吸能装置及动车组头车 |
| CA2862780C (en) * | 2012-01-27 | 2016-06-07 | Nippon Sharyo, Ltd. | Rolling stock |
| US9242656B2 (en) * | 2012-02-21 | 2016-01-26 | Nippon Sharyo, Ltd. | Rolling stock |
| JP6243596B2 (ja) * | 2012-11-05 | 2017-12-06 | 川崎重工業株式会社 | 鉄道車両 |
| GB2512036B (en) * | 2013-02-19 | 2020-07-15 | Drax Power Ltd | A railway vehicle comprising a solebar |
-
2012
- 2012-11-05 JP JP2012243390A patent/JP6243596B2/ja active Active
-
2013
- 2013-10-17 WO PCT/JP2013/006173 patent/WO2014068885A1/ja not_active Ceased
- 2013-10-17 CN CN201380055069.8A patent/CN104755351B/zh not_active Expired - Fee Related
- 2013-10-17 US US14/440,633 patent/US9493173B2/en active Active
Patent Citations (7)
| Publication number | Priority date | Publication date | Assignee | Title |
|---|---|---|---|---|
| JPH02127586U (enExample) * | 1989-03-31 | 1990-10-22 | ||
| EP0612647A1 (de) * | 1993-02-24 | 1994-08-31 | SGP Verkehrstechnik Gesellschaft m.b.H. | Einrichtung zum Schutz für Passagiere gegen Verletzungen bei einem Zusammenstoss von Eisenbahnzügen |
| JPH076025U (ja) * | 1993-06-22 | 1995-01-27 | 日本車輌製造株式会社 | 鉄道車両用排障器 |
| JP2001048016A (ja) * | 1999-08-09 | 2001-02-20 | Nippon Sharyo Seizo Kaisha Ltd | 鉄道車両用構体 |
| JP2008126856A (ja) * | 2006-11-21 | 2008-06-05 | Hitachi Ltd | 車両 |
| JP2009001178A (ja) * | 2007-06-22 | 2009-01-08 | Nippon Sharyo Seizo Kaisha Ltd | 鉄道車両 |
| JP2011235731A (ja) * | 2010-05-10 | 2011-11-24 | Nippon Sharyo Seizo Kaisha Ltd | 鉄道車両 |
Cited By (7)
| Publication number | Priority date | Publication date | Assignee | Title |
|---|---|---|---|---|
| CN107614351A (zh) * | 2015-06-03 | 2018-01-19 | 川崎重工业株式会社 | 铁道车辆的车身 |
| WO2017037852A1 (ja) * | 2015-08-31 | 2017-03-09 | 日本車輌製造株式会社 | 鉄道車両 |
| WO2017037854A1 (ja) * | 2015-08-31 | 2017-03-09 | 日本車輌製造株式会社 | 鉄道車両 |
| JPWO2017037854A1 (ja) * | 2015-08-31 | 2017-08-31 | 日本車輌製造株式会社 | 鉄道車両 |
| JPWO2017037852A1 (ja) * | 2015-08-31 | 2017-08-31 | 日本車輌製造株式会社 | 鉄道車両 |
| US10457297B2 (en) | 2015-08-31 | 2019-10-29 | Nippon Sharyo, Ltd. | Railcar |
| US10538256B2 (en) | 2015-08-31 | 2020-01-21 | Nippon Sharyo, Ltd. | Railcar |
Also Published As
| Publication number | Publication date |
|---|---|
| CN104755351B (zh) | 2016-11-09 |
| US20150298712A1 (en) | 2015-10-22 |
| JP6243596B2 (ja) | 2017-12-06 |
| US9493173B2 (en) | 2016-11-15 |
| JP2014091430A (ja) | 2014-05-19 |
| CN104755351A (zh) | 2015-07-01 |
Similar Documents
| Publication | Publication Date | Title |
|---|---|---|
| JP6243596B2 (ja) | 鉄道車両 | |
| JP5357953B2 (ja) | 車体前部構造 | |
| CN102741106B (zh) | 用于轨道车辆的碰撞模块及相应的轨道车辆 | |
| US8701566B2 (en) | Railcar | |
| KR100904030B1 (ko) | 레일차량 및 배장장치 | |
| WO2011142208A1 (ja) | 鉄道車両 | |
| KR20150006796A (ko) | 차체 전부 구조 | |
| CN208593443U (zh) | 汽车车身前部结构及其上边梁 | |
| WO2011142207A1 (ja) | 鉄道車両 | |
| JP2011235728A (ja) | 鉄道車両 | |
| JP6359170B2 (ja) | 鉄道車両 | |
| CN113200007A (zh) | 一种车身侧碰加强结构 | |
| WO2017037852A1 (ja) | 鉄道車両 | |
| CA2864243C (en) | Rolling stock | |
| JP2011235729A (ja) | 鉄道車両 | |
| JP5923252B2 (ja) | 鉄道車両の先頭衝撃吸収構造 | |
| JP6017544B2 (ja) | 衝撃吸収構造を備える鉄道車両構体 | |
| JP7210273B2 (ja) | 鉄道車両 | |
| JP7237577B2 (ja) | 鉄道車両 | |
| JP5066738B2 (ja) | 自動車の衝撃吸収構造 | |
| JP7157646B2 (ja) | 鉄道車両 | |
| WO2012172924A1 (ja) | 衝突エネルギ吸収構造を備える鉄道車両 | |
| JP6039359B2 (ja) | 鉄道車両の先頭衝撃吸収構造 | |
| JP6960833B2 (ja) | 鉄道車両 | |
| HK1156285B (en) | Rolling stock |
Legal Events
| Date | Code | Title | Description |
|---|---|---|---|
| 121 | Ep: the epo has been informed by wipo that ep was designated in this application |
Ref document number: 13851250 Country of ref document: EP Kind code of ref document: A1 |
|
| NENP | Non-entry into the national phase |
Ref country code: DE |
|
| WWE | Wipo information: entry into national phase |
Ref document number: 14440633 Country of ref document: US |
|
| 122 | Ep: pct application non-entry in european phase |
Ref document number: 13851250 Country of ref document: EP Kind code of ref document: A1 |