WO2013168792A1 - 無線受信装置、無線送信装置、無線通信システム、プログラムおよび集積回路 - Google Patents

無線受信装置、無線送信装置、無線通信システム、プログラムおよび集積回路 Download PDF

Info

Publication number
WO2013168792A1
WO2013168792A1 PCT/JP2013/063154 JP2013063154W WO2013168792A1 WO 2013168792 A1 WO2013168792 A1 WO 2013168792A1 JP 2013063154 W JP2013063154 W JP 2013063154W WO 2013168792 A1 WO2013168792 A1 WO 2013168792A1
Authority
WO
WIPO (PCT)
Prior art keywords
signal
propagation path
wireless
unit
reference signal
Prior art date
Legal status (The legal status is an assumption and is not a legal conclusion. Google has not performed a legal analysis and makes no representation as to the accuracy of the status listed.)
Ceased
Application number
PCT/JP2013/063154
Other languages
English (en)
French (fr)
Japanese (ja)
Inventor
宏道 留場
毅 小野寺
アルバロ ルイズデルガド
窪田 稔
Current Assignee (The listed assignees may be inaccurate. Google has not performed a legal analysis and makes no representation or warranty as to the accuracy of the list.)
Sharp Corp
Original Assignee
Sharp Corp
Priority date (The priority date is an assumption and is not a legal conclusion. Google has not performed a legal analysis and makes no representation as to the accuracy of the date listed.)
Filing date
Publication date
Application filed by Sharp Corp filed Critical Sharp Corp
Priority to US14/399,990 priority Critical patent/US20150098402A1/en
Publication of WO2013168792A1 publication Critical patent/WO2013168792A1/ja
Anticipated expiration legal-status Critical
Ceased legal-status Critical Current

Links

Images

Classifications

    • HELECTRICITY
    • H04ELECTRIC COMMUNICATION TECHNIQUE
    • H04BTRANSMISSION
    • H04B7/00Radio transmission systems, i.e. using radiation field
    • H04B7/02Diversity systems; Multi-antenna system, i.e. transmission or reception using multiple antennas
    • H04B7/04Diversity systems; Multi-antenna system, i.e. transmission or reception using multiple antennas using two or more spaced independent antennas
    • H04B7/0413MIMO systems
    • H04B7/0456Selection of precoding matrices or codebooks, e.g. using matrices antenna weighting
    • HELECTRICITY
    • H04ELECTRIC COMMUNICATION TECHNIQUE
    • H04LTRANSMISSION OF DIGITAL INFORMATION, e.g. TELEGRAPHIC COMMUNICATION
    • H04L5/00Arrangements affording multiple use of the transmission path
    • H04L5/003Arrangements for allocating sub-channels of the transmission path
    • H04L5/0053Allocation of signalling, i.e. of overhead other than pilot signals
    • HELECTRICITY
    • H04ELECTRIC COMMUNICATION TECHNIQUE
    • H04BTRANSMISSION
    • H04B7/00Radio transmission systems, i.e. using radiation field
    • H04B7/02Diversity systems; Multi-antenna system, i.e. transmission or reception using multiple antennas
    • H04B7/04Diversity systems; Multi-antenna system, i.e. transmission or reception using multiple antennas using two or more spaced independent antennas
    • H04B7/0413MIMO systems
    • H04B7/0417Feedback systems
    • HELECTRICITY
    • H04ELECTRIC COMMUNICATION TECHNIQUE
    • H04BTRANSMISSION
    • H04B7/00Radio transmission systems, i.e. using radiation field
    • H04B7/02Diversity systems; Multi-antenna system, i.e. transmission or reception using multiple antennas
    • H04B7/04Diversity systems; Multi-antenna system, i.e. transmission or reception using multiple antennas using two or more spaced independent antennas
    • H04B7/0413MIMO systems
    • H04B7/0452Multi-user MIMO systems
    • HELECTRICITY
    • H04ELECTRIC COMMUNICATION TECHNIQUE
    • H04BTRANSMISSION
    • H04B7/00Radio transmission systems, i.e. using radiation field
    • H04B7/02Diversity systems; Multi-antenna system, i.e. transmission or reception using multiple antennas
    • H04B7/04Diversity systems; Multi-antenna system, i.e. transmission or reception using multiple antennas using two or more spaced independent antennas
    • H04B7/06Diversity systems; Multi-antenna system, i.e. transmission or reception using multiple antennas using two or more spaced independent antennas at the transmitting station
    • H04B7/0697Diversity systems; Multi-antenna system, i.e. transmission or reception using multiple antennas using two or more spaced independent antennas at the transmitting station using spatial multiplexing
    • HELECTRICITY
    • H04ELECTRIC COMMUNICATION TECHNIQUE
    • H04BTRANSMISSION
    • H04B7/00Radio transmission systems, i.e. using radiation field
    • H04B7/02Diversity systems; Multi-antenna system, i.e. transmission or reception using multiple antennas
    • H04B7/04Diversity systems; Multi-antenna system, i.e. transmission or reception using multiple antennas using two or more spaced independent antennas
    • H04B7/08Diversity systems; Multi-antenna system, i.e. transmission or reception using multiple antennas using two or more spaced independent antennas at the receiving station
    • H04B7/0837Diversity systems; Multi-antenna system, i.e. transmission or reception using multiple antennas using two or more spaced independent antennas at the receiving station using pre-detection combining
    • H04B7/0842Weighted combining
    • H04B7/0848Joint weighting
    • H04B7/0851Joint weighting using training sequences or error signal
    • HELECTRICITY
    • H04ELECTRIC COMMUNICATION TECHNIQUE
    • H04LTRANSMISSION OF DIGITAL INFORMATION, e.g. TELEGRAPHIC COMMUNICATION
    • H04L25/00Baseband systems
    • H04L25/02Details ; arrangements for supplying electrical power along data transmission lines
    • H04L25/0202Channel estimation
    • H04L25/0204Channel estimation of multiple channels
    • HELECTRICITY
    • H04ELECTRIC COMMUNICATION TECHNIQUE
    • H04LTRANSMISSION OF DIGITAL INFORMATION, e.g. TELEGRAPHIC COMMUNICATION
    • H04L25/00Baseband systems
    • H04L25/02Details ; arrangements for supplying electrical power along data transmission lines
    • H04L25/0202Channel estimation
    • H04L25/0224Channel estimation using sounding signals
    • HELECTRICITY
    • H04ELECTRIC COMMUNICATION TECHNIQUE
    • H04LTRANSMISSION OF DIGITAL INFORMATION, e.g. TELEGRAPHIC COMMUNICATION
    • H04L25/00Baseband systems
    • H04L25/02Details ; arrangements for supplying electrical power along data transmission lines
    • H04L25/03Shaping networks in transmitter or receiver, e.g. adaptive shaping networks
    • H04L25/03891Spatial equalizers
    • HELECTRICITY
    • H04ELECTRIC COMMUNICATION TECHNIQUE
    • H04LTRANSMISSION OF DIGITAL INFORMATION, e.g. TELEGRAPHIC COMMUNICATION
    • H04L25/00Baseband systems
    • H04L25/02Details ; arrangements for supplying electrical power along data transmission lines
    • H04L25/06DC level restoring means; Bias distortion correction ; Decision circuits providing symbol by symbol detection
    • H04L25/067DC level restoring means; Bias distortion correction ; Decision circuits providing symbol by symbol detection providing soft decisions, i.e. decisions together with an estimate of reliability

Definitions

  • the present invention relates to a technique for performing multiuser multiple input multiple output transmission.
  • MIMO Multiple input multiple output
  • MU-MIMO Multi User-MIMO
  • IUI inter-user-interference
  • the base station device pre-multiplies a linear filter calculated based on the propagation path information notified from each terminal device.
  • linear precoding that suppresses the IUI is employed.
  • MU-MIMO technology using nonlinear precoding in which nonlinear processing is performed on the base station apparatus side is attracting attention.
  • the terminal device If the terminal device is capable of modulo operation, it can add a perturbation vector whose element is a complex number (perturbation term) obtained by multiplying an arbitrary Gaussian integer by a constant real number to the transmitted signal. It becomes. Therefore, if the perturbation vector is appropriately set according to the propagation path state between the base station apparatus and the plurality of terminal apparatuses, it is possible to significantly reduce the required transmission power as compared with linear precoding.
  • VP Vector perturbation
  • TMP Tomlinson Harashima Precoding
  • Non-Patent Document 2 are well known as methods capable of realizing optimal transmission characteristics.
  • the accuracy of precoding largely depends on the precision of propagation path information (Channel state information (CSI)) that can be grasped by the base station apparatus.
  • CSI propagation path information
  • the base station apparatus feeds back CSI estimated by the terminal apparatus to the base station apparatus, so that the base station apparatus I can grasp it.
  • an error may occur between the CSI that can be grasped by the base station apparatus and the actual CSI. This will be briefly described with reference to FIG.
  • FIG. 10 is a sequence chart showing a state of communication between a base station apparatus that performs precoding and a terminal apparatus.
  • the base station apparatus transmits a reference signal for estimating CSI to the terminal apparatus (step S1). Further, the base station apparatus generates transmission data and a demodulation reference signal (step S2). Since the reference signal is known to the base station device and the terminal device, the terminal device can estimate the CSI based on the received reference signal (step S3). However, in practice, noise is always applied to the received signal, so that an error occurs between the estimated CSI and the true CSI. This is called a propagation path estimation error. The terminal apparatus converts the estimated CSI into information that can be notified to the base station apparatus, and notifies the base station apparatus (step S4).
  • Examples of information that can be notified include information obtained by directly quantizing estimated information into digital information, and a number indicating a code described in a code book shared by a base station device and a terminal device.
  • the base station apparatus restores the CSI from the notified information, but an error still occurs between the restored CSI and the true CSI. This is called a quantization error.
  • precoding is performed based on the restored CSI (step S5).
  • the terminal device estimates CSI
  • the base station device After the terminal device estimates CSI, the base station device performs precoding processing and transmits a signal. A certain processing delay time (also called a round trip delay) occurs.
  • a certain processing delay time also called a round trip delay
  • Non-Patent Document 3 the pre-coded received signal is received (step S6), and the terminal device re-estimates the propagation path information when it is received by the terminal device (step S7), and based on the propagation path information.
  • a method for improving the deterioration of transmission characteristics due to a feedback error by performing appropriate channel equalization processing on the received signal again (steps S8 and S9) is being discussed.
  • the method according to Non-Patent Document 3 assumes a case in which only one data stream is sent to each terminal device, and precoding considers only linear precoding.
  • Non-Patent Document 3 the terminal apparatus re-estimates the propagation path information at the time when the received signal subjected to precoding is received by the terminal apparatus, and based on the propagation path information, the received signal is There has been discussed a method for improving deterioration of transmission characteristics due to a feedback error by performing appropriate channel equalization processing again.
  • a plurality of data streams cannot be transmitted to each terminal device, and applicable precoding is limited to linear precoding. That is, in reality, a method for improving the deterioration of transmission characteristics due to feedback error in the case where a plurality of data streams are transmitted to each terminal apparatus and nonlinear precoding is performed is still unclear.
  • the present invention has been made in view of such circumstances, and in a wireless communication system that performs nonlinear precoding, a wireless reception device, a wireless transmission device, and a wireless transmission device that can improve deterioration of transmission characteristics due to feedback errors,
  • An object is to provide a wireless communication system, a program, and an integrated circuit.
  • the radio reception apparatus of the present invention is a radio reception apparatus that includes a plurality of antennas and receives a spatially multiplexed radio signal subjected to nonlinear precoding from the radio transmission apparatus, and is based on the first reference signal.
  • the desired signal is demodulated from the received radio signal based on the inherent equivalent propagation path information
  • the propagation path information grasped by the wireless transmission apparatus based on the quantization error and the like, and the propagation path transmitted by the wireless reception apparatus It is possible to improve the deterioration of transmission characteristics due to an error with information.
  • the spatial separation processing unit acquires information indicating a prior probability of a perturbation term added to transmission data by nonlinear precoding in the wireless transmission device, and the acquired A soft estimate value of the radio signal is calculated based on information indicating a prior probability.
  • the spatial separation processing unit indicates the prior probability based on a quadrant of a complex plane including a signal candidate point of transmission data to which the perturbation term is added. It is characterized by acquiring information.
  • the search for the perturbation term can be made more efficient. It becomes possible.
  • the space separation processing unit obtains information indicating the prior probability based on control information associated with the prior probability notified from the wireless transmission device. It is characterized by that.
  • the perturbation term is searched or performed according to the value of the prior probability. It is possible to perform control that does not occur. This makes it possible to reduce the amount of processing and improve efficiency.
  • the spatial separation processing unit determines an order of calculating the soft estimation value of the transmission data based on information indicating the prior probability of the perturbation term.
  • the receiving device can acquire transmission data addressed to the receiving device.
  • the spatial separation processing unit performs spatial filtering that multiplies a received signal vector by a linear filter calculated based on the specific equivalent propagation path information, and receives the received wireless A desired signal is demodulated from the signal.
  • the desired signal can be demodulated most easily.
  • the wireless transmission device of the present invention is a wireless transmission device that includes a plurality of antennas and spatially multiplexes and transmits data signals addressed to the plurality of wireless reception devices.
  • a precoding unit that applies nonlinear precoding to a signal and applies a part of the nonlinear precoding to a second reference signal; the data signal; the first reference signal; and the second reference signal.
  • a wireless transmission unit for transmitting to each of the wireless reception devices.
  • the wireless reception device since the second reference signal and the data signal subjected to nonlinear precoding are transmitted to each wireless reception device, the wireless reception device, based on the second reference signal subjected to nonlinear precoding, Since the propagation path state with the wireless transmission device is estimated and the desired signal is demodulated from the received wireless signal based on the inherent equivalent propagation path information, the propagation path information grasped by the wireless transmission device by a quantization error or the like It is possible to improve the deterioration of the transmission characteristics due to the error with the propagation path information transmitted by the wireless receiver.
  • the wireless transmission unit further includes a control information generation unit that generates control information indicating a prior probability of a perturbation term added to the data signal in the nonlinear precoding, Transmits control information indicating the prior probability to each of the wireless reception devices.
  • the wireless transmission unit further includes a control information generation unit that generates control information indicating a prior probability of a perturbation term added to the data signal, and the wireless transmission unit includes control information indicating the prior probability.
  • the wireless reception device can control whether or not to search for the perturbation term according to the value of the prior probability. This makes it possible to reduce the amount of processing and improve efficiency.
  • the wireless communication system of the present invention is characterized by comprising a plurality of the wireless receivers described in (1) above and the wireless transmitter described in (7) above.
  • a program according to the present invention is a program for a radio reception apparatus that includes a plurality of antennas and receives a spatially multiplexed radio signal subjected to nonlinear precoding from a radio transmission apparatus. Based on the second reference signal to which a part of the nonlinear precoding is applied, and a process of estimating a propagation path state with the wireless transmission device and outputting propagation path information A process of estimating a propagation path state with a transmission device and outputting specific equivalent propagation path information; and a process of demodulating a desired signal from the received radio signal based on the specific equivalent propagation path information. A series of processing is executed by a computer.
  • the desired signal is demodulated from the received radio signal based on the inherent equivalent propagation path information
  • the propagation path information grasped by the wireless transmission apparatus based on the quantization error and the like, and the propagation path transmitted by the wireless reception apparatus It is possible to improve the deterioration of transmission characteristics due to an error with information.
  • a program of the present invention is a program for a wireless transmission device that includes a plurality of antennas and spatially multiplexes and transmits data signals addressed to a plurality of wireless reception devices.
  • the wireless reception device since the second reference signal and the data signal subjected to nonlinear precoding are transmitted to each wireless reception device, the wireless reception device, based on the second reference signal subjected to nonlinear precoding, Since the propagation path state with the wireless transmission device is estimated and the desired signal is demodulated from the received wireless signal based on the inherent equivalent propagation path information, the propagation path information grasped by the wireless transmission device by a quantization error or the like It is possible to improve the deterioration of the transmission characteristics due to the error with the propagation path information transmitted by the wireless receiver.
  • the integrated circuit of the present invention includes a plurality of antennas, and is mounted on a wireless reception device that receives a spatially multiplexed wireless signal subjected to non-linear precoding from the wireless transmission device.
  • An integrated circuit that causes a device to perform a plurality of functions, and that estimates a propagation path state with the wireless transmission device based on a first reference signal and outputs propagation path information; Based on the second reference signal to which a part of coding is applied, a state of a propagation path with the wireless transmission device is estimated, and a specific equivalent propagation path information is output.
  • the wireless reception device is caused to exhibit a series of functions of demodulating a desired signal from the received wireless signal.
  • the desired signal is demodulated from the received radio signal based on the inherent equivalent propagation path information
  • the propagation path information grasped by the wireless transmission apparatus based on the quantization error and the like, and the propagation path transmitted by the wireless reception apparatus It is possible to improve the deterioration of transmission characteristics due to an error with information.
  • the integrated circuit of the present invention includes a plurality of antennas and is mounted on a wireless transmission device that spatially multiplexes and transmits data signals addressed to a plurality of wireless reception devices.
  • An integrated circuit that exhibits the function of: acquiring propagation path information created by each wireless reception device from each wireless reception device based on a first reference signal transmitted to each wireless reception device A function for performing nonlinear precoding on a data signal based on the acquired propagation path information, a function for performing a part of the nonlinear precoding on a second reference signal, the data signal,
  • the wireless transmission device is caused to exhibit a series of functions including a function of transmitting the first reference signal and the second reference signal to each of the wireless reception devices.
  • the wireless reception device since the second reference signal and the data signal subjected to nonlinear precoding are transmitted to each wireless reception device, the wireless reception device, based on the second reference signal subjected to nonlinear precoding, Since the propagation path state with the wireless transmission device is estimated and the desired signal is demodulated from the received wireless signal based on the inherent equivalent propagation path information, the propagation path information grasped by the wireless transmission device by a quantization error or the like It is possible to improve the deterioration of the transmission characteristics due to the error from the propagation path information transmitted by the wireless reception device.
  • the present invention in a wireless communication system that performs non-linear precoding, it is possible to improve the deterioration of transmission characteristics due to feedback errors, which can contribute to a significant improvement in frequency utilization efficiency.
  • AT is a transposed matrix of matrix A
  • a H is an adjoint (Hermitian transposed) matrix of matrix A
  • a -1 is an inverse matrix of matrix A
  • a + is a pseudo (or general) inverse matrix of matrix A
  • diag (A) is a diagonal matrix obtained by extracting only the diagonal components of the matrix A.
  • floor (c) is a floor that returns the largest Gaussian integer whose real part and imaginary part do not exceed the values of the real part and imaginary part of the complex number c, respectively.
  • E [x] is the ensemble average of the random variable x
  • abs (c) is a function that returns the amplitude of the complex number c
  • angle (c) is a function that returns the argument of the complex number c
  • x% y is assumed to represent each an integer x remainder when divided by integer y
  • n C m is the total number of combinations for selecting the m different from n different, the.
  • [A; B] represents a matrix obtained by combining two matrices A and B in the row direction
  • [A, B] represents a matrix obtained by combining the matrices A and B in the column direction.
  • FIG. 1 is a diagram showing an outline of a radio communication system according to the first embodiment of the present invention.
  • N t has transmit antennas, relative to the non-linear precoding capable base station apparatus 1 (also referred to as a wireless transmitting device), the terminal apparatus 3 having the receive antennas N r the (Also referred to as a wireless receiving device.
  • terminal devices 3-1 to 3-4 are shown. These are also collectively referred to as terminal device 3 below) for MU-MIMO transmission to which U units are connected. .
  • the number of reception antennas and the number of ranks of each terminal device 3 are the same, but the number of reception antennas and the number of ranks may differ for each terminal device 3. Further, as long as U ⁇ L ⁇ Nt and L ⁇ Nr are satisfied, the number of ranks and the number of receiving antennas do not need to be the same.
  • OFDM orthogonal frequency division multiplexing
  • the base station apparatus 1 acquires propagation path information to each terminal apparatus 3 from the control information notified from each terminal apparatus 3, and performs precoding for each subcarrier on transmission data based on the propagation path information.
  • OFDM orthogonal frequency division multiplexing
  • CSI between the base station device 1 and the terminal device 3 is defined.
  • a quasi-static frequency selective fading channel is assumed.
  • the channel matrix H (k) is defined as shown in Equation (1).
  • h u (k) represents an N r ⁇ N t matrix composed of complex channel gains observed by the u th terminal apparatus 3-u.
  • CSI refers to a matrix composed of complex channel gains.
  • the CSI estimated by the u-th terminal apparatus 3-u is h u (k).
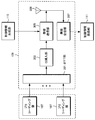
  • FIG. 2 is a block diagram showing a configuration of the base station apparatus 1 according to the first embodiment of the present invention.
  • the base station apparatus 1 includes a channel encoding unit 101, a data modulation unit 103, a mapping unit 105, a precoding unit 107, an antenna unit 109, a control information acquisition unit 111, a propagation
  • the road information acquisition unit 113 and the control information generation unit 115 are included.
  • Precoding section 107 is the number of subcarriers N c
  • the antenna unit 109 is present respectively by the number of transmit antennas N t.
  • the data modulation unit 103 After the channel coding unit 101 performs channel coding on the transmission data sequence addressed to each terminal device 3, the data modulation unit 103 performs digital data modulation such as QPSK and 16QAM. The data modulation unit 103 inputs the data signal subjected to data modulation to the mapping unit 105.
  • the mapping unit 105 performs mapping (also called scheduling or resource allocation) in which each piece of data is allocated to a specified radio resource (also called a resource element or simply a resource).
  • the radio resource mainly refers to frequency, time, code, and space.
  • the radio resource to be used is determined based on the reception quality observed by the terminal device 3, the orthogonality of the propagation path between the spatially multiplexed terminals, and the like. In the present embodiment, it is assumed that the radio resources to be used are determined in advance and can be grasped by both the base station device 1 and each terminal device 3. Note that mapping section 105 also performs multiplexing of a known reference signal sequence for performing propagation path estimation in each terminal device 3.
  • the reference signals addressed to each terminal device 3 are multiplexed so as to be orthogonal to each other so that they can be separated in the received terminal device 3.
  • the reference signal is multiplexed with two reference signals, CSI-reference signal (CSI-RS) that is a reference signal for channel estimation and Demodulation reference signal (DMRS) that is a specific reference signal for demodulation.
  • CSI-RS CSI-reference signal
  • DMRS Demodulation reference signal
  • another reference signal may be further multiplexed.
  • the CSI-RS is for estimating a propagation path matrix observed in each terminal apparatus 3, and the DMRS is for estimating propagation path information reflecting a precoding result to be described later.
  • the mapping unit 105 performs mapping so that the data signal, DMRS, and CSI-RS are transmitted at different times or frequencies.
  • mapping section 105 arranges CSI-RS so as to be orthogonal between transmission antennas. Further, mapping section 105 arranges DMRSs so as to be orthogonal between terminal apparatuses and associated data streams. Mapping section 105 inputs the mapped data information and the like to corresponding subcarrier precoding section 107.
  • FIG. 3 is a block diagram showing a device configuration of the precoding unit 107 according to the first embodiment of the present invention.
  • the precoding unit 107 includes a linear filter generation unit 201, a perturbation vector search unit 203, and a transmission signal generation unit 205.
  • H (k) is ideally acquired by the propagation path information acquisition unit 113, and the index k is omitted for simplicity.
  • the precoding unit 107 first calculates a linear filter W for suppressing IUI in the linear filter generation unit 201.
  • the linear filter W to be generated is not limited to something, although it is necessary to consider simultaneously transmitting a plurality of data to each terminal device 3. In the following description, it is assumed that a linear filter based on the block diagonalization method is calculated.
  • each terminal device 3 receives a data signal addressed to another terminal device 3 as an IUI and a plurality of data addressed to itself. Also interfere with each other. This is called inter-antenna interference (IAI).
  • IAI inter-antenna interference
  • a linear filter based on block diagonalization is a filter that suppresses only the IUI.
  • the linear filter W is a filter that converts the propagation path matrix H as shown in Expression (2).
  • the linear filter W In order to make the linear filter W an orthogonal matrix, it is only necessary to appropriately combine the terminal apparatuses 3 to be spatially multiplexed. However, such control reduces the fairness of the communication opportunity of each terminal apparatus 3. Therefore, it is desirable not to limit the combination of the terminal devices 3. Further, when the number of terminal devices 3 connected to the base station device 1 is small, there may be no combination of the terminal devices 3 in which the linear filter W is an orthogonal matrix. As a method of avoiding an increase in required transmission power, a method of adding a perturbation term to transmission data can be considered. Precoding on the premise that a perturbation term is added to transmission data is called nonlinear precoding.
  • the perturbation term is expressed as a complex number obtained by multiplying a predetermined real number 2 ⁇ by an arbitrary Gaussian integer.
  • the perturbation term is removed by applying signal processing called modulo operation (also called modulo operation or remainder operation) to the received signal in the terminal device 3.
  • modulo operation also called modulo operation or remainder operation
  • the real number 2 ⁇ is also called a modulo width, and may be any value as long as it is shared between the base station apparatus 1 and the terminal apparatus.
  • the perturbation term to be explored is to minimize the required transmission power, but if the desired frequency utilization efficiency and reception quality are preset, the desired quality is achieved. It is enough to explore possible perturbation terms.
  • the total number of transmission data to be spatially multiplexed is U ⁇ L, and a perturbation term can be added to each.
  • the perturbation term can be selected from arbitrary Gaussian integers, even if the number of selectable Gaussian integers is limited to K, combinations of the perturbation terms that can be added to the transmission data range in total to UL . Exploring everything is not realistic. Therefore, the number of selectable Gaussian integers should be extremely reduced, or perturbation terms with required transmission power exceeding a certain level should be excluded from the search candidates (this method is called Sphere encoding). It is necessary to limit the number of combinations.
  • the perturbation term search method is not limited to anything.
  • the perturbation term may be searched based on Sphere encoding.
  • the perturbation vector search unit 203 has searched for an optimal perturbation term by some method.
  • 2 ⁇ z t, u, l represents a perturbation term added to the l-th transmission data addressed to the u-th terminal device 3-u.
  • transmission power normalization is performed for each subcarrier.
  • power normalization may be performed so that the total transmission power of a plurality of subcarriers and OFDM signals is constant.
  • the search for the perturbation vector z t may also be controlled in consideration of the total required transmission power.
  • the transmission signal vector calculated by the transmission signal generation unit 205 is input to the antenna unit 109 as an output of the precoding unit 107.
  • the precoding process is not performed, only the transmission power is adjusted and output to antenna section 109.
  • DMRS is input, only the linear filter W is multiplied, and the perturbation term is not added. At this time, it is necessary to use the same power normalization term ⁇ as that multiplied by the data signal. Therefore, the data signals subjected to DMRS and precoding may be controlled so as to normalize transmission power collectively.
  • precoding section 107 outputs only the transmission signal vector.
  • the precoding unit 107 may output control information associated with the prior probability of the perturbation term added to the data signal by the precoding unit 107 in addition to the transmission signal vector.
  • control information what actually measured the occurrence probability of z t, u is quantized, and values of z t, u that are equal to or higher than a certain occurrence probability are conceivable.
  • the occurrence probability may be calculated for each quadrant in the complex plane. Alternatively, 1-bit information indicating whether or not a perturbation term is added may be used.
  • the frequency of calculating the occurrence probability is not limited to anything, and may be for each OFDM signal, for each signal frame composed of a plurality of OFDM signals, or for each codeword when performing channel coding.
  • the control information generated in this way is input to a radio transmission unit 305 of the antenna unit 109 described later, separately from the transmission signal vector, and transmitted to each terminal device 3.
  • FIG. 4 is a block diagram showing a device configuration of the antenna unit 109 according to the first embodiment of the present invention.
  • the antenna unit 109 includes an IFFT unit 301, a GI insertion unit 303, a wireless transmission unit 305, a wireless reception unit 307, and an antenna 309.
  • IFFT unit 301 performs N c -point inverse fast Fourier transform (IFFT) or inverse discrete Fourier transform (IDFT) on the signal output from corresponding precoding unit 107. Apply, generate an OFDM signal having Nc subcarriers, and input to the GI insertion unit 303.
  • IFFT inverse fast Fourier transform
  • IDFT inverse discrete Fourier transform
  • the GI insertion unit 303 gives a guard interval to the input OFDM signal, and then inputs it to the wireless transmission unit 305.
  • the wireless transmission unit 305 converts the input baseband transmission signal into a radio frequency (RF) transmission signal and inputs the signal to the antenna 309.
  • the antenna 309 transmits the input RF band transmission signal.
  • the radio reception unit 307 receives information associated with CSI estimated by the terminal device 3 and outputs the information to the control information acquisition unit 111.
  • FIG. 5 is a block diagram showing a configuration of the terminal device 3 according to the first embodiment of the present invention.
  • the terminal device 3 includes a terminal antenna unit 401, a propagation path estimation unit 403, a feedback information generation unit 405, a propagation path compensation unit 407, a demapping unit 409, a data demodulation unit 411, a channel
  • the decoding unit 413 is included.
  • the terminal antenna 401 exists only the number of reception antennas N r.
  • the propagation path compensation unit 407 includes a space separation processing unit 415.
  • FIG. 6 is a block diagram showing a configuration of the terminal antenna unit 401 according to the first embodiment of the present invention.
  • the terminal antenna unit 401 includes a radio reception unit 501, a radio transmission unit 503, a GI removal unit 505, an FFT unit 507, and a reference signal separation unit 509.
  • a transmission signal transmitted from the base station apparatus 1 is first received by the antenna of each terminal antenna unit 401 and then input to the radio reception unit 501.
  • the wireless reception unit 501 converts the input signal into a baseband signal and inputs the signal to the GI removal unit 505.
  • the GI removal unit 505 removes the guard interval from the input signal and inputs it to the FFT unit 507.
  • FFT section 507 subjects the input signal, after applying fast Fourier transform of N c point (FFT) or discrete Fourier transform (DFT), it was converted to N c subcarrier component, the reference signal separator 509 is entered.
  • the reference signal separation unit 509 separates the input signal into a data signal component, a CSI-RS component, and a DMRS component.
  • the reference signal separation unit 509 inputs the data signal component to the propagation path compensation unit 407, and inputs the CSI-RS and DMRS to the propagation path estimation unit 403.
  • the signal processing described below is basically performed for each subcarrier.
  • the propagation path estimation unit 403 performs propagation path estimation based on the input known reference signals CSI-RS and DMRS. First, propagation path estimation using CSI-RS will be described. Since the CSI-RS is transmitted without applying precoding, the matrix h u (k) corresponding to each terminal device 3 among the channel matrix H (k) represented by the equation (1). Can be estimated. Normally, since CSI-RS is intermittently multiplexed with respect to radio resources, propagation path information of all subcarriers cannot be estimated directly, but at time intervals and frequency intervals that satisfy the sampling theorem. By transmitting CSI-RS, it is possible to estimate channel information of all subcarriers by appropriate interpolation. A specific propagation path estimation method is not particularly limited. For example, two-dimensional MMSE propagation path estimation may be used.
  • the propagation path estimation unit 403 inputs the propagation path information estimated based on the CSI-RS to the feedback information generation unit 405.
  • the feedback information generation unit 405 generates information to be fed back to the base station apparatus 1 according to the input propagation path information and the propagation path information format fed back by each terminal apparatus 3.
  • the propagation path information format is not limited to anything. For example, a method is conceivable in which estimated channel information is quantized with a finite number of bits and the quantized information is fed back. Further, feedback may be performed based on a code book that has been agreed with the base station apparatus 1 in advance. However, regardless of which propagation path information format is used, an error (quantization error) occurs between the propagation path information restored from the feedback information and the true propagation path information.
  • Feedback information generation section 405 inputs the generated signal to radio transmission section 503 of each terminal antenna section 401.
  • the wireless transmission unit 503 converts the input signal into a signal suitable for notifying the base station apparatus 1 and inputs the signal to the antenna of the terminal antenna unit 401.
  • the antenna of the terminal antenna unit 401 transmits the input signal toward the base station apparatus 1. Note that propagation path estimation using DMRS will be described later.
  • ⁇ h u w u G u
  • G u is the already described proper equivalent channel matrix. That is, the received signal of the u-th terminal apparatus 3-u can be regarded as a signal that has propagated through the N r ⁇ L MIMO propagation path.
  • G u can be estimated by channel estimation using the DMRS.
  • DMRSs are multiplexed so as to be orthogonal between terminal devices and between data streams, and perturbation terms are not added. For example, when DMRS is transmitted to the l-th data stream of the u-th terminal apparatus 3-u, the received signal is given by Equation (5).
  • p u, l denotes the DMRS being sent to the l-th to the u-th terminal device 3-u
  • s p is in transmitting the DMRS
  • transmission signal actually transmitted from the base station apparatus 1 Is a vector.
  • p u because l are known in the base station apparatus 1 and the u terminal device 3-u, channel estimator 403 can estimate the first l columns of G u.
  • the channel estimation unit 403 combines all of the estimation result by the other DMRS, we estimate the intrinsic equivalent channel matrix G u.
  • DMRSs need to be orthogonal to each other, and also need to be orthogonal to data signals and CSI-RSs. This means that it can not estimate the G u all subcarrier components directly.
  • Channel estimation unit 403 inputs the G u estimated on the basis of the DMRS to the propagation channel compensation unit 407.
  • the propagation channel compensation unit 407 based on the intrinsic equivalent channel matrix G u estimated by DMRS As has been described above, it demodulates the desired signal from the received signal r u.
  • the base station apparatus 1 performs precoding that suppresses not only IUI but also IAI, that is, precoding such that the unique equivalent channel matrix becomes a unit matrix. Therefore, simple signal detection is sufficient for the signal processing performed by the propagation path compensation unit 407.
  • IUI and IAI remain, and transmission characteristics are greatly deteriorated.
  • only IUI is suppressed in precoding.
  • the propagation path compensation unit 407 further requires signal space separation processing, and thus the complexity of the terminal device 3 increases.
  • the propagation path compensation unit 407 by performing channel compensation based on the intrinsic equivalent channel matrix G u estimated by DMRS, it can be suppressed residual IUI or residual IAI caused by feedback error.
  • each terminal device 3 There is a reception diversity combining technique as a conventional technique paying attention to this.
  • rank 1 transmission is performed for each terminal device 3, and precoding is assumed to be linear precoding.
  • the base station apparatus 1 performs precoding that completely suppresses the IUI, assuming that each terminal apparatus 3 has one reception antenna.
  • Each terminal apparatus 3 calculates an appropriate linear filter (in this case, the linear filter is an N r ⁇ 1 column vector) based on the eigen equivalent channel matrix estimated by the DMRS.
  • the desired signal is detected by multiplying the received signal by the linear filter.
  • the linear filter is based on the inherent equivalent channel matrix, and the terminal device 3 can suppress the influence of the residual IUI.
  • this method cannot suppress residual IAI that occurs during transmission of multiple ranks, which is the subject of this embodiment.
  • the propagation channel compensation unit 407 of the terminal apparatus 3 in the present embodiment based on the intrinsic equivalent channel matrix G u, by performing the signal space detection process considering residual IAI, nonlinear MU-MIMO which can suppress the influence of the feedback error Realize transmission.
  • the simplest method is spatial filtering. This is to multiply the linear filter W r, which is calculated based on G u in the received signal vector r u.
  • W r the linear filter
  • a method based on the ZF standard that completely suppresses the residual IAI and a method based on the MMSE standard that minimizes the mean square error between the transmission signal and the reception signal are considered. Given each.
  • ⁇ 2 is a variance of noise applied by the terminal device 3
  • I represents a unit matrix.
  • Channel compensation unit 407 outputs a signal obtained by multiplying the W r the received signal vector.
  • the propagation path compensation unit 407 in this embodiment can also perform maximum likelihood detection (Maximum Likelihood Detection (MLD)).
  • MLD Maximum Likelihood Detection
  • MLD is a method of detecting a vector having the highest likelihood with respect to a received signal vector among all vector candidates that can be taken by a transmitted signal vector.
  • MLD can be realized by solving the minimization problem expressed by Equation (7).
  • S represents a set of modulation scheme candidate points applied to the data signal.
  • C z represents a set of Gaussian integers.
  • the propagation path compensation unit 407 outputs a vector that satisfies Expression (7).
  • the perturbation term is expressed by an arbitrary Gaussian integer, it is almost impossible to search for all transmission signal vector candidates. It is. Therefore, when nonlinear precoding is performed, it is essential to limit the number of candidates to be searched even in MLD.
  • the signal point candidate restriction method is not limited to anything. In the following, a method based on the M algorithm will be described.
  • M candidate points are detected in order from the closest to r ′ u, L for the x u, L signal point candidates.
  • 2 is calculated as a metric value, and M signal point candidates x u, L, 1 to x u, What is necessary is just to obtain L and M.
  • R x, y represents the x row y column component of the matrix R.
  • signal point candidates for x u, L ⁇ 1 are detected.
  • the metric values are given as
  • 2 is calculated.
  • metric values are obtained using M candidates already detected.
  • a pair of x u, L ⁇ 1 and x u, L signal point candidates that gives M metrics in ascending order of all the obtained metric values is obtained.
  • the above processing is repeated until a signal point candidate of x u, 1 is detected, and a signal point candidate that finally gives a pair of signal point candidates with the smallest metric is a transmission signal addressed to the own apparatus.
  • FIG. 7 is a flowchart illustrating signal processing in the propagation path compensation unit 407 according to the first embodiment of the present invention.
  • QR decomposition is applied to Gu, and Gu is decomposed into a product of unitary matrix Q and upper triangular matrix R (step S101).
  • the value of parameter l for controlling the repetition process is initialized to L (step S102). If l> 0 (step S103: Yes), metric values of x u, l are calculated in consideration of already detected signal point candidates (step S104). Thereafter, a pair of M signal point candidates is detected in ascending order of the metric value (step S105), the value of the parameter l is decremented (step S106), and the process returns to step S103.
  • l 0 (step S103: No)
  • a pair of signal point candidates giving the smallest metric value among the detected signal point candidates is output (step S107).
  • signal point candidates may be detected by a method based on Sphere decoding.
  • the transmission characteristics largely depend on the accuracy of the signal candidate points of du , L + 2 ⁇ z t, u, L detected first, the lowest of the diagonal components of the upper triangular matrix R R L which is a component, L the larger such columns as possible interchanged (ordering) may be pre Hodokose against G u.
  • L + 2 ⁇ z t, u, L is detected, it may be configured to reorder again.
  • the base station apparatus 1 is configured to notify each terminal apparatus 3 of control information associated with the prior probability of the perturbation term.
  • the control information is input to the propagation path compensation unit 407, and can be used to limit the perturbation term candidate points, that is, to set the value of K. For example, it is possible to control so as not to search for a perturbation term whose prior probability is a certain value or less.
  • a search is performed based on Equation (7), and the addition is performed. Otherwise, a search in the case where the conventional linear precoding is performed (that is, a search that does not consider z t, u ) may be performed.
  • Prior probabilities are not limited to signal point candidates, but can also be used to weight the likelihood calculated for each candidate point.
  • hierarchical detection for example, detection of signal point candidates of du , L-1 + 2 ⁇ z t, u, L-1 detects signal point candidates of du , L + 2 ⁇ z t, u, L.
  • the likelihood calculated at this time is also taken into consideration.
  • a value obtained by directly multiplying the likelihood by the prior probability of z t, u, L can be used as the new likelihood.
  • the likelihood weighting may be performed in any way as long as the prior probability is reflected.
  • the terminal device 3 may perform signal processing assuming that the prior probabilities of the perturbation term are all equal.
  • the prior probability of the perturbation term can be calculated separately and used for spatial signal detection.
  • the perturbation term added in the nonlinear precoding is selected so as to reduce the required transmission power as much as possible, and is added to the transmission data. Therefore, there is a high probability that a perturbation term existing in a quadrant having a point-symmetrical relationship with a quadrant in which signal points of transmission data exist is added. For example, when the signal point of transmission data is included in the first quadrant, the perturbation term to be added is likely to be included in the third quadrant.
  • the perturbation terms included in the third quadrant are included in the third quadrant. You may control to search in detail (that is, increase the number of candidates). Similarly, likelihood weighting may be performed.
  • the propagation path compensation unit 407 can use either detection based on linear filtering or detection based on MLD, it may be switched according to desired transmission characteristics and permissible complexity. Of course, a configuration in which only one of the detections is possible is possible.
  • detection based on MLD it is possible to perform signal detection using the prior probability of the perturbation term notified from the base station apparatus 1, and when the prior probability is not notified from the base station apparatus 1, It is also possible to calculate the prior probability by the propagation path compensation unit 407 and use it for signal detection.
  • the output of the propagation path compensation unit 407 is then input to the demapping unit 409.
  • the demapping unit 409 of each terminal device 3 extracts transmission data addressed to itself from radio resources used for transmission of transmission data addressed to itself.
  • the demapping unit 409 inputs the extracted data to the data demodulation unit 411.
  • the data demodulation unit 411 performs data demodulation on the input data and inputs the data to the channel decoding unit 413.
  • the channel decoding unit 413 performs channel decoding on the input data.
  • the output of the reference signal separation unit 509 is input to the demapping unit 409 first, only the radio resource component corresponding to the own device is input to the propagation channel compensation unit 407, and the output of the propagation channel compensation unit 407 is data demodulated. It may be configured to input to the unit 411.
  • the output of the propagation path compensation unit 407 is a state in which a perturbation term is added to the transmission data transmitted from the base station device 1 to each terminal device 3.
  • the perturbation term can be removed by performing a modulo operation. Therefore, the data demodulation unit 411 may perform a modulo operation on the input signal.
  • a signal candidate point that can be taken by the data signal to which the perturbation term is added is any one of signal points in which the signal candidate point of the original modulation signal is periodically repeated in the signal point space. In the modulo calculation, a signal point closest to the output of the propagation path compensation unit 407 is detected.
  • the log likelihood ratio can be calculated based on the distance (likelihood) between the signal point that is periodically repeated and the output of the propagation path compensation unit 407 without performing the modulo operation.
  • the modulo operation need not be performed.
  • the base station apparatus 1 can estimate the CSI of downlink transmission (CSI described in the formula (1) in the present embodiment) from the uplink transmission. This causes phase rotation of the signal. Therefore, even in a communication system using time division duplex, there is an error between the CSI that can be grasped by the base station apparatus 1 and the actual CSI.
  • the present embodiment can compensate for the characteristic deterioration that occurs in this way.
  • OFDM signal transmission is performed and precoding is performed for each subcarrier, but there is no limitation on the transmission scheme (or access scheme) and the precoding application unit.
  • the present embodiment is also applicable when precoding is performed for each resource block in which a plurality of subcarriers are grouped.
  • a single carrier-based access scheme for example, single carrier frequency division multiple access (SC- (FDMA) method.
  • each terminal apparatus 3 in which a plurality of transmission data is simultaneously transmitted to each terminal apparatus 3 and nonlinear precoding is performed in which a perturbation term is added to each transmission data, each terminal apparatus 3 The case where the spatial signal detection process is performed based on the inherent equivalent channel matrix estimated by DMRS was targeted.
  • non-linear precoding that adds perturbation terms has a characteristic transmission characteristic deterioration factor called modulo loss. Therefore, if the received signal-to-noise power ratio is the same, the received signal with the perturbation term added and the received signal without the perturbation term added are the received signal without the perturbation term added. The transmission characteristics are good.
  • the second embodiment is directed to a method that considers the influence of modulo loss.
  • Base station apparatus 1 The configuration of the base station apparatus 1 according to the second embodiment is the same as FIG. However, since the signal processing in the precoding unit 107 is different from that in the first embodiment, the signal processing in the precoding unit 107 will be described below.
  • the configuration of the precoding unit 107 is the same as that in FIG. 3, but the signal processing in the perturbation vector search unit 203 is different.
  • the perturbation term is searched for as it is possible to add the perturbation term to any of the data signals.
  • a restriction is added to a data signal that can add perturbation terms.
  • each terminal device 3 performs ordering on the inherent equivalent channel matrix so that signal detection is performed from the data signal to which the perturbation term is not added. This can reduce the influence of error propagation caused by detection errors when performing hierarchical spatial signal detection. There are several methods for selecting M data signals that do not add perturbation terms.
  • the first method is a method of fixing a data signal that does not add perturbation terms.
  • the base station device 1 needs to notify the terminal device 3 of the order in which the data signals are transmitted.
  • a notification method there is a control method using information called an antenna port number.
  • antenna port numbers it can be expressed that du, 1 is transmitted by antenna port 1 and du, L is transmitted by antenna port L.
  • the relationship between the antenna port number and the order of sending data signals is determined in advance between the base station apparatus 1 and each terminal apparatus 3. Therefore, if the base station apparatus 1 notifies each terminal apparatus 3 of the antenna port number being used, the terminal apparatus 3 can acquire transmission data addressed to itself.
  • terminal device 3 when control is performed so that the perturbation term is not added from antenna port 1 to antenna port L ′, terminal device 3 is transmitted from antenna port 1 to antenna port L ′. Signal processing can be performed assuming that no perturbation term is added to the signal.
  • the base station apparatus 1 only needs to notify the terminal apparatus 3 of only the value of L ′. When the value of L ′ is determined in advance, the notification of L ′ is not necessary.
  • the second method is a method of determining a data signal that does not add perturbation terms, assuming an ordering process performed by the terminal device 3 on the intrinsic equivalent channel matrix.
  • the propagation path compensation unit 407 of the terminal device 3 uses the MLD that performs hierarchical estimation as the spatial signal detection process, it is already possible to improve detection accuracy by ordering the inherent equivalent propagation path matrix.
  • the base station apparatus 1 can grasp the inherent equivalent channel matrix. Therefore, the base station apparatus 1 can grasp what ordering each terminal apparatus 3 performs. Therefore, the base station apparatus 1 orders the unique equivalent channel matrix of each terminal apparatus 3, and in the transmission data vector after the ordering, perturbation terms are used for transmission data arranged from the end to L ′. It is sufficient to control so as not to add.
  • the norm of ordering needs to be determined in advance between the base station device 1 and the terminal device 3.
  • the terminal device 3 can perform detection from the data signal to which the perturbation term is not added by ordering the inherent equivalent channel matrix based on a predetermined rule.
  • the base station device 1 only needs to notify the terminal device 3 of only the value of L ′. Similar to the first method, when the value of L ′ is determined in advance, the notification of L ′ is not necessary. A method of selecting a data signal that does not perform perturbation term addition as described above will be described with reference to FIG.
  • FIG. 8 is a flowchart for explaining signal processing for determining a data signal to which no perturbation term is added, which is performed in the perturbation vector search unit 203 of the precoding unit 107 according to the second embodiment of the present invention.
  • a selection method is determined (step S201).
  • step S201 first method
  • only the number of data L ′ to which the perturbation term is not added is output (step S202), and the process ends.
  • step S203 When based on the second method (step S203: second method), first, the eigenpath matrix G u of each terminal device 3 is calculated (step S204), and with respect to G u , between the terminal device 3 and Based on a predetermined method, an ordering process is performed to calculate information (permutation matrix or the like) indicating the ordering order (step S205). Then, information indicating the number of data L ′ to which the perturbation term is not added and the ordering order is output, and the process ends.
  • information permutation matrix or the like
  • the perturbation vector search unit 203 of the precoding unit 107 determines a data signal to which the perturbation term is not added. Under this condition, a perturbation term that can minimize the required transmission power is searched.
  • the actual perturbation term searching method is the same as in the first embodiment, except that it is always assumed that 0 is always added as a perturbation term to a data signal to which no perturbation term is added.
  • the transmission signal generation unit 205 generates a transmission signal vector based on the perturbation term output from the perturbation vector search unit 203, and outputs it as the output of the precoding unit 107.
  • the base station apparatus 1 needs to newly notify the terminal apparatus 3 as control information of a data signal selection method in which the perturbation term is not added and L ′ indicating the number of data in which the perturbation term is not added. is there.
  • the control information is input to the wireless transmission unit 305 of the antenna unit 109 and transmitted toward each terminal device 3.
  • control may be performed so that one method is always used, or a plurality of methods are selectively used. You may control as follows. However, when a plurality of methods are selectively used, the base station device 1 needs to notify the terminal device 3 of the method being used.
  • terminal device 3 The configuration of the terminal device 3 is the same as in FIG. 5, and the signal processing performed in each device is the same except for the propagation path compensation unit 407. Only the signal processing in the propagation path compensation unit 407 will be described below.
  • signal processing in the propagation channel compensation unit 407 differs from the first embodiment is ordering method for intrinsic equivalent channel matrix G u.
  • the first embodiment when subjected to QR decomposition on G u, it was assumed to perform the larger such ordering as possible trailing diagonal of the upper triangular matrix R.
  • ordering is performed so that signal detection is performed from transmission data in which no perturbation term is added.
  • FIG. 9 is a flow chart illustrating the ordering process for the specific channel matrix G u in the propagation channel compensation unit 407 according to the second embodiment of the present invention.
  • the perturbation terms are added.
  • no data signal d u, 1 ⁇ d u, either L ' is subjected to ordering against G u as best facing down (step S302).
  • signal point candidates are detected from the data signals du, 1 to du, L ′ when the hierarchical MLD is detected based on the M algorithm described in the first embodiment.
  • information indicating the ordering order is output (step S303), and the process ends.
  • step S301 second method
  • the eigenpath matrix is determined based on the ordering method that has been determined in advance with the base station apparatus 1. Is subjected to ordering (step S304), information indicating the ordering order is output (step S303), and the process ends.
  • Hierarchical detection may be performed based on the ordering order obtained as described above, but it is assumed that the perturbation term is not added from the first detected data signal to the data signal up to L ′.
  • the transmission data is detected. That is, detection may be performed assuming that 0 is always added to the transmission data as a perturbation term.
  • MLD using QR decomposition is mainly targeted for hierarchical detection, but another hierarchical detection method may be used.
  • SIC successive interference canceller
  • this method first, one of a plurality of transmission data is detected by spatial filtering, that is, a soft estimated value is obtained. Then, the signal replica calculated from the detected soft estimated value and the inherent equivalent channel matrix is subtracted from the received signal before the spatial filtering is performed, and the spatial filtering is performed again.
  • the basic idea of SIC is to repeat the above signal processing until a soft estimate of all transmission data is detected.
  • the accuracy of the signal replica calculated from the soft estimate that is detected first greatly affects the transmission characteristics. For this reason, normally, a signal replica is generated from a soft estimated value that gives the largest received signal-to-interference + noise power ratio. Therefore, in the present embodiment, when spatial signal detection is performed by SIC, detection may be performed from a soft estimation value associated with transmission data to which a perturbation term is not added.
  • the hierarchical detection can further improve the data detection accuracy by detecting all the transmission data once and then performing detection again based on the detection result. Since a series of detections can be repeated any number of times, such detection is also referred to as repeated signal detection. At that time, the channel decoding result of the detected transmission data can be used for the next signal detection. In this case, even when performing channel decoding, signal detection accuracy can be further improved by performing channel decoding in consideration of the presence or absence of the addition of perturbation terms to transmission data. Note that, when performing channel decoding, considering the presence or absence of addition of perturbation terms is effective for improving transmission characteristics regardless of the method of spatial signal detection processing.
  • the precoding method and the spatial signal detection processing method for the purpose of improving the deterioration of transmission characteristics due to modulo loss have been clarified. According to the method of the present embodiment, the influence of modulo loss can be suppressed without extremely increasing the overhead.
  • the program that operates in the mobile station apparatus and the base station apparatus 1 related to the present invention is a program (a program that causes a computer to function) that controls the CPU and the like so as to realize the functions of the above-described embodiments related to the present invention.
  • Information handled by these devices is temporarily stored in the RAM at the time of processing, then stored in various ROMs and HDDs, read out by the CPU, and corrected and written as necessary.
  • a recording medium for storing the program a semiconductor medium (for example, ROM, nonvolatile memory card, etc.), an optical recording medium (for example, DVD, MO, MD, CD, BD, etc.), a magnetic recording medium (for example, magnetic tape, Any of a flexible disk etc. may be sufficient.
  • the processing is performed in cooperation with the operating system or other application programs.
  • the functions of the invention may be realized.
  • the program when distributing to the market, can be stored in a portable recording medium for distribution, or transferred to a server computer connected via a network such as the Internet.
  • the storage device of the server computer is also included in the present invention.
  • LSI which is typically an integrated circuit.
  • Each functional block of the mobile station apparatus and the base station apparatus 1 may be individually made into a processor, or a part or all of them may be integrated into a processor.
  • the method of circuit integration is not limited to LSI, and may be realized by a dedicated circuit or a general-purpose processor.
  • an integrated circuit based on the technology can also be used.

Landscapes

  • Engineering & Computer Science (AREA)
  • Signal Processing (AREA)
  • Computer Networks & Wireless Communication (AREA)
  • Power Engineering (AREA)
  • Radio Transmission System (AREA)
PCT/JP2013/063154 2012-05-11 2013-05-10 無線受信装置、無線送信装置、無線通信システム、プログラムおよび集積回路 Ceased WO2013168792A1 (ja)

Priority Applications (1)

Application Number Priority Date Filing Date Title
US14/399,990 US20150098402A1 (en) 2012-05-11 2013-05-10 Wireless reception device, wireless transmission device, wireless communication system, program, and integrated circuit

Applications Claiming Priority (2)

Application Number Priority Date Filing Date Title
JP2012-109623 2012-05-11
JP2012109623A JP5859913B2 (ja) 2012-05-11 2012-05-11 無線受信装置、無線送信装置、無線通信システム、プログラムおよび集積回路

Publications (1)

Publication Number Publication Date
WO2013168792A1 true WO2013168792A1 (ja) 2013-11-14

Family

ID=49550824

Family Applications (1)

Application Number Title Priority Date Filing Date
PCT/JP2013/063154 Ceased WO2013168792A1 (ja) 2012-05-11 2013-05-10 無線受信装置、無線送信装置、無線通信システム、プログラムおよび集積回路

Country Status (3)

Country Link
US (1) US20150098402A1 (enExample)
JP (1) JP5859913B2 (enExample)
WO (1) WO2013168792A1 (enExample)

Families Citing this family (6)

* Cited by examiner, † Cited by third party
Publication number Priority date Publication date Assignee Title
JP6047743B2 (ja) * 2013-01-15 2016-12-21 株式会社国際電気通信基礎技術研究所 無線通信システム、無線通信装置および無線通信方法
JP6405155B2 (ja) * 2014-08-27 2018-10-17 三星電子株式会社Samsung Electronics Co.,Ltd. 信号処理装置、信号処理方法、及びプログラム
EP3169028B1 (en) * 2015-11-13 2020-09-23 Institut Mines Telecom Semi-exhaustive recursive block decoding method and device
US10079626B1 (en) * 2017-05-03 2018-09-18 Litepoint Corporation Method for enabling confirmation of expected phase shifts of radio frequency signals emitted from an antenna array
US11184205B2 (en) * 2018-05-10 2021-11-23 Ntt Docomo, Inc. Reception apparatus and transmission apparatus
WO2025065539A1 (zh) * 2023-09-28 2025-04-03 Oppo广东移动通信有限公司 无线通信方法、装置、设备及存储介质

Citations (1)

* Cited by examiner, † Cited by third party
Publication number Priority date Publication date Assignee Title
WO2012060177A1 (ja) * 2010-11-02 2012-05-10 シャープ株式会社 基地局装置、移動局装置及びそれらを用いた無線通信システム

Family Cites Families (6)

* Cited by examiner, † Cited by third party
Publication number Priority date Publication date Assignee Title
US8320301B2 (en) * 2002-10-25 2012-11-27 Qualcomm Incorporated MIMO WLAN system
US20050047517A1 (en) * 2003-09-03 2005-03-03 Georgios Giannakis B. Adaptive modulation for multi-antenna transmissions with partial channel knowledge
US7522562B2 (en) * 2004-10-06 2009-04-21 Broadcom Corporation Method and system for channel estimation in a spatial multiplexing MIMO system
JP4765322B2 (ja) * 2005-01-21 2011-09-07 ソニー株式会社 無線通信システム、無線通信装置及び無線通信方法、並びにコンピュータ・プログラム
EP1913724A2 (en) * 2005-08-12 2008-04-23 Nokia Corporation Method, system, apparatus and computer program product for placing pilots in a multicarrier mimo system
RU2405252C2 (ru) * 2009-01-21 2010-11-27 Корпорация "САМСУНГ ЭЛЕКТРОНИКС Ко., Лтд." Способ передачи-приема сигнала в многопользовательской системе радиосвязи с множеством передающих и множеством приемных антенн

Patent Citations (1)

* Cited by examiner, † Cited by third party
Publication number Priority date Publication date Assignee Title
WO2012060177A1 (ja) * 2010-11-02 2012-05-10 シャープ株式会社 基地局装置、移動局装置及びそれらを用いた無線通信システム

Non-Patent Citations (1)

* Cited by examiner, † Cited by third party
Title
MANAR MOHAISEN ET AL.: "Fixed-complexity vector perturbation with block diagonalization for MU- MIMO systems", COMMUNICATIONS (MICC), 2009 IEEE 9TH MALAYSIA INTERNATIONAL CONFERENCE, 15 December 2009 (2009-12-15) *

Also Published As

Publication number Publication date
JP2013239774A (ja) 2013-11-28
US20150098402A1 (en) 2015-04-09
JP5859913B2 (ja) 2016-02-16

Similar Documents

Publication Publication Date Title
JP5804594B2 (ja) プリコーディング装置、プリコーディング用プログラムおよび集積回路
US9008166B2 (en) Filter calculating device, transmitting device, receiving device, processor, and filter calculating method
JP5908307B2 (ja) プリコーディング装置、無線送信装置、無線受信装置、無線通信システムおよび集積回路
US20160173175A1 (en) Base station apparatus, terminal apparatus, wireless communication system, and integrated circuit
US20150282144A1 (en) Base station device, terminal device and wireless communication system
JP6019298B2 (ja) 無線通信システム、無線送信装置および無線通信方法
JP5859913B2 (ja) 無線受信装置、無線送信装置、無線通信システム、プログラムおよび集積回路
WO2010150313A1 (ja) 通信装置
US9673881B2 (en) Terminal device, base station device, wireless communication system, reception method, and integrated circuit
US8976881B2 (en) Wireless receiving apparatus and program
WO2011152308A1 (ja) 受信装置、送信装置及びそれらを用いた無線通信システム
WO2014122850A1 (ja) 基地局装置、プリコーディング方法、集積回路、無線通信システム
JP2015056690A (ja) 端末装置および受信装置
JP5909104B2 (ja) 無線送信装置、無線受信装置、無線通信システムおよびプリコーディング方法
WO2013018466A1 (ja) 受信装置、プログラムおよび集積回路
JP6047744B2 (ja) 無線通信システム、無線通信装置および無線通信方法
JP2013123196A (ja) プリコーディング装置、無線送信装置、プリコーディング方法、プログラムおよび集積回路
JP5753041B2 (ja) 無線送信装置、無線受信装置、および無線通信システム
JP5802942B2 (ja) 無線通信システム、無線送信装置および無線通信方法
JP6047743B2 (ja) 無線通信システム、無線通信装置および無線通信方法
JP6083598B2 (ja) 無線通信システム、無線通信装置および無線通信方法
JP2013126144A (ja) 送信装置、受信装置および通信システム

Legal Events

Date Code Title Description
121 Ep: the epo has been informed by wipo that ep was designated in this application

Ref document number: 13788003

Country of ref document: EP

Kind code of ref document: A1

WWE Wipo information: entry into national phase

Ref document number: 14399990

Country of ref document: US

NENP Non-entry into the national phase

Ref country code: DE

122 Ep: pct application non-entry in european phase

Ref document number: 13788003

Country of ref document: EP

Kind code of ref document: A1