WO2013154041A1 - 電子機器 - Google Patents

電子機器 Download PDF

Info

Publication number
WO2013154041A1
WO2013154041A1 PCT/JP2013/060445 JP2013060445W WO2013154041A1 WO 2013154041 A1 WO2013154041 A1 WO 2013154041A1 JP 2013060445 W JP2013060445 W JP 2013060445W WO 2013154041 A1 WO2013154041 A1 WO 2013154041A1
Authority
WO
WIPO (PCT)
Prior art keywords
panel
electronic device
slide cover
edge
housing
Prior art date
Legal status (The legal status is an assumption and is not a legal conclusion. Google has not performed a legal analysis and makes no representation as to the accuracy of the status listed.)
Ceased
Application number
PCT/JP2013/060445
Other languages
English (en)
French (fr)
Japanese (ja)
Other versions
WO2013154041A9 (ja
Inventor
卓 曽我部
康宏 鳳
Current Assignee (The listed assignees may be inaccurate. Google has not performed a legal analysis and makes no representation or warranty as to the accuracy of the list.)
Sony Interactive Entertainment Inc
Original Assignee
Sony Computer Entertainment Inc
Priority date (The priority date is an assumption and is not a legal conclusion. Google has not performed a legal analysis and makes no representation as to the accuracy of the date listed.)
Filing date
Publication date
Application filed by Sony Computer Entertainment Inc filed Critical Sony Computer Entertainment Inc
Priority to US14/391,699 priority Critical patent/US9105296B2/en
Priority to IN2293KON2014 priority patent/IN2014KN02293A/en
Priority to EP13775852.0A priority patent/EP2838088B1/en
Priority to RU2014145521/28A priority patent/RU2593683C2/ru
Priority to CN201380017420.4A priority patent/CN104205223B/zh
Priority to JP2014510146A priority patent/JP5818976B2/ja
Publication of WO2013154041A1 publication Critical patent/WO2013154041A1/ja
Publication of WO2013154041A9 publication Critical patent/WO2013154041A9/ja
Anticipated expiration legal-status Critical
Ceased legal-status Critical Current

Links

Images

Classifications

    • GPHYSICS
    • G11INFORMATION STORAGE
    • G11BINFORMATION STORAGE BASED ON RELATIVE MOVEMENT BETWEEN RECORD CARRIER AND TRANSDUCER
    • G11B17/00Guiding record carriers not specifically of filamentary or web form, or of supports therefor
    • G11B17/02Details
    • G11B17/04Feeding or guiding single record carrier to or from transducer unit
    • G11B17/0401Details
    • G11B17/0405Closing mechanism, e.g. door
    • GPHYSICS
    • G11INFORMATION STORAGE
    • G11BINFORMATION STORAGE BASED ON RELATIVE MOVEMENT BETWEEN RECORD CARRIER AND TRANSDUCER
    • G11B33/00Constructional parts, details or accessories not provided for in the other groups of this subclass
    • G11B33/02Cabinets; Cases; Stands; Disposition of apparatus therein or thereon
    • G11B33/022Cases
    • GPHYSICS
    • G11INFORMATION STORAGE
    • G11BINFORMATION STORAGE BASED ON RELATIVE MOVEMENT BETWEEN RECORD CARRIER AND TRANSDUCER
    • G11B33/00Constructional parts, details or accessories not provided for in the other groups of this subclass
    • G11B33/02Cabinets; Cases; Stands; Disposition of apparatus therein or thereon
    • G11B33/027Covers
    • GPHYSICS
    • G11INFORMATION STORAGE
    • G11BINFORMATION STORAGE BASED ON RELATIVE MOVEMENT BETWEEN RECORD CARRIER AND TRANSDUCER
    • G11B33/00Constructional parts, details or accessories not provided for in the other groups of this subclass
    • G11B33/14Reducing influence of physical parameters, e.g. temperature change, moisture, dust
    • G11B33/1406Reducing the influence of the temperature
    • G11B33/1413Reducing the influence of the temperature by fluid cooling
    • G11B33/142Reducing the influence of the temperature by fluid cooling by air cooling

Definitions

  • the present invention relates to an electronic device that can use an optical disk.
  • An electronic device having a slot needs a loading mechanism for transporting an optical disk inserted into the slot into the electronic device.
  • Such a mechanism includes relatively expensive parts, which increases the cost of the electronic device.
  • the electronic device 1 has a slide cover 10, a front panel 2, a rear panel 3, and a second side portion 22 ⁇ / b> B included in the housing 20, which will be described later, on the upper surface thereof.
  • the upper surface of the electronic device 1 is curved so that the position of the central portion in the front-rear direction of the upper surface is higher than the front edge 1b and the rear edge 1c.
  • the upper surface of the electronic device 1 is curved from the front edge 1b to the rear edge 1c. That is, the upper surface of the electronic device 1 is curved in the entire region from the front edge 1b to the rear edge 1c.
  • the electronic apparatus 1 of this example has a substantially elliptical columnar upper portion 1A having an axis C1 (see FIG. 1) along the left-right direction.
  • the side surface of the upper part 1 ⁇ / b> A of the electronic device 1 is elliptical and has a long axis A.
  • the plane including the major axis A and the axis C1 is horizontal. That is, the plane including the long axis A and the axis C1 is parallel to the bottom surface of the electronic device 1 (specifically, the bottom surface of the lower part 1B described later).
  • the upper surface of the electronic device 1 constitutes a portion above the plane including the major axis A and the axis C1 in the outer peripheral surface of the elliptic cylinder.
  • the slide cover 10 is slidable in the left-right direction between a closed position (FIG. 1) that covers the media storage portion 22a and an open position (FIG. 2) that exposes the media storage portion 22a.
  • the slide cover 10 is curved in accordance with the upper surface of the electronic device 1 described above. That is, the slide cover 10 is curved so that the position of the center portion in the front-rear direction is higher than the front edge and the rear edge. According to such a slide cover 10, it becomes easier to secure a distance between the bottom portion of the disk accommodating portion 22 a and the slide cover 10 than when the slide cover 10 is formed in a flat plate shape. As a result, the height h (see FIG. 5) of the rotation drive unit 7a can be increased, and the user can easily perform operations such as fitting the optical disk D into the rotation drive unit 7a and removing the optical disk D from the rotation drive unit 7a. Can be
  • the rotation driving unit 7 a is located below the top P ⁇ b> 1 that is the highest position in the slide cover 10.
  • the top portion P ⁇ b> 1 of the slide cover 10 coincides with the top portion of the upper surface of the electronic device 1.
  • the rotation drive part 7a is located below the top part P1. That is, the center line C2 of the rotation drive unit 7a passes through the top P1. Therefore, the height of the rotation drive part 7a can be increased further easily.
  • the freedom degree of the structure of the chucking mechanism provided in the rotation drive part 7a can be increased.
  • the second side portion 22B is curved according to the slide cover 10, the front edge of the second side portion 22B (that is, the front edge 22c of the upper panel portion 22) and the rear edge of the second side portion 22B (that is, Due to the fact that the rear edge 22d) of the upper panel portion 22 is located below the edges of the panels 2 and 3, respectively, it is possible to suppress the concavity between them being noticeable. As a result, the design uniformity of the upper surface of the electronic device 1 can be achieved.
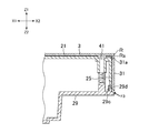
  • the housing 20 has a side inner panel portion 25.
  • the side inner panel portion 25 is formed in the upper housing 21.
  • the side inner panel portion 25 constitutes the upper portion 1A of the electronic device 1 and has a substantially elliptical shape in a side view.
  • the side panel 31 is attached to the side inner panel portion 25, and the side portion of the electronic device 1 has a double structure including the side inner panel portion 25 and the side panel 31. Thereby, the strength of the housing 20 can be increased.
  • an opening for inserting the hard disk device 13 is formed in the side inner panel portion 25 shown in FIG. 8 provided on the right side of the upper housing 21, and the side panel 31 attaches the hard disk device 13 to the side panel 31. It also functions as a panel to hide.
  • the upper housing 21 and the lower housing 29 are fixed to each other by screws 41 as shown in FIG.
  • the upper surface of the electronic device 1 may be curved so as to constitute a part of the outer circumferential surface of the cylinder, instead of being curved so as to constitute the outer circumferential surface of the elliptic cylinder.
  • both or one of the front panel 2 and the rear panel 3 may not necessarily be provided.
  • the front portion (that is, the front inner panel portion 26) or the rear portion (that is, the rear inner panel portion 27) of the upper housing 21 may constitute the upper surface of the electronic device 1.

Landscapes

  • Casings For Electric Apparatus (AREA)
  • Slot Machines And Peripheral Devices (AREA)
  • Feeding And Guiding Record Carriers (AREA)
PCT/JP2013/060445 2012-04-13 2013-04-05 電子機器 Ceased WO2013154041A1 (ja)

Priority Applications (6)

Application Number Priority Date Filing Date Title
US14/391,699 US9105296B2 (en) 2012-04-13 2013-04-05 Electronic apparatus
IN2293KON2014 IN2014KN02293A (enExample) 2012-04-13 2013-04-05
EP13775852.0A EP2838088B1 (en) 2012-04-13 2013-04-05 Electronic device
RU2014145521/28A RU2593683C2 (ru) 2012-04-13 2013-04-05 Электронное устройство
CN201380017420.4A CN104205223B (zh) 2012-04-13 2013-04-05 电子设备
JP2014510146A JP5818976B2 (ja) 2012-04-13 2013-04-05 電子機器

Applications Claiming Priority (2)

Application Number Priority Date Filing Date Title
JP2012092502 2012-04-13
JP2012-092502 2012-04-13

Publications (2)

Publication Number Publication Date
WO2013154041A1 true WO2013154041A1 (ja) 2013-10-17
WO2013154041A9 WO2013154041A9 (ja) 2014-08-07

Family

ID=49327609

Family Applications (1)

Application Number Title Priority Date Filing Date
PCT/JP2013/060445 Ceased WO2013154041A1 (ja) 2012-04-13 2013-04-05 電子機器

Country Status (7)

Country Link
US (1) US9105296B2 (enExample)
EP (1) EP2838088B1 (enExample)
JP (1) JP5818976B2 (enExample)
CN (1) CN104205223B (enExample)
IN (1) IN2014KN02293A (enExample)
RU (1) RU2593683C2 (enExample)
WO (1) WO2013154041A1 (enExample)

Cited By (2)

* Cited by examiner, † Cited by third party
Publication number Priority date Publication date Assignee Title
WO2021230246A1 (ja) 2020-05-15 2021-11-18 株式会社ソニー・インタラクティブエンタテインメント 電子機器のスタンド、及び電子機器組立体
WO2024176920A1 (ja) * 2023-02-21 2024-08-29 株式会社ソニー・インタラクティブエンタテインメント 電子機器組立体、電子機器、及びスタンド

Families Citing this family (2)

* Cited by examiner, † Cited by third party
Publication number Priority date Publication date Assignee Title
JP1586534S (enExample) * 2016-09-23 2017-09-25
CN113542476B (zh) * 2020-04-16 2023-09-08 深圳富泰宏精密工业有限公司 背盖顶出机构及电子装置

Citations (4)

* Cited by examiner, † Cited by third party
Publication number Priority date Publication date Assignee Title
JPH087428A (ja) * 1994-06-27 1996-01-12 Matsushita Electric Ind Co Ltd ディスク再生装置
JP2000123561A (ja) * 1998-10-09 2000-04-28 Sony Corp 記録及び/又は再生装置
JP2005078733A (ja) * 2003-09-01 2005-03-24 Sony Corp 電子機器
US7687711B2 (en) 2005-05-15 2010-03-30 Sony Computer Entertainment Inc. Electronic device

Family Cites Families (10)

* Cited by examiner, † Cited by third party
Publication number Priority date Publication date Assignee Title
DE20006442U1 (de) * 2000-04-07 2000-08-24 Enlight Corp., Takang Kwei-Shan, Taoyuan Drucktaste auf der Frontplatte eines Computers
US20040047617A1 (en) * 2002-08-21 2004-03-11 Matos Jose R. Disc player system
TW568323U (en) * 2002-09-27 2003-12-21 Lite On It Corp Cap opening and closing device for cap-lifting CD-ROM drive
JP4306228B2 (ja) * 2002-11-13 2009-07-29 ソニー株式会社 記録媒体カートリッジ
JP2006134404A (ja) * 2004-11-04 2006-05-25 Sanyo Electric Co Ltd プレーヤの扉開閉装置
US7398535B2 (en) * 2004-12-10 2008-07-08 Coby Electronics Corporation Portable media player
JP2007095174A (ja) * 2005-09-29 2007-04-12 Hitachi Ltd 情報再生装置
CN101587738A (zh) * 2008-05-23 2009-11-25 鸿富锦精密工业(深圳)有限公司 光盘播放器
CN201820451U (zh) * 2009-09-10 2011-05-04 珠海市雅力实业有限公司 一种便携式滑盖可视光盘播放机
CN201491429U (zh) * 2009-09-10 2010-05-26 珠海市雅力实业有限公司 一种便携式多媒体设备的滑盖机构

Patent Citations (4)

* Cited by examiner, † Cited by third party
Publication number Priority date Publication date Assignee Title
JPH087428A (ja) * 1994-06-27 1996-01-12 Matsushita Electric Ind Co Ltd ディスク再生装置
JP2000123561A (ja) * 1998-10-09 2000-04-28 Sony Corp 記録及び/又は再生装置
JP2005078733A (ja) * 2003-09-01 2005-03-24 Sony Corp 電子機器
US7687711B2 (en) 2005-05-15 2010-03-30 Sony Computer Entertainment Inc. Electronic device

Cited By (3)

* Cited by examiner, † Cited by third party
Publication number Priority date Publication date Assignee Title
WO2021230246A1 (ja) 2020-05-15 2021-11-18 株式会社ソニー・インタラクティブエンタテインメント 電子機器のスタンド、及び電子機器組立体
US12234942B2 (en) 2020-05-15 2025-02-25 Sony Interactive Entertainment Inc. Stand for electronic device and electronic device assembly
WO2024176920A1 (ja) * 2023-02-21 2024-08-29 株式会社ソニー・インタラクティブエンタテインメント 電子機器組立体、電子機器、及びスタンド

Also Published As

Publication number Publication date
JPWO2013154041A1 (ja) 2015-12-17
CN104205223B (zh) 2017-05-31
IN2014KN02293A (enExample) 2015-05-01
RU2593683C2 (ru) 2016-08-10
WO2013154041A9 (ja) 2014-08-07
EP2838088B1 (en) 2018-12-12
EP2838088A1 (en) 2015-02-18
RU2014145521A (ru) 2016-06-10
EP2838088A4 (en) 2015-12-16
US9105296B2 (en) 2015-08-11
CN104205223A (zh) 2014-12-10
JP5818976B2 (ja) 2015-11-18
US20150082327A1 (en) 2015-03-19

Similar Documents

Publication Publication Date Title
JP5818976B2 (ja) 電子機器
JP6017954B2 (ja) 電子機器
JP4952434B2 (ja) 電子部品取付用部品および電子機器
US20110019353A1 (en) Electronic apparatus
JP6538607B2 (ja) 電子機器
US8059393B2 (en) Electronic apparatus
JP6543413B2 (ja) 電子機器
US9298232B2 (en) Electronic device
JP2009043100A (ja) 媒体ドライブユニットおよび電子機器
JP6616493B2 (ja) 電子機器
JP5882818B2 (ja) 電子機器
JP6428359B2 (ja) 記憶装置の収納ユニット及び収納ユニットを備えるストレージ装置
JP4322233B2 (ja) 遊技機
TW201510992A (zh) 硬碟機托架
JP4829189B2 (ja) 電子機器および表示パネル用筐体
JP6293091B2 (ja) ディスク装置
JP5065443B2 (ja) 遊技機
JP2006147006A (ja) ディスク駆動装置
JP2012048747A (ja) 電子機器
JP2010252179A (ja) スライド部材組立体,スライド部材組立体の使用方法,及びスライド部材組立体を備えた筐体装置
JP2009238350A (ja) カバー及び収容カバー
JP2012160209A (ja) 媒体ドライブユニットおよび電子機器

Legal Events

Date Code Title Description
121 Ep: the epo has been informed by wipo that ep was designated in this application

Ref document number: 13775852

Country of ref document: EP

Kind code of ref document: A1

WWE Wipo information: entry into national phase

Ref document number: 2013775852

Country of ref document: EP

ENP Entry into the national phase

Ref document number: 2014510146

Country of ref document: JP

Kind code of ref document: A

WWE Wipo information: entry into national phase

Ref document number: 14391699

Country of ref document: US

NENP Non-entry into the national phase

Ref country code: DE

ENP Entry into the national phase

Ref document number: 2014145521

Country of ref document: RU

Kind code of ref document: A

REG Reference to national code

Ref country code: BR

Ref legal event code: B01A

Ref document number: 112014024452

Country of ref document: BR

ENP Entry into the national phase

Ref document number: 112014024452

Country of ref document: BR

Kind code of ref document: A2

Effective date: 20140930