WO2013088700A1 - Method for manufacturing optical member - Google Patents

Method for manufacturing optical member Download PDF

Info

Publication number
WO2013088700A1
WO2013088700A1 PCT/JP2012/007902 JP2012007902W WO2013088700A1 WO 2013088700 A1 WO2013088700 A1 WO 2013088700A1 JP 2012007902 W JP2012007902 W JP 2012007902W WO 2013088700 A1 WO2013088700 A1 WO 2013088700A1
Authority
WO
WIPO (PCT)
Prior art keywords
glass layer
phase
base member
layer
porous
Prior art date
Legal status (The legal status is an assumption and is not a legal conclusion. Google has not performed a legal analysis and makes no representation as to the accuracy of the status listed.)
Ceased
Application number
PCT/JP2012/007902
Other languages
English (en)
French (fr)
Inventor
Kenji Takashima
Zuyi Zhang
Yoshinori Kotani
Akiko TAKEI
Akira Sugiyama
Naoyuki Koketsu
Current Assignee (The listed assignees may be inaccurate. Google has not performed a legal analysis and makes no representation or warranty as to the accuracy of the list.)
Canon Inc
Original Assignee
Canon Inc
Priority date (The priority date is an assumption and is not a legal conclusion. Google has not performed a legal analysis and makes no representation as to the accuracy of the date listed.)
Filing date
Publication date
Application filed by Canon Inc filed Critical Canon Inc
Priority to US14/365,055 priority Critical patent/US9212088B2/en
Publication of WO2013088700A1 publication Critical patent/WO2013088700A1/en
Anticipated expiration legal-status Critical
Ceased legal-status Critical Current

Links

Images

Classifications

    • GPHYSICS
    • G02OPTICS
    • G02BOPTICAL ELEMENTS, SYSTEMS OR APPARATUS
    • G02B1/00Optical elements characterised by the material of which they are made; Optical coatings for optical elements
    • G02B1/10Optical coatings produced by application to, or surface treatment of, optical elements
    • G02B1/12Optical coatings produced by application to, or surface treatment of, optical elements by surface treatment, e.g. by irradiation
    • CCHEMISTRY; METALLURGY
    • C03GLASS; MINERAL OR SLAG WOOL
    • C03CCHEMICAL COMPOSITION OF GLASSES, GLAZES OR VITREOUS ENAMELS; SURFACE TREATMENT OF GLASS; SURFACE TREATMENT OF FIBRES OR FILAMENTS MADE FROM GLASS, MINERALS OR SLAGS; JOINING GLASS TO GLASS OR OTHER MATERIALS
    • C03C17/00Surface treatment of glass, not in the form of fibres or filaments, by coating
    • C03C17/34Surface treatment of glass, not in the form of fibres or filaments, by coating with at least two coatings having different compositions
    • C03C17/3411Surface treatment of glass, not in the form of fibres or filaments, by coating with at least two coatings having different compositions with at least two coatings of inorganic materials
    • CCHEMISTRY; METALLURGY
    • C03GLASS; MINERAL OR SLAG WOOL
    • C03CCHEMICAL COMPOSITION OF GLASSES, GLAZES OR VITREOUS ENAMELS; SURFACE TREATMENT OF GLASS; SURFACE TREATMENT OF FIBRES OR FILAMENTS MADE FROM GLASS, MINERALS OR SLAGS; JOINING GLASS TO GLASS OR OTHER MATERIALS
    • C03C1/00Ingredients generally applicable to manufacture of glasses, glazes, or vitreous enamels
    • C03C1/006Ingredients generally applicable to manufacture of glasses, glazes, or vitreous enamels to produce glass through wet route
    • C03C1/008Ingredients generally applicable to manufacture of glasses, glazes, or vitreous enamels to produce glass through wet route for the production of films or coatings
    • CCHEMISTRY; METALLURGY
    • C03GLASS; MINERAL OR SLAG WOOL
    • C03CCHEMICAL COMPOSITION OF GLASSES, GLAZES OR VITREOUS ENAMELS; SURFACE TREATMENT OF GLASS; SURFACE TREATMENT OF FIBRES OR FILAMENTS MADE FROM GLASS, MINERALS OR SLAGS; JOINING GLASS TO GLASS OR OTHER MATERIALS
    • C03C11/00Multi-cellular glass ; Porous or hollow glass or glass particles
    • CCHEMISTRY; METALLURGY
    • C03GLASS; MINERAL OR SLAG WOOL
    • C03CCHEMICAL COMPOSITION OF GLASSES, GLAZES OR VITREOUS ENAMELS; SURFACE TREATMENT OF GLASS; SURFACE TREATMENT OF FIBRES OR FILAMENTS MADE FROM GLASS, MINERALS OR SLAGS; JOINING GLASS TO GLASS OR OTHER MATERIALS
    • C03C15/00Surface treatment of glass, not in the form of fibres or filaments, by etching
    • CCHEMISTRY; METALLURGY
    • C03GLASS; MINERAL OR SLAG WOOL
    • C03CCHEMICAL COMPOSITION OF GLASSES, GLAZES OR VITREOUS ENAMELS; SURFACE TREATMENT OF GLASS; SURFACE TREATMENT OF FIBRES OR FILAMENTS MADE FROM GLASS, MINERALS OR SLAGS; JOINING GLASS TO GLASS OR OTHER MATERIALS
    • C03C17/00Surface treatment of glass, not in the form of fibres or filaments, by coating
    • C03C17/006Surface treatment of glass, not in the form of fibres or filaments, by coating with materials of composite character
    • C03C17/007Surface treatment of glass, not in the form of fibres or filaments, by coating with materials of composite character containing a dispersed phase, e.g. particles, fibres or flakes, in a continuous phase
    • CCHEMISTRY; METALLURGY
    • C03GLASS; MINERAL OR SLAG WOOL
    • C03CCHEMICAL COMPOSITION OF GLASSES, GLAZES OR VITREOUS ENAMELS; SURFACE TREATMENT OF GLASS; SURFACE TREATMENT OF FIBRES OR FILAMENTS MADE FROM GLASS, MINERALS OR SLAGS; JOINING GLASS TO GLASS OR OTHER MATERIALS
    • C03C17/00Surface treatment of glass, not in the form of fibres or filaments, by coating
    • C03C17/02Surface treatment of glass, not in the form of fibres or filaments, by coating with glass
    • CCHEMISTRY; METALLURGY
    • C03GLASS; MINERAL OR SLAG WOOL
    • C03CCHEMICAL COMPOSITION OF GLASSES, GLAZES OR VITREOUS ENAMELS; SURFACE TREATMENT OF GLASS; SURFACE TREATMENT OF FIBRES OR FILAMENTS MADE FROM GLASS, MINERALS OR SLAGS; JOINING GLASS TO GLASS OR OTHER MATERIALS
    • C03C23/00Other surface treatment of glass not in the form of fibres or filaments
    • C03C23/008Other surface treatment of glass not in the form of fibres or filaments comprising a lixiviation step
    • GPHYSICS
    • G02OPTICS
    • G02BOPTICAL ELEMENTS, SYSTEMS OR APPARATUS
    • G02B1/00Optical elements characterised by the material of which they are made; Optical coatings for optical elements
    • G02B1/10Optical coatings produced by application to, or surface treatment of, optical elements
    • G02B1/11Anti-reflection coatings
    • G02B1/113Anti-reflection coatings using inorganic layer materials only
    • GPHYSICS
    • G02OPTICS
    • G02BOPTICAL ELEMENTS, SYSTEMS OR APPARATUS
    • G02B1/00Optical elements characterised by the material of which they are made; Optical coatings for optical elements
    • G02B1/10Optical coatings produced by application to, or surface treatment of, optical elements
    • G02B1/11Anti-reflection coatings
    • G02B1/118Anti-reflection coatings having sub-optical wavelength surface structures designed to provide an enhanced transmittance, e.g. moth-eye structures
    • CCHEMISTRY; METALLURGY
    • C03GLASS; MINERAL OR SLAG WOOL
    • C03CCHEMICAL COMPOSITION OF GLASSES, GLAZES OR VITREOUS ENAMELS; SURFACE TREATMENT OF GLASS; SURFACE TREATMENT OF FIBRES OR FILAMENTS MADE FROM GLASS, MINERALS OR SLAGS; JOINING GLASS TO GLASS OR OTHER MATERIALS
    • C03C2217/00Coatings on glass
    • C03C2217/40Coatings comprising at least one inhomogeneous layer
    • C03C2217/425Coatings comprising at least one inhomogeneous layer consisting of a porous layer
    • CCHEMISTRY; METALLURGY
    • C03GLASS; MINERAL OR SLAG WOOL
    • C03CCHEMICAL COMPOSITION OF GLASSES, GLAZES OR VITREOUS ENAMELS; SURFACE TREATMENT OF GLASS; SURFACE TREATMENT OF FIBRES OR FILAMENTS MADE FROM GLASS, MINERALS OR SLAGS; JOINING GLASS TO GLASS OR OTHER MATERIALS
    • C03C2217/00Coatings on glass
    • C03C2217/70Properties of coatings
    • C03C2217/73Anti-reflective coatings with specific characteristics
    • C03C2217/732Anti-reflective coatings with specific characteristics made of a single layer
    • CCHEMISTRY; METALLURGY
    • C03GLASS; MINERAL OR SLAG WOOL
    • C03CCHEMICAL COMPOSITION OF GLASSES, GLAZES OR VITREOUS ENAMELS; SURFACE TREATMENT OF GLASS; SURFACE TREATMENT OF FIBRES OR FILAMENTS MADE FROM GLASS, MINERALS OR SLAGS; JOINING GLASS TO GLASS OR OTHER MATERIALS
    • C03C2217/00Coatings on glass
    • C03C2217/90Other aspects of coatings
    • C03C2217/91Coatings containing at least one layer having a composition gradient through its thickness
    • CCHEMISTRY; METALLURGY
    • C03GLASS; MINERAL OR SLAG WOOL
    • C03CCHEMICAL COMPOSITION OF GLASSES, GLAZES OR VITREOUS ENAMELS; SURFACE TREATMENT OF GLASS; SURFACE TREATMENT OF FIBRES OR FILAMENTS MADE FROM GLASS, MINERALS OR SLAGS; JOINING GLASS TO GLASS OR OTHER MATERIALS
    • C03C2218/00Methods for coating glass
    • C03C2218/30Aspects of methods for coating glass not covered above
    • C03C2218/32After-treatment
    • C03C2218/328Partly or completely removing a coating
    • C03C2218/33Partly or completely removing a coating by etching
    • GPHYSICS
    • G02OPTICS
    • G02BOPTICAL ELEMENTS, SYSTEMS OR APPARATUS
    • G02B2207/00Coding scheme for general features or characteristics of optical elements and systems of subclass G02B, but not including elements and systems which would be classified in G02B6/00 and subgroups
    • G02B2207/107Porous materials, e.g. for reducing the refractive index

Definitions

  • the present invention relates to a method for manufacturing an optical member provided with a porous glass layer on a base member.
  • porous glasses have a wide utilization range as optical members because of a characteristic of low refractive index.
  • a typical example of a base material for the porous glass exhibiting the phase separation phenomenon is borosilicate glass made from silicon oxide, boron oxide, an alkali metal oxide, and the like.
  • the phase separation phenomenon is induced by a heat treatment in which a molded borosilicate glass is held at a constant temperature (hereafter referred to as a phase separation treatment), and a non-silicon oxide rich phase, which is a soluble component, is eluted through etching with an acid solution.
  • the skeleton constituting the thus produced porous glass is primarily silicon oxide.
  • the skeleton diameter, the hole diameter, and the porosity of the porous glass have influences on the reflectance and the refractive index of the light.
  • NPL 1 discloses a configuration in which the porosity of a porous glass simple substance is controlled in etching in such a way that elution of a non-silicon oxide rich phase is allowed to become insufficient partly and, thereby, the refractive index increases from the surface toward the inside. Consequently, reflection at a porous glass surface is reduced.
  • PTL 1 discloses a method for forming a porous glass layer on a base member. Specifically, a film containing borosilicate glass (phase-separable glass) is formed on a base member by a printing method, and a porous glass layer is formed on the base member by a phase separation treatment and an etching treatment.
  • a film containing borosilicate glass phase-separable glass
  • NPL 1 According to the method described in NPL 1, it is difficult to control the degree of proceeding of etching and, therefore, it is difficult to control the refractive index.
  • a non-silicon oxide rich phase which is a soluble component, remains and, thereby, the water resistance is degraded, so that problems, e.g., clouding, in the use as an optical member occur.
  • the present invention provides a method for manufacturing an optical member including a porous glass layer on a base member easily, wherein a ripple is suppressed.
  • a method for manufacturing an optical member provided with a porous glass layer on a base member includes the steps of forming an intermediate layer containing at least one of silicon, potassium, and aluminum on the base member, forming a phase-separable glass layer on the above-described intermediate layer, forming a phase-separated glass layer on the above-described base member by heating the above-described intermediate layer and the above-described phase-separable glass layer at a temperature higher than or equal to the glass transition temperature of the above-described phase-separable glass layer, and forming a porous glass layer on the above-described base member by subjecting the above-described phase-separated glass layer to an etching treatment.
  • a method for manufacturing an optical member including a porous glass layer on a base member easily, wherein a ripple is suppressed, is provided.
  • Fig. 1 is a schematic sectional view showing an example of an optical member according to an aspect of the present invention.
  • Fig. 2 is a diagram illustrating a porosity.
  • Fig. 3A is a diagram illustrating an average hole diameter.
  • Fig. 3B is a diagram illustrating an average skeleton diameter.
  • Fig. 4A is a schematic sectional view illustrating an example of a method for manufacturing an optical member according to an aspect of the present invention.
  • Fig. 4B is a schematic sectional view illustrating an example of a method for manufacturing an optical member according to an aspect of the present invention.
  • Fig. 4C is a schematic sectional view illustrating an example of a method for manufacturing an optical member according to an aspect of the present invention.
  • Fig. 1 is a schematic sectional view showing an example of an optical member according to an aspect of the present invention.
  • Fig. 2 is a diagram illustrating a porosity.
  • Fig. 3A is a diagram illustrating an average hole
  • FIG. 4D is a schematic sectional view illustrating an example of a method for manufacturing an optical member according to an aspect of the present invention.
  • Fig. 5 is an electron micrograph of a cross-section of Sample A produced in Example 1.
  • Fig. 6 is an electron micrograph of a cross-section of Sample E produced in Comparative example 1.
  • Fig. 7 is a diagram showing the wavelength dependence of reflectance of Examples 1 to 4 and Comparative example 1.
  • phase separation that forms a porous structure according to an aspect of the present invention will be described with reference to an example in which borosilicate glass containing silicon oxide, boron oxide, and an oxide having an alkali metal is used as a glass body.
  • phase separation refers to separation of a phase with a composition of the oxide having an alkali metal and the boron oxide larger than the composition before the phase separation occurs (non-silicon oxide rich phase) from a phase with a composition of the oxide having an alkali metal and the boron oxide smaller than the composition before the phase separation occurs (silicon oxide rich phase) in the inside of glass, where the structures are on a scale of several nanometers to several ten micrometers.
  • the phase-separated glass is subjected to an etching treatment to remove the non-silicon oxide rich phase, so that a porous structure is formed in the glass body.
  • the phase separation is classified into a spinodal type and a binodal type.
  • a fine hole of the porous glass obtained by spinodal type phase separation is a through hole connected from the surface to the inside.
  • the structure derived from the spinodal type phase separation is an "ant nest"-shaped structure in which holes are three-dimensionally connected.
  • the skeleton made from silicon oxide can be regarded as a "nest” and a through hole can be regarded as a "burrow”.
  • a porous glass obtained by binodal type phase separation has a structure in which independent holes, each surrounded by a closed curved surface substantially in the shape of a sphere, are present in the skeleton made from silicon oxide discontinuously.
  • the hole derived from spinodal type phase separation and the hole derived from binodal type phase separation are determined and distinguished on the basis of the result of observation of their shapes by using an electron microscope.
  • the spinodal type phase separation and the binodal type phase separation are specified by controlling the composition of the glass body and the temperature in phase separation.
  • Fig. 1 shows a schematic sectional view of the optical member produced by the manufacturing method according to an aspect of the present invention.
  • the optical member according to an aspect of the present invention is provided with a porous glass layer 2 having a porous structure including continuous holes derived from spinodal type phase separation on a base member 1.
  • the porous glass layer 2 is a low-refractive index film and is expected to be utilized as an optical member because reflection at the interface between the porous glass layer 2 and the air is suppressed.
  • a ripple phenomenon occurs, where an interference fringe appears in the reflected light because of an interference effect of the light reflected at the surface of the porous glass layer 2 and the light reflected at the interface between the base member 1 and the porous glass layer 2.
  • the ripple phenomenon appears considerably in the case where the thickness of the porous glass layer 2 is more than or equal to the wavelength of light and less than or equal to several ten micrometers.
  • the ripple is represented by the shape in which the magnitude fluctuates periodically like a sinusoidal wave (refer to Comparative example 1 in Fig. 7). If such a ripple is present, the wavelength dependence of the reflectance is enhanced, and suitability for the optical member may be degraded.
  • the optical member according to an aspect of the present invention has a configuration in which a porous glass layer 2 includes a first region 2a having a porosity changing continuously and a second region 2b having a constant porosity sequentially from the base member 1 side and, in the first region 2a, the porosity increases continuously from the base member 1 side toward the second region 2b.
  • a sharp change in the refractive index at the interface between the base member 1 and the porous glass layer 2 is suppressed and reflection at this interface is suppressed.
  • the first region 2a be 100 nm or more, and preferably 200 nm or more. If the first region 2a is less than 100 nm, a change in refractive index at the interface between the base member 1 and the porous glass layer 2 becomes sharp, and reflection at this interface is not suppressed easily. According to measurement of the optical characteristics, in the case where a region in which the porosity changes is 200 nm or more, an effect of suppressing a ripple is observed more considerably.
  • the second region 2b be 100 nm or more in order to obtain surface characteristics exhibiting both high surface strength and a high porosity (low refractive index).
  • the thickness of the porous glass layer 2 is not specifically limited, and is preferably 200 nm or more and 50.0 micrometers or less, and more preferably 300 nm or more and 20.0 micrometers or less. If the thickness is less than 200 nm, a porous glass layer 2 exhibiting an effect of suppressing a ripple and having high surface strength and a high porosity (low refractive index) is not obtained. If the thickness is more than 50.0 micrometers, an effect of haze increases and the handleability as an optical member is degraded.
  • the thickness of the porous glass layer 2 specifically, a scanning electron microscope (FE-SEM S-4800, produced by Hitachi, Ltd.) is used and a SEM image (electron micrograph) at an acceleration voltage of 5.0 kV is taken. The thickness of the glass layer portion on the base member of the taken image is measured at 30 or more points and the average value thereof is used.
  • FE-SEM S-4800 produced by Hitachi, Ltd.
  • the porosity of the second region 2b of the porous glass layer 2 is not specifically limited, and is preferably 30% or more and 70% or less, and more preferably 40% or more and 60% or less. If the porosity is less than 30%, the advantages of the porosity are not fully utilized. If the porosity is more than 70%, the surface strength tends to be reduced unfavorably.
  • the porosity of the porous glass layer of 30% or more and 70% or less corresponds to the refractive index of 1.05 or more and 1.25 or less.
  • porous glass layer has a constant porosity refers to that a difference in porosity in the film thickness direction in the layer is less than 1%. Put another way, a difference in porosity between any two regions in the layer is less than 1%.
  • the porosity of the first region 2a can increase from the porosity of the second region 2b toward the base member 1 continuously, and it is desirable that the porosity at the interface to the base member 1 is 0% or more and 5% or less in order to enhance the effect of suppressing a ripple.
  • the electron microscopy image is binarized into a skeleton portion and a hole portion.
  • the scanning electron microscope (FE-SEM S-4800, produced by Hitachi, Ltd.) is used and the porous glass is subjected to surface observation at an acceleration voltage of 5.0 kV at a magnification of 100,000x (50,000x in some cases), where shading of the skeleton is observed easily.
  • Fig. 2 is a diagram showing the frequency on the basis of the image density of a porous glass having a spinodal type porous structure.
  • the peak portion indicated by an arrow in the downward direction of the image density corresponds to the skeleton portion located at the front.
  • the light portion (skeleton portion) and the dark potion (hole portion) are binarized into white and black, where an inflection point near the peak position is taken as a threshold value.
  • An average value of the ratios of the area of dark portion to the area of total portion (sum of areas of white and black portions) of the whole image is determined and is taken as the porosity.
  • a large porosity in a local region, a large fine hole diameter, and a small skeleton diameter are equivalent in many cases, so that a portion having a large porosity has a large hole diameter or a small skeleton diameter.
  • the average hole diameter of the porous glass layer 2 is preferably 1 nm or more and 200 nm or less, and more preferably 5 nm or more and 100 nm or less. If the average hole diameter is less than 1 nm, the characteristics of the porous structure are not fully utilized. If the average hole diameter is more than 200 nm, the surface strength tends to be reduced unfavorably. In this regard, the average hole diameter can be smaller than the thickness of the porous glass layer.
  • the average hole diameter in the present invention is defined as an average value of the minor axes of a plurality of approximated ellipses, where holes in the porous body surface are approximated by the plurality of ellipses.
  • an electron micrograph of the porous body surface is used, holes 10 are approximated by a plurality of ellipses 11, an average value of the minor axes 12 of the individual ellipses is determined and, thereby, the average hole diameter is obtained. At least 30 points are measured and an average value thereof is determined.
  • the average skeleton diameter of the porous glass layer 2 is preferably 1 nm or more and 50 nm or less. If the average skeleton diameter is more than 50 nm, the light is scattered considerably, and the transmittance is reduced significantly. If the average skeleton diameter is less than 1 nm, the strength of the porous glass layer 2 tends to become small.
  • the average skeleton diameter in the present invention is defined as an average value of the minor axes of a plurality of approximated ellipses, where the skeleton of the porous body surface is approximated by the plurality of ellipses.
  • an electron micrograph of the porous body surface is used, the skeleton 13 is approximated by a plurality of ellipses 14, an average value of the minor axes 15 of the individual ellipses is determined and, thereby, the average skeleton diameter is obtained. At least 30 points are measured and an average value thereof is determined.
  • the hole diameter and the skeleton diameter of the porous glass layer 2 may be controlled by the material serving as a raw material and the heat treatment condition in spinodal type phase separation.
  • concave shapes and convex shapes may be further disposed at the interface between the base member 1 and the porous glass layer 2.
  • a film having a refractive index smaller than that of the porous glass layer 2 may be disposed on the surface of the porous glass layer 2.
  • optical members e.g., polarizers used in various displays of televisions, computers, and the like and liquid crystal display apparatuses, finder lenses for cameras, prisms, fly-eye lenses, and toric lenses and various lenses of image taking optical systems, observation optical systems, e.g., binoculars, projection optical systems used for liquid crystal projectors and the like, and scanning optical systems used for laser beam printers and the like, in which porous glasses are used.
  • the optical members according to aspects of the present invention may be mounted on image pickup apparatuses, e.g., digital cameras and digital video cameras.
  • the image pickup apparatus is provided with an infrared-cut filter and a low-pass filter besides an image pickup element that picks up a subject image.
  • the optical member according to an aspect of the present invention may be formed integrally with the low-pass filter or be formed independently.
  • the optical member may be configured to also serve as a low-pass filter.
  • the manufacturing method includes the steps of forming an intermediate layer containing at least one of silicon oxide, potassium oxide, and aluminum oxide on a base member and forming a phase-separable glass layer on the intermediate layer. Furthermore, the steps of forming a phase-separated glass layer on the base member by heating the intermediate layer and the phase-separable glass layer at a temperature higher than or equal to the glass transition temperature of the phase-separated glass layer and forming a porous glass layer on the base member by acid-treating the phase-separated glass layer are included.
  • Heating at a temperature higher than or equal to the glass transition temperature in phase separation of the phase-separable glass layer induces mutual component diffusion between the intermediate layer and the phase-separable glass layer, so that a composition change occurs in the vicinity of the interface between the intermediate layer and the phase-separable glass layer.
  • the composition change due to component diffusion occurs continuously in the region in the vicinity of the interface. Therefore, it is believed that a gradient occurs in the glass composition.
  • phase separation occurs in the intermediate layer as well, although the composition is different from the composition of the surface of the phase-separable glass layer.
  • the proportion between a silicon oxide rich phase and a non-silicon oxide phase, the ratio of sizes, and the like are different and a structure in which the porosity changes appears in the resulting porous glass layer.
  • the region in which the composition changes extends to the phase-separable glass layer, so that the thickness of the first region in the porous glass layer is larger than or equal to the thickness of the intermediate layer.
  • a structure in which a sharp change in the refractive index at the interface between the base member and the porous glass layer is suppressed is obtained easily by disposing the intermediate layer in which component diffusion is induced and performing heating at a temperature higher than or equal to the glass transition temperature, so that the optical member is produced easily, wherein a ripple is suppressed.
  • the intermediate layer 3 is formed on the base member 1, while containing a component diffusible into the phase-separable glass layer which is formed later.
  • the component diffusible into the phase-separable glass layer, which is formed later is a component diffusible into the phase-separable glass layer during a heat treatment, which is performed later, at a temperature higher than or equal to the glass transition temperature.
  • the component concerned more specifically, the intermediate layer contains at least one of silicon, potassium, and aluminum.
  • silicon, potassium, and aluminum may be contained as oxides in the intermediate layer. That is, the intermediate layer contains at least one of silicon oxide, potassium oxide, and aluminum oxide.
  • silicon, potassium, and aluminum may be contained in the intermediate layer while being in the form of nitrides, carbides, and the like.
  • the mole number of silicon and the mole number of boron in terms of element are compared, the mole number of boron can be larger than the mole number of silicon because the boron component may be eliminated by vaporization during the heat treatment.
  • the molar ratio of boron to silicon is preferably 2.0 or more and 6.0 or less.
  • the intermediate layer contains silicon and potassium, aluminum, or both of the two, for example, they may be contained as oxides having the following functions in the intermediate layer. That is, silicon oxide functions as a network former oxide, potassium oxide functions as a network modifier oxide, and aluminum oxide functions as an intermediate oxide. Addition of the network modifier oxides and the intermediate oxides besides the network former oxides is more effective for fine structure control.
  • the mole number of silicon and the mole number of potassium or aluminum in terms of element are compared, the mole number of potassium or aluminum can be larger than the mole number of silicon.
  • the molar ratio of potassium or aluminum to silicon is preferably 1.0 or more and 6.0 or less.
  • the intermediate layer does not contain silicon, but contains potassium, aluminum, or both of the two, the ratio of the individual contents thereof is not limited.
  • All manufacturing methods e.g., a printing method, a vacuum evaporation method, a sputtering method, a spin coating method, and a dip coating method, capable of forming a film are mentioned as the method for forming the intermediate layer. Any manufacturing method may be used insofar as the manufacturing method achieves the structure according to an aspect of the present invention.
  • the thickness of the intermediate layer is not specifically limited insofar as the thickness has an influence on phase separation of the phase-separable glass layer which is formed later, and is preferably 100 nm or more and less than or equal to the thickness of the phase-separable glass layer formed thereon. If the thickness is less than 100 nm, the amount of component which acts on the phase-separable glass layer decreases and the composition change region is reduced. If the thickness is more than the thickness of the phase-separable glass layer, the adhesion between the base member 1 and the porous glass layer 2 may be degraded.
  • the intermediate layer according to an aspect of the present invention may be a film of homogeneous component or be a heterogeneous film, and be a single layer film or a stacked film.
  • films having the same component may be stacked or films having different components may be stacked.
  • a base member made from any material may be used as the base member 1 in accordance with the purpose.
  • the material for the base member is not specifically limited and, for example, quartz glass, quartz, and sapphire can be employed from the viewpoints of heat resistance and strength.
  • the base member 1 is so-called non-porous and has no holes.
  • a base member having any shape may be used insofar as the porous glass layer 2 is formed.
  • the shape of the base member 1 may have a curvature.
  • the softening temperature of the base member can be higher than or equal to the heating temperature (phase separation temperature) in the phase separation step described later, and especially, be higher than or equal to the temperature determined by adding 100 degrees (celsius) to the phase separation temperature.
  • the fusion temperature is specified to be the softening temperature. If the softening temperature is lower than the phase separation temperature of the porous glass layer 2, a strain of the base member 1 may occur in the phase separation step unfavorably.
  • the phase separation temperature refers to a maximum temperature of the heating temperatures to induce spinodal type phase separation.
  • the base member 1 can have resistance to etching of the phase-separated glass layer.
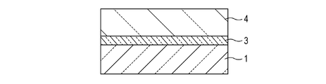
  • a phase-separable glass layer 4 is formed on the intermediate layer 3.
  • phase separation property refers to a property that phase separation is induced by a heat treatment.
  • phase-separable glasses include silicon oxide based glass I (silicon oxide-boron oxide-alkali metal oxide), silicon oxide based glass II (silicon oxide-boron oxide-alkali metal oxide-(at least one type of alkaline-earth metal oxide, zinc oxide, aluminum oxide, and zirconium oxide)), silicon oxide based glass III (silicon oxide-phosphate-alkali metal oxide), and titanium oxide based glass (silicon oxide-boron oxide-calcium oxide-magnesium oxide-aluminum oxide-titanium oxide).
  • borosilicate based glass composed of silicon oxide-boron oxide-alkali metal oxide can be used as a base material glass.
  • the borosilicate based glass having a composition in which the proportion of silicon oxide is 55.0 percent by weight or more and 95.0 percent by weight or less, and especially 60.0 percent by weight or more and 85.0 percent by weight or less can be employed.
  • phase-separated glass having high skeletal strength tends to be obtained easily and, therefore, is useful in applications where the strength is required.
  • the above-described intermediate layer 3 contains silicon oxide, but does not have always the phase separation property.
  • All manufacturing methods e.g., a printing method, a vacuum evaporation method, a sputtering method, a spin coating method, and a dip coating method, capable of forming a glass layer are mentioned as examples of the method for forming the phase-separable glass layer 4. Any manufacturing method may be used insofar as the structure according to an aspect of the present invention is achieved.
  • a hole structure derived from spinodal type phase separation be formed in the porous glass layer 2 on the base member 1.
  • careful composition control of glass is desired and a method in which, after a glass composition has been established, a glass powder is produced, the resulting powder is applied to the base member 1, and a film is formed by fusion can be employed.
  • phase-separable glass layer 4 by forming a film of a phase-separable glass powder, which primarily contains base glass obtained by mixing and fusing raw materials for forming porous glass layer according to an aspect of the present invention, will be described below. Specifically, a glass paste containing at least the phase-separable glass powder, which primarily contains base glass obtained by mixing and fusing raw materials for forming porous glass layer, and a solvent is applied to the base member 1 and, thereafter, the above-described solvent is removed, so as to form the phase-separable glass layer 4.
  • the printing method, the spin coating method, the dip coating method, or the like is mentioned as an example of a method for forming the phase-separable glass layer 4. Explanations will be made below with reference to a method by using a common screen printing method as an example.
  • the screen printing method the phase-separable glass powder is made into a paste and is printed by using a screen printing machine. Therefore, adjustment of the paste is necessary.
  • the base glass may be produced by a known method except that a raw material is prepared to have the composition of the above-described phase-separable glass.
  • production may be performed by heating and fusing the raw material containing supply sources of the individual components and, as necessary, by molding the raw material into a predetermined form.
  • the heating temperature may be set appropriately in accordance with the raw material composition and the like, and usually the heating temperature is preferably within the range of 1,350 degrees (celsius) to 1,450 degrees (celsius), and especially 1,380 degrees (celsius) to 1,430 degrees (celsius).
  • the base glass is pulverized into a glass powder in order to be used as a paste.
  • the pulverizing method is not specifically limited and a known pulverizing method may be used. Examples of pulverizing methods include liquid phase pulverizing methods using a bead mill and vapor phase pulverizing methods using a jet mill.
  • the paste contains a thermoplastic resin, a plasticizer, a solvent, and the like in addition to the above-described glass powder.
  • the proportion of the glass powder contained in the paste be within the range of 30.0 percent by weight or more and 90.0 percent by weight or less, and preferably 35.0 percent by weight or more and 70.0 percent by weight or less.
  • thermoplastic resin contained in the paste is a component that enhances the film strength after drying and imparts flexibility.
  • thermoplastic resin polybutyl methacrylate, polyvinyl butyral, polymethyl methacrylate, polyethyl methacrylate, ethyl cellulose, and the like may be used. These thermoplastic resins may be used alone or in combination.
  • plasticizers contained in the paste include butylbenzyl phthalate, dioctyl phthalate, diisooctyl phthalate, dicapryl phthalate, and dibutyl phthalate. These plasticizers may be used alone or in combination.
  • solvent contained in the paste examples include terpineol, diethylene glycol monobutyl ether acetate, and 2,2,4-trimethyl-1,3-pentanediol monoisobutyrate.
  • the above-described solvents may be used alone or in combination.
  • the paste may be produced by kneading the above-described materials at a predetermined ratio.
  • a glass powder film may be formed by applying the thus produced paste to the base member 1 by using a screen printing method and drying and removing the solvent component of the paste.
  • the phase-separable glass layer 4 is formed by fusing the powder of the glass powder film.
  • a heat treatment can be performed at a temperature higher than or equal to the glass transition temperature of the phase-separable glass powder film. If the temperature is lower than the glass transition temperature, fusion does not proceed and a smooth glass layer tends not to be formed.
  • the phase-separable glass layer 4 may be crystallized because of the heat treatment in formation of the phase-separable glass layer 4 and, thereby, phase separation in the phase-separable glass layer 4 may be hindered in a phase separation treatment performed later. That is, when the phase-separable glass layer 4 is in a crystal state, phase separation does not occur easily because the phase separation phenomenon of the glass occurs in an amorphous state.
  • phase-separable glass layer 4 is formed by fusing the glass powder film, it is necessary to select a heat-treating method in which fusion is induced while the amorphous state of the glass is maintained.
  • Examples of this method include a method in which the heat treatment is performed at a temperature lower than or equal to the crystallization temperature and a method in which quenching is performed from a fused state at a high temperature.
  • the method in which the heat treatment is performed at a temperature lower than or equal to the crystallization temperature can be employed from the viewpoints of film formation at a lower temperature and easiness in control.
  • Removal of a solvent component of the paste may be performed at the same time with the phase separation treatment performed later.
  • the glass powder film corresponds to the phase-separable glass layer 4.
  • the glass paste may be repeatedly applied an appropriate number of times and be dried.
  • the temperature and the time of the drying and removal of the solvent may be changed appropriately in accordance with the solvent employed, although the drying can be performed at a temperature lower than the decomposition temperature of the thermoplastic resin. If the drying temperature is higher than the decomposition temperature of the thermoplastic resin, glass particles are not fixed, and when a glass powder layer is formed, occurrences of defects and unevenness tend to become considerable.
  • the intermediate layer 3 and the phase-separable glass layer 4 are subjected to a heat treatment at a temperature higher than or equal to the glass transition temperature of the phase-separable glass layer 4, so as to form a phase-separated glass layer 5 by phase separation.
  • the thermoplastic resin may be removed and, in addition, the glass powder film may be fused and phase-separated by subjecting the phase-separable glass layer 4 (glass powder film) to a heat treatment, so as to form the phase-separated glass layer 5.
  • the phase-separated glass layer 5 refers to a glass layer phase-separated into a silicon oxide rich phase and a non-silicon oxide rich phase in the inside.
  • the phase-separated glass layer 5 includes a region 5a in which a silicon oxide component changes and a region 5b in which a silicon oxide component is constant sequentially from the base member 1 side, and the region 5a corresponds to the above-described region in which the composition change have occurred.
  • the intermediate layer 3 and the phase-separable glass layer 4 can be subjected to a heat treatment at a temperature higher than or equal to the glass transition temperature of the phase-separable glass layer 4 in order to facilitate the phase separation treatment.
  • the phase separation step is performed by maintaining a temperature of 500 degrees (celsius) or higher and 700 degrees (celsius) or lower for 2 hours or more to 70 hours or less.
  • the solvent component of the paste may be removed from the glass powder film.
  • the heating temperature in the phase separation step can be lower than or equal to the crystallization temperature.
  • the heating temperature is not necessarily a constant temperature.
  • the temperature may be changed continuously, or a plurality of steps at different temperatures may be employed.
  • a high-temperature heat treatment (first heat treatment) may be performed at an initial stage of the phase separation step and, thereafter, a low-temperature heat treatment (second heat treatment) may be performed. That is, the phase separation step may include the first heat treatment and the second heat treatment, and the first heat treatment may be performed prior to the second heat treatment and, thereby, a heat treatment may be performed at a temperature higher than the heat treatment temperature of the second heat treatment.
  • a step in which the phase-separated glass layer 5 is subjected to an etching treatment and, thereby, the porous glass layer 2 having continuous holes is obtained is performed.
  • the non-silicon oxide rich phase is removed by the etching treatment while the silicon oxide rich phase of the phase-separated glass layer 5 remains.
  • the remaining portion serves as a skeleton of the porous glass layer 2 and the portion from which the non-silicon oxide rich phase has been removed serves as a hole of the porous glass layer 2.
  • the porous glass layer 2 includes a first region 2a in which the porosity changes continuously and a second region 2b in which the porosity is constant sequentially from the base member 1 side.
  • the first region 2a is a porous structure derived from the region 5a and the second region 2b is a porous structure derived from the region 5b.
  • the etching treatment to remove the non-silicon oxide rich phase is a treatment to elute the non-silicon oxide rich phase, which is a soluble phase, through contact with an aqueous solution.
  • the method for bringing the aqueous solution into contact with the glass is a method in which the glass is immersed in the aqueous solution, although not specifically limited insofar as the glass is brought into contact with the aqueous solution in the method.
  • the glass may be coated with the aqueous solution.
  • known solutions e.g., water, acid solutions, and alkaline solutions, capable of dissolving the non-silicon oxide rich phase may be used.
  • a plurality of types of step to bring the glass into contact with these aqueous solutions may be selected in accordance with uses.
  • an acid treatment is used favorably from the viewpoints of a small load on an insoluble phase (silicon oxide rich phase) and the degree of selective etching.
  • the non-silicon oxide rich phase which is an acid-soluble component, is removed through elution because of contact with an acid solution, while corrosion of the silicon oxide rich phase is relatively small, so that high selective etchability is ensured.
  • acid solutions can include inorganic acids, e.g., hydrochloric acid and nitric acid.
  • an aqueous solution by using water as a solvent can be employed.
  • concentration of the acid solution may be specified to be within the range of 0.1 mol/L or more and 2.0 mol/L or less appropriately.
  • the temperature of the acid solution may be specified to be within the range of 20 degrees (celsius) or higher and 100 degrees (celsius) or lower and the treatment time may be specified to be 1 hour or more and 500 hours or less.
  • silicon oxide film which hinders etching, may be generated on the glass surface after the phase separation treatment depending on the glass composition.
  • This surface silicon oxide layer may be removed by polishing, an alkali treatment, or the like.
  • Gel silicon oxide film may deposit on the skeleton depending on the glass composition. If necessary, a multistage etching method using acid etching solutions having different acidities or water may be employed. Etching may be performed at etching temperatures of 20 degrees (celsius) or higher and 95 degrees (celsius) or lower. Ultrasonic waves may be applied during the etching treatment, if necessary.
  • a water treatment (Etching step 2) can be performed after a treatment with an acid solution, an alkaline solution, or the like (Etching step 1) is performed.
  • the water treatment is performed, adhesion of residual components to a porous glass skeleton is suppressed and a porous glass layer having a higher porosity tends to be obtained.
  • the temperature in the water treatment step is preferably within the range of 20 degrees (celsius) or higher and 100 degrees (celsius) or lower.
  • the duration of the water treatment step is specified appropriately in accordance with the composition, the size, and the like of the glass concerned and may be usually about 1 hour to 50 hours.
  • the structure of the thus produced optical member that is, a change in the porosity in the vicinity of the interface between the base member 1 and the porous glass layer 2 is examined on the basis of a broken-out section of the glass by using an observation techniques, e.g., a scanning electron microscope (SEM) and a transmission electron microscope (TEM).
  • SEM scanning electron microscope
  • TEM transmission electron microscope
  • a quartz base member (produced by IIYAMA PRECISION GLASS CO., LTD., softening point 1,700 degrees (celsius), Young's modulus 72 GPa) was used as a base member.
  • the base member having a thickness of 1.1 mm was used after being cut into the size of 50 mm x 50 mm and being subjected to mirror finishing.
  • a mixed powder of a quartz powder, boron oxide, sodium oxide, and alumina was fused in a platinum crucible at 1,500 degrees (celsius) for 24 hours, where the charge composition was specified to be 64 percent by weight of SiO 2 , 27 percent by weight of B 2 O 3 , 6 percent by weight of Na 2 O, and 3 percent by weight of Al 2 O 3 .
  • the fused glass was poured into a graphite mold after the temperature was lowered to 1,300 degrees (celsius). Standing to cool was performed in air for about 20 minutes, keeping was performed in a slow cooling furnace at 500 degrees (celsius) for 5 hours, and thereafter, cooling was performed for 24 hours.
  • the resulting block of the borosilicate glass was pulverized by using a jet mill until the average particle diameter became 4.5 micrometers, so as to obtain Glass powder A.
  • the crystallization temperature of Glass powder A was 800 degrees (celsius).
  • Glass powder A 60.0 parts by mass
  • Alpha-terpineol 44.0 parts by mass
  • Ethyl cellulose registered trademark ETHOCEL Std 200 (produced by Dow Chemical Company)
  • the above-described raw materials were agitated and mixed, so as to obtain Glass paste A.
  • the viscosity of Glass paste A was 31,300 mPas.
  • Tetraethoxysilane (TEOS), hydrochloric acid, and ethanol were mixed and were agitated for 6 hours. Thereafter, 4-methyl-2-pentanol (4M2P) and 2-ethylbutanol (2EB) were mixed, so as to form a silicon oxide diluted solution. Subsequently, tetraethoxyboron (TEB), hydrochloric acid, and ethanol were mixed and were agitated for 6 hours. Thereafter, 4-methyl-2-pentanol (4M2P) and 2-ethylbutanol (2EB) were mixed, so as to form a boron diluted solution. The two solutions were mixed and were agitated for 3 hours, so as to form Sol solution A. The molar ratio of silicon to boron in terms of element of Sol solution A was 1:4.
  • a boron diluted solution was formed by mixing TEB and sodium ethoxide and was mixed with Sol solution A, so as to prepare Sol solution B.
  • the molar ratio of silicon to boron to sodium in terms of element was adjusted to become 1:4:1.
  • TEOS, hydrochloric acid, and ethanol were mixed and were agitated for 6 hours. Thereafter, 4M2P and 2EB were mixed, so as to form a silicon oxide diluted solution. Subsequently, TEB, potassium ethoxide, hydrochloric acid, and ethanol were mixed and were agitated for 6 hours. Thereafter, 4M2P and 2EB were mixed, so as to form a boron diluted solution. The two solutions were mixed and were agitated for 3 hours, so as to form Sol solution C. The molar ratio of silicon to boron to potassium in terms of element of Sol solution C was adjusted to become 1:4:1.
  • Sol solution A was applied to the base member A, and film was formed by a spin coating method. This operation was repeated two times and, thereafter, heating was performed at 100 degrees (celsius) for 10 minutes, so as to form an intermediate layer.
  • the film thickness of the intermediate layer was about 250 nm.
  • Glass paste A was applied to the intermediate layer 3 by screen printing.
  • a printing machine employed was MT-320TV produced by Micro-tec Co., Ltd.
  • a plate 30 mm x 30 mm of #500 and a solid image were used.
  • the solvent was dried by standing in a drying furnace at 100 degrees (celsius) for 10 minutes.
  • the thickness of the resulting film was 10.00 micrometers on the basis of SEM measurement.
  • the temperature of this film was raised to 350 degrees (celsius) at a temperature raising rate of 5 degrees (celsius)/min, and a heat treatment was performed for 3 hours, so as to form a phase-separable glass layer.
  • the temperatures of the base member, the intermediate layer, and the phase-separable glass layer were raised to 700 degrees (celsius) at a temperature raising rate of 5 degrees (celsius)/min, and a heat treatment was performed for 1 hour. Thereafter, the temperature was lowered to 600 degrees (celsius) at a temperature lowering rate of 10 degrees (celsius)/min, and a heat treatment was performed at 600 degrees (celsius) for 50 hours. The outermost surface of the film was polished, so as to obtain a phase-separated glass.
  • phase-separated glass layer was immersed in a 1.0 mol/L nitric acid aqueous solution heated to 80 degrees (celsius) and was stood for 24 hours while being kept at 80 degrees (celsius). Then, the phase-separated glass layer was immersed in distilled water heated to 80 degrees (celsius) and was stood for 24 hours. The glass body was taken out of the solution and was dried at room temperature for 12 hours, so as to obtain Sample A.
  • Fig. 5 shows an electron microscope observation diagram (SEM image) of a part of a cross-section of the base member and the porous glass layer of Sample A.
  • Example 1 Sol solution A was used in formation of the intermediate layer. However, Sol solution B was used in the present example. Sample B was obtained through the same steps as the steps in Example 1 except that described above.
  • a porous glass layer having a film thickness of 3.0 micrometers was disposed on the base member. It was ascertained that the porosity in the vicinity of the porous glass layer surface was large as compared with the porosity in the vicinity of the interface between the base member and the porous glass layer. It was ascertained that the porosity changed gently over a range of 500 nm or more from the interface between the base member and the porous glass layer.
  • Example 1 Sol solution A was used in formation of the intermediate layer. However, Sol solution C was used in the present example. Sample C was obtained through the same steps as the steps in Example 1 except that described above.
  • a porous glass layer having a film thickness of 3.0 micrometers was disposed on the base member. It was ascertained that the porosity in the vicinity of the porous glass layer surface was large as compared with the porosity in the vicinity of the interface between the base member and the porous glass layer. It was ascertained that the porosity changed gently over a range of 200 nm or more from the interface between the base member and the porous glass layer.
  • Example 1 Sol solution A was used in formation of the intermediate layer. However, Sol solution D was used in the present example. Sample D was obtained through the same steps as the steps in Example 1 except that described above. In this regard, the film thickness of the intermediate layer was about 150 nm.
  • a porous glass layer having a film thickness of 2.0 micrometers was disposed on the base member. It was ascertained that the porosity in the vicinity of the porous glass layer surface was large as compared with the porosity in the vicinity of the interface between the base member and the porous glass layer. It was ascertained that the porosity changed gently over a range of 400 nm or more from the interface between the base member and the porous glass layer.
  • Sample E was obtained through the same operations as the operations in Example 1 except that the intermediate layer was not disposed on the base member.
  • a porous glass layer having a film thickness of 2.0 micrometers was disposed on the base member.
  • the porosity was substantially the same throughout the whole porous glass layer.
  • Fig. 6 shows an electron microscope observation diagram (SEM image) of a part of a cross-section of the base member 1 and the porous glass layer 6 of Sample E.
  • the reflectance of each of Examples 1 to 4 and Comparative example 1 was measured.
  • a lens reflectance measuring apparatus (USPM-RU, produced by Olympus Corporation) was used in the measurement. Light was incident on the side where the porous glass layer on the base member was present, and the amount of the reflected light thereof was measured.
  • the measurement wavelength region was 400 nm to 750 nm.
  • Fig. 7 shows the wavelength dependence of reflectance of each of Samples 1 to 4 and Comparative example 1. It is believed from Fig. 7 that the wavelength dependence of reflectance of each of samples of Examples 1 to 4 is suppressed and a ripple is suppressed as compared with that of the sample of Comparative example 1. It is ascertained that a maximum reflectance of each of samples of Examples 1 to 4 is smaller than that of the sample of Comparative example 1.
  • Base member 2 Porous glass layer 3 Intermediate layer 4 Phase-separable glass layer 5 Phase-separated glass layer

Landscapes

  • Chemical & Material Sciences (AREA)
  • Engineering & Computer Science (AREA)
  • Chemical Kinetics & Catalysis (AREA)
  • General Chemical & Material Sciences (AREA)
  • Geochemistry & Mineralogy (AREA)
  • Materials Engineering (AREA)
  • Organic Chemistry (AREA)
  • Life Sciences & Earth Sciences (AREA)
  • Physics & Mathematics (AREA)
  • Optics & Photonics (AREA)
  • General Physics & Mathematics (AREA)
  • Inorganic Chemistry (AREA)
  • Dispersion Chemistry (AREA)
  • Composite Materials (AREA)
  • Surface Treatment Of Glass (AREA)
  • Surface Treatment Of Optical Elements (AREA)
  • Re-Forming, After-Treatment, Cutting And Transporting Of Glass Products (AREA)
  • Glass Compositions (AREA)
PCT/JP2012/007902 2011-12-15 2012-12-11 Method for manufacturing optical member Ceased WO2013088700A1 (en)

Priority Applications (1)

Application Number Priority Date Filing Date Title
US14/365,055 US9212088B2 (en) 2011-12-15 2012-12-11 Method for manufacturing optical member

Applications Claiming Priority (4)

Application Number Priority Date Filing Date Title
JP2011275102 2011-12-15
JP2011-275102 2011-12-15
JP2012241887A JP6016582B2 (ja) 2011-12-15 2012-11-01 光学部材の製造方法
JP2012-241887 2012-11-01

Publications (1)

Publication Number Publication Date
WO2013088700A1 true WO2013088700A1 (en) 2013-06-20

Family

ID=47559620

Family Applications (1)

Application Number Title Priority Date Filing Date
PCT/JP2012/007902 Ceased WO2013088700A1 (en) 2011-12-15 2012-12-11 Method for manufacturing optical member

Country Status (3)

Country Link
US (1) US9212088B2 (enExample)
JP (1) JP6016582B2 (enExample)
WO (1) WO2013088700A1 (enExample)

Cited By (4)

* Cited by examiner, † Cited by third party
Publication number Priority date Publication date Assignee Title
WO2013140717A3 (en) * 2012-03-23 2014-09-25 Canon Kabushiki Kaisha Method for manufacturing optical member, optical member, and image pickup apparatus
EP3694486A4 (en) * 2017-10-10 2020-12-16 Central Glass Co., Ltd. USE OF UV SENSITIVE INTERLAYER MATERIALS INCLUDING A FUNCTIONAL NANOSTRUCTURED COATING
US11422294B2 (en) 2017-10-10 2022-08-23 Central Glass Company, Limited Durable functional coatings
US12181667B2 (en) 2019-02-14 2024-12-31 Acr Ii Glass America Inc. Vehicle windshield for use with head-up display system

Families Citing this family (9)

* Cited by examiner, † Cited by third party
Publication number Priority date Publication date Assignee Title
JP2013127602A (ja) * 2011-11-18 2013-06-27 Canon Inc 光学部材、撮像装置、光学部材の製造方法及び撮像装置の製造方法
JP6049401B2 (ja) * 2011-11-18 2016-12-21 キヤノン株式会社 光学部材、撮像装置及び光学部材の製造方法
EP3116834B1 (en) 2014-03-13 2021-06-02 Corning Incorporated Glass article and method for forming the same
JP2017024961A (ja) * 2015-07-27 2017-02-02 ニッポン高度紙工業株式会社 無機酸化物成形体の製造方法
JP6627828B2 (ja) 2017-07-19 2020-01-08 日亜化学工業株式会社 薄膜の製造方法、薄膜形成材料、光学薄膜、及び光学部材
JP2020030435A (ja) * 2019-11-14 2020-02-27 日亜化学工業株式会社 薄膜形成材料、光学薄膜、及び光学部材
KR102470592B1 (ko) * 2021-12-28 2022-11-25 주식회사 케이엔씨 다공질 유리필터와 그 제조방법
CN115611520B (zh) * 2022-10-13 2024-05-14 深圳市赛尔美电子科技有限公司 多孔玻璃雾化芯及其制备方法和加热雾化装置
CN120717697B (zh) * 2025-08-26 2025-12-05 内蒙古工业大学 基于煤基固废的渐变多孔玻璃材料及其制备方法和应用

Citations (5)

* Cited by examiner, † Cited by third party
Publication number Priority date Publication date Assignee Title
US4273826A (en) * 1979-12-03 1981-06-16 Owens-Illinois, Inc. Process of making glass articles having antireflective coatings and product
JPS6483583A (en) 1987-09-26 1989-03-29 Agency Ind Science Techn Method for forming cellular film
EP0721112A2 (en) * 1994-12-27 1996-07-10 Ppg Industries, Inc. Multilayer antireflective coating with a graded base layer
JP2002160941A (ja) * 2000-11-22 2002-06-04 Miyazaki Prefecture 2層構造多孔質ガラス膜及びその製造方法
JP2012241887A (ja) 2011-05-24 2012-12-10 Aisin Aw Co Ltd ドライブプレート及びその製造方法

Family Cites Families (15)

* Cited by examiner, † Cited by third party
Publication number Priority date Publication date Assignee Title
US4313748A (en) * 1973-04-27 1982-02-02 Macedo Pedro B Method for producing a strengthened glass structural member
US4080188A (en) 1976-11-22 1978-03-21 Corning Glass Works Durable substrates having porous antireflection coatings
US4535026A (en) 1983-06-29 1985-08-13 The United States Of America As Represented By The United States Department Of Energy Antireflective graded index silica coating, method for making
JPS62202839A (ja) * 1985-10-14 1987-09-07 Agency Of Ind Science & Technol 耐薬品性多孔質ガラス及びその製造方法
LU86925A1 (fr) 1987-06-19 1989-03-08 Glaverbel Article en verre transmettant la lumiere et presentant une faible reflexion speculaire
JPH01192775A (ja) 1988-01-26 1989-08-02 Matsushita Electric Works Ltd 多孔質膜の形成方法
JPH03115139A (ja) 1989-09-29 1991-05-16 Hitachi Ltd 反射防止膜およびその形成方法
JPH072513A (ja) 1993-06-15 1995-01-06 Kimmon Mfg Co Ltd 合成石英ガラス粉の製造方法
WO2000013768A1 (en) 1998-09-09 2000-03-16 California Institute Of Technology Supported glass membrane for gas separation
JP3533195B2 (ja) 2001-08-02 2004-05-31 独立行政法人 科学技術振興機構 試料観察計測用可干渉ビーム装置
US7404990B2 (en) * 2002-11-14 2008-07-29 Air Products And Chemicals, Inc. Non-thermal process for forming porous low dielectric constant films
WO2005092564A1 (ja) 2004-03-25 2005-10-06 Ibiden Co., Ltd. 真空チャックおよび吸着板
US7132374B2 (en) * 2004-08-17 2006-11-07 Cecilia Y. Mak Method for depositing porous films
JP4951799B2 (ja) 2005-01-11 2012-06-13 宮崎県 分相性ガラスを前駆体とする多孔質ガラス及びその製造方法
US8168101B2 (en) * 2009-08-20 2012-05-01 General Electric Company Inorganic membrane devices and methods of making and using the same

Patent Citations (5)

* Cited by examiner, † Cited by third party
Publication number Priority date Publication date Assignee Title
US4273826A (en) * 1979-12-03 1981-06-16 Owens-Illinois, Inc. Process of making glass articles having antireflective coatings and product
JPS6483583A (en) 1987-09-26 1989-03-29 Agency Ind Science Techn Method for forming cellular film
EP0721112A2 (en) * 1994-12-27 1996-07-10 Ppg Industries, Inc. Multilayer antireflective coating with a graded base layer
JP2002160941A (ja) * 2000-11-22 2002-06-04 Miyazaki Prefecture 2層構造多孔質ガラス膜及びその製造方法
JP2012241887A (ja) 2011-05-24 2012-12-10 Aisin Aw Co Ltd ドライブプレート及びその製造方法

Non-Patent Citations (2)

* Cited by examiner, † Cited by third party
Title
J. OPT. SOC. AM., vol. 66, no. 6, 1976
MINOT ET AL: "Single-layer, gradient refractive index antireflection films effective from 0.35 to 2.5 [mu]", JOURNAL OF THE OPTICAL SOCIETY OF AMERICA, AMERICAN INSTITUTE OF PHYSICS, NEW YORK; US, vol. 66, no. 6, 1 January 1976 (1976-01-01), pages 515 - 519, XP008146661, ISSN: 0093-5433, DOI: 10.1364/JOSA.66.000515 *

Cited By (4)

* Cited by examiner, † Cited by third party
Publication number Priority date Publication date Assignee Title
WO2013140717A3 (en) * 2012-03-23 2014-09-25 Canon Kabushiki Kaisha Method for manufacturing optical member, optical member, and image pickup apparatus
EP3694486A4 (en) * 2017-10-10 2020-12-16 Central Glass Co., Ltd. USE OF UV SENSITIVE INTERLAYER MATERIALS INCLUDING A FUNCTIONAL NANOSTRUCTURED COATING
US11422294B2 (en) 2017-10-10 2022-08-23 Central Glass Company, Limited Durable functional coatings
US12181667B2 (en) 2019-02-14 2024-12-31 Acr Ii Glass America Inc. Vehicle windshield for use with head-up display system

Also Published As

Publication number Publication date
JP6016582B2 (ja) 2016-10-26
JP2013144634A (ja) 2013-07-25
US20140299573A1 (en) 2014-10-09
US9212088B2 (en) 2015-12-15

Similar Documents

Publication Publication Date Title
US9212088B2 (en) Method for manufacturing optical member
US9487436B2 (en) Optical member, image pickup apparatus, and method for manufacturing optical member
JP6080349B2 (ja) 光学部材および撮像装置
US20140320728A1 (en) Optical member, image pickup apparatus, and method for manufacturing optical member
US9517969B2 (en) Method for manufacturing a porous glass film
US20160178806A1 (en) Optical member and image pickup apparatus
EP2625150B1 (en) Porous glass, method for manufacturing porous glass, optical member, and image capture apparatus
WO2013088632A1 (en) Optical member, image pickup apparatus, and method for manufacturing optical member
US9766374B2 (en) Optical member, image pickup apparatus, and method for manufacturing optical member
JP2013224249A (ja) 光学部材の製造方法、光学部材及び撮像装置
JP2014006496A (ja) 光学部材、撮像装置及び光学部材の製造方法
JP2016033107A (ja) 相分離ガラス膜の製造方法、多孔質ガラス膜の製造方法、ガラス部材、撮像装置
WO2013179602A1 (en) Optical member, image pickup apparatus, and method for manufacturing optical member
JP2015011162A (ja) 光学部材、撮像装置及び光学部材の製造方法
JP2016023109A (ja) 相分離ガラス膜の製造方法、多孔質ガラス膜の製造方法

Legal Events

Date Code Title Description
121 Ep: the epo has been informed by wipo that ep was designated in this application

Ref document number: 12815849

Country of ref document: EP

Kind code of ref document: A1

WWE Wipo information: entry into national phase

Ref document number: 14365055

Country of ref document: US

NENP Non-entry into the national phase

Ref country code: DE

122 Ep: pct application non-entry in european phase

Ref document number: 12815849

Country of ref document: EP

Kind code of ref document: A1