WO2013084553A1 - 撮像モジュールおよび撮像ユニット - Google Patents

撮像モジュールおよび撮像ユニット Download PDF

Info

Publication number
WO2013084553A1
WO2013084553A1 PCT/JP2012/072882 JP2012072882W WO2013084553A1 WO 2013084553 A1 WO2013084553 A1 WO 2013084553A1 JP 2012072882 W JP2012072882 W JP 2012072882W WO 2013084553 A1 WO2013084553 A1 WO 2013084553A1
Authority
WO
WIPO (PCT)
Prior art keywords
electrode
cable
chip
main surface
imaging
Prior art date
Legal status (The legal status is an assumption and is not a legal conclusion. Google has not performed a legal analysis and makes no representation as to the accuracy of the status listed.)
Ceased
Application number
PCT/JP2012/072882
Other languages
English (en)
French (fr)
Japanese (ja)
Inventor
中山 高志
Current Assignee (The listed assignees may be inaccurate. Google has not performed a legal analysis and makes no representation or warranty as to the accuracy of the list.)
Olympus Corp
Original Assignee
Olympus Corp
Priority date (The priority date is an assumption and is not a legal conclusion. Google has not performed a legal analysis and makes no representation as to the accuracy of the date listed.)
Filing date
Publication date
Application filed by Olympus Corp filed Critical Olympus Corp
Priority to EP12854656.1A priority Critical patent/EP2790218A4/en
Publication of WO2013084553A1 publication Critical patent/WO2013084553A1/ja
Priority to US14/291,178 priority patent/US9455358B2/en
Anticipated expiration legal-status Critical
Ceased legal-status Critical Current

Links

Images

Classifications

    • GPHYSICS
    • G02OPTICS
    • G02BOPTICAL ELEMENTS, SYSTEMS OR APPARATUS
    • G02B7/00Mountings, adjusting means, or light-tight connections, for optical elements
    • G02B7/02Mountings, adjusting means, or light-tight connections, for optical elements for lenses
    • HELECTRICITY
    • H10SEMICONDUCTOR DEVICES; ELECTRIC SOLID-STATE DEVICES NOT OTHERWISE PROVIDED FOR
    • H10FINORGANIC SEMICONDUCTOR DEVICES SENSITIVE TO INFRARED RADIATION, LIGHT, ELECTROMAGNETIC RADIATION OF SHORTER WAVELENGTH OR CORPUSCULAR RADIATION
    • H10F77/00Constructional details of devices covered by this subclass
    • H10F77/93Interconnections
    • H10F77/933Interconnections for devices having potential barriers
    • HELECTRICITY
    • H04ELECTRIC COMMUNICATION TECHNIQUE
    • H04NPICTORIAL COMMUNICATION, e.g. TELEVISION
    • H04N23/00Cameras or camera modules comprising electronic image sensors; Control thereof
    • H04N23/50Constructional details
    • H04N23/54Mounting of pick-up tubes, electronic image sensors, deviation or focusing coils
    • HELECTRICITY
    • H04ELECTRIC COMMUNICATION TECHNIQUE
    • H04NPICTORIAL COMMUNICATION, e.g. TELEVISION
    • H04N23/00Cameras or camera modules comprising electronic image sensors; Control thereof
    • H04N23/57Mechanical or electrical details of cameras or camera modules specially adapted for being embedded in other devices
    • HELECTRICITY
    • H10SEMICONDUCTOR DEVICES; ELECTRIC SOLID-STATE DEVICES NOT OTHERWISE PROVIDED FOR
    • H10FINORGANIC SEMICONDUCTOR DEVICES SENSITIVE TO INFRARED RADIATION, LIGHT, ELECTROMAGNETIC RADIATION OF SHORTER WAVELENGTH OR CORPUSCULAR RADIATION
    • H10F39/00Integrated devices, or assemblies of multiple devices, comprising at least one element covered by group H10F30/00, e.g. radiation detectors comprising photodiode arrays
    • H10F39/011Manufacture or treatment of image sensors covered by group H10F39/12
    • H10F39/018Manufacture or treatment of image sensors covered by group H10F39/12 of hybrid image sensors
    • HELECTRICITY
    • H10SEMICONDUCTOR DEVICES; ELECTRIC SOLID-STATE DEVICES NOT OTHERWISE PROVIDED FOR
    • H10FINORGANIC SEMICONDUCTOR DEVICES SENSITIVE TO INFRARED RADIATION, LIGHT, ELECTROMAGNETIC RADIATION OF SHORTER WAVELENGTH OR CORPUSCULAR RADIATION
    • H10F39/00Integrated devices, or assemblies of multiple devices, comprising at least one element covered by group H10F30/00, e.g. radiation detectors comprising photodiode arrays
    • H10F39/80Constructional details of image sensors
    • H10F39/804Containers or encapsulations
    • HELECTRICITY
    • H01ELECTRIC ELEMENTS
    • H01LSEMICONDUCTOR DEVICES NOT COVERED BY CLASS H10
    • H01L2924/00Indexing scheme for arrangements or methods for connecting or disconnecting semiconductor or solid-state bodies as covered by H01L24/00
    • H01L2924/0001Technical content checked by a classifier
    • H01L2924/0002Not covered by any one of groups H01L24/00, H01L24/00 and H01L2224/00

Definitions

  • the present invention relates to an imaging module including an imaging chip, a wiring board joined to the imaging chip, and a cable joined to the imaging chip via the wiring board, and an imaging unit including the imaging module .
  • An imaging module 101 shown in FIG. 1 is disclosed in Japanese Patent Laid-Open No. 2010-263020.
  • the imaging module 101 includes a cover glass 110, an imaging element chip 120, a wiring board 130, and a cable 140.
  • the cover glass 110 and the imaging element chip 120 are joined by an adhesive layer 119, and the imaging element chip 120 and the wiring board 130 are joined by a reinforcing member 129. Further, the joint between the wiring board 130 and the cable 140 is covered with a reinforcing member 149.
  • the external electrode 122 of the imaging element chip 120 is bonded to the chip electrode 132 of the wiring board 130.
  • the wiring board 130 has a through hole 131 reaching the back surface of the chip electrode 132.
  • the conducting wire 142 of the cable 140 is electrically connected to the tip electrode 132 by being joined in a state of being inserted into the through hole 131.
  • thermal energy or mechanical load is also applied to the junction of the external electrode 122 and the tip electrode 132 already joined. Applied.
  • An object of the present invention is to provide a connection reliable thin diameter imaging module and a connection reliable thin diameter imaging unit.
  • a chip electrode is disposed on the first main surface, and a cable electrode connected to the chip electrode through the through wiring is disposed on the second main surface.
  • an imaging element chip having an external electrode joined to the chip electrode, and a cable having a conducting wire joined to the cable electrode, wherein the cable electrode is a region where the chip electrode is disposed. It is disposed in the area not facing the imaging element chip having an external electrode joined to the chip electrode, and a cable having a conducting wire joined to the cable electrode, wherein the cable electrode is a region where the chip electrode is disposed. It is disposed in the area not facing the
  • the tip electrode is disposed on the first main surface, and the cable electrode connected to the tip electrode through the through wiring is disposed on the second main surface.
  • an imaging element chip having an external electrode joined to the chip electrode, and a cable having a conducting wire joined to the cable electrode, wherein the cable electrode is provided with the chip electrode
  • the imaging module includes an imaging module disposed in an area not facing the area, and an optical member for forming an object image on a light receiving surface of the imaging element chip.
  • FIG. 1 It is sectional drawing for demonstrating the structure of the conventional imaging module. It is a perspective view for demonstrating the structure of the imaging module of embodiment. It is a cross-sectional exploded view for demonstrating the structure of the imaging module of embodiment. It is a top view for demonstrating the wiring board of the imaging module of embodiment, and has shown the 1st main surface. It is a top view for demonstrating the wiring board of the imaging module of embodiment, and has shown the 2nd main surface. It is a perspective view for demonstrating the manufacturing method of the imaging chip of the imaging module of embodiment. It is sectional drawing for demonstrating the manufacturing method of the imaging module of embodiment. It is sectional drawing for demonstrating the manufacturing method of the imaging module of embodiment. FIG.
  • FIG. 18 is a plan view for explaining a wiring board of the imaging module of Modification Example 1, and shows a first main surface.
  • FIG. 21 is a plan view for explaining a wiring board of the imaging module of Modification Example 1, and shows a second main surface.
  • FIG. 21 is a plan view for explaining a wiring board of the imaging module of Modification Example 2, and shows a first main surface.
  • FIG. 21 is a plan view for explaining a wiring board of the imaging module of Modification Example 2, and shows a second main surface.
  • FIG. 21 is a plan view for illustrating a wiring board of the imaging module of Modification Example 3, and shows a first main surface.
  • FIG. 21 is a plan view for explaining a wiring board of the imaging module of Modification Example 3, and shows a second main surface.
  • FIG. 18 is a cross-sectional view for describing the structure of an imaging module of Modification 4.
  • FIG. 18 is a cross-sectional view for describing a structure of an imaging module of Modification 5. It is a sectional view for explaining the structure of the imaging unit of an embodiment.
  • FIGS. 2 to 4B The structure of the imaging module 1 according to the embodiment of the present invention will be described with reference to FIGS. 2 to 4B.
  • the drawings are all schematic diagrams for explanation, and the ratio of dimensions in the vertical and horizontal directions is different from the actual one. In addition, illustration of some components may be omitted.
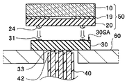
  • the imaging module 1 includes a cover glass 10, an imaging element chip 20, a wiring board 30, and a cable 40.
  • the imaging element chip 20 to which the cover glass 10 is bonded is referred to as an imaging chip 50.
  • a transparent cover glass 10 is bonded to the front surface 20SA of the imaging element chip 20 via an adhesive layer 19.
  • the adhesive layer 19 is not disposed on the CCD 21.
  • the imaging chip 50 is manufactured by cutting and separating one bonded wafer 50W (see FIG. 5) by wafer level chip size package (WL-CSP) technology. Therefore, the outer size of the cover glass 10 is the same as the outer size of the imaging element chip 20.
  • the external electrode 24 of the back surface 20SB of the imaging chip 50 is bonded to the chip electrode 31 of the first main surface 30SA of the wiring board 30.
  • a space between the imaging chip 50 and the wiring board 30 is sealed by a sealing resin 29.
  • the outer size of the wiring board 30 is smaller than the outer size of the imaging chip 50.
  • the conducting wire 42 of the cable 40 is joined to the cable electrode 33 of the second main surface 30SB of the wiring board 30.
  • the cable electrode 33 is connected to the chip electrode 31 of the first main surface 30SA via the through wiring 32 and the surface wiring 34 of the second main surface 30SB.
  • the junction between the wiring board 30 and the cable 40 is covered with a sealing resin 49.
  • the imaging module 1 is characterized in the relative arrangement, that is, the positional relationship between the tip electrode 31 of the wiring board 30 and the cable electrode 33.
  • the outer peripheral portion of the first main surface 30SA of the wiring board 30 (near the outer side of the wiring board 30 in plan view and its periphery, ie, the surface on the side closer to the peripheral edge) , Eight chip electrodes 31 are disposed, and the central portion of the second main surface 30SB (near the center of wiring board 30 and its periphery in plan view, that is, on the inner surface) , Nine cable electrodes 33 are disposed.
  • the arrangement interval P1 of the plurality of tip electrodes 31 arranged in the outer peripheral portion is wider than the arrangement interval P2 of the plurality of cable electrodes 33 arranged in the central portion.
  • the chip electrode 31 and the cable electrode 33 are connected through the through wiring 32.
  • the cable electrode 33 is disposed in a region not facing the disposition region of the tip electrode 31. In other words, in the transmission plan view, the cable electrode 33 and the tip electrode 31 are not displayed in an overlapping manner.
  • the chip electrode 31 is disposed immediately above the through wiring 32
  • the cable electrode 33 is disposed at the central portion of the wiring board 30 separated from the through wiring 32 via the surface wiring 34.
  • the imaging module 1 is manufactured by bonding the cable 40 to the second main surface 30SB of the wiring board 30, and then forming the CSP type imaging chip 50 as the first main surface 30SA of the wiring board 30.
  • a plurality of CCDs 21 and a plurality of signal processing circuits are formed on the front surface of the silicon wafer 20W using known semiconductor technology.
  • a micro lens and a color filter may be disposed on the CCD 21.
  • a COMS image sensor or the like may be used as the solid-state imaging device.
  • a plurality of CCD electrode pads 22 connected to the CCD 21 via respective wirings (not shown) extended from the signal processing circuit are arranged on the outer peripheral portion of each CCD 21.
  • the transparent glass wafer 10W is bonded to the front surface of the silicon wafer 20W, that is, the surface on which the CCD 21 is formed via the adhesive layer 19W, whereby a bonded wafer 50W is produced.
  • An opening is formed in the adhesive layer 19 W above at least the effective imaging element forming region of the CCD 21. Therefore, a cavity is formed between the CCD 21 formation region of the silicon wafer 20W and the glass wafer 10W. Depending on the specifications of the imaging module, it may not be necessary to form a cavity.
  • a photoresist is used on the back surface of the bonded wafer 50W (silicon wafer 20W), and an etching mask having an opening at a position facing the CCD electrode pad 22 is disposed. Then, dry etching such as ICP-RIE from the back surface side is used to form a through hole which penetrates the silicon wafer 20 W and reaches the back surface of the CCD electrode pad 22. For the formation of the through holes, wet etching using an alkaline solution such as KOH or TMAH may be used, for example.
  • an alkaline solution such as KOH or TMAH
  • a through wire 23 made of a conductive material covering the inside of the through hole is manufactured, and the inside of the through hole is filled with a conductive material or the like. Furthermore, the external electrode 24 is manufactured on the back surface side of the through wiring 23.
  • the external electrode 24 is a convex bump made of gold, solder or the like.
  • the external electrode 24 is produced, for example, by forming a plating bump or a stud bump on the electrode pattern.
  • the bonding wafer 50W is cut / divided along the dashed line shown in FIG. 5 by a blade dicing method, whereby a plurality of imaging chips 50 are manufactured collectively.
  • the wiring board 30 is manufactured using a double-sided wiring board.
  • the wiring board 30 has a plurality of chip electrodes 31 on the outer peripheral portion of the first major surface 30SA. The position of each tip electrode 31 is set to coincide with the position of the corresponding external electrode 24 of the imaging chip 50. A through wire 32 reaching the second main surface 30SB is formed immediately below the chip electrode 31.
  • the wiring board 30 has a plurality of cable electrodes 33 at the center of the second main surface 30SB. The cable electrode 33 connected to the through wire 32 through the surface wire 34 is set to coincide with the position of the corresponding wire 42 of the cable 40.
  • the outer size of the wiring board 30 is smaller than the outer size of the imaging chip 50 in order to reduce the diameter of the imaging module 1.
  • the cable electrode 33 of the wiring board 30 and the conducting wire 42 of the cable 40 are joined.
  • a joint to which thermal energy is locally applied is heated to a temperature higher than the melting point of the solder.
  • heater heating, laser heating, lamp heating, or the like may be used, and heating may be performed while applying pressure as necessary.
  • bonding may be performed by applying different energy, for example, applying ultrasonic energy or the like.
  • a sealing resin 49 is disposed around the periphery.
  • the wiring board 30 holds the first main surface 30SA upward on the stage 60 having a hole through which the cable 40 can be inserted.
  • the imaging chip 50 is aligned such that the external electrode 24 abuts on the chip electrode 31 of the first main surface 30SA of the wiring board 30. Then, thermal energy is locally applied to the contact portion between the tip electrode 31 and the external electrode 24 through the stage 60, whereby the bonding process is performed.
  • a sealing resin 29 is disposed at the joint portion.
  • the sealing resin 29 seals the periphery of the bonding portion to improve the reliability of connection, and at the same time, bonds the imaging chip 50 and the wiring board 30.
  • epoxy resin, silicone resin, acrylic resin, phenol resin or the like is used as the sealing resin 29, epoxy resin, silicone resin, acrylic resin, phenol resin or the like.
  • An anisotropic conductive paste (ACP), an anisotropic conductive film (ACF), an insulating paste (NCP) or the like may be used as the sealing resin 29.
  • the sealing resin 29 may not be used.
  • the chip electrode 31 and the cable electrode 33 are not provided at the same position on the front and back of the wiring board 30. For this reason, when the joint between the tip electrode 31 and the external electrode 24 is locally heated, unnecessary thermal energy and thermal stress are applied to the joint between the cable electrode 33 and the cable 40 already joined. I have not.
  • the imaging module 1 has high connection reliability while realizing reduction in diameter.
  • the imaging chip 50 may be joined to the wiring board 30 by holding the imaging chip 50 by the collet 61 and applying thermal energy to the joint via the collet 61. .
  • the cable 40 and the wiring board 30 may be bonded after the imaging chip 50 and the wiring board 30 are bonded.
  • imaging modules 1A to 1F of modifications of the embodiment will be described.
  • the imaging modules 1A to 1F of the modified example are similar to the imaging module 1 of the embodiment, so the same components are denoted by the same reference numerals and descriptions thereof will be omitted.
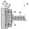
  • the cable electrode 33 is disposed in a region not facing the disposition region of the chip electrode 31, so all of them are imaged It has the same effect as module 1.
  • the chip electrode 31 is disposed at the center of the first main surface 30SA of the wiring board 30A, and is separated from the chip electrode 31 via the surface wiring 35. It is connected to the through wire 32 at the position.
  • the cable electrode 33 is arrange
  • the chip electrode 31 is disposed at the central portion and the peripheral portion of the first main surface 30SA of the wiring board 30B.
  • a part of the chip electrodes 31 is connected to the through wiring 32 through the surface wiring 35, and a part of the chip electrodes 31 is connected to the through wiring 32 immediately below.
  • the cable electrode 33 is arrange
  • a portion of the cable electrodes 33 is disposed immediately above the through wiring 32, and a portion of the cable electrodes 33 is disposed at a distance from the through wiring 32 via the surface wiring 34. Further, a part of the through wiring 32 connects the cable electrode 33 and the chip electrode 31 through the surface wirings 34 and 35.
  • the plurality of chip electrodes 31 are disposed in a region eccentric from the center of the first main surface 30SA of the wiring board 30C. Then, as in the imaging module 1B, the surface wiring 35 is disposed on the first main surface 30SA, the surface wiring 34 is disposed on the second main surface 30SB, and the cable electrode 33 is a chip It is arrange
  • the chip electrode 31C of the first main surface 30SA is a dummy electrode for securing the balance of bonding.
  • the electronic component 36 is surface-mounted on the surface wiring 34 of the second main surface 30SB of the wiring board 30C.
  • the mounted electronic component is, for example, a chip component such as a chip capacitor.
  • a multilayer wiring board or a component built-in board may be used as the wiring board.
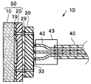
  • ⁇ Modification 4> As shown in FIG. 11, in the imaging module 1D of the fourth modification, the ends of the plurality of conducting wires 42 of the cable 40 are rearranged according to the arrangement of the plurality of cable electrodes 33 of the wiring board 30. It is integrated.
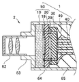
  • the imaging unit 2 includes the imaging module 1 described above, and an optical member that forms an object image on the light receiving surface of the imaging element chip. That is, in the imaging unit 2, the lens unit 62 (optical lens and lens barrel for holding the same) and the lens unit holder 63 for holding the same are housed inside the shield frame 64 together with the imaging module 1. Is sealed by the filling resin 65.
  • the imaging unit 2 including the imaging module 1 has high connection reliability and a small diameter, and thus is suitable for being disposed at the tip of the electronic endoscope.
  • An imaging unit having imaging modules 1A to 1E instead of the imaging module 1 also has the same effect as the imaging unit 2.

Landscapes

  • Physics & Mathematics (AREA)
  • Engineering & Computer Science (AREA)
  • Multimedia (AREA)
  • Signal Processing (AREA)
  • General Physics & Mathematics (AREA)
  • Optics & Photonics (AREA)
  • Solid State Image Pick-Up Elements (AREA)
  • Transforming Light Signals Into Electric Signals (AREA)
  • Lens Barrels (AREA)
  • Studio Devices (AREA)
  • Endoscopes (AREA)
PCT/JP2012/072882 2011-12-05 2012-09-07 撮像モジュールおよび撮像ユニット Ceased WO2013084553A1 (ja)

Priority Applications (2)

Application Number Priority Date Filing Date Title
EP12854656.1A EP2790218A4 (en) 2011-12-05 2012-09-07 PICTURE MODULE AND IMAGING UNIT
US14/291,178 US9455358B2 (en) 2011-12-05 2014-05-30 Image pickup module and image pickup unit

Applications Claiming Priority (2)

Application Number Priority Date Filing Date Title
JP2011-266073 2011-12-05
JP2011266073A JP5757852B2 (ja) 2011-12-05 2011-12-05 撮像モジュールおよび撮像ユニット

Related Child Applications (1)

Application Number Title Priority Date Filing Date
US14/291,178 Continuation US9455358B2 (en) 2011-12-05 2014-05-30 Image pickup module and image pickup unit

Publications (1)

Publication Number Publication Date
WO2013084553A1 true WO2013084553A1 (ja) 2013-06-13

Family

ID=48573937

Family Applications (1)

Application Number Title Priority Date Filing Date
PCT/JP2012/072882 Ceased WO2013084553A1 (ja) 2011-12-05 2012-09-07 撮像モジュールおよび撮像ユニット

Country Status (4)

Country Link
US (1) US9455358B2 (enExample)
EP (1) EP2790218A4 (enExample)
JP (1) JP5757852B2 (enExample)
WO (1) WO2013084553A1 (enExample)

Families Citing this family (15)

* Cited by examiner, † Cited by third party
Publication number Priority date Publication date Assignee Title
JP6344935B2 (ja) * 2014-03-13 2018-06-20 Hoya株式会社 半導体装置及び内視鏡
CN106104791B (zh) * 2014-03-20 2019-05-14 奥林巴斯株式会社 安装构造体的制造方法、安装用夹具、安装构造体的制造装置、摄像装置以及内窥镜装置
JP6515431B2 (ja) * 2015-03-31 2019-05-22 国立大学法人東北大学 挿入器具および挿入器具の製造方法
JP6625615B2 (ja) 2015-04-17 2019-12-25 オリンパス株式会社 撮像装置
WO2016194074A1 (ja) * 2015-05-29 2016-12-08 オリンパス株式会社 撮像装置、内視鏡システムおよび撮像装置の製造方法
US10122953B2 (en) 2015-11-30 2018-11-06 Fujikura Ltd. Imaging module
JP2019047300A (ja) 2017-08-31 2019-03-22 株式会社フジクラ 撮像モジュール及びハーネスユニット
TWI646939B (zh) * 2017-11-10 2019-01-11 沅聖科技股份有限公司 微內視鏡裝置
WO2019138462A1 (ja) * 2018-01-10 2019-07-18 オリンパス株式会社 撮像装置、内視鏡、および、撮像装置の製造方法
CN112135557B (zh) * 2018-03-14 2024-09-13 奥林巴斯株式会社 摄像单元和斜视型内窥镜
CN108511475B (zh) * 2018-05-17 2023-10-10 黄琴 一种超小型pad的辅助焊接元件的制造方法和辅助焊接方法
JP6792661B2 (ja) * 2019-03-27 2020-11-25 Hoya株式会社 撮像モジュール及び内視鏡
JP2020194854A (ja) * 2019-05-27 2020-12-03 株式会社 Rosnes 固体撮像装置へ配線する製造方法
CN116635769A (zh) * 2021-01-18 2023-08-22 三星电子株式会社 包括微型相机的可穿戴的电子装置
JP7688783B2 (ja) * 2022-09-09 2025-06-04 オリンパスメディカルシステムズ株式会社 撮像装置、内視鏡、および、撮像装置の製造方法

Citations (5)

* Cited by examiner, † Cited by third party
Publication number Priority date Publication date Assignee Title
JP2000092477A (ja) * 1998-09-07 2000-03-31 Olympus Optical Co Ltd 撮像装置
JP2004031498A (ja) * 2002-06-24 2004-01-29 Fuji Photo Film Co Ltd 固体撮像装置の製造方法
JP2006051258A (ja) * 2004-08-16 2006-02-23 Pentax Corp 電子内視鏡の先端部
JP2006324304A (ja) * 2005-05-17 2006-11-30 Yuutekku System:Kk 半導体パッケージ及びイメージセンサー型モジュール
JP2010263020A (ja) 2009-04-30 2010-11-18 Panasonic Corp 光学デバイスモジュール

Family Cites Families (4)

* Cited by examiner, † Cited by third party
Publication number Priority date Publication date Assignee Title
US5436492A (en) * 1992-06-23 1995-07-25 Sony Corporation Charge-coupled device image sensor
JP2001118967A (ja) * 1999-10-19 2001-04-27 Sanyo Electric Co Ltd 固体撮像素子のパッケージ構造
DE102004056946A1 (de) * 2004-11-23 2006-05-24 Karl Storz Gmbh & Co. Kg Bildaufnehmermodul sowie Verfahren zum Zusammenbauen eines Bildaufnehmermoduls
JP2011188375A (ja) * 2010-03-10 2011-09-22 Olympus Corp 撮像装置

Patent Citations (5)

* Cited by examiner, † Cited by third party
Publication number Priority date Publication date Assignee Title
JP2000092477A (ja) * 1998-09-07 2000-03-31 Olympus Optical Co Ltd 撮像装置
JP2004031498A (ja) * 2002-06-24 2004-01-29 Fuji Photo Film Co Ltd 固体撮像装置の製造方法
JP2006051258A (ja) * 2004-08-16 2006-02-23 Pentax Corp 電子内視鏡の先端部
JP2006324304A (ja) * 2005-05-17 2006-11-30 Yuutekku System:Kk 半導体パッケージ及びイメージセンサー型モジュール
JP2010263020A (ja) 2009-04-30 2010-11-18 Panasonic Corp 光学デバイスモジュール

Also Published As

Publication number Publication date
US20140264697A1 (en) 2014-09-18
EP2790218A1 (en) 2014-10-15
JP2013118337A (ja) 2013-06-13
JP5757852B2 (ja) 2015-08-05
EP2790218A4 (en) 2015-07-29
US9455358B2 (en) 2016-09-27

Similar Documents

Publication Publication Date Title
JP5757852B2 (ja) 撮像モジュールおよび撮像ユニット
KR100494044B1 (ko) 촬상장치 및 그의 제조방법
JP6021618B2 (ja) 撮像装置、内視鏡及び撮像装置の製造方法
US20110249106A1 (en) Image pickup apparatus, endoscope and manufacturing method for image pickup apparatus
JP2009088510A (ja) ガラスキャップモールディングパッケージ及びその製造方法、並びにカメラモジュール
JP2005333142A (ja) チップパッケージ、そのパッケージを含むイメージセンサーモジュール及びその製造方法
JP2008092417A (ja) 半導体撮像素子およびその製造方法並びに半導体撮像装置および半導体撮像モジュール
JP4005994B2 (ja) コネクター及びこれを用いたイメージセンサーモジュール
JP6124505B2 (ja) 撮像モジュール
WO2017037828A1 (ja) 内視鏡、電子ユニットおよび電子ユニットの製造方法
CN101764140A (zh) 覆晶式影像感测模块及其制作方法
WO2016166888A1 (ja) 撮像装置
JP2002299592A (ja) 半導体装置
WO2015125776A1 (ja) 撮像装置および撮像装置の製造方法
JP6081170B2 (ja) 撮像装置、内視鏡及び撮像装置の製造方法
JP2008300574A (ja) 固体撮像装置
JP6535087B2 (ja) 撮像モジュール、および撮像モジュールの製造方法
JP2008288327A (ja) 半導体装置及びその製造方法
JP2005242242A (ja) 画像センサパッケージおよびカメラモジュール
JP2009088650A (ja) イメージセンサモジュールおよびイメージセンサモジュールの製造方法
JP2001016486A (ja) 固体撮像素子モジュール
CN111108744B (zh) 固体摄像装置
JP2005244116A (ja) 半導体装置の製造方法
JP2004343638A (ja) 光デバイス及びその製造方法、光モジュール並びに電子機器
JP6184106B2 (ja) 固体撮像素子用中空パッケージ、固体撮像素子及び固体撮像装置

Legal Events

Date Code Title Description
121 Ep: the epo has been informed by wipo that ep was designated in this application

Ref document number: 12854656

Country of ref document: EP

Kind code of ref document: A1

NENP Non-entry into the national phase

Ref country code: DE