WO2013081062A1 - X線コンピュータ断層撮影装置 - Google Patents

X線コンピュータ断層撮影装置 Download PDF

Info

Publication number
WO2013081062A1
WO2013081062A1 PCT/JP2012/080966 JP2012080966W WO2013081062A1 WO 2013081062 A1 WO2013081062 A1 WO 2013081062A1 JP 2012080966 W JP2012080966 W JP 2012080966W WO 2013081062 A1 WO2013081062 A1 WO 2013081062A1
Authority
WO
WIPO (PCT)
Prior art keywords
top plate
ray
scan
control unit
ray tube
Prior art date
Legal status (The legal status is an assumption and is not a legal conclusion. Google has not performed a legal analysis and makes no representation as to the accuracy of the status listed.)
Ceased
Application number
PCT/JP2012/080966
Other languages
English (en)
French (fr)
Japanese (ja)
Inventor
達郎 鈴木
Current Assignee (The listed assignees may be inaccurate. Google has not performed a legal analysis and makes no representation or warranty as to the accuracy of the list.)
Toshiba Corp
Canon Medical Systems Corp
Original Assignee
Toshiba Corp
Toshiba Medical Systems Corp
Priority date (The priority date is an assumption and is not a legal conclusion. Google has not performed a legal analysis and makes no representation as to the accuracy of the date listed.)
Filing date
Publication date
Application filed by Toshiba Corp, Toshiba Medical Systems Corp filed Critical Toshiba Corp
Priority to CN201280002239.1A priority Critical patent/CN103237498B/zh
Priority to US13/771,122 priority patent/US8681933B2/en
Publication of WO2013081062A1 publication Critical patent/WO2013081062A1/ja
Anticipated expiration legal-status Critical
Ceased legal-status Critical Current

Links

Images

Classifications

    • GPHYSICS
    • G01MEASURING; TESTING
    • G01NINVESTIGATING OR ANALYSING MATERIALS BY DETERMINING THEIR CHEMICAL OR PHYSICAL PROPERTIES
    • G01N23/00Investigating or analysing materials by the use of wave or particle radiation, e.g. X-rays or neutrons, not covered by groups G01N3/00 – G01N17/00, G01N21/00 or G01N22/00
    • G01N23/02Investigating or analysing materials by the use of wave or particle radiation, e.g. X-rays or neutrons, not covered by groups G01N3/00 – G01N17/00, G01N21/00 or G01N22/00 by transmitting the radiation through the material
    • G01N23/04Investigating or analysing materials by the use of wave or particle radiation, e.g. X-rays or neutrons, not covered by groups G01N3/00 – G01N17/00, G01N21/00 or G01N22/00 by transmitting the radiation through the material and forming images of the material
    • G01N23/046Investigating or analysing materials by the use of wave or particle radiation, e.g. X-rays or neutrons, not covered by groups G01N3/00 – G01N17/00, G01N21/00 or G01N22/00 by transmitting the radiation through the material and forming images of the material using tomography, e.g. computed tomography [CT]
    • AHUMAN NECESSITIES
    • A61MEDICAL OR VETERINARY SCIENCE; HYGIENE
    • A61BDIAGNOSIS; SURGERY; IDENTIFICATION
    • A61B6/00Apparatus or devices for radiation diagnosis; Apparatus or devices for radiation diagnosis combined with radiation therapy equipment
    • A61B6/02Arrangements for diagnosis sequentially in different planes; Stereoscopic radiation diagnosis
    • A61B6/027Arrangements for diagnosis sequentially in different planes; Stereoscopic radiation diagnosis characterised by the use of a particular data acquisition trajectory, e.g. helical or spiral
    • AHUMAN NECESSITIES
    • A61MEDICAL OR VETERINARY SCIENCE; HYGIENE
    • A61BDIAGNOSIS; SURGERY; IDENTIFICATION
    • A61B6/00Apparatus or devices for radiation diagnosis; Apparatus or devices for radiation diagnosis combined with radiation therapy equipment
    • A61B6/02Arrangements for diagnosis sequentially in different planes; Stereoscopic radiation diagnosis
    • A61B6/03Computed tomography [CT]
    • A61B6/032Transmission computed tomography [CT]
    • AHUMAN NECESSITIES
    • A61MEDICAL OR VETERINARY SCIENCE; HYGIENE
    • A61BDIAGNOSIS; SURGERY; IDENTIFICATION
    • A61B6/00Apparatus or devices for radiation diagnosis; Apparatus or devices for radiation diagnosis combined with radiation therapy equipment
    • A61B6/04Positioning of patients; Tiltable beds or the like
    • A61B6/0487Motor-assisted positioning
    • AHUMAN NECESSITIES
    • A61MEDICAL OR VETERINARY SCIENCE; HYGIENE
    • A61BDIAGNOSIS; SURGERY; IDENTIFICATION
    • A61B6/00Apparatus or devices for radiation diagnosis; Apparatus or devices for radiation diagnosis combined with radiation therapy equipment
    • A61B6/46Arrangements for interfacing with the operator or the patient
    • A61B6/467Arrangements for interfacing with the operator or the patient characterised by special input means
    • A61B6/469Arrangements for interfacing with the operator or the patient characterised by special input means for selecting a region of interest [ROI]

Definitions

  • Embodiments of the present invention relate to an X-ray computed tomography apparatus.
  • Helical reciprocation scanning is an imaging technique in which an X-ray tube is continuously rotated on a circular orbit centered on a subject and a top plate is continuously reciprocated.
  • imaging in the outward path with respect to the reciprocating movement of the top board is referred to as an outward path scan.
  • photographing on the return path is called a return path scan.
  • the X-ray tube (or X-ray detector) draws a spiral trajectory (hereinafter referred to as a helical trajectory) with respect to the subject.
  • a helical trajectory for a subject into which a contrast medium has been injected is used for analyzing blood flow dynamics (perfusion).
  • the conventional helical reciprocating scan has the following problems. First, the subject is not imaged during the return from the forward (inbound) scan to the inbound (outbound) scan, that is, during acceleration / deceleration of the top board (for example, FIG. 19).
  • the waiting time for imaging during acceleration / deceleration of the top plate lowers the time resolution in perfusion analysis.
  • a rotating frame on which the X-ray tube and the X-ray detector are mounted is rotated at a predetermined angular velocity in advance, and X-rays are exposed when the top plate speed reaches a constant speed.
  • the helical trajectory may be different for each forward (return) scan (for example, FIG. 20).
  • the difference in the helical trajectory for each forward (return) scan causes a difference in image quality (hereinafter referred to as an image quality difference) regarding the same imaging position with respect to the subject. If the time resolution is small and an image quality difference occurs at the same shooting position, the perfusion analysis may be inaccurate.
  • the purpose is to provide an X-ray computed tomography apparatus that realizes an improvement in temporal resolution and a reduction in the difference in helical trajectory in helical reciprocal scanning.
  • An X-ray computed tomography apparatus includes an X-ray tube that generates X-rays, an X-ray detector that detects X-rays generated from the X-ray tube and transmitted through the subject, and the subject
  • a rotation drive unit that rotates a rotating frame that mounts the top plate, the X-ray tube and the X-ray detector around the subject, along the long axis direction of the top plate,
  • a plurality of movement drive means for relatively reciprocating the rotating frame and the top plate and a plurality of movements in the forward path in the relative reciprocating movement of the rotating frame and the top plate, respectively.
  • a plurality of movement trajectories of the X-ray tube, and a plurality of movement trajectories of the X-ray tube corresponding to a plurality of movements on the return path, respectively. And.
  • FIG. 1 is a diagram showing a configuration of an X-ray computed tomography apparatus according to the present embodiment.
  • FIG. 2 is a cross-sectional view showing an example of a cross section of a gantry and a bed in the X-ray computed tomography apparatus according to the present embodiment.
  • FIG. 3 is a diagram illustrating the definition of the axes according to the present embodiment.
  • FIG. 4 is an explanatory diagram for explaining the helical reciprocating scan according to the present embodiment.
  • FIG. 5 is a diagram illustrating an example of the relationship between the travel time of the top plate in the forward direction and the travel speed of the top plate according to the present embodiment.
  • FIG. 6 is a diagram illustrating an example of the relationship between the travel time of the top plate in the forward direction and the travel speed of the top plate according to the present embodiment.
  • FIG. 7 is a diagram illustrating an example of the relationship between the travel time of the top plate in the forward direction and the travel speed of the top plate according to the present embodiment.
  • FIG. 8 is a diagram illustrating an example of the relationship between the scan position and the top plate speed in the helical reciprocating scan according to the present embodiment.
  • FIG. 9 is a diagram illustrating an example of the relationship between the scan position and the top plate speed in the helical reciprocating scan with no imaging waiting time according to the present embodiment.
  • FIG. 10 is a diagram illustrating a relationship between the number of rotations of the X-ray tube and the X-ray detector and the position of the top plate for each moving direction of the top plate according to the present embodiment.
  • FIG. 11 is a diagram illustrating an example of the trajectory of the X-ray tube or the X-ray detector by the helical reciprocating scan for each moving direction of the top plate according to the present embodiment.
  • FIG. 12 is a diagram illustrating an example of a positional relationship between the X-ray tube, the X-ray detector, and the imaging range in the helical reciprocating scan according to the present embodiment.
  • FIG. 11 is a diagram illustrating an example of the trajectory of the X-ray tube or the X-ray detector by the helical reciprocating scan for each moving direction of the top plate according to the present embodiment.
  • FIG. 12 is a diagram illustrating an example of a positional relationship between the X-ray tube, the X-ray detector, and the imaging range in the helical reciprocating
  • FIG. 13 is a diagram illustrating an example of the dependency of the rotation angle of the X-ray tube, the position of the top plate, and the top plate speed with respect to time according to the present embodiment.
  • FIG. 14 is a flowchart illustrating an example of a procedure for helical reciprocal scanning according to the present embodiment.
  • FIG. 15 is a diagram illustrating a configuration of an X-ray computed tomography apparatus according to a modification of the present embodiment.
  • FIG. 16 is a diagram illustrating an example of setting of the imaging range of the subject according to this modification.
  • FIG. 17 is a diagram illustrating an example of a setting screen for the imaging range of the subject according to this modification.
  • FIG. 18 is a flowchart illustrating an example of a procedure for setting the imaging range of the helical reciprocating scan according to the present modification.
  • FIG. 19 is a diagram showing a relationship between time and a top plate speed in a conventional helical reciprocating scan.
  • FIG. 20 is a diagram illustrating an example of a helical trajectory for each outward path in a conventional helical reciprocating scan.
  • an X-ray computed tomography apparatus (Computed Tomography: hereinafter referred to as an X-ray CT apparatus) according to the present embodiment will be described with reference to the drawings.
  • an X-ray tube and an X-ray detector are integrally rotated with a Rotate / Rotate-Type that rotates around the subject, and a large number of X-ray detection elements arrayed in a ring shape are fixed.
  • a Rotate / Rotate-Type that rotates around the subject
  • a large number of X-ray detection elements arrayed in a ring shape are fixed.
  • There are various types such as Stationary / Rotate-Type in which only the tube rotates around the subject, and the present embodiment can be applied to any type.
  • the so-called multi-tube type X-ray computed tomography apparatus in which a plurality of pairs of X-ray tubes and X-ray detectors are mounted on a rotating frame has been commercialized, and the development of peripheral technologies has progressed. Yes.
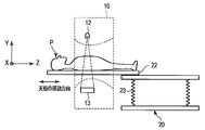
  • FIG. 1 is a diagram showing a configuration of an X-ray CT apparatus 100 according to the present embodiment.
  • the X-ray CT apparatus 100 includes a gantry 10, a bed 20, and a console device 30.
  • FIG. 2 is a cross-sectional view showing an example of a cross section of the gantry 10 and the bed 20 in the X-ray CT apparatus 100.
  • the gantry 10 and the bed 20 are installed as illustrated in FIG.
  • the arrows shown in FIG. 2 indicate the body axis direction of the subject P.
  • the top plate 22 repeatedly reciprocates continuously in a first direction (for example, the forward direction) parallel to the body axis direction of the subject P and in a second direction (for example, the backward direction) opposite to the first direction.
  • a first direction for example, the forward direction
  • a second direction for example, the backward direction
  • the gantry 10 is mounted with an annular or disk-shaped rotating frame 15.
  • the rotating frame 15 supports the X-ray tube 12 and the X-ray detector 13 so as to be rotatable around the rotation axis.
  • the rotating frame 15 supports the X-ray tube 12 and the X-ray detector 13 so as to face each other with the subject P interposed therebetween.
  • the rotating frame 15 is connected to the rotation driving unit 16.
  • the rotation driving unit 16 continuously rotates the rotating frame 15 according to control by the drive control unit 38 in the console device 30. At this time, the X-ray tube 12 and the X-ray detector 13 supported by the rotating frame 15 rotate around the rotation axis.
  • the Z axis is defined as the rotation axis of the rotating frame 15.
  • the Y axis is defined as an axis connecting the X-ray focal point of the X-ray tube 12 and the center of the detection surface of the X-ray detector 13.
  • the Y axis is orthogonal to the Z axis.
  • the X axis is defined as an axis orthogonal to the Y axis and the Z axis.
  • the XYZ orthogonal coordinate system constitutes a rotating coordinate system that rotates with the rotation of the X-ray tube 12.
  • the X-ray tube 12 receives a high voltage supplied from the high voltage generator 11 and generates cone-shaped X-rays.
  • the high voltage generator 11 applies a high voltage to the X-ray tube 12 according to control by the scan controller 36.
  • the X-ray detector 13 detects X-rays generated from the X-ray tube 12 and transmitted through the subject P.
  • the X-ray detector 13 generates a current signal corresponding to the detected X-ray intensity.
  • a type called a surface detector or a multi-row detector may be applied.
  • This type of X-ray detector is equipped with a plurality of X-ray detection elements arranged two-dimensionally. Here, it is assumed that a single X-ray detection element constitutes a single channel.
  • 100 X-ray detection elements are arranged in a one-dimensional manner with respect to the arc direction (channel direction) having a radius from the center to the center of the light receiving unit of the X-ray detection element with the X-ray focus as the center.
  • the A plurality of X-ray detection elements arranged along the channel direction are hereinafter referred to as an X-ray detection element array.
  • 64 X-ray detection element arrays are arranged along the slice direction indicated by the Z axis.
  • the X-ray detector 13 is connected to a data collection unit (data acquisition system: hereinafter referred to as DAS) 14.
  • DAS data acquisition system
  • the mechanism for converting incident X-rays into electric charges is based on an indirect conversion type in which X-rays are converted into light by a phosphor such as a scintillator and the light is further converted into electric charges by a photoelectric conversion element such as a photodiode.
  • a photoelectric conversion element such as a photodiode.
  • the generation of electron-hole pairs in a semiconductor such as selenium and the transfer to the electrodes, that is, the direct conversion type utilizing a photoconductive phenomenon, are the mainstream. Any of these methods may be adopted as the X-ray detection element.
  • the data collection unit 14 reads out an electrical signal for each channel from the X-ray detector 13 according to control by the scan control unit 36.
  • the data collection unit 14 amplifies the read electrical signal.
  • the data collection unit 14 generates projection data by converting the amplified electrical signal into a digital signal. Note that the data collection unit 14 can also read the electrical signal from the X-ray detector 13 and generate projection data during a period when the X-ray is not exposed.
  • the generated projection data is supplied to the console device 30 via a non-contact data transmission unit (not shown).
  • a bed 20 is installed in the vicinity of the gantry 10.
  • the bed 20 includes a top plate 22, a top plate support mechanism 23, and a top plate drive unit 21.
  • a subject P is placed on the top plate 22.
  • the top plate support mechanism 23 supports the top plate 22 so as to be capable of reciprocating along the Z axis.
  • the top plate support mechanism 23 supports the top plate 22 so that the long axis of the top plate 22 is parallel to the Z axis.
  • the top plate drive unit 21 drives the top plate 22 according to control by a drive control unit 38 of the console device 30 described later. Specifically, the top board drive unit 21 moves the top board 22 at a constant speed in a constant speed region set within the imaging range.
  • the top board drive unit 21 accelerates or decelerates the moving speed of the top board 22 in the acceleration / deceleration region within the imaging range. That is, the top plate drive unit 21 decelerates and stops the top plate 22 in the deceleration region. After the top plate 22 stops, the top plate drive unit 21 reverses the moving direction of the top plate 22. The top board drive unit 21 accelerates the moving speed of the top board 22 in the acceleration region.
  • the gantry 10 may be moved at a constant speed.
  • the gantry 10 is moved along the Z-axis by a gantry driving unit (not shown).
  • the gantry driving unit accelerates or decelerates the gantry 10 in the acceleration / deceleration region. That is, the gantry driving unit decelerates and stops the gantry 10 in the deceleration region.
  • the gantry driving unit reverses the moving direction of the gantry 10. The gantry driving unit accelerates the moving speed of the gantry 10 in the acceleration region.
  • the console device 30 includes an input unit 31, a display unit 32, a system control unit 33, an image processing unit 34, an image data storage unit 35, a scan control unit 36, a speed time change pattern storage unit 37, and a drive control unit 38.
  • the input unit 31 includes input devices such as a mouse, a keyboard, and a touch panel.
  • the input unit 31 inputs various commands, various information, and the like to the X-ray CT apparatus 100 by an operator via an input device.
  • the display unit 32 is a display such as an LCD (Liquid Crystal Display).
  • the display unit 32 displays a medical image stored in an image data storage unit 35 to be described later, a GUI (Graphical User Interface) for receiving various instructions from the operator, and the like.
  • the input unit 31 sets or inputs various scan conditions in the helical reciprocating scan according to an instruction from the operator via the input device.
  • the helical reciprocating scan is an imaging technique in which the X-ray tube 12 is continuously rotated on a circular orbit centered on the subject and the top plate 22 is continuously reciprocated.
  • the scan conditions include, for example, the imaging range of the subject on which the helical reciprocating scan is executed, positional information of the imaging range, the speed of the top plate 22 related to the helical reciprocating scan (hereinafter referred to as the top speed), the helical pitch, and the scan time. , The rotational speed of the rotating frame 15, the distance of the constant speed section of the top plate 22, and the like.
  • the input unit 31 may input a range in which the top plate 22 is moved at a constant speed in the imaging range by an operation by an operator via an input device. Further, the input unit 31 may input an angular velocity for continuously rotating the rotary frame 15 around the rotation axis according to an instruction from the operator via the input device. Note that the angular velocity may be set in advance by the scan control unit 36 to be described later based on the scanning conditions.
  • FIG. 4 is a diagram for explaining helical reciprocal scanning.
  • the focal point (or the X-ray detector 13) of the X-ray tube 12 draws a spiral locus (hereinafter referred to as a helical locus) with respect to the subject P. .
  • the direction of the arrow from the subject's head to the foot is the Z direction.
  • Imaging when the top plate 22 is moved in the same direction as the Z direction is referred to as forward scan. Imaging when the top plate 22 is moved in the direction opposite to the Z direction is referred to as a backward scan.
  • top plate OUT indicates a direction in which the top plate 22 is moved in the backward scan. 4 indicate the agar direction of the X-ray tube 12.
  • the system control unit 33 includes an integrated circuit such as an ASIC (Application Specific Integrated Circuit) and an FPGA (Field Programmable Gate Array), a CPU (Central Processing Unit), and an MPU (MicroProcess circuit). Specifically, the system control unit 33 performs overall control of the X-ray CT apparatus 100 by controlling each unit in the gantry 10, the bed 20, and the console device 30. For example, the system control unit 33 controls the scan control unit 36 to collect projection data. The system control unit 33 controls an image processing unit 34 described later to reconstruct a medical image based on the projection data. The system control unit 33 outputs the scan condition input via the input unit 31 to the scan control unit 36.
  • ASIC Application Specific Integrated Circuit
  • FPGA Field Programmable Gate Array
  • CPU Central Processing Unit
  • MPU MicroProcess circuit
  • the image processing unit 34 performs various processes on the projection data generated by the data collecting unit 14. Specifically, the image processing unit 34 performs preprocessing such as sensitivity correction on the projection data. The image processing unit 34 reconstructs a medical image based on the reconstruction condition instructed from the system control unit 33. The image processing unit 34 stores the reconstructed medical image in an image data storage unit 35 described later. In order to reconstruct an image, projection data for 360 ° around the subject and projection data for 180 ° + fan angle are required for the half scan method. The present embodiment can be applied to any reconfiguration method.
  • the image data storage unit 35 includes a RAM (Random Access Memory), a ROM (Read Only Memory), a semiconductor memory element such as a flash memory (flash memory), a hard disk, an optical disk, and the like.
  • the image data storage unit 35 stores the medical image reconstructed by the image processing unit 34.
  • the speed time change pattern storage unit 37 stores a plurality of time change patterns (patterns that change acceleration) related to the top board speed.
  • 5 to 7 are diagrams illustrating an example of the relationship between the travel time of the top plate and the travel speed of the top plate in the forward direction of the reciprocation of the top plate 22 (hereinafter referred to as a speed-time change pattern).
  • FIG. 5 shows a speed-time change pattern associated with, for example, the photographing range input by the operator and the constant speed value of the top board.
  • FIG. 7 shows a speed-time change pattern in the case of a shooting range smaller than the shooting range of FIG.
  • FIG. 6 shows a speed-time change pattern in the case of a shooting range smaller than the shooting range of FIG. 5 and larger than the shooting range of FIG.
  • the time interval (A) in FIGS. 5 to 7 indicates a period in which the acceleration of the top plate 22 is increasing.
  • a time interval (B) in FIGS. 5 and 6 indicates a period in which the acceleration of the top plate 22 is constant.
  • the time interval (C) in FIGS. 5 and 7 indicates a period in which the acceleration of the top plate 22 is decreasing.
  • the time intervals (A), (B), and (C) correspond to the acceleration region in the reciprocation part of the reciprocating movement within the imaging range.
  • the time interval (D) in FIG. 5 indicates a period in which the top plate speed is constant.
  • the time interval (D) corresponds to a constant speed region within the imaging range.
  • a time interval (E) in FIGS. 5 to 7 indicates a period in which the deceleration of the top plate 22 is increasing.
  • the time interval (F) in FIGS. 5 and 6 indicates a period in which the deceleration of the top plate 22 is constant.
  • a time interval (G) in FIGS. 5 and 7 indicates a period in which the deceleration of the top plate 22 is decreasing.
  • the time intervals (E), (F), and (G) correspond to the deceleration region in the reciprocation part of the reciprocating movement within the imaging range. As shown in FIGS.
  • the speed-time change pattern may be a time-change pattern of the top plate speed set so that the time required for one reciprocating movement of the top plate 22 is an integral multiple of the time required for one rotation of the rotary frame 15 around the rotation axis. Any time change pattern may be used.
  • the scan control unit 36 has an integrated circuit such as an ASIC and FPGA, and an electronic circuit such as a CPU and MPU.
  • the scan control unit 36 controls the high voltage generation unit 11, the data collection unit 14, and a drive control unit 38 which will be described later, based on the scan condition instructed from the system control unit 33.
  • the scan control unit 36 reads a time change pattern of the top board speed from the speed time change pattern storage unit 37 based on the scan condition.
  • the scan control unit 36 outputs the read speed-time change pattern of the top plate and the scan condition to the drive control unit 38.
  • the scan control unit 36 outputs an instruction to rotate the rotating frame 15 to the drive control unit 38 based on the scan condition.
  • the scan controller 36 controls the high voltage generator 11 in order to reduce exposure to the subject.
  • the scan control unit 36 uses the X-rays in the direction along the Z axis (hereinafter referred to as the Z direction) and the direction along the X axis and the Y axis (hereinafter referred to as the XY direction) based on the scanogram acquired in advance.
  • the high voltage generator 11 is controlled so as to change the intensity.
  • the scan control unit 36 controls the data collection unit 14 to collect projection data. Specifically, the scan control unit 36 controls the data collection unit 14 so that the number of views necessary for reconstructing a tomographic image is the same at any Z position in each of the forward scan and the backward scan. .
  • the scan control unit 36 calculates the total rotation angle of the constant speed section of the top plate 22 based on the distance of the constant speed section set or input via the input unit 31 and the rotation speed of the rotating frame 15. It is also possible to do. Thereby, the scan control unit 36 can calculate the rotation angle of the X-ray tube 12 at the end position of the constant speed section based on the set scan condition. Further, the scan control unit 36 can set the rotation angle of the X-ray tube 12 at the scan start position to a predetermined position in the forward path of the constant speed section of the top plate 22. Similarly, the scan control unit 36 can calculate the rotation angle of the X-ray tube 12 at the end position of the constant speed section in the return path of the constant speed section of the top plate 22.
  • the scan control part 36 can also determine the relationship (henceforth a helical locus
  • the scan control unit 36 can also determine the speed of the top board 22 or the gantry 10 in the forward scan and the backward scan based on the information on the imaging range of the subject input by the input unit 31. Note that the scan control unit 36, based on the information on the imaging range, returns a portion from the forward scan to the backward scan (hereinafter referred to as a first return portion) and a portion from the backward scan to the forward scan (hereinafter referred to as the first return portion). It is also possible to determine the acceleration of the top plate 22 or the gantry 10 at the same time. Further, the scan control unit 36 can determine the speed of the fixed speed section of the top plate 22 or the gantry 10 in the forward scan and the backward scan based on the information on the imaging range.
  • the scan control unit 36 irradiates the subject with X-rays in the acceleration / deceleration section of the top plate 22 or the gantry 10 in the first and second folded portions, It is also possible to control the tube 12 and the X-ray detector 13.
  • the scan control unit 36 drives the drive control unit so that the rotation end angle of the helical trajectory at the end position of the constant speed section of the forward path matches the rotation start angle of the helical path at the start position of the constant speed section of the return path. 38 can also be controlled. In addition, the scan control unit 36 adjusts the top end 22 so that the rotation end angle of the helical trajectory at the end position of the constant speed section of the forward path matches the rotation start angle of the helical trajectory at the start position of the constant speed section of the return path.
  • the speed pattern in the acceleration / deceleration section may be selected. For example, in order to match the rotation end angle and the rotation start angle, the scan control unit 36 selects a speed pattern that satisfies the following relationship, for example.
  • the rotation angle at the time of deceleration (or at the time of acceleration) in the acceleration / deceleration section is equal to ((rotation start angle ⁇ rotation end angle) +360 degrees ⁇ n rotations) / 2.
  • the drive control unit 38 controls the rotation drive unit 16 and the top plate drive unit 21 based on the scan condition output from the scan control unit 36.
  • the drive control unit 38 adjusts the speed / time change pattern based on the imaging range of the subject. Specifically, the drive control unit 38 changes the speed time so that the time required for one reciprocating movement in each of the plurality of reciprocating movements of the top plate 22 is an integral multiple of the time required for one rotation of the rotating frame around the rotation axis. Adjust the pattern. For example, the drive control unit 38 adjusts at least one of the acceleration change pattern, the constant speed time, the speed magnitude, and the acceleration magnitude among the speed time change patterns. The drive control unit 38 controls the top plate driving unit 21 according to the adjusted speed time change pattern.
  • the drive control unit 38 controls the rotation driving unit 16 so as to continuously rotate the rotating frame 15.
  • the drive control unit 38 controls the top plate drive unit 21 so that the temporal change patterns of the top plate speed in each of the plurality of reciprocating movements coincide.
  • the drive control unit 38 controls the top plate driving unit 21 so that the waiting time at the turn-back time in the reciprocating movement of the top plate 22 is zero.
  • the drive control unit 38 controls the top plate drive unit 21 to change and adjust the acceleration so that the stop time of the top plate 22 at the time of turning back in the reciprocating movement of the top plate 22 becomes substantially zero. May be.
  • FIG. 8 is a diagram showing an example of the relationship between the scan position and the top plate speed for one round trip of the helical round trip scan.
  • the drive control unit 38 controls the top plate driving unit 21 in order to match the top plate speed in association with the scan position and the scan direction in each of the plurality of reciprocating movements.
  • FIG. 9 is a diagram showing an example of the relationship between the scan position and the top plate speed in the helical reciprocating scan without the imaging waiting time.
  • the drive control unit 38 makes the photographing waiting time (stop time at the turning point) during acceleration / deceleration of the top plate 22 in each of the plurality of reciprocating movements substantially zero.
  • the top plate drive unit 21 is controlled.
  • the drive control unit 38 stops the top plate 22 at a turning point from a plurality of reciprocating movements to the return path, and executes 180 ° + fan angle or 360 ° imaging under the control of the scan control unit 36. It is also possible to make it. Thereby, the range in which an image is reconstructed can be made larger than the range of reciprocal movement.
  • the drive control unit 38 controls the top plate drive unit 21 to stop the top plate 22 while performing imaging of the rotary frame 15 by 360 ° or 180 ° + fan angle at the time of turning. .
  • FIG. 10 is a diagram showing the relationship between the number of rotations of the rotating frame 15 (or the X-ray tube 12 and the X-ray detector 13) and the position of the top plate for each movement direction of the top plate.
  • the top board IN and the top board OUT in FIG. 10 correspond to the top board IN and the top board OUT in FIG. 4, respectively.
  • the drive control unit 38 controls the top plate drive unit 21 to stop the top plate 22 until the rotating frame 15 takes one rotation (360 °).
  • the drive control unit 38 controls the top plate driving unit 21 so as to accelerate the top plate 22 when photographing one rotation (360 °).
  • the drive control unit 38 controls the top plate driving unit 21 to stop the top plate 22 in accordance with the rotation number of the rotary frame 15 reaching the tenth rotation.
  • the drive control unit 38 controls the top plate drive unit 21 to stop the top plate 22 until the rotating frame 15 takes one rotation (360 °).
  • the drive control unit 38 controls the top plate driving unit 21 so as to accelerate the top plate 22 when photographing one rotation (360 °).
  • the drive control unit 38 controls the top plate driving unit 21 to stop the top plate 22 in accordance with the rotation number of the rotary frame 15 reaching the tenth rotation.
  • the drive control unit 38 repeats the above control for the top plate drive unit 21.
  • FIG. 11 is a diagram illustrating an example of the helical trajectory of the top plate IN and the helical trajectory of the top plate OUT in the control of the top plate driving unit 21 by the drive control unit 38 related to FIG.
  • the drive control unit 38 controls the top plate drive unit 21 so that the helical trajectories for the subject on the top plate IN and the top plate OUT are matched. In other words, control is performed so that the helical trajectories in the first round trip, the second round trip, and each round trip are the same.
  • a plurality of helical trajectories corresponding respectively to a plurality of movements in the forward path are approximately the same.
  • a plurality of helical trajectories corresponding respectively to a plurality of movements on the return path substantially coincide.
  • the rotation angle of the X-ray tube 12 at the start of relative movement in the forward path and the rotation angle of the X-ray tube 12 at the start of relative movement in the return path may be the same angle or an angle different by 180 degrees.
  • FIG. 12 is a diagram showing an example of the positional relationship between the X-ray tube 12, the X-ray detector 13 and the imaging range in the helical reciprocating scan related to FIGS.
  • the FOV in FIG. 12 indicates the imaging field of view (Field Of View).
  • a hatched area surrounded by the FOV and the imaging range indicates a scan area.
  • the drive control unit 38 controls the top plate driving unit 21 so that the top plate 22 is stopped until the rotary frame 15 rotates 360 ° when returning from the forward scan to the backward scan. Thereby, an image can be reconstructed using projection data for one rotation of the rotating frame 15 at the time of folding (at both ends of the photographing range).
  • an imaging range larger than the reciprocating range of the top plate 22 can be obtained.
  • FIG. 13 is a diagram illustrating an example of the dependency of the rotation angle of the X-ray tube 12, the position of the top plate, and the top plate speed with respect to time controlled by the drive control unit 38.
  • the rotation angle of the X-ray tube 12 is used instead of the rotation angle of the rotation frame 15.
  • the X-ray tube 12 makes one rotation around the Z axis. Subsequently, the top plate 22 is moved along the return path direction. At this time, the X-ray tube 12 rotates N (N is a natural number) around the Z axis at a constant angular velocity. The top plate 22 stops at the time of turning back. With the top plate 22 stopped, the X-ray tube 12 makes one rotation around the Z axis. Thereafter, the above movement is repeated.
  • FIG. 14 is a flowchart illustrating an example of a procedure for helical reciprocal scanning.
  • the operator inputs the imaging range of the subject, the maximum value of the moving speed of the top board 22, and the number of reciprocations of the top board 22 through the input unit 31 (step Sa1).
  • a time change pattern (speed time change pattern) of the top board speed is determined (step Sa2).
  • photographing for one rotation at the time of turning back in the reciprocating movement of the top plate 22 may be selected.
  • the speed control of the top plate 22 can be set by the operator via the input unit 31.
  • the determined speed time change pattern is read from the speed time change pattern storage unit 37 (step Sa3).
  • step Sa4 Based on the input photographing range, the read speed time change pattern is adjusted (step Sa4).
  • step Sa5 When scanning is started (step Sa5), the top 22 is reciprocated based on the adjusted speed / time change pattern (step Sa6).
  • step Sa6 The process of step Sa6 is repeated until the number of reciprocating movements of the top plate 22 becomes equal to the inputted number of reciprocating movements (step Sa7).
  • step Sa8 When the number of reciprocating movements of the top plate 22 is equal to the inputted number of reciprocating movements, the scanning is finished (step Sa8).
  • FIG. 15 is a diagram illustrating a configuration of an X-ray CT apparatus 100 according to a modification example of the present embodiment.
  • the X-ray CT apparatus 100 includes a gantry 10, a bed 20, and a console device 30. Differences between the configuration diagram of this embodiment (FIG. 1) and the configuration diagram of this modification (FIG. 15) will be described.
  • the present modification includes a shooting range storage unit 39 and a shooting range setting unit 40 instead of the speed / time change pattern storage unit 37 of the present embodiment.
  • the shooting range storage unit 39 stores a plurality of discrete shooting ranges.
  • Each of the plurality of imaging ranges is an imaging range in which the time required for one reciprocating movement of the top plate 22 is an integral multiple of the time required for one rotation of the rotary frame 15 around the rotation axis.
  • each of the plurality of shooting ranges is a shooting range in which the stop time of the top plate at the time of folding in the reciprocating movement of the top plate 22 is minimized (nearly zero).
  • the imaging range storage unit 39 stores a time change pattern (speed time change pattern) of the tabletop speed corresponding to each of a plurality of discrete imaging ranges. Note that the shooting range storage unit 39 may store a plurality of speed time change patterns in association with each of a plurality of discrete shooting ranges.
  • the shooting range setting unit 40 has a shooting range equal to the shooting range input through the input unit 31 (hereinafter referred to as an input shooting range) among a plurality of discrete shooting ranges, or a tag range exceeding the input shooting range.
  • the smallest imaging range is set as the imaging range in which the helical reciprocating scan is performed (hereinafter referred to as the actual imaging range).
  • FIG. 16 is a diagram illustrating an example of setting of the imaging range of the subject according to this modification.
  • an input shooting range 71 is input by, for example, dragging on the scanogram displayed on the display unit 32 with a mouse or the like of the input device.
  • the shooting range setting unit 40 includes a plurality of discrete shootings that exceed the input shooting range 71 among the shooting ranges (a, b, c, d, and e in FIG. 16) stored in the shooting range storage unit 39.
  • the range (a in FIG. 16) is set as the effective shooting range.
  • FIG. 17 is a diagram showing an example of the setting screen for the imaging range of the subject according to this modification.
  • Imaging parts such as the head, chest, and abdomen shown in FIG. 17 are displayed by pull-down.
  • a part desired by the operator (a head in FIG. 17) among the imaging parts displayed by the pull-down is selected by the operator via the input device.
  • the discrete shooting ranges stored in the shooting range storage unit 39 are displayed by pull-down (80, 82, 84,..., 160 in FIG. 17).
  • the shooting range desired by the operator 80 in FIG. 17
  • the input device is selected by the operator via the input device.
  • FIG. 18 is a flowchart showing an example of the procedure for setting the imaging range of the helical reciprocating scan according to this modification.
  • the imaging range of the subject related to the helical reciprocal scan is input via the input device of the input unit 31 (step Sb1). If there is a shooting range equal to the input shooting range 71 in the shooting range storage unit 39 (step Sb2), a speed-time change pattern corresponding to this equal shooting range is read from the shooting range storage unit 39 (step Sb3). The top plate 22 is driven based on the read speed time change pattern. If there is no shooting range equal to the input shooting range 71 in the shooting range storage unit 39 (step Sb2), the smallest shooting range among the plurality of discrete shooting ranges exceeding the input shooting range 71 is set as the actual shooting range. (Step Sb4). A speed time change pattern corresponding to the set shooting range is read from the shooting range storage unit 39 (step Sb5). The top plate 22 is driven based on the read speed time change pattern.
  • the following effects can be obtained.
  • the X-ray computed tomography apparatus 100 in the present embodiment in the helical reciprocal scan, it is possible to reduce or eliminate the imaging waiting time at the time of turning back in the reciprocating movement of the top plate 22. This improves the time resolution.
  • the helical trajectory in the helical reciprocal scan can be matched for each forward scan and backward scan. Thereby, the image quality for each scan can be made uniform. From the above, the accuracy of perfusion analysis can be improved.
  • the control of the gantry 10 and the bed 20 can be simplified. Thereby, an inexpensive X-ray computed tomography apparatus 100 can be provided.
  • the top plate 22 is stopped at both ends of the moving range of the top plate 22 and shooting for 360 ° or 180 ° + fan angle is performed, so that a wider range of shooting is possible.
  • artifacts having directionality remaining in the difference between the forward and backward paths can be reduced, and for example, deterioration of the accuracy of the analysis result in perfusion analysis or the like can be prevented.

Landscapes

  • Health & Medical Sciences (AREA)
  • Life Sciences & Earth Sciences (AREA)
  • Engineering & Computer Science (AREA)
  • Medical Informatics (AREA)
  • Pathology (AREA)
  • General Health & Medical Sciences (AREA)
  • Physics & Mathematics (AREA)
  • Nuclear Medicine, Radiotherapy & Molecular Imaging (AREA)
  • Radiology & Medical Imaging (AREA)
  • Heart & Thoracic Surgery (AREA)
  • Veterinary Medicine (AREA)
  • Biomedical Technology (AREA)
  • High Energy & Nuclear Physics (AREA)
  • Molecular Biology (AREA)
  • Surgery (AREA)
  • Animal Behavior & Ethology (AREA)
  • Biophysics (AREA)
  • Public Health (AREA)
  • Optics & Photonics (AREA)
  • Pulmonology (AREA)
  • Theoretical Computer Science (AREA)
  • Chemical & Material Sciences (AREA)
  • Analytical Chemistry (AREA)
  • Biochemistry (AREA)
  • General Physics & Mathematics (AREA)
  • Immunology (AREA)
  • Apparatus For Radiation Diagnosis (AREA)
PCT/JP2012/080966 2011-12-01 2012-11-29 X線コンピュータ断層撮影装置 Ceased WO2013081062A1 (ja)

Priority Applications (2)

Application Number Priority Date Filing Date Title
CN201280002239.1A CN103237498B (zh) 2011-12-01 2012-11-29 X射线计算机断层摄影装置
US13/771,122 US8681933B2 (en) 2011-12-01 2013-02-20 X-ray computed tomography apparatus

Applications Claiming Priority (2)

Application Number Priority Date Filing Date Title
JP2011263791A JP5981129B2 (ja) 2011-12-01 2011-12-01 X線コンピュータ断層撮影装置
JP2011-263791 2011-12-01

Related Child Applications (1)

Application Number Title Priority Date Filing Date
US13/771,122 Continuation US8681933B2 (en) 2011-12-01 2013-02-20 X-ray computed tomography apparatus

Publications (1)

Publication Number Publication Date
WO2013081062A1 true WO2013081062A1 (ja) 2013-06-06

Family

ID=48535510

Family Applications (1)

Application Number Title Priority Date Filing Date
PCT/JP2012/080966 Ceased WO2013081062A1 (ja) 2011-12-01 2012-11-29 X線コンピュータ断層撮影装置

Country Status (4)

Country Link
US (1) US8681933B2 (enExample)
JP (1) JP5981129B2 (enExample)
CN (1) CN103237498B (enExample)
WO (1) WO2013081062A1 (enExample)

Families Citing this family (12)

* Cited by examiner, † Cited by third party
Publication number Priority date Publication date Assignee Title
CN103906471B (zh) * 2012-04-11 2016-12-14 东芝医疗系统株式会社 X射线ct装置
WO2014189048A1 (ja) * 2013-05-22 2014-11-27 株式会社 東芝 X線コンピュータ断層撮影装置、天板制御装置、および天板制御方法
CN104510486B (zh) * 2013-09-30 2021-04-20 Ge医疗系统环球技术有限公司 计算机化断层扫描设备及其机架旋转控制装置和方法
US10255251B2 (en) * 2014-06-26 2019-04-09 Touchcast LLC System and method for providing and interacting with coordinated presentations
CN104198506B (zh) * 2014-08-27 2017-11-07 清华大学 小角度自摆式大型多层螺旋ct设备和检查方法
WO2016154539A1 (en) * 2015-03-26 2016-09-29 Doug Carson & Associates, Inc. Substrate alignment through detection of rotating tming pattern
US10134624B2 (en) 2015-03-26 2018-11-20 Doug Carson & Associates, Inc. Substrate alignment detection using circumferentially extending timing pattern
US9953806B1 (en) 2015-03-26 2018-04-24 Doug Carson & Associates, Inc. Substrate alignment detection using circumferentially extending timing pattern
WO2017213150A1 (ja) 2016-06-06 2017-12-14 東芝メディカルシステムズ株式会社 X線ct装置
CN108226195B (zh) * 2017-12-28 2023-10-13 清华大学 Ct检查系统和ct成像方法
CN109330619B (zh) * 2018-11-27 2024-07-12 柯尼卡美能达再启医疗设备(上海)有限公司 一种一体化锥束ct
CN109875594A (zh) * 2019-02-26 2019-06-14 平生医疗科技(昆山)有限公司 锥束ct的正反转数据的采集方法、校正方法和采集装置

Citations (3)

* Cited by examiner, † Cited by third party
Publication number Priority date Publication date Assignee Title
JPH0678916A (ja) * 1992-04-02 1994-03-22 Toshiba Corp Ct装置及びct装置を用いた血液量分布測定方法
JP2009089760A (ja) * 2007-10-04 2009-04-30 Ge Medical Systems Global Technology Co Llc X線ct装置
JP2010268827A (ja) * 2009-05-19 2010-12-02 Toshiba Corp X線ct装置およびx線ct装置の制御方法

Family Cites Families (8)

* Cited by examiner, † Cited by third party
Publication number Priority date Publication date Assignee Title
US5412562A (en) * 1992-04-02 1995-05-02 Kabushiki Kaisha Toshiba Computerized tomographic imaging method and system for acquiring CT image data by helical dynamic scanning
JP2676576B2 (ja) * 1992-11-19 1997-11-17 株式会社日立メディコ X線ct装置
US20050175143A1 (en) * 2002-06-03 2005-08-11 Osamu Miyazaki Multi-slice x-ray ct device
JP5317389B2 (ja) * 2006-02-03 2013-10-16 ジーイー・メディカル・システムズ・グローバル・テクノロジー・カンパニー・エルエルシー 放射線断層撮影装置
EP1834585B1 (en) * 2006-03-15 2015-09-23 Kabushiki Kaisha Toshiba An X-ray CT apparatus, a method for changing the helical pitch, an image reconstruction processing apparatus, an image reconstruction processing method, and an image reconstruction processing program
JP5171215B2 (ja) * 2007-11-08 2013-03-27 ジーイー・メディカル・システムズ・グローバル・テクノロジー・カンパニー・エルエルシー X線ct装置
US8194961B2 (en) 2008-04-21 2012-06-05 Kabushiki Kaisha Toshiba Method, apparatus, and computer-readable medium for pre-reconstruction decomposition and calibration in dual energy computed tomography
JP5631569B2 (ja) * 2009-09-18 2014-11-26 株式会社東芝 X線ct装置

Patent Citations (3)

* Cited by examiner, † Cited by third party
Publication number Priority date Publication date Assignee Title
JPH0678916A (ja) * 1992-04-02 1994-03-22 Toshiba Corp Ct装置及びct装置を用いた血液量分布測定方法
JP2009089760A (ja) * 2007-10-04 2009-04-30 Ge Medical Systems Global Technology Co Llc X線ct装置
JP2010268827A (ja) * 2009-05-19 2010-12-02 Toshiba Corp X線ct装置およびx線ct装置の制御方法

Also Published As

Publication number Publication date
US8681933B2 (en) 2014-03-25
CN103237498B (zh) 2015-09-16
JP5981129B2 (ja) 2016-08-31
CN103237498A (zh) 2013-08-07
US20130177129A1 (en) 2013-07-11
JP2013116143A (ja) 2013-06-13

Similar Documents

Publication Publication Date Title
JP5981129B2 (ja) X線コンピュータ断層撮影装置
US8094775B2 (en) X-ray computer tomography apparatus including a pair of separably movable collimators
EP3369377B1 (en) X-ray image capture apparatus
JP6283875B2 (ja) 医用画像処理装置、x線診断装置およびx線コンピュータ断層撮影装置
JP4639143B2 (ja) X線ct装置およびその制御方法
US20140364718A1 (en) Medical image diagnostic apparatus bed and medical image diagnostic apparatus
JP4621425B2 (ja) X線コンピュータ断層撮影装置
JP6058409B2 (ja) X線ct装置及びそのプログラム
JP7250532B2 (ja) X線ct装置及び撮影計画装置
JP6425917B2 (ja) X線コンピュータ断層撮影装置、天板制御装置、および天板制御方法
JP2014166346A (ja) X線ct装置及びそのプログラム
JP2012170736A (ja) X線コンピュータ断層撮影装置
JP2005334431A (ja) 放射線断層撮影装置および放射線断層撮影方法、検出器素子位置ズレ量測定装置
JP6449383B2 (ja) 医用画像処理装置、およびx線診断装置
JP2014138909A (ja) X線コンピュータ断層撮影装置
CN103458792B (zh) X射线计算机断层摄影装置以及重构处理方法
JP4738542B2 (ja) X線コンピュータ断層撮影装置
JP2006255241A (ja) 放射線撮影方法および放射線撮影装置
JP2008142390A (ja) X線ct装置
JP6925799B2 (ja) X線ct装置
JP2009118950A (ja) X線ct装置
JP7098292B2 (ja) X線ct装置
JP5390549B2 (ja) X線コンピュータ断層撮影装置
JP2013056221A (ja) X線コンピュータ断層撮影装置

Legal Events

Date Code Title Description
121 Ep: the epo has been informed by wipo that ep was designated in this application

Ref document number: 12852581

Country of ref document: EP

Kind code of ref document: A1

NENP Non-entry into the national phase

Ref country code: DE

122 Ep: pct application non-entry in european phase

Ref document number: 12852581

Country of ref document: EP

Kind code of ref document: A1