WO2013077125A1 - 欠陥検査方法およびその装置 - Google Patents

欠陥検査方法およびその装置 Download PDF

Info

Publication number
WO2013077125A1
WO2013077125A1 PCT/JP2012/077234 JP2012077234W WO2013077125A1 WO 2013077125 A1 WO2013077125 A1 WO 2013077125A1 JP 2012077234 W JP2012077234 W JP 2012077234W WO 2013077125 A1 WO2013077125 A1 WO 2013077125A1
Authority
WO
WIPO (PCT)
Prior art keywords
light
sample
defect
reflected light
scattered light
Prior art date
Legal status (The legal status is an assumption and is not a legal conclusion. Google has not performed a legal analysis and makes no representation as to the accuracy of the status listed.)
Ceased
Application number
PCT/JP2012/077234
Other languages
English (en)
French (fr)
Japanese (ja)
Inventor
本田 敏文
雄太 浦野
波多野 央
Current Assignee (The listed assignees may be inaccurate. Google has not performed a legal analysis and makes no representation or warranty as to the accuracy of the list.)
Hitachi High Tech Corp
Original Assignee
Hitachi High Technologies Corp
Hitachi High Tech Corp
Priority date (The priority date is an assumption and is not a legal conclusion. Google has not performed a legal analysis and makes no representation as to the accuracy of the date listed.)
Filing date
Publication date
Application filed by Hitachi High Technologies Corp, Hitachi High Tech Corp filed Critical Hitachi High Technologies Corp
Priority to US14/359,221 priority Critical patent/US9255888B2/en
Publication of WO2013077125A1 publication Critical patent/WO2013077125A1/ja
Anticipated expiration legal-status Critical
Priority to US14/978,372 priority patent/US9488596B2/en
Ceased legal-status Critical Current

Links

Images

Classifications

    • GPHYSICS
    • G01MEASURING; TESTING
    • G01NINVESTIGATING OR ANALYSING MATERIALS BY DETERMINING THEIR CHEMICAL OR PHYSICAL PROPERTIES
    • G01N21/00Investigating or analysing materials by the use of optical means, i.e. using sub-millimetre waves, infrared, visible or ultraviolet light
    • G01N21/84Systems specially adapted for particular applications
    • G01N21/88Investigating the presence of flaws or contamination
    • G01N21/95Investigating the presence of flaws or contamination characterised by the material or shape of the object to be examined
    • G01N21/9501Semiconductor wafers
    • GPHYSICS
    • G01MEASURING; TESTING
    • G01NINVESTIGATING OR ANALYSING MATERIALS BY DETERMINING THEIR CHEMICAL OR PHYSICAL PROPERTIES
    • G01N21/00Investigating or analysing materials by the use of optical means, i.e. using sub-millimetre waves, infrared, visible or ultraviolet light
    • G01N21/84Systems specially adapted for particular applications
    • G01N21/88Investigating the presence of flaws or contamination
    • G01N21/8851Scan or image signal processing specially adapted therefor, e.g. for scan signal adjustment, for detecting different kinds of defects, for compensating for structures, markings, edges
    • GPHYSICS
    • G01MEASURING; TESTING
    • G01NINVESTIGATING OR ANALYSING MATERIALS BY DETERMINING THEIR CHEMICAL OR PHYSICAL PROPERTIES
    • G01N21/00Investigating or analysing materials by the use of optical means, i.e. using sub-millimetre waves, infrared, visible or ultraviolet light
    • G01N21/84Systems specially adapted for particular applications
    • G01N21/88Investigating the presence of flaws or contamination
    • G01N21/95Investigating the presence of flaws or contamination characterised by the material or shape of the object to be examined
    • G01N21/956Inspecting patterns on the surface of objects
    • GPHYSICS
    • G01MEASURING; TESTING
    • G01NINVESTIGATING OR ANALYSING MATERIALS BY DETERMINING THEIR CHEMICAL OR PHYSICAL PROPERTIES
    • G01N2201/00Features of devices classified in G01N21/00
    • G01N2201/06Illumination; Optics

Definitions

  • the present invention relates to a defect inspection method and apparatus for inspecting minute defects existing on a sample surface, determining the type of defect and defect size, and outputting the result.
  • Patent Document 1 and Patent Document 2 a technique is described in which a component emitted in a high angle direction and a component emitted in a low angle direction of scattered light from a defect are detected, and the type of defect is classified based on the ratio. ing.
  • Patent Document 2 describes a technique for calculating the size of a detected defect based on the intensity of scattered light from the defect.
  • Patent Document 3 describes that the power of illumination light, the scanning speed of the illumination spot, or the size of the illumination spot is controlled while the surface to be inspected is inspected in order to reduce thermal damage to the sample. . More specifically, it is assumed that the thermal damage given to the sample is determined by the product of the illumination power density to be irradiated and the irradiation time, and the illumination is performed according to the radial position on the sample during scanning so that this does not exceed a certain value. It is described that the light power, the scanning speed of the illumination spot, or the size of the illumination spot is changed.
  • Defect inspection used in the manufacturing process of semiconductors, etc. detects minute defects, measures the size of detected defects with high accuracy, and inspects a sample non-destructively (or without altering the sample). In addition, when the same sample is inspected, a constant inspection result (number of detected defects, position, size, defect type) is always obtained, and it is required to inspect a large number of samples within a predetermined time.
  • Patent Document 3 the technique described in Patent Document 3 is devised to make the amount of illumination light per unit area constant at an arbitrary position on the sample.
  • the amount of illumination light detected from a defect is generally proportional to the sixth power of the defect size, it is difficult to increase the amount of light corresponding to this, and it is essential to greatly increase the gain of the detector. It is.
  • a photon counting method is known as a method for detecting weak light.
  • the photon counting method a method of counting the number of pulse currents generated by incidence of photons on a photomultiplier tube or an avalanche photodiode is known.
  • a pulse current is generated a plurality of times, the number of times cannot be counted. Therefore, the amount of light cannot be accurately measured and cannot be applied to defect inspection.
  • the amount of light can be obtained even when a plurality of photons are incident within a short time. Can be measured.
  • the amount of signal to be detected is counted based on the number of pulses output from each of the detectors arranged in large numbers. In order to detect from a small amount of light to a large amount of light, a large number of pixels are formed in this detector. There is a need.
  • the aperture ratio of the pixel decreases, the ratio of shot noise to the signal increases and the inspection sensitivity decreases.
  • increasing the pixel is advantageous for shot noise, but the linearity of signal detection is reduced.
  • the amount of scattered light from the sample surface also increases, which becomes background scattered light and many array sensors output pulse signals. The photons from the minute defects will not be detected. That is, a phenomenon similar to that in which the aperture ratio of the sensor is reduced occurs, and the defect detection sensitivity is reduced.
  • a detection optical system that detects reflected / scattered light from a sample includes a plurality of detectors, and detects a weak background scattered light amount.
  • a photon counting type detector with a small number of pixels a photon counting type detector with a large number of pixels or an analog type detector that detects a strong amount of scattered background light, and a photon counting type
  • the defect scattered light detection signal is corrected by correcting the nonlinearity of the scattered light detection intensity generated by the application of the detector.
  • the defect inspection apparatus includes a table unit that allows movement by placing a sample, a laser light source unit that emits a laser, and a laser light source unit that emits the laser.
  • Detection optical system means for condensing the reflected light from the sample irradiated with the laser, light detection means for receiving the reflected light collected by the detection optical system means and converting it into an electrical signal, and the reflection
  • a signal processing means for detecting a defect on the sample by inputting and processing an output signal of the light detecting means that has received the light, a size calculating means for calculating the size of the defect detected by the signal processing means, and the signal processing And an output means for outputting the result processed by the size calculating means to a display screen
  • the light detecting means includes a plurality of photodetectors including a photon counting detector constituted by a plurality of pixels.
  • the size calculating unit has a conversion unit that corrects the nonlinear characteristic of the output of the photon counting type detector of the light detecting unit, and the conversion unit corrects the nonlinear characteristic of the output of the photon counting type detector.
  • the size of the defect is calculated by processing output signals from a plurality of photodetectors of the light detecting means including signals.
  • a defect inspection method is performed by irradiating a sample placed on a table that is translated while being rotated with a laser, and reflected light from the sample irradiated with the laser. And the reflected light from the collected sample is received by a light detection means and converted into an electrical signal, and an output signal from the light detection means that has received the reflected light is processed to obtain a signal on the sample. And detecting the size of the detected defect, calculating the size of the detected defect by processing the output signal from the light detection means, and outputting information on the detected defect and the calculated size of the defect to a display screen.
  • the photodetecting means includes a plurality of photodetectors including a photon counting detector constituted by a plurality of pixels, and each of the photodetectors receives reflected light from the sample and converts it into an electrical signal. And the defect The calculation of noise is performed by correcting the nonlinear characteristic of the output of the photon counting detector among the output signals of the plurality of photodetectors receiving the reflected light from the sample, and the output of the photon counting detector is corrected. Each output signal of the plurality of photodetectors including the signal corrected for the non-linear characteristic is processed.
  • FIG. 1 It is a figure which shows an example of a structure of the detection part at the time of using a photon counting type sensor,
  • the structure which has arrange
  • FIG. 6 is a front view of a detection optical system that uses two photon counting detectors and can cope with a large amount of scattered light. It is a circuit block diagram of the signal processing part of this invention. It is a front view of the photon counting type photodetector explaining the illumination state of the reflected light to the photon counting type detector. It is a top view of the sample which shows the state which mounts the sample for a calibration for correct
  • the illumination unit 101, the detection unit 102 (102a, 102b, 102c), the stage 103 on which the sample 1 can be placed, the signal processing unit 105, the overall control unit 53, the display unit 54, and the input unit 55 are appropriately used.
  • the signal processing unit 105 includes an analog processing unit 50, a defect determination unit 51, and a defect size estimation / defect classification unit 52.
  • the specular reflection detection unit 104 is installed as necessary for the purpose of large area defect inspection or sample surface measurement.
  • the illumination unit 101 includes a laser light source 2, an attenuator 3, a polarizing element 4, a beam expander 7, an illuminance distribution control element 5, a reflection mirror m, and a condenser lens 6 as appropriate.
  • the laser light emitted from the laser light source 2 is adjusted to a desired beam intensity by the attenuator 3, adjusted to a desired polarization state by the polarization element 4, adjusted to a desired beam diameter by the beam expander 7, and the reflection mirror m.
  • the illuminance distribution control element 5 is used to control the intensity distribution of illumination on the sample 1.
  • the illumination optical path may be switchable by switching means.
  • the laser light source 2 oscillates a short-wavelength ultraviolet or vacuum ultraviolet laser beam with a wavelength that is difficult to penetrate into the sample, and has a high output of 1 W or more. Things are used.
  • those that oscillate a visible or infrared laser beam are used as wavelengths that easily penetrate into the sample. What is necessary is just to select suitably as a light source of oblique illumination or epi-illumination as needed.
  • the stage 103 includes a translation stage 11, a rotary stage 10, and a Z stage (not shown).
  • 2A shows the illumination area (illumination spot (illumination field) 20) on the sample 1
  • FIG. 2B shows the relationship with the scanning direction due to the movement of the rotary stage 10 and the translation stage 11, and the illumination field 20 drawn on the sample 1 thereby. Show the trajectory.
  • FIG. 2A shows the shape of the illumination field 20 formed in an elliptical shape that is long in one direction and short in a direction perpendicular to it by illumination distribution control in the illumination unit 101 or illumination from an oblique direction. As shown in FIG.
  • the illumination field 20 is formed by the translational movement of the translation stage 11 in the circumferential direction S2 of the circle around the rotation axis of the rotation stage 10 by the rotational movement of the rotation stage 10. Scanning in the translation direction S1.
  • the illumination unit 101 is configured so that the longitudinal direction of the illumination spot 20 is parallel to the scanning direction S1 and the illumination spot 20 passes through the rotation axis of the rotary stage 10 by scanning in the scanning direction S1.
  • the movement of the Z stage corresponds to the height of the sample 1, that is, the movement of the surface of the sample 1 in the normal direction.
  • the scanning in the scanning direction S1 is performed for a distance equal to or shorter than the length of the illumination spot 20 in the longitudinal direction, so that the illumination spot 20 has a spiral trajectory. T is drawn and the entire surface of the sample 1 is scanned.
  • the detection units 102a, 102b, and 102c are configured to collect and detect scattered light generated at different azimuths and elevation angles.
  • 3A to 3D show an example of the configuration of the detection unit 102a.
  • FIG. 3A shows a configuration example when an analog detection type sensor is used. Since the components of the detection units 102b and 102c are the same as those of the detection unit 102a, description thereof is omitted. As will be described later with reference to FIGS. 4A to 4C, the arrangement of the detection units is not limited to the detection units 102a, 102b, and 102c shown in FIG. A large number of detection units may be arranged.
  • the detection unit 102a is configured by appropriately using a condensing system 81a, a polarizing filter 13a, and a sensor 91a.
  • An image of the illumination spot 20 is formed on the light receiving surface of the sensor 91a or in the vicinity thereof by the condensing system 81a.
  • a field stop (not shown) having an appropriate diameter at the imaging position, background light generated from a position other than the illumination spot can be removed and reduced.
  • the polarizing filter 13a can be attached to and detached from the optical axis of the condensing system 81a and can rotate the direction of light detection.
  • a wire grid polarizing plate or a polarizing beam splitter having a high transmittance and extinction ratio even at a short wavelength such as ultraviolet light is used.
  • Some wire grid polarizers have a structure in which a thin film of metal such as aluminum or silver is finely processed on a stripe.
  • a photomultiplier tube, an avalanche photodiode, a semiconductor photodetector combined with an image intensifier, or the like is appropriately used as the sensor 91a.
  • a photomultiplier tube for realizing high sensitivity and high accuracy an ultrabialkali type or a superbialkali type with high quantum efficiency is desirable.
  • FIG. 3B shows an example in which the condensing system of the detection units 102a, 102b, and 102c in FIG. 1 is configured by a reflective optical system using one elliptical mirror 701.
  • the condensing system 701 is an ellipsoidal mirror, and the first focal position of the ellipse is used as the illumination light irradiation position, and the second focal position is arranged on the light receiving surface of the sensor 709b.
  • the condensing system 701 is suitable for condensing the scattered light with a high NA including a shallow angle with respect to the surface of the wafer 1 and guiding it to the sensors 709a and 709b.
  • it has a detection unit configured to detect upward scattered light including the light collecting system 701 and the sensors 709a and 709b, and is capable of simultaneously detecting scattered light in a plurality of directions.
  • FIG. 3C is a configuration example of a detection unit that collects scattered light from a plurality of directions and forms an image on an image sensor.
  • scattered light in a plurality of directions having different azimuths or elevation angles is imaged on the image sensors 99a, 99b, and 99c by the condensing imaging systems 88a, 88b, and 88c.
  • the image sensors 99a, 99b and 99c there are a linear array sensor or a two-dimensional array sensor composed of a CCD or a CMOS, a highly sensitive image sensor combined with an image intensifier, or a multi-anode photomultiplier tube. Used.
  • FIG. 3D is a configuration example using a reflection optical system based on the Schwarzschild optical system.
  • the scattered light generated from the illumination spot 20 of the sample 1 the scattered light reflected by the concave mirror 711 and collected by the convex mirror 712 is collected by the image sensor 92.
  • the image sensor 92 When illuminating the sample 1 with a short wavelength of 200 nm or less, it is suitable for imaging the scattered light from the sample 1 on the image sensor 92.
  • FIG. 4A is an explanatory diagram of a method for displaying the detected angle range.
  • FIG. 4A shows a hemisphere in which the equatorial plane 401 corresponds to the surface of the sample 1 and the normal direction of the sample surface is the zenith 402.
  • An azimuth angle (longitude) with reference to the scanning direction S2 is ⁇ , and an angle from the zenith is ⁇ .
  • Detection angle ranges by the detection units 102a, 102b, etc. are displayed by hatching. As shown in FIGS. 4B and 4C, it is possible to detect various types of defects by providing a plurality of detection units and covering a wide angle range. In addition, since the angle distribution of the defect scattered light differs depending on the defect type and the defect size, the scattered light intensity at various angles is simultaneously detected by a plurality of detection systems and processed by a signal processing unit described later, thereby Classification and defect size estimation can be performed with high accuracy.
  • FIG. 4B shows an example in which a plurality of detection ranges of a detection range 4901 to 4906 in the low elevation angle direction and a detection range 4911 to 4914 in the high elevation angle direction are arranged, for inspecting a foreign object from a minute size to a large size. It is an example of a suitable detection system arrangement.
  • the scattered light of the minute foreign matter is strongly emitted in the low angle direction when P-polarized illumination is performed. By detecting the low-angle scattered light component over all directions in the detection ranges 4901 to 4906, it is possible to detect very small defects.
  • FIG. 4C shows an example in which a detection unit that performs omnidirectional detection in the detection ranges 4921 to 4926 in the low elevation angle direction and a detection unit 4931 that detects scattered light in the sample normal direction are installed.
  • the condensing system 8 it is possible to collect scattered light in all directions in a specific ⁇ angle range by using an ellipsoidal mirror having the illumination spot position as a focal point on one side. Become. Furthermore, it is possible to collectively detect scattered light in a plurality of directions by installing a spatial filter means or an optical path branching means in the condensing system optical path and installing a corresponding plurality of detectors. In any configuration, by capturing scattered light in a wide angle range, it is possible to detect scattered light having a different direction depending on the defect and robustly detect various kinds of defects. Furthermore, by separately detecting scattered light components in a plurality of directions, it becomes possible to classify defects and determine dimensions by comparison with a scattered light distribution library described later.
  • the scattered light distribution of the defect depends on the defect material (refractive index), shape, and dimensions.
  • the scattered light is biased forward as the lateral dimension of the defect (defect dimension in the sample surface in-plane direction) increases.
  • the front here refers to a direction close to the regular reflection direction of illumination by the sample surface.
  • the lateral dimension of the defect is extremely large with respect to the illumination wavelength (the lateral dimension is 10 times or more of the wavelength)
  • most of the scattered light components are concentrated in the vicinity of the regular reflection light. For this reason, it is effective to detect scattered light scattered in the vicinity of regular reflection in order to capture the scattered light distribution of a defect having a large lateral dimension.
  • FIG. 5A to 5C show a configuration example of the regular reflection light detection optical system unit 104.
  • FIG. FIG. 5A shows a configuration in which specular reflection light from the surface of the sample 1 irradiated with illumination light 1011 emitted from the illumination unit 101 is shielded by a spatial filter and only scattered light in the vicinity of the specular reflection light is detected.
  • the lens 1041 is installed such that its optical axis coincides with the optical axis 1040 of regular reflection light from the sample 1 of illumination light by the illumination unit 101 (see FIG. 1), and its focal point coincides with the illumination spot 20.
  • the light emitted from the illumination spot 20 and passing through the lens 1041 becomes parallel light, and the regular reflection light from the surface of the sample 1 is shielded by the light shielding filter 1042 installed on the optical axis of the lens 1041.
  • the light emitted from the illumination spot 20 and deflected with respect to the specularly reflected light passes through a position away from the optical axis by a distance corresponding to the deflection angle. Accordingly, only light components having a deflection angle equal to or larger than the angle corresponding to the size of the light shielding filter are transmitted through the light shielding filter, collected by the lens 1043, and detected by the sensor 1044.
  • the specularly reflected light is shielded and the intensity of the scattered light component in the vicinity of the specularly reflected light is measured.
  • a distribution of scattered light in the vicinity of specularly reflected light can be measured by placing a divided sensor of a plurality of pixels such as a quadrant sensor immediately after the light shielding filter 1042.
  • FIG. 5B shows an example of the configuration of a detection system based on the Schlieren method.
  • FIG. 5B is a configuration in which the shading filter 1042 is replaced with a knife edge 1045 as compared to FIG. 5A.
  • a slight deflection or diffusion of specularly reflected light caused by a defect having a size equal to or larger than 1/10 the size of the illumination spot can be regarded as a change in detection intensity in the sensor 1044.
  • FIG. 5C shows a configuration example in which ellipsometry is performed on specularly reflected light from the sample surface.
  • ellipsometry is performed on specularly reflected light from the sample surface.
  • the phase shifter 1046 and the analyzer 1047 are rotated at different rotational speeds and the intensity of transmitted light is detected by the sensor 1044 is shown. Since the polarization state of specularly reflected light is completely measured with this configuration, the complex refractive index and film thickness of the sample surface are calculated based on the change in the polarization state before and after the reflection of the illumination light obtained from the sample surface. It is possible.
  • FIGS. 6A to 6C Removal of variation in defect scattering intensity due to the intensity distribution of the illumination spot and countermeasures against signal saturation will be described with reference to FIGS. 6A to 6C.
  • a light source 2 that substantially emits a Gaussian beam is used. Therefore, the illumination intensity distribution in the illumination spot 20 on the surface of the sample 1 forms a Gaussian distribution (FIG. 6A).
  • the scanning amount in the S1 direction per scanning revolution in the S2 direction is smaller than the length of the illumination spot in the S1 direction, the illumination spot 20 is scanned in the S1 direction as shown in FIG. 6B.
  • the signal of the same defect is detected a plurality of times, and when the signal is plotted with S1 as the horizontal axis, the Gaussian distribution is the same as the illumination intensity distribution.
  • the signal detected from the same defect a plurality of times is similarly Gaussian as in the illumination intensity distribution in the S2 direction. Draw a distribution.
  • FIG. 6C shows an example of a signal when the same defect signal is detected a plurality of times.
  • the points indicated by crosses are actually obtained signals.
  • This graph shows an example in which the signal obtained when the defect passes through the central portion of the Gaussian distribution, that is, the central portion of the illumination intensity distribution, is saturated because it exceeds the saturation level of the detector. Even if saturation does not occur, the defect detection signal has a variation depending on the relative position through which the defect has passed with respect to the illumination spot scan. In such a case, since the original Gaussian distribution (equivalent to the illumination intensity distribution) is known, the original defect signal (dotted line in FIG. 6C) can be restored from the plurality of obtained signals.
  • the illumination intensity distribution is not necessarily limited to the Gaussian distribution, and a substantially uniform illumination intensity distribution may be formed using a homogenizer or the like.
  • the size of the illumination spot is as large as several tens of ⁇ m.
  • the defect can be regarded as having no area.
  • defects having a horizontal dimension of 10 times or more (several ⁇ m or more) of the wavelength have little information obtained from the scattered light distribution because the scattered light is concentrated in the vicinity of the regular reflection direction. May be difficult.
  • the profile of the detection signal is a form in which the device function is convoluted with the original signal (spatial spread of the defect)
  • the measurement of the spatial spread of the defect by the device function is performed. Resolution is limited. Therefore, as shown in FIG. 6E, by using a profile (dotted line in FIG. 6C) obtained by performing deconvolution with the device function for the profile of the detection signal as an index, high-resolution measurement of the spatial extent of the defect can be performed.
  • the device function indicates the spread of the signal by the illumination, detection, and processing system, and is equal to the illumination intensity distribution in this device configuration. When the response speed of the detector or the processing system is slow with respect to the signal sampling, the rounding of the signal is reflected in the device function.
  • the apparatus function can be actually measured by measuring a detection signal profile of a defect having no spatial spread (which can be regarded as a point).
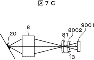
  • FIG. 7A to 7C show an example of the configuration of the detection unit 102a when a photon counting sensor is used.
  • a configuration in which a photon counting type sensor is used as a configuration corresponding to FIG. 3A is shown. Omitted.
  • Reference numeral 9001 denotes a photon counting sensor, and it is necessary to illuminate the sensor as uniformly as possible.
  • FIG. 8 shows a more specific configuration of the photon counting sensor 9001.
  • a large number of pixels 9101 are formed in the photon counting sensor 9001. When photons are incident on the pixels 9101, charges stored in charge storage means (not shown) included in each pixel 9101 are released, and a pulse signal is output.
  • the photon counting sensor 9001 is arranged at a position shifted from the condensing point 81 of the condensing system 8.
  • the light amount distribution in the photon counting sensor 9001 is generally a Gaussian distribution, and it is difficult to say that light is evenly irradiated. Therefore, in the configuration of FIG. 7B, an aspherical lens 8001 is arranged so that the photon counting sensor 9001 is uniformly irradiated with light.
  • This aspherical lens 8001 generally uses only an image of scattered light on a sample that forms an image in a line shape so that it is uniform in the photon counting sensor 9001. It is also possible to use.
  • a plurality of prisms 8002 are used instead of the aspherical lens 8001.
  • two prisms can be seen because they are seen only from the horizontal direction, but four prisms or an optical block having a shape in which the optical axis of the beam changes at different positions in the optical path may be used.
  • the prism 8002 By using the prism 8002, the light guided to the photon counting sensor 9001 through each prism 8002 is refracted when the prism 8002 exits, and the optical axis direction shifts, so that the photon counting sensor 9001 has a sensor surface.
  • the distributions in which the peak positions of the Gaussian beams are shifted overlap, and the peak intensity is lowered.
  • a substantially uniform illumination intensity distribution may be formed using a homogenizer or the like instead of these.
  • 7A to 7C includes the polarizing filter 13 that suppresses the amount of light on the side of the light condensing system 8 with respect to the condensing point 81, and has a mechanism for taking in and out the light. 13 can be taken in and out. This is used to suppress a decrease in sensitivity due to an increase in the number of photons in a photon counting sensor 9001 described later.
  • Numeral 1 shows the minimum light intensity that can be detected when a photomultiplier tube is used.
  • e is the charge of electrons
  • Id is the anode dark current
  • is the gain
  • B is the cutoff frequency of the signal system to be detected
  • S is the radiation sensitivity of the anode.
  • the gain cannot be determined unless the gain ⁇ is increased.
  • the dark current noise increases and the S / N decreases. I know that Therefore, there is a limit to the photomultiplier tube in order to detect a weak light quantity at high speed. Also, the photomultiplier tube has a problem that it is relatively weak against magnetic noise.
  • the photon counting type sensor since the light multiplication factor is the amount of charge accumulated in the charge accumulation means provided in each pixel, the multiplication factor is raised independently of the energy of incident photons. Can do. Therefore, in the photon counting sensor 9001, dark current noise does not increase even if the signal becomes weak. However, as the area of the photon counting sensor increases, dark current noise increases. This indicates that dark current noise increases as the number of pixels increases, and the dynamic range and dark current noise have a trade-off relationship.
  • inspection time and inspection sensitivity are generally in a trade-off relationship. Therefore, during the start-up period of the sample to be manufactured, high-sensitivity inspection with a long inspection time is performed, problems in the manufacturing process are extracted, and when the manufacturing process is established and shifted to mass production, the inspection time is shortened and relatively In many cases, low-sensitivity tests are performed.
  • the illumination spot 20 is extended in the longitudinal direction, and the inspection area is enlarged while the sample is rotated once, thereby shortening the inspection time.
  • the amount of light is limited by damage to the sample and alteration of the defect, and the amount of light per unit area is generally constant. Set as follows. Therefore, when the illumination spot 20 is extended in the longitudinal direction, the amount of illumination light increases, and the amount of scattered light from the sample 1 to be inspected increases. Since the amount of scattered light from the sample to be inspected is different from the defect signal, it is called background scattered light.
  • the background scattered light detected by the photon counting sensor 9001 increases, pulses are emitted from the pixels by many photons of the background scattered light, and defect scattered light is converted into pixels of the photon counting sensor 9001. Even if it is incident on the signal, the probability that a pulse cannot be output increases, and the signal intensity decreases.
  • the photon counting sensor 9001 it is necessary to reduce the background scattered light. Therefore, although the background scattered light is suppressed using the polarizing filter 13, in order for the polarizing filter 13 to effectively suppress the background scattered light, it is necessary that the polarization directions of the defect scattered light and the background scattered light are different. It becomes a condition. If this is the same direction, extremely weak defect scattered light is simultaneously suppressed together with the background scattered light, so that the sensitivity is lowered.
  • the illumination be incident with P-polarized light.
  • the scattered light of a defect that is sufficiently small with respect to the wavelength is mainly scattered in the low elevation angle direction, and the polarization direction vibrates in the normal direction of the sample.
  • FIG. 9 shows the polarization directions in each direction of the scattered light scattered in the direction indicated by the r ⁇ coordinate system from the sample 1 when the illumination light is incident on the sample 1 from the direction 2900.
  • the center of the circle 91 in FIG. 9 indicates light scattering in the normal direction of the surface of the sample 1, the distance r from the center of the circle 91 is an angle (elevation angle) from the normal direction of the sample 1, and ⁇ is illumination. This corresponds to the angle from the incident azimuth (azimuth angle).
  • Reference numeral 2901 denotes forward scattered light
  • 2902 denotes side scattered light
  • 2903 denotes back scattered light.
  • the polarization direction of the scattered light from the defect is almost the same as the normal direction of the sample
  • the polarization direction of the defect scattered light and the polarization of the scattered light from the sample are orthogonal, and the background scattering. Only light can be removed by the polarization filter 13.
  • the polarization directions of the defect scattered light and the background scattered light are almost the same, so the background scattered light cannot be removed by the polarizing filter 13.
  • the side scattered light 2902 has an intermediate characteristic between the two.
  • the sample 1 is a silicon wafer, for example, the phenomenon that the background scattered light is strong against the forward scattered light occurs due to the polarization characteristics thereof.
  • the polarization filter 13 can be used for the forward scattered light 2901, the background scattered light can be reduced to about 10 to 20%. Therefore, it is possible to detect a defect in a region with little background scattered light. On the other hand, it is necessary to detect a weak defect under the condition that the background scattered light is large at the positions of the side scattered light 2902 and the back scattered light 2903.
  • the shot noise due to the background scattered light becomes the main factor of the noise rather than the dark current noise advantageous in the photon counting detector 9001. Therefore, it is more important to reduce shot noise than to reduce dark current, that is, to increase photon detection efficiency.
  • Fig. 10 shows the output of the detector with respect to the input of light intensity.
  • 21001 is an output characteristic of a photomultiplier tube
  • 21002 and 21003 are output characteristics of a photon counting type photodetector
  • a photon counting type photodetector having an output characteristic of 21003 has a photon counting type having an output characteristic of 21002. It is formed of many pixels with respect to the photodetector.
  • a photon counting photodetector having an output characteristic of 21003 can obtain the best S / N when the amount of incident light is small. Since the pixel is large, the ratio of the dead zone around the pixel is small, and it can be expected that photons can be detected with high efficiency.
  • the photon counting type photodetector having the output characteristic of 21002 has a large number of dead zones because the many pixels are formed. As a result, the shot noise increases and the sensitivity decreases.
  • a photomultiplier tube having an output characteristic of 21001 cannot increase the gain because dark current noise increases when the gain is increased. In addition to shot noise and dark current noise, in an actual apparatus, it is easy to detect magnetic noise such as a motor, and this causes a decrease in sensitivity.
  • the performance of photon counting photodetectors varies greatly with respect to the photomultiplier tube when the background scattered light is large and small, and the aperture ratio is low when the background scattered light is weak.
  • the photon counting light detector with high gain and relatively few pixels has good performance, and as the background scattered light increases, the number of pixels increases, and as a result, the photon counting light with low gain and aperture ratio.
  • the performance of the photomultiplier tube is improved. Therefore, in an inspection apparatus that inspects various types of samples with different amounts of illumination, it is important for high sensitivity to have a photon counting type photodetector with a different number of pixels and a photomultiplier tube. .
  • the S / N is reduced due to the decrease in the detection efficiency of the photon counting photodetector. Since it is already incident, there is little influence on defect detection.
  • the problem becomes when the background scattered light increases. Since the background scattered light can be reduced using the polarizing filter 13 at the position of the forward scattered light 2901, a photon counting detector having the characteristics shown in 21003 can be used. On the other hand, by using a detector having the characteristics of 21003 or 21002 at the position 2902 and using a detector having the characteristics of 21002 or 21001 at the position 2903, the overall sensitivity is improved.
  • defect size estimation and defect classification will be described.
  • the defect scattered light intensity obtained by each detector must be accurately determined.
  • the detector is saturated, the scattered light intensity cannot be obtained accurately.
  • FIG. 11 The configuration as shown in FIG. 11 is adopted.
  • the configuration of FIG. 11 is obtained by suppressing the saturation of the detector with respect to the configuration of FIG. 7A.
  • 9002 and 9003 are photon counting detectors, respectively.
  • Reference numeral 22001 denotes a beam splitter that divides the light non-uniformly, for example, into photon counting detectors 9002 and 9003 at about 1:16.
  • the photon counting detector 9002 saturates with a relatively small amount of light, but the photon counting detector 9003 does not saturate, so an accurate amount of light can be obtained.
  • a configuration in which saturation is prevented by placing a photomultiplier tube instead of the photon counting detector 9003 can be employed.
  • the signal processing unit 105 has a table or an approximate expression for calculating the amount of scattered light from the output signal of the detector, and estimates the amount of scattered light.
  • the expression for estimating the amount of scattered light from this output value is f
  • the total amount of scattered light of the defect is expressed by Equation 2.
  • the signal obtained by the detector and the background scattered light are obtained by using the time average of the signal in a sufficiently long section with respect to the sum of the defect signal obtained by each detector and the background scattered light signal as the background scattered light amount.
  • Each is converted by equation f into a linear space to calculate the amount of scattered light.
  • the defect determination unit 51 constituting the signal processing unit 105 will be described with reference to FIG.
  • the defect signals 603a and 603b are extracted by the high-pass filters 604a and 604b, respectively, and input to the defect determination unit 605. Since the defect is scanned in the S1 direction by the illumination field 20, the waveform of the defect signal is obtained by enlarging or reducing the illuminance distribution profile of the illumination field 20 in the S1 direction.
  • each of the high-pass filters 604a and 604b passes through the frequency band including the defect signal waveform and cuts the frequency band and DC component including relatively much noise, thereby reducing the S / N of the defect signals 6041a and 6041b. Will improve.
  • a waveform of a defect signal that reflects the shape of a high-pass filter, a band-pass filter, or an illumination field 20 that has a specific cutoff frequency and is designed to block components above that frequency.
  • Defect determination unit 605 performs threshold processing on the input of signals 6041a and 6041b including defect waveforms output from high-pass filters 604a and 604b, and determines the presence or absence of defects. That is, since defect signals based on detection signals from a plurality of detection optical systems are input to the defect determination unit 605, the defect determination unit 605 performs threshold processing on the sum or weighted average of the plurality of defect signals. Or based on a single defect signal by taking OR or AND in the same coordinate system set on the wafer surface for a defect group extracted by threshold processing for a plurality of defect signals It becomes possible to perform a defect inspection with higher sensitivity than defect detection.
  • the defect determination unit 605 outputs, as defect information, defect coordinates indicating a defect position in the wafer calculated based on the defect waveform and the sensitivity information signal for a portion determined to have a defect.
  • the outputs 501 and 502 of the analog processing unit 50 are branched and input to each of the low-pass filters 601a and 601b in addition to the high-pass filters 604a and 604b constituting the defect determination unit 51, and each of the low-pass filters 601a and 601b. 2, a low frequency component and a direct current component corresponding to the amount of scattered light (haze) from minute roughness in the illumination field 20 on the wafer 1 are output.
  • the outputs 6011a and 6011b from the low-pass filters 601a and 601b are input to the haze processing unit 606 to perform processing of haze information.
  • the haze processing unit 606 outputs, as a haze signal, a signal corresponding to the magnitude of the haze for each location on the wafer 1 based on the magnitudes of the input signals 6011a and 6011b obtained from the low-pass filters 601a and 601b. Further, since the angular distribution of the amount of scattered light from the roughness changes according to the spatial frequency distribution of the minute roughness, as shown in FIG. 1, from each detector of a plurality of detectors 102 installed at different azimuths and angles. By using this haze signal as an input to the haze processing unit 606, the haze processing unit 606 can obtain information on the spatial frequency distribution of minute roughness from the intensity ratio thereof.
  • 607 is a storage unit that temporarily stores the outputs of all detectors such as the outputs 6041a and 6041b of the high-pass filters 604a and 604b and the outputs 6011a and 6011b of the low-pass filters 601a and 601b.
  • 608 is also a storage unit, but by inputting information of data determined as a defect by the defect determination unit 605 and leaving only the defect data and the amount of scattered light from the sample 1 at that time, the data amount of the storage unit 608 Can be prevented.
  • the size estimation result and the defect classification result are provided to the control unit 53 and output to the display unit 54 or the like.
  • the defect coordinates are calculated based on the center of gravity of the defect waveform.
  • the defect size is calculated based on the integral value or maximum value of the defect waveform.
  • FIG. 13 shows a schematic diagram in which scattered light is detected by the photon counting detector 9001.
  • Reference numeral 2301 denotes the intensity distribution of scattered light.
  • Scattered light is incident on the photon counting detector 9001 in a state where the intensity is not necessarily uniform due to the intensity distribution of scattered light from the sample and the distribution of scattered light from the defect.
  • This scattered light distribution may vary depending on the type of sample and the polarization condition of illumination, and it is desirable to find a correspondence for calculating the brightness from the output of the detector for each inspection condition. Therefore, the output when each photon counting detector 9001 detects scattered light from the sample surface or foreign matter when the illumination intensity is changed by the attenuator 3 is stored.
  • FIG. 14 is a sample for performing this calibration, and standard samples having different sizes (particles having a known particle size) are scattered on the sample 1 as shown in 31 to 34.
  • the amount of scattered light is known to be proportional to the sixth power of the particle size, and in the region where the particle size is sufficiently small with respect to the wavelength, the radiation direction of the scattered light is substantially equal. Is.
  • FIG. 15 shows the output of the photon measurement detector that detects scattered light from the sample and standard particles when the amount of incident light is changed using this sample.
  • 2500 is an output from the photon measurement type detector 9001 when scattered light from only the sample surface is detected, and the output signal in the region surrounded by 2501 is scattered with standard particles 31 to 34 having respective particle sizes.
  • This is an output from a photon measurement detector 9001 that detects scattered light from a region on the sample 1.
  • the output signal 2500 from the photon measurement type detector 9001 is considered to be substantially equal to the incident photon incident quantity. Therefore, although the incident light quantity 2502 is clear, the incident light quantity 2503 to 2506 The spacing is not always clear. However, since the amount of scattered light is proportional to the sixth power of the particle diameter, the ratio of the intervals from 2503 to 2506 is known.
  • the output Oi of the photon counting detector 9001 is ideally expressed as
  • the unknown variable is the incident light quantity N i incident on the photon counting detector i corresponding to the output signal in the region surrounded by 2501 and the probability Pi that a photon is incident on a pixel other than a specific pixel.
  • LogP i obtained by calculating the logarithm of this.
  • the number 4 because it leads to expression obtained in different N i, can be calculated logP i in simultaneous equations.
  • the measurement is performed at a plurality of illumination intensities, parameters are obtained using a least square method or the like, and a correction curve is calculated.
  • the illumination intensity is determined in S2601, and in S2602, the sample 1 is inspected, and the output signal of each photon counting detector 9001 that has detected the scattered light from the sample surface and standard particles is stored.
  • step S2603 typically the average value, median value, peak value, or the like of the intensity of the sample surface and standard particles is calculated as the representative scattered light intensity of the sample surface or standard particles.
  • step S2604 it is determined whether the predetermined number of inspections have been completed. If the predetermined number of times has not been reached, the process returns to step S2601, and the illumination intensity is changed to inspect the sample again to output each photon counting detector 9001. Get the signal.
  • the least square method is applied in S2605 to calculate logP, which is an unknown variable, and based on this, the respective photons from the sample surface and standard particles at each illumination intensity are calculated. The amount of light incident on the counting detector 9001 is estimated.
  • step S2606 the amount of incident light and the output of the photon counting detector (detector) 9001 are calculated using the conversion formula shown in Equation 3.
  • log P is actually different at each incident intensity (it does not actually become an ideal curve due to a difference in scattering intensity distribution in the lens, etc.).
  • the setting is made again so as to correspond to the actual data, and interpolation is performed.
  • step S2607 a table for converting the number of incident photons from the output of the detector 9001 is created.
  • the amount of incident light on each detector 9001 can be obtained, but the estimation accuracy of the amount of incident light obtained by each detector 9001 differs. That is, when the output of the detector 9001 changes greatly with the change in the detected light amount, a high accuracy of estimating the incident light amount is required. This process in the defect determination unit 605 will be described in detail.
  • the photon counting detector 9001 In the photon counting detector 9001, the first derivative of the output of the detector 9001 when the lightness changes is changed according to the amount of incident light. Therefore, the detector 9001 that can accurately determine the amount of incident light varies with the amount of light. Therefore, the defect size estimation will be described.
  • the noise is assumed to be quantum noise when calculating the sum of the output signals of all the detectors 9001, the background scattered light is proportional to the signal intensity detected by the detector 9001 with respect to the output signal of each detector 9001. If the sum is calculated by multiplying the weight by an inversely proportional weight, the ratio of the defect signal to noise can be maximized. This is expressed in Equation 5.
  • the non-linearity in the photon counting detector 9001 is that the background scattered light is large, the photon is incident on a pixel that has already been output, and the aperture ratio of the detector i is substantially zero. It can be considered that it has decreased to gi times the opening ratio.
  • Equation 5 s i is a defect scattering signal intensity at the detector output, and ni is a noise scattering scattering signal, both of which are high frequency components.
  • ⁇ i corresponds to a differential value of the output of the detector with respect to the incident light when the detected light amount is 0, and shows a correspondence relationship with the incident light amount of the photon counting type detector shown in FIG.
  • the incident light quantity is represented by a gradient at zero.
  • Is i and In i are an incident defect scattered light signal component and a noise component.
  • Equation 5 it can be considered that the signal of each O all detector integrated with the signal is multiplied by the gain of g i ⁇ i . g i is changed by the amount of light is incident at the detector but, since here I is signal integrated as O all, with only O all obtaining the particle size of the defect for g i can not be determined Have difficulty. Therefore, it is necessary to store the detector signal so that the output signal of the detector used in the calculation of O all can be referred to after being determined as a defect. For this purpose, the storage unit 607 or 608 is required. Is used. After determining the defect, the total light quantity of the defect scattered light can be obtained by referring to the signal of each detector and calculating the incident light quantity incident on each detector using the formula shown in formula 2. And the defect size is calculated.
  • a signal obtained by applying a high-pass filter to scattered light at a position determined as a defect is input from the storage unit 608, and a low-pass filter is applied to the scattered light at a position determined as a defect in S2702.
  • the applied signal is input from the storage unit 608.
  • the output of the quantum counting detector is obtained at the position where the defect is detected, and the amount of light received by the detector is calculated using the table calculated in S2607.
  • the background output of the quantum counter detector at the position where the defect is detected is obtained, and the background received light amount of the detector is obtained using the table calculated in S2607.
  • S2706 is a repetitive processing control unit, and the processing from S2701 to S2705 is set to be repeated for all detectors provided in the apparatus or detectors that sufficiently acquire scattered light.
  • the received light amount of the defect obtained by each detector is added, and in S2708, the defect size is calculated based on this received light amount.
  • the defect size is estimated using the fact that the amount of defect scattered light is approximately proportional to the square of the defect volume.
  • the defect size may be estimated based on a relative ratio with the amount of scattered light detected by a standard particle having a known size.
  • a detector with reduced g i ⁇ i may generate a large error in the calculation of scattered light. In a different embodiment, this is corrected using a model data vector. To do.
  • the model data vector is used to obtain the output of Equation 6 from the detection result of Equation 7.
  • the amount of incident light to each detector is calculated from the output of the obtained detector in a state where the amount of illumination light is small, that is, the photon counting detector is not saturated,
  • the vector [N 1 N 2 ... N n ] shown in FIG. 7 is obtained, and this is used as the model data vector M n .
  • Equation 8 the output, S2 / S1, which differs depending on the conversion from Equation 6 to Equation 7, is expressed in Equation 8,
  • Equation 8 When the photon counting detector begins to saturate, the value of Equation 8 changes, and the difference in sensitivity for each detector can be corrected by calculating the reciprocal of this value.
  • the received light amount of the detector is obtained for each detector.
  • the incident light amount of the photon counting detector calculated by interpolation of 2606 at the operating point of the output value of each detector In step S2803, g i ⁇ i which is a gradient with respect to the output is calculated. This is repeated for the number of detectors, and then a correction coefficient of Equation 9 is calculated in S2805.
  • the sum of output values obtained by applying a high-pass filter to the output of each detector is calculated in S2806.
  • the output of S2806 is multiplied by the correction coefficient calculated in S2805, and this is applied to all detectors.
  • the defect size is calculated by the same processing as that performed in S2708 of the flow in FIG.
  • the present embodiment it is possible to detect both a minute defect that generates only weak scattered light and a deformed defect that generates scattered light only behind.
  • the invention made by the present inventor has been specifically described based on the embodiment.
  • the present invention is not limited to the above embodiment, and various modifications can be made without departing from the scope of the invention. Not too long.

Landscapes

  • Physics & Mathematics (AREA)
  • Health & Medical Sciences (AREA)
  • Life Sciences & Earth Sciences (AREA)
  • Chemical & Material Sciences (AREA)
  • Analytical Chemistry (AREA)
  • Biochemistry (AREA)
  • General Health & Medical Sciences (AREA)
  • General Physics & Mathematics (AREA)
  • Immunology (AREA)
  • Pathology (AREA)
  • Engineering & Computer Science (AREA)
  • Computer Vision & Pattern Recognition (AREA)
  • Signal Processing (AREA)
  • Investigating Materials By The Use Of Optical Means Adapted For Particular Applications (AREA)
PCT/JP2012/077234 2011-11-24 2012-10-22 欠陥検査方法およびその装置 Ceased WO2013077125A1 (ja)

Priority Applications (2)

Application Number Priority Date Filing Date Title
US14/359,221 US9255888B2 (en) 2011-11-24 2012-10-22 Defect inspection method and device for same
US14/978,372 US9488596B2 (en) 2011-11-24 2015-12-22 Defect inspection method and device for same

Applications Claiming Priority (2)

Application Number Priority Date Filing Date Title
JP2011-256483 2011-11-24
JP2011256483A JP5676419B2 (ja) 2011-11-24 2011-11-24 欠陥検査方法およびその装置

Related Child Applications (2)

Application Number Title Priority Date Filing Date
US14/359,221 A-371-Of-International US9255888B2 (en) 2011-11-24 2012-10-22 Defect inspection method and device for same
US14/978,372 Continuation US9488596B2 (en) 2011-11-24 2015-12-22 Defect inspection method and device for same

Publications (1)

Publication Number Publication Date
WO2013077125A1 true WO2013077125A1 (ja) 2013-05-30

Family

ID=48469576

Family Applications (1)

Application Number Title Priority Date Filing Date
PCT/JP2012/077234 Ceased WO2013077125A1 (ja) 2011-11-24 2012-10-22 欠陥検査方法およびその装置

Country Status (3)

Country Link
US (2) US9255888B2 (enExample)
JP (1) JP5676419B2 (enExample)
WO (1) WO2013077125A1 (enExample)

Families Citing this family (23)

* Cited by examiner, † Cited by third party
Publication number Priority date Publication date Assignee Title
JP5579574B2 (ja) * 2010-11-01 2014-08-27 株式会社日立ハイテクノロジーズ 欠陥検査方法およびその装置
US9325947B2 (en) * 2011-06-28 2016-04-26 Inview Technology Corporation High-speed event detection using a compressive-sensing hyperspectral-imaging architecture
KR20140122608A (ko) * 2013-04-10 2014-10-20 삼성전자주식회사 디펙의 깊이 정보 추출 장치 및 방법과 그 디펙의 깊이 정보를 이용한 반도체 공정 개선방법
JP2016180591A (ja) 2013-07-24 2016-10-13 株式会社日立ハイテクノロジーズ 検査装置
US9952160B2 (en) * 2014-04-04 2018-04-24 Packaging Corporation Of America System and method for determining an impact of manufacturing processes on the caliper of a sheet material
WO2016010933A1 (en) * 2014-07-14 2016-01-21 Brigham Young University Nondestructive optical testing systems and related methods for predicting material failure
US9964500B2 (en) * 2014-12-08 2018-05-08 Hitachi High-Technologies Corporation Defect inspection device, display device, and defect classification device
LU92664B1 (de) * 2015-02-24 2016-08-25 Leica Microsystems Vorrichtung und verfahren zum detektieren von licht
EP4513176A3 (en) * 2016-07-15 2025-04-30 Agilent Technologies, Inc. Optical detection system for flow cytometer and flow cytometer system
JP6581614B2 (ja) * 2017-03-14 2019-09-25 株式会社サイオクス 半導体構造体の製造方法、検査方法、およびプログラム
WO2018216074A1 (ja) * 2017-05-22 2018-11-29 株式会社日立ハイテクノロジーズ 欠陥検査装置及び欠陥検査方法
JP7062430B2 (ja) * 2017-12-15 2022-05-06 キヤノン株式会社 撮像素子、撮像装置および画像処理方法
WO2019159334A1 (ja) * 2018-02-16 2019-08-22 株式会社日立ハイテクノロジーズ 欠陥検査装置
CN109525840B (zh) * 2018-12-18 2021-04-09 凌云光技术股份有限公司 一种成像芯片上微弱缺陷的检测方法
US12345661B2 (en) * 2019-08-14 2025-07-01 Hitachi High-Tech Corporation Defect inspection apparatus and defect inspection method
JP6824351B1 (ja) * 2019-09-13 2021-02-03 浜松ホトニクス株式会社 半導体試料の検査装置及び検査方法
US11293880B2 (en) * 2020-02-20 2022-04-05 Kla Corporation Method and apparatus for beam stabilization and reference correction for EUV inspection
JP7291663B2 (ja) * 2020-04-24 2023-06-15 Towa株式会社 位置決め装置、位置決め方法、樹脂成形システムおよび樹脂成形品の製造方法
JP7038163B2 (ja) * 2020-05-18 2022-03-17 本田技研工業株式会社 外観検査システム
WO2022221628A1 (en) * 2021-04-15 2022-10-20 Kkt Holdings Syndicate System and method for probing and sorting led chips
CN113325004B (zh) * 2021-07-07 2023-03-31 上海超硅半导体股份有限公司 一种半导体晶片表面缺陷检测方法以及检测装置
WO2023152848A1 (ja) * 2022-02-09 2023-08-17 株式会社日立ハイテク 欠陥検査装置及び欠陥検査方法
TWI849586B (zh) * 2022-11-17 2024-07-21 圓展科技股份有限公司 自動食品檢測裝置

Citations (7)

* Cited by examiner, † Cited by third party
Publication number Priority date Publication date Assignee Title
JPH0280942A (ja) * 1988-09-17 1990-03-22 Topcon Corp 表面検査用装置
JPH02223845A (ja) * 1989-02-23 1990-09-06 Mikakutou Seimitsu Kogaku Kenkyusho:Kk 光散乱法による超微粒子の粒径測定装置
JPH0972784A (ja) * 1995-09-05 1997-03-18 Olympus Optical Co Ltd 顕微鏡用測光装置
JPH09178852A (ja) * 1995-12-28 1997-07-11 Nec Corp レーザ計測装置
JP2000046734A (ja) * 1998-07-28 2000-02-18 Olympus Optical Co Ltd 微量光測定装置
JP2010014635A (ja) * 2008-07-07 2010-01-21 Hitachi High-Technologies Corp 欠陥検査方法及び欠陥検査装置
JP2010203776A (ja) * 2009-02-27 2010-09-16 Hitachi High-Technologies Corp 表面検査装置及びその校正方法

Family Cites Families (19)

* Cited by examiner, † Cited by third party
Publication number Priority date Publication date Assignee Title
JP3314440B2 (ja) * 1993-02-26 2002-08-12 株式会社日立製作所 欠陥検査装置およびその方法
JP2975815B2 (ja) * 1993-08-06 1999-11-10 株式会社東芝 半導体発光素子の評価装置及び評価方法
JP3686160B2 (ja) 1995-04-10 2005-08-24 株式会社日立ハイテクノロジーズ ウエハ表面検査方法および検査装置
US5903342A (en) 1995-04-10 1999-05-11 Hitachi Electronics Engineering, Co., Ltd. Inspection method and device of wafer surface
JP3996728B2 (ja) 2000-03-08 2007-10-24 株式会社日立製作所 表面検査装置およびその方法
US20040207836A1 (en) * 2002-09-27 2004-10-21 Rajeshwar Chhibber High dynamic range optical inspection system and method
US20060067471A1 (en) * 2004-09-30 2006-03-30 General Electric Company Linear array detector system and inspection method
US7548308B2 (en) 2005-05-11 2009-06-16 Kla-Tencor Corporation Illumination energy management in surface inspection
JP4343911B2 (ja) 2006-02-06 2009-10-14 株式会社日立製作所 欠陥検査装置
JP2009014510A (ja) * 2007-07-04 2009-01-22 Hitachi High-Technologies Corp 検査方法及び検査装置
JP5624714B2 (ja) * 2008-05-23 2014-11-12 株式会社日立ハイテクノロジーズ 基板表面の検査方法及び検査装置
JP5341440B2 (ja) * 2008-09-10 2013-11-13 株式会社日立ハイテクノロジーズ 検査装置
JP5405956B2 (ja) 2009-09-24 2014-02-05 株式会社日立ハイテクノロジーズ 欠陥検査装置
JP5520736B2 (ja) * 2010-07-30 2014-06-11 株式会社日立ハイテクノロジーズ 欠陥検査方法及び欠陥検査装置
JP5797884B2 (ja) * 2010-08-04 2015-10-21 株式会社日立ハイテクノロジーズ 光量検出方法及びその装置
JP5568444B2 (ja) * 2010-11-01 2014-08-06 株式会社日立ハイテクノロジーズ 欠陥検査方法、微弱光検出方法および微弱光検出器
JP5593213B2 (ja) * 2010-12-24 2014-09-17 株式会社日立ハイテクノロジーズ 検査装置
JP2012137350A (ja) * 2010-12-27 2012-07-19 Hitachi High-Technologies Corp 欠陥検査方法および欠陥検査装置
US9453801B2 (en) * 2012-05-25 2016-09-27 Kla-Tencor Corporation Photoemission monitoring of EUV mirror and mask surface contamination in actinic EUV systems

Patent Citations (7)

* Cited by examiner, † Cited by third party
Publication number Priority date Publication date Assignee Title
JPH0280942A (ja) * 1988-09-17 1990-03-22 Topcon Corp 表面検査用装置
JPH02223845A (ja) * 1989-02-23 1990-09-06 Mikakutou Seimitsu Kogaku Kenkyusho:Kk 光散乱法による超微粒子の粒径測定装置
JPH0972784A (ja) * 1995-09-05 1997-03-18 Olympus Optical Co Ltd 顕微鏡用測光装置
JPH09178852A (ja) * 1995-12-28 1997-07-11 Nec Corp レーザ計測装置
JP2000046734A (ja) * 1998-07-28 2000-02-18 Olympus Optical Co Ltd 微量光測定装置
JP2010014635A (ja) * 2008-07-07 2010-01-21 Hitachi High-Technologies Corp 欠陥検査方法及び欠陥検査装置
JP2010203776A (ja) * 2009-02-27 2010-09-16 Hitachi High-Technologies Corp 表面検査装置及びその校正方法

Non-Patent Citations (1)

* Cited by examiner, † Cited by third party
Title
MPPC SHIRYO, HAMAMATSU PHOTONICS KABUSHIKI KAISHA, August 2007 (2007-08-01) *

Also Published As

Publication number Publication date
US9255888B2 (en) 2016-02-09
JP5676419B2 (ja) 2015-02-25
US20160109382A1 (en) 2016-04-21
US9488596B2 (en) 2016-11-08
JP2013108950A (ja) 2013-06-06
US20140253912A1 (en) 2014-09-11

Similar Documents

Publication Publication Date Title
JP5676419B2 (ja) 欠陥検査方法およびその装置
JP5572293B2 (ja) 欠陥検査方法及び欠陥検査装置
JP4751617B2 (ja) 欠陥検査方法及びその装置
US7869024B2 (en) Method and its apparatus for inspecting defects
TWI665444B (zh) 缺陷檢查裝置及缺陷檢查方法
US8922764B2 (en) Defect inspection method and defect inspection apparatus
US8711347B2 (en) Defect inspection method and device therefor
TW201801217A (zh) 用於極化晶圓檢查之方法及裝置
TWI671522B (zh) 缺陷檢查裝置
US11138722B2 (en) Differential imaging for single-path optical wafer inspection
TW201932828A (zh) 用於晶圓檢測之系統
WO2012153652A1 (ja) 欠陥観察方法及びその装置
US9568437B2 (en) Inspection device
WO2013168557A1 (ja) 欠陥検査方法および欠陥検査装置
WO2020136697A1 (ja) 欠陥検査装置
JP2015079009A (ja) 欠陥検査方法およびその装置
JPWO2013118543A1 (ja) 表面計測装置
CN111640085B (zh) 图像处理方法和设备、检测方法和装置、存储介质
WO2021250771A1 (ja) 欠陥検査装置
US11047805B2 (en) Inspection device and detector
US20220074868A1 (en) Defect inspection device and inspection method, and optical module
US20250314484A1 (en) Sample surface quality management device
WO2025177433A1 (ja) 欠陥検査装置
JP5668113B2 (ja) 欠陥検査装置

Legal Events

Date Code Title Description
121 Ep: the epo has been informed by wipo that ep was designated in this application

Ref document number: 12851540

Country of ref document: EP

Kind code of ref document: A1

WWE Wipo information: entry into national phase

Ref document number: 14359221

Country of ref document: US

NENP Non-entry into the national phase

Ref country code: DE

122 Ep: pct application non-entry in european phase

Ref document number: 12851540

Country of ref document: EP

Kind code of ref document: A1