WO2013061927A1 - 外観検査装置 - Google Patents

外観検査装置 Download PDF

Info

Publication number
WO2013061927A1
WO2013061927A1 PCT/JP2012/077245 JP2012077245W WO2013061927A1 WO 2013061927 A1 WO2013061927 A1 WO 2013061927A1 JP 2012077245 W JP2012077245 W JP 2012077245W WO 2013061927 A1 WO2013061927 A1 WO 2013061927A1
Authority
WO
WIPO (PCT)
Prior art keywords
wiring board
inspection
inspection apparatus
camera
printed wiring
Prior art date
Legal status (The legal status is an assumption and is not a legal conclusion. Google has not performed a legal analysis and makes no representation as to the accuracy of the status listed.)
Ceased
Application number
PCT/JP2012/077245
Other languages
English (en)
French (fr)
Japanese (ja)
Inventor
正人 内海
精二 長谷部
Current Assignee (The listed assignees may be inaccurate. Google has not performed a legal analysis and makes no representation or warranty as to the accuracy of the list.)
WIT CO Ltd
Original Assignee
WIT CO Ltd
Priority date (The priority date is an assumption and is not a legal conclusion. Google has not performed a legal analysis and makes no representation as to the accuracy of the date listed.)
Filing date
Publication date
Application filed by WIT CO Ltd filed Critical WIT CO Ltd
Priority to CN201280038252.2A priority Critical patent/CN103718027B/zh
Publication of WO2013061927A1 publication Critical patent/WO2013061927A1/ja
Anticipated expiration legal-status Critical
Ceased legal-status Critical Current

Links

Images

Classifications

    • GPHYSICS
    • G01MEASURING; TESTING
    • G01NINVESTIGATING OR ANALYSING MATERIALS BY DETERMINING THEIR CHEMICAL OR PHYSICAL PROPERTIES
    • G01N21/00Investigating or analysing materials by the use of optical means, i.e. using sub-millimetre waves, infrared, visible or ultraviolet light
    • G01N21/84Systems specially adapted for particular applications
    • G01N21/88Investigating the presence of flaws or contamination
    • G01N21/95Investigating the presence of flaws or contamination characterised by the material or shape of the object to be examined
    • G01N21/956Inspecting patterns on the surface of objects
    • GPHYSICS
    • G01MEASURING; TESTING
    • G01NINVESTIGATING OR ANALYSING MATERIALS BY DETERMINING THEIR CHEMICAL OR PHYSICAL PROPERTIES
    • G01N21/00Investigating or analysing materials by the use of optical means, i.e. using sub-millimetre waves, infrared, visible or ultraviolet light
    • G01N21/84Systems specially adapted for particular applications
    • G01N21/88Investigating the presence of flaws or contamination
    • G01N21/95Investigating the presence of flaws or contamination characterised by the material or shape of the object to be examined
    • G01N21/956Inspecting patterns on the surface of objects
    • G01N2021/95638Inspecting patterns on the surface of objects for PCB's
    • HELECTRICITY
    • H05ELECTRIC TECHNIQUES NOT OTHERWISE PROVIDED FOR
    • H05KPRINTED CIRCUITS; CASINGS OR CONSTRUCTIONAL DETAILS OF ELECTRIC APPARATUS; MANUFACTURE OF ASSEMBLAGES OF ELECTRICAL COMPONENTS
    • H05K3/00Apparatus or processes for manufacturing printed circuits
    • H05K3/30Assembling printed circuits with electric components, e.g. with resistor
    • H05K3/32Assembling printed circuits with electric components, e.g. with resistor electrically connecting electric components or wires to printed circuits
    • H05K3/34Assembling printed circuits with electric components, e.g. with resistor electrically connecting electric components or wires to printed circuits by soldering
    • H05K3/341Surface mounted components

Definitions

  • the present invention relates to an appearance inspection apparatus for inspecting the mounting state of a printed wiring board on which electronic components are mounted, and more particularly to an appearance inspection apparatus suitable for use in the appearance inspection of a wiring board mounted at high density.
  • a pad on which a wiring pattern or an electronic component is mounted is formed on a rigid printed wiring board such as glass epoxy by cream solder printing or etching of copper foil.
  • cream solder is printed on the pad by screen printing or the like
  • the surface mounting component is mounted at a predetermined position by an automatic component mounting machine or the like, and reflow soldering is performed.
  • the appearance inspection apparatus performs an appearance inspection such as a mounting condition and a soldering condition, and performs a circuit continuity inspection and a function confirmation of an electrical operation.
  • the inspection by the automatic inspection device and the inspection by visual observation are used in combination, and the printed wiring board made NG by the appearance inspection by the automatic inspection device An appearance inspection is performed to confirm the form of mounting failure.
  • an automatic inspection device As visual inspection by an automatic inspection device, a method using imaging data obtained by imaging a two-dimensional image from the top of a printed wiring board and luminance data, or a method using measurement data of the three-dimensional surface shape of a printed wiring board, etc. It is done.
  • an appearance inspection method of collating a master pattern based on three-dimensional shape data of a component to be solder-mounted and three-dimensional measurement data measured by a three-dimensional image sensor after component mounting See Ref.
  • the inspection frame surrounding the pad for printing cream solder is set in advance and stored, and the solder bridge is measured depending on whether or not the extension of the solder measured by three-dimensional measurement intersects with the inspection frame after component mounting.
  • an appearance inspection apparatus that detects a mark (see, for example, Patent Document 2).
  • the appearance inspections by these automatic inspection devices are all presumption inspections, and the threshold value to be evaluated as mounting failure is strictly set from the viewpoint of preventing the outflow of defective products, so a printed wiring board evaluated as NG However, it is confirmed by visually inspecting the appearance whether the mounting defect is actually occurring or what kind of the mounting defect is occurring.
  • the visual appearance inspection by visual observation is performed using an external appearance visual inspection apparatus.
  • the visual inspection apparatus for external appearance includes a support portion for supporting a printed wiring board determined to be mounting failure in the automatic inspection device, a camera for imaging a specific portion determined to be mounting failure in the automatic inspection device, and a camera for mounting failure And moving means for moving to a place.
  • the image captured by the camera is displayed on a monitor connected to the visual inspection apparatus.
  • a camera can image and display a mounting defect part in detail by providing the front camera which images from the normal line direction of a printed wiring board, and the diagonal camera which images from the diagonal direction of a printed wiring board.
  • the appearance visual inspection apparatus identifies in advance an inspection point to be captured and displayed on a monitor by the camera using position data of a defective portion specified in the automatic inspection apparatus, and moves the camera in accordance with the inspection point.
  • the inspector can easily perform the appearance inspection by confirming the inspection points displayed on the monitor.
  • the appearance inspection apparatus uses the outer edge of the printed wiring board on which electronic components are not mounted. Need to support. However, when the outer edge of the printed wiring board is supported, warpage may occur because the weight of the printed wiring board and the weight of the electronic component are added.
  • the defective part specified in the automatic inspection apparatus and the inspection point specified using the position data of the defective part in the visual inspection apparatus There is a possibility that a gap occurs between the two, and a portion different from the defective portion to be originally confirmed may be imaged and displayed.
  • an object of the present invention is to provide an appearance inspection apparatus capable of displaying an inspection point in accordance with a defect portion and performing an appearance inspection reliably even when the printed wiring board is warped.
  • an appearance inspection apparatus includes a support portion for supporting an outer edge of a wiring substrate on which an electronic component is mounted, and an imaging device for imaging the electronic component to be inspected.
  • a first irradiation device configured to irradiate a first fan-shaped light beam that diffuses in the normal direction of the wiring substrate and passes through the area to be inspected which is set for the electronic component to be inspected from diagonally above;
  • a second irradiation device for emitting from the upper direction a fan-shaped second light beam that diffuses in the normal direction of the electronic component and passes through the inspection site of the electronic component, and the first light beam and the second light beam , Indicate inspection points of the wiring board.
  • the line of intersection between the first light beam and the second light beam is displayed as the intersection of the light beams on the wiring board, and the point of inspection is raised and lowered according to the warpage of the wiring board. Also, the intersections of the light rays reflected on the wiring substrate follow along the Z-axis, and are always indicated as inspection points P of the wiring substrate.
  • the appearance inspection can be surely performed by capturing the intersection of the light beams irradiated by the irradiation device by the imaging device.
  • FIG. 1 is a perspective view showing an appearance inspection apparatus.
  • FIG. 2 is a front view showing the appearance inspection apparatus.
  • FIG. 3 is a perspective view showing the support portion.
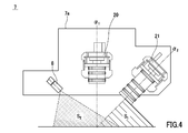
  • FIG. 4 is a diagram showing the configuration of an apparatus main body of the imaging apparatus.
  • FIG. 5 is a perspective view showing a configuration for displaying an inspection point P by the laser irradiation apparatus.
  • FIG. 6 is a diagram for explaining the relationship between the inspection site required and the inspection point P.
  • FIG. 7 is a diagram showing an inspection point P displayed on the monitor.
  • FIG. 8 is a diagram showing a state in which the inspection point P is corrected to be positioned at the center of the monitor.
  • the visual inspection apparatus 1 is used to visually inspect the mounting condition of a printed wiring board on which various electronic components such as ICs, LSIs, resistors and capacitors are surface mounted, and is shown in FIGS. 1 and 2.
  • a box-shaped outer casing 2 is provided and controlled by a control unit 3 such as a PC (not shown).
  • the appearance inspection apparatus 1 is connected to the monitor 4, displays the captured image on the monitor 4, and enables visual inspection by the inspector.
  • the appearance inspection apparatus 1 includes a support 6 for supporting the printed wiring board 5 in the outer casing 2, an imaging device 7 for imaging an inspection point of the printed wiring board supported by the support 6, and a printed wiring board
  • the laser irradiation apparatus 8 which shows a test
  • the outer case 2 is open on the front side, and the printed wiring board 5 can be taken in and out from the support portion 6 provided on the floor surface 11.
  • the imaging device 7 is disposed on the upper side, and the laser irradiation device 8 is disposed on the side. Further, the outer casing 2 is provided with illumination means (not shown) for illuminating the inside.
  • the support portion 6 moves the support frame 12 supporting the outer edge 5 a of the printed wiring board 5 and the support frame 12 in the in-plane direction of the floor surface 11 to move the relative position between the printed wiring board 5 and the imaging device 7 And a stage mechanism 13.
  • the support frame 12 includes a pair of long side frames 12a and 12b for supporting the long side of the printed wiring board 5, and corner blocks 14 provided on both ends of the long side frames 12a and 12b. Have. In the support frame 12, two pairs of corner blocks 14 are connected by connection bars 15 respectively.
  • the long side plates 16a and 16b are disposed on the back of the long side frames 12a and 12b. In the long side plate 16 a provided on the front side of the outer casing 2, a slit 17 is formed along the longitudinal direction, and a fixing pin 18 for positioning the printed wiring board 5 is inserted.
  • the long side frames 12a and 12b are opposed to each other and a support surface for supporting the lower surface of the printed wiring board 5 is formed to project, thereby supporting the outer edge 5a of the printed wiring board 5.
  • the long side frame 12 b on the back side of the outer casing 2 slides in the front and rear direction along the connecting bars 15 with the corner blocks on both sides, whereby the long side on the front side of the outer casing 2
  • the printed wiring board 5 of any size can be moved close to and away from the frame 12 a, and the printed wiring board 5 can be made to abut the left corner block 14 by sliding the fixing pin 18 along the slit 17. Can support.
  • the support frame 12 supports the outer edge 5a of the printed wiring board 5 on which the electronic components are not mounted from the lower side, so that the mounting components on the lower surface are not added to the printed wiring board 5 mounted on both sides. It can be supported.
  • the stage mechanism 13 includes an X-axis table 13a that integrally supports the support frame 12, and a Y-table 13b that movably supports the X-axis table in the Y direction.
  • the X-axis table 13a and the Y-axis table 13b are provided with motors that operate based on control signals, and driving the motors supports the X-axis table 13a in the X direction and the Y-axis table 13b in the Y direction.
  • the frame 12 is moved together.
  • the imaging device 7 for imaging the mounting defect portion of the printed wiring board 5 supported by the support frame 12 is supported on the upper side of the outer casing 2 to thereby image the mounting defect portion from the upper side.
  • the imaging device 7 has a front camera 20 with the camera optical axis directed in the normal direction of the printed wiring board 5 supported by the support frame 12 and a camera optical axis with respect to the printed wiring board 5.
  • an oblique camera 21 inclined obliquely.
  • predetermined imaging lenses and imaging elements are incorporated in a lens barrel, respectively.
  • the oblique camera 21 is provided on the opposite side via the front camera 20, and the front camera 20 and the oblique camera 21 constitute a camera unit by being integrated in the apparatus body 7a. .
  • the imaging device 7 is rotatable about the optical axis ⁇ 1 of the front camera 20, and the oblique camera 21 can pick up an improper mounting location from all directions.
  • the imaging device 7 may have a focusing function and a zoom function in the front camera 20 and the oblique camera 21, or a focal distance for realizing a deep depth of field without these functions. Photographing may be performed using a camera having an aperture and capable of pan focus photographing, and may be displayed in an appropriate image size by the processing of the control unit 3.
  • the imaging device 7 is previously provided with an image of the front camera 20 on the extension line of the intersecting line L formed by the laser irradiation device 8 so that the intersection of the laser light indicated by the laser irradiation device 8 described later can be imaged as the inspection point P. It is designed so that the optical axis ⁇ 2 of the oblique camera 21 passes above the intersection line L while the optical axis ⁇ 1 coincides.
  • the imaging device 7 may be provided with a plurality of oblique cameras 21.
  • the imaging device 7 can be properly used according to the inspection place by providing a pair of oblique cameras 21 consisting of a high magnification camera and a low magnification camera.
  • the imaging devices 7 may be arranged at equal intervals around the optical axis of the optical axis ⁇ 1 of the front camera 20, or may be arranged at unequal intervals.
  • the laser irradiation device 8 is a device for irradiating a visible light laser, and irradiates first and second fan-shaped laser beams which cross each other in the device body 7 a of the imaging device 7 onto the printed wiring board 5 from diagonally above.
  • Laser irradiation devices 8a and 8b are preferably arranged in the device body 7a such that the laser beams to be irradiated are orthogonal to each other.
  • the first laser irradiation device 8 a irradiates the first laser beam that passes through the inspection target area set in advance on the printed wiring board 5 by the automatic inspection device 30.
  • the second laser irradiation device 8 b irradiates a second laser beam which passes through a region to be inspected which is set in advance on the printed wiring board 5.
  • the first and second laser beams are fan-shaped rays of light diffused in the normal direction of the printed wiring board 5 supported by the support frame 12 and cross each other to be an inspection point on the printed wiring board 5 Point P as an intersection.
  • the inspection point P is inspected by the automatic inspection apparatus 30 performed prior to the visual inspection by the visual inspection apparatus 1 to identify the inspection required area where the mounting defect is suspected, and based on the position data of the inspection required area This refers to a place on the printed wiring board 5 supported by the frame 12 that requires visual inspection.
  • the imaging device 7 is provided at a position where the optical axis ⁇ 1 of the front camera 20 coincides with the intersection L of the first and second laser beams in advance so as to image the inspection point P, and the support frame 12 is The stage mechanism 13 moves the inspection site to be located on the intersection L of the first and second laser beams with reference to the position data of the inspection site.
  • the printed wiring board 5 and the imaging device 7 are based on the position data of the inspection target area set by the automatic inspection device 30.
  • the relative position between the two it is possible to capture an inspection point P which requires a visual inspection by the oblique camera 21.
  • FIG. 6 (b) when the printed wiring board 5 supported by the support frame 12 is warped downward, or as shown in FIG. 6 (c), the print supported by the support frame 12
  • the support frame 12 is used in the visual inspection apparatus 1 based on position data of the inspection required area specified in the automatic inspection apparatus 30 and the inspection required area set in the automatic inspection apparatus 30.
  • the relative position between the supported printed wiring board 5 and the imaging device 7 is set, a shift occurs between the image of the oblique camera 21 displayed on the monitor 4 and the actual inspection site required.
  • the optical axis ⁇ 2 of the camera 21 for oblique movement catches the front of the inspection site
  • the optical axis ⁇ 2 of the oblique camera 21 captures the point of the examination site.
  • the relative position between the printed wiring board 5 and the imaging device 7 is set based on the data of the inspection site required by the automatic inspection device 30, it is possible to capture the inspection point P that requires visual inspection. It is not possible, and the inspector does not know which position of which surface mounted component to view.
  • very small chip components with one side less than 1 mm such as a 0603 chip, are used as surface-mounted components, and these very small chips are mounted at high density, so check the inspection point P on the monitor. Is difficult.
  • the laser irradiation device 8 irradiates the laser light passing through the inspection required area set based on the data of the inspection required area set by the automatic inspection apparatus 30.
  • the laser light is a fan-shaped light beam diffused in the normal direction of the printed wiring board 5, and by crossing each other, the intersecting line L is in the Z direction of the normal direction in which the inspection site of the printed wiring board 5 passes. Form an axis (FIG. 5).
  • intersection line L is displayed on the printed wiring board 5 as the intersection point of the laser light, and the intersection point is printed even if the inspection site needs to be raised or lowered according to the warp of the printed wiring board 5 as shown in FIG.
  • the intersection of the laser light reflected on the wiring board 5 also follows along the Z axis, and is always indicated as the inspection point P of the printed wiring board 5.
  • the control unit 3 executes visual inspection by controlling each part of the visual inspection apparatus 1 according to the operation of the inspector, and can be configured using an information processing terminal such as a PC.
  • the control unit 3 receives, from the automatic inspection apparatus 30, the position data of the inspection target area of the printed wiring board 5 which is the target of the visual inspection. Then, based on the position data, the control unit 3 sets the stage mechanism 13 so that the inspection site is located on the line of intersection of the laser beams of the first and second laser irradiation devices 8a and 8b of the laser irradiation device 8. Drive to adjust the position of the support frame 12.
  • the printed wiring board 5 is warped, and the intersection points of the laser beams of the first and second laser irradiation devices 8a and 8b are the respective lasers even when the inspection site required moves in the vertical direction according to the warping.
  • the intersection line L of light that is, along the normal direction of the printed wiring board 5
  • control unit 3 captures an area to be inspected of the printed wiring board 5 with the front camera 20 and the oblique camera 21 of the imaging device 7, and displays the image captured by the imaging device 7 on the monitor 4.
  • the intersection of each laser beam of the first and second laser irradiation devices 8a and 8b is displayed as the inspection point P, so the examiner can easily use the intersection as a mark for the inspection site. The examination can be done.
  • control unit 3 may display the inspection point P at the center of the monitor 4. That is, as shown in FIG. 7, the inspection point P indicating the inspection site is a monitor even in the captured image of the imaging device 7 by the printed wiring board 5 being bent and the inspection site being moved vertically. 4 may be offset from the center, and when the warp is large, the monitor 4 may not be displayed.
  • the control unit 3 controls the intersections of the laser beams of the first and second laser irradiation devices 8 a and 8 b to be at the center of the monitor 4, which is convenient for visual inspection. It is possible to improve the quality.
  • the trimming range of the original image pan-focused by the imaging device 7 is set around the intersection of the laser beams of the first and second laser irradiation devices 8a and 8b and has a predetermined image size. This can be done by displaying the monitor 4.
  • this control gives the oblique camera 21 of the imaging device 7 the function of adjusting the angle of view and the function of searching for and detecting the intersection of each laser beam of the first and second laser irradiation devices 8a and 8b. It can also be performed by imaging at the intersection of the laser light.
  • the appearance inspection apparatus 1 arranges the camera 21 for slanting and one of the first and second laser irradiation devices 8 a and 8 b in the same direction or facing each other, A surface S1 formed by the optical axis ⁇ 2 of the oblique camera 21 and the normal to the printed wiring board 5, and one laser of the first or second laser irradiation device 8a, 8b diffused in the normal direction of the printed wiring board 5
  • the surface S2 formed by the light may be located on the same plane.
  • the laser beam which one of the said 1st or 2nd laser irradiation apparatuses 8a and 8b irradiates is irradiated with the up-down direction in the image of the camera 21 for diagonals displayed on the monitor 4 Configure the Y axis.
  • the laser beam emitted by the other of the first and second laser irradiation devices 8a and 8b is irradiated in the left-right direction in the image of the camera 21 for obliqueness displayed on the monitor 4 to form an X axis.
  • the inspection point P is also positioned on the Y axis, and when the inspection point P is positioned at the center of the monitor 4, adjustment of the image trimming range of the camera 21 for obliqueness or obliqueness along the Y axis
  • the angle of view of the camera 21 can be adjusted, and the adjustment can be easily performed.
  • the stage mechanism 13 for moving the support frame 12 in the XY direction is provided in the support portion 6, but in the present invention, the movement mechanism in the X, Y, and Z directions in the imaging device 7 The relative position between the printed wiring board 5 and the imaging device 7 may be moved.
  • the line of intersection of the laser beams of the first and second laser irradiation devices 8a and 8b of the laser irradiation device 8 coincides with the optical axis of the front camera 20 of the imaging device 7.
  • the positions of both are fixed in advance, and the support portion 6 is moved in the X and Y directions to position the site to be inspected on the intersection line of the laser light.
  • the laser irradiation device 8 and the imaging device 7 The incorporated device body 7a may be provided with a moving mechanism in the X, Y, Z directions.
  • the imaging device and the laser irradiation device 8 are incorporated in the device body 7a into a unit, but in the present invention, the imaging device 7 and the laser irradiation device 8 are separately configured It may be incorporated into 2.
  • first laser irradiator 8a and the second laser irradiator 8b are disposed as the laser irradiators 8 so that the respective laser beams are orthogonal to each other, moving mechanisms in the X direction and the Z direction are provided on one side.
  • a moving mechanism in the Y direction and in the Z direction may be provided on the other.
  • the first laser irradiation device 8a and the second laser irradiation device 8b can adjust the irradiation angle of the laser by providing moving mechanisms in the Z direction. Therefore, even when an electronic component having a height from the inspection site is mounted and the laser light is blocked by this, the laser light can be irradiated to the inspection site by raising the irradiation position.
  • the arrangement in which the optical axis ⁇ 2 of the oblique camera 21 and the plane S2 formed by one laser beam of the first or second laser irradiation devices 8a and 8b are positioned on the same plane is the imaging device 7 It can be easily configured by rotating it about the optical axis of the front camera 20.
  • the site to be inspected is indicated as the intersection of the laser beams of the first and second laser irradiation devices 8a and 8b, and this intersection is detected and controlled to be captured by the oblique camera 21 to ensure that The site to be inspected can be captured, and this captured image and position data can be subjected to visual inspection.

Landscapes

  • Physics & Mathematics (AREA)
  • Health & Medical Sciences (AREA)
  • Life Sciences & Earth Sciences (AREA)
  • Chemical & Material Sciences (AREA)
  • Analytical Chemistry (AREA)
  • Biochemistry (AREA)
  • General Health & Medical Sciences (AREA)
  • General Physics & Mathematics (AREA)
  • Immunology (AREA)
  • Pathology (AREA)
  • Investigating Materials By The Use Of Optical Means Adapted For Particular Applications (AREA)
PCT/JP2012/077245 2011-10-27 2012-10-22 外観検査装置 Ceased WO2013061927A1 (ja)

Priority Applications (1)

Application Number Priority Date Filing Date Title
CN201280038252.2A CN103718027B (zh) 2011-10-27 2012-10-22 外观检查装置

Applications Claiming Priority (2)

Application Number Priority Date Filing Date Title
JP2011236314A JP5427222B2 (ja) 2011-10-27 2011-10-27 外観検査装置
JP2011-236314 2011-10-27

Publications (1)

Publication Number Publication Date
WO2013061927A1 true WO2013061927A1 (ja) 2013-05-02

Family

ID=48167758

Family Applications (1)

Application Number Title Priority Date Filing Date
PCT/JP2012/077245 Ceased WO2013061927A1 (ja) 2011-10-27 2012-10-22 外観検査装置

Country Status (3)

Country Link
JP (1) JP5427222B2 (enExample)
CN (1) CN103718027B (enExample)
WO (1) WO2013061927A1 (enExample)

Cited By (1)

* Cited by examiner, † Cited by third party
Publication number Priority date Publication date Assignee Title
CN116261918A (zh) * 2020-10-05 2023-06-13 雅马哈发动机株式会社 基板作业装置

Families Citing this family (3)

* Cited by examiner, † Cited by third party
Publication number Priority date Publication date Assignee Title
KR101893831B1 (ko) * 2016-10-20 2018-08-31 주식회사 고영테크놀러지 기판 검사장치 및 이를 이용한 기판 검사방법
CN108801921A (zh) * 2018-08-02 2018-11-13 佛山市坦斯盯科技有限公司 一种用于线路板的cis相机和光源模组
JP2025043962A (ja) * 2023-09-19 2025-04-01 株式会社東芝 光学装置、光学検査システム、および、物体の撮像方法

Citations (5)

* Cited by examiner, † Cited by third party
Publication number Priority date Publication date Assignee Title
JPH06331563A (ja) * 1993-05-19 1994-12-02 Matsushita Electric Ind Co Ltd ビジュアルチェッカー
JP2002312766A (ja) * 2001-04-17 2002-10-25 Mitsubishi Electric Corp 半田付け状態検査装置
JP2007052793A (ja) * 2005-08-18 2007-03-01 Mitsubishi Electric Research Laboratories Inc ディスプレイ表面上にポインティングデバイスによって表示されるポインタの場所を制御するための方法
JP2009153119A (ja) * 2007-11-30 2009-07-09 Sanyo Electric Co Ltd 撮像/映像補助装置およびそれを備える撮像/映像装置
JP2010139461A (ja) * 2008-12-15 2010-06-24 Toppan Printing Co Ltd 目視検査システム

Family Cites Families (3)

* Cited by examiner, † Cited by third party
Publication number Priority date Publication date Assignee Title
US4240750A (en) * 1978-10-02 1980-12-23 Hurd William A Automatic circuit board tester
JPH0739996B2 (ja) * 1988-09-02 1995-05-01 日本電気株式会社 半田付検査装置
US7492449B2 (en) * 2004-04-12 2009-02-17 Georgia Tech Research Corporation Inspection systems and methods

Patent Citations (5)

* Cited by examiner, † Cited by third party
Publication number Priority date Publication date Assignee Title
JPH06331563A (ja) * 1993-05-19 1994-12-02 Matsushita Electric Ind Co Ltd ビジュアルチェッカー
JP2002312766A (ja) * 2001-04-17 2002-10-25 Mitsubishi Electric Corp 半田付け状態検査装置
JP2007052793A (ja) * 2005-08-18 2007-03-01 Mitsubishi Electric Research Laboratories Inc ディスプレイ表面上にポインティングデバイスによって表示されるポインタの場所を制御するための方法
JP2009153119A (ja) * 2007-11-30 2009-07-09 Sanyo Electric Co Ltd 撮像/映像補助装置およびそれを備える撮像/映像装置
JP2010139461A (ja) * 2008-12-15 2010-06-24 Toppan Printing Co Ltd 目視検査システム

Cited By (1)

* Cited by examiner, † Cited by third party
Publication number Priority date Publication date Assignee Title
CN116261918A (zh) * 2020-10-05 2023-06-13 雅马哈发动机株式会社 基板作业装置

Also Published As

Publication number Publication date
CN103718027B (zh) 2015-12-23
JP2013092508A (ja) 2013-05-16
CN103718027A (zh) 2014-04-09
JP5427222B2 (ja) 2014-02-26

Similar Documents

Publication Publication Date Title
KR101000047B1 (ko) 비전 검사 시스템
JP6056058B2 (ja) 3次元測定装置、3次元測定方法、プログラム及び基板の製造方法
JP2011027740A (ja) X線検査装置
JP3878165B2 (ja) 三次元計測装置
JP3953988B2 (ja) 検査装置および検査方法
CN101308099A (zh) 光学检查装置
KR101960916B1 (ko) Fpcb 리드 본딩 검사장치
JP4877100B2 (ja) 実装基板の検査装置および検査方法
WO2013061927A1 (ja) 外観検査装置
CN111007070A (zh) 贴装有部件的基板检查方法及检查装置
KR101693614B1 (ko) 엑스레이 촬영용 지그
JP5421409B2 (ja) 外観検査装置及び外観検査方法
JP4228773B2 (ja) 基板検査装置
JP4030726B2 (ja) はんだ印刷検査装置
KR101032142B1 (ko) 표면실장부품의 검사장치
TW584708B (en) Method and apparatus for measuring a line width
JP6347962B2 (ja) 外観検査装置、外観検査方法、及びプログラム
JP7654806B2 (ja) ワーク高さ計測装置、及びこれを用いた実装基板検査装置
JP4091040B2 (ja) 基板の検査装置
JP2007033202A (ja) 外観検査装置および外観検査方法
JP4034325B2 (ja) 三次元計測装置及び検査装置
KR100214925B1 (ko) 다층 회로 기판의 영상 분리 장치 및 방법
JP3784062B2 (ja) エックス線透視撮像装置
JP2005101084A (ja) 部品浮き検査方法および部品浮き検査装置
JPH03282304A (ja) 表裏パターン検査装置

Legal Events

Date Code Title Description
121 Ep: the epo has been informed by wipo that ep was designated in this application

Ref document number: 12844091

Country of ref document: EP

Kind code of ref document: A1

NENP Non-entry into the national phase

Ref country code: DE

122 Ep: pct application non-entry in european phase

Ref document number: 12844091

Country of ref document: EP

Kind code of ref document: A1