WO2012132925A1 - 照明装置、投影型表示装置および直視型表示装置 - Google Patents

照明装置、投影型表示装置および直視型表示装置 Download PDF

Info

Publication number
WO2012132925A1
WO2012132925A1 PCT/JP2012/056680 JP2012056680W WO2012132925A1 WO 2012132925 A1 WO2012132925 A1 WO 2012132925A1 JP 2012056680 W JP2012056680 W JP 2012056680W WO 2012132925 A1 WO2012132925 A1 WO 2012132925A1
Authority
WO
WIPO (PCT)
Prior art keywords
light
fly
eye lens
light emitting
incident
Prior art date
Legal status (The legal status is an assumption and is not a legal conclusion. Google has not performed a legal analysis and makes no representation as to the accuracy of the status listed.)
Ceased
Application number
PCT/JP2012/056680
Other languages
English (en)
French (fr)
Japanese (ja)
Inventor
幸治 三浦
Current Assignee (The listed assignees may be inaccurate. Google has not performed a legal analysis and makes no representation or warranty as to the accuracy of the list.)
Sony Corp
Original Assignee
Sony Corp
Priority date (The priority date is an assumption and is not a legal conclusion. Google has not performed a legal analysis and makes no representation as to the accuracy of the date listed.)
Filing date
Publication date
Application filed by Sony Corp filed Critical Sony Corp
Priority to CN2012800142637A priority Critical patent/CN103443705A/zh
Priority to EP12762765.1A priority patent/EP2693268A4/en
Priority to US14/005,490 priority patent/US9212802B2/en
Publication of WO2012132925A1 publication Critical patent/WO2012132925A1/ja
Anticipated expiration legal-status Critical
Priority to US14/934,578 priority patent/US9803827B2/en
Priority to US15/710,396 priority patent/US10168019B2/en
Ceased legal-status Critical Current

Links

Images

Classifications

    • FMECHANICAL ENGINEERING; LIGHTING; HEATING; WEAPONS; BLASTING
    • F21LIGHTING
    • F21VFUNCTIONAL FEATURES OR DETAILS OF LIGHTING DEVICES OR SYSTEMS THEREOF; STRUCTURAL COMBINATIONS OF LIGHTING DEVICES WITH OTHER ARTICLES, NOT OTHERWISE PROVIDED FOR
    • F21V5/00Refractors for light sources
    • F21V5/008Combination of two or more successive refractors along an optical axis
    • GPHYSICS
    • G02OPTICS
    • G02BOPTICAL ELEMENTS, SYSTEMS OR APPARATUS
    • G02B27/00Optical systems or apparatus not provided for by any of the groups G02B1/00 - G02B26/00, G02B30/00
    • G02B27/09Beam shaping, e.g. changing the cross-sectional area, not otherwise provided for
    • GPHYSICS
    • G02OPTICS
    • G02BOPTICAL ELEMENTS, SYSTEMS OR APPARATUS
    • G02B27/00Optical systems or apparatus not provided for by any of the groups G02B1/00 - G02B26/00, G02B30/00
    • G02B27/10Beam splitting or combining systems
    • GPHYSICS
    • G02OPTICS
    • G02BOPTICAL ELEMENTS, SYSTEMS OR APPARATUS
    • G02B27/00Optical systems or apparatus not provided for by any of the groups G02B1/00 - G02B26/00, G02B30/00
    • G02B27/10Beam splitting or combining systems
    • G02B27/1006Beam splitting or combining systems for splitting or combining different wavelengths
    • G02B27/102Beam splitting or combining systems for splitting or combining different wavelengths for generating a colour image from monochromatic image signal sources
    • GPHYSICS
    • G03PHOTOGRAPHY; CINEMATOGRAPHY; ANALOGOUS TECHNIQUES USING WAVES OTHER THAN OPTICAL WAVES; ELECTROGRAPHY; HOLOGRAPHY
    • G03BAPPARATUS OR ARRANGEMENTS FOR TAKING PHOTOGRAPHS OR FOR PROJECTING OR VIEWING THEM; APPARATUS OR ARRANGEMENTS EMPLOYING ANALOGOUS TECHNIQUES USING WAVES OTHER THAN OPTICAL WAVES; ACCESSORIES THEREFOR
    • G03B21/00Projectors or projection-type viewers; Accessories therefor
    • G03B21/14Details
    • G03B21/20Lamp housings
    • G03B21/2006Lamp housings characterised by the light source
    • G03B21/2033LED or laser light sources
    • GPHYSICS
    • G03PHOTOGRAPHY; CINEMATOGRAPHY; ANALOGOUS TECHNIQUES USING WAVES OTHER THAN OPTICAL WAVES; ELECTROGRAPHY; HOLOGRAPHY
    • G03BAPPARATUS OR ARRANGEMENTS FOR TAKING PHOTOGRAPHS OR FOR PROJECTING OR VIEWING THEM; APPARATUS OR ARRANGEMENTS EMPLOYING ANALOGOUS TECHNIQUES USING WAVES OTHER THAN OPTICAL WAVES; ACCESSORIES THEREFOR
    • G03B21/00Projectors or projection-type viewers; Accessories therefor
    • G03B21/14Details
    • G03B21/20Lamp housings
    • G03B21/208Homogenising, shaping of the illumination light
    • HELECTRICITY
    • H04ELECTRIC COMMUNICATION TECHNIQUE
    • H04NPICTORIAL COMMUNICATION, e.g. TELEVISION
    • H04N9/00Details of colour television systems
    • H04N9/12Picture reproducers
    • H04N9/31Projection devices for colour picture display, e.g. using electronic spatial light modulators [ESLM]
    • H04N9/3102Projection devices for colour picture display, e.g. using electronic spatial light modulators [ESLM] using two-dimensional electronic spatial light modulators
    • H04N9/3105Projection devices for colour picture display, e.g. using electronic spatial light modulators [ESLM] using two-dimensional electronic spatial light modulators for displaying all colours simultaneously, e.g. by using two or more electronic spatial light modulators
    • HELECTRICITY
    • H04ELECTRIC COMMUNICATION TECHNIQUE
    • H04NPICTORIAL COMMUNICATION, e.g. TELEVISION
    • H04N9/00Details of colour television systems
    • H04N9/12Picture reproducers
    • H04N9/31Projection devices for colour picture display, e.g. using electronic spatial light modulators [ESLM]
    • H04N9/3141Constructional details thereof
    • H04N9/315Modulator illumination systems
    • H04N9/3152Modulator illumination systems for shaping the light beam
    • HELECTRICITY
    • H04ELECTRIC COMMUNICATION TECHNIQUE
    • H04NPICTORIAL COMMUNICATION, e.g. TELEVISION
    • H04N9/00Details of colour television systems
    • H04N9/12Picture reproducers
    • H04N9/31Projection devices for colour picture display, e.g. using electronic spatial light modulators [ESLM]
    • H04N9/3141Constructional details thereof
    • H04N9/315Modulator illumination systems
    • H04N9/3161Modulator illumination systems using laser light sources
    • FMECHANICAL ENGINEERING; LIGHTING; HEATING; WEAPONS; BLASTING
    • F21LIGHTING
    • F21YINDEXING SCHEME ASSOCIATED WITH SUBCLASSES F21K, F21L, F21S and F21V, RELATING TO THE FORM OR THE KIND OF THE LIGHT SOURCES OR OF THE COLOUR OF THE LIGHT EMITTED
    • F21Y2115/00Light-generating elements of semiconductor light sources
    • F21Y2115/30Semiconductor lasers

Definitions

  • the present disclosure relates to an illumination device using a solid state light emitting device such as a laser diode (LD), and a projection display device and a direct view display device including the same.
  • a solid state light emitting device such as a laser diode (LD)
  • a projection display device and a direct view display device including the same.
  • an integrator including a fly's eye lens or the like is used to reduce the luminance unevenness of the illumination light (to make the luminance of the illumination light uniform).
  • an integrator including a fly's eye lens or the like is used to reduce the luminance unevenness of the illumination light (to make the luminance of the illumination light uniform).
  • the luminance unevenness of the illumination light can not be reduced (the luminance distribution is not uniform), and therefore, further improvement is required.
  • an illumination device capable of reducing the luminance unevenness of the illumination light, and a projection-type display device and a direct-view-type display device using such an illumination device.
  • a lighting device includes one or more light sources including a solid light emitting element that emits light from a light emitting area consisting of a single or a plurality of point-like or a single or a plurality of non-point-like light emitting spots. And an optical member through which light incident from the solid light emitting element side passes and exits.
  • the solid state light emitting device includes a single chip emitting light of one or more wavelength bands, or a plurality of chips emitting light of the same wavelength band or different wavelength bands, and as the one or more light sources as a whole, At least one of the chips is a laser diode.
  • the optical member comprises a first fly's eye lens to which light from the solid light emitting element is incident and a second fly's eye lens to which light from the first fly's eye lens is incident, and the solid light emitting element
  • An integrator is provided to equalize the illuminance distribution of light in a predetermined illumination range illuminated by light incident from the side.
  • the first and second fly eye lenses each have a plurality of cells, and the major axis direction of the luminance distribution shape of the incident light on the incident surface of the first fly eye lens corresponds to each cell in the first fly eye lens It is different from the arrangement direction of.
  • a projection type display includes: an illumination optical system; a spatial modulation element that generates image light by modulating light from the illumination optical system based on an input video signal; And a projection optical system for projecting image light generated by the element.
  • the illumination optical system mounted on the projection type display device has the same components as the illumination device of the embodiment of the present disclosure.
  • a direct-viewing display device including: an illumination optical system; a spatial modulation element that generates image light by modulating light from the illumination optical system based on an input video signal;
  • the projection optical system projects the image light generated by the element, and the transmission type screen projects the image light projected from the projection optical system.
  • the illumination optical system mounted on this direct view type display device has the same components as the illumination device of the embodiment of the present disclosure.
  • the long axis direction of the luminance distribution shape of the incident light on the incident surface of the first fly eye lens corresponds to the first fly eye lens It is different from the arrangement direction of each cell in.
  • the long axis direction of the luminance distribution shape of the incident light on the incident surface of the first fly eye lens corresponds to the first fly. Since the arrangement direction of each cell in the eye lens is different, it is possible to easily reduce the luminance unevenness of the incident light in the integrator. Therefore, it is possible to reduce the luminance unevenness of the illumination light and to improve the display image quality.
  • FIG. 1 It is a figure showing schematic structure of the projector concerning a 1st embodiment of this indication. It is a figure which shows an example of the optical path in the projector of FIG. It is a figure which shows an example of upper surface structure in case a chip
  • FIG. 7 is a view showing a cross-sectional configuration of the light source of FIG. 1 in the case where the chip is an edge-emitting type element and another example of the configuration when the solid light emitting element is viewed from the light emitting surface side.
  • FIG. 21 is a characteristic diagram for describing the details of the luminance distribution shown in FIG. 20. It is a figure which shows an example of the luminance nonuniformity which arises in the projector which concerns on a comparative example. It is a figure for demonstrating the reduction effect of the brightness nonuniformity in the illumination optical system of 1st Embodiment. It is a figure which shows the example of a characteristic which concerns on the Example of 1st Embodiment. It is a figure showing schematic structure of the projector concerning 2nd Embodiment.
  • FIG. 1 It is a perspective view which shows the example of a detailed structure in the principal part of the illumination optical system of FIG. It is a schematic diagram which shows the example of a detailed structure of the fly eye lens of the front
  • FIG. 35 It is a schematic diagram for demonstrating the effect
  • FIG. 10 is a diagram illustrating a schematic configuration of a projector according to a first modification of the first to fifth embodiments.
  • FIG. 16 is a diagram illustrating a schematic configuration of a projector according to a second modification of the first to fifth embodiments. It is a figure which shows an example of the optical path in the projector of FIG.
  • FIG. 14 is a diagram showing an example of a cross-sectional configuration of a light source according to a third modification of the first to fifth embodiments.
  • FIG. 43 is a diagram illustrating an example of the relationship between the arrangement configuration of light emitting spots in the light source of FIG. 42 and the FFP.
  • FIG. 21 is a diagram illustrating a schematic configuration example of a rear projection display device using the illumination optical system according to the first to fifth embodiments and the first to third modifications.
  • First embodiment an example in which the luminance distribution of incident light to the fly eye lens in the previous stage is inclined
  • Second embodiment example in which the cell arrangement in the fly-eye lens in the previous stage is shifted
  • Third embodiment an example in which an anamorphic lens is provided in an illumination optical system
  • Fourth embodiment an example in which an optical path branching element is provided in an illumination optical system
  • Fifth embodiment an example in which both an anamorphic lens and an optical path branching element are provided in the illumination optical system.
  • Modification common to the first to fifth embodiments Modification 1 (an example using a reflective element as a spatial modulation element)
  • Modification 2 an example in which only one light source is provided in the illumination optical system
  • Modification 3 an example in which a chip in a light source is disposed at an angle to the optical axis
  • Other Modifications Combination of Each Embodiment, Application to Rear Projection Display, etc.
  • FIGS. 1A and 1B show a schematic configuration of a projector (projector 1) according to a first embodiment of the present disclosure.
  • the projector 1 corresponds to one specific example of the “projection type display device” of the present disclosure.
  • FIG. 1A shows a configuration example when the projector 1 is viewed from above (from the y-axis direction)
  • FIG. 1B shows a configuration example when the projector 1 is viewed from the side (from the x-axis direction)
  • 2A and 2B show an example of an optical path in the projector 1 of FIG.
  • FIG. 2A shows an example of an optical path when the projector 1 is viewed from above (from the y-axis direction)
  • FIG. 2B is an optical path when the projector 1 is viewed from the side (from the x-axis direction)
  • the y-axis is oriented vertically and the x-axis is oriented horizontally, but conversely, the y-axis may be oriented horizontally and the x-axis may be oriented vertically.
  • the y-axis points in the vertical direction and the x-axis points in the horizontal direction.
  • horizontal direction refers to the x-axis direction
  • longitudinal direction refers to the y-axis direction.
  • the projector 1 includes, for example, an illumination optical system 1A, a spatial modulation element 60 that generates image light by modulating light from the illumination optical system 1A based on an input video signal, and a spatial modulation element 60 And a projection optical system 70 for projecting the image light onto the reflective screen 2.
  • the illumination optical system 1A corresponds to one specific example of the “illumination device” of the present disclosure.
  • the illumination optical system 1A supplies a light flux for illuminating the illumination range 60A (surface to be illuminated) of the space modulation element 60. If necessary, some optical element may be provided on the area through which the light of the illumination optical system 1A passes. For example, a filter for reducing light other than visible light in the light from the illumination optical system 1A may be provided on the area through which the light of the illumination optical system 1A passes.
  • the illumination optical system 1A includes light sources 10A, 10B and 10C, coupling lenses (directing angle conversion elements) 20A, 20B and 20C, and an optical path combining element. 30, an integrator 40, and a condenser lens 50.
  • the optical path combining element 30 combines the light from the light sources 10A, 10B, and 10C, and includes, for example, two dichroic mirrors 30A and 30B.
  • the integrator 40 makes the illuminance distribution of light in the illumination range 60A uniform, and includes, for example, a pair of fly eye lenses 40A and 40B.
  • a coupling lens 20A, an optical path combining element 30, an integrator 40, and a condenser lens 50 are arranged in this order from the light source 10A side.
  • the optical axis of the light source 10B is orthogonal to the optical axis of the light source 10A at the dichroic mirror 30A, and the coupling lens 20B and the dichroic mirror 30A are arranged in this order from the light source 10B side on the optical axis of the light source 10B.
  • the optical axis of the light source 10C is orthogonal to the optical axis of the light source 10A at the dichroic mirror 30B, and the coupling lens 20C and the dichroic mirror 30B are arranged in this order from the light source 10C side on the optical axis of the light source 10C. There is.
  • the coupling lenses (directing angle conversion elements) 20A, 20B, and 20C and the integrator 40 are the optical members that the light incident from the side of the solid member of the present disclosure passes through and exits. It corresponds to one specific example of "member”.
  • FIGS. 1A and 1B there is a case where the respective components of the projector 1 (excluding the light sources 10B and 10C and the coupling lenses 20B and 20C) are arranged on line segments parallel to the z axis. Although illustrated, some components of the projector 1 may be arranged on line segments that are not parallel to the z axis. For example, although not shown, the entire illumination optical system 1A is rotated by 90 ° from the state of FIGS. 1A and 1B so that the optical axis of the illumination optical system 1A is directed in the direction orthogonal to the z axis. 1A may be laid out.
  • the light source 10A, the coupling lens 20A, and the light path combining element 30 are rotated by 90 ° from the state of FIGS. 1A and 1B so that their optical axes are directed in the direction orthogonal to the z axis.
  • the light source 10A, the coupling lens 20A, and the light path combining element 30 may be laid out.
  • an optical element for example, a mirror
  • each light source 10A, 10B, 10C is a package for supporting the solid light emitting element 11 on the base material.
  • the solid state light emitting device 11 emits light from a light emitting area consisting of a single or a plurality of point-like or a single or a plurality of non-point-like light emitting spots.
  • the solid-state light emitting element 11 may be composed of a single chip 11A that emits light in a predetermined wavelength band.
  • the solid-state light emitting element 11 may be composed of a plurality of chips 11A that emit light of the same wavelength band or different wavelength bands.
  • the chips 11A are arranged in a row in the lateral direction.
  • they are arranged in a grid in the horizontal and vertical directions.
  • the number of chips 11 included in the solid state light emitting device 11 may be different for each of the light sources 10A, 10B, and 10C, or may be equal to each other for all the light sources 10A, 10B, and 10C.
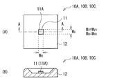
  • the size (W V ⁇ W H ) as the solid light emitting element 11 is, for example, as shown in FIG. 3A, a single chip 11A. Equal to the size of (W V1 ⁇ W H1 ).
  • the size of the solid light emitting element 11 is, for example, all chips 11A as shown in FIG. 4A and FIG. 5A. It is equal to the size of one unit.
  • the size (W V ⁇ W H ) as the solid light emitting element 11 is W V1 ⁇ 2 W H1 in the example of FIG. 4A.
  • the size (W V ⁇ W H ) as the solid light emitting element 11 is, in the example of FIG. It becomes 2W V1 ⁇ 2W H1 .
  • the chip 11A is composed of a light emitting diode (LED), an organic EL light emitting element (OLED), or a laser diode (LD).
  • LED light emitting diode
  • OLED organic EL light emitting element
  • LD laser diode
  • at least one of the chips 11A is configured by an LD as the whole of the light sources 10A, 10B, and 10C.
  • the other chip 11A excluding the chip 11A made of the LD can be configured by combining any one of the LED, the OLED, and the LD.
  • the chips 11A included in each of the light sources 10A, 10B, and 10C for example, emit light of different wavelength bands for each of the light sources 10A, 10B, and 10C.
  • the chip 11A included in the light source 10A emits light (blue light) having a wavelength of about 400 nm to 500 nm, for example.
  • the chip 11A included in the light source 10B emits light (green light) having a wavelength of about 500 nm to 600 nm, for example.
  • the chip 11A included in the light source 10C emits light (red light) having a wavelength of about 600 nm to 700 nm, for example.
  • the chip 11A included in the light source 10A may emit light (green light or red light) other than blue light.
  • the chip 11A included in the light source 10B may emit light (blue light or red light) other than green light.
  • the chip 11A included in the light source 10C may emit light (green light or blue light.
  • the chip 11A is smaller than the chip 11A (W V ⁇ W H ), for example, as shown in FIGS. 3 (A), (B) to 6 (A), (B) and (C). It has the light emission spot 11B of PV1 * PH1 ).
  • the light emitting spot 11B corresponds to a region (light emitting region) in which light is emitted from the chip 11A when the chip 11A is driven by injecting a current into the chip 11A.
  • the light emission spot 11B is astigmatic (planar), but when the chip 11A is made of LD, the light emission spot 11B is light emission spot 11B of LED or OLED It is smaller than the dot shape.
  • the number of light emitting spots 11B is, for example, one as shown in FIG. 6 (A). However, as described later, when the solid-state light emitting element 11 has a monolithic structure, the number of light emitting spots 11B is plural, and so forth. On the other hand, when the solid-state light emitting element 11 is composed of a plurality of chips 11A, the number of light emitting spots 11B is equal to the number of chips 11A as shown in FIGS. 6 (B) and 6 (C), As described above, when the solid-state light emitting element 11 has a monolithic structure, the number of light emitting spots 11B is larger than the number of chips 11A).
  • the size (P V ⁇ P H ) of the light emitting region as the solid-state light emitting element 11 is the size of the light emitting spot 11B (P V1 ⁇ P H1 (Except that the solid-state light emitting device 11 has a monolithic structure as described above).
  • the size (P V ⁇ P H ) of the light emitting region as the solid light emitting element 11 encloses the light emitting spots 11B of all the chips 11A with the minimum area.
  • the size (P V ⁇ P H ) of the light emission area is larger than P V1 ⁇ 2 P H1 in the example of FIG. It is smaller than W V ⁇ W H.
  • the size (P V ⁇ P H ) of the light emission region is 2P V1 in the example of FIG. It is larger than x 2 PH 1 and smaller than W V x W H.
  • FIGS. 3A and 3B to 6A and 6B illustrate the case where the chip 11A is a top emission type element, but the chip 11A will be described below. It may be an edge-emitting device.
  • the light sources 10A, 10B, and 10C are, for example, as shown in FIGS. 7 (A) and 7 (B) to 12 (A), (B) and (C), respectively.
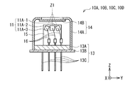
  • the solid light emitting element 11 composed of one or a plurality of end face light emitting chips 11A is accommodated in a can type.
  • each of the light sources 10A, 10B, and 10C is a package in which the solid light emitting element 11 is incorporated.
  • the stem 13 constitutes a package of the light sources 10A, 10B and 10C together with the cap 14.
  • a plurality of connection terminals 13C are provided.
  • the submount 15 is made of a material having conductivity and heat dissipation.
  • the supporting substrate 13A and the outer frame substrate 13B are respectively a substrate having conductivity and heat dissipation, in which one or more insulating through holes and one or more conductive through holes are formed. is there.
  • the support substrate 13A and the outer frame substrate 13B have, for example, a disk shape, and are laminated such that both central axes (not shown) overlap each other.
  • the diameter of the outer frame substrate 13B is larger than the diameter of the support substrate 13A.
  • the outer edge of the outer frame substrate 13B is an annular flange projecting in the radial direction from the central axis of the outer frame substrate 13B in a plane normal to the central axis of the outer frame substrate 13B.
  • the flange has a role of defining a reference position when the cap 14 is fitted to the support substrate 13A in the manufacturing process.
  • the plurality of connection terminals 13C penetrate at least the support substrate 13A.
  • the terminals excluding at least one of the plurality of connection terminals 13C are electrically connected one by one to the electrodes (not shown) of the individual chips 11A. It is done.
  • the terminal ⁇ for example, protrudes long on the outer frame substrate 13B side and protrudes short on the support substrate 13A side.
  • terminals other than the above-described terminal ⁇ hereinafter referred to as “terminal ⁇ ” for convenience
  • the terminal ⁇ protrudes long on the outer frame substrate 13B side, and the edge of the terminal ⁇ on the support substrate 13A side is embedded in, for example, the support substrate 13A.
  • a portion of each connection terminal 13C that protrudes long on the outer frame substrate 13B side corresponds to, for example, a portion to be fitted into a substrate or the like.
  • a portion of the plurality of connection terminals 13C that protrudes short toward the support substrate 13A corresponds to a portion electrically connected to each chip 11A one by one via the wire 16.
  • a portion of the plurality of connection terminals 13C embedded in the support substrate 13A corresponds to, for example, a portion electrically connected to all the chips 11A through the support substrate 13A and the submount 15.
  • the terminal ⁇ is supported by insulating through holes provided in the support substrate 13A and the outer frame substrate 13B, and is insulated and separated from the support substrate 13A and the outer frame substrate 13B by the through holes. Furthermore, the individual terminals ⁇ are insulated and separated from each other by the above-described insulating member. On the other hand, the terminal ⁇ is supported by conductive through holes provided in the support substrate 13A and the outer frame substrate 13B, and is electrically connected to the through holes.
  • the cap 14 seals the solid light emitting element 11.
  • the cap 14 has, for example, a cylindrical portion 14A having an opening at the upper end and the lower end.
  • the lower end of the cylindrical portion 14A is in contact with, for example, the side surface of the support substrate 13A, and the solid light emitting element 11 is located in the internal space of the cylindrical portion 14A.
  • the cap 14 has a light transmission window 14B disposed so as to close the opening on the upper end side of the cylindrical portion 14A.
  • the light transmission window 14 B is disposed at a position facing the light emission surface of the solid light emitting element 11, and has a function of transmitting the light output from the solid light emitting element 11.
  • the solid-state light emitting device 11 can be formed from a light emitting region consisting of a single or a plurality of point-like or a single or a plurality of astigmatic light-emitting spots. It emits light.
  • the solid light emitting element 11 may be, for example, a single chip 11A that emits light in a predetermined wavelength band, or may be a plurality of chips 11A that emit light in the same wavelength band, It may be composed of a plurality of chips 11A that emit light of different wavelength bands.
  • the solid light emitting element 11 is composed of a plurality of chips 11A, for example, as shown in FIGS. 7A and 7B and FIGS.
  • the chips 11A are in the lateral direction. Are arranged in a row, or, for example, are arranged in a row in the vertical direction as shown in FIGS. 10 (A) and 10 (B) and FIGS. 11 (A) and 11 (B).
  • the number of chips 11A included in the solid state light emitting device 11 may be different for each of the light sources 10A, 10B, and 10C, or may be equal to each other for all the light sources 10A, 10B, and 10C.
  • the size (W V ⁇ W H ) as the solid-state light emitting device 11 is, for example, as shown in FIG. 9 (B) and FIG. 12 (B).
  • FIGS. 9C and 12C when the solid-state light emitting device 11 has a monolithic structure, the following is true, and so forth. That is, in the example of FIG. 9C, the size (W V ⁇ W H ) as the solid light emitting element 11 is larger than W V1 ⁇ 2W H1 , and in the example of FIG.
  • the solid light emitting element 11 is The size (W V ⁇ W H ) is larger than 2 W V1 ⁇ W H1 .
  • the size of the solid light emitting element 11 is, for example, as shown in FIG. 7 (B), 8 (B), 10 (B), 11 (B). As shown in), it is equal to the size when all the chips 11A are put together.
  • the size (W V ⁇ W H ) as the solid light emitting element 11 is larger than W V1 ⁇ 3 W H1 in the example of FIG. 7B. In the example of FIG.
  • the size (W V ⁇ W H ) as the solid light emitting element 11 is 3 W V1 ⁇ W H1 in the example of FIG. 10B. In the example of FIG. 11B, it is larger than 2W V1 ⁇ W H1 .
  • the chip 11A is made of, for example, a laser diode (LD). However, also in this case, as described above, at least one of the chips 11A is configured by an LD as the whole of the light sources 10A, 10B, and 10C. In addition, the other chip 11A excluding the chip 11A made of the LD can be configured by combining any one of the LED, the OLED, and the LD.
  • LD laser diode
  • the chip 11A has a size (W V ⁇ W H ) smaller than the size of the chip 11A (W V ⁇ W H ), for example, as shown in FIGS. 7 (A), (B) to 12 (A), (B), (C). It has the light emission spot 11B of PV1 * PH1 ).
  • the light emitting spot 11B corresponds to a region (light emitting region) in which light is emitted from the chip 11A when the chip 11A is driven by injecting a current into the chip 11A.
  • the light emission spot 11B is smaller than the light emission spot of the LED or the OLED.
  • the number of light emitting spots 11B is one, for example, as shown in FIG. 9 (B) and FIG. 12 (B).
  • the number of light emitting spots 11B is plural (here, two), and so on It is.
  • the number of light emitting spots 11B is, for example, as shown in FIG. 7 (B), FIG. 8 (B), FIG. 10 (B) and FIG. As shown, it is equal to the number of chips 11A.
  • the size (P V ⁇ P H ) of the light emitting region as the solid-state light emitting element 11 is the size of the light emitting spot 11B (P V1 ⁇ P H1 )be equivalent to.
  • the size (P V ⁇ P H ) of the light emission region as the solid light emitting element 11 is larger than P V1 ⁇ 2P H1 and smaller than W V ⁇ W H.
  • the size (P V ⁇ P H ) of the light emission region as the solid light emitting element 11 is larger than 2P V1 ⁇ P H1 and smaller than W V ⁇ W H.
  • the size (P V ⁇ P H ) of the light emitting region as the solid light emitting element 11 encloses the light emitting spots 11B of all the chips 11A with the minimum area. Equal to the size of the enclosure when When the plurality of chips 11A are arranged in a row in the lateral direction, the size (P V ⁇ P H ) of the light emission area is larger than P V1 ⁇ 3 P H1 in the example of FIG.
  • the size (P V ⁇ P H ) of the light emission region is larger than P V1 ⁇ 2P H1 and smaller than W V ⁇ W H.
  • the size (P V ⁇ P H ) of the light emission area is more than 3P V1 ⁇ P H1 in the example of FIG. It is larger and smaller than W V ⁇ W H.
  • the size (P V ⁇ P H ) of the light emission area is larger than 2P V1 ⁇ P H1 and smaller than W V ⁇ W H.
  • the coupling lens 20A substantially collimates the light emitted from the light source 10A, and the directivity angle of the light emitted from the light source 10A It converts ( ⁇ H , ⁇ V ) so as to be equal to or close to the directivity angle of parallel light.
  • the coupling lens 20A is disposed at a position where the light within the directivity angle of the light emitted from the light source 10A is incident.
  • the coupling lens 20B substantially collimates the light emitted from the light source 10B, and the directivity angle of the light emitted from the light source 10B.
  • the coupling lens 20B is disposed at a position where the light within the directivity angle of the light emitted from the light source 10B is incident.
  • the coupling lens 20C for example, as shown in FIGS. 2A and 2B, substantially collimates the light emitted from the light source 10C, and the directivity angle of the light emitted from the light source 10C. It converts ( ⁇ H , ⁇ V ) so as to be equal to or close to the directivity angle of parallel light.
  • the coupling lens 20C is disposed at a position where the light within the directivity angle of the light emitted from the light source 10C is incident.
  • the coupling lenses 20A, 20B, and 20C are disposed one by one for each of the light sources 10A, 10B, and 10C (for each package).
  • Each of the coupling lenses 20A, 20B, and 20C may be configured by a single lens, or may be configured by a plurality of lenses.
  • the dichroic mirrors 30A and 30B include one mirror having wavelength selectivity.
  • the above-mentioned mirror is formed, for example, by vapor deposition of a multilayer interference film.
  • the dichroic mirror 30A transmits light incident from the back side of the mirror (light incident from the light source 10A side) to the surface side of the mirror, and The light incident from the front surface side of the light (light incident from the light source 10B side) is reflected by the mirror.
  • FIGS. 2A and 2B the dichroic mirror 30A transmits light incident from the back side of the mirror (light incident from the light source 10A side) to the surface side of the mirror, and The light incident from the front surface side of the light (light incident from the light source 10B side) is reflected by the mirror.
  • the dichroic mirror 30B has the light incident from the back surface side of the mirror (the light from the light sources 10A and 10B incident from the dichroic mirror 30A side) the surface side of the mirror And light reflected from the surface side of the mirror (light incident from the light source 10C side) is reflected by the mirror. Therefore, the optical path combining element 30 combines the individual luminous fluxes emitted from the light sources 10A, 10B and 10C into a single luminous flux.
  • each cell in the fly's eye lenses 40A and 40B is arranged along each of the transverse direction (x-axis direction, first direction) and the longitudinal direction (y-axis direction, second direction) orthogonal to each other (arrangement direction) Are arranged.
  • the plurality of cells 42 included in the fly's eye lens 40B are disposed to face each one of the cells 41 of the fly's eye lens 40A.
  • the fly's eye lens 40A (first fly's eye lens) is disposed at the focal position (or approximately the focal position) of the fly's eye lens 40B (second fly's eye lens), and the fly's eye lens 40B is a fly's eye lens It is arranged at the focal position (or approximately the focal position) of 40A. Therefore, the integrator 40 focuses the light flux divided and formed by the fly's eye lens 40A in the vicinity of the lens surface on the image side of the fly's eye lens 40B and forms a secondary light source surface (light source image) there. There is.
  • the secondary light source surface is located at a position conjugate to the entrance pupil of the projection optical system 70. However, the secondary light source surface does not necessarily have to be located exactly at a position conjugate to the entrance pupil of the projection optical system 70, and may be located within the design tolerance.
  • the fly eye lenses 40A and 40B may be integrally formed.
  • the luminous flux emitted from the light sources 10A, 10B and 10C has an uneven intensity distribution (brightness distribution) in a plane perpendicular to the traveling direction. Therefore, if these luminous fluxes are directly guided to the illumination range 60A (surface to be illuminated), the illuminance distribution (luminance distribution) in the illumination range 60A becomes nonuniform.
  • the illumination range 60A The illumination distribution above can be made uniform (the non-uniformity of the illumination distribution can be reduced).
  • the condenser lens 50 condenses the light beams from the multiple light sources formed by the integrator 40 to illuminate the illumination range 60A in a superimposed manner.
  • the spatial modulation element 60 two-dimensionally modulates the light flux from the illumination optical system 1A based on color image signals corresponding to the respective wavelength components of the light sources 10, 10B and 10C, thereby generating image light. is there.
  • the spatial modulation element 60 is a transmission type element here, and is formed of, for example, a transmission type liquid crystal panel.
  • At least one of the chips 11A is configured by an LD (for example, a semiconductor laser or the like) as a whole of the light sources 10A, 10B, and 10C. Therefore, for example, as shown in FIG. 14, in the laser light emitted from the light emitting spot 11B in the chip 11A made of this LD, the far field pattern (FFP) shows a sharp luminance distribution shape. In other words, in this laser light, the shape of the FFP is not circular (isotropic) but anisotropic (here, elliptical) (see a symbol P10 in FIG. 14).
  • an LD for example, a semiconductor laser or the like
  • the shape (brightness distribution shape) of the brightness distribution Lind of the incident light on the incident surface (light incident surface) of the fly eye lens 40A is different from the arrangement direction of the cells 41 in the fly's eye lens 40A.
  • the major axis direction and the minor axis direction in the luminance distribution Lind of the incident light are different from any of the arrangement direction (horizontal direction (x-axis direction) and vertical direction (y-axis direction)) of each cell 41 ing.
  • the major axis direction in the luminance distribution Lind and the arrangement direction of the cells 41 do not coincide with each other. And each other at a predetermined angle (inclination angle, rotation angle) ⁇ .
  • the integrator 40 can easily reduce the unevenness in the brightness of the incident light.
  • the angle ⁇ substantially matches the size h FEL1V of the cells 41 in the vertical direction (the length (period) of the entire horizontal direction in the fly eye lens 40A) (preferably It is desirable that the angle be such that That is, it is desirable that the following relational expression be satisfied for the angle ⁇ .
  • the integrator 40 can easily reduce the uneven brightness of the incident light.
  • h FEL1H Size of one cell 41 of fly-eye lens 40A in first direction
  • h FEL1V Size of second cell of fly-eye lens 40A in second direction
  • n H First direction of fly-eye lens 40A Number of cells 41 along (number of cells)
  • the inclined arrangement (rotational arrangement) between the major axis direction and the arrangement direction of each cell 41 in such a luminance distribution Lind is, for example, as shown in FIG. 16, the inclination of the light sources 10A, 10B, 10C, etc. It is possible to realize by arrangement (rotational arrangement). That is, for example, it can be realized by the rotational arrangement of the chip 11A itself made of an LD, the rotational arrangement of the solid light emitting element 11 including the chip 11A made of this LD, the light sources 10A, 10B, 10C, etc.
  • the long axis direction (and short axis direction) of the FFP in the laser beam emitted from the light emitting spot 11B of the chip 11A made of LD is the longitudinal direction and the transverse direction (first and second directions in the fly eye lens 40A).
  • the chip 11A made of an LD is inclined (rotated) so as to be different from any of the second directions.
  • the present invention is not limited to this example.
  • the other optical members for example, coupling lenses 20A, 20B, 20C, dichroic mirrors 30A, 30B, etc.
  • An inclined arrangement (rotational arrangement) may be realized between the major axis direction of the luminance distribution Lind and the arrangement direction of the cells 41.
  • the short axis direction of the FFP of the light emitted from each light emitting spot 11B substantially matches (preferably matches) the short axis direction in the device outer shape of the projector 1 (for example, rectangular housing) ) Is desirable.
  • the first light source emits light in two or more wavelength bands different from each other, the long axis direction of the FFP of the light emitted from each light emitting spot 11B is between these two or more wavelength bands. It is desirable that they substantially match (preferably match) one another.
  • the first light source described above two chips 11A-1 and 11A-2 made of LD are provided, and accordingly, light emitting spots including the active layer 110 are provided. (Near field pattern; NFP) 11B-1 and 11B-2 are provided.
  • NFP Near field pattern
  • FIG. 17B an example of the monolithic structure described above
  • one chip 11A made of LD is provided, and two light emission spots 11B are provided in this chip 11A.
  • -1, 11B-2 are provided.
  • the light emission spots 11B-1 and 11B-2 it is assumed that light of the same wavelength band or light of two different wavelength bands are emitted.
  • the minor axis direction (here, the y-axis direction) of the FFP (refer to reference numerals P11, P12, P21 and P22 in the figure) of the light emitted from each of the light emission spots 11B-1 and 11B-2 is the integrator 40 respectively. It coincides with the minor axis direction (here, the y-axis direction) in the plane orthogonal to the optical axis of. Further, the long axis directions (in this case, the x-axis direction) of the FFP in the light emitted from the light emitting spots 11B-1 and 11B-2 coincide with each other between the light emitting spots 11B-1 and 11B-2.
  • each light source image S formed on the fly eye lens 40B by the cells 41 of the fly eye lens 40A does not exceed the size of one cell 42 of the fly eye lens 40B.
  • the focal lengths of the coupling lenses 20A, 20B, and 20C and the focal lengths of the fly eye lenses 40A and 40B are set. If this is expressed by a formula, it will become like the following formulas (1) to (3). Further, this is schematically represented as shown in FIG. FIG. 18 exemplifies the case where each cell of the fly eye lenses 40A and 40B has an aspect ratio (aspect ratio) other than one. Note that FIG. 18 will be described in detail later.
  • h 1 P 1 ⁇ (f FEL / f CL1) ⁇ h FEL2 ...
  • h 2 P 2 ⁇ (f FEL / f CL2) ⁇ h FEL2 ...
  • h 3 P 3 ⁇ (f FEL / f CL3) ⁇ h FEL2 ...
  • h 1 size h 2 of the light source image S (light source image S 1 ) formed by the light of the light source 10 A: size h 3 of the light source image S (light source image S 2 ) formed by the light of the light source 10 B: light source 10 C Size P 1 of light source image S (light source image S 3 ) formed by light: Size P 2 of light emitting area of solid light emitting element 11 contained in light source 10 A: Light emitting area of solid light emitting element 11 contained in light source 10 B size P 3: size of the light emission region f of the solid-state light-emitting elements 11 included in the light source 10C
  • FEL the fly-eye lens 40A
  • the focus of 40B length f CL1 the focal length f of the coupling lens 20A
  • CL2 a coupling lens 20B
  • Focal length f CL3 Focal length h of coupling lens 20 C h FEL 2 : Size of one cell 42 of fly eye lens 40 B
  • P 1 is equal to the size of the light-emitting spot 11B of the chip 11A.
  • P 2 is equal to the size of the light-emitting spot 11B of the chip 11A
  • the solid-state light emitting elements 11 included in the light source 10C is If made of a single chip 11A is, P 3 is equal to the size of the light-emitting spot 11B of the chip 11A.
  • P 1 is equal to the size of the enclosure when surrounds the light-emitting spot 11B of all chips 11A with a minimum area.
  • P 2 is equal to the size of the enclosure when surrounds the light-emitting spot 11B of all chips 11A with a minimum area.
  • P 3 is equal to the size of the enclosure when surrounds the light-emitting spot 11B of all chips 11A with a minimum area.
  • f CL1 is a combined focal length of each lens.
  • f CL2 is a combined focal length of each lens.
  • f CL3 is a combined focal length of each lens.
  • Equations (4) to (6) are particularly useful when the size of the light emitting region of the solid state light emitting device 11 is approximately equal to the size of the solid state light emitting device 11.
  • h 1 W 1 ⁇ (f FEL / f CL1) ⁇ h FEL2 ...
  • h 2 W 2 ⁇ (f FEL / f CL2) ⁇ h FEL2 ...
  • h 3 W 3 ⁇ (f FEL / f CL3) ⁇ h FEL2 ...
  • W 1 the size W 2 of the solid-state light-emitting device 11 included in the light source 10A: size W 3 of the solid-state light-emitting device 11 included in the light source 10B: size of the solid light emitting element 11 included in the light source 10C
  • W is equal to the size of the chip 11A.
  • W is equal to the size of the chips when all the chips 11A are viewed as a single chip.
  • each of the cells 41 and 42 of the fly eye lenses 40A and 40B has an aspect ratio other than 1 (aspect ratio).
  • the focal lengths of the coupling lenses 20A, 20B, and 20C and the focal lengths of the fly-eye lenses 40A and 40B satisfy the following six relational expressions (Expression (7) to Expression (12)) Is preferred.
  • each ratio of focal length in the longitudinal and lateral directions of the coupling lenses 20A, 20B and 20C (fCL1H / fCL1V , fCL2H / fCL2V , fCL3H / fCL3V ) (anamorphic ratio), and each of the fly eye lens 40B It is more preferable to make the reciprocal of the aspect ratio of the size of the cell 42 (h FEL2V / h FEL2H ) equal to each other, and to make the illumination optical system 1A an anamorphic optical system.
  • the focal lengths f CL1V , f CL2 V and f may be used as the coupling lenses 20A, 20B and 20C.
  • the CL3 V is longer than the focal lengths f CL1 H , f CL2 H , and f CL 3 H.
  • the following formulas (7) to (12) can be schematically represented as shown in FIG.
  • h 1 H P 1 H ⁇ (f FELH / f CL1 H ) ⁇ h FEL 2 H (7)
  • h 2 H P 2 H ⁇ (f FELH / f CL2H ) ⁇ h FEL 2 H (8)
  • h 3 H P 3 H ⁇ (f FELH / f CL 3 H ) ⁇ h FEL 2 H (9)
  • h 1 V P 1 V ⁇ (f FELV / f CL1 V ) ⁇ h FEL 2 V (10)
  • h 2 V P 2 V ⁇ (f FELV / f CL2 V ) ⁇ h FEL 2 V (11)
  • h 3 V P 3 V ⁇ (f FELV / f CL 3 V ) ⁇ h FEL 2 V (12) here, h 1 H : Size of a light source image S (a light source image S 1 ) formed by the light of the light source 10 A in a first direction (for example, the
  • the “first direction or the direction corresponding thereto” is the first direction when the light sources 10A, 10B, 10C and the coupling lenses 20A, 20B, 20C are disposed on the optical axis of the integrator 40.
  • Point to In the “first direction or a direction corresponding thereto” when the light sources 10A, 10B, 10C and the coupling lenses 20A, 20B, 20C are disposed on the optical path out of the optical axis of the integrator 40, From the relationship of the layout of the optical elements disposed on the optical path from the light sources 10A, 10B, 10C to the integrator 40, a direction corresponding to the first direction is pointed out.
  • the “second direction or the direction corresponding thereto” is the second direction when the light sources 10A, 10B and 10C and the coupling lenses 20A, 20B and 20C are disposed on the optical axis of the integrator 40. pointing.
  • the “second direction or a direction corresponding thereto” when the light sources 10A, 10B, 10C and the coupling lenses 20A, 20B, 20C are disposed on the optical path out of the optical axis of the integrator 40, From the relationship of the layout of the optical elements disposed on the optical path from the light sources 10A, 10B, 10C to the integrator 40, a direction corresponding to the second direction is pointed out.
  • the solid-state light emitting element 11 included in the light source 10A is composed of a single chip 11A
  • P1H is equal to the size of the light emitting spot 11B of the chip 11A in the first direction or the corresponding direction.
  • P2H is equal to the size of the light emitting spot 11B of the chip 11A in the first direction or the corresponding direction.
  • P3H is equal to the size of the light emitting spot 11B of the chip 11A in the first direction or the corresponding direction.
  • P1H is the first direction of the enclosure when the light emitting spots 11B of all the chips 11A are enclosed with the minimum area. Or equal to the size of the corresponding direction.
  • P 2 H is the first one of the enclosures when the light emitting spots 11B of all the chips 11A are surrounded with the minimum area. Equal to the direction or the size of the corresponding direction.
  • P 3H is a first direction of the enclosure or the first direction of the enclosure when the luminous spots 11B of all the chips 11A are enclosed with the minimum area. Equal to the size of the corresponding direction.
  • P1V is equal to the size of the light emitting spot 11B of the chip 11A in the second direction or the corresponding direction.
  • P2V is equal to the size of the second direction of the light emission spot 11B of the chip 11A or the corresponding direction.
  • P3V is equal to the size of the second direction or the corresponding direction of the light emitting spot 11B of the chip 11A.
  • P 1 V is the second direction of the enclosure when the light emitting spots 11B of all the chips 11A are enclosed with the minimum area. Or equal to the size of the corresponding direction.
  • P2V is the second of the enclosure when the light emitting spots 11B of all the chips 11A are surrounded with the minimum area. Equal to the direction or the size of the corresponding direction.
  • P3V is the second direction of the enclosure or the second direction of the enclosure when the luminous spots 11B of all the chips 11A are enclosed with the minimum area. Equal to the size of the corresponding direction.
  • the aspect ratio of the illumination range 60A when the cells 41 and 42 of the fly eye lenses 40A and 40B have an aspect ratio other than 1, the aspect ratio of the size of each cell 41 of the fly eye lens 40A, It is preferable that the aspect ratio of the illumination range 60A satisfy the following relational expression (Expression (13)).
  • the aspect ratio H / V (see FIG. 19) of the illumination range 60A has a correlation with the resolution of the spatial modulation element 60.
  • the resolution of the spatial modulation element 60 is VGA (640 ⁇ 480) In this case, it is 640/480.
  • the resolution of the spatial modulation element 60 is WVGA (800 ⁇ 480), it is 800/480.
  • h FEL 1 H / h FEL 1 V H / V (13) here, h FEL1H : size of first direction of one cell of fly eye lens 40A h FEL1V : size of second direction of one cell of fly eye lens 40A H: size of first direction of illumination range 60A V: size of illumination range 60A second direction size
  • the coupling lenses 20A and 20B are set such that the beam size of light incident on the coupling lenses 20A, 20B and 20C does not exceed the size of the coupling lenses 20A, 20B and 20C.
  • And 20 C is preferably set. This can be expressed by the following equations (14) to (16).
  • the coupling lenses 20A, 20B and 20C have aspect ratios (aspect ratios) other than 1, the focal lengths and numerical apertures of the coupling lenses 20A, 20B and 20C are It is preferable that the following relational expressions (Expressions (17) to (22)) be satisfied.
  • At least one of the chips 11A is configured by an LD as the entire light sources 10A, 10B, and 10C. Therefore, for example, as shown in FIG. 14, the laser light emitted from the light emission spot 11B in the chip 11A made of this LD has a sharp (anisotropic) luminance distribution shape (here, a circular shape) in the FFP. ing.
  • the long axis direction of the shape of the luminance distribution Lind of the incident light on the incident surface of the fly eye lens 40A is the fly eye lens 40A.
  • the major axis direction and the minor axis direction in the luminance distribution Lind of the incident light are different from any of the arrangement direction (horizontal direction (x-axis direction) and vertical direction (y-axis direction)) of each cell 41 ing.
  • the inclined arrangement (rotational arrangement) between the major axis direction and the arrangement direction of each cell 41 in such a luminance distribution Lind is, for example, as shown in FIG.
  • the inclined arrangement of the light sources 10A, 10B, 10C, etc. (Rotational arrangement) is realized. Specifically, the long axis direction (and short axis direction) of the FFP in the laser beam emitted from the light emitting spot 11B of the chip 11A made of LD is different from both the longitudinal direction and the lateral direction in the fly's eye lens 40A.
  • the chip 11A made of an LD is inclined (rotated).
  • a contour line (such as a predetermined intensity value). It means the shape of the luminance line). Specifically, in the case where the laser light emitted from the light emission spot 11B in the chip 11A made of an LD exhibits a steep luminance distribution as shown in, for example, FIGS. 21 (A) and 21 (B), It corresponds to the shape of the equal luminance line which consists of the luminance value shown by the code
  • the laser light emitted from the light emitting spot 11B of the chip 11A made of LD exhibits a sharp luminance distribution shape (for example, the shape of the FFP is circular (isotropic) Not due to (e.g. oval))
  • the following problems may arise. That is, when the laser light exhibits a too sharp luminance distribution shape (for example, when the luminance distribution shape is steeper than the size of each of the cells 41 and 42 of the fly eye lenses 40A and 40B), the function of the integrator 40 is also
  • the luminance unevenness of the illumination light (incident light) can not be reduced (the luminance distribution is not uniform). In that case, for example, as shown in FIG. 22, since the luminance unevenness occurs in the illumination light and the image light (display light) on the illumination range 60A and the screen 2, the display image quality is also deteriorated. .
  • the long axis direction of the shape of the luminance distribution Lind of the incident light on the incident surface of the fly eye lens 40A is different from the arrangement direction of the cells 41 in the fly eye lens 40A. ing.
  • the laser light emitted from the light source including the chip 11A made of LD exhibits a sharp luminance distribution shape (for example, the shape of the FFP is not circular (isotropic) (for example, in the case of elliptical)
  • the luminance unevenness of the incident light can be easily reduced in the integrator 40.
  • the result of superposition (superposition) of light in a plurality of cells 41 including the shape of the luminance distribution Lind of incident light For example, as shown in FIG. 23B, luminance unevenness in the illumination light and the display light is effectively reduced. That is, as compared with the comparative example, the luminance unevenness in the illumination light and the display light is reduced (in this example, the generation of the luminance unevenness is avoided), which makes it possible to improve the display image quality in the present embodiment.
  • FIG. 24 shows an example of each characteristic (a relationship between an aspect ratio in the illumination range 60A and each parameter of n H , h FEL1 H , h FEL 1 Y , ⁇ described above) according to an example of the present embodiment. It is In these examples, it can be seen that, in the case of the angle ⁇ of about 2.7 ° to 7.1 °, the integrator 40 exhibits the effect of reducing uneven brightness to the maximum.
  • the chip 11A made of LD is used.
  • the minor axis direction of the FFP in the light emitted from each light emitting spot 11B is made to substantially coincide with the minor axis direction in the plane orthogonal to the optical axis of the integrator 40, the device of the projector 1 Since the short axis direction in the outer shape substantially matches the short axis direction of the FFP, the entire projector 1 can be miniaturized.
  • the long axis direction of FFP of the light emitted from each light emitting spot 11B is mutually different between these two or more wavelength bands
  • substantially matching for example, when using an I-cut lens, light loss is reduced.
  • the optical effective range is sacrificed at the I-cut portion, but the I-cut direction (the direction in which the effective diameter is wide) Optical loss can be reduced by adjusting to.
  • the size of each light source image S formed on the fly eye lens 40B by each cell 41 of the fly eye lens 40A is one cell 42 of the fly eye lens 40B.
  • the focal lengths f CL1 , f CL2 , and f CL3 of the coupling lenses 20A, 20B, and 20 C, and the focal length f FEL of the fly-eye lenses 40A and 40 B are set so as not to exceed the size of In the case, the following effects occur.
  • the solid state light emitting device 11 emits light from a light emitting region consisting of a single or a plurality of point-like or a single or a plurality of non-point-like light emitting spots, for example, one or a plurality of light emitting diodes And one or more organic EL light emitting elements, or one or more laser diodes. Therefore, even when the fly eye lens 40B is disposed at the focal position of the fly eye lens 40A, each light source image S formed on the fly eye lens 40B by each cell of the fly eye lens 40A is not point-like , Has a certain size (see FIG. 18). However, in the present embodiment, since one light source image S is not formed across a plurality of cells, light incident on the fly's eye lens 40B efficiently reaches the illumination range. Therefore, the light utilization efficiency in the illumination optical system 1A can be improved.
  • each cell of the fly's eye lenses 40A and 40B has an aspect ratio other than 1, the focal point of the coupling lenses 20A, 20B and 20C in consideration of the aspect ratio.
  • the distances f CL1H , f CL2 H , f CL3 H , f CL1 V , f CL2 V , and f CL3 V and the focal lengths f FELH and f FELV of the fly-eye lenses 40A and 40B are set, in the illumination optical system 1A The light utilization efficiency can be further improved.
  • the focal length f of the coupling lenses 20A, 20B and 20C in consideration of the aspect ratio.
  • FIG. 25 shows a schematic configuration of a projector (projector 3) according to the second embodiment.
  • the projector 3 corresponds to one specific example of the “projection type display device” of the present disclosure.
  • FIG. 25A shows a configuration example when the projector 3 is viewed from above (from the y-axis direction)
  • FIG. 25B is a diagram when the projector 3 is viewed from the side (from the x-axis direction) An example configuration is shown.
  • the projector 3 of the present embodiment is different from the configuration of the projector 1 including the illumination optical system 1A in that the projector 3 includes the illumination optical system 3A. Therefore, in the following, the difference from the projector 1 will be mainly described, and the description of the common points to the projector 1 will be appropriately omitted.
  • the illumination optical system 3A corresponds to one specific example of the "illumination device" of the present disclosure.
  • the illumination optical system 3A is configured such that in the illumination optical system 1A, an integrator 43 having a pair of fly eye lenses 40C and 40D is provided instead of the integrator 40 having a pair of fly eye lenses 40A and 40B. That is, the illumination optical system 3A includes fly eye lenses 40C and 40D described below instead of the fly eye lenses 40A and 40B in the illumination optical system 1A. Since these fly eye lenses 40C and 40D have the arrangement configuration of the cells 41 and 42 corresponding to each other, the fly eye lens 40C will be representatively described below.
  • this illumination optical system 3A is different from the illumination optical system 1A (see FIG. 16), and all the light sources 10A, 10B, 10C and other optical members are inclined (rotational arrangement) )It has not been. Therefore, in the illumination optical system 3A, for example, as shown in FIG. 27, it differs from the illumination optical system 1A (FIGS. 15A and 15B) (in the same manner as the comparative example shown in FIG. 20). In 40C, the long axis direction of the luminance distribution Lind of the incident light and the arrangement direction of the cells 41 are not inclined (rotational).
  • fly's eye lens 40C in the illumination optical system 3A for example, as shown in FIG. 27, the position of each cell 41 along the vertical direction (y-axis direction, second direction) is the horizontal direction (x-axis direction , At least some of the plurality of cell rows arranged along the first direction) are different from each other. That is, fly's eye lens 40C of the present embodiment has a positional deviation structure between cell rows along the minor axis direction (longitudinal direction) orthogonal to the major axis direction (lateral direction) in luminance distribution Lind of incident light. Have. In the specific example, in the example shown in FIG.
  • the luminance unevenness in the illumination light and the display light can be made more effective. It can be reduced. This is because, as described in the first embodiment, in the entire length (period) of the fly-eye lens 40C in the lateral direction, the luminance distribution Lind of the incident light is extended to the plurality of cells 41 along the longitudinal direction. When straddling, repetition of the same luminance distribution pattern occurs, and the reduction effect of the luminance unevenness can not be exhibited to the maximum.
  • the position of each cell 41 along the horizontal direction is one of a plurality of cell rows along the vertical direction.
  • the present invention is not limited to the case where the adjacent cell rows are shifted in the same direction, and may have another misaligned structure. That is, if the positions of the cells 41 along the vertical direction are different from each other among at least a part of the plurality of cell rows arranged along the horizontal direction, another misregistration structure May be adopted.
  • FIG. 29B for example, the amounts of deviation in different directions (upward and downward directions) may be provided between cell rows adjacent in the lateral direction. Further, for example, as shown in FIG.
  • 29C there may be a portion where no positional deviation occurs between adjacent cell rows in the lateral direction, and for example, as shown in FIG. As described above, between the adjacent cell rows in the lateral direction, it may have a staggered displacement structure (staggered staggered displacement structure).
  • FIG. 30 shows a schematic configuration of a projector (projector 4) according to the third embodiment.
  • the projector 4 corresponds to one specific example of the “projection type display device” of the present disclosure.
  • FIG. 30A shows a configuration example when the projector 4 is viewed from above (from the y-axis direction)
  • FIG. 30B is a diagram when the projector 4 is viewed from the side (from the x-axis direction)
  • An example configuration is shown.
  • the projector 4 of the present embodiment is different from the configuration of the projector 1 including the illumination optical system 1A in that the projector 4 includes the illumination optical system 4A. Therefore, in the following, the difference from the projector 1 will be mainly described, and the description of the common points to the projector 1 will be appropriately omitted.
  • the illumination optical system 4A corresponds to one specific example of the "illumination device" of the present disclosure.
  • the illumination optical system 4A is provided with an anamorphic lens 91 described below on the optical path between the optical path combining element 30 and the integrator 40.
  • illumination optical system 4A is different from the illumination optical system 1A (see FIG. 16), and all the light sources 10A, 10B, 10B and other optical members are inclined (rotational arrangement) )It has not been. Therefore, illumination optical system 4A differs from illumination optical system 1A (FIGS. 15A and 15B) as shown in, for example, FIG. 32, according to the comparative example and the second embodiment shown in FIG. Like the illumination optical system 3A), in the fly's eye lens 40A, the long axis direction of the luminance distribution Lind of the incident light and the arrangement direction of the cells 41 are not inclined (rotational).
  • the anamorphic lens 91 has a shape of the luminance distribution shape Lind for light incident on the fly's eye lens 40A in the short axis direction (here, the vertical direction (y-axis direction, The optical element is spread along the second direction)).
  • the anamorphic lens 91 is, for example, a cylindrical lens (lenticular lens), and its optical characteristic (for example, focal length) is asymmetric between the longitudinal direction and the lateral direction (x-axis direction, first direction). .
  • the focal length in the lateral direction is relatively longer than the focal length in the longitudinal direction (vertical focal length ⁇ lateral focal length).
  • the anamorphic lens 91 includes the coupling lenses 20A, 20B, and 20C. It may be formed integrally with the like.
  • FIG. 34 shows a schematic configuration of a projector (projector 5) according to the fourth embodiment.
  • the projector 5 corresponds to one specific example of the “projection type display device” of the present disclosure.
  • FIG. 34A shows a configuration example when the projector 5 is viewed from above (from the y-axis direction), and
  • FIG. 34B is when the projector 5 is viewed from the side (from the x-axis direction)
  • An example configuration is shown.
  • the projector 5 of the present embodiment is different from the configuration of the projector 1 including the illumination optical system 1A in that the projector 5 includes the illumination optical system 5A. Therefore, in the following, the difference from the projector 1 will be mainly described, and the description of the common points to the projector 1 will be appropriately omitted.
  • the illumination optical system 5A corresponds to one specific example of the "illumination device" of the present disclosure.
  • the illumination optical system 5A is provided with an optical path branching element 92 described below on the optical path between the optical path combining element 30 and the integrator 40.
  • this illumination optical system 5A is different from the illumination optical system 1A (see FIG. 16), and all of the light sources 10A, 10B, 10B and other optical members are inclined (rotational arrangement) )It has not been. Therefore, as shown in, for example, FIGS. 37A and 37B, the illumination optical system 5A differs from the illumination optical system 1A (FIGS. 15A and 15B) in the comparative example and the comparative example shown in FIG.
  • the fly-eye lens 40A as in the illumination optical systems 3A and 4A of the second and third embodiments, the long axis direction of the luminance distribution Lind of the incident light and the arrangement direction of the cells 41 are inclined ( It is not rotated).
  • the optical path branching element 92 makes a plurality of optical paths of incident light to the fly's eye lens 40A along the minor axis direction (here, the vertical direction (y-axis direction, second direction)) of the shape of the luminance distribution shape Lind. It is an optical element which makes it branch.
  • an optical path branching element 92 for example, as shown in FIG. 36A, a diffraction element 92A for respectively emitting diffracted light of a plurality of orders, or a half as shown in FIG. 36B, for example.
  • the mirror (or prism) 92B etc. are mentioned.
  • the optical path branching element 92 in the optical path branching element 92, the optical path of incident light to the fly's eye lens 40A has the short axis of the shape of the luminance distribution shape Lind.
  • the same operation and effect as the first embodiment and the like can be obtained. That is, even when the laser light emitted from the light source including the chip 11A made of the LD exhibits a sharp luminance distribution shape, the luminance unevenness of the incident light can be easily reduced in the integrator 40.
  • it is possible to reduce the uneven brightness in the illumination light and the display light in this example, to avoid the uneven brightness), and it is possible to improve the display image quality.
  • the diffractive element 92A and the half mirror (prism) 92B have been described as specific examples of the optical path branching element 92.
  • the present invention is not limited thereto. It may be configured.
  • FIG. 38 shows a schematic configuration of a projector (projector 6) according to the fifth embodiment.
  • the projector 6 corresponds to one specific example of the “projection type display device” of the present disclosure.
  • FIG. 38 (A) shows a configuration example when the projector 6 is viewed from above (from the y-axis direction), and
  • FIG. 38 (B) is when the projector 6 is viewed from the side (from the x-axis direction)
  • An example configuration is shown.
  • the projector 6 according to the present embodiment is different from the configuration of the projector 1 including the illumination optical system 1A in that the projector 6 includes the illumination optical system 6A. Therefore, in the following, the difference from the projector 1 will be mainly described, and the description of the common points to the projector 1 will be appropriately omitted.
  • the illumination optical system 6A corresponds to one specific example of the "illumination device" of the present disclosure.
  • illumination optical system 6A is described in the optical path branching element 92 described in the fourth embodiment and the third embodiment on the optical path between the optical path combining element 30 and the integrator 40 in the illumination optical system 1A.
  • the anamorphic lens 91 is provided in this order from the light path combining element 30 side.
  • the other configuration is the same as that of the illumination optical systems 4A and 5A of the third and fourth embodiments.
  • the optical path branching element 92 and the anamorphic lens 91 are provided in this order from the optical path combining element 30 on the optical path between the optical path combining element 30 and the integrator 40. It is not limited to this, and may be provided in the reverse order. That is, on the optical path between the optical path combining element 30 and the integrator 40, the anamorphic lens 91 and the optical path branching element 92 may be provided in this order from the optical path combining element 30 side.
  • FIG. 39A and 39B show a schematic configuration of a projector (projector 7) according to the first modification.
  • the projector 7 corresponds to a specific example of the “projection type display device” of the present disclosure.
  • FIG. 39A shows a configuration example when the projector 7 is viewed from above (from the y-axis direction)
  • FIG. 39B is a diagram when the projector 7 is viewed from the side (from the x-axis direction) An example configuration is shown.
  • the projector 7 of this modification is different from the configuration of the projector 1 including the illumination optical system 1A in that the projector 7 includes the illumination optical system 7A and uses a reflective element as the spatial modulation element 60. Therefore, in the following, the difference from the projector 1 will be mainly described, and the description of the common points to the projector 1 will be appropriately omitted.
  • the illumination optical system 7A corresponds to one specific example of the "illumination device" of the present disclosure.
  • the illumination optical system 7A is provided with a condenser lens 50A instead of the condenser lens 50 in the illumination optical system 1A.
  • the condenser lens 50A is a lens that collimates the light beams from multiple light sources formed by the integrator 40 and illuminates the condenser lens 50B via the polarization beam splitter 51.
  • the space modulation element 60 is configured of a reflection type element such as a reflection type liquid crystal panel, for example. Therefore, the projector 7 further includes a condenser lens 50 B and a polarization beam splitter 51 as compared to the projector 1.
  • the polarization beam splitter 51 is an optical member that selectively transmits a specific polarized light (for example, p-polarized light) and selectively reflects the other polarized light (for example, s-polarized light).
  • the spatial modulation element 60 performs light modulation while reflecting so that each polarized light (for example, s-polarized light or p-polarized light) at the time of incidence and at the time of emission is different.
  • the condenser lens 50B is a lens which is formed by the integrator 40 and condenses the light flux from multiple light sources incident through the condenser lens 50A and the polarization beam splitter 51, and illuminates the illumination range 60A in a superimposed manner.
  • the short-axis direction (y-axis in the device outline of the projector 7 It can be said that the advantage of achieving the downsizing of the entire projector 7 is great by matching the direction) with the short axis direction of the FFP in the light emitted from each light emitting spot 11B.
  • FIGS. 40A and 40B show a schematic configuration of a projector (projector 8) according to the second modification.
  • the projector 8 corresponds to a specific example of the “projection type display device” of the present disclosure.
  • FIG. 40A shows a configuration example when the projector 8 is viewed from above (from the y-axis direction), and
  • FIG. 40B shows a configuration example when the projector 8 is viewed from the side (from the x-axis direction) Represent.
  • FIGS. 41A and 41B show an example of an optical path in the projector 8 of FIG.
  • FIG. 41A shows an example of an optical path when the projector 8 is viewed from above (from the y-axis direction), and
  • FIG. 41B is an optical path when the projector 8 is viewed from the side (from the x-axis direction)
  • the projector 8 of this modification is different from the configuration of the projector 1 including the illumination optical system 1A in that the projector 8 includes the illumination optical system 8A. Therefore, in the following, the difference from the projector 1 will be mainly described, and the description of the common points to the projector 1 will be appropriately omitted.
  • the illumination optical system 8A corresponds to one specific example of the "illumination device" of the present disclosure.
  • the light sources 10A, 10B and 10C of the illumination optical system 1A and the dichroic mirrors 30A and 30B are omitted, and a light source 10D is provided instead.
  • the light source 10D is disposed on the optical axis of the coupling lens 20D, and the illumination optical system 8A is configured such that the light emitted from the light source 10D is directly incident on the coupling lens 20D.
  • the light source 10D includes, for example, a solid light emitting element 11, and a package 12 (a base for mounting the solid light emitting element 11) that supports and covers the solid light emitting element 11. That is, in this case, the chip 11A is a top light emitting element.
  • the light source 10D may be in the form of a can type in which the solid light emitting element 11 formed of one or a plurality of end face light emitting chips 11A is accommodated in an internal space surrounded by the stem 13 and the cap 14. That is, in this case, the chip 11A is an end face light emitting element.
  • the solid-state light emitting element 11 included in the light source 10D emits light from a light emission area composed of a single or a plurality of point-like or a single or a plurality of non-point-like emission spots.
  • the solid light emitting element 11 included in the light source 10D may be, for example, a single chip 11A that emits light in a predetermined wavelength band, or, for example, a plurality of light sources that emit light in the same wavelength band or different wavelength bands. Of the chip 11A.
  • the solid-state light emitting elements 11 included in the light source 10D are composed of a plurality of chips 11A, for example, the chips 11A are arranged in a row in the horizontal direction, or arranged in a grid shape in the horizontal direction and the vertical direction, for example Have been
  • the chip 11A is composed of a light emitting diode (LED), an organic EL light emitting element (OLED), or a laser diode (LD). However, also in this case, at least one of the chips 11A included in the light source 10D is configured by the LD.
  • LED light emitting diode
  • OLED organic EL light emitting element
  • LD laser diode
  • all the chips 11A included in the light source 10D may emit light in the same wavelength band, or emit light in different wavelength bands. It may be like that.
  • all the chips 11A may be configured to emit light (blue light) having a wavelength of about 400 nm to 500 nm, or a wavelength of 500 nm to 600 nm It may be configured to emit light of a certain wavelength (green light), or may be configured to emit light (red light) of a wavelength of about 600 nm to 700 nm.
  • the plurality of chips 11A included in the light source 10D may emit light (blue light) having a wavelength of about 400 nm to 500 nm, for example, a wavelength of 500 nm
  • the light emitting device may be configured to emit light having a wavelength of approximately 600 nm (green light) and light emitting a light having a wavelength of approximately 600 nm to 700 nm (red light).
  • FIG. 42 illustrates an example of the cross-sectional configuration of light sources (light sources 10A, 10B, 10C, and 10D) according to the third modification.
  • the light source of this modification has the following configuration. That is, in the above-described first light source (for example, the light sources 10A, 10B, 10C, and 10D), at least one of the plurality of chips 11A made of LD is disposed to be inclined with respect to the optical axis Z1. Specifically, in this case, two chips 11A-1 and 11A-2 of the three chips 11A-1, 11A-2 and 11A-3 are respectively inclined to the optical axis Z1 of the second light source. It is done.
  • the remaining chips 11A-2 are arranged in parallel to the optical axis Z1 differently from these. Therefore, while the optical path of the laser beam emitted from the chip 11A-2 is parallel to the optical axis Z1, the optical paths of the laser beams emitted from the chips 11A-1 and 11A-3 are respectively on the optical axis Z1. It is inclined to the opposite direction. Thereby, in this modification, the intensity peak of each laser beam after optical path conversion (optical path synthesis) can be aligned in the direction of the optical axis Z1.
  • the first light source described above is a light source that emits light in two or more different wavelength bands
  • the FFP of the laser light emitted from each of the light emission spots 11B-1, 11B-2, 11B-3 It is desirable that the major axis directions of (in this case, the x-axis direction) substantially coincide with each other between these two or more wavelength bands.
  • the illumination optical systems 1A, 3A, 4A, 5A, 6A, 7A, 8A are configured to include an infinite optical system that causes parallel light to enter the fly's eye lenses 40A, 40C.
  • And may be configured to include a finite optical system that causes convergent light (or divergent light) to be incident on the fly's eye lenses 40A and 40C.
  • a directional angle conversion element having a function of converging or diverging light emitted from light sources 10A to 10D may be arranged instead of coupling lenses 20A to 20D. Good.
  • the size of each light source image S formed on the fly eye lens 40B by the cells 41 of the fly eye lenses 40A and 40C does not exceed the size of one cell 42 of the fly eye lens 40B.
  • the optical magnification of the optical system including the directivity angle conversion element described above and the fly eye lens 40A (or the fly eye lens 40C) and 40B be set.
  • the optical magnification of the optical system including the directivity angle conversion element and the fly's eye lens 40A (or fly's eye lens 40C), 40B satisfy the following relational expression.
  • the illumination optical systems 1A, 3A, 4A and 5A are used.
  • 6A, 7A, 8A are preferably anamorphic optical systems.
  • h P ⁇ m ⁇ h FEL2 m: optical magnification of an optical system including the directivity angle conversion element described above and the fly eye lens 40A (or fly eye lens 40C), 40B
  • the configurations of the characteristic portions of the illumination optical systems and the projectors described in the above-described embodiment and the like may be combined in any combination. Specifically, for example, even if the configuration of the illumination optical system 1A of the first embodiment and the configuration of each of the illumination optical systems 3A, 4A, 5A, 6A of the second to fifth embodiments are combined. Good. Further, for example, the configuration of the illumination optical system 3A of the second embodiment may be combined with the configuration of each of the illumination optical systems 4A, 5A, 6A of the third to fifth embodiments. As described above, when the configurations of the characteristic portions in the plurality of embodiments and the like are combined, the luminance unevenness can be synergistically reduced, and it is possible to achieve further high image quality.
  • the rear projection display device 9 includes projectors 1, 3, 4, 5, 6, 7, 8 including illumination optical systems 1A, 3A, 4A, 5A, 6A, 7A, 8A (or any combination thereof). And a transmissive screen 90 for projecting image light projected from the projectors 1, 3, 4, 5, 6, 7, 8 (the projection optical system 70).
  • the illumination optical systems 1A, 3A, 4A, 5A, 6A, 7A, 8A, etc. as the illumination optical system of the rear projection display device 9, uneven brightness in the illumination light (image light, display light) is obtained. It is possible to reduce the display image quality.
  • the spatial modulation device 60 may be configured of a transmissive or reflective device, the present invention is not limited thereto.
  • the spatial modulation device 60 may be a digital micromirror device (DMD).
  • DMD digital micromirror device
  • a display device such as a projection type has been described as an example of the application of the illumination device of the present disclosure.
  • the present invention is not limited thereto. Is possible.
  • One or more light sources including a solid light emitting element that emits light from a light emitting area consisting of single or multiple point-like or single or multiple non-point-like light emitting spots; An optical member through which light incident from the solid light emitting element side passes and exits;
  • the solid-state light emitting device comprises a single chip emitting light of one or more wavelength bands, or a plurality of chips emitting light of the same wavelength band or different wavelength bands.
  • At least one of the chips as a whole of the one or more light sources is a laser diode
  • the optical member is It consists of a first fly's eye lens to which light from the solid light emitting element side is incident, and a second fly's eye lens to which light from the first fly eye lens side is incident, and is incident from the solid light emitting element side
  • the first and second fly's eye lenses each have a plurality of cells
  • An illumination device wherein a long axis direction of a luminance distribution shape of incident light on an incident surface of the first fly's eye lens is different from an arrangement direction of each cell in the first fly's eye lens.
  • the cells in the first fly's eye lens are arranged along each of the first and second directions orthogonal to each other as the arrangement direction,
  • the long axis direction of the far field pattern (FFP) in the laser light emitted from the light emitting spot of the chip made of the laser diode is in both the first and second directions in the first fly's eye lens
  • the lighting device according to (2), wherein chips different from at least the laser diode are arranged to be different.
  • tan -1 [h FEL1y / (h FEL1x ⁇ n x )]
  • h FEL1x size of one cell in the first fly-eye lens in the first direction
  • h FEL1y size of one cell in the first fly-eye lens in the second direction
  • n x the first The number of cells along the first direction in the fly's eye lens (5)
  • the position of each cell along the second direction is different among the cell rows of at least a part of the plurality of cell rows arranged along the first direction.
  • the optical path for branching the optical path of the incident light into a plurality along the minor axis direction of the luminance distribution shape The lighting apparatus according to (8) or (9), further including a branching element.
  • the optical path branching element is a diffractive element, a half mirror or a prism.
  • an optical path for branching the optical path of the incident light into plural along the minor axis direction of the luminance distribution shape On an optical path between a light source including a chip made of the laser diode and the first fly's eye lens, an optical path for branching the optical path of the incident light into plural along the minor axis direction of the luminance distribution shape.
  • the optical path between the light source including the chip made of the laser diode and the first fly's eye lens further includes an optical element for expanding the luminance distribution shape of the incident light along the minor axis direction.
  • the illumination device according to any one of (1) to (4).
  • the first fly's eye lens is disposed substantially at a focal position of the second fly's eye lens
  • the illumination device according to any one of (1) to (15), wherein the second fly's eye lens is disposed at a substantially focal position of the first fly's eye lens.
  • the optical member is One or more directivity angle conversion devices for converting the directivity angle of light incident from the solid light emitting device side;
  • the integrator according to any one of (1) to (16), further comprising: the integrator that makes uniform the illuminance distribution of the light in the predetermined illumination range illuminated by the light transmitted through the directivity angle conversion element.
  • each light source is a package containing the solid light emitting device or a package supporting the solid light emitting device on a base material.
  • Illumination optical system A spatial modulation element that generates image light by modulating light from the illumination optical system based on an input video signal; A projection optical system for projecting the image light generated by the spatial modulation element;
  • the illumination optical system is One or more light sources including a solid light emitting element that emits light from a light emitting area consisting of single or multiple point-like or single or multiple non-point-like light emitting spots; An optical member through which light incident from the solid light emitting element side passes and exits;
  • the solid-state light emitting device comprises a single chip emitting light of one or more wavelength bands, or a plurality of chips emitting light of the same wavelength band or different wavelength bands.
  • At least one of the chips as a whole of the one or more light sources is a laser diode
  • the optical member is It consists of a first fly's eye lens to which light from the solid light emitting element side is incident, and a second fly's eye lens to which light from the first fly eye lens side is incident, and is incident from the solid light emitting element side
  • the first and second fly's eye lenses each have a plurality of cells, The long axis direction of the luminance distribution shape of the incident light in the entrance plane of said 1st fly eye lens differs from the sequence direction of each cell in said 1st fly eye lens.
  • Illumination optical system A spatial modulation element that generates image light by modulating light from the illumination optical system based on an input video signal;
  • a projection optical system that projects the image light generated by the spatial modulation element;
  • a transmissive screen for projecting the image light projected from the projection optical system;
  • the illumination optical system is One or more light sources including a solid light emitting element that emits light from a light emitting area consisting of single or multiple point-like or single or multiple non-point-like light emitting spots;
  • the solid-state light emitting device comprises a single chip emitting light of one or more wavelength bands, or a plurality of chips emitting light of the same wavelength band or different wavelength bands.
  • At least one of the chips as a whole of the one or more light sources is a laser diode
  • the optical member is It consists of a first fly's eye lens to which light from the solid light emitting element side is incident, and a second fly's eye lens to which light from the first fly eye lens side is incident, and is incident from the solid light emitting element side
  • the first and second fly's eye lenses each have a plurality of cells
  • the direct view type display device wherein a long axis direction of a luminance distribution shape of incident light on an incident surface of the first fly's eye lens is different from an arrangement direction of each cell in the first fly's eye lens.

Landscapes

  • Physics & Mathematics (AREA)
  • General Physics & Mathematics (AREA)
  • Engineering & Computer Science (AREA)
  • Optics & Photonics (AREA)
  • Multimedia (AREA)
  • Signal Processing (AREA)
  • General Engineering & Computer Science (AREA)
  • Projection Apparatus (AREA)
  • Transforming Electric Information Into Light Information (AREA)
  • Non-Portable Lighting Devices Or Systems Thereof (AREA)
PCT/JP2012/056680 2011-03-28 2012-03-15 照明装置、投影型表示装置および直視型表示装置 Ceased WO2012132925A1 (ja)

Priority Applications (5)

Application Number Priority Date Filing Date Title
CN2012800142637A CN103443705A (zh) 2011-03-28 2012-03-15 照明装置、投影显示装置及直视型显示装置
EP12762765.1A EP2693268A4 (en) 2011-03-28 2012-03-15 LIGHTING DEVICE, PROJECTION DISPLAY DEVICE AND DISPLAY DEVICE FOR DIRECT REFERENCE
US14/005,490 US9212802B2 (en) 2011-03-28 2012-03-15 Illumination unit, projection display unit, and direct-view display unit
US14/934,578 US9803827B2 (en) 2011-03-28 2015-11-06 Illumination unit, projection display unit, and direct-view display unit
US15/710,396 US10168019B2 (en) 2011-03-28 2017-09-20 Illumination unit, projection display unit, and direct-view display unit

Applications Claiming Priority (2)

Application Number Priority Date Filing Date Title
JP2011071153A JP2012203392A (ja) 2011-03-28 2011-03-28 照明装置、投影型表示装置および直視型表示装置
JP2011-071153 2011-03-28

Related Child Applications (2)

Application Number Title Priority Date Filing Date
US14/005,490 A-371-Of-International US9212802B2 (en) 2011-03-28 2012-03-15 Illumination unit, projection display unit, and direct-view display unit
US14/934,578 Continuation US9803827B2 (en) 2011-03-28 2015-11-06 Illumination unit, projection display unit, and direct-view display unit

Publications (1)

Publication Number Publication Date
WO2012132925A1 true WO2012132925A1 (ja) 2012-10-04

Family

ID=46930660

Family Applications (1)

Application Number Title Priority Date Filing Date
PCT/JP2012/056680 Ceased WO2012132925A1 (ja) 2011-03-28 2012-03-15 照明装置、投影型表示装置および直視型表示装置

Country Status (5)

Country Link
US (3) US9212802B2 (enExample)
EP (1) EP2693268A4 (enExample)
JP (1) JP2012203392A (enExample)
CN (1) CN103443705A (enExample)
WO (1) WO2012132925A1 (enExample)

Cited By (1)

* Cited by examiner, † Cited by third party
Publication number Priority date Publication date Assignee Title
US10895803B2 (en) 2014-09-26 2021-01-19 Sony Corporation Illumination device and display unit

Families Citing this family (17)

* Cited by examiner, † Cited by third party
Publication number Priority date Publication date Assignee Title
JP5633695B2 (ja) * 2010-11-29 2014-12-03 ソニー株式会社 照明装置、投影型表示装置および直視型表示装置
JP5772143B2 (ja) * 2011-03-28 2015-09-02 ソニー株式会社 照明装置、投射型表示装置および直視型表示装置
JP6663629B2 (ja) * 2013-12-20 2020-03-13 カシオ計算機株式会社 投影装置
JP2015176036A (ja) * 2014-03-17 2015-10-05 カシオ計算機株式会社 投影装置
US10432898B2 (en) 2013-12-20 2019-10-01 Casio Computer Co., Ltd. Projector having light source including laser diodes
CN203811978U (zh) * 2014-05-15 2014-09-03 广景科技有限公司 Dlp 微型投影机
EP3157765B1 (en) * 2014-06-20 2018-05-16 Dana Heavy Vehicle Systems Group, LLC Rotary joint assembly
TWI530750B (zh) * 2014-08-05 2016-04-21 中強光電股份有限公司 投影裝置
WO2016073952A1 (en) * 2014-11-07 2016-05-12 Uvlrx Therapeutics, Inc. High efficiency optical combiner for multiple non-coherent light sources
US10436409B2 (en) * 2015-05-28 2019-10-08 Texas Instruments Incorporated Methods and apparatus for light efficient programmable headlamp with anamorphic optics
US10094530B2 (en) 2015-06-25 2018-10-09 Texas Instruments Incorporated Apparatus for spatially and spectrally adaptable dichromatic white light source using spatial light modulator
US20180300542A1 (en) * 2017-04-18 2018-10-18 Nuance Communications, Inc. Drawing emojis for insertion into electronic text-based messages
JP2019138940A (ja) * 2018-02-06 2019-08-22 セイコーエプソン株式会社 光源装置、照明装置及びプロジェクター
CN110389485A (zh) * 2018-04-20 2019-10-29 广景视睿科技(深圳)有限公司 一种双向投影调节装置及投影仪
JP2021015139A (ja) * 2019-07-10 2021-02-12 ソニー株式会社 表示装置及びプロジェクションシステム
JP7307031B2 (ja) * 2020-05-29 2023-07-11 株式会社日立エルジーデータストレージ 虚像投射装置
US12464099B2 (en) * 2022-05-09 2025-11-04 Texas Instruments Incorporated Optically reduced display pixel fill factor for increased display resolution

Citations (5)

* Cited by examiner, † Cited by third party
Publication number Priority date Publication date Assignee Title
JP2003098476A (ja) * 2001-08-27 2003-04-03 Eastman Kodak Co レーザ投影型表示システム
JP2008122949A (ja) * 2006-10-17 2008-05-29 Seiko Epson Corp 光源装置、プロジェクタ
JP2008134324A (ja) 2006-11-27 2008-06-12 Ricoh Co Ltd 照明光学系、表示装置および投射表示装置
JP2009025512A (ja) * 2007-07-19 2009-02-05 Sanyo Electric Co Ltd 照明装置、投写型映像表示装置およびフライアイレンズ
JP2009063619A (ja) * 2007-09-04 2009-03-26 Sanyo Electric Co Ltd 照明装置および投写型映像表示装置

Family Cites Families (14)

* Cited by examiner, † Cited by third party
Publication number Priority date Publication date Assignee Title
JP2878944B2 (ja) * 1993-05-19 1999-04-05 三菱電機株式会社 光源装置及び投写型表示装置
WO1999049358A1 (en) * 1998-03-26 1999-09-30 Mitsubishi Denki Kabushiki Kaisha Image display and light-emitting device
US6563567B1 (en) * 1998-12-17 2003-05-13 Nikon Corporation Method and apparatus for illuminating a surface using a projection imaging apparatus
CN1732403A (zh) * 2002-12-26 2006-02-08 三洋电机株式会社 照明装置以及投射型图像显示装置
JP2005181965A (ja) * 2003-11-25 2005-07-07 Ricoh Co Ltd 空間光変調器及び表示装置及び投射表示装置
JP4121477B2 (ja) * 2004-03-31 2008-07-23 三洋電機株式会社 照明装置及び投写型映像表示装置
KR100677551B1 (ko) * 2005-01-05 2007-02-02 삼성전자주식회사 Led 패키지, 조명계 및 이를 채용한 프로젝션 시스템
JP4901639B2 (ja) * 2007-08-10 2012-03-21 三洋電機株式会社 照明装置および投写型映像表示装置
JP2010541001A (ja) * 2007-09-25 2010-12-24 エクスプレイ エルティーディー. マイクロプロジェクタ
US8057044B2 (en) * 2007-10-16 2011-11-15 Sanyo Electric Co., Ltd. Projection display device
US8109638B2 (en) * 2008-01-22 2012-02-07 Alcatel Lucent Diffuser configuration for an image projector
JP2010276757A (ja) * 2009-05-27 2010-12-09 Seiko Epson Corp プロジェクターおよび電気光学装置
JP2011164151A (ja) * 2010-02-04 2011-08-25 Sony Corp 照明装置および投射型映像表示装置
US20110234985A1 (en) * 2010-03-26 2011-09-29 Alcatel-Lucent Usa Inc. Despeckling laser-image-projection system

Patent Citations (5)

* Cited by examiner, † Cited by third party
Publication number Priority date Publication date Assignee Title
JP2003098476A (ja) * 2001-08-27 2003-04-03 Eastman Kodak Co レーザ投影型表示システム
JP2008122949A (ja) * 2006-10-17 2008-05-29 Seiko Epson Corp 光源装置、プロジェクタ
JP2008134324A (ja) 2006-11-27 2008-06-12 Ricoh Co Ltd 照明光学系、表示装置および投射表示装置
JP2009025512A (ja) * 2007-07-19 2009-02-05 Sanyo Electric Co Ltd 照明装置、投写型映像表示装置およびフライアイレンズ
JP2009063619A (ja) * 2007-09-04 2009-03-26 Sanyo Electric Co Ltd 照明装置および投写型映像表示装置

Non-Patent Citations (1)

* Cited by examiner, † Cited by third party
Title
See also references of EP2693268A4 *

Cited By (1)

* Cited by examiner, † Cited by third party
Publication number Priority date Publication date Assignee Title
US10895803B2 (en) 2014-09-26 2021-01-19 Sony Corporation Illumination device and display unit

Also Published As

Publication number Publication date
US9212802B2 (en) 2015-12-15
US10168019B2 (en) 2019-01-01
US20140002801A1 (en) 2014-01-02
US9803827B2 (en) 2017-10-31
US20180010765A1 (en) 2018-01-11
US20160312975A1 (en) 2016-10-27
JP2012203392A (ja) 2012-10-22
CN103443705A (zh) 2013-12-11
EP2693268A4 (en) 2015-01-21
EP2693268A1 (en) 2014-02-05

Similar Documents

Publication Publication Date Title
JP5648556B2 (ja) 照明装置、投射型表示装置および直視型表示装置
WO2012132925A1 (ja) 照明装置、投影型表示装置および直視型表示装置
JP5772143B2 (ja) 照明装置、投射型表示装置および直視型表示装置
JP5633695B2 (ja) 照明装置、投影型表示装置および直視型表示装置
JP5581958B2 (ja) 照明装置、投影型表示装置、直視型表示装置
US10162250B2 (en) Illumination unit, projection display unit, and direct view display unit
JP5910324B2 (ja) 照明装置、投影型表示装置および直視型表示装置
JP2015007774A (ja) 照明装置、投影型表示装置、直視型表示装置

Legal Events

Date Code Title Description
121 Ep: the epo has been informed by wipo that ep was designated in this application

Ref document number: 12762765

Country of ref document: EP

Kind code of ref document: A1

WWE Wipo information: entry into national phase

Ref document number: 2012762765

Country of ref document: EP

WWE Wipo information: entry into national phase

Ref document number: 14005490

Country of ref document: US

NENP Non-entry into the national phase

Ref country code: DE