WO2012120651A1 - 電気自動車用駆動装置 - Google Patents

電気自動車用駆動装置 Download PDF

Info

Publication number
WO2012120651A1
WO2012120651A1 PCT/JP2011/055399 JP2011055399W WO2012120651A1 WO 2012120651 A1 WO2012120651 A1 WO 2012120651A1 JP 2011055399 W JP2011055399 W JP 2011055399W WO 2012120651 A1 WO2012120651 A1 WO 2012120651A1
Authority
WO
WIPO (PCT)
Prior art keywords
reduction unit
speed reduction
drive device
hub
input shaft
Prior art date
Legal status (The legal status is an assumption and is not a legal conclusion. Google has not performed a legal analysis and makes no representation as to the accuracy of the status listed.)
Ceased
Application number
PCT/JP2011/055399
Other languages
English (en)
French (fr)
Japanese (ja)
Inventor
鈴木 稔
起子 武川
牧野 智昭
Current Assignee (The listed assignees may be inaccurate. Google has not performed a legal analysis and makes no representation or warranty as to the accuracy of the list.)
NTN Corp
Original Assignee
NTN Corp
NTN Toyo Bearing Co Ltd
Priority date (The priority date is an assumption and is not a legal conclusion. Google has not performed a legal analysis and makes no representation as to the accuracy of the date listed.)
Filing date
Publication date
Application filed by NTN Corp, NTN Toyo Bearing Co Ltd filed Critical NTN Corp
Priority to EP11860241.6A priority Critical patent/EP2684722B1/en
Priority to US14/003,681 priority patent/US9333843B2/en
Priority to CN201180000158.3A priority patent/CN102791506B/zh
Publication of WO2012120651A1 publication Critical patent/WO2012120651A1/ja
Anticipated expiration legal-status Critical
Ceased legal-status Critical Current

Links

Images

Classifications

    • BPERFORMING OPERATIONS; TRANSPORTING
    • B60VEHICLES IN GENERAL
    • B60KARRANGEMENT OR MOUNTING OF PROPULSION UNITS OR OF TRANSMISSIONS IN VEHICLES; ARRANGEMENT OR MOUNTING OF PLURAL DIVERSE PRIME-MOVERS IN VEHICLES; AUXILIARY DRIVES FOR VEHICLES; INSTRUMENTATION OR DASHBOARDS FOR VEHICLES; ARRANGEMENTS IN CONNECTION WITH COOLING, AIR INTAKE, GAS EXHAUST OR FUEL SUPPLY OF PROPULSION UNITS IN VEHICLES
    • B60K1/00Arrangement or mounting of electrical propulsion units
    • HELECTRICITY
    • H02GENERATION; CONVERSION OR DISTRIBUTION OF ELECTRIC POWER
    • H02KDYNAMO-ELECTRIC MACHINES
    • H02K5/00Casings; Enclosures; Supports
    • H02K5/04Casings or enclosures characterised by the shape, form or construction thereof
    • H02K5/16Means for supporting bearings, e.g. insulating supports or means for fitting bearings in the bearing-shields
    • H02K5/173Means for supporting bearings, e.g. insulating supports or means for fitting bearings in the bearing-shields using bearings with rolling contact, e.g. ball bearings
    • H02K5/1732Means for supporting bearings, e.g. insulating supports or means for fitting bearings in the bearing-shields using bearings with rolling contact, e.g. ball bearings radially supporting the rotary shaft at both ends of the rotor
    • BPERFORMING OPERATIONS; TRANSPORTING
    • B60VEHICLES IN GENERAL
    • B60BVEHICLE WHEELS; CASTORS; AXLES FOR WHEELS OR CASTORS; INCREASING WHEEL ADHESION
    • B60B35/00Axle units; Parts thereof ; Arrangements for lubrication of axles
    • B60B35/12Torque-transmitting axles
    • B60B35/18Arrangement of bearings
    • BPERFORMING OPERATIONS; TRANSPORTING
    • B60VEHICLES IN GENERAL
    • B60KARRANGEMENT OR MOUNTING OF PROPULSION UNITS OR OF TRANSMISSIONS IN VEHICLES; ARRANGEMENT OR MOUNTING OF PLURAL DIVERSE PRIME-MOVERS IN VEHICLES; AUXILIARY DRIVES FOR VEHICLES; INSTRUMENTATION OR DASHBOARDS FOR VEHICLES; ARRANGEMENTS IN CONNECTION WITH COOLING, AIR INTAKE, GAS EXHAUST OR FUEL SUPPLY OF PROPULSION UNITS IN VEHICLES
    • B60K17/00Arrangement or mounting of transmissions in vehicles
    • B60K17/04Arrangement or mounting of transmissions in vehicles characterised by arrangement, location or kind of gearing
    • B60K17/14Arrangement or mounting of transmissions in vehicles characterised by arrangement, location or kind of gearing the motor of fluid or electric gearing being disposed in, or adjacent to, traction wheel
    • B60K17/145Arrangement or mounting of transmissions in vehicles characterised by arrangement, location or kind of gearing the motor of fluid or electric gearing being disposed in, or adjacent to, traction wheel the electric gearing being disposed in or adjacent to traction wheel
    • BPERFORMING OPERATIONS; TRANSPORTING
    • B60VEHICLES IN GENERAL
    • B60KARRANGEMENT OR MOUNTING OF PROPULSION UNITS OR OF TRANSMISSIONS IN VEHICLES; ARRANGEMENT OR MOUNTING OF PLURAL DIVERSE PRIME-MOVERS IN VEHICLES; AUXILIARY DRIVES FOR VEHICLES; INSTRUMENTATION OR DASHBOARDS FOR VEHICLES; ARRANGEMENTS IN CONNECTION WITH COOLING, AIR INTAKE, GAS EXHAUST OR FUEL SUPPLY OF PROPULSION UNITS IN VEHICLES
    • B60K7/00Disposition of motor in, or adjacent to, traction wheel
    • B60K7/0007Disposition of motor in, or adjacent to, traction wheel the motor being electric
    • HELECTRICITY
    • H02GENERATION; CONVERSION OR DISTRIBUTION OF ELECTRIC POWER
    • H02KDYNAMO-ELECTRIC MACHINES
    • H02K7/00Arrangements for handling mechanical energy structurally associated with dynamo-electric machines, e.g. structural association with mechanical driving motors or auxiliary dynamo-electric machines
    • H02K7/08Structural association with bearings
    • H02K7/083Structural association with bearings radially supporting the rotary shaft at both ends of the rotor
    • HELECTRICITY
    • H02GENERATION; CONVERSION OR DISTRIBUTION OF ELECTRIC POWER
    • H02KDYNAMO-ELECTRIC MACHINES
    • H02K7/00Arrangements for handling mechanical energy structurally associated with dynamo-electric machines, e.g. structural association with mechanical driving motors or auxiliary dynamo-electric machines
    • H02K7/10Structural association with clutches, brakes, gears, pulleys or mechanical starters
    • H02K7/116Structural association with clutches, brakes, gears, pulleys or mechanical starters with gears
    • BPERFORMING OPERATIONS; TRANSPORTING
    • B60VEHICLES IN GENERAL
    • B60KARRANGEMENT OR MOUNTING OF PROPULSION UNITS OR OF TRANSMISSIONS IN VEHICLES; ARRANGEMENT OR MOUNTING OF PLURAL DIVERSE PRIME-MOVERS IN VEHICLES; AUXILIARY DRIVES FOR VEHICLES; INSTRUMENTATION OR DASHBOARDS FOR VEHICLES; ARRANGEMENTS IN CONNECTION WITH COOLING, AIR INTAKE, GAS EXHAUST OR FUEL SUPPLY OF PROPULSION UNITS IN VEHICLES
    • B60K7/00Disposition of motor in, or adjacent to, traction wheel
    • B60K2007/0092Disposition of motor in, or adjacent to, traction wheel the motor axle being coaxial to the wheel axle
    • FMECHANICAL ENGINEERING; LIGHTING; HEATING; WEAPONS; BLASTING
    • F16ENGINEERING ELEMENTS AND UNITS; GENERAL MEASURES FOR PRODUCING AND MAINTAINING EFFECTIVE FUNCTIONING OF MACHINES OR INSTALLATIONS; THERMAL INSULATION IN GENERAL
    • F16HGEARING
    • F16H1/00Toothed gearings for conveying rotary motion
    • F16H1/28Toothed gearings for conveying rotary motion with gears having orbital motion
    • FMECHANICAL ENGINEERING; LIGHTING; HEATING; WEAPONS; BLASTING
    • F16ENGINEERING ELEMENTS AND UNITS; GENERAL MEASURES FOR PRODUCING AND MAINTAINING EFFECTIVE FUNCTIONING OF MACHINES OR INSTALLATIONS; THERMAL INSULATION IN GENERAL
    • F16HGEARING
    • F16H57/00General details of gearing
    • F16H57/08General details of gearing of gearings with members having orbital motion
    • F16H57/082Planet carriers
    • HELECTRICITY
    • H02GENERATION; CONVERSION OR DISTRIBUTION OF ELECTRIC POWER
    • H02KDYNAMO-ELECTRIC MACHINES
    • H02K5/00Casings; Enclosures; Supports
    • H02K5/04Casings or enclosures characterised by the shape, form or construction thereof
    • H02K5/18Casings or enclosures characterised by the shape, form or construction thereof with ribs or fins for improving heat transfer
    • HELECTRICITY
    • H02GENERATION; CONVERSION OR DISTRIBUTION OF ELECTRIC POWER
    • H02KDYNAMO-ELECTRIC MACHINES
    • H02K5/00Casings; Enclosures; Supports
    • H02K5/04Casings or enclosures characterised by the shape, form or construction thereof
    • H02K5/22Auxiliary parts of casings not covered by groups H02K5/06-H02K5/20, e.g. shaped to form connection boxes or terminal boxes
    • H02K5/225Terminal boxes or connection arrangements
    • HELECTRICITY
    • H02GENERATION; CONVERSION OR DISTRIBUTION OF ELECTRIC POWER
    • H02KDYNAMO-ELECTRIC MACHINES
    • H02K7/00Arrangements for handling mechanical energy structurally associated with dynamo-electric machines, e.g. structural association with mechanical driving motors or auxiliary dynamo-electric machines
    • H02K7/14Structural association with mechanical loads, e.g. with hand-held machine tools or fans
    • YGENERAL TAGGING OF NEW TECHNOLOGICAL DEVELOPMENTS; GENERAL TAGGING OF CROSS-SECTIONAL TECHNOLOGIES SPANNING OVER SEVERAL SECTIONS OF THE IPC; TECHNICAL SUBJECTS COVERED BY FORMER USPC CROSS-REFERENCE ART COLLECTIONS [XRACs] AND DIGESTS
    • Y02TECHNOLOGIES OR APPLICATIONS FOR MITIGATION OR ADAPTATION AGAINST CLIMATE CHANGE
    • Y02TCLIMATE CHANGE MITIGATION TECHNOLOGIES RELATED TO TRANSPORTATION
    • Y02T10/00Road transport of goods or passengers
    • Y02T10/60Other road transportation technologies with climate change mitigation effect
    • Y02T10/64Electric machine technologies in electromobility

Definitions

  • the present invention relates to an electric vehicle drive device using an electric motor as a drive source, and more particularly to an in-wheel motor drive device for an electric vehicle.
  • a conventionally known in-wheel motor drive device for an electric vehicle includes an electric motor, a reduction unit that receives the motor output, and a hub unit that is rotationally driven by the reduction output of the reduction unit. (Patent Document 1).
  • an electric motor is disposed radially outside the speed reduction unit, and the speed reduction unit is a planetary gear type that is arranged in two stages in the axial direction. .
  • the input shaft of the deceleration unit is supported by a hub bearing constituted by two bearings arranged in the axial direction.
  • the inboard side bearing is attached to the housing of the reduction unit, and the outboard side bearing is attached to the output member of the reduction unit.
  • the housing is supported by the vehicle body via the suspension, and the output member is coupled and integrated with the inner member of the hub unit to drive the wheel.
  • the radial load acting on the input shaft of the speed reduction unit is supported by the housing via the inboard side bearing on the inboard side, and the outboard side bearing on the outboard side. Is supported by the output member of the deceleration unit.
  • the vibration and shock associated with the rotation of the wheel are transmitted to the outboard side end of the input shaft via the outboard side bearing, whereas the inboard side end
  • the part is supported by a fixed housing via an inboard bearing.
  • the present invention improves the rotational accuracy and durability of the reduction unit by improving the support structure of the input shaft of the speed reduction unit, and suppresses noise, while at the same time improving the bearing rigidity of the hub bearing. It is an object to provide an automobile drive device.
  • the present invention provides an electric motor, a reduction unit including an input shaft driven by an output of the electric motor, a hub unit rotated by an output member of the reduction unit, and the electric motor And a housing housing the speed reduction unit, wherein the input shaft of the speed reduction unit is supported by bearings provided at two positions in the axial direction.
  • the PCD of the inboard side hub bearing of the hub bearing arranged at two locations in the axial direction of the hub unit is set larger than the PCD of the outboard side hub bearing.
  • the output member has flanges arranged on both sides in the axial direction of the reduction rotation member such as a pinion gear, and both end portions of the support pins of the reduction rotation member are fixed to the flanges. It is possible to adopt a configuration in which the flanges are coupled and integrated, and the respective bearings are interposed between the inner diameter surface of each flange and the input shaft.
  • the “deceleration rotating member” and the “support pin” correspond to a pinion gear and a pinion pin, respectively.
  • the aforementioned reduction unit has a configuration in which the flanges on both sides are coupled and integrated by the support pins, so that a pinion gear can be interposed between the flanges.
  • ⁇ A configuration in which the flanges are coupled by a bridge can be adopted, and the flanges can be firmly coupled and integrated by the bridge.
  • the support rigidity of the support pins such as pinion pins whose both ends are coupled to the both flanges is improved. Further, by providing the bridges at a plurality of positions in the circumferentially equidistant position, the output member can be smoothly rotated, and the rotational accuracy of the input shaft and the rotor of the electric motor fitted and fixed thereto is improved.
  • the pair of bearings that support the input shaft of the speed reduction unit are both attached to the output member of the speed reduction unit, it is possible to prevent the load from acting on the bearing. .
  • the rotational accuracy of the input shaft and the durability of the bearing are improved, and the rotational noise of the bearing is suppressed.
  • the bearing rigidity of the hub bearing is also improved.
  • FIG. 1 is a cross-sectional view of Embodiment 1.
  • FIG. FIG. 3 is a partially enlarged cross-sectional view of the first embodiment.
  • FIG. 3 is an enlarged sectional view taken along line X1-X1 of FIG. It is a perspective view of the spacer shown in FIG.
  • FIG. 2 is a cross-sectional view taken along line X2-X2 of FIG. It is sectional drawing of the modification of the deceleration unit part. It is sectional drawing of the X3-X3 line
  • 6 is a cross-sectional view showing a part of Embodiment 2.
  • FIG. 6 is a cross-sectional view of a third embodiment.
  • 10 is a side view of Embodiment 3.
  • FIG. 10 is a partial cross-sectional view of a modified example of Embodiment 3.
  • the electric vehicle drive device includes an electric motor 11, a speed reduction unit 12 driven by the output of the electric motor 11, and an output member coaxial with the input shaft 13 of the speed reduction unit 12.
  • the main unit is a hub unit 15 that is rotated by the motor 14 and a housing 16 that houses the electric motor 11 and the speed reduction unit 12.
  • the housing 16 has a cylindrical portion 17 and a front end 18 in the radial direction provided at the front end thereof (the end on the outboard side, the left end in the figure).
  • the front end 18 is opened at the center, the rear end of the outer member 21 of the hub unit 15 is fitted into the open portion 19, and the flange 22 is fixed to the front end 18 by a bolt 23.
  • a partition wall base 18a having a larger diameter than that of the opening hole 19 is provided on the inner side of the front end 18 of the housing 16.
  • a dish-shaped partition member 20 is fixed to the partition base 18a by bolts 20a.
  • a center hole 25 is provided at the center of the partition member 20. The center hole 25 faces the outer diameter surface of the input shaft 13 with a radial gap.
  • a partition wall 24 is formed by the partition base 18a and the partition member 20 connected and fixed thereto. The partition wall 24 has a function of partitioning the housing 16 into a housing space for the electric motor 11 on the outer diameter side and a housing space for the reduction unit 12 on the inner diameter side.
  • Suspension connecting portions 27 protruding in the axial direction are provided at two positions symmetrical with respect to the rear end edge of the cylindrical portion 17 of the housing 16.
  • the hub unit 15 is connected to the suspension via the knuckle of the vehicle body.
  • the suspension unit 27 which is a part of the housing 16 is connected to the suspension on the vehicle body side. Can be directly linked.
  • the housing 16 functions as a knuckle, it can be said that the housing 16 has a structure in which the knuckle is integrated. In this case, when the outer member 21 of the hub unit 15 needs to be replaced, it is not necessary to remove the housing 16 from the suspension, and the replacement can be performed by simply removing the bolt 23.
  • the electric motor 11 is a brushless DC motor of a radial gap type, and is arranged with a stator 28 fixed to the inner surface of the cylindrical portion 17 of the housing 16 and a radial gap on the inner surface of the stator 28. And the rotor 29.
  • the rotor 29 is fitted and fixed to the input shaft 13 by a rotor support member 31.
  • the rotor support member 31 includes a support member cylindrical portion 31a (see FIG. 2) fitted to the inner diameter portion of the rotor 29, and a support member disk portion 31b extending rearward along the partition wall 24 and bent in the inner diameter direction. Composed.
  • a boss portion 31 c is provided on the inner diameter portion of the support member disk portion 31 b, the boss portion 31 c is fitted to the input shaft 13, and is fixed to the input shaft 13 by the key stopper 35.
  • the boss portion 31c is inserted on the inner diameter side of the center hole 25 of the partition wall 24, and an oil seal member 36 is interposed between the center hole 25 and the boss portion 31c (see FIG. 2).
  • the partition wall 24 and the oil seal member 36 By the partition wall 24 and the oil seal member 36, the storage portion of the electric motor 11 and the storage portion of the speed reduction unit 12 are partitioned and oil-sealed.
  • the lubricating oil on the speed reduction unit 12 side is prevented from moving to the electric motor 11 side, the electric motor 11 side is kept dry, and the problem that the lubricating oil hinders the rotation of the rotor 29 is eliminated.
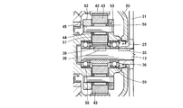
  • the reduction gear unit 12 is of a planetary gear type. As shown in FIG. 2, the input shaft 13, the output member 14, a sun gear 39 attached to the outer diameter surface of the input shaft by a key stopper 38, and the sun gear 39.
  • the ring gear 42 is disposed along the inner diameter surface of the partition cylindrical portion 24a and is attached to the outer periphery of the partition wall 24a by the key stopper 41.
  • the ring gear 42 and the sun gear 39 are provided at three positions at equal intervals in the circumferential direction.
  • the pinion gear 43 is configured.
  • the pinion gear 43 is supported by a pinion pin 45 through a needle roller bearing 44.
  • the output member 14 has a coupling shaft portion 47 at the end portion on the outboard side.
  • the coupling shaft portion 47 is splined to the inner member 46 of the hub unit 15 and fixed by the nut 50.
  • a bearing support portion 49 formed with a diameter one step larger than this is provided.
  • a pair of flanges 52 and 53 facing in the axial direction are provided on the inboard side of the output member 14 with an interval slightly larger than the width of the pinion gear 43 in the axial direction.
  • Bridges 54 for connecting the flanges 52 and 53 to each other in the axial direction are provided at three circumferentially equidistant positions.
  • the flanges 52 and 53 have a carrier function in the planetary gear type reduction unit 12.
  • the output member 14 is smoothly rotated, and as a result, the rotational accuracy of the rotor 29 of the electric motor 11 is improved through the output member 14 and the input shaft 13.
  • a shaft hole 51 is provided at the center of the end surface of the flange 53 on the inboard side at the center coaxial with the coupling shaft portion 47.
  • the shaft hole 51 has a length that reaches the bearing support portion 49.
  • Three pinion gear storage portions 55 partitioned in the circumferential direction are provided by a pair of flanges 52 and 53 opposed in the axial direction and three bridges 54 in the circumferential direction (see FIG. 3).
  • the pinion gear 43 is housed in each pinion gear housing portion 55, and both end portions of the pinion pin 45 are inserted into the flanges 52 and 53 and fixed by set screws 56. It can be said that both the flanges 52 and 53 are coupled and integrated not only by the bridge 54 but also by the pinion pin 45.
  • a thrust plate 57 is interposed between both side surfaces of each pinion gear 43 and each flange 52, 53 in order to ensure smooth rotation of the pinion gear 43.
  • a pair of rolling bearings 58 and 59 for supporting the input shaft 13 are provided on both sides of the sun gear 39 between the inner diameter surfaces of the flanges 52 and 53 and the outer diameter surface of the input shaft 13 facing the inner diameter surfaces. Provided. By adopting this configuration, the rolling bearings 58 and 59 are both supported by the same output member 14.
  • the positional relationship in the axial direction of the rolling bearings 58 and 59 and the fitting portion between the support member disk portion 31 b and the input shaft 13 is the same for each rolling bearing 58 and 59.
  • the support structure for the input shaft 13 disposed on the board side is a so-called cantilever support structure.
  • the bearing on the outboard side is disposed on the outboard side from the fitting portion between the support member disk portion and the input shaft, whereas the bearing on the inboard side is arranged. Since the bearing is attached to the housing, it is on the inboard side from the fitting portion. Therefore, the support structure of the input shaft is a so-called both-end support structure.
  • the cantilevered support structure has a feature that the structure is simplified as compared with the both-end supported structure.
  • the above-mentioned rolling bearing 58 on the outboard side is engaged with the stepped portion 61 provided on the input shaft 13 on the inner ring and the stepped portion 62 provided on the inner diameter surface of the shaft hole 51 on the outer ring.
  • the inboard side rolling bearing 59 has its inner ring engaged with the boss 31c and the key stopper 35 of the rotor support member 31, and the outer ring engaged with the retaining ring 63.
  • a sun gear 39 is interposed between the inner rings of the rolling bearings 58 and 59, and a spacer 64 is interposed between the outer rings.
  • the spacer 64 prevents both rolling bearings 58, 59 from being displaced in a direction approaching each other.
  • the spacer 64 is formed in a cylindrical state, and is provided with window holes 65 that match the shape of the pinion gear storage portion 55 at three locations in the circumferential direction.
  • the 65 closed portions 66 are formed in a shape that follows the shape of the bottom surface of the bridge 54.
  • the spacer 64 is interposed between the rolling bearings 58 and 59 on the inner diameter surface of the shaft hole 51 in a posture in which each window hole 65 matches the pinion gear housing portion 55 (see FIG. 3).
  • the screw 67 is screwed into the positioning hole 60 (see FIG. 4) for positioning.
  • the spacer 64 can control the bearing preload applied to both the rolling bearings 58 and 59 by appropriately setting the length in the axial direction, and has a simple fixed position preload structure.
  • the deceleration unit 12 When viewed in the radial direction, the deceleration unit 12 is disposed in the radial direction accommodated on the inner diameter side of the electric motor 11 with the partition wall 24 interposed therebetween, so that the axial direction can be made compact as compared with the axial direction.
  • the partition wall 24 will be described in more detail.
  • the partition wall cylindrical portion 24b is interposed between the electric motor 11 arranged in the radial direction and the speed reduction unit 12, and the partition disk portion 24a is connected to the speed reduction unit 12.
  • the support member disk portion 31b The peripheral edge of the center hole 25 faces the outer diameter surface of the boss 31c of the rotor support member 31 with a predetermined interval.
  • the ring gear 42 of the speed reduction unit 12 is fixed to the inner diameter surface of the partition base 18a by the key stopper 41.
  • An oil seal member 36 is interposed between the peripheral edge portion of the center hole 25 and the boss portion 31c. Due to the presence of the oil seal member 36 and the partition wall 24, the storage space for the electric motor 11 in the casing 16 and the storage space for the speed reduction unit 12 are partitioned. As a result, the lubricating oil on the speed reduction unit 12 side is prevented from moving to the electric motor 11 side, and the electric motor 11 side is kept dry, thereby preventing the lubricating oil from obstructing the rotation of the rotor 29.
  • both the flanges 52 and 53 of the output member 14 are coupled and integrated by both the bridge 53 and the pinion pin 45.
  • FIGS. 14 can be configured separately and combined and integrated by a pinion pin 45.
  • An oil supply port 68 and an oil discharge port 69 for lubricating the inside of the speed reduction unit 12 are respectively provided at the front end portion of the auxiliary housing 16a.
  • the lubricating oil is sealed on the electric motor 11 side by the oil seal member 36, and the hub unit 15 side is interposed between the bearing support portion 49 of the output member 14 and the outer member 21 and is sealed by the oil seal member 70. Sealed.
  • the oil supply port 68 and the oil discharge port 69 are each closed by a closing screw 72.
  • the electric motor 11 and the speed reduction unit 12 are within the range of the axial length of the cylindrical portion 17 of the housing 16 except for the rear end portion (inboard side end portion) of the input shaft 13. Therefore, the rear cover 73 is fitted to the rear end portion of the cylindrical portion 17 via the seal member 60.
  • a heat dissipation fin 74 is provided on the outer surface of the rear cover 73 so as to dissipate heat of the electric motor 11 to the outside.
  • a rotation sensor 75 is provided between the center hole of the rear cover 73 and the input shaft 13 passing through the center hole, and the portion is closed by the sensor cover 77.
  • the illustrated rotation sensor 75 is a resolver, and its sensor stator 75 a is fixed to the center hole of the rear cover 73, and the sensor rotor 75 b is attached to the input shaft 13.
  • the lead wire 79 of the sensor stator 75 a is connected to a connector insertion part 78 provided outside the sensor cover 77.
  • a Hall element or the like can be used in addition to the resolver.
  • the rotation angle of the input shaft 13 detected by the rotation sensor 75 is input to a control circuit (not shown) via the signal line cable and used for rotation control of the electric motor 11.
  • a power supply terminal box 76 for supplying power to the stator 28 of the electric motor 11 is provided at a position eccentric to the outer peripheral edge of the rear cover 73 and at a 90-degree position different from that of the suspension connecting portion 27 ( (See FIG. 5).
  • the power terminal box 76 is formed in a cylindrical shape penetrating the rear cover 73, and a work hole 80 is provided in the outer peripheral portion.
  • the work hole 80 is normally closed by a lid 81.
  • a power supply terminal 82 is provided at a position facing the work hole 80.
  • a lead wire 83 connected to the winding of the stator 28 is connected to the power terminal 82, and a connection terminal of the power cable 84 is connected to the same power terminal 82. These are fixed by a tightening screw 85.
  • a cable hole 84a is provided at the rear end of the power terminal box 76, and the power cable 84 is inserted through the cable hole 84a.
  • the hub unit 15 includes the inner member 46 in which the hub 86 is integrated, a pair of inner rings 87 fitted to the outer diameter surface of the inner member 46, and the flange 22. , An outer ring 88 fitted to the inner diameter surface of the outer member 21 and having a double-row track, and a double-row ball 89 to be interposed between the inner ring 87 and the outer ring 88. Is done.
  • the wheels are attached to the hub 86 by hub bolts 90.
  • the connecting shaft portion 47 of the output member 14 is splined to the inner diameter surface of the inner member 46, and the distal end portion of the connecting shaft portion 47 protruding outward from the inner member 46 is fixed by the nut 50 as described above.
  • fixing means such as press-cut joining, diameter expansion caulking, or rocking caulking can be employed.
  • the hub unit 15 has a so-called first generation format, but a second generation or third generation format can be used.
  • the electric vehicle drive device of Embodiment 1 is configured as described above, and the operation thereof will be described next.
  • the input shaft 13 is rotated integrally with the rotation of the rotor 29, and the motor output is input to the speed reduction unit 12.
  • the reduction unit 12 revolves while the pinion gear 43 rotates.
  • the output member 14 is rotated at the deceleration output indicated by the reduction ratio.
  • the inner member 46 of the hub unit 15 is rotated integrally with the connecting shaft portion 47 of the output member 14, and the wheel attached to the hub 86 is driven.
  • the input shaft 13 is rotated on both sides of the pinion gear 43 by being supported by a rolling bearing 58 on the outboard side and a rolling bearing 59 on the inboard side, respectively.
  • These rolling bearings 58 and 59 are attached to the flanges 52 and 53 integrated with the output member 14 (in the case of FIGS. 6A and 6B, the flanges 52 and 53 integrated with the pinion pin 45). Therefore, the radial vibration and impact transmitted from the wheel to the output member 14 via the hub unit 15 are simultaneously applied to both rolling bearings 58 and 59 in the same manner.
  • any rolling bearings 58 and 59 can be prevented from applying an unbalanced load, so that the rotational accuracy and durability can be improved, and the noise of the rotating sound can be suppressed.
  • the rolling bearings 58 and 59 are arranged on the outboard side of the fitting portion between the support member 31 of the rotor 29 and the input shaft 13, that is, the keying portion 35, and compared to the conventional case arranged on both sides thereof.
  • the support structure is simple and easy to assemble.
  • the lubricating oil in the speed reduction unit 12 is sealed to the electric motor 11 side by the oil seal member 36 and to the hub unit 15 side by the oil seal member 70, the lubricating oil is supplied to the electric motor 11 side and the hub unit side. Leakage is prevented. As a result, the rotation of the rotor 29 is not hindered on the electric motor 11 side, and the lubricating oil is prevented from leaking outside through the hub unit 15 on the hub unit 15 side.
  • the heat generated as the electric motor 11 is driven is effectively dissipated by the fins 74 of the rear cover 73.
  • the second embodiment shown in FIG. 7 is different from the first embodiment in the configuration of the hub unit 15. That is, the flange 22 of the outer ring member 21 of the hub unit 15 in this case is formed with a larger diameter than the flange 22 (see FIG. 1) of the first embodiment.
  • a flange cylindrical portion 32 protruding in the axial direction is provided on the inner surface of the large-diameter flange 22.
  • the flange cylindrical portion 32 extends on the outer diameter surface of the flange 53 on the outboard side of the output member 14.
  • the flange cylindrical portion 32 is fitted to the inner diameter surface of the open hole 19 in the front end portion 18 of the housing 16.
  • the partition wall 24 integral with the front end portion 18 in the second embodiment. For this reason, in the case of this Embodiment 2, the partition member 20 (refer FIG. 1) of another member is not used.
  • the ball of the hub bearing 89a on the outboard side is interposed between the raceway groove formed on the outer diameter surface of the inner member 46 and the raceway groove formed on the inner diameter surface of the outer member 21.
  • the balls of the hub bearing 89b on the inboard side are interposed between the raceway surface formed on the outer diameter surface of the flange 52 and the raceway groove formed on the inner diameter surface of the flange cylindrical portion 32.
  • PCD refers to twice the radius from the center of the ball center.
  • the hub unit 15 in this case can be said to be a so-called third generation modified form.
  • the balls of the hub bearings 89a and 89b are configured to directly contact the raceway grooves.
  • bearings provided with raceway grooves in the inner ring and the outer ring are used, and these race rings are fitted to the facing members. Configuration can be taken.
  • the configuration of the hub unit 15, the rotation sensor 75, the power supply terminal box 76 and the connector insertion portion 78 is different from that of the first embodiment.
  • the flange 22 of the outer member 21 is formed with a larger diameter than in the case of the first embodiment. For this reason, it is not necessary to employ the auxiliary casing 16b as in the first embodiment, and the single casing 16 having the same structure as the main casing 16a is used.
  • the large-diameter flange 22 is fixed to the casing 16 by bolts 23.
  • the ball 89a on the outboard side constituting the hub bearing is interposed between the raceway groove provided on the outer diameter surface of the inner member 46 and the raceway groove provided on the inner diameter surface of the outer member 21.
  • the inboard-side ball 89b is interposed between the raceway groove provided on the outer diameter surface of the output member 14 and the raceway groove provided on the inner diameter surface of the outer member 21. It can be said to be a so-called third generation deformation type.
  • the rotation sensor 75 is provided between the support member disk part 31b of the rotor support member 31 and the axially opposed surfaces of the partition disk part 24a.
  • the sensor rotor 91a is composed of a magnet attached to the support member disk portion 31b with screws 92.
  • the sensor stator 91b is constituted by a Hall element attached to the opposing surface of the partition disk portion 24a by screws 93. Both face each other through an axial gap.
  • the sensor rotor 91b may have a reverse L-shaped cross section, and a radial gap may be formed between the horizontal portion of the sensor rotor 91b and the sensor stator 91a.
  • Both the power terminal box 76 and the connector insertion part 78 are provided in the housing 16 (see FIG. 9).
  • the power terminal box 76 is provided with a storage recess 94 within the thickness range of the rear end surface of the housing 16, and a power terminal 82 is provided inside the storage recess 94.
  • a communication hole 95 communicating with the inside of the housing 16 is provided in the back of the storage recess 94.
  • the open surface of the storage recess 94 is closed by the lid member 96.
  • the lid member 96 is provided with a cable hole 97 through which the power cable 84 is passed.
  • a work hole 80 is provided in the wall surface of the housing 16. This working hole 80 is normally closed by a lid 81.
  • the lead wire 83 on the electric motor 11 side is connected to the power supply terminal 82 through the communication hole 95, and the power supply cable 84 is drawn through the cable hole 97, and the connection terminal is connected to the power supply terminal 82. Both are coupled to the power terminal 82 by a fastening screw 85.
  • the connector insertion portion 78 is provided side by side with the power supply terminal box 76 on the rear end surface of the housing 16.
  • the connector insertion portion 78 is provided with a concave portion 99 on the rear end surface of the housing 16, and a lead wire hole 100 (see FIG. 8) that communicates the interior of the concave portion 99 with the inside of the housing 16.
  • the lead wire 101 of the rotation sensor 84 is connected to the inside of the recess 99 through the lead wire hole 100.
  • a signal cable connector (not shown) is inserted into the connector insertion portion 78.
  • the configuration in which both the power terminal box 76 and the connector insertion portion 78 are provided in the housing 16 simplifies the configuration of the rear cover 73 and can be configured by a thin metal plate, a resin plate, or the like.

Landscapes

  • Engineering & Computer Science (AREA)
  • Mechanical Engineering (AREA)
  • Power Engineering (AREA)
  • Chemical & Material Sciences (AREA)
  • Combustion & Propulsion (AREA)
  • Transportation (AREA)
  • Retarders (AREA)
  • Arrangement Or Mounting Of Propulsion Units For Vehicles (AREA)
  • General Details Of Gearings (AREA)
PCT/JP2011/055399 2011-03-07 2011-03-08 電気自動車用駆動装置 Ceased WO2012120651A1 (ja)

Priority Applications (3)

Application Number Priority Date Filing Date Title
EP11860241.6A EP2684722B1 (en) 2011-03-07 2011-03-08 Drive device for electric vehicle
US14/003,681 US9333843B2 (en) 2011-03-07 2011-03-08 Drive device for electric vehicle
CN201180000158.3A CN102791506B (zh) 2011-03-07 2011-03-08 电动汽车用驱动装置

Applications Claiming Priority (2)

Application Number Priority Date Filing Date Title
JP2011049191A JP5685113B2 (ja) 2011-03-07 2011-03-07 電気自動車用駆動装置
JP2011-049191 2011-03-07

Publications (1)

Publication Number Publication Date
WO2012120651A1 true WO2012120651A1 (ja) 2012-09-13

Family

ID=46797654

Family Applications (1)

Application Number Title Priority Date Filing Date
PCT/JP2011/055399 Ceased WO2012120651A1 (ja) 2011-03-07 2011-03-08 電気自動車用駆動装置

Country Status (5)

Country Link
US (1) US9333843B2 (enExample)
EP (1) EP2684722B1 (enExample)
JP (1) JP5685113B2 (enExample)
CN (1) CN102791506B (enExample)
WO (1) WO2012120651A1 (enExample)

Cited By (2)

* Cited by examiner, † Cited by third party
Publication number Priority date Publication date Assignee Title
CN108599451A (zh) * 2018-06-27 2018-09-28 沈阳工业大学 一种电动汽车用轮毂电机的强化传热结构
US20200384804A1 (en) * 2017-01-18 2020-12-10 Ntn Corporation In-wheel motor drive device

Families Citing this family (16)

* Cited by examiner, † Cited by third party
Publication number Priority date Publication date Assignee Title
CN104797850B (zh) * 2012-11-05 2017-07-04 住友重机械工业株式会社 简单行星减速装置
KR102312769B1 (ko) * 2013-12-06 2021-10-15 섀플러 테크놀로지스 아게 운트 코. 카게 유성 롤러 스핀들(pwg)을 구비한 액추에이터
JP6584198B2 (ja) * 2015-07-31 2019-10-02 Ntn株式会社 発電機付き車輪用軸受装置
JP6772465B2 (ja) * 2015-12-04 2020-10-21 日本精工株式会社 駆動輪支持用転がり軸受ユニット
CN105711411B (zh) * 2016-01-27 2020-12-11 嘉兴市昶兴喷织有限公司 一种无级变速车轮
JP6792995B2 (ja) * 2016-03-14 2020-12-02 Ntn株式会社 インホイールモータ駆動装置
JP2017171272A (ja) * 2016-03-22 2017-09-28 Ntn株式会社 インホイールモータ駆動装置
US10837487B2 (en) * 2018-03-29 2020-11-17 Transportation Ip Holdings, Llc Bearing assembly and method
CN109780182B (zh) * 2019-01-25 2023-10-20 宁波如意股份有限公司 一种用于双驱动叉车的驱动轮
JP2020139613A (ja) * 2019-03-01 2020-09-03 本田技研工業株式会社 出力シャフト支持構造及び出力シャフトの組立方法
DE102019207730A1 (de) * 2019-05-08 2020-11-12 Aktiebolaget Skf Achsenbaugruppe mit einer elektrischen Antriebs-/Generator-Einheit und Verfahren zum Steuern einer elektrischen Antriebs-/Generator-Einheit einer Achsenbaugruppe
US10989297B2 (en) * 2019-07-19 2021-04-27 Ford Global Technologies, Llc Electric powertrain with sun bearing
DE102020117262A1 (de) * 2020-07-01 2022-01-05 Schaeffler Technologies AG & Co. KG Vorrichtung zur Bestimmung eines Drehmoments in einem Antriebsstrang eines zumindest teilweise elektrisch betriebenen Kraftfahrzeugs
JP2022049228A (ja) * 2020-09-16 2022-03-29 ナブテスコ株式会社 減速機
KR20230011139A (ko) * 2021-07-13 2023-01-20 현대모비스 주식회사 허브 베어링을 포함하는 휠 구조체 및 그 휠 구조체를 포함하는 자동차
EP4387060A1 (en) * 2022-12-16 2024-06-19 Rimac Technology LLC Drive unit

Citations (5)

* Cited by examiner, † Cited by third party
Publication number Priority date Publication date Assignee Title
JP2001032888A (ja) 1999-07-23 2001-02-06 Aisin Aw Co Ltd 電気自動車用ドライブユニット
WO2007010843A1 (ja) * 2005-07-19 2007-01-25 Ntn Corporation 電動式車輪駆動装置
JP2007057015A (ja) * 2005-08-25 2007-03-08 Aisin Aw Co Ltd 車輌用駆動装置
JP2007078174A (ja) * 2005-08-18 2007-03-29 Ntn Corp 動力伝達装置
JP2010260476A (ja) * 2009-05-08 2010-11-18 Ntn Corp インホイールモータ駆動装置および車両用モータ駆動装置

Family Cites Families (16)

* Cited by examiner, † Cited by third party
Publication number Priority date Publication date Assignee Title
FR1298663A (fr) 1961-08-24 1962-07-13 Coventry Climax Eng Ltd Roue à moteur incorporé
GB1517112A (en) * 1977-03-14 1978-07-12 Newage Engineers Ltd Hub drives
US4274023A (en) * 1979-05-10 1981-06-16 Lamprey Donald F Compact variable speed drive for electric motor
JP4286390B2 (ja) * 1999-07-16 2009-06-24 アイシン・エィ・ダブリュ株式会社 ドライブユニットの潤滑装置
JP3699371B2 (ja) 2001-07-17 2005-09-28 Ntn株式会社 インホイールモータ型駆動ユニットおよびハイブリッドシステム
JP4689949B2 (ja) * 2003-09-04 2011-06-01 トヨタ自動車株式会社 インホイールモータ
JP2005104216A (ja) * 2003-09-29 2005-04-21 Ntn Corp 電動式車輪駆動装置
CN1581646A (zh) * 2004-04-09 2005-02-16 钱梦非 无刷通轴减速轮毂电机
JP4894215B2 (ja) * 2005-10-05 2012-03-14 日産自動車株式会社 インホイールドライブユニット
WO2007043514A1 (ja) * 2005-10-11 2007-04-19 Ntn Corporation 動力出力装置
US8002060B2 (en) * 2006-02-17 2011-08-23 Honda Motor Co., Ltd. Vehicle wheel driving apparatus and electric motor
JP5023606B2 (ja) * 2006-08-09 2012-09-12 日産自動車株式会社 電動式駆動装置
US20100187954A1 (en) * 2007-04-19 2010-07-29 Kendall Todd A Wheel motor
JP2010025158A (ja) * 2008-07-15 2010-02-04 Toyota Motor Corp 車両用駆動装置
JP5463484B2 (ja) 2009-03-06 2014-04-09 株式会社 神崎高級工機製作所 作業車両の車軸駆動装置
WO2011058844A1 (ja) * 2009-11-13 2011-05-19 Ntn株式会社 インホイールモータ駆動装置

Patent Citations (5)

* Cited by examiner, † Cited by third party
Publication number Priority date Publication date Assignee Title
JP2001032888A (ja) 1999-07-23 2001-02-06 Aisin Aw Co Ltd 電気自動車用ドライブユニット
WO2007010843A1 (ja) * 2005-07-19 2007-01-25 Ntn Corporation 電動式車輪駆動装置
JP2007078174A (ja) * 2005-08-18 2007-03-29 Ntn Corp 動力伝達装置
JP2007057015A (ja) * 2005-08-25 2007-03-08 Aisin Aw Co Ltd 車輌用駆動装置
JP2010260476A (ja) * 2009-05-08 2010-11-18 Ntn Corp インホイールモータ駆動装置および車両用モータ駆動装置

Non-Patent Citations (1)

* Cited by examiner, † Cited by third party
Title
See also references of EP2684722A4

Cited By (4)

* Cited by examiner, † Cited by third party
Publication number Priority date Publication date Assignee Title
US20200384804A1 (en) * 2017-01-18 2020-12-10 Ntn Corporation In-wheel motor drive device
US11766890B2 (en) * 2017-01-18 2023-09-26 Ntn Corporation In-wheel motor drive device
CN108599451A (zh) * 2018-06-27 2018-09-28 沈阳工业大学 一种电动汽车用轮毂电机的强化传热结构
CN108599451B (zh) * 2018-06-27 2024-01-26 沈阳工业大学 一种电动汽车用轮毂电机的强化传热结构

Also Published As

Publication number Publication date
EP2684722A1 (en) 2014-01-15
CN102791506B (zh) 2017-11-14
EP2684722A4 (en) 2014-09-03
JP5685113B2 (ja) 2015-03-18
CN102791506A (zh) 2012-11-21
EP2684722B1 (en) 2016-11-02
US9333843B2 (en) 2016-05-10
JP2012184819A (ja) 2012-09-27
US20130337959A1 (en) 2013-12-19

Similar Documents

Publication Publication Date Title
JP5685113B2 (ja) 電気自動車用駆動装置
JP5685111B2 (ja) 電気自動車用駆動装置
JP5685112B2 (ja) 電気自動車用駆動装置
JP5676314B2 (ja) 電気自動車用駆動装置
JP5604338B2 (ja) 電気自動車用駆動装置
JP2013071698A (ja) 電気自動車用駆動装置
US20070193791A1 (en) Vehicle wheel driving apparatus and electric motor
JP2013129283A (ja) 電気自動車用駆動装置
JP5956552B2 (ja) 電気自動車用駆動装置
JP5913925B2 (ja) インホイール型モータ内蔵車輪用軸受装置
JP2013040659A (ja) 電気自動車用駆動装置

Legal Events

Date Code Title Description
WWE Wipo information: entry into national phase

Ref document number: 201180000158.3

Country of ref document: CN

121 Ep: the epo has been informed by wipo that ep was designated in this application

Ref document number: 11860241

Country of ref document: EP

Kind code of ref document: A1

WWE Wipo information: entry into national phase

Ref document number: 14003681

Country of ref document: US

NENP Non-entry into the national phase

Ref country code: DE

REEP Request for entry into the european phase

Ref document number: 2011860241

Country of ref document: EP

WWE Wipo information: entry into national phase

Ref document number: 2011860241

Country of ref document: EP