WO2012035866A1 - 電子体温計およびその製造方法 - Google Patents

電子体温計およびその製造方法 Download PDF

Info

Publication number
WO2012035866A1
WO2012035866A1 PCT/JP2011/065978 JP2011065978W WO2012035866A1 WO 2012035866 A1 WO2012035866 A1 WO 2012035866A1 JP 2011065978 W JP2011065978 W JP 2011065978W WO 2012035866 A1 WO2012035866 A1 WO 2012035866A1
Authority
WO
WIPO (PCT)
Prior art keywords
lead wire
plate
assembly
electronic thermometer
temperature sensor
Prior art date
Legal status (The legal status is an assumption and is not a legal conclusion. Google has not performed a legal analysis and makes no representation as to the accuracy of the status listed.)
Ceased
Application number
PCT/JP2011/065978
Other languages
English (en)
French (fr)
Japanese (ja)
Other versions
WO2012035866A9 (ja
Inventor
岳 長谷川
松本 直樹
山内 隆伸
篤志 河野
安生 藤田
Current Assignee (The listed assignees may be inaccurate. Google has not performed a legal analysis and makes no representation or warranty as to the accuracy of the list.)
Omron Healthcare Co Ltd
Original Assignee
Omron Healthcare Co Ltd
Priority date (The priority date is an assumption and is not a legal conclusion. Google has not performed a legal analysis and makes no representation as to the accuracy of the date listed.)
Filing date
Publication date
Priority to JP2010209225A priority Critical patent/JP5381942B2/ja
Application filed by Omron Healthcare Co Ltd filed Critical Omron Healthcare Co Ltd
Priority to DE112011103107.6T priority patent/DE112011103107B4/de
Priority to CN201180044461.3A priority patent/CN103119409B/zh
Priority to TW100133121A priority patent/TWI484147B/zh
Publication of WO2012035866A1 publication Critical patent/WO2012035866A1/ja
Priority to US13/749,353 priority patent/US8657492B2/en
Publication of WO2012035866A9 publication Critical patent/WO2012035866A9/ja
Anticipated expiration legal-status Critical
Ceased legal-status Critical Current

Links

Images

Classifications

    • GPHYSICS
    • G01MEASURING; TESTING
    • G01KMEASURING TEMPERATURE; MEASURING QUANTITY OF HEAT; THERMALLY-SENSITIVE ELEMENTS NOT OTHERWISE PROVIDED FOR
    • G01K7/00Measuring temperature based on the use of electric or magnetic elements directly sensitive to heat ; Power supply therefor, e.g. using thermoelectric elements
    • G01K7/02Measuring temperature based on the use of electric or magnetic elements directly sensitive to heat ; Power supply therefor, e.g. using thermoelectric elements using thermoelectric elements, e.g. thermocouples
    • GPHYSICS
    • G01MEASURING; TESTING
    • G01KMEASURING TEMPERATURE; MEASURING QUANTITY OF HEAT; THERMALLY-SENSITIVE ELEMENTS NOT OTHERWISE PROVIDED FOR
    • G01K1/00Details of thermometers not specially adapted for particular types of thermometer
    • G01K1/16Special arrangements for conducting heat from the object to the sensitive element
    • GPHYSICS
    • G01MEASURING; TESTING
    • G01KMEASURING TEMPERATURE; MEASURING QUANTITY OF HEAT; THERMALLY-SENSITIVE ELEMENTS NOT OTHERWISE PROVIDED FOR
    • G01K13/00Thermometers specially adapted for specific purposes
    • G01K13/20Clinical contact thermometers for use with humans or animals
    • YGENERAL TAGGING OF NEW TECHNOLOGICAL DEVELOPMENTS; GENERAL TAGGING OF CROSS-SECTIONAL TECHNOLOGIES SPANNING OVER SEVERAL SECTIONS OF THE IPC; TECHNICAL SUBJECTS COVERED BY FORMER USPC CROSS-REFERENCE ART COLLECTIONS [XRACs] AND DIGESTS
    • Y10TECHNICAL SUBJECTS COVERED BY FORMER USPC
    • Y10TTECHNICAL SUBJECTS COVERED BY FORMER US CLASSIFICATION
    • Y10T29/00Metal working
    • Y10T29/49Method of mechanical manufacture
    • Y10T29/49002Electrical device making

Definitions

  • the present invention relates to an electronic thermometer and a manufacturing method thereof, and more particularly to an electronic thermometer including a radial lead type temperature sensor and a manufacturing method of the electronic thermometer.
  • thermometer that measures body temperature by being sandwiched between measurement sites such as the armpit or the tongue
  • a sub case in which a liquid crystal display and a printed circuit board are fixed is disposed inside the main body housing.
  • a temperature measuring unit in which a temperature sensor is accommodated is provided at the front end of the housing.
  • a temperature sensing unit that senses the temperature of the part to be measured and a processing circuit formed by mounting various electronic components on a printed circuit board are connected by a lead wire having relatively low rigidity. The terminal portion of the lead wire is fixed to the printed circuit board, and the temperature sensing unit is electrically connected to the processing circuit via a lead wire extending long from the printed circuit board.
  • a conventional general so-called pencil-type electronic thermometer employs a structure in which a sub case is inserted from the rear end of a cylindrical main body housing to complete the electronic thermometer.
  • the temperature sensor cannot be inserted into the body housing, and the measurement accuracy due to the displacement of the temperature sensing part at the tip of the temperature sensor And a product variation (instrumental difference) between individual electronic thermometers occur. Therefore, in order to realize the automation of the assembly of the electronic thermometer, it is necessary to improve the process of inserting the temperature sensor extending from the sub case into the main body housing.
  • Patent Document 1 Japanese Patent Application Laid-Open No. 9-89680
  • the above-mentioned printed circuit board is extended to the temperature measuring unit, and a conductive wire is formed on the extended part of the printed circuit board so that the tip of the extended part is sensed.
  • An electronic thermometer is disclosed in which an electrical connection between a temperature sensor and a processing circuit is secured through a conductive wire by mounting a temperature unit.
  • the temperature sensor mounted on the front end of the printed circuit board is not a general radial lead type thermistor, but a special temperature sensor as shown in FIGS. To do.
  • the pattern formed on the printed circuit board constitutes the lead wire, and the lead wire part, the printed circuit board, and the temperature sensing part are integrated, if the electronic thermometer is stored in a low temperature environment, the lead The measurement time becomes longer due to the influence of the low temperature of the line part, the printed circuit board, and the temperature-sensitive part and the large difference from the body temperature of the site to be measured.
  • the heat applied to the temperature sensor during measurement escapes through the printed circuit board, slowing the thermal response of the electronic thermometer, making it difficult to measure accurately in a short time, and for high-speed measurement. Is disadvantageous.
  • the present invention has been made in view of the above problems, and its main purpose is to provide an electronic thermometer that suppresses bending and direction deviation of the lead wire of the temperature sensor during assembly, and is inexpensive and has a quick thermal response. is there.
  • the electronic thermometer includes a temperature sensor.
  • the temperature sensor includes a temperature sensing unit that measures the body temperature of the measurement subject and a lead wire having one end fixed to the temperature sensing unit.
  • the electronic thermometer also includes a hollow housing in which the temperature sensing unit is disposed on the distal end side and the lead wire is accommodated therein.
  • the electronic thermometer also includes a board to which the other end of the lead wire is fixed, an assembly housed in the housing and including the board, and a plate-like member disposed on the front end side of the housing with respect to the assembly and attached to the assembly. Prepare.
  • the plate-like member has an adhesive part having adhesiveness on the surface facing the lead wire.
  • the plate-like member may be formed with a contact reducing portion that reduces contact with the surface of the lead wire.
  • the adhesive portion may be positioned with respect to the plate member of the lead wire adhered to the adhesive portion.
  • the adhesive portion may have a property that the adhesiveness is reduced by applying heat.
  • the lead wire may be disposed in a non-contact state with respect to the plate-like member.
  • An electronic thermometer manufacturing method includes a temperature sensor that includes a temperature sensing unit that measures a body temperature of a measurement subject, a lead wire having one end fixed to the temperature sensing unit, and the temperature sensing unit is disposed on the distal end side.
  • An electronic thermometer manufacturing method comprising: a hollow housing that accommodates a lead wire therein. The method includes a step of preparing an assembly including a substrate, a step of preparing a plate-like member having a sticky adhesive portion on the surface, a step of fixing the other end of the lead wire to the substrate, and a curve of the lead wire.
  • an electronic thermometer that is inexpensive and has a quick thermal response by suppressing the bending and direction deviation of the lead wire of the temperature sensor during assembly of the electronic thermometer.
  • FIG. 1 It is a perspective view which shows the external appearance structure of the electronic thermometer of Embodiment 1 of this invention. It is a figure which shows the structure of the functional block of an electronic thermometer. It is a disassembled perspective view which shows the assembly structure of an electronic thermometer. It is a disassembled perspective view which shows the assembly
  • FIG. 9 is a cross-sectional view of the plate-like member along the line IX-IX shown in FIG. It is a figure which shows the modification of the cross section of the plate-shaped member shown in FIG. It is a perspective view which shows the internal structure of the electronic thermometer of Embodiment 2.
  • FIG. 10 is sectional drawing which shows the internal structure of the electronic thermometer of Embodiment 2.
  • FIG. 10 is a plan view showing the arrangement of plate members and lead wires according to the second embodiment.
  • FIG. 14 is a cross-sectional view of the plate-like member according to the second embodiment, taken along line XIV-XIV shown in FIG.
  • FIG. 10 is a plan view showing the arrangement of plate members and lead wires according to the third embodiment.
  • FIG. 16 is a cross-sectional view of the plate-like member according to the third embodiment, taken along line XVI-XVI shown in FIG. It is a figure which shows the modification of the cross section of the plate-shaped member shown in FIG.
  • FIG. 10 is a plan view showing the arrangement of plate members and lead wires according to the fourth embodiment.
  • FIG. 10 is a plan view showing the arrangement of plate members and lead wires according to the fifth embodiment. It is sectional drawing which shows the internal structure of the electronic thermometer of Embodiment 6. It is sectional drawing which shows the internal structure of the electronic thermometer of Embodiment 7. It is a flowchart which shows an example of the manufacturing method of an electronic thermometer.
  • FIG. 1 is a perspective view showing an external structure of an electronic thermometer 1 according to Embodiment 1 of the present invention
  • FIG. 2 is a diagram showing a functional block configuration of the electronic thermometer 1 shown in FIG. First, with reference to these FIG. 1 and FIG. 2, schematic structure of the electronic thermometer 1 in this Embodiment is demonstrated.
  • the electronic thermometer 1 includes a main body housing 10, a cap 15 that forms a temperature measuring unit, and a closing member 16.
  • the main body housing 10 is a cylindrical hollow member made of a resin material such as ABS (Acrylonitrile Butadiene Styrene) resin.
  • the main body housing 10 has a nameplate attached to a predetermined position on the surface thereof, and has a display unit 4 and an operation unit 5 at predetermined positions on the surface thereof.
  • the cap 15 is a bottomed cylindrical member whose one end is closed.
  • the cap 15 is formed of an arbitrary material such as a metal material such as a stainless alloy or a resin material.
  • the closing member 16 is a block-shaped member made of a resin material such as ABS resin.
  • the cap 15 is attached to the distal end portion 11 (see FIG. 3) which is one end portion of the main body housing 10 in the axial direction (longitudinal direction).
  • the closing member 16 is attached to the rear end portion 12 (see FIG. 3) which is the other end portion of the main body housing 10 in the axial direction (longitudinal direction).
  • the housing of the electronic thermometer 1 of the present embodiment includes a main body housing 10, a cap 15 disposed at the front end of the main body housing 10, and a closing member 16 disposed at the rear end of the main body housing 10.
  • the electronic thermometer 1 in the present embodiment includes a control unit 2, a memory unit 3, a notification unit 6, a power supply unit 7, and a temperature measuring unit 8 in addition to the display unit 4 and the operation unit 5 described above.
  • the control part 2 is comprised by CPU (Central Processing Unit), for example, and is a means for controlling the electronic thermometer 1 whole.
  • the memory unit 3 is composed of, for example, a ROM (Read-Only Memory) or a RAM (Random-Access Memory), and stores a program for causing the control unit 2 or the like to execute a processing procedure for body temperature measurement, or a measurement. It is a means for storing results and the like.
  • the display unit 4 is configured by a display panel such as an LCD (Liquid Crystal Display), and is a means for displaying measurement results and the like.
  • the operation unit 5 is constituted by, for example, a push button, and is a means for accepting an operation by the user and inputting an external command to the control unit 2 and the power supply unit 7.
  • the notification unit 6 is configured by, for example, a buzzer, and is a means for notifying the user that the measurement has been completed or the user's operation has been accepted.
  • the power supply unit 7 is constituted by, for example, a button battery, and is means for supplying power as a power source to the control unit 2.
  • the temperature measuring unit 8 includes the cap 15 described above and a temperature sensing unit 73 (see FIG. 3 and the like) housed in the cap 15, and is sandwiched between measurement sites such as the armpit and the tongue. It is a part for detecting body temperature.
  • the control unit 2 includes a processing circuit for performing body temperature measurement, and measures body temperature based on a program read from the memory unit 3. In that case, the control part 2 calculates the body temperature as a measurement result by processing the temperature data input from the temperature measuring part 8. The control unit 2 further displays the calculated body temperature on the display unit 4, stores the calculated body temperature in the memory unit 3, and notifies the user that the measurement is completed using the notification unit 6. The electronic thermometer 1 is controlled.
  • FIG. 3 is an exploded perspective view showing the assembly structure of the electronic thermometer 1 shown in FIG.
  • the electronic thermometer 1 includes an assembly 18 as a subassembly in which the main body housing 10, the cap 15, and the closing member 16 as the casing described above and various internal components are assembled.
  • the main body housing 10 includes a hollow main body portion 10 a that houses the assembly 18, and a hollow probe portion 10 b that is disposed between the cap 15 and the main body portion 10 a that form the temperature measuring portion.
  • the cap 15 is fixed to the distal end portion 11 forming the front end of the main body housing 10 by, for example, adhesion.
  • the assembly 18 is accommodated in the hollow portion 13 inside the main body housing 10 by being inserted from an opening located at the rear end portion 12 of the main body housing 10.
  • the closing member 16 is fixed to the main body housing 10 by, for example, adhesion or ultrasonic welding so as to close the opening located at the rear end portion 12 of the main body housing 10 described above.
  • ultrasonic welding is employed for fixing the closing member 16 to the main body housing 10
  • processing in a shorter time can be achieved as compared with the case where adhesion is employed.
  • the cap 15 is not limited to the example formed as a member different from the main body housing 10 as shown in FIG.
  • the cap 15 may be made of a resin material, and the main body housing 10 and the cap 15 may be formed as one resin molded product in an integrated structure.
  • the electronic thermometer 1 further includes a plate member 20.
  • the plate-like member 20 may be a plate material having a thickness of about 0.2 mm to 0.5 mm made of a resin material typified by PET (Polyethylene terephthalate), PC (Polycarbonate), and the like.
  • the plate-like member 20 may also be a paper plate having a thickness of about 1 mm.
  • the plate-like member 20 is attached to the sub case 50 of the assembly 18 and is inserted into the main body housing 10 together with the assembly 18 in a state of being integrated with the sub case 50. Inside the main body housing 10, the plate-like member 20 is disposed on the distal end portion 11 side of the main body housing 10 with respect to the assembly 18.
  • the plate-like member 20 has a through-hole 29 that penetrates the plate-like member 20 in the thickness direction at a position corresponding to a buzzer accommodating portion 53 described later.
  • FIG. 4 is an exploded perspective view showing an assembly structure of the assembly 18 shown in FIG.
  • the exploded perspective view shown in FIG. 4 shows a state in which the assembly 18 shown in FIG.
  • the assembly 18 constitutes a sub case 50 as a holding member, a printed circuit board 70 to which a lead wire 72 is attached, a display unit assembly 61 constituting the display unit 4, and an operation unit 5.
  • the operation unit assembly 62, an elastic connector 63, a buzzer 65 as the notification unit 6, a buzzer cover 66 provided with terminals 67, and a fixing member 68 provided with terminals 69 are mainly provided.
  • the sub-case 50 is a base on which the above-described various internal components are assembled, and is a flat, substantially rectangular parallelepiped member having a lower end opening formed of a resin material such as ABS resin. At a predetermined position on the upper end surface of the sub case 50, an opening is provided to form a display unit window 51, and a part of the upper end surface is cut away to form an operation unit tongue 52. Yes.
  • a protrusion for positioning and fixing the operation unit assembly 62 is formed at a predetermined position of the operation unit tongue 52.
  • a buzzer accommodating portion 53 for accommodating a buzzer 65 is provided at a position near the front end of the sub case 50, and a fixing member for accommodating a fixing member 68 at a position near the rear end of the sub case 50.
  • a battery accommodating part 55 for accommodating the accommodating part 54 and the button battery is provided.
  • a plurality of support pins 56 for supporting the printed circuit board 70 are provided at predetermined positions on the upper end surface of the sub case 50.
  • the display unit assembly 61 is composed of a substantially plate-like assembly including the display panel described above, and the display panel faces the display unit window 51 at a position where the display unit window 51 of the sub case 50 is formed. By being placed in this manner, the sub case 50 is assembled.
  • the operation part assembly 62 is a substantially cylindrical assembly, and is assembled by being placed at a position where the operation part tongue part 52 of the sub case 50 is formed.
  • a concave portion is formed on the main surface of the operation unit assembly 62 on the sub case 50 side, and the concave portion is fitted to the protrusion provided on the operation unit tongue portion 52 described above.
  • the operation unit assembly 62 is positioned and fixed to the operation unit tongue 52.
  • a rubber sheet having elasticity is affixed to the back surface of the operation portion assembly 62 opposite to the main surface on which the concave portion is formed.
  • the rubber sheet is disposed so as to face the printed circuit board 70 with a predetermined gap after assembly, and comes into contact with the printed circuit board 70 when the user presses the operation unit 5.
  • the rubber sheet itself is made of conductive rubber, or has a conductive property by carbon printing on the surface thereof, and the contact provided on the printed circuit board 70 in accordance with the user's operation. Switch between conductive and non-conductive state.
  • the elastic connector 63 is placed at a predetermined position on the display unit assembly 61 assembled to the sub case 50.
  • the elastic connector 63 is a pressure contact type connector part including a cushioning material having elasticity, and is sandwiched and fixed between the display unit assembly 61 described above and a printed circuit board 70 described later, whereby the display unit assembly.
  • the display panel included in 61 and the printed circuit board 70 are electrically connected.
  • the buzzer 65 as a sounding body that emits a sound such as a signal sound is a thin disk-shaped electronic component in which a diaphragm and a piezoelectric plate are integrated.
  • the buzzer 65 is placed and assembled on the sub case 50 by being accommodated in the buzzer accommodating portion 53 provided in the sub case 50. Further, in addition to the buzzer 65 described above, a buzzer cover 66 as a sounding body fixing portion for fixing the buzzer 65 is assembled to the buzzer accommodating portion 53 of the sub case 50.
  • the buzzer cover 66 is a resin member formed by integrating the terminals 67.
  • the buzzer cover 66 is assembled to the sub case 50 by being placed on the buzzer housing 53 so as to cover the buzzer 65 placed on the sub case 50.
  • the terminal 67 is made of a conductive member having a leaf spring structure, and is a member for electrically connecting the buzzer 65 and the printed board 70.
  • techniques such as insert molding, adhesion, and fitting can be used.
  • the fixing member 68 is made of a resin member in which the terminals 69 are integrated, and is placed on the sub case 50 and assembled by being accommodated in the fixing member accommodating portion 54 of the sub case 50. A part of the terminal 69 integrated with the fixing member 68 reaches the battery accommodating portion 55 by accommodating the fixing member 68 in the fixing member accommodating portion 54. Further, as described above, a button battery (not shown) is accommodated in the battery accommodating portion 55 of the sub case 50.
  • the terminal 69 is made of a conductive member having a leaf spring structure, and is a member for electrically connecting a button battery accommodated in the battery accommodating portion 55 and a printed board 70 described later. For the integration of the fixing member 68 and the terminal 69, techniques such as insert molding, adhesion, and fitting can be used.
  • the printed circuit board 70 is formed of a plate-shaped rigid wiring board having a substantially rectangular shape in plan view and having a conductive pattern having a predetermined pattern formed on the surface thereof.
  • Various electronic components are mounted on the surface of the printed circuit board 70, and various circuits such as a processing circuit for performing the body temperature measurement described above are formed on the printed circuit board 70.
  • the processing circuit provided on the printed circuit board 70 is electrically connected to the temperature sensing unit 73, which is a small temperature sensing element, via the lead wire 72 described above, and the printed circuit board via the lead wire 72. 70 is physically fixed.
  • the temperature sensing part 73 and the lead wire 72 form a radial lead type thermistor 74 in which the lead wire 72 extends in parallel in the same direction as the temperature sensor of the present embodiment (see FIG. 3).
  • the printed circuit board 70 is assembled on the sub case 50 in which the display unit assembly 61, the operation unit assembly 62, the elastic connector 63, the buzzer 65, the buzzer cover 66 with the terminal 67, and the fixing member 68 with the terminal 69 are assembled. Attached and accommodated in the subcase 50. At that time, the printed circuit board 70 is placed on the sub case 50 so that the support pin 56 provided in the sub case 50 is inserted into the through hole 71 provided in a predetermined position of the printed circuit board 70. The protruding support pin 56 is heat squeezed. Thereby, the printed circuit board 70 is assembled in a state of being pressed toward the sub case 50. In this state, various components such as the display unit assembly 61 described above are sandwiched and fixed between the sub case 50 and the printed circuit board 70.
  • a reference hole 58 used for positioning when the sub case 50 is placed on the assembly device for the electronic thermometer 1 is provided at a predetermined position on the upper end surface of the sub case 50 of the electronic thermometer 1 in the present embodiment.
  • a bulging portion 57 for inserting and fixing the assembly 18 including the sub case 50 into the hollow portion 13 of the main body housing 10 is provided at a predetermined position on the side surface of the sub case 50 of the electronic thermometer 1 in the present embodiment. Is provided.
  • FIG. 5 is an exploded perspective view of the thermistor 74.
  • the thermistor 74 as the temperature sensor of the present embodiment includes a temperature sensing unit 73 that measures the body temperature of the measurement subject and a lead wire 72.
  • the lead wire 72 has a pair of conducting wires 72a and 72b.
  • the thermistor 74 is a radial lead type thermistor in which a pair of conducting wires 72a and 72b extend in parallel in the same direction.
  • One end 75 of the lead wire 72 (the conducting wires 72 a and 72 b) is fixed to the temperature sensing unit 73.
  • the other end 76 of the lead wire 72 (conductive wires 72a and 72b) is fixed to the printed circuit board 70 shown in FIG.
  • FIG. 6 is a perspective view showing the internal structure of the electronic thermometer 1.
  • FIG. 7 is a cross-sectional view showing the internal structure of the electronic thermometer 1. 6 and 7, only the outer shape of the probe portion 10 b of the main body housing 10 and the cap 15 in the housing of the electronic thermometer 1 is shown by dotted lines, and the components arranged inside the housing of the electronic thermometer 1 are shown. Has been.
  • the temperature sensing portion 73 of the thermistor 74 is accommodated in the cap 15 disposed on the distal end portion 11 side of the main body housing 10 and is fixed inside the cap 15.
  • the lead wire 72 of the thermistor 74 is accommodated inside the probe portion 10 b of the main body housing 10.
  • the lead wire 72 is disposed so as to extend from the printed circuit board 70 toward the temperature sensing portion 73 beyond the buzzer cover 66 and further beyond the plate-like member 20, and extends substantially linearly.
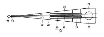
  • the plate-like member 20 includes an extending portion 23 extending in the axial direction (longitudinal direction) of the electronic thermometer 1 through the hollow portion inside the probe portion 10b, a root portion 25 fixed to the sub case 50 of the assembly 18, and an extending portion. And a connecting portion 24 that connects the portion 23 and the root portion 25.
  • the root portion 25 is fixed to the sub case 50 in surface contact with the sub case 50 on the opposite side to the surface of the assembly 18 where the printed circuit board 70 is disposed.
  • the extending portion 23 extends in the probe portion 10b toward the distal end portion 11, and the protruding end 26 is disposed in the vicinity of the distal end portion 11 (see FIG. 3) in the probe portion 10b.
  • the protruding end 26 forms an end portion of the plate-like member 20 on the side away from the root portion 25 fixed to the assembly 18.
  • the plate-like member 20 is bent at the boundary between the root portion 25 and the connecting portion 24 and printed from the opposite surface side of the assembly 18 in which the root portion 25 is fixed to the subcase 50. It extends toward the surface on which the substrate 70 is disposed.
  • the plate-like member 20 is further bent at the boundary between the connecting portion 24 and the extending portion 23, and as a result, the extending portion 23 extends substantially parallel to the root portion 25.
  • the extending part 23 extends substantially parallel to the lead wire 72 extending from the printed circuit board 70 toward the temperature sensing part 73 in the probe part 10b.
  • the plate-like member 20 having such a shape may be formed by, for example, bending a flat plate material (a flat plate made of a resin material such as PET or PC, or cardboard) in advance.
  • the plate-like member 20 is fixed to the assembly 18 with a root portion 25 attached to the surface of the end portion in the extending direction of the assembly 18.
  • the structure for fixing the plate member 20 to the assembly 18 is not limited to this.
  • the plate member 20 covers the display portion window portion 51 and the operation portion tongue portion 52 shown in FIG.
  • the member 20 extends, and the plate-like member 20 may be formed so as to cover the entire sub case 50.
  • FIG. 8 is a plan view showing the arrangement of the plate-like member 20 and the lead wire 72.
  • FIG. 9 is a cross-sectional view of the plate-like member 20 along the line IX-IX shown in FIG. As shown in FIG. 9, the plate-like member 20 has a surface 21 that faces the lead wire 72 and a back surface 22 opposite to the surface 21.
  • the plate-like member 20 has an adhesive portion 41 having adhesiveness on the surface 21.
  • the adhesive portion 41 may be formed by applying (printing) an adhesive material to the surface 21 of the plate-like member 20, or may be formed by attaching a double-sided tape to the surface 21.
  • the adhesive portion 41 is at least on a part of the surface 21 of the extending portion 23 facing the lead wire 72. Is provided. By sticking the lead wire 72 to the adhesive portion 41, the lead wire 72 is prevented from being bent or misaligned. Since the lead wire 72 is held by the adhesive portion 41, the lead wire 72 is not displaced relative to the plate-like member 20, and the lead wire 72 is fixed to the plate-like member 20.
  • the adhesive portion 41 positions the lead wire 72 adhered to the adhesive portion 41 with respect to the plate member 20.
  • the plate-like member 20 is formed of a material with a certain degree of rigidity that is difficult to bend and bend in a cantilever state so that the shape of the plate-like member 20 itself can be maintained.
  • the adhesion part 41 may be provided so that the surface 21 may be covered over the whole longitudinal direction of the extension part 23, as shown in FIG. Or as shown in FIG. 10, the adhesion part 41 may be provided so that the surface 21 may be covered only in part near the protrusion 26 of the extension part 23.
  • FIG. FIG. 10 is a view showing a modification of the cross section of the plate-like member 20 shown in FIG.
  • the lead wire 72 can be reliably fixed by the plate member 20.
  • the adhesive portion 41 is provided only in the vicinity of the protrusion 26, the lead wire 72 can be fixed by the adhesive portion 41 existing only in the minimum necessary portion, and the required amount of the adhesive material forming the adhesive portion 41 Can be reduced.
  • the length of the lead wire 72 fixed to the plate-like member 20 becomes small, the amount of heat directly transmitted from the lead wire 72 to the plate-like member 20 by heat conduction can be reduced.
  • the adhesive used for the adhesive portion 41 is formed of a material having a low thermal conductivity.
  • the adhesive material 41 is printed on the surface 21 of the plate-like member 20 to form the adhesive portion 41, the width direction of the extending portion 23 (the short direction of the extending portion 23, ie, the vertical direction in FIG. 8).
  • the adhesive portion 41 may be provided on the surface 21 only in a range facing the lead wire 72. By providing the adhesive portion 41 only in a very narrow range of the surface 21 corresponding to directly below the lead wire 72, the adhesive portion 41 can be formed with the minimum necessary adhesive material.
  • the adhesive material is the probe part 10b. This is desirable because it can be prevented from contacting the inner wall surface and preventing the insertion of the plate-like member 20.
  • the thermistor 74 can be positioned when the electronic thermometer 1 is assembled. Occurrence of direction deviation is prevented.
  • the assembly 18, the plate-like member 20 fixed to the assembly 18, and the thermistor 74 with the lead wire 72 attached to the plate-like member 20 can be handled as an integral structure, and the structure can be easily handled. It becomes possible to insert into the hollow portion 13 inside the main body housing 10. Therefore, when the electronic thermometer is assembled, the process of inserting the thermistor 74 and the assembly 18 into the main body housing 10 can be automated, and the electronic thermometer 1 can be manufactured at low cost.
  • the thermistor 74 By positioning the thermistor 74, the temperature sensing unit 73 and the lead wire 72 can be accurately arranged at predetermined positions. Thereby, the fall of the measurement precision of the electronic thermometer 1 by the position shift of the temperature sensing part 73 can be suppressed. And the dispersion
  • thermometer 1 since the lead wire 72 is fixed using the plate-like member 20 made of resin or hard paper, it is not necessary to increase the size or change the shape of the printed circuit board as in the above-mentioned Patent Document 1. An increase in the material cost of the thermometer 1 can be suppressed.
  • the thermistor 74 is a general radial lead type thermistor having a temperature sensing part 73 and a lead wire 72, and since a special-shaped temperature sensor is not required, an electronic thermometer can be manufactured at a lower cost.
  • FIG. 11 is a perspective view showing the internal structure of the electronic thermometer 1 of the second embodiment.
  • FIG. 12 is a cross-sectional view showing the internal structure of the electronic thermometer 1 of the second embodiment.
  • FIG. 13 is a plan view showing an arrangement of the plate-like member 20 and the lead wire 72 according to the second embodiment.
  • FIG. 14 is a cross-sectional view of the plate-like member 20 of the second embodiment along the line XIV-XIV shown in FIG.
  • the electronic thermometer 1 of the second embodiment is different from the above-described first embodiment in the shape of the plate-like member 20.
  • the extending portion 23 of the plate-like member 20 extends from the probe portion 10 b to the inside of the cap 15, and the protruding end 26 of the plate-like member 20 is located inside the cap 15. Be placed.
  • the plate-like member 20 extends to the immediate vicinity of the temperature sensing part 73 of the thermistor 74.
  • the adhesive portion 41 is provided so as to cover the surface 21 of the plate-like member 20 in a part near the protruding end 26.
  • the adhesion part 41 may be provided so that the surface 21 may be covered over the whole longitudinal direction of the extension part 23 similarly to FIG.
  • a longer range of the lead wire 72 can be positioned with respect to the plate-like member 20 as compared with the first embodiment. Accordingly, it is possible to more reliably prevent the lead wire 72 from being bent or misaligned when the electronic thermometer 1 is assembled.
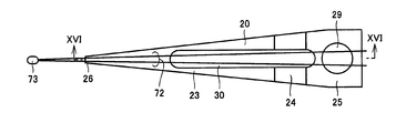
  • FIG. 15 is a plan view showing the arrangement of the plate-like member 20 and the lead wire 72 according to the third embodiment.
  • FIG. 16 is a cross-sectional view of the plate-like member 20 of the third embodiment along the line XVI-XVI shown in FIG.
  • the plate-like member 20 of the third embodiment is formed with a through hole 30 that penetrates the plate-like member 20 in the thickness direction.
  • the through hole 30 extends along the extending direction of the plate-like member 20 and is formed from the root portion 25 to the extending portion 23.
  • the lead wire 72 is disposed so as to exceed the through hole 30.
  • the adhesive portion 41 of the third embodiment is provided on the surface 21 of the plate-like member 20 located on the protruding end 26 side with respect to the through hole 30.
  • the adhesive portion 41 is disposed at a position facing the root portion 25 fixed to the assembly 18 with the through hole 30 interposed therebetween.
  • the adhesive part 41 is provided so as to cover the surface 21 over the entire extending part 23 closer to the protruding end 26 than the through hole 30.
  • FIG. 17 is a view showing a modification of the cross section of the plate-like member 20 shown in FIG.
  • the contact portion becomes large, the body temperature of the measurement site is transmitted and the heat applied to the temperature sensing unit 73 is conducted from the lead wire 72 to the plate-like member 20, and as a result, the thermal response of the electronic thermometer 1 is slow. Become.
  • the through hole 30 is formed in a part of the plate-like member 20 and the lead wire 72 is disposed so as to straddle the through-hole 30, the contact between the plate-like member 20 and the lead wire 72 is achieved. Is limited to the minimum range necessary for positioning the lead wire 72 on the plate-like member 20 in the vicinity of the protruding end 26 of the plate-like member 20. As a result, the contact area of the lead wire 72 to the surface 21 of the plate-like member 20 can be reduced.
  • the through hole 30 formed in the plate-like member 20 functions as a contact reduction unit that reduces the contact of the lead wire 72 with the surface 21 of the plate-like member 20.
  • thermometer 1 since the amount of heat that escapes through the plate-like member 20 out of the heat applied to the thermistor 74 during body temperature measurement can be reduced, the thermal response of the electronic thermometer 1 can be improved. Therefore, it is possible to provide an electronic thermometer that can accurately measure the body temperature of the measurement site in a short time and is advantageous for high-speed measurement.
  • FIG. 18 is a plan view showing the arrangement of the plate-like member 20 and the lead wire 72 according to the fourth embodiment.
  • a large slot-shaped through hole 30 extending in the longitudinal direction of the plate-like member 20 is formed.
  • a plurality of small holes 31 to 34 are formed in the plate-like member 20 of the fourth embodiment shown in FIG. 18, and these small holes 31 to 34 form the through holes 30.
  • the strength of the plate member 20 decreases as the thickness decreases. If the through hole 30 is formed by dividing it into a plurality of small holes 31 to 34, the strength of the plate-like member 20 can be increased compared with the case of forming one long hole shown in FIG. In addition, the formation of the plurality of small holes 31 to 34 complicates the path of heat conducted through the plate-like member 20, so that the effect of making it difficult for heat to escape via the plate-like member 20 can be obtained. .
  • FIG. 19 is a plan view showing the arrangement of the plate-like member 20 and the lead wire 72 according to the fifth embodiment.
  • the plate-like member of the fifth embodiment is different from the embodiment shown in FIGS. 15 and 18 in that two elongated holes 35 and 36 are formed and these elongated holes 35 and 36 form the through holes 30. Is different.
  • the strength in the longitudinal direction of the plate-like member 20 can be improved as compared with the case of forming one elongated hole shown in FIG.
  • the bending strength of the plate-like member 20 at the portions where the small holes 31 to 34 are formed is lowered, but the elongated holes 35 having a certain width, If 36 is formed, such a decrease in the bending strength can be avoided, and the plate-like member 20 having higher strength can be provided.
  • the through hole 30 is formed in the plate member 20, and the lead wire 72 is An example in which a part of the plate-like member 20 to be placed is cut out has been described.
  • the plate-like member 20 of the present invention is not limited to this configuration.
  • a protruding portion in which a part of the surface 21 protrudes by pressing or the like, or a recessed portion in which a part of the surface 21 is recessed may be formed in the plate-like member 20.
  • FIG. 20 is a cross-sectional view showing the internal structure of the electronic thermometer 1 of the sixth embodiment.
  • the plate-like member 20 of the sixth embodiment has a flat plate shape.
  • the end opposite to the projecting end 26 forming one end of the plate-like member 20 is attached to the sub case 50 of the assembly 18 to form the root portion 25.
  • An adhesive portion 41 (not shown in FIG. 20) is provided on the surface 21 near the protrusion 26.
  • FIG. 20 shows a state in which the lead wire 72 is assembled to the surface 21 of the plate-like member 20 and then inserted into the main body housing 10. That is, it should be noted that FIG. 20 does not illustrate a state immediately after the plate-like member 20 is assembled to the assembly 18.
  • the lead wire 72 is fixed to the plate-like member 20 only at the minimum necessary portion near the protruding end 26, and the portion of the plate-like member 20 that does not contact the lead wire 72 becomes larger, so that the lead to the surface 21 of the plate-like member 20 is increased.
  • the contact of the line 72 can be reduced. Accordingly, the amount of heat that escapes through the plate-like member 20 out of the heat applied to the thermistor 74 during body temperature measurement can be reduced, so that the thermal response of the electronic thermometer 1 can be improved.
  • FIG. 21 is a cross-sectional view showing the internal structure of the electronic thermometer 1 of the seventh embodiment. Unlike the previous embodiments, in the electronic thermometer 1 of the seventh embodiment, the lead wire 72 is arranged in a non-contact state with respect to the plate-like member 20 in a state where the assembly as the electronic thermometer 1 is completely completed. ing.
  • the adhesive material of the adhesive part 41 is formed of a material having a property that the adhesiveness is reduced by applying heat, and the adhesive part 41 is heated to reduce the adhesiveness after the assembly of the electronic thermometer 1 is completed.
  • the lead wire 72 can be peeled from the plate member 20.
  • an adhesive material for example, an acrylic ultraviolet curable adhesive that is peeled off by heating at 90 to 100 ° C. may be used.
  • the lead wire 72 can be more reliably brought into contact with the plate member 20.
  • the plate member 20 may be heated and thermally deformed.
  • the lead wire 72 is attached to the adhesive portion 41 in a state where the plate-like member 20 is elastically deformed, and when the adhesiveness of the adhesive portion 41 decreases, the elastic force is released and the original shape is restored.
  • the plate-like member 20 may be deformed.
  • another member such as a leaf spring may be provided which acts on the plate member 20 so that the plate member 20 is elastically deformed when the adhesion of the adhesive portion 41 is lowered.
  • the thermal responsiveness of the electronic thermometer 1 can be further improved.
  • product variation of the electronic thermometer 1 is caused, so that the individual error of the electronic thermometer 1 is minimized. It is more desirable to perform quality control so that the lead wire 72 and the plate-like member 20 are not in contact after the assembly of the electronic thermometer 1 is completed.
  • FIG. 22 is a flowchart illustrating an example of a method for manufacturing the electronic thermometer 1.
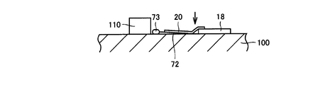
  • FIG. 23 is a schematic diagram showing a state of the step (S40) of the manufacturing method shown in FIG.
  • FIG. 24 is a schematic diagram showing the state of the step (S50) of the manufacturing method shown in FIG.
  • FIG. 25 is a schematic diagram showing the state of the step (S60) of the manufacturing method shown in FIG.
  • An example of a method for manufacturing the electronic thermometer 1 will be described with reference to FIGS.
  • the assembly including the display unit assembly 61, the operation unit assembly 62, the button battery stored in the battery storage unit 55, the printed circuit board 70, and the like, and all of these components are assembled. 18 is prepared.
  • the plate member 20 is prepared.
  • the plate-like member 20 has a sticky adhesive portion 41 on the surface 21 thereof.
  • a thermistor 74 as a temperature sensor including a temperature sensing part 73 for measuring the body temperature of the measurement subject and a lead wire 72 having one end 75 fixed to the temperature sensing part 73 is prepared. The other end 76 of the lead wire 72 is fixed to the printed circuit board 70.
  • the assembly 18 is installed on the surface 101 of the assembly table 100.
  • the metal debris on the surface 101 of the assembly table 100 is cleaned.
  • the assembly 18 is fixed to the surface 101 of the assembly table 100, but the temperature sensing part 73 and the lead wire 72 constituting the thermistor 74 are not fixed to the assembly table 100.
  • An electromagnet 110 is also provided on the surface 101 of the assembly table 100. The position and installation direction of the assembly 18 are adjusted so that the lead wire 72 protruding from the tip thereof faces the electromagnet 110 side, and is fixed to the surface 101 of the assembly table 100.
  • step (S50) the lead wire 72 is oriented in an appropriate direction to reduce the curvature of the lead wire 72, and the shape of the lead wire 72 is corrected so that the lead wire 72 can be brought closer straight.
  • the temperature sensing part 73 and the lead wire 72 included in the thermistor 74 are both made of a ferromagnetic material and can be magnetically attached to the magnet. Therefore, in a state where the assembly 18 shown in FIG. 23 is installed on the surface 101 of the assembly table 100, the electromagnet 110 is turned on to generate a magnetic force, so that the temperature sensing unit 73 is on the electromagnet 110 side as shown in FIG. Pulled on. As a result, the lead wire 72 having a bent portion in FIG. 23 is stretched by receiving a tensile force by moving to the electromagnet 110 side together with the temperature sensing portion 73. As a result, the bending of the lead wire 72 is reduced, and the lead wire 72 is deformed into a more straight shape.
  • another electromagnet different from the electromagnet 110 may be embedded in the assembly table 100.
  • the other electromagnets are arranged in the assembly table 100 corresponding to the lower part of the lead wire 72 within a range longer than the total length of the lead wire 72 in a state where the lead wire 72 shown in FIG. May be. Then, in the state where the lead wire 72 shown in FIG. 24 is straightened, the other electromagnet is turned on to generate a magnetic force, so that the lead wire 72 can be reliably kept straightly stretched.
  • the plate-like member 20 is attached to the end portion of the assembly 18.
  • the plate-like member 20 is arranged so that the surface 21 faces the lead wire 72 side.
  • the adhesive part 41 installed on the surface 21 is also arranged so as to face the lead wire 72.
  • the plate-like member 20 arranged in this manner is attached to the end of the assembly 18 on the side where the lead wire 72 extends. As a result, the lead wire 72 is adhered to the adhesive portion 41, and the lead wire 72 is fixed on the surface 21 of the plate-like member 20.
  • step (S70) the electromagnet 110 is turned off. Even when the electromagnet 110 is turned off, since the lead wire 72 is attached to the adhesive portion 41 in the previous step, the lead wire 72 that extends straight is kept positioned with respect to the plate-like member 20.
  • step (S80) the hollow body housing 10 is prepared, and the assembly 18 is connected to the body housing 10 from the end side to which the plate-like member 20 is attached in a state where the lead wire 72 is adhered to the adhesive portion 41. Insert inside.
  • the lead wire 72 is affixed to the adhesive portion 41 of the surface 21 of the plate-like member 20, the lead wire 72 is not bent or misaligned, and the thermistor 74 extends long from the end portion. Can be easily moved into the main body housing 10.
  • the cap 15 is bonded to the distal end portion 11 of the main body housing 10.
  • the temperature sensing portion 73 of the thermistor 74 is fixed in the cap 15 on the distal end portion 11 side, and the lead wire 72 is housed in the probe portion 10 b inside the main body housing 10.
  • the front end portion 11 side of the main body housing 10 is heated for a predetermined time.
  • the adhesive supplied between the cap 15 and the tip end portion 11 of the main body housing 10 in the previous step is solidified, so that the cap 15 is securely bonded to the main body housing 10.
  • the adhesive portion 41 is formed using an adhesive material having a property that the adhesiveness decreases when heat is applied, the adhesiveness of the adhesive material decreases due to this heating, and as a result, the lead wire 72 is connected to the adhesive portion.
  • the lead wire 72 is separated from the plate member 20.
  • the plate-like member 20 itself may be deformed by the action of heating or elastic force. In this case, a non-contact state in which the lead wire 72 is not in contact with the plate-like member 20 can be reliably obtained.
  • the electronic thermometer 1 in which the adhesive portion 41 having adhesiveness is provided on the surface 21 facing the lead wire 72 of the plate-like member 20 can be easily manufactured by performing the steps shown in FIG. .
  • the lead wire 72 of the thermistor 74 can be prevented from being bent or misaligned, so that the electronic thermometer 1 can be manufactured at low cost and the measurement accuracy of the electronic thermometer 1 can be reduced. It can suppress and can suppress the dispersion
  • the pressure-sensitive adhesive portion 41 (and the plate-like member 20) may be heated by supplying warm air from the distal end portion 11 of the main body housing 10 before bonding the cap 15 to the main body housing 10.
  • FIG. 26 is a flowchart showing another example of the manufacturing method of the electronic thermometer 1.
  • FIG. 27 is a schematic diagram showing the state of the step (S40) of the manufacturing method shown in FIG.
  • FIG. 28 is a schematic diagram showing the state of the step (S150) of the manufacturing method shown in FIG.
  • FIG. 29 is a schematic diagram showing a state of the step (S60) of the manufacturing method shown in FIG.
  • FIGS. 26 to 29 another example of the manufacturing method of the electronic thermometer 1 will be described.
  • step (S10) to (S30) shown in FIG. 26 are the same as the steps (S10) to (S30) shown in FIG.
  • step (S40) the assembly 18 is installed on the surface 101 of the assembly table 100.
  • the temperature sensing part 73 of the thermistor 74 attached to the end of the assembly 18 is fixed to the holding part 120 provided on the surface 101 of the assembly table 100.
  • the lead wire 72 and the assembly 18 are not fixed to the assembly table 100.
  • step (S150) the lead wire 72 is oriented in an appropriate direction to reduce the curvature of the lead wire 72, and the shape of the lead wire 72 is corrected so that the lead wire 72 can be brought closer straight.
  • the assembly table 100 With the temperature sensing part 73 fixed to the holding part 120, the assembly table 100 is tilted as shown in FIG. 28, whereby the assembly 18 is suspended from the assembly table 100, and the assembly 18 is moved vertically by the action of gravity. Move down.
  • the assembly table 100 is inclined such that the lead wire 72 and the assembly 18 are disposed below the holding unit 120 that holds the temperature sensing unit 73.
  • the lead wire 72 having a bent portion in FIG. 27 is stretched by receiving a tensile force as the assembly 18 moves downward.
  • the bending of the lead wire 72 is reduced, and the lead wire 72 is deformed into a more straight shape.
  • the angle at which the assembly table 100 is inclined may be arbitrary.
  • the assembly table 100 may be moved until the surface 101 of the assembly table 100 reaches the vertical direction so that the assembly 18 is positioned below the temperature sensing unit 73.
  • the assembly table 100 is appropriately It is desirable to incline at an appropriate angle.
  • the plate member 20 is attached to the end of the assembly 18 in the same manner as described with reference to FIG.
  • the lead wire 72 is adhered to the adhesive portion 41, and the lead wire 72 is fixed on the surface 21 of the plate-like member 20.
  • the suspended state of the assembly 18 is released. Specifically, the assembly table 100 is moved to the original position so that the surface 101 is substantially horizontal. Even when the suspended state of the assembly 18 is released, since the lead wire 72 is attached to the adhesive portion 41 in the previous process, the lead wire 72 that extends straight is kept positioned with respect to the plate-like member 20. It is.
  • the subsequent steps (S80) to (S100) are the same as the steps (S80) to (S100) shown in FIG.
  • the electronic thermometer 1 in which the adhesive portion 41 having adhesiveness is provided on the surface 21 facing the lead wire 72 of the plate-like member 20 can be easily manufactured also by performing the steps shown in FIG. it can.
  • the lead wire 72 of the thermistor 74 can be prevented from being bent or misaligned, so that the electronic thermometer 1 can be manufactured at low cost and the measurement accuracy of the electronic thermometer 1 can be reduced. It can suppress and can suppress the dispersion
  • thermometer 10 main body housing, 10a main body part, 10b probe part, 11 front-end

Landscapes

  • Physics & Mathematics (AREA)
  • General Physics & Mathematics (AREA)
  • Measuring Temperature Or Quantity Of Heat (AREA)
PCT/JP2011/065978 2010-09-17 2011-07-13 電子体温計およびその製造方法 Ceased WO2012035866A1 (ja)

Priority Applications (5)

Application Number Priority Date Filing Date Title
JP2010209225A JP5381942B2 (ja) 2010-09-17 2010-09-17 電子体温計およびその製造方法
DE112011103107.6T DE112011103107B4 (de) 2010-09-17 2011-07-13 Elektronisches Thermometer und Verfahren zu seiner Herstellung
CN201180044461.3A CN103119409B (zh) 2010-09-17 2011-07-13 电子体温计及其制造方法
TW100133121A TWI484147B (zh) 2010-09-17 2011-09-15 電子體溫計及其製造方法
US13/749,353 US8657492B2 (en) 2010-09-17 2013-01-24 Electronic thermometer and method for manufacturing the same

Applications Claiming Priority (2)

Application Number Priority Date Filing Date Title
JP2010-209225 2010-09-17
JP2010209225A JP5381942B2 (ja) 2010-09-17 2010-09-17 電子体温計およびその製造方法

Related Child Applications (1)

Application Number Title Priority Date Filing Date
US13/749,353 Continuation US8657492B2 (en) 2010-09-17 2013-01-24 Electronic thermometer and method for manufacturing the same

Publications (2)

Publication Number Publication Date
WO2012035866A1 true WO2012035866A1 (ja) 2012-03-22
WO2012035866A9 WO2012035866A9 (ja) 2013-02-28

Family

ID=45831341

Family Applications (1)

Application Number Title Priority Date Filing Date
PCT/JP2011/065978 Ceased WO2012035866A1 (ja) 2010-09-17 2011-07-13 電子体温計およびその製造方法

Country Status (6)

Country Link
US (1) US8657492B2 (enExample)
JP (1) JP5381942B2 (enExample)
CN (1) CN103119409B (enExample)
DE (1) DE112011103107B4 (enExample)
TW (1) TWI484147B (enExample)
WO (1) WO2012035866A1 (enExample)

Families Citing this family (3)

* Cited by examiner, † Cited by third party
Publication number Priority date Publication date Assignee Title
USD852069S1 (en) * 2019-03-12 2019-06-25 Shenzhen Yingli Wannian Technology Co., Ltd. Thermometer
USD1049882S1 (en) * 2023-03-03 2024-11-05 Dongguan Goldenhot Plastic & Hardware Products Co., Ltd. Thermometer
USD1060062S1 (en) * 2023-04-18 2025-02-04 Andon Health Co., Ltd. Thermometer

Citations (6)

* Cited by examiner, † Cited by third party
Publication number Priority date Publication date Assignee Title
JPH0228417Y2 (enExample) * 1983-10-17 1990-07-31
JPH02210233A (ja) * 1989-09-29 1990-08-21 Terumo Corp 電子体温計およびその製造方法
JPH0367903U (enExample) * 1989-11-02 1991-07-03
JPH0625976Y2 (ja) * 1987-04-21 1994-07-06 テルモ株式会社 電子回路用基板接続体
JPH0989680A (ja) * 1995-09-20 1997-04-04 Terumo Corp 電子体温計用プリント基板、それを用いた電子体温計、及びその製造方法
JP2010032324A (ja) * 2008-07-28 2010-02-12 Omron Healthcare Co Ltd 電子体温計

Family Cites Families (12)

* Cited by examiner, † Cited by third party
Publication number Priority date Publication date Assignee Title
JPS56157826A (en) * 1980-05-08 1981-12-05 Toshiba Corp Electronic thermometer
JPS5719630A (en) * 1980-07-09 1982-02-01 Ricoh Co Ltd Temperature detector
JPS61144522A (ja) * 1984-12-18 1986-07-02 Omron Tateisi Electronics Co 温度センサ
ZA864674B (en) 1985-07-01 1988-02-24 Lilly Co Eli Furanone derivatives
JPH0228417A (ja) * 1988-07-19 1990-01-30 Tokyo Shokai:Kk 注射アンプル自動供給装置における垂直方向搬送及びセット装置
JPH0625976A (ja) * 1992-07-03 1994-02-01 Kanebo Ltd セルロース系繊維布帛の防炎加工方法
JP3067903U (ja) * 1999-10-04 2000-04-21 捷威科技股▲分▼有限公司 電子体温計
US6498561B2 (en) * 2001-01-26 2002-12-24 Cornerstone Sensors, Inc. Thermistor and method of manufacture
CN1880931A (zh) * 2005-06-15 2006-12-20 上海雷硕医疗器械有限公司 一种适用于低温环境的电子体温表
CN1880929A (zh) * 2005-06-15 2006-12-20 上海雷硕医疗器械有限公司 一种提高测温效率的电子体温计
TWM280475U (en) * 2005-07-01 2005-11-11 Li-Ching Chen Improved structure for clinical thermometer
JP5381943B2 (ja) * 2010-09-17 2014-01-08 オムロンヘルスケア株式会社 電子体温計およびその製造方法

Patent Citations (6)

* Cited by examiner, † Cited by third party
Publication number Priority date Publication date Assignee Title
JPH0228417Y2 (enExample) * 1983-10-17 1990-07-31
JPH0625976Y2 (ja) * 1987-04-21 1994-07-06 テルモ株式会社 電子回路用基板接続体
JPH02210233A (ja) * 1989-09-29 1990-08-21 Terumo Corp 電子体温計およびその製造方法
JPH0367903U (enExample) * 1989-11-02 1991-07-03
JPH0989680A (ja) * 1995-09-20 1997-04-04 Terumo Corp 電子体温計用プリント基板、それを用いた電子体温計、及びその製造方法
JP2010032324A (ja) * 2008-07-28 2010-02-12 Omron Healthcare Co Ltd 電子体温計

Also Published As

Publication number Publication date
DE112011103107B4 (de) 2025-07-10
DE112011103107T5 (de) 2013-06-27
JP2012063300A (ja) 2012-03-29
JP5381942B2 (ja) 2014-01-08
US20130148692A1 (en) 2013-06-13
WO2012035866A9 (ja) 2013-02-28
US8657492B2 (en) 2014-02-25
CN103119409B (zh) 2014-09-10
TW201224412A (en) 2012-06-16
CN103119409A (zh) 2013-05-22
TWI484147B (zh) 2015-05-11

Similar Documents

Publication Publication Date Title
JP5381943B2 (ja) 電子体温計およびその製造方法
JP6110408B2 (ja) 温度センサ
EP2075559B1 (en) Thermometer having molded probe component
US8245669B2 (en) Water heating systems and methods
US8887671B2 (en) Water heating systems and methods
WO2003087747A1 (en) Semiconductor force sensor
US20070245980A1 (en) Water heating systems and methods
WO2012160844A1 (ja) 荷重検出装置及び前記荷重検出装置を用いた電子機器、ならびに荷重検出装置の製造方法
JP5381942B2 (ja) 電子体温計およびその製造方法
US20070246557A1 (en) Water heating systems and methods
US20160047642A1 (en) Ruler
US20070246552A1 (en) Water heating systems and methods
KR20070048123A (ko) 센서 위치를 갖는 전자 온도계
JP2009300310A (ja) 電子体温計
WO2011024644A1 (ja) 電子体温計の製造方法および電子体温計
WO2007049453A1 (ja) 電子体温計
JP4593222B2 (ja) 電子体温計の製造方法
JP3206011U (ja) 電源スイッチを有さない体温計
CN101031783B (zh) 电子体温计及制造方法
WO2012105110A1 (ja) 電子体温計
JP3434010B2 (ja) 温度センサ
JP5318868B2 (ja) タッチ感応面付き制御装置
JP2007057430A (ja) 接触式温度計
WO2011077621A1 (ja) 電子体温計
NL2010955A (en) Thermostat with display module.

Legal Events

Date Code Title Description
WWE Wipo information: entry into national phase

Ref document number: 201180044461.3

Country of ref document: CN

121 Ep: the epo has been informed by wipo that ep was designated in this application

Ref document number: 11824875

Country of ref document: EP

Kind code of ref document: A1

WWE Wipo information: entry into national phase

Ref document number: 112011103107

Country of ref document: DE

Ref document number: 1120111031076

Country of ref document: DE

122 Ep: pct application non-entry in european phase

Ref document number: 11824875

Country of ref document: EP

Kind code of ref document: A1

WWG Wipo information: grant in national office

Ref document number: 112011103107

Country of ref document: DE