WO2012014503A1 - Screw tightening tool - Google Patents
Screw tightening tool Download PDFInfo
- Publication number
- WO2012014503A1 WO2012014503A1 PCT/JP2011/004360 JP2011004360W WO2012014503A1 WO 2012014503 A1 WO2012014503 A1 WO 2012014503A1 JP 2011004360 W JP2011004360 W JP 2011004360W WO 2012014503 A1 WO2012014503 A1 WO 2012014503A1
- Authority
- WO
- WIPO (PCT)
- Prior art keywords
- motor
- section
- trigger
- mode
- hammer
- Prior art date
- Legal status (The legal status is an assumption and is not a legal conclusion. Google has not performed a legal analysis and makes no representation as to the accuracy of the status listed.)
- Ceased
Links
Images
Classifications
-
- B—PERFORMING OPERATIONS; TRANSPORTING
- B25—HAND TOOLS; PORTABLE POWER-DRIVEN TOOLS; MANIPULATORS
- B25B—TOOLS OR BENCH DEVICES NOT OTHERWISE PROVIDED FOR, FOR FASTENING, CONNECTING, DISENGAGING OR HOLDING
- B25B21/00—Portable power-driven screw or nut setting or loosening tools; Attachments for drilling apparatus serving the same purpose
-
- B—PERFORMING OPERATIONS; TRANSPORTING
- B25—HAND TOOLS; PORTABLE POWER-DRIVEN TOOLS; MANIPULATORS
- B25B—TOOLS OR BENCH DEVICES NOT OTHERWISE PROVIDED FOR, FOR FASTENING, CONNECTING, DISENGAGING OR HOLDING
- B25B21/00—Portable power-driven screw or nut setting or loosening tools; Attachments for drilling apparatus serving the same purpose
- B25B21/02—Portable power-driven screw or nut setting or loosening tools; Attachments for drilling apparatus serving the same purpose with means for imparting impact to screwdriver blade or nut socket
-
- B—PERFORMING OPERATIONS; TRANSPORTING
- B25—HAND TOOLS; PORTABLE POWER-DRIVEN TOOLS; MANIPULATORS
- B25B—TOOLS OR BENCH DEVICES NOT OTHERWISE PROVIDED FOR, FOR FASTENING, CONNECTING, DISENGAGING OR HOLDING
- B25B23/00—Details of, or accessories for, spanners, wrenches, screwdrivers
- B25B23/14—Arrangement of torque limiters or torque indicators in wrenches or screwdrivers
- B25B23/147—Arrangement of torque limiters or torque indicators in wrenches or screwdrivers specially adapted for electrically operated wrenches or screwdrivers
- B25B23/1475—Arrangement of torque limiters or torque indicators in wrenches or screwdrivers specially adapted for electrically operated wrenches or screwdrivers for impact wrenches or screwdrivers
Definitions
- the invention relates to a screw tightening tool.
- Japanese Patent Application Publication No. 2009-078317 provides a screw tightening tool. that is provided with a mechanical switch directly engaged with an anvil so that the anvil does not rotate.
- the invention provides a screw tightening tool including: a handle part to be held by a user; a trigger; a power supplying section that supplies an electrical power in accordance with an operated amount of the trigger; and a motor that rotates in accordance with the electrical power supplied from the power supplying section.
- the power supplying unit supplies the motor with a preventing electrical power for preventing the motor from rotating with respect to the handle part when a predetermined condition is satisfied.
- the power supplying section supplies the motor with the preventing electrical power when the operated amount of the trigger falls into a predetermined range.
- the power supplying section supplies the motor with a constant electrical as the preventing electrical power.
- the power supplying section supplies the motor with the preventing electrical power during a predetermined period since an operation of the trigger has been stopped.
- the power supplying section supplies the motor with the preventing electrical power when the motor rotates with respect to the handle part without an operation of the trigger.
- the motor is a brushless motor having a stator and a rotor that rotates in accordance with the electrical power supplied to the stator, and
- the power supplying unit supplies the stator with the preventing electrical power.
- a screw tightening tool of the present invention can fasten a screw manually.
- Fig. 1 is a cross-sectional view showing an impact tool in an electronic pulse mode, according to a first embodiment of the invention
- Fig. 2 is a perspective view of the impact tool according to the first embodiment of the invention
- Fig. 3 is an assembly diagram showing a dial and surrounding parts of the impact tool according to the first embodiment of the invention
- Fig. 4 is a perspective view showing the dial of the impact tool according to the first embodiment of the invention
- Fig. 5 is a plan view showing a dial seal of the impact tool according to the first embodiment of the invention
- Fig. 6 is a cross-sectional view of the impact tool according to the first embodiment of the invention, taken along a line VI-VI in Fig. 1; Fig.
- FIG. 7 is a cross-sectional view of the impact tool according to the first embodiment of the invention, taken along a line VII-VII in Fig. 1;
- Fig. 8 is an assembly diagram showing a hammer section and surrounding parts of the impact tool according to the first embodiment of the invention;
- Fig. 9 is a cross-sectional view showing the impact tool in an impact mode, according to the first embodiment of the invention;
- Fig. 10 is a block diagram for illustrating controls of the impact tool according to the first embodiment of the invention;
- Fig. 11 is a diagram for illustrating controls of the impact tool in a drill mode according to the first embodiment of the invention;
- Fig. 12 is a diagram for illustrating controls of the impact tool in a clutch mode according to the first embodiment of the invention;
- FIG. 13A is a diagram for illustrating controls of the impact tool in a TEKS mode according to the first embodiment of the invention
- Fig. 13B is a diagram for showing positional relationship between a drill screw and a steel plate when the drill screw is driven by the impact tool in the TEKS mode according to the first embodiment of the invention
- Fig. 14 is a diagram for illustrating controls of the impact tool in a bolt mode according to the first embodiment of the invention
- Fig. 15 is a diagram for illustrating controls of the impact tool in a pulse mode according to the first embodiment of the invention
- Fig. 16 is a flowchart showing controls of the impact tool in the pulse mode according to the first embodiment of the invention
- Fig. 13B is a diagram for showing positional relationship between a drill screw and a steel plate when the drill screw is driven by the impact tool in the TEKS mode according to the first embodiment of the invention
- Fig. 14 is a diagram for illustrating controls of the impact tool in a bolt mode according to the first embodiment of the invention
- FIG. 17A is a diagram for illustrating relevance between a pulled amount of a trigger and controls of a motor of the impact tool in the pulse mode according to the first embodiment of the invention
- Fig. 17B is a diagram for illustrating relevance between the pulling amount of the trigger and PWM duty of the impact tool in the pulse mode according to the first embodiment of the invention
- Fig. 18 is a flowchart showing controls of the motor depending on the pulling amount of the trigger of the impact tool in the pulse mode according to the first embodiment of the invention
- Fig. 19 is a flowchart showing controls of an impact tool when a trigger is off, according to a second embodiment of the invention
- FIG. 20 is a diagram for illustrating rotation of a motor of an impact tool when a trigger is off, according to a third embodiment of the invention
- Fig. 21 is a flowchart showing controls of the impact tool when a trigger is off, according to the third embodiment of the invention
- Fig. 22 is a cross-sectional view of an impact tool according to a fourth embodiment of the invention
- Fig. 23 is a cross-sectional view of an impact tool according to a fifth embodiment of the invention
- Fig. 24 is an assembly diagram showing a dial and surrounding parts of an impact tool according to a sixth embodiment of the invention
- Fig. 25 is a perspective view showing the dial of the impact tool according to the sixth embodiment of the invention
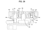
- Fig. 26 is a cross-sectional view of the dial and surrounding parts of the impact tool according to the sixth embodiment of the invention;[Explanationof Reference]1 impact tool3 motor22 handle section25 trigger6 inverter circuit7 control section
- an impact tool 1 as the screw tightening tool according to a first embodiment of the invention will be described while referring to Figs. 1 through 18.
- the screw tightening tool according to the present invention is not limited to the impact tool although the impact tool 1 is used as the screw tightening tool in the following embodiments.
- the impact tool 1 mainly includes a housing 2, a motor 3, a hammer section 4, an anvil section 5, an inverter circuit 6 (see Fig. 10) mounted on a circuit board 33, and a control section 7 (see Fig. 10) mounted on a board 26.
- the housing 2 is made of resin and constitutes an outer shell of the impact tool 1.
- the housing 2 is mainly formed by a body section 21 having substantially a cylindrical shape and a handle section 22 extending downward from the body section 21.
- the motor 3 is disposed within the body section 21 so that the axial direction of the motor 3 matches the lengthwise direction of the body section 21.
- the hammer section 4 and the anvil section 5 are arranged toward one end side of the motor 3 in the axial direction.
- the anvil section 5 side is defined as a front side
- the motor 3 side is defined as a rear side
- a direction parallel to the axial direction of the motor 3 is defined as a front-rear direction.
- the body section 21 side is defined as an upper side
- the handle section 22 side is defined as a lower side
- a direction in which the handle section 22 extends from the body section 21 is defined as an upper-lower direction.
- a direction perpendicular to both the front-rear direction and the upper-lower direction is defined as a left-right direction.
- a first hole 21a from which an operating section 46B described later protrudes is formed at an upper section of the body section 21, an air inlet hole 21b for introducing ambient air is formed at a rear end and a rear part of the body section 21, and an air outlet hole 21c for discharging air is formed at a center part of the body section 21.
- a metal-made hammer case 23 accommodating the hammer section 4 and the anvil section 5 therein is disposed at a front position within the body section 21.
- the hammer case 23 has substantially a funnel shape of which diameter becomes smaller gradually forward, and an opening 23a is formed at the front end part.
- a metal 23B is provided on an inner wall defining the opening 23a.
- a second hole 23b from which a protruding section 45B described later protrudes is formed at a lower section of the hammer case 23.
- a switch 23A is provided adjacent to the second hole 23b. The switch 23A outputs a signal indicating a main operation mode described later in accordance with the contact with the protruding section 45Br.
- a light 2A is provided at a position adjacent to the opening 23a and below the hammer case 23 for irradiating a bit mounted on an end-bit mounting section 51 described later.
- the light 2A is provided to illuminate forward during work at dark places and to light up a work location.
- the light 2A is lighted normally by turning on a switch 2B described later, and goes out by turning off the switch 2B.
- the light 2A also has a function of blinking when temperature of the motor 3 rises to inform an operator of the temperature rising, in addition to the original function of illumination of the light 2A.
- the handle section 22 extends downward from a substantially center position of the body section 21 in the front-rear direction, and is formed as an integral part with the body section 21.
- a trigger 25 and a forward-reverse switching lever 2C for switching rotational direction of the motor 3 are provided at an upper section of the handle section 22.
- the switch 2B and a dial 27 are provided at a lower section of the handle section 22.
- the switch 2B is for switching on and off of the light 2A
- the dial 27 is for switching a plurality of modes in an electronic pulse mode described later by a rotating operation.
- a battery 24, which is a rechargeable battery that can be charged repeatedly, is detachably mounted at a lower end section of the handle section 22 in order to supply the motor 3 and the like with electric power.
- the board 26 is disposed at a lower position within the handle section 22.
- a switch mechanism 22A is built in the handle section 22 for transmitting an operation of the trigger 25 to the board 26.
- the board 26 is supported within the handle section 22 by a rib (not shown).
- the control section 7, a gyro sensor 26A, an LED 26B, a support protrusion 26C, and a dial-position detecting element 26D (Fig. 10) are provided on the board 26.
- a dial supporting section 28 is also mounted on the board 26, and the dial 27 is placed on the dial supporting section 28.
- the dial 27 has a circular shape, and a plurality of through holes 27a is formed in a circumferential arrangement on the dial 27.
- a plurality of concave and convex sections 27A is provided on the outer circumferential surface of the dial 27 for preventing slippage when an operator rotates the dial 27.
- a substantially cylindrical engaging section 27B is provided at the center of the dial 27 so as to protrude downward in Fig. 1.
- An engaging hole 27b is formed at the center of the engaging section 27B.
- Four engaging claws 27C and four protrusions 27D are provided around the engaging section 27B so as to surround the engaging section 27B.
- the dial supporting section 28 has a ball 28A, a spring 28B, and a plurality of guiding protrusions 28C.
- the dial supporting section 28 is formed with a spring inserting hole 28a, an engaged hole 28b, an LED receiving hole 28c located at the opposite position from the spring inserting hole 28a with respect to the engaged hole 28b.
- the engaging section 27B, the engaging claws 27C, and the protrusions 27D of the dial 27 are inserted into the engaged hole 28b from the upper side, and also the support protrusion 26C on the board 26 is inserted into the engaged hole 28b from the lower side, thereby allowing the dial 27 to be rotatable about the support protrusion 26C.
- the guiding protrusions 28C of the dial supporting section 28 are arranged in a circumferential shape so as to fit the inner circumference of the concave and convex sections 27A of the dial 27, and the engaging claws 27C and the protrusions 27D of the dial 27 are also arranged in a circumferential shape so as to fit the engaged hole 28b of the dial supporting section 28, which enables smooth rotation of the dial 27.
- the engaged hole 28b is provided with a step (not shown) so that the engaging claws 27C inserted in the engaged hole 28b engage the step, thereby restricting movement of the dial 27 in the upper-lower direction.
- the ball 28A is urged upward by the spring 28B inserted in the spring inserting hole 28a. Hence, by rotating the dial 27, a portion of the ball 28A is buried in one of the through holes 27a. Because each though hole 27a corresponds to one of a plurality of modes in an electronic pulse mode to be described later, the operator can recognize that the mode has changed, from feeling or the like that a portion of the ball 28A is buried in the through hole 27a. On the other hand, the LED 26B on the board 26 is inserted in the LED receiving hole 28c.
- the LED 26B can irradiate onto the dial seal 29 from the lower side through the through hole 27a located at a 180-degree opposite position on the dial 27 with respect to the engaging hole 27b from the through hole 27a in which the portion of the ball 28A is buried.
- a dial seal 29 shown in Fig. 5 is affixed to the top surface of the dial 27. Characters indicative of a clutch mode, a drill mode, a TEKS (registered trade mark) mode, a bolt mode, and a pulse mode in the electronic pulse mode are shown in transparent letters on the dial seal 29. Operations in each mode will be described later. Each mode can be selected by rotating the dial 27 so that a desired mode is positioned under the LED 26B. At this time, because light of the LED 26B lights up the transparent letters on the dial seal 29, the operator can recognize the mode that is currently set and the location of the dial 27 even during working at dark places.
- the motor 3 is a brushless motor that mainly includes a rotor 3A having an output shaft 31 and a stator 3B disposed to confront the rotor 3A.
- the motor 3 is disposed within the body section 21 so that the axial direction of the output shaft 31 matches the front-rear direction.
- the rotor 3A has a permanent magnet 3C including a plurality of sets (two sets in the present embodiment) of north poles and south poles.
- the stator 3B is three-phase stator windings U, V, and W in star connection.
- the south poles and the north poles of the stator windings U, V, and W are switched by controlling electric current flowing through the stator windings U, V, and W, thereby rotating the rotor 3A. Further, the rotor 3A can be made stationary relative to the stator 3B by controlling the stator windings U, V, and W so that a state where one set of the permanent magnet 3C is opposed to the winding U, V, and W (Fig. 6), is maintained.
- the output shaft 31 protrudes at the front and the rear of the rotor 3A, and is rotatably supported by the body section 21 via bearings at the protruding sections.
- a fan 32 is provided at the protruding section of the output shaft 31 at the front side, so that the fan 32 rotates coaxially and together with the output shaft 31.
- a pinion gear 31A is provided at the front end position of the protruding section of the output shaft 31 at the front side, so that the pinion gear 31A rotates coaxially and together with the output shaft 31.
- the circuit board 33 for mounting thereon electric elements is disposed at the rear of the motor 3. As shown in Fig. 7, a through hole 33a is formed at the center of the circuit board 33, and the output shaft 31 extends through the through hole 33a.
- three rotational-position detecting elements (Hall elements) 33A and a thermistor 33B are provided to protrude forward.
- six switching elements Q1 through Q6 constituting the inverter circuit 6 are provided at the position indicated by dotted lines in Fig. 7.
- the inverter circuit 6 includes six switching elements Q1 through Q6 such as FET connected in a three-phase bridge form (see Fig. 10).
- the rotational-position detecting elements 33A are for detecting the position of the rotor 3A.
- the rotational-position detecting elements 33A are provided at positions in confrontation with the permanent magnet 3C of the rotor 3A, and are arranged at a predetermined interval (for example, an interval of 60 degrees) in the circumferential direction of the rotor 3A.
- the thermistor 33B is for detecting ambient temperature. As shown in Fig. 7, the thermistor 33B is provided at a position of equal distance from the left and right switching elements, and is arranged to overlap with the stator windings U, V, and W of the stator 3B as viewed from the rear.
- the thermistor 33B is arranged adjacent to the rotational-position detecting elements 33A, the switching elements Q1 through Q6, and the motor 3, so that the temperature increase of the rotational-position detecting elements 33A, the switching elements Q1 through Q6, and the motor 3 can be detected accurately.
- the hammer section 4 mainly includes a gear mechanism 41, a hammer 42, an urging spring 43, a regulating spring 44, a first ring-shaped member 45, a second ring-shaped member 46, and washers 47 and 48.
- the hammer section 4 is accommodated within the hammer case 23 at the front side of the motor 3.
- the gear mechanism 41 is a single-stage planetary gear mechanism, and includes an outer gear 41A, two planetary gears 41B, and a spindle 41C.
- the outer gear 41A is fixed within the body section 21.
- the two planetary gears 41B are arranged to meshingly engage the pinion gear 31A around the pinion gear 31A serving as the sun gear and to meshingly engage the outer gear 41A within the outer gear 41A.
- the two planetary gears 41B are connected to the spindle 41C having the sun gear. With such configuration, rotation of the pinion gear 31A causes the two planetary gears 41B to orbit the pinion gear 31A, and rotation decelerated by the orbital motion is transmitted to the spindle 41C.
- the hammer 42 is disposed at the front side of the gear mechanism 41.
- the hammer 42 is rotatable and movable in the front-rear direction together with the spindle 41C.
- the hammer 42 has a first engaging protrusion 42A and a second engaging protrusion 42B that are arranged at opposite positions with respect to the rotational axis and that protrude frontward.
- a spring receiving section 42C into which the regulating spring 44 is inserted is provided at the rear part of the hammer 42.
- the hammer section 4 of the present embodiment includes the regulating spring 44.
- the regulating spring 44 is inserted into the spring receiving section 42C via the washers 47 and 48. The front end of the regulating spring 44 abuts on the hammer 42, and the rear end of the regulating spring 44 abuts on the first ring-shaped member 45.
- the first ring-shaped member 45 has substantially a ring shape, and has a plurality of trapezoidal first convex sections 45A and a protruding section 45B.
- the plurality of first convex sections 45A protrudes rearward and is arranged at four positions with intervals of 90 degrees in the circumferential direction.
- the protruding section 45B protrudes downward and, as shown in Fig. 1, is inserted in the second hole 23b formed in the hammer case 23.
- the second hole 23b is formed so that the length in the circumferential direction is substantially identical to the protruding section 45B and that the length in the front-rear direction is longer than the protruding section 45B, and thus the first ring-shaped member 45 is not movable in the circumferential direction and is movable in the front-rear direction.
- the second ring-shaped member 46 has substantially a ring shape, and has a plurality of trapezoidal second convex sections 46A and the operating section 46B.
- the plurality of second convex sections 46A protrudes frontward and is arranged at four positions with intervals of 90 degrees in the circumferential direction.
- the operating section 46B protrude upward and, as shown in Fig. 1, is exposed to outside through the first hole 21a.
- the first hole 21a is formed so that the length in the circumferential direction is longer than the operating section 46B and that the length in the front-rear direction is substantially identical to the operating section 46B, and thus the operator can operate the operating section 46B to rotate the second ring-shaped member 46 in the circumferential direction.
- the first convex sections 45A and the second convex sections 46A are located at positions shifted from each other in the circumferential direction, as viewed from the rotational axis direction (the front-rear direction).
- the regulating spring 44 is in a most expanded state as shown in Fig. 9, there is room for the hammer 42 to move rearward against the urging force of the urging spring 43.
- the protruding section 45B of the first ring-shaped member 45 and the switch 23A are not in contact with each other.
- the anvil section 5 is disposed at the front side of the hammer section 4, and mainly includes the end-bit mounting section 51 and an anvil 52.
- the end-bit mounting section 51 is formed in a cylindrical shape, and is rotatably supported within the opening 23a of the hammer case 23 via the metal 23A.
- the end-bit mounting section 51 is formed, in the front-rear direction, with a bore hole 51a into which a bit (not shown) is inserted.
- the anvil 52 is located at the rear of the end-bit mounting section 51 within the hammer case 23, and is formed as an integral part with the end-bit mounting section 51.
- the anvil 52 has a first engaged protrusion 52A and a second engaged protrusion 52B that are arranged at opposite positions with respect to the rotational center of the end-bit mounting section 51 and that protrude rearward.
- the control section 7 mounted on the board 26 is connected to the battery 24, and is also connected to the light 2A, the switch 2B, the forward-reverse switching lever 2C, the switch 23A, the trigger 25, the gyro sensor 26A, the LED 26B, the dial-position detecting element 26D, the dial 27, and the thermistor 33B.
- the control section 7 includes an electric-current detecting circuit 71, a switch-operation detecting circuit 72, an applied-voltage setting circuit 73, a rotational-direction setting circuit 74, a rotor-position detecting circuit 75, a rotational-speed detecting circuit 76, a striking-impact detecting circuit 77, a calculating section 78, a control-signal outputting circuit 79 (see Fig. 10).
- Each gate of the switching elements Q1 through Q6 of the inverter circuit 6 is connected to the control-signal outputting circuit 79 of the control section 7.
- Each drain or source of the switching elements Q1 through Q6 is connected to the stator windings U, V, and W of the stator 3B of the three-phase brushless DC motor 3.
- the six switching elements Q1 through Q6 performs switching operations by switching signals H1-H6 inputted from the control-signal outputting circuit 79.
- the DC voltage of the battery 24 applied to the inverter circuit 6 is supplied to the stator windings U, V, and W as three-phase (U-phase, V-phase, and W-phase) voltages Vu, Vv, and Vw, respectively.
- the energized stator winding U, V, W, that is, the rotational direction of the rotor 3A is controlled by the switching signals H1-H6 inputted to the switching elements Q1-Q6. Further, an amount of power supply to the stator winding U, V, W, that is, the rotational speed of the rotor 3A is controlled by the switching signals H4, H5, and H6 that are inputted to the switching elements Q4-Q6 and also serve as pulse width modulation signals (PWM signals).
- PWM signals pulse width modulation signals
- the electric-current detecting circuit 71 detects a current value supplied to the motor 3, and outputs the detected current value to the calculating section 78.
- the switch-operation detecting circuit 72 detects whether the trigger 25 has been operated, and outputs the detection result to the calculating section 78.
- the applied-voltage setting circuit 73 outputs a signal depending on an operated amount of the trigger 25 to the calculating section 78.
- the rotational-direction setting circuit 74 Upon detecting switching of the forward-reverse switching lever 2C, the rotational-direction setting circuit 74 transmits a signal for switching the rotational direction of the motor 3 to the calculating section 78.
- the rotor-position detecting circuit 75 detects the rotational position of the rotor 3A based on a signal from the rotational-position detecting elements 33A, and outputs the detection result to the calculating section 78.
- the rotational-speed detecting circuit 76 detects the rotational speed of the rotor 3A based on a signal from the rotational-position detecting elements 33A, and outputs the detection result to the calculating section 78.
- the impact tool 1 is provided with a striking-impact detecting sensor 80 that detects magnitude of an impact that occurs at the anvil 52.
- the striking-impact detecting circuit 77 outputs a signal from the striking-impact detecting sensor 80 to the calculating section 78.
- the calculating section 78 includes a central processing unit (CPU) for outputting driving signals based on processing programs and data, a ROM for storing the processing programs and control data, a RAM for temporarily storing data, and a timer, although these elements are not shown.
- the calculating section 78 generates the switching signals H1-H6 based on signals from the rotational-direction setting circuit 74, the rotor-position detecting circuit 75 and the rotational-speed detecting circuit 76, and outputs these signals to the inverter circuit 6 via control-signal outputting circuit 79.
- the calculating section 78 adjusts the switching signals H4-H6 based on a signal from the applied-voltage setting circuit 73, and outputs these signals to the inverter circuit 6 via the control-signal outputting circuit 79.
- the switching signals H1-H3 may be adjusted as the PWM signals.
- ON/OFF signals from the switch 2B and temperature signals from the thermistor 33B are inputted into the calculating section 78. Lighting on, blinking, and lighting off of the light 2A are controlled based on these signals, thereby informing the operator of a temperature increase in the housing 2.
- the calculating section 78 switches the operation mode to an electronic pulse mode to be described later, based on an input of a signal generated when the protruding section 45B contacts the switch 23A. Further, the calculating section 78 turns on the LED 26B for a predetermined period, based on an input of a signal generated when the trigger 25 is pulled.
- Signals from the gyro sensor 26A are also inputted into the calculating section 78.
- the calculating section 78 controls the rotational direction of the motor 3 by detecting a velocity of the gyro sensor 26A. The detailed operations will be described later.
- signals from the dial-position detecting element 26D that detects a position of the dial 27 in the circumferential direction are inputted into the calculating section 78.
- the calculating section 78 performs switching of the operation mode based on the signals from the dial-position detecting element 26D.
- the impact tool 1 according to the present embodiment has two main modes of the impact mode and the electronic pulse mode.
- the main modes can be switched by operating the operating section 46B to put the switch 23A and the protruding section 45B in contact and out of contact with each other.
- the impact mode is a mode in which the motor 3 is rotated only in one direction for causing the hammer 42 to strike the anvil 52.
- the operating section 46B is in a state shown in Fig. 9, where the hammer 42 is movable rearward and the switch 23A and the protruding section 45B are not in contact with each other.
- a fastener can be driven with a large torque compared with the electronic pulse mode, noise at fastening work is large.
- the impact mode is mainly used when work is done outdoor and when a large torque is needed.
- the elastic energy stored in the urging spring 43 is released, thereby causing the first engaging protrusion 42A to collide with the second engaged protrusion 52B and, at the same time, causing the first engaging protrusion 42A to collide with the first engaged protrusion 52A.
- the rotational force of the motor 3 is transmitted to the anvil 52 as a striking force.
- the user can recognize by the positions of the protruding section 45B and the operating section 46B that the impact mode is set. In the present embodiment, if the impact mode is set, the LED 26B is not turned on. Hence, that the user can also recognize by this feature that the impact mode is set.
- the electronic pulse mode is a mode in which the rotational speed and the rotational direction (forward or reverse) of the motor 3 is controlled.
- the operating section 46B is in a state shown in Fig. 1 where the hammer 42 is not movable in the front-rear direction and the switch 23A and the protruding section 45B are in contact with each other.
- the electronic pulse mode since the hammer 42 is rotated in the reverse direction after colliding the anvil 52, the rotational speed of the hammer 42 is not increased as the times the hammer 42 collides the anvil 52 is increased. Therefore, in the electronic pulse mode, compared with the impact mode, torque for fastening a fastener is small, but noise during fastening work is also small.
- the electronic pulse mode is mainly used when work is done indoor.
- the above-described impact mode and electronic pulse mode can be switched easily by operating the operating section 46B, which enables that work is done in a mode suitable for a working place and required torque.
- the electronic pulse mode further has five operation modes of a drill mode, a clutch mode, a TEKS mode, a bolt mode, and a pulse mode, which can be switched by operating the dial 27.
- starting current is not considered in determination since a sharp rise of the starting current shown in Fig. 11, for example, does not contribute to fastening of a screw or a bolt. This starting current is not considered if dead time of 20 ms (milliseconds), for example, is provided.
- the drill mode is a mode in which the hammer 42 and the anvil 52 keep rotating together in one direction.
- the drill mode is mainly used when a wood screw is driven and the like. As shown in Fig. 11, a current flowing through the motor 3 increases as fastening proceeds.
- the clutch mode is a mode in which the hammer 42 and the anvil 52 keep rotating together in one direction and, when a current flowing through the motor 3 increases to a target value (target torque), driving of the motor 3 is stopped.
- the clutch mode is mainly used when an accurate torque is important, such as when fastening a fastener that appears outside even after fastening is done.
- the target value (target torque) can be changed by the numbers of the clutch mode shown in Fig. 5.
- a preliminary start is started.
- the control section 7 applies a preliminary-start voltage (for example, 1.5V) to the motor 3 for a predetermined period (t2 in Fig. 12).
- a preliminary-start voltage for example, 1.5V
- the preliminary start is performed to prevent collision between the hammer 42 and the anvil 52, thereby preventing a current flowing through the motor 3 from reaching the target value (target torque) instantaneously.
- the current value rises sharply (t3 in Fig. 12). If this current value exceeds a threshold value A, the control section 7 stops torque supply to the fastener. However, because the current value has increased sharply when a bolt is driven, torque may be supplied to the bolt due to inertia if applying of forward-rotation voltage is simply stopped. Accordingly, in order to stop torque supply to the bolt, reverse-rotation voltage for braking is applied to the motor 3.
- the motor 3 is applied with forward-rotation voltage and reverse-rotation voltage for pseudo clutch alternately (t4 in Fig. 12).
- a period for applying the forward-rotation voltage and reverse-rotation voltage for pseudo clutch is set to 1000 ms (1 second).
- the pseudo clutch has a feature of informing the operator that a predetermined current value is reached and hence a predetermined torque is obtained. The operator is informed that the motor 3 has no output in a simulated manner, although the motor 3 actually has an output.
- the hammer 42 separates from the anvil 52. If the forward-rotation voltage for pseudo clutch is applied, the hammer 42 strikes the anvil 52. However, because the forward-rotation voltage and reverse-rotation voltage for pseudo clutch is set to a voltage (for example, 2V) of a degree not applying a fastening force to a fastener, the pseudo clutch is generated merely as striking noise. Due to the generation of the pseudo clutch, the operator can recognize the end of a fastening operation. After the pseudo clutch operates for a period t4, the motor 3 stops automatically (t5 in Fig. 12).
- a voltage for example, 2V
- the TEKS mode is a mode in which, when a current flowing through the motor 3 increases to a predetermined value (predetermined torque) in a state where the hammer 42 and the anvil 52 are rotated together in one direction, forward rotation and reverse rotation of the motor 3 are switched alternately to fasten a drill screw by striking force.
- the TEKS mode is mainly used in a case when a fastener is fastened to a steel plate.
- the drill screw is a screw having drill blades at the tip end for making a hole in a steel plate.
- a drill screw 53 includes a screw head 53A, a seating surface 53B, a screw part 53C, a screw end 53D, and a drill 53E (Fig. 13B).
- the mode shifts to a first pulse mode in which forward rotation and reverse rotation are repeated (Fig. 13A (b)).
- a threshold C for example, 11A (amperes)
- the motor 3 is rotated forward at a rotational speed b (for example, 6000 rpm) lower than the rotational speed a.
- the rate of increase in the current value exceeds a predetermined value, the mode shifts to a second pulse mode (t3 in Fig. 13A) in which forward rotation and reverse rotation are repeated.
- the motor 3 is rotated forward at a rotational speed c (for example, 3000 rpm) lower than the rotational speed b. This can prevent damaging the drill screw 53 and damaging the slot in the head of the drill screw 53 due to excessive torque applied to the drill screw 53 by the bit.
- a rotational speed c for example, 3000 rpm
- the bolt mode is a mode in which, when a current flowing through the motor 3 increases to a predetermined value (predetermined torque) in a state where the hammer 42 and the anvil 52 are rotated together in one direction, forward rotation and reverse rotation of the motor 3 are switched alternately to fasten a fastener by striking force.
- the bolt mode is mainly used for fastening a bolt.
- the motor 3 In the bolt mode, because importance is not given to fastening with accurate torque, an operation corresponding to the preliminary start in the clutch mode is omitted.
- the bolt mode firstly the motor 3 is rotated only in a forward direction to rotate the hammer 42 and the anvil 52 together in one direction. Then, when the current value of the motor 3 exceeds a threshold value D (t1 in Fig. 14), a bolt-mode voltage is applied to the motor 3 with a predetermined interval (t2 in Fig. 14). Application of the bolt-mode voltage causes forward rotation and reverse rotation of the anvil 52, thereby fastening a bolt.
- the bolt-mode voltage has a shorter period of forward rotation compared with a voltage for preventing damaging of the slot in the screw head, in order to alleviate reaction. By turning off the trigger 25, the motor 3 stops.
- the pulse mode is a mode in which, when a current flowing through the motor 3 increases to a predetermined value (predetermined torque) in a state where the hammer 42 and the anvil 52 are rotated together in one direction, forward rotation and reverse rotation of the motor 3 are switched alternately to fasten a fastener by striking force.
- the pulse mode is mainly used for fastening an elongated screw that is used in a place that does not appear outside, and the like. With this mode, a strong fastening force can be provided, and also reaction force from a workpiece can be reduced.
- the motor 3 outputs a larger torque, which increases reaction that occurs at striking in the impact tool 1. If reaction increases, the handle section 22 is rotatably moved in the opposite direction from the rotational direction of the motor 3 about the output shaft 31 of the motor 3, thereby worsening workability.
- the gyro sensor 26A built in the handle section 22 detects velocity of the handle section 22 in the circumferential direction about the output shaft 31, that is, magnitude of reaction that is generated in the impact tool 1. If detection velocity by the gyro sensor 26A becomes greater than or equal to a threshold value a described later, the motor 3 is rotated in reverse direction in order to suppress reaction.
- the gyro sensor 26A is also called as a gyroscope, and is a measurement instrument for measuring angular velocity of an object.
- the control section 7 first determines whether the trigger 25 is pulled (S1). If the trigger 25 is pulled (t1 in Fig. 15, S1: YES), the control section 7 starts forward rotation of the motor 3 (S2). Next, the control section 7 determines whether velocity of the gyro sensor 26A exceeds a threshold value a (8 m/s (meter/second) in the present embodiment) (S3). If the velocity exceeds the threshold value a (t2 in Fig. 15, S3: YES), the control section 7 stops the motor 3 for a predetermined period (S4), and subsequently starts reverse rotation of the motor 3 (t3 in Fig. 15, S5).
- a threshold value a 8 m/s (meter/second) in the present embodiment
- control section 7 determines whether the velocity of the gyro sensor 26A falls below a threshold value b (3 m/s in the present embodiment) (S6). If the velocity falls below the threshold value b (t4 in Fig. 15, S6: YES), the control section 7 stops the motor 3 for a predetermined period (S7), and subsequently returns to S1 to restart forward rotation of the motor 3 (t5 and thereafter in Fig. 15).
- the trigger 25 is so configured that, as the pulled amount is larger, the duty of PWM signal outputted to the inverter circuit 6 becomes larger.
- the operator changes an electric driver to a manual drive just before a fastener is seated on a workpiece, so that he can fasten the fastener manually, which worsens workability.
- PWM signal with a constant duty such that the torque of the motor 3 is substantially identical to torque of the fastener is outputted to the inverter circuit 6 when the pulled amount of the trigger 25 is in a predetermined zone, thereby enabling the impact tool 1 to be used to fasten the fastener manually.
- Fig. 17A is a diagram for illustrating relevance between the pulled amount of the trigger 25 and controls of the motor 3 of the impact tool 1.
- Fig. 17B is a diagram for illustrating relevance between the pulling amount of the trigger 25 and PWM duty of the impact tool 1.
- a first zone, a second zone (not shown in Fig. 17B), and a third zone are provided as to the pulled amount of the trigger 25.
- the first zone and the second zone are provided between the two third zones.
- the third zone is a zone in which conventional controls are performed.
- the first zone is obtained by pulling the trigger 25 by a predetermined amount from the third zone.
- the first zone is a zone in which the torque of the motor 3 is substantially identical to torque of the fastener.
- the second zone is obtained by pulling the trigger 25 further slightly from the first zone.
- torque of the motor 3 is constant. It is supposed that the torque of the fastener just before the fastener is seated on a workpiece falls into a range between 5 - 40 N*m. Therefore, in the present embodiment, the torque of the motor 3 is set to the value falling into the above range.
- the motor 3 rotates with the rotation of the impact tool 1 since the torque of the motor 3 is substantially identical to torque of the fastener.
- the operator can manually fasten the fastener (Fig. 17A (a)) even if the torque of the motor 3 and the torque of the fastener are not identical to one another accurately.
- the impact tool 1 is moved to a position where it is difficult to rotate the fastener manually (Fig. 17A (b)).
- the motor 3 is rotated reversely in a low speed in the second zone where the trigger 25 is pulled slightly from the first zone. If the operator pulls the trigger 25 further slightly in a state shown in Fig. 17A (b) by rotatably moving the impact tool 1 manually, the pulled amount of the trigger 25 goes into the second zone and the motor 3 rotates reversely at a low speed.
- the position of the impact tool 1 can be returned to a state shown in Fig. 17A (c) without rotating the fastener (Fig. 17A (e)).
- a holding mechanism for holding the pulled amount of the trigger 25 in the second zone may be provided to easily hole the pulled amount of the trigger 25 in the second zone. Then, by returning the pulled amount of the trigger 25 to the first zone, the torque of the motor 3 becomes constant again, which allows a fastener to be fastened manually (Fig. 17A (c)).
- the impact tool 1 by adjusting the pulled amount of the trigger 25, the impact tool 1 can be used like a ratchet wrench. Further, setting torque (duty ratio) of the first zone can be changed by a dial (not shown). Hence, a fastening operation can be performed with torque that is appropriate for hardness of a workpiece.
- Fig. 18 is a flowchart showing controls of the motor 3 depending on the pulling amount of the trigger 25.
- the flowchart of Fig. 18 starts when the battery 24 is mounted.
- the control section 7 determines whether the trigger 25 is turned on (S21). If the trigger 25 is turned on (S21: YES), the control section 7 determines whether the pulled amount of the trigger 25 is within the first zone (S22). If the pulled amount of the trigger 25 is not within the first zone (S22: NO), the control section 7 drives the motor 3 at a duty ratio corresponding to the pulled amount of the trigger 25 (S26) and returns to S22.
- the control section 7 drives the motor 3 at a setting duty ratio that is set preliminarily (S23), and subsequently determines whether the pulled amount of the trigger 25 is within the second zone (S24). If the pulled amount of the trigger 25 is not within the second zone (S24: NO), the control section 7 returns to S22 again. If the pulled amount of the trigger 25 is within the second zone (S24: YES), the motor 3 rotates reversely in a low speed (S25) and the control section 7 returns to S24.
- the impact tool 1 can be used like a ratchet wrench by reversely rotating the motor 3 in the second zone. Even if such configuration is not used, the operator may adjust the trigger 25 finely to obtain similar effects.
- an impact tool 201 according to a second embodiment of the invention will be described while referring to Fig. 19.
- parts and components identical to those in the first embodiment are designated by the same reference numerals to avoid duplicating description.
- a manual fastening operation can be achieved by electrically locking the motor 3 for a predetermined period after turning off the trigger 25.
- Fig. 19 is a flowchart showing controls according to the second embodiment.
- the flowchart shown in Fig. 19 starts when the battery 24 is mounted.
- the control section 7 determines whether the trigger 25 is turned on (S201). If the trigger 25 is turned on (S201: YES), the control section 7 drives the motor 3 in accordance with the mode that is set (S202), and subsequently determines whether the trigger 25 is turned off (S203).
- turning off the trigger 25 includes an automatic stop of the motor 3 during the clutch mode (t5 in Fig. 12).
- the control section 7 locks the motor 3 (S204). Specifically, as shown in Fig.
- the control section 7 controls currents flowing through the stator windings U, V, and W so that one stator winding comes to a position in confrontation with one permanent magnet 3C and that another stator winding opposed to the one stator winding comes to a position in confrontation with another permanent magnet 3C opposed to the one permanent magnet 3C.
- the electrical power is supplied to the stator winding at 100% in order to fix the motor.
- the motor 3 is electrically locked.
- the control section 7 determines whether a predetermined period has elapsed after the trigger 25 is turned off (S203: YES) (S205). If the predetermined period has not elapsed (S205: NO), the control section 7 returns to S204. If the predetermined period has elapsed (S205: YES), the motor 3 is released from locking (S206).
- an impact tool 301 according to a third embodiment of the invention will be described while referring to Figs. 20 and 21.
- parts and components identical to those in the first and second embodiments are designated by the same reference numerals to avoid duplicating description.
- the motor 3 is electrically locked for a predetermined period after the trigger 25 is turned off.
- controls are performed to detect rotation of the motor 3 and to prevent rotation.
- Fig. 20 is a diagram for illustrating rotation of the motor 3 when the trigger 25 is off.
- Fig. 20(a) shows a state in which the trigger 25 is turned off after the trigger 25 is turned on, and the motor 3 is stopped. Even if the impact tool 301 is rotatably moved in the forward rotation in this state as shown in Fig. 20(b), the rotor 3A rotates very little because the motor 3 is stopped. However, it can be considered as viewed from the handle section 22 that the rotor 3A rotates in the reverse direction. Hence, in the present embodiment, this rotation is detected and the motor 3 is supplied with a current that rotates the rotor 3A in the direction preventing rotation, that is, in the forward direction. Further, as shown in Fig.
- Fig. 21 is a flowchart showing controls according to the third embodiment.
- the flowchart shown in Fig. 21 starts when the battery 24 is mounted.
- the control section 7 determines whether the trigger 25 is turned on (S201). If the trigger 25 is turned on (S201: YES), the control section 7 drives the motor 3 in accordance with the mode that is set (S202), and subsequently determines whether the trigger 25 is turned off (S203). If the trigger 25 is turned off (S203: YES), the control section 7 determines whether the motor 3 is rotated by signals from the rotational-position detecting elements 33A (S301). If the motor 3 is rotated (S301: YES), the control section 7 supplies the motor 3 with a current that prevents rotation (S302).
- the control section 7 controls currents flowing through the stator windings U, V, and W so that the south pole comes to a position in confrontation with the north pole of the permanent magnet 3C and that the north pole comes to a position in confrontation with the south pole of the permanent magnet 3C. Subsequently, the control section 7 determines whether a predetermined period has elapsed after the trigger 25 is turned off at S203 (S303). If the predetermined period has not elapsed (S303: NO), the control section 7 returns to S301. If the predetermined period has elapsed (S303: YES), the motor 3 is stopped (S304).
- an impact tool 401 according to a fourth embodiment of the invention will be described while referring to Fig. 22.
- parts and components identical to those in the first embodiment are designated by the same reference numerals to avoid duplicating description.
- rotation of the motor 3 is transmitted to the spindle 41C and the hammer 42 via the gear mechanism 41.
- an output from a motor 403 is directly transmitted to a hammer 442 without a gear mechanism and a spindle.
- the impact tool 401 is a power tool with less reaction force and good workability. Further, a fastening operation can be done smoothly without reaction force, thereby reducing the number of striking pulses and suppressing power consumption.
- the motor 403 is a brushless motor that mainly includes a rotor 403A, a stator 403B, and an output shaft 431 extending in the front-rear direction.
- a rod-like member 434 is provided to be rotatable coaxially at the front end of the output shaft 431.
- the rod-like member 434 is rotatably supported by the inner cover 429.
- the hammer 442 is fixed to the front end of the rod-like member 434, so that the rod-like member 434 is configured to rotate together with the hammer 442.
- the hammer 442 has a first engaging protrusion 442A and a second engaging protrusion 442B.
- the first engaging protrusion 442A and the second engaging protrusion 442B of the hammer 442 rotate together with the first engaged protrusion 52A and the second engaged protrusion 52B of the anvil 52, respectively, thereby applying a rotational force to the anvil 52. Also, the first and second engaging protrusions 442A and 442B collide with the first and second engaged protrusions 52A and 52B, respectively, thereby applying a striking force to the anvil 52.
- the motor 403 with a low rotational speed is used. In such configuration, however, even if a fan is provided on the output shaft 431 like the first embodiment, a sufficient cooling effect cannot be obtained due to the low rotational speed. Further, in the present embodiment, because a gear mechanism (reducer) is not provided, the motor 403 with a large output torque is used. Hence, the motor 403 of the present embodiment has a larger size than the motor 3 of the first embodiment, and thus requires larger cooling capacity than the first embodiment.
- a fan 432 is provided at a lower part of the handle section 22.
- the fan 432 is controlled to rotate regardless of rotation of the motor 403.
- the fan 432 is connected to the control section 7.
- the control section 7 controls the fan 432 to rotate when the trigger 25 is pulled, and controls the fan 432 to stop when the trigger 25 is off.
- an air inlet hole 435 is formed at the lower part of the handle section 22, and an air outlet hole 436 is formed at the upper part of the body section 21, so that air flows in a path indicated by the arrow in Fig. 22.
- a fan switch 402D is provided at the outer frame of the handle section 22. By pressing the fan switch 402D, the fan 432 can be rotated without pulling the trigger 25.
- the motor 403, the board 26, and the circuit board 33 can be cooled forcefully by pressing the fan switch 402D, without pulling the trigger 25.
- a fan 532 is provided at the rear side of the motor 403 within the body section 21.
- the fan 532 is connected to the control section 7.
- the control section 7 controls the fan 532 to rotate when the trigger 25 is pulled, and controls the fan 532 to stop when the trigger 25 is off.
- the air inlet hole 21b for introducing ambient air is formed at a rear end and a rear part of the body section 21, and the air outlet hole 21c for discharging air is formed at a center part of the body section 21. In this way, because the fan 532 is disposed at the rear side of the motor 403, cooling air directly hits the motor 403, thereby improving cooling efficiency.
- a dial 627 is provided at the handle section 22, instead of the dial 27.
- a disk section 627B of the dial 627 is made of a transparent member, so that light from the LED 26B can transmit the disk section 627B and irradiate the dial seal 29 from below.
- a plurality of convex sections 627E is provided at the lower surface of the disk section 627B so as to protrude downward.
- the plurality of convex sections 627E is provided at equal intervals in a circumferential arrangement around a through hole 627a. As shown in Fig. 26, when the ball 28A of the dial supporting section 28 is located between the convex sections 627E, each mode in the electronic pulse mode is set.
- the gyro sensor 26A is provided on the board 26 to detect reaction that occurs in the handle section 22.
- a position sensor may be provided on the board 26 to detect reaction that occurs in the handle section 22 based on distance by which the handle section 22 is moved.
- an acceleration sensor may be provided instead of the gyro sensor 26A.
- the acceleration sensor is not suitable for detection of reaction.
- the acceleration sensor outputs vibrations of the housing and the acceleration sensor itself, which are different from the actual travel of the housing. Accordingly, it is preferable to use a velocity sensor which is effective in indicating the traveling amount of the housing.
- a gyro sensor is used to detect reaction.
- the traveling amount of the housing may be measured with a GPS, for example. In this case, if the traveling amount of the housing per unit time becomes larger than or equal to a predetermined value, the rotational direction of the motor is changed from the forward rotation to the reverse rotation.
- an image sensor may be used instead of a GPS.
- reaction may be detected by detecting a current instead of using a gyro sensor.
- reaction does not correspond to an output value of the current, and an output value of the gyro sensor always corresponds to reaction.
- reaction can be detected more accurately when the gyro sensor is used to detect reaction, than a case in which reaction is detected based on the current.
- a torque sensor is provided to the output shaft, instead of the gyro sensor.
- an output of the torque sensor does not correspond to reaction, and the gyro sensor can detect reaction more accurately.
- a monochromatic LED is used as the LED 26B in the above-described embodiment
- a full color LED may be provided.
- the color may be changed depending on a mode set by the dial 27.
- a color in each mode may be changed by providing color cellophanes at the dial 27.
- a new informing light may be provided at the body section 21, so that the color of the informing light changes depending on the set mode.
- the operator can confirm the set mode at a position closer to his hand.
- controls are performed so that rotation of the motor 3 is detected to prevent rotation.
- the rotor 3A may be so controlled that the above-described controls are performed only when the rotor 3A is rotated in the direction shown in Fig. 20 (b), and that a fastener is not rotated as shown in Fig. 17A (b) when the rotor 3A is rotated in the direction opposite from the direction shown in Fig. 20 (b).
- the electronic pulse driver can be used like a ratchet wrench, as the first embodiment.
- the fans 432 and 532 stop automatically when the trigger 25 is off. However, if detection temperature of the thermistor 33B is higher than or equal to a predetermined value when the trigger 25 is turned off, the fans 432 and 532 may be driven automatically until the temperature falls below the predetermined value.
Landscapes
- Engineering & Computer Science (AREA)
- Mechanical Engineering (AREA)
- Portable Power Tools In General (AREA)
- Details Of Spanners, Wrenches, And Screw Drivers And Accessories (AREA)
- Percussive Tools And Related Accessories (AREA)
Priority Applications (3)
| Application Number | Priority Date | Filing Date | Title |
|---|---|---|---|
| US13/698,478 US20130126202A1 (en) | 2010-07-30 | 2011-08-01 | Screw Tightening Tool |
| CN201180037352.9A CN103038026B (zh) | 2010-07-30 | 2011-08-01 | 螺钉紧固工具 |
| EP11746036.0A EP2560793B1 (en) | 2010-07-30 | 2011-08-01 | Screw tightening tool |
Applications Claiming Priority (2)
| Application Number | Priority Date | Filing Date | Title |
|---|---|---|---|
| JP2010172778A JP5686236B2 (ja) | 2010-07-30 | 2010-07-30 | 電動工具及びネジ締め用電動工具 |
| JP2010-172778 | 2010-07-30 |
Publications (1)
| Publication Number | Publication Date |
|---|---|
| WO2012014503A1 true WO2012014503A1 (en) | 2012-02-02 |
Family
ID=44545850
Family Applications (1)
| Application Number | Title | Priority Date | Filing Date |
|---|---|---|---|
| PCT/JP2011/004360 Ceased WO2012014503A1 (en) | 2010-07-30 | 2011-08-01 | Screw tightening tool |
Country Status (5)
| Country | Link |
|---|---|
| US (1) | US20130126202A1 (enExample) |
| EP (1) | EP2560793B1 (enExample) |
| JP (1) | JP5686236B2 (enExample) |
| CN (1) | CN103038026B (enExample) |
| WO (1) | WO2012014503A1 (enExample) |
Cited By (5)
| Publication number | Priority date | Publication date | Assignee | Title |
|---|---|---|---|---|
| EP2639017A3 (en) * | 2012-03-14 | 2013-11-13 | Basso Industry Corp. | Status indicating device for a power nail gun |
| WO2013136711A3 (en) * | 2012-03-13 | 2015-01-22 | Hitachi Koki Co., Ltd. | Impact tool |
| CN105689815A (zh) * | 2014-12-12 | 2016-06-22 | 松下知识产权经营株式会社 | 电动工具以及控制器 |
| US9408653B2 (en) | 2011-04-27 | 2016-08-09 | Medtronic Xomed, Inc. | Electric ratchet for a powered screwdriver |
| USD789170S1 (en) | 2016-02-05 | 2017-06-13 | Tti (Macao Commercial Offshore) Limited | Rotary power tool |
Families Citing this family (500)
| Publication number | Priority date | Publication date | Assignee | Title |
|---|---|---|---|---|
| US20070084897A1 (en) | 2003-05-20 | 2007-04-19 | Shelton Frederick E Iv | Articulating surgical stapling instrument incorporating a two-piece e-beam firing mechanism |
| US9060770B2 (en) | 2003-05-20 | 2015-06-23 | Ethicon Endo-Surgery, Inc. | Robotically-driven surgical instrument with E-beam driver |
| US11896225B2 (en) | 2004-07-28 | 2024-02-13 | Cilag Gmbh International | Staple cartridge comprising a pan |
| US8215531B2 (en) | 2004-07-28 | 2012-07-10 | Ethicon Endo-Surgery, Inc. | Surgical stapling instrument having a medical substance dispenser |
| US11998198B2 (en) | 2004-07-28 | 2024-06-04 | Cilag Gmbh International | Surgical stapling instrument incorporating a two-piece E-beam firing mechanism |
| US9072535B2 (en) | 2011-05-27 | 2015-07-07 | Ethicon Endo-Surgery, Inc. | Surgical stapling instruments with rotatable staple deployment arrangements |
| US7669746B2 (en) | 2005-08-31 | 2010-03-02 | Ethicon Endo-Surgery, Inc. | Staple cartridges for forming staples having differing formed staple heights |
| US9237891B2 (en) | 2005-08-31 | 2016-01-19 | Ethicon Endo-Surgery, Inc. | Robotically-controlled surgical stapling devices that produce formed staples having different lengths |
| US7934630B2 (en) | 2005-08-31 | 2011-05-03 | Ethicon Endo-Surgery, Inc. | Staple cartridges for forming staples having differing formed staple heights |
| US11484312B2 (en) | 2005-08-31 | 2022-11-01 | Cilag Gmbh International | Staple cartridge comprising a staple driver arrangement |
| US10159482B2 (en) | 2005-08-31 | 2018-12-25 | Ethicon Llc | Fastener cartridge assembly comprising a fixed anvil and different staple heights |
| US8365976B2 (en) | 2006-09-29 | 2013-02-05 | Ethicon Endo-Surgery, Inc. | Surgical staples having dissolvable, bioabsorbable or biofragmentable portions and stapling instruments for deploying the same |
| US11246590B2 (en) | 2005-08-31 | 2022-02-15 | Cilag Gmbh International | Staple cartridge including staple drivers having different unfired heights |
| US8991676B2 (en) | 2007-03-15 | 2015-03-31 | Ethicon Endo-Surgery, Inc. | Surgical staple having a slidable crown |
| US20070106317A1 (en) | 2005-11-09 | 2007-05-10 | Shelton Frederick E Iv | Hydraulically and electrically actuated articulation joints for surgical instruments |
| US7845537B2 (en) | 2006-01-31 | 2010-12-07 | Ethicon Endo-Surgery, Inc. | Surgical instrument having recording capabilities |
| US11793518B2 (en) | 2006-01-31 | 2023-10-24 | Cilag Gmbh International | Powered surgical instruments with firing system lockout arrangements |
| US7753904B2 (en) | 2006-01-31 | 2010-07-13 | Ethicon Endo-Surgery, Inc. | Endoscopic surgical instrument with a handle that can articulate with respect to the shaft |
| US8708213B2 (en) | 2006-01-31 | 2014-04-29 | Ethicon Endo-Surgery, Inc. | Surgical instrument having a feedback system |
| US8186555B2 (en) | 2006-01-31 | 2012-05-29 | Ethicon Endo-Surgery, Inc. | Motor-driven surgical cutting and fastening instrument with mechanical closure system |
| US8820603B2 (en) | 2006-01-31 | 2014-09-02 | Ethicon Endo-Surgery, Inc. | Accessing data stored in a memory of a surgical instrument |
| US11224427B2 (en) | 2006-01-31 | 2022-01-18 | Cilag Gmbh International | Surgical stapling system including a console and retraction assembly |
| US11278279B2 (en) | 2006-01-31 | 2022-03-22 | Cilag Gmbh International | Surgical instrument assembly |
| US20110290856A1 (en) | 2006-01-31 | 2011-12-01 | Ethicon Endo-Surgery, Inc. | Robotically-controlled surgical instrument with force-feedback capabilities |
| US20110024477A1 (en) | 2009-02-06 | 2011-02-03 | Hall Steven G | Driven Surgical Stapler Improvements |
| US20120292367A1 (en) | 2006-01-31 | 2012-11-22 | Ethicon Endo-Surgery, Inc. | Robotically-controlled end effector |
| US8992422B2 (en) | 2006-03-23 | 2015-03-31 | Ethicon Endo-Surgery, Inc. | Robotically-controlled endoscopic accessory channel |
| US8322455B2 (en) | 2006-06-27 | 2012-12-04 | Ethicon Endo-Surgery, Inc. | Manually driven surgical cutting and fastening instrument |
| US10568652B2 (en) | 2006-09-29 | 2020-02-25 | Ethicon Llc | Surgical staples having attached drivers of different heights and stapling instruments for deploying the same |
| US11980366B2 (en) | 2006-10-03 | 2024-05-14 | Cilag Gmbh International | Surgical instrument |
| US8684253B2 (en) | 2007-01-10 | 2014-04-01 | Ethicon Endo-Surgery, Inc. | Surgical instrument with wireless communication between a control unit of a robotic system and remote sensor |
| US8652120B2 (en) | 2007-01-10 | 2014-02-18 | Ethicon Endo-Surgery, Inc. | Surgical instrument with wireless communication between control unit and sensor transponders |
| US11291441B2 (en) | 2007-01-10 | 2022-04-05 | Cilag Gmbh International | Surgical instrument with wireless communication between control unit and remote sensor |
| US8632535B2 (en) | 2007-01-10 | 2014-01-21 | Ethicon Endo-Surgery, Inc. | Interlock and surgical instrument including same |
| US11039836B2 (en) | 2007-01-11 | 2021-06-22 | Cilag Gmbh International | Staple cartridge for use with a surgical stapling instrument |
| US8540128B2 (en) | 2007-01-11 | 2013-09-24 | Ethicon Endo-Surgery, Inc. | Surgical stapling device with a curved end effector |
| US8893946B2 (en) | 2007-03-28 | 2014-11-25 | Ethicon Endo-Surgery, Inc. | Laparoscopic tissue thickness and clamp load measuring devices |
| US8931682B2 (en) | 2007-06-04 | 2015-01-13 | Ethicon Endo-Surgery, Inc. | Robotically-controlled shaft based rotary drive systems for surgical instruments |
| US11564682B2 (en) | 2007-06-04 | 2023-01-31 | Cilag Gmbh International | Surgical stapler device |
| US7753245B2 (en) | 2007-06-22 | 2010-07-13 | Ethicon Endo-Surgery, Inc. | Surgical stapling instruments |
| US11849941B2 (en) | 2007-06-29 | 2023-12-26 | Cilag Gmbh International | Staple cartridge having staple cavities extending at a transverse angle relative to a longitudinal cartridge axis |
| US7819298B2 (en) | 2008-02-14 | 2010-10-26 | Ethicon Endo-Surgery, Inc. | Surgical stapling apparatus with control features operable with one hand |
| US7866527B2 (en) | 2008-02-14 | 2011-01-11 | Ethicon Endo-Surgery, Inc. | Surgical stapling apparatus with interlockable firing system |
| US8758391B2 (en) | 2008-02-14 | 2014-06-24 | Ethicon Endo-Surgery, Inc. | Interchangeable tools for surgical instruments |
| JP5410110B2 (ja) | 2008-02-14 | 2014-02-05 | エシコン・エンド−サージェリィ・インコーポレイテッド | Rf電極を有する外科用切断・固定器具 |
| US9179912B2 (en) | 2008-02-14 | 2015-11-10 | Ethicon Endo-Surgery, Inc. | Robotically-controlled motorized surgical cutting and fastening instrument |
| US8636736B2 (en) | 2008-02-14 | 2014-01-28 | Ethicon Endo-Surgery, Inc. | Motorized surgical cutting and fastening instrument |
| US11986183B2 (en) | 2008-02-14 | 2024-05-21 | Cilag Gmbh International | Surgical cutting and fastening instrument comprising a plurality of sensors to measure an electrical parameter |
| US8573465B2 (en) | 2008-02-14 | 2013-11-05 | Ethicon Endo-Surgery, Inc. | Robotically-controlled surgical end effector system with rotary actuated closure systems |
| US11272927B2 (en) | 2008-02-15 | 2022-03-15 | Cilag Gmbh International | Layer arrangements for surgical staple cartridges |
| US9615826B2 (en) | 2010-09-30 | 2017-04-11 | Ethicon Endo-Surgery, Llc | Multiple thickness implantable layers for surgical stapling devices |
| US9005230B2 (en) | 2008-09-23 | 2015-04-14 | Ethicon Endo-Surgery, Inc. | Motorized surgical instrument |
| US8210411B2 (en) | 2008-09-23 | 2012-07-03 | Ethicon Endo-Surgery, Inc. | Motor-driven surgical cutting instrument |
| US9386983B2 (en) | 2008-09-23 | 2016-07-12 | Ethicon Endo-Surgery, Llc | Robotically-controlled motorized surgical instrument |
| US11648005B2 (en) | 2008-09-23 | 2023-05-16 | Cilag Gmbh International | Robotically-controlled motorized surgical instrument with an end effector |
| US8608045B2 (en) | 2008-10-10 | 2013-12-17 | Ethicon Endo-Sugery, Inc. | Powered surgical cutting and stapling apparatus with manually retractable firing system |
| US8517239B2 (en) | 2009-02-05 | 2013-08-27 | Ethicon Endo-Surgery, Inc. | Surgical stapling instrument comprising a magnetic element driver |
| US8444036B2 (en) | 2009-02-06 | 2013-05-21 | Ethicon Endo-Surgery, Inc. | Motor driven surgical fastener device with mechanisms for adjusting a tissue gap within the end effector |
| WO2010090940A1 (en) | 2009-02-06 | 2010-08-12 | Ethicon Endo-Surgery, Inc. | Driven surgical stapler improvements |
| JP5537122B2 (ja) * | 2009-11-02 | 2014-07-02 | 株式会社マキタ | 電動工具 |
| US8220688B2 (en) | 2009-12-24 | 2012-07-17 | Ethicon Endo-Surgery, Inc. | Motor-driven surgical cutting instrument with electric actuator directional control assembly |
| US8851354B2 (en) | 2009-12-24 | 2014-10-07 | Ethicon Endo-Surgery, Inc. | Surgical cutting instrument that analyzes tissue thickness |
| US9475180B2 (en) | 2010-01-07 | 2016-10-25 | Black & Decker Inc. | Power tool having rotary input control |
| US8418778B2 (en) * | 2010-01-07 | 2013-04-16 | Black & Decker Inc. | Power screwdriver having rotary input control |
| US9266178B2 (en) | 2010-01-07 | 2016-02-23 | Black & Decker Inc. | Power tool having rotary input control |
| US8783543B2 (en) | 2010-07-30 | 2014-07-22 | Ethicon Endo-Surgery, Inc. | Tissue acquisition arrangements and methods for surgical stapling devices |
| US9839420B2 (en) | 2010-09-30 | 2017-12-12 | Ethicon Llc | Tissue thickness compensator comprising at least one medicament |
| US11298125B2 (en) | 2010-09-30 | 2022-04-12 | Cilag Gmbh International | Tissue stapler having a thickness compensator |
| US10945731B2 (en) | 2010-09-30 | 2021-03-16 | Ethicon Llc | Tissue thickness compensator comprising controlled release and expansion |
| US12213666B2 (en) | 2010-09-30 | 2025-02-04 | Cilag Gmbh International | Tissue thickness compensator comprising layers |
| US9364233B2 (en) | 2010-09-30 | 2016-06-14 | Ethicon Endo-Surgery, Llc | Tissue thickness compensators for circular surgical staplers |
| US9386988B2 (en) | 2010-09-30 | 2016-07-12 | Ethicon End-Surgery, LLC | Retainer assembly including a tissue thickness compensator |
| US9272406B2 (en) | 2010-09-30 | 2016-03-01 | Ethicon Endo-Surgery, Llc | Fastener cartridge comprising a cutting member for releasing a tissue thickness compensator |
| US9517063B2 (en) | 2012-03-28 | 2016-12-13 | Ethicon Endo-Surgery, Llc | Movable member for use with a tissue thickness compensator |
| US20120080336A1 (en) | 2010-09-30 | 2012-04-05 | Ethicon Endo-Surgery, Inc. | Staple cartridge comprising staples positioned within a compressible portion thereof |
| US9629814B2 (en) | 2010-09-30 | 2017-04-25 | Ethicon Endo-Surgery, Llc | Tissue thickness compensator configured to redistribute compressive forces |
| US11812965B2 (en) | 2010-09-30 | 2023-11-14 | Cilag Gmbh International | Layer of material for a surgical end effector |
| US11925354B2 (en) | 2010-09-30 | 2024-03-12 | Cilag Gmbh International | Staple cartridge comprising staples positioned within a compressible portion thereof |
| US8695866B2 (en) | 2010-10-01 | 2014-04-15 | Ethicon Endo-Surgery, Inc. | Surgical instrument having a power control circuit |
| DE102010056524B4 (de) * | 2010-12-29 | 2019-11-28 | Robert Bosch Gmbh | Tragbares Werkzeug und Verfahren zum Durchführen von Arbeitsvorgängen mit diesem Werkzeug |
| JP6026509B2 (ja) | 2011-04-29 | 2016-11-16 | エシコン・エンド−サージェリィ・インコーポレイテッドEthicon Endo−Surgery,Inc. | ステープルカートリッジ自体の圧縮可能部分内に配置されたステープルを含むステープルカートリッジ |
| US11207064B2 (en) | 2011-05-27 | 2021-12-28 | Cilag Gmbh International | Automated end effector component reloading system for use with a robotic system |
| DE102011077442B4 (de) * | 2011-06-14 | 2025-06-26 | Robert Bosch Gmbh | Getriebelose Handwerkzeugmaschine |
| JP2013094864A (ja) * | 2011-10-31 | 2013-05-20 | Hitachi Koki Co Ltd | インパクト工具 |
| US8832944B2 (en) * | 2011-11-03 | 2014-09-16 | Yen-Fu Liao | Electric hair cutter and control method for motor rotational speed thereof |
| US9044230B2 (en) | 2012-02-13 | 2015-06-02 | Ethicon Endo-Surgery, Inc. | Surgical cutting and fastening instrument with apparatus for determining cartridge and firing motion status |
| JP2013184266A (ja) * | 2012-03-09 | 2013-09-19 | Hitachi Koki Co Ltd | 電動工具及び電動工具システム |
| RU2014143258A (ru) | 2012-03-28 | 2016-05-20 | Этикон Эндо-Серджери, Инк. | Компенсатор толщины ткани, содержащий множество слоев |
| JP6105041B2 (ja) | 2012-03-28 | 2017-03-29 | エシコン・エンド−サージェリィ・インコーポレイテッドEthicon Endo−Surgery,Inc. | 低圧環境を画定するカプセルを含む組織厚コンペンセーター |
| RU2644272C2 (ru) | 2012-03-28 | 2018-02-08 | Этикон Эндо-Серджери, Инк. | Узел ограничения, включающий компенсатор толщины ткани |
| US9101358B2 (en) | 2012-06-15 | 2015-08-11 | Ethicon Endo-Surgery, Inc. | Articulatable surgical instrument comprising a firing drive |
| US11202631B2 (en) | 2012-06-28 | 2021-12-21 | Cilag Gmbh International | Stapling assembly comprising a firing lockout |
| US20140001234A1 (en) | 2012-06-28 | 2014-01-02 | Ethicon Endo-Surgery, Inc. | Coupling arrangements for attaching surgical end effectors to drive systems therefor |
| EP2866686A1 (en) | 2012-06-28 | 2015-05-06 | Ethicon Endo-Surgery, Inc. | Empty clip cartridge lockout |
| US9204879B2 (en) | 2012-06-28 | 2015-12-08 | Ethicon Endo-Surgery, Inc. | Flexible drive member |
| BR112014032776B1 (pt) | 2012-06-28 | 2021-09-08 | Ethicon Endo-Surgery, Inc | Sistema de instrumento cirúrgico e kit cirúrgico para uso com um sistema de instrumento cirúrgico |
| US20140001231A1 (en) | 2012-06-28 | 2014-01-02 | Ethicon Endo-Surgery, Inc. | Firing system lockout arrangements for surgical instruments |
| US9289256B2 (en) | 2012-06-28 | 2016-03-22 | Ethicon Endo-Surgery, Llc | Surgical end effectors having angled tissue-contacting surfaces |
| US12383267B2 (en) | 2012-06-28 | 2025-08-12 | Cilag Gmbh International | Robotically powered surgical device with manually-actuatable reversing system |
| US9282974B2 (en) | 2012-06-28 | 2016-03-15 | Ethicon Endo-Surgery, Llc | Empty clip cartridge lockout |
| CN103944419B (zh) * | 2013-01-17 | 2016-07-06 | 北京大风时代科技有限责任公司 | 功率型倍压驱动电路及使用该功率型倍压驱动电路的电钉枪 |
| JP6382235B2 (ja) | 2013-03-01 | 2018-08-29 | エシコン・エンド−サージェリィ・インコーポレイテッドEthicon Endo−Surgery,Inc. | 信号通信用の導電路を備えた関節運動可能な外科用器具 |
| JP6345707B2 (ja) | 2013-03-01 | 2018-06-20 | エシコン・エンド−サージェリィ・インコーポレイテッドEthicon Endo−Surgery,Inc. | ソフトストップを備えた外科用器具 |
| US9629629B2 (en) | 2013-03-14 | 2017-04-25 | Ethicon Endo-Surgey, LLC | Control systems for surgical instruments |
| US10470762B2 (en) | 2013-03-14 | 2019-11-12 | Ethicon Llc | Multi-function motor for a surgical instrument |
| BR112015026109B1 (pt) | 2013-04-16 | 2022-02-22 | Ethicon Endo-Surgery, Inc | Instrumento cirúrgico |
| US9867612B2 (en) | 2013-04-16 | 2018-01-16 | Ethicon Llc | Powered surgical stapler |
| CN104133500A (zh) * | 2013-05-02 | 2014-11-05 | 中国气动工业股份有限公司 | 应用于感应锁固元件的控制扭矩方法 |
| JP2015024474A (ja) * | 2013-07-26 | 2015-02-05 | 日立工機株式会社 | インパクト工具 |
| EP3030381B1 (en) * | 2013-08-08 | 2018-05-09 | Atlas Copco Industrial Technique AB | Torque delivering power tool with flywheel |
| EP2835198A1 (de) * | 2013-08-09 | 2015-02-11 | HILTI Aktiengesellschaft | Intuitive, adaptive Anbohrfunktion |
| JP6416260B2 (ja) | 2013-08-23 | 2018-10-31 | エシコン エルエルシー | 動力付き外科用器具のための発射部材後退装置 |
| US20150053743A1 (en) | 2013-08-23 | 2015-02-26 | Ethicon Endo-Surgery, Inc. | Error detection arrangements for surgical instrument assemblies |
| US20160207187A1 (en) * | 2013-08-30 | 2016-07-21 | Hitachi Koki Co., Ltd. | Drilling Device |
| US10271840B2 (en) * | 2013-09-18 | 2019-04-30 | Covidien Lp | Apparatus and method for differentiating between tissue and mechanical obstruction in a surgical instrument |
| JP6090581B2 (ja) * | 2013-09-28 | 2017-03-08 | 日立工機株式会社 | 電動工具 |
| WO2015061370A1 (en) | 2013-10-21 | 2015-04-30 | Milwaukee Electric Tool Corporation | Adapter for power tool devices |
| DE102013222550B4 (de) * | 2013-11-06 | 2024-12-19 | Robert Bosch Gmbh | Handwerkzeugmaschine |
| KR101549115B1 (ko) | 2013-12-19 | 2015-09-01 | 계양전기 주식회사 | 전동공구의 스핀들락 장치 |
| US9962161B2 (en) | 2014-02-12 | 2018-05-08 | Ethicon Llc | Deliverable surgical instrument |
| CN106232029B (zh) | 2014-02-24 | 2019-04-12 | 伊西康内外科有限责任公司 | 包括击发构件锁定件的紧固系统 |
| US12232723B2 (en) | 2014-03-26 | 2025-02-25 | Cilag Gmbh International | Systems and methods for controlling a segmented circuit |
| US9733663B2 (en) | 2014-03-26 | 2017-08-15 | Ethicon Llc | Power management through segmented circuit and variable voltage protection |
| US20150272571A1 (en) | 2014-03-26 | 2015-10-01 | Ethicon Endo-Surgery, Inc. | Surgical instrument utilizing sensor adaptation |
| BR112016021943B1 (pt) | 2014-03-26 | 2022-06-14 | Ethicon Endo-Surgery, Llc | Instrumento cirúrgico para uso por um operador em um procedimento cirúrgico |
| US10004497B2 (en) | 2014-03-26 | 2018-06-26 | Ethicon Llc | Interface systems for use with surgical instruments |
| JP6128037B2 (ja) * | 2014-03-28 | 2017-05-17 | 日立工機株式会社 | 電動工具 |
| BR112016023825B1 (pt) | 2014-04-16 | 2022-08-02 | Ethicon Endo-Surgery, Llc | Cartucho de grampos para uso com um grampeador cirúrgico e cartucho de grampos para uso com um instrumento cirúrgico |
| JP6532889B2 (ja) | 2014-04-16 | 2019-06-19 | エシコン エルエルシーEthicon LLC | 締結具カートリッジ組立体及びステープル保持具カバー配置構成 |
| US20150297223A1 (en) | 2014-04-16 | 2015-10-22 | Ethicon Endo-Surgery, Inc. | Fastener cartridges including extensions having different configurations |
| BR112016023698B1 (pt) | 2014-04-16 | 2022-07-26 | Ethicon Endo-Surgery, Llc | Cartucho de prendedores para uso com um instrumento cirúrgico |
| US10542988B2 (en) | 2014-04-16 | 2020-01-28 | Ethicon Llc | End effector comprising an anvil including projections extending therefrom |
| US9801627B2 (en) | 2014-09-26 | 2017-10-31 | Ethicon Llc | Fastener cartridge for creating a flexible staple line |
| US9724094B2 (en) | 2014-09-05 | 2017-08-08 | Ethicon Llc | Adjunct with integrated sensors to quantify tissue compression |
| US11311294B2 (en) | 2014-09-05 | 2022-04-26 | Cilag Gmbh International | Powered medical device including measurement of closure state of jaws |
| BR112017004361B1 (pt) | 2014-09-05 | 2023-04-11 | Ethicon Llc | Sistema eletrônico para um instrumento cirúrgico |
| US10105142B2 (en) | 2014-09-18 | 2018-10-23 | Ethicon Llc | Surgical stapler with plurality of cutting elements |
| US11523821B2 (en) | 2014-09-26 | 2022-12-13 | Cilag Gmbh International | Method for creating a flexible staple line |
| JP6648119B2 (ja) | 2014-09-26 | 2020-02-14 | エシコン エルエルシーEthicon LLC | 外科ステープル留めバットレス及び付属物材料 |
| US10076325B2 (en) | 2014-10-13 | 2018-09-18 | Ethicon Llc | Surgical stapling apparatus comprising a tissue stop |
| US9924944B2 (en) | 2014-10-16 | 2018-03-27 | Ethicon Llc | Staple cartridge comprising an adjunct material |
| CN104362910A (zh) * | 2014-10-22 | 2015-02-18 | 常州格力博有限公司 | 基于直流无刷电动工具的恒功率双速控制系统及控制方法 |
| US11141153B2 (en) | 2014-10-29 | 2021-10-12 | Cilag Gmbh International | Staple cartridges comprising driver arrangements |
| US10517594B2 (en) | 2014-10-29 | 2019-12-31 | Ethicon Llc | Cartridge assemblies for surgical staplers |
| US9844376B2 (en) | 2014-11-06 | 2017-12-19 | Ethicon Llc | Staple cartridge comprising a releasable adjunct material |
| US10736636B2 (en) | 2014-12-10 | 2020-08-11 | Ethicon Llc | Articulatable surgical instrument system |
| US9987000B2 (en) | 2014-12-18 | 2018-06-05 | Ethicon Llc | Surgical instrument assembly comprising a flexible articulation system |
| US10188385B2 (en) | 2014-12-18 | 2019-01-29 | Ethicon Llc | Surgical instrument system comprising lockable systems |
| US9844375B2 (en) | 2014-12-18 | 2017-12-19 | Ethicon Llc | Drive arrangements for articulatable surgical instruments |
| US10085748B2 (en) | 2014-12-18 | 2018-10-02 | Ethicon Llc | Locking arrangements for detachable shaft assemblies with articulatable surgical end effectors |
| RU2703684C2 (ru) | 2014-12-18 | 2019-10-21 | ЭТИКОН ЭНДО-СЕРДЖЕРИ, ЭлЭлСи | Хирургический инструмент с упором, который выполнен с возможностью избирательного перемещения относительно кассеты со скобами вокруг дискретной неподвижной оси |
| US10004501B2 (en) | 2014-12-18 | 2018-06-26 | Ethicon Llc | Surgical instruments with improved closure arrangements |
| US9844374B2 (en) | 2014-12-18 | 2017-12-19 | Ethicon Llc | Surgical instrument systems comprising an articulatable end effector and means for adjusting the firing stroke of a firing member |
| US10245028B2 (en) | 2015-02-27 | 2019-04-02 | Ethicon Llc | Power adapter for a surgical instrument |
| US11154301B2 (en) | 2015-02-27 | 2021-10-26 | Cilag Gmbh International | Modular stapling assembly |
| US10406662B2 (en) * | 2015-02-27 | 2019-09-10 | Black & Decker Inc. | Impact tool with control mode |
| US10180463B2 (en) | 2015-02-27 | 2019-01-15 | Ethicon Llc | Surgical apparatus configured to assess whether a performance parameter of the surgical apparatus is within an acceptable performance band |
| US10548504B2 (en) | 2015-03-06 | 2020-02-04 | Ethicon Llc | Overlaid multi sensor radio frequency (RF) electrode system to measure tissue compression |
| US9901342B2 (en) | 2015-03-06 | 2018-02-27 | Ethicon Endo-Surgery, Llc | Signal and power communication system positioned on a rotatable shaft |
| JP2020121162A (ja) | 2015-03-06 | 2020-08-13 | エシコン エルエルシーEthicon LLC | 測定の安定性要素、クリープ要素、及び粘弾性要素を決定するためのセンサデータの時間依存性評価 |
| US9924961B2 (en) | 2015-03-06 | 2018-03-27 | Ethicon Endo-Surgery, Llc | Interactive feedback system for powered surgical instruments |
| US9808246B2 (en) | 2015-03-06 | 2017-11-07 | Ethicon Endo-Surgery, Llc | Method of operating a powered surgical instrument |
| US10687806B2 (en) | 2015-03-06 | 2020-06-23 | Ethicon Llc | Adaptive tissue compression techniques to adjust closure rates for multiple tissue types |
| US10441279B2 (en) | 2015-03-06 | 2019-10-15 | Ethicon Llc | Multiple level thresholds to modify operation of powered surgical instruments |
| US9993248B2 (en) | 2015-03-06 | 2018-06-12 | Ethicon Endo-Surgery, Llc | Smart sensors with local signal processing |
| US10617412B2 (en) | 2015-03-06 | 2020-04-14 | Ethicon Llc | System for detecting the mis-insertion of a staple cartridge into a surgical stapler |
| US10245033B2 (en) | 2015-03-06 | 2019-04-02 | Ethicon Llc | Surgical instrument comprising a lockable battery housing |
| US10213201B2 (en) | 2015-03-31 | 2019-02-26 | Ethicon Llc | Stapling end effector configured to compensate for an uneven gap between a first jaw and a second jaw |
| US10637379B2 (en) * | 2015-04-07 | 2020-04-28 | Black & Decker Inc. | Power tool with automatic feathering mode |
| US10603770B2 (en) | 2015-05-04 | 2020-03-31 | Milwaukee Electric Tool Corporation | Adaptive impact blow detection |
| US10295990B2 (en) | 2015-05-18 | 2019-05-21 | Milwaukee Electric Tool Corporation | User interface for tool configuration and data capture |
| KR102074052B1 (ko) | 2015-06-02 | 2020-02-05 | 밀워키 일렉트릭 툴 코포레이션 | 전자 클러치를 갖는 다중-속도 전동 공구 |
| WO2016196899A1 (en) | 2015-06-05 | 2016-12-08 | Ingersoll-Rand Company | Power tool housings |
| US10615670B2 (en) * | 2015-06-05 | 2020-04-07 | Ingersoll-Rand Industrial U.S., Inc. | Power tool user interfaces |
| US11491616B2 (en) | 2015-06-05 | 2022-11-08 | Ingersoll-Rand Industrial U.S., Inc. | Power tools with user-selectable operational modes |
| WO2016196979A1 (en) | 2015-06-05 | 2016-12-08 | Ingersoll-Rand Company | Impact tools with ring gear alignment features |
| JP2017001115A (ja) * | 2015-06-05 | 2017-01-05 | 株式会社マキタ | 作業工具 |
| EP3307490A4 (en) | 2015-06-15 | 2018-10-31 | Milwaukee Electric Tool Corporation | Power tool communication system |
| WO2016205404A1 (en) | 2015-06-15 | 2016-12-22 | Milwaukee Electric Tool Corporation | Hydraulic crimper tool |
| CN207096983U (zh) | 2015-06-16 | 2018-03-13 | 米沃奇电动工具公司 | 包括电动工具和外部设备的系统、包括外部设备和服务器的系统和服务器 |
| US10617418B2 (en) | 2015-08-17 | 2020-04-14 | Ethicon Llc | Implantable layers for a surgical instrument |
| US10345797B2 (en) | 2015-09-18 | 2019-07-09 | Milwaukee Electric Tool Corporation | Power tool operation recording and playback |
| US10327769B2 (en) | 2015-09-23 | 2019-06-25 | Ethicon Llc | Surgical stapler having motor control based on a drive system component |
| US10105139B2 (en) | 2015-09-23 | 2018-10-23 | Ethicon Llc | Surgical stapler having downstream current-based motor control |
| US10363036B2 (en) | 2015-09-23 | 2019-07-30 | Ethicon Llc | Surgical stapler having force-based motor control |
| US10238386B2 (en) | 2015-09-23 | 2019-03-26 | Ethicon Llc | Surgical stapler having motor control based on an electrical parameter related to a motor current |
| US10299878B2 (en) | 2015-09-25 | 2019-05-28 | Ethicon Llc | Implantable adjunct systems for determining adjunct skew |
| US10980539B2 (en) | 2015-09-30 | 2021-04-20 | Ethicon Llc | Implantable adjunct comprising bonded layers |
| US10736633B2 (en) | 2015-09-30 | 2020-08-11 | Ethicon Llc | Compressible adjunct with looping members |
| US10172620B2 (en) | 2015-09-30 | 2019-01-08 | Ethicon Llc | Compressible adjuncts with bonding nodes |
| US11890015B2 (en) | 2015-09-30 | 2024-02-06 | Cilag Gmbh International | Compressible adjunct with crossing spacer fibers |
| US10404136B2 (en) * | 2015-10-14 | 2019-09-03 | Black & Decker Inc. | Power tool with separate motor case compartment |
| SE539838C2 (en) * | 2015-10-15 | 2017-12-19 | Atlas Copco Ind Technique Ab | Electric handheld pulse tool |
| EP3805632B1 (en) | 2015-10-30 | 2023-05-17 | Milwaukee Electric Tool Corporation | Remote light control, configuration, and monitoring |
| US10377008B2 (en) * | 2015-10-30 | 2019-08-13 | Transform Sr Brands Llc | Position feedback control method and power tool |
| US10478950B2 (en) | 2015-11-26 | 2019-11-19 | Makita Corporation | Power tool |
| JP6400636B2 (ja) * | 2015-11-26 | 2018-10-03 | 株式会社マキタ | 電動工具 |
| EP3391491B1 (en) * | 2015-12-14 | 2020-08-12 | Milwaukee Electric Tool Corporation | Overload detection in a power tool |
| EP3202537B1 (en) | 2015-12-17 | 2019-06-05 | Milwaukee Electric Tool Corporation | System and method for configuring a power tool with an impact mechanism |
| US10368865B2 (en) | 2015-12-30 | 2019-08-06 | Ethicon Llc | Mechanisms for compensating for drivetrain failure in powered surgical instruments |
| US10292704B2 (en) | 2015-12-30 | 2019-05-21 | Ethicon Llc | Mechanisms for compensating for battery pack failure in powered surgical instruments |
| US10265068B2 (en) | 2015-12-30 | 2019-04-23 | Ethicon Llc | Surgical instruments with separable motors and motor control circuits |
| TWM545024U (zh) | 2016-01-05 | 2017-07-11 | 米沃奇電子工具公司 | 用於電動工具的減震系統 |
| US10994393B2 (en) * | 2016-01-14 | 2021-05-04 | Koki Holdings Co., Ltd. | Rotary impact tool |
| KR101782535B1 (ko) * | 2016-01-28 | 2017-10-24 | 대모 엔지니어링 주식회사 | 유압브레이커 |
| EP3199303A1 (de) * | 2016-01-29 | 2017-08-02 | HILTI Aktiengesellschaft | Handwerkzeugmaschine |
| JP6558737B2 (ja) * | 2016-01-29 | 2019-08-14 | パナソニックIpマネジメント株式会社 | インパクト回転工具 |
| KR102116338B1 (ko) | 2016-02-03 | 2020-06-05 | 밀워키 일렉트릭 툴 코포레이션 | 왕복 톱을 구성하기 위한 시스템들 및 방법들 |
| US11213293B2 (en) | 2016-02-09 | 2022-01-04 | Cilag Gmbh International | Articulatable surgical instruments with single articulation link arrangements |
| JP6911054B2 (ja) | 2016-02-09 | 2021-07-28 | エシコン エルエルシーEthicon LLC | 非対称の関節構成を備えた外科用器具 |
| US10588625B2 (en) | 2016-02-09 | 2020-03-17 | Ethicon Llc | Articulatable surgical instruments with off-axis firing beam arrangements |
| US10258331B2 (en) | 2016-02-12 | 2019-04-16 | Ethicon Llc | Mechanisms for compensating for drivetrain failure in powered surgical instruments |
| US10448948B2 (en) | 2016-02-12 | 2019-10-22 | Ethicon Llc | Mechanisms for compensating for drivetrain failure in powered surgical instruments |
| US11224426B2 (en) | 2016-02-12 | 2022-01-18 | Cilag Gmbh International | Mechanisms for compensating for drivetrain failure in powered surgical instruments |
| DK3419791T3 (da) | 2016-02-25 | 2022-07-04 | Milwaukee Electric Tool Corp | Elværktøj indbefattende en udgangspositionssensor |
| US10376263B2 (en) | 2016-04-01 | 2019-08-13 | Ethicon Llc | Anvil modification members for surgical staplers |
| US10617413B2 (en) | 2016-04-01 | 2020-04-14 | Ethicon Llc | Closure system arrangements for surgical cutting and stapling devices with separate and distinct firing shafts |
| US10426467B2 (en) | 2016-04-15 | 2019-10-01 | Ethicon Llc | Surgical instrument with detection sensors |
| US10405859B2 (en) | 2016-04-15 | 2019-09-10 | Ethicon Llc | Surgical instrument with adjustable stop/start control during a firing motion |
| US10828028B2 (en) | 2016-04-15 | 2020-11-10 | Ethicon Llc | Surgical instrument with multiple program responses during a firing motion |
| US10357247B2 (en) | 2016-04-15 | 2019-07-23 | Ethicon Llc | Surgical instrument with multiple program responses during a firing motion |
| US11179150B2 (en) | 2016-04-15 | 2021-11-23 | Cilag Gmbh International | Systems and methods for controlling a surgical stapling and cutting instrument |
| US10335145B2 (en) | 2016-04-15 | 2019-07-02 | Ethicon Llc | Modular surgical instrument with configurable operating mode |
| US10456137B2 (en) | 2016-04-15 | 2019-10-29 | Ethicon Llc | Staple formation detection mechanisms |
| US11607239B2 (en) | 2016-04-15 | 2023-03-21 | Cilag Gmbh International | Systems and methods for controlling a surgical stapling and cutting instrument |
| US10492783B2 (en) | 2016-04-15 | 2019-12-03 | Ethicon, Llc | Surgical instrument with improved stop/start control during a firing motion |
| US20170296173A1 (en) | 2016-04-18 | 2017-10-19 | Ethicon Endo-Surgery, Llc | Method for operating a surgical instrument |
| US11317917B2 (en) | 2016-04-18 | 2022-05-03 | Cilag Gmbh International | Surgical stapling system comprising a lockable firing assembly |
| US10426469B2 (en) | 2016-04-18 | 2019-10-01 | Ethicon Llc | Surgical instrument comprising a primary firing lockout and a secondary firing lockout |
| US11622392B2 (en) | 2016-06-06 | 2023-04-04 | Milwaukee Electric Tool Corporation | System and method for establishing a wireless connection between power tool and mobile device |
| TWM555274U (zh) | 2016-06-06 | 2018-02-11 | 米沃奇電子工具公司 | 用以與動力工具裝置作連接的行動裝置 |
| JP7265358B2 (ja) * | 2016-06-30 | 2023-04-26 | アトラス・コプコ・インダストリアル・テクニーク・アクチボラグ | 反力が制御された電気パルス工具 |
| US10548673B2 (en) | 2016-08-16 | 2020-02-04 | Ethicon Llc | Surgical tool with a display |
| US20180168598A1 (en) | 2016-12-21 | 2018-06-21 | Ethicon Endo-Surgery, Llc | Staple forming pocket arrangements comprising zoned forming surface grooves |
| JP7010957B2 (ja) | 2016-12-21 | 2022-01-26 | エシコン エルエルシー | ロックアウトを備えるシャフトアセンブリ |
| US10980536B2 (en) | 2016-12-21 | 2021-04-20 | Ethicon Llc | No-cartridge and spent cartridge lockout arrangements for surgical staplers |
| US10588632B2 (en) | 2016-12-21 | 2020-03-17 | Ethicon Llc | Surgical end effectors and firing members thereof |
| US11134942B2 (en) | 2016-12-21 | 2021-10-05 | Cilag Gmbh International | Surgical stapling instruments and staple-forming anvils |
| JP2020501779A (ja) | 2016-12-21 | 2020-01-23 | エシコン エルエルシーEthicon LLC | 外科用ステープル留めシステム |
| US10524789B2 (en) | 2016-12-21 | 2020-01-07 | Ethicon Llc | Laterally actuatable articulation lock arrangements for locking an end effector of a surgical instrument in an articulated configuration |
| CN110114014B (zh) | 2016-12-21 | 2022-08-09 | 爱惜康有限责任公司 | 包括端部执行器闭锁件和击发组件闭锁件的外科器械系统 |
| US10485543B2 (en) | 2016-12-21 | 2019-11-26 | Ethicon Llc | Anvil having a knife slot width |
| US20180168625A1 (en) | 2016-12-21 | 2018-06-21 | Ethicon Endo-Surgery, Llc | Surgical stapling instruments with smart staple cartridges |
| US10675026B2 (en) | 2016-12-21 | 2020-06-09 | Ethicon Llc | Methods of stapling tissue |
| US20180168615A1 (en) | 2016-12-21 | 2018-06-21 | Ethicon Endo-Surgery, Llc | Method of deforming staples from two different types of staple cartridges with the same surgical stapling instrument |
| US20180168608A1 (en) | 2016-12-21 | 2018-06-21 | Ethicon Endo-Surgery, Llc | Surgical instrument system comprising an end effector lockout and a firing assembly lockout |
| JP6983893B2 (ja) | 2016-12-21 | 2021-12-17 | エシコン エルエルシーEthicon LLC | 外科用エンドエフェクタ及び交換式ツールアセンブリのためのロックアウト構成 |
| US10426471B2 (en) | 2016-12-21 | 2019-10-01 | Ethicon Llc | Surgical instrument with multiple failure response modes |
| US10835246B2 (en) | 2016-12-21 | 2020-11-17 | Ethicon Llc | Staple cartridges and arrangements of staples and staple cavities therein |
| US10918385B2 (en) | 2016-12-21 | 2021-02-16 | Ethicon Llc | Surgical system comprising a firing member rotatable into an articulation state to articulate an end effector of the surgical system |
| CN110114003A (zh) | 2016-12-21 | 2019-08-09 | 爱惜康有限责任公司 | 外科缝合系统 |
| US11419606B2 (en) | 2016-12-21 | 2022-08-23 | Cilag Gmbh International | Shaft assembly comprising a clutch configured to adapt the output of a rotary firing member to two different systems |
| JP7010956B2 (ja) | 2016-12-21 | 2022-01-26 | エシコン エルエルシー | 組織をステープル留めする方法 |
| US10758229B2 (en) | 2016-12-21 | 2020-09-01 | Ethicon Llc | Surgical instrument comprising improved jaw control |
| US10568626B2 (en) | 2016-12-21 | 2020-02-25 | Ethicon Llc | Surgical instruments with jaw opening features for increasing a jaw opening distance |
| EP3573788B1 (en) * | 2017-01-24 | 2021-04-21 | Atlas Copco Industrial Technique AB | Electric pulse tool |
| US11653914B2 (en) | 2017-06-20 | 2023-05-23 | Cilag Gmbh International | Systems and methods for controlling motor velocity of a surgical stapling and cutting instrument according to articulation angle of end effector |
| USD879808S1 (en) | 2017-06-20 | 2020-03-31 | Ethicon Llc | Display panel with graphical user interface |
| US10881396B2 (en) | 2017-06-20 | 2021-01-05 | Ethicon Llc | Surgical instrument with variable duration trigger arrangement |
| USD890784S1 (en) | 2017-06-20 | 2020-07-21 | Ethicon Llc | Display panel with changeable graphical user interface |
| US11071554B2 (en) | 2017-06-20 | 2021-07-27 | Cilag Gmbh International | Closed loop feedback control of motor velocity of a surgical stapling and cutting instrument based on magnitude of velocity error measurements |
| US10368864B2 (en) | 2017-06-20 | 2019-08-06 | Ethicon Llc | Systems and methods for controlling displaying motor velocity for a surgical instrument |
| US10888321B2 (en) | 2017-06-20 | 2021-01-12 | Ethicon Llc | Systems and methods for controlling velocity of a displacement member of a surgical stapling and cutting instrument |
| US10779820B2 (en) | 2017-06-20 | 2020-09-22 | Ethicon Llc | Systems and methods for controlling motor speed according to user input for a surgical instrument |
| US10881399B2 (en) | 2017-06-20 | 2021-01-05 | Ethicon Llc | Techniques for adaptive control of motor velocity of a surgical stapling and cutting instrument |
| US11090046B2 (en) | 2017-06-20 | 2021-08-17 | Cilag Gmbh International | Systems and methods for controlling displacement member motion of a surgical stapling and cutting instrument |
| US10307170B2 (en) | 2017-06-20 | 2019-06-04 | Ethicon Llc | Method for closed loop control of motor velocity of a surgical stapling and cutting instrument |
| US10624633B2 (en) | 2017-06-20 | 2020-04-21 | Ethicon Llc | Systems and methods for controlling motor velocity of a surgical stapling and cutting instrument |
| US10980537B2 (en) | 2017-06-20 | 2021-04-20 | Ethicon Llc | Closed loop feedback control of motor velocity of a surgical stapling and cutting instrument based on measured time over a specified number of shaft rotations |
| US11517325B2 (en) | 2017-06-20 | 2022-12-06 | Cilag Gmbh International | Closed loop feedback control of motor velocity of a surgical stapling and cutting instrument based on measured displacement distance traveled over a specified time interval |
| US10327767B2 (en) | 2017-06-20 | 2019-06-25 | Ethicon Llc | Control of motor velocity of a surgical stapling and cutting instrument based on angle of articulation |
| US10646220B2 (en) | 2017-06-20 | 2020-05-12 | Ethicon Llc | Systems and methods for controlling displacement member velocity for a surgical instrument |
| US10813639B2 (en) | 2017-06-20 | 2020-10-27 | Ethicon Llc | Closed loop feedback control of motor velocity of a surgical stapling and cutting instrument based on system conditions |
| US11382638B2 (en) | 2017-06-20 | 2022-07-12 | Cilag Gmbh International | Closed loop feedback control of motor velocity of a surgical stapling and cutting instrument based on measured time over a specified displacement distance |
| USD879809S1 (en) | 2017-06-20 | 2020-03-31 | Ethicon Llc | Display panel with changeable graphical user interface |
| US12490980B2 (en) | 2017-06-20 | 2025-12-09 | Cilag Gmbh International | Surgical instrument having controllable articulation velocity |
| US10390841B2 (en) | 2017-06-20 | 2019-08-27 | Ethicon Llc | Control of motor velocity of a surgical stapling and cutting instrument based on angle of articulation |
| US11090049B2 (en) | 2017-06-27 | 2021-08-17 | Cilag Gmbh International | Staple forming pocket arrangements |
| US10993716B2 (en) | 2017-06-27 | 2021-05-04 | Ethicon Llc | Surgical anvil arrangements |
| US10856869B2 (en) | 2017-06-27 | 2020-12-08 | Ethicon Llc | Surgical anvil arrangements |
| US11324503B2 (en) | 2017-06-27 | 2022-05-10 | Cilag Gmbh International | Surgical firing member arrangements |
| US10772629B2 (en) | 2017-06-27 | 2020-09-15 | Ethicon Llc | Surgical anvil arrangements |
| US11266405B2 (en) | 2017-06-27 | 2022-03-08 | Cilag Gmbh International | Surgical anvil manufacturing methods |
| USD906355S1 (en) | 2017-06-28 | 2020-12-29 | Ethicon Llc | Display screen or portion thereof with a graphical user interface for a surgical instrument |
| US10695057B2 (en) | 2017-06-28 | 2020-06-30 | Ethicon Llc | Surgical instrument lockout arrangement |
| US11564686B2 (en) | 2017-06-28 | 2023-01-31 | Cilag Gmbh International | Surgical shaft assemblies with flexible interfaces |
| USD854151S1 (en) | 2017-06-28 | 2019-07-16 | Ethicon Llc | Surgical instrument shaft |
| EP3420947B1 (en) | 2017-06-28 | 2022-05-25 | Cilag GmbH International | Surgical instrument comprising selectively actuatable rotatable couplers |
| US11259805B2 (en) | 2017-06-28 | 2022-03-01 | Cilag Gmbh International | Surgical instrument comprising firing member supports |
| US11484310B2 (en) | 2017-06-28 | 2022-11-01 | Cilag Gmbh International | Surgical instrument comprising a shaft including a closure tube profile |
| US10765427B2 (en) | 2017-06-28 | 2020-09-08 | Ethicon Llc | Method for articulating a surgical instrument |
| US11246592B2 (en) | 2017-06-28 | 2022-02-15 | Cilag Gmbh International | Surgical instrument comprising an articulation system lockable to a frame |
| USD851762S1 (en) | 2017-06-28 | 2019-06-18 | Ethicon Llc | Anvil |
| US10903685B2 (en) | 2017-06-28 | 2021-01-26 | Ethicon Llc | Surgical shaft assemblies with slip ring assemblies forming capacitive channels |
| USD869655S1 (en) | 2017-06-28 | 2019-12-10 | Ethicon Llc | Surgical fastener cartridge |
| US10716614B2 (en) | 2017-06-28 | 2020-07-21 | Ethicon Llc | Surgical shaft assemblies with slip ring assemblies with increased contact pressure |
| US10211586B2 (en) | 2017-06-28 | 2019-02-19 | Ethicon Llc | Surgical shaft assemblies with watertight housings |
| US10398434B2 (en) | 2017-06-29 | 2019-09-03 | Ethicon Llc | Closed loop velocity control of closure member for robotic surgical instrument |
| US11007022B2 (en) | 2017-06-29 | 2021-05-18 | Ethicon Llc | Closed loop velocity control techniques based on sensed tissue parameters for robotic surgical instrument |
| EP3421184A1 (de) * | 2017-06-29 | 2019-01-02 | HILTI Aktiengesellschaft | Elektromechanische gangwahlvorrichtung mit einem aktuator |
| US10258418B2 (en) | 2017-06-29 | 2019-04-16 | Ethicon Llc | System for controlling articulation forces |
| US10932772B2 (en) | 2017-06-29 | 2021-03-02 | Ethicon Llc | Methods for closed loop velocity control for robotic surgical instrument |
| US10898183B2 (en) | 2017-06-29 | 2021-01-26 | Ethicon Llc | Robotic surgical instrument with closed loop feedback techniques for advancement of closure member during firing |
| US11471155B2 (en) | 2017-08-03 | 2022-10-18 | Cilag Gmbh International | Surgical system bailout |
| US11304695B2 (en) | 2017-08-03 | 2022-04-19 | Cilag Gmbh International | Surgical system shaft interconnection |
| US11944300B2 (en) | 2017-08-03 | 2024-04-02 | Cilag Gmbh International | Method for operating a surgical system bailout |
| US11974742B2 (en) | 2017-08-03 | 2024-05-07 | Cilag Gmbh International | Surgical system comprising an articulation bailout |
| US10743872B2 (en) | 2017-09-29 | 2020-08-18 | Ethicon Llc | System and methods for controlling a display of a surgical instrument |
| US10796471B2 (en) | 2017-09-29 | 2020-10-06 | Ethicon Llc | Systems and methods of displaying a knife position for a surgical instrument |
| US11399829B2 (en) | 2017-09-29 | 2022-08-02 | Cilag Gmbh International | Systems and methods of initiating a power shutdown mode for a surgical instrument |
| US10765429B2 (en) | 2017-09-29 | 2020-09-08 | Ethicon Llc | Systems and methods for providing alerts according to the operational state of a surgical instrument |
| USD917500S1 (en) | 2017-09-29 | 2021-04-27 | Ethicon Llc | Display screen or portion thereof with graphical user interface |
| USD907647S1 (en) | 2017-09-29 | 2021-01-12 | Ethicon Llc | Display screen or portion thereof with animated graphical user interface |
| USD907648S1 (en) | 2017-09-29 | 2021-01-12 | Ethicon Llc | Display screen or portion thereof with animated graphical user interface |
| US10729501B2 (en) | 2017-09-29 | 2020-08-04 | Ethicon Llc | Systems and methods for language selection of a surgical instrument |
| US11134944B2 (en) | 2017-10-30 | 2021-10-05 | Cilag Gmbh International | Surgical stapler knife motion controls |
| US11090075B2 (en) | 2017-10-30 | 2021-08-17 | Cilag Gmbh International | Articulation features for surgical end effector |
| US10842490B2 (en) | 2017-10-31 | 2020-11-24 | Ethicon Llc | Cartridge body design with force reduction based on firing completion |
| US10779903B2 (en) | 2017-10-31 | 2020-09-22 | Ethicon Llc | Positive shaft rotation lock activated by jaw closure |
| US10828033B2 (en) | 2017-12-15 | 2020-11-10 | Ethicon Llc | Handheld electromechanical surgical instruments with improved motor control arrangements for positioning components of an adapter coupled thereto |
| US11197670B2 (en) | 2017-12-15 | 2021-12-14 | Cilag Gmbh International | Surgical end effectors with pivotal jaws configured to touch at their respective distal ends when fully closed |
| US11033267B2 (en) | 2017-12-15 | 2021-06-15 | Ethicon Llc | Systems and methods of controlling a clamping member firing rate of a surgical instrument |
| US10869666B2 (en) | 2017-12-15 | 2020-12-22 | Ethicon Llc | Adapters with control systems for controlling multiple motors of an electromechanical surgical instrument |
| US11006955B2 (en) | 2017-12-15 | 2021-05-18 | Ethicon Llc | End effectors with positive jaw opening features for use with adapters for electromechanical surgical instruments |
| US10687813B2 (en) | 2017-12-15 | 2020-06-23 | Ethicon Llc | Adapters with firing stroke sensing arrangements for use in connection with electromechanical surgical instruments |
| US10743875B2 (en) | 2017-12-15 | 2020-08-18 | Ethicon Llc | Surgical end effectors with jaw stiffener arrangements configured to permit monitoring of firing member |
| US11071543B2 (en) | 2017-12-15 | 2021-07-27 | Cilag Gmbh International | Surgical end effectors with clamping assemblies configured to increase jaw aperture ranges |
| US10743874B2 (en) | 2017-12-15 | 2020-08-18 | Ethicon Llc | Sealed adapters for use with electromechanical surgical instruments |
| US10779825B2 (en) | 2017-12-15 | 2020-09-22 | Ethicon Llc | Adapters with end effector position sensing and control arrangements for use in connection with electromechanical surgical instruments |
| US10966718B2 (en) | 2017-12-15 | 2021-04-06 | Ethicon Llc | Dynamic clamping assemblies with improved wear characteristics for use in connection with electromechanical surgical instruments |
| US10779826B2 (en) | 2017-12-15 | 2020-09-22 | Ethicon Llc | Methods of operating surgical end effectors |
| US10716565B2 (en) | 2017-12-19 | 2020-07-21 | Ethicon Llc | Surgical instruments with dual articulation drivers |
| US10729509B2 (en) | 2017-12-19 | 2020-08-04 | Ethicon Llc | Surgical instrument comprising closure and firing locking mechanism |
| USD910847S1 (en) | 2017-12-19 | 2021-02-16 | Ethicon Llc | Surgical instrument assembly |
| US10835330B2 (en) | 2017-12-19 | 2020-11-17 | Ethicon Llc | Method for determining the position of a rotatable jaw of a surgical instrument attachment assembly |
| US11045270B2 (en) | 2017-12-19 | 2021-06-29 | Cilag Gmbh International | Robotic attachment comprising exterior drive actuator |
| US11020112B2 (en) | 2017-12-19 | 2021-06-01 | Ethicon Llc | Surgical tools configured for interchangeable use with different controller interfaces |
| EP3501740A1 (de) * | 2017-12-20 | 2019-06-26 | HILTI Aktiengesellschaft | Setzverfahren für schraubverbindung mittels schlagschrauber |
| US12336705B2 (en) | 2017-12-21 | 2025-06-24 | Cilag Gmbh International | Continuous use self-propelled stapling instrument |
| US11311290B2 (en) | 2017-12-21 | 2022-04-26 | Cilag Gmbh International | Surgical instrument comprising an end effector dampener |
| US11129680B2 (en) | 2017-12-21 | 2021-09-28 | Cilag Gmbh International | Surgical instrument comprising a projector |
| US11076853B2 (en) | 2017-12-21 | 2021-08-03 | Cilag Gmbh International | Systems and methods of displaying a knife position during transection for a surgical instrument |
| US11751867B2 (en) | 2017-12-21 | 2023-09-12 | Cilag Gmbh International | Surgical instrument comprising sequenced systems |
| AU2019101751B4 (en) * | 2018-02-19 | 2025-11-27 | Milwaukee Electric Tool Corporation | Impact tool |
| US10835972B2 (en) | 2018-03-16 | 2020-11-17 | Milwaukee Electric Tool Corporation | Blade clamp for power tool |
| US11014176B2 (en) | 2018-04-03 | 2021-05-25 | Milwaukee Electric Tool Corporation | Jigsaw |
| USD887806S1 (en) | 2018-04-03 | 2020-06-23 | Milwaukee Electric Tool Corporation | Jigsaw |
| US10912559B2 (en) | 2018-08-20 | 2021-02-09 | Ethicon Llc | Reinforced deformable anvil tip for surgical stapler anvil |
| US11291440B2 (en) | 2018-08-20 | 2022-04-05 | Cilag Gmbh International | Method for operating a powered articulatable surgical instrument |
| US11039834B2 (en) | 2018-08-20 | 2021-06-22 | Cilag Gmbh International | Surgical stapler anvils with staple directing protrusions and tissue stability features |
| USD914878S1 (en) | 2018-08-20 | 2021-03-30 | Ethicon Llc | Surgical instrument anvil |
| US11083458B2 (en) | 2018-08-20 | 2021-08-10 | Cilag Gmbh International | Powered surgical instruments with clutching arrangements to convert linear drive motions to rotary drive motions |
| US11324501B2 (en) | 2018-08-20 | 2022-05-10 | Cilag Gmbh International | Surgical stapling devices with improved closure members |
| US11045192B2 (en) | 2018-08-20 | 2021-06-29 | Cilag Gmbh International | Fabricating techniques for surgical stapler anvils |
| US10842492B2 (en) | 2018-08-20 | 2020-11-24 | Ethicon Llc | Powered articulatable surgical instruments with clutching and locking arrangements for linking an articulation drive system to a firing drive system |
| US10856870B2 (en) | 2018-08-20 | 2020-12-08 | Ethicon Llc | Switching arrangements for motor powered articulatable surgical instruments |
| US11253256B2 (en) | 2018-08-20 | 2022-02-22 | Cilag Gmbh International | Articulatable motor powered surgical instruments with dedicated articulation motor arrangements |
| US20200054321A1 (en) | 2018-08-20 | 2020-02-20 | Ethicon Llc | Surgical instruments with progressive jaw closure arrangements |
| US10779821B2 (en) | 2018-08-20 | 2020-09-22 | Ethicon Llc | Surgical stapler anvils with tissue stop features configured to avoid tissue pinch |
| US11207065B2 (en) | 2018-08-20 | 2021-12-28 | Cilag Gmbh International | Method for fabricating surgical stapler anvils |
| CN215789518U (zh) * | 2018-12-10 | 2022-02-11 | 米沃奇电动工具公司 | 冲击工具 |
| US11484997B2 (en) * | 2018-12-21 | 2022-11-01 | Milwaukee Electric Tool Corporation | High torque impact tool |
| JP7210291B2 (ja) | 2019-01-10 | 2023-01-23 | 株式会社マキタ | 電動ドライバドリル |
| US11172929B2 (en) | 2019-03-25 | 2021-11-16 | Cilag Gmbh International | Articulation drive arrangements for surgical systems |
| US11696761B2 (en) | 2019-03-25 | 2023-07-11 | Cilag Gmbh International | Firing drive arrangements for surgical systems |
| US11147553B2 (en) | 2019-03-25 | 2021-10-19 | Cilag Gmbh International | Firing drive arrangements for surgical systems |
| US11147551B2 (en) | 2019-03-25 | 2021-10-19 | Cilag Gmbh International | Firing drive arrangements for surgical systems |
| US11452528B2 (en) | 2019-04-30 | 2022-09-27 | Cilag Gmbh International | Articulation actuators for a surgical instrument |
| US11648009B2 (en) | 2019-04-30 | 2023-05-16 | Cilag Gmbh International | Rotatable jaw tip for a surgical instrument |
| US11253254B2 (en) | 2019-04-30 | 2022-02-22 | Cilag Gmbh International | Shaft rotation actuator on a surgical instrument |
| US11432816B2 (en) | 2019-04-30 | 2022-09-06 | Cilag Gmbh International | Articulation pin for a surgical instrument |
| US11903581B2 (en) | 2019-04-30 | 2024-02-20 | Cilag Gmbh International | Methods for stapling tissue using a surgical instrument |
| US11471157B2 (en) | 2019-04-30 | 2022-10-18 | Cilag Gmbh International | Articulation control mapping for a surgical instrument |
| US11426251B2 (en) | 2019-04-30 | 2022-08-30 | Cilag Gmbh International | Articulation directional lights on a surgical instrument |
| US11224497B2 (en) | 2019-06-28 | 2022-01-18 | Cilag Gmbh International | Surgical systems with multiple RFID tags |
| US11497492B2 (en) | 2019-06-28 | 2022-11-15 | Cilag Gmbh International | Surgical instrument including an articulation lock |
| US11298127B2 (en) | 2019-06-28 | 2022-04-12 | Cilag GmbH Interational | Surgical stapling system having a lockout mechanism for an incompatible cartridge |
| US11246678B2 (en) | 2019-06-28 | 2022-02-15 | Cilag Gmbh International | Surgical stapling system having a frangible RFID tag |
| US11219455B2 (en) | 2019-06-28 | 2022-01-11 | Cilag Gmbh International | Surgical instrument including a lockout key |
| US11771419B2 (en) | 2019-06-28 | 2023-10-03 | Cilag Gmbh International | Packaging for a replaceable component of a surgical stapling system |
| US11478241B2 (en) | 2019-06-28 | 2022-10-25 | Cilag Gmbh International | Staple cartridge including projections |
| US11350938B2 (en) | 2019-06-28 | 2022-06-07 | Cilag Gmbh International | Surgical instrument comprising an aligned rfid sensor |
| US11298132B2 (en) | 2019-06-28 | 2022-04-12 | Cilag GmbH Inlernational | Staple cartridge including a honeycomb extension |
| US12004740B2 (en) | 2019-06-28 | 2024-06-11 | Cilag Gmbh International | Surgical stapling system having an information decryption protocol |
| US11553971B2 (en) | 2019-06-28 | 2023-01-17 | Cilag Gmbh International | Surgical RFID assemblies for display and communication |
| US11523822B2 (en) | 2019-06-28 | 2022-12-13 | Cilag Gmbh International | Battery pack including a circuit interrupter |
| US11291451B2 (en) | 2019-06-28 | 2022-04-05 | Cilag Gmbh International | Surgical instrument with battery compatibility verification functionality |
| US11638587B2 (en) | 2019-06-28 | 2023-05-02 | Cilag Gmbh International | RFID identification systems for surgical instruments |
| US11051807B2 (en) | 2019-06-28 | 2021-07-06 | Cilag Gmbh International | Packaging assembly including a particulate trap |
| US11259803B2 (en) | 2019-06-28 | 2022-03-01 | Cilag Gmbh International | Surgical stapling system having an information encryption protocol |
| US11684434B2 (en) | 2019-06-28 | 2023-06-27 | Cilag Gmbh International | Surgical RFID assemblies for instrument operational setting control |
| US11464601B2 (en) | 2019-06-28 | 2022-10-11 | Cilag Gmbh International | Surgical instrument comprising an RFID system for tracking a movable component |
| US11627959B2 (en) | 2019-06-28 | 2023-04-18 | Cilag Gmbh International | Surgical instruments including manual and powered system lockouts |
| US11660163B2 (en) | 2019-06-28 | 2023-05-30 | Cilag Gmbh International | Surgical system with RFID tags for updating motor assembly parameters |
| US11399837B2 (en) | 2019-06-28 | 2022-08-02 | Cilag Gmbh International | Mechanisms for motor control adjustments of a motorized surgical instrument |
| US11426167B2 (en) | 2019-06-28 | 2022-08-30 | Cilag Gmbh International | Mechanisms for proper anvil attachment surgical stapling head assembly |
| US11376098B2 (en) | 2019-06-28 | 2022-07-05 | Cilag Gmbh International | Surgical instrument system comprising an RFID system |
| US11673240B2 (en) * | 2019-08-06 | 2023-06-13 | Makita Corporation | Driver-drill |
| JP7386027B2 (ja) * | 2019-09-27 | 2023-11-24 | 株式会社マキタ | 回転打撃工具 |
| JP7320419B2 (ja) | 2019-09-27 | 2023-08-03 | 株式会社マキタ | 回転打撃工具 |
| US11446029B2 (en) | 2019-12-19 | 2022-09-20 | Cilag Gmbh International | Staple cartridge comprising projections extending from a curved deck surface |
| US11529139B2 (en) | 2019-12-19 | 2022-12-20 | Cilag Gmbh International | Motor driven surgical instrument |
| US11844520B2 (en) | 2019-12-19 | 2023-12-19 | Cilag Gmbh International | Staple cartridge comprising driver retention members |
| US11559304B2 (en) | 2019-12-19 | 2023-01-24 | Cilag Gmbh International | Surgical instrument comprising a rapid closure mechanism |
| US11701111B2 (en) | 2019-12-19 | 2023-07-18 | Cilag Gmbh International | Method for operating a surgical stapling instrument |
| US11304696B2 (en) | 2019-12-19 | 2022-04-19 | Cilag Gmbh International | Surgical instrument comprising a powered articulation system |
| US11504122B2 (en) | 2019-12-19 | 2022-11-22 | Cilag Gmbh International | Surgical instrument comprising a nested firing member |
| US11931033B2 (en) | 2019-12-19 | 2024-03-19 | Cilag Gmbh International | Staple cartridge comprising a latch lockout |
| US11291447B2 (en) | 2019-12-19 | 2022-04-05 | Cilag Gmbh International | Stapling instrument comprising independent jaw closing and staple firing systems |
| US11529137B2 (en) | 2019-12-19 | 2022-12-20 | Cilag Gmbh International | Staple cartridge comprising driver retention members |
| US11911032B2 (en) | 2019-12-19 | 2024-02-27 | Cilag Gmbh International | Staple cartridge comprising a seating cam |
| US11234698B2 (en) | 2019-12-19 | 2022-02-01 | Cilag Gmbh International | Stapling system comprising a clamp lockout and a firing lockout |
| US11607219B2 (en) | 2019-12-19 | 2023-03-21 | Cilag Gmbh International | Staple cartridge comprising a detachable tissue cutting knife |
| US11464512B2 (en) | 2019-12-19 | 2022-10-11 | Cilag Gmbh International | Staple cartridge comprising a curved deck surface |
| US11576672B2 (en) | 2019-12-19 | 2023-02-14 | Cilag Gmbh International | Surgical instrument comprising a closure system including a closure member and an opening member driven by a drive screw |
| US12035913B2 (en) | 2019-12-19 | 2024-07-16 | Cilag Gmbh International | Staple cartridge comprising a deployable knife |
| EP4110554B1 (en) | 2020-02-24 | 2025-09-17 | Milwaukee Electric Tool Corporation | Impact tool |
| USD948978S1 (en) | 2020-03-17 | 2022-04-19 | Milwaukee Electric Tool Corporation | Rotary impact wrench |
| JP7475919B2 (ja) * | 2020-03-25 | 2024-04-30 | 株式会社マキタ | 電動工具 |
| USD974560S1 (en) | 2020-06-02 | 2023-01-03 | Cilag Gmbh International | Staple cartridge |
| USD976401S1 (en) | 2020-06-02 | 2023-01-24 | Cilag Gmbh International | Staple cartridge |
| USD975278S1 (en) | 2020-06-02 | 2023-01-10 | Cilag Gmbh International | Staple cartridge |
| USD975851S1 (en) | 2020-06-02 | 2023-01-17 | Cilag Gmbh International | Staple cartridge |
| USD966512S1 (en) | 2020-06-02 | 2022-10-11 | Cilag Gmbh International | Staple cartridge |
| USD975850S1 (en) | 2020-06-02 | 2023-01-17 | Cilag Gmbh International | Staple cartridge |
| USD967421S1 (en) | 2020-06-02 | 2022-10-18 | Cilag Gmbh International | Staple cartridge |
| US12064107B2 (en) | 2020-07-28 | 2024-08-20 | Cilag Gmbh International | Articulatable surgical instruments with articulation joints comprising flexible exoskeleton arrangements |
| JP7450221B2 (ja) * | 2020-07-31 | 2024-03-15 | パナソニックIpマネジメント株式会社 | インパクト工具、インパクト工具の制御方法及びプログラム |
| EP3960371A1 (en) * | 2020-09-01 | 2022-03-02 | Hilti Aktiengesellschaft | Machine and method for running a machine |
| US11534259B2 (en) | 2020-10-29 | 2022-12-27 | Cilag Gmbh International | Surgical instrument comprising an articulation indicator |
| US12053175B2 (en) | 2020-10-29 | 2024-08-06 | Cilag Gmbh International | Surgical instrument comprising a stowed closure actuator stop |
| US11717289B2 (en) | 2020-10-29 | 2023-08-08 | Cilag Gmbh International | Surgical instrument comprising an indicator which indicates that an articulation drive is actuatable |
| US11931025B2 (en) | 2020-10-29 | 2024-03-19 | Cilag Gmbh International | Surgical instrument comprising a releasable closure drive lock |
| US11779330B2 (en) | 2020-10-29 | 2023-10-10 | Cilag Gmbh International | Surgical instrument comprising a jaw alignment system |
| US11896217B2 (en) | 2020-10-29 | 2024-02-13 | Cilag Gmbh International | Surgical instrument comprising an articulation lock |
| USD980425S1 (en) | 2020-10-29 | 2023-03-07 | Cilag Gmbh International | Surgical instrument assembly |
| US11617577B2 (en) | 2020-10-29 | 2023-04-04 | Cilag Gmbh International | Surgical instrument comprising a sensor configured to sense whether an articulation drive of the surgical instrument is actuatable |
| US11452526B2 (en) | 2020-10-29 | 2022-09-27 | Cilag Gmbh International | Surgical instrument comprising a staged voltage regulation start-up system |
| US11844518B2 (en) | 2020-10-29 | 2023-12-19 | Cilag Gmbh International | Method for operating a surgical instrument |
| US11517390B2 (en) | 2020-10-29 | 2022-12-06 | Cilag Gmbh International | Surgical instrument comprising a limited travel switch |
| USD1013170S1 (en) | 2020-10-29 | 2024-01-30 | Cilag Gmbh International | Surgical instrument assembly |
| US11944296B2 (en) | 2020-12-02 | 2024-04-02 | Cilag Gmbh International | Powered surgical instruments with external connectors |
| US12471982B2 (en) | 2020-12-02 | 2025-11-18 | Cilag Gmbh International | Method for tissue treatment by surgical instrument |
| US11849943B2 (en) | 2020-12-02 | 2023-12-26 | Cilag Gmbh International | Surgical instrument with cartridge release mechanisms |
| US11890010B2 (en) | 2020-12-02 | 2024-02-06 | Cllag GmbH International | Dual-sided reinforced reload for surgical instruments |
| US11653920B2 (en) | 2020-12-02 | 2023-05-23 | Cilag Gmbh International | Powered surgical instruments with communication interfaces through sterile barrier |
| US11744581B2 (en) | 2020-12-02 | 2023-09-05 | Cilag Gmbh International | Powered surgical instruments with multi-phase tissue treatment |
| US11653915B2 (en) | 2020-12-02 | 2023-05-23 | Cilag Gmbh International | Surgical instruments with sled location detection and adjustment features |
| US11627960B2 (en) | 2020-12-02 | 2023-04-18 | Cilag Gmbh International | Powered surgical instruments with smart reload with separately attachable exteriorly mounted wiring connections |
| US11737751B2 (en) | 2020-12-02 | 2023-08-29 | Cilag Gmbh International | Devices and methods of managing energy dissipated within sterile barriers of surgical instrument housings |
| US11678882B2 (en) | 2020-12-02 | 2023-06-20 | Cilag Gmbh International | Surgical instruments with interactive features to remedy incidental sled movements |
| KR102526695B1 (ko) * | 2020-12-29 | 2023-05-02 | 계양전기 주식회사 | 전자식 라쳇팅 제어 장치 및 그 제어 방법 |
| US11744583B2 (en) | 2021-02-26 | 2023-09-05 | Cilag Gmbh International | Distal communication array to tune frequency of RF systems |
| US11793514B2 (en) | 2021-02-26 | 2023-10-24 | Cilag Gmbh International | Staple cartridge comprising sensor array which may be embedded in cartridge body |
| US11749877B2 (en) | 2021-02-26 | 2023-09-05 | Cilag Gmbh International | Stapling instrument comprising a signal antenna |
| US11812964B2 (en) | 2021-02-26 | 2023-11-14 | Cilag Gmbh International | Staple cartridge comprising a power management circuit |
| US11696757B2 (en) | 2021-02-26 | 2023-07-11 | Cilag Gmbh International | Monitoring of internal systems to detect and track cartridge motion status |
| US11701113B2 (en) | 2021-02-26 | 2023-07-18 | Cilag Gmbh International | Stapling instrument comprising a separate power antenna and a data transfer antenna |
| US11950779B2 (en) | 2021-02-26 | 2024-04-09 | Cilag Gmbh International | Method of powering and communicating with a staple cartridge |
| US11730473B2 (en) | 2021-02-26 | 2023-08-22 | Cilag Gmbh International | Monitoring of manufacturing life-cycle |
| US12108951B2 (en) | 2021-02-26 | 2024-10-08 | Cilag Gmbh International | Staple cartridge comprising a sensing array and a temperature control system |
| US11723657B2 (en) | 2021-02-26 | 2023-08-15 | Cilag Gmbh International | Adjustable communication based on available bandwidth and power capacity |
| US11751869B2 (en) | 2021-02-26 | 2023-09-12 | Cilag Gmbh International | Monitoring of multiple sensors over time to detect moving characteristics of tissue |
| US11980362B2 (en) | 2021-02-26 | 2024-05-14 | Cilag Gmbh International | Surgical instrument system comprising a power transfer coil |
| US12324580B2 (en) | 2021-02-26 | 2025-06-10 | Cilag Gmbh International | Method of powering and communicating with a staple cartridge |
| US11950777B2 (en) | 2021-02-26 | 2024-04-09 | Cilag Gmbh International | Staple cartridge comprising an information access control system |
| US11925349B2 (en) | 2021-02-26 | 2024-03-12 | Cilag Gmbh International | Adjustment to transfer parameters to improve available power |
| US11737749B2 (en) | 2021-03-22 | 2023-08-29 | Cilag Gmbh International | Surgical stapling instrument comprising a retraction system |
| US11826012B2 (en) | 2021-03-22 | 2023-11-28 | Cilag Gmbh International | Stapling instrument comprising a pulsed motor-driven firing rack |
| US11826042B2 (en) | 2021-03-22 | 2023-11-28 | Cilag Gmbh International | Surgical instrument comprising a firing drive including a selectable leverage mechanism |
| US11759202B2 (en) | 2021-03-22 | 2023-09-19 | Cilag Gmbh International | Staple cartridge comprising an implantable layer |
| US11717291B2 (en) | 2021-03-22 | 2023-08-08 | Cilag Gmbh International | Staple cartridge comprising staples configured to apply different tissue compression |
| US11806011B2 (en) | 2021-03-22 | 2023-11-07 | Cilag Gmbh International | Stapling instrument comprising tissue compression systems |
| US11723658B2 (en) | 2021-03-22 | 2023-08-15 | Cilag Gmbh International | Staple cartridge comprising a firing lockout |
| US11896218B2 (en) | 2021-03-24 | 2024-02-13 | Cilag Gmbh International | Method of using a powered stapling device |
| US11786239B2 (en) | 2021-03-24 | 2023-10-17 | Cilag Gmbh International | Surgical instrument articulation joint arrangements comprising multiple moving linkage features |
| US11944336B2 (en) | 2021-03-24 | 2024-04-02 | Cilag Gmbh International | Joint arrangements for multi-planar alignment and support of operational drive shafts in articulatable surgical instruments |
| US12102323B2 (en) | 2021-03-24 | 2024-10-01 | Cilag Gmbh International | Rotary-driven surgical stapling assembly comprising a floatable component |
| US11849944B2 (en) | 2021-03-24 | 2023-12-26 | Cilag Gmbh International | Drivers for fastener cartridge assemblies having rotary drive screws |
| US11786243B2 (en) | 2021-03-24 | 2023-10-17 | Cilag Gmbh International | Firing members having flexible portions for adapting to a load during a surgical firing stroke |
| US11793516B2 (en) | 2021-03-24 | 2023-10-24 | Cilag Gmbh International | Surgical staple cartridge comprising longitudinal support beam |
| US11896219B2 (en) | 2021-03-24 | 2024-02-13 | Cilag Gmbh International | Mating features between drivers and underside of a cartridge deck |
| US11857183B2 (en) | 2021-03-24 | 2024-01-02 | Cilag Gmbh International | Stapling assembly components having metal substrates and plastic bodies |
| US11849945B2 (en) | 2021-03-24 | 2023-12-26 | Cilag Gmbh International | Rotary-driven surgical stapling assembly comprising eccentrically driven firing member |
| US11832816B2 (en) | 2021-03-24 | 2023-12-05 | Cilag Gmbh International | Surgical stapling assembly comprising nonplanar staples and planar staples |
| US11744603B2 (en) | 2021-03-24 | 2023-09-05 | Cilag Gmbh International | Multi-axis pivot joints for surgical instruments and methods for manufacturing same |
| US11903582B2 (en) | 2021-03-24 | 2024-02-20 | Cilag Gmbh International | Leveraging surfaces for cartridge installation |
| US11918217B2 (en) | 2021-05-28 | 2024-03-05 | Cilag Gmbh International | Stapling instrument comprising a staple cartridge insertion stop |
| US11957337B2 (en) | 2021-10-18 | 2024-04-16 | Cilag Gmbh International | Surgical stapling assembly with offset ramped drive surfaces |
| US11980363B2 (en) | 2021-10-18 | 2024-05-14 | Cilag Gmbh International | Row-to-row staple array variations |
| US11877745B2 (en) | 2021-10-18 | 2024-01-23 | Cilag Gmbh International | Surgical stapling assembly having longitudinally-repeating staple leg clusters |
| US12239317B2 (en) | 2021-10-18 | 2025-03-04 | Cilag Gmbh International | Anvil comprising an arrangement of forming pockets proximal to tissue stop |
| EP4173753A1 (en) * | 2021-10-28 | 2023-05-03 | Ncte Ag | Electric hand tool with torque sensor and certification system |
| US12089841B2 (en) | 2021-10-28 | 2024-09-17 | Cilag CmbH International | Staple cartridge identification systems |
| US12432790B2 (en) | 2021-10-28 | 2025-09-30 | Cilag Gmbh International | Method and device for transmitting UART communications over a security short range wireless communication |
| US11937816B2 (en) | 2021-10-28 | 2024-03-26 | Cilag Gmbh International | Electrical lead arrangements for surgical instruments |
| KR102550894B1 (ko) * | 2021-12-20 | 2023-07-05 | 계양전기 주식회사 | 저체결 제어 기능을 구비한 전동공구 |
| TWI898201B (zh) * | 2023-04-12 | 2025-09-21 | 鑽全實業股份有限公司 | 電動棘輪扳手及其開關機方法 |
| JP2025119937A (ja) * | 2024-02-02 | 2025-08-15 | 株式会社マキタ | インパクト工具 |
| US12465385B1 (en) * | 2025-04-29 | 2025-11-11 | Dixing Chen | Foot repair device |
Citations (4)
| Publication number | Priority date | Publication date | Assignee | Title |
|---|---|---|---|---|
| EP0222658A1 (en) * | 1985-10-24 | 1987-05-20 | Black & Decker Inc. | Motor driven screwdriver with spindle lock |
| DE4128651A1 (de) * | 1991-08-29 | 1993-03-04 | Gardena Kress & Kastner Gmbh | Elektroschrauber |
| EP1847355A2 (en) * | 2006-04-20 | 2007-10-24 | Makita Corporation | Spindle lock devices for screwdrivers |
| JP2009078317A (ja) | 2007-09-26 | 2009-04-16 | Hitachi Koki Co Ltd | 回転打撃工具 |
Family Cites Families (13)
| Publication number | Priority date | Publication date | Assignee | Title |
|---|---|---|---|---|
| JPS5969271A (ja) * | 1982-10-13 | 1984-04-19 | 第一電通株式会社 | 誘導電動機を用いたネジ締結装置 |
| US5203242A (en) * | 1991-12-18 | 1993-04-20 | Hansson Gunnar C | Power tool for two-step tightening of screw joints |
| GB9320181D0 (en) * | 1993-09-30 | 1993-11-17 | Black & Decker Inc | Improvements in and relating to power tools |
| JP2003200363A (ja) * | 2001-12-26 | 2003-07-15 | Makita Corp | バッテリ式電動工具 |
| DE10308272B4 (de) * | 2002-03-05 | 2012-05-24 | Makita Corp. | Schraubendreher |
| US20060249294A1 (en) * | 2005-05-06 | 2006-11-09 | Jergens, Inc. | Device for tightening threaded fastener joints |
| CN201077039Y (zh) * | 2007-04-19 | 2008-06-25 | 卢世桐 | 可转换手、电动操作模式的棘轮扳手工具 |
| JP5115904B2 (ja) * | 2007-09-21 | 2013-01-09 | 日立工機株式会社 | インパクト工具 |
| JP5182562B2 (ja) * | 2008-02-29 | 2013-04-17 | 日立工機株式会社 | 電動工具 |
| JP5083628B2 (ja) * | 2008-06-19 | 2012-11-28 | 日立工機株式会社 | 電動工具 |
| JP5562540B2 (ja) * | 2008-08-21 | 2014-07-30 | 株式会社マキタ | 電動工具 |
| CN101676052B (zh) * | 2008-09-19 | 2013-10-30 | 德昌电机(深圳)有限公司 | 带力度感应装置的电钻 |
| JP5740563B2 (ja) * | 2009-09-25 | 2015-06-24 | パナソニックIpマネジメント株式会社 | 電動工具 |
-
2010
- 2010-07-30 JP JP2010172778A patent/JP5686236B2/ja not_active Expired - Fee Related
-
2011
- 2011-08-01 WO PCT/JP2011/004360 patent/WO2012014503A1/en not_active Ceased
- 2011-08-01 EP EP11746036.0A patent/EP2560793B1/en not_active Not-in-force
- 2011-08-01 US US13/698,478 patent/US20130126202A1/en not_active Abandoned
- 2011-08-01 CN CN201180037352.9A patent/CN103038026B/zh not_active Expired - Fee Related
Patent Citations (4)
| Publication number | Priority date | Publication date | Assignee | Title |
|---|---|---|---|---|
| EP0222658A1 (en) * | 1985-10-24 | 1987-05-20 | Black & Decker Inc. | Motor driven screwdriver with spindle lock |
| DE4128651A1 (de) * | 1991-08-29 | 1993-03-04 | Gardena Kress & Kastner Gmbh | Elektroschrauber |
| EP1847355A2 (en) * | 2006-04-20 | 2007-10-24 | Makita Corporation | Spindle lock devices for screwdrivers |
| JP2009078317A (ja) | 2007-09-26 | 2009-04-16 | Hitachi Koki Co Ltd | 回転打撃工具 |
Cited By (8)
| Publication number | Priority date | Publication date | Assignee | Title |
|---|---|---|---|---|
| US9408653B2 (en) | 2011-04-27 | 2016-08-09 | Medtronic Xomed, Inc. | Electric ratchet for a powered screwdriver |
| WO2013136711A3 (en) * | 2012-03-13 | 2015-01-22 | Hitachi Koki Co., Ltd. | Impact tool |
| CN104520072A (zh) * | 2012-03-13 | 2015-04-15 | 日立工机株式会社 | 冲击工具 |
| EP2639017A3 (en) * | 2012-03-14 | 2013-11-13 | Basso Industry Corp. | Status indicating device for a power nail gun |
| US9033536B2 (en) | 2012-03-14 | 2015-05-19 | Basso Industry Corporation | Status indicating device for a power nail gun |
| AU2013201481B2 (en) * | 2012-03-14 | 2015-07-09 | Basso Industry Corp. | Status indicating device for a power nail gun |
| CN105689815A (zh) * | 2014-12-12 | 2016-06-22 | 松下知识产权经营株式会社 | 电动工具以及控制器 |
| USD789170S1 (en) | 2016-02-05 | 2017-06-13 | Tti (Macao Commercial Offshore) Limited | Rotary power tool |
Also Published As
| Publication number | Publication date |
|---|---|
| EP2560793A1 (en) | 2013-02-27 |
| JP5686236B2 (ja) | 2015-03-18 |
| CN103038026B (zh) | 2015-06-03 |
| CN103038026A (zh) | 2013-04-10 |
| EP2560793B1 (en) | 2014-10-08 |
| JP2012030325A (ja) | 2012-02-16 |
| US20130126202A1 (en) | 2013-05-23 |
Similar Documents
| Publication | Publication Date | Title |
|---|---|---|
| EP2560793B1 (en) | Screw tightening tool | |
| EP2558247B1 (en) | Impact tool | |
| EP2576146B1 (en) | Power tool | |
| US9950417B2 (en) | Power tool | |
| JP5822085B2 (ja) | 電動工具及び動力工具 | |
| WO2014115508A1 (en) | Power tool | |
| US20150231771A1 (en) | Power Tool | |
| US20160107297A1 (en) | Electric power tool | |
| JP2011212802A (ja) | 電動工具 | |
| JP6016204B2 (ja) | 電動工具及び動力工具 | |
| JP2012030326A (ja) | 電動工具 | |
| JP2012011503A (ja) | 電動工具 | |
| JP5534328B2 (ja) | 電動工具 | |
| JP5561535B2 (ja) | 電動工具 | |
| JP2012179698A (ja) | 電動工具及び留め具の締付け方法 |
Legal Events
| Date | Code | Title | Description |
|---|---|---|---|
| WWE | Wipo information: entry into national phase |
Ref document number: 201180037352.9 Country of ref document: CN |
|
| 121 | Ep: the epo has been informed by wipo that ep was designated in this application |
Ref document number: 11746036 Country of ref document: EP Kind code of ref document: A1 |
|
| WWE | Wipo information: entry into national phase |
Ref document number: 13698478 Country of ref document: US |
|
| WWE | Wipo information: entry into national phase |
Ref document number: 2011746036 Country of ref document: EP |
|
| NENP | Non-entry into the national phase |
Ref country code: DE |