WO2011125759A1 - 車両用ブレーキ装置 - Google Patents

車両用ブレーキ装置 Download PDF

Info

Publication number
WO2011125759A1
WO2011125759A1 PCT/JP2011/058063 JP2011058063W WO2011125759A1 WO 2011125759 A1 WO2011125759 A1 WO 2011125759A1 JP 2011058063 W JP2011058063 W JP 2011058063W WO 2011125759 A1 WO2011125759 A1 WO 2011125759A1
Authority
WO
WIPO (PCT)
Prior art keywords
brake
rod
braking force
brake pedal
vehicle
Prior art date
Legal status (The legal status is an assumption and is not a legal conclusion. Google has not performed a legal analysis and makes no representation as to the accuracy of the status listed.)
Ceased
Application number
PCT/JP2011/058063
Other languages
English (en)
French (fr)
Japanese (ja)
Inventor
一哉 牧
Current Assignee (The listed assignees may be inaccurate. Google has not performed a legal analysis and makes no representation or warranty as to the accuracy of the list.)
Advics Co Ltd
Original Assignee
Advics Co Ltd
Priority date (The priority date is an assumption and is not a legal conclusion. Google has not performed a legal analysis and makes no representation as to the accuracy of the date listed.)
Filing date
Publication date
Application filed by Advics Co Ltd filed Critical Advics Co Ltd
Priority to CN201180015609.0A priority Critical patent/CN102822021B/zh
Priority to US13/638,443 priority patent/US9022486B2/en
Priority to DE112011101176.8T priority patent/DE112011101176B4/de
Publication of WO2011125759A1 publication Critical patent/WO2011125759A1/ja
Anticipated expiration legal-status Critical
Ceased legal-status Critical Current

Links

Images

Classifications

    • BPERFORMING OPERATIONS; TRANSPORTING
    • B60VEHICLES IN GENERAL
    • B60TVEHICLE BRAKE CONTROL SYSTEMS OR PARTS THEREOF; BRAKE CONTROL SYSTEMS OR PARTS THEREOF, IN GENERAL; ARRANGEMENT OF BRAKING ELEMENTS ON VEHICLES IN GENERAL; PORTABLE DEVICES FOR PREVENTING UNWANTED MOVEMENT OF VEHICLES; VEHICLE MODIFICATIONS TO FACILITATE COOLING OF BRAKES
    • B60T13/00Transmitting braking action from initiating means to ultimate brake actuator with power assistance or drive; Brake systems incorporating such transmitting means, e.g. air-pressure brake systems
    • B60T13/10Transmitting braking action from initiating means to ultimate brake actuator with power assistance or drive; Brake systems incorporating such transmitting means, e.g. air-pressure brake systems with fluid assistance, drive, or release
    • B60T13/58Combined or convertible systems
    • BPERFORMING OPERATIONS; TRANSPORTING
    • B60VEHICLES IN GENERAL
    • B60KARRANGEMENT OR MOUNTING OF PROPULSION UNITS OR OF TRANSMISSIONS IN VEHICLES; ARRANGEMENT OR MOUNTING OF PLURAL DIVERSE PRIME-MOVERS IN VEHICLES; AUXILIARY DRIVES FOR VEHICLES; INSTRUMENTATION OR DASHBOARDS FOR VEHICLES; ARRANGEMENTS IN CONNECTION WITH COOLING, AIR INTAKE, GAS EXHAUST OR FUEL SUPPLY OF PROPULSION UNITS IN VEHICLES
    • B60K6/00Arrangement or mounting of plural diverse prime-movers for mutual or common propulsion, e.g. hybrid propulsion systems comprising electric motors and internal combustion engines
    • B60K6/20Arrangement or mounting of plural diverse prime-movers for mutual or common propulsion, e.g. hybrid propulsion systems comprising electric motors and internal combustion engines the prime-movers consisting of electric motors and internal combustion engines, e.g. HEVs
    • B60K6/42Arrangement or mounting of plural diverse prime-movers for mutual or common propulsion, e.g. hybrid propulsion systems comprising electric motors and internal combustion engines the prime-movers consisting of electric motors and internal combustion engines, e.g. HEVs characterised by the architecture of the hybrid electric vehicle
    • B60K6/44Series-parallel type
    • B60K6/445Differential gearing distribution type
    • BPERFORMING OPERATIONS; TRANSPORTING
    • B60VEHICLES IN GENERAL
    • B60TVEHICLE BRAKE CONTROL SYSTEMS OR PARTS THEREOF; BRAKE CONTROL SYSTEMS OR PARTS THEREOF, IN GENERAL; ARRANGEMENT OF BRAKING ELEMENTS ON VEHICLES IN GENERAL; PORTABLE DEVICES FOR PREVENTING UNWANTED MOVEMENT OF VEHICLES; VEHICLE MODIFICATIONS TO FACILITATE COOLING OF BRAKES
    • B60T1/00Arrangements of braking elements, i.e. of those parts where braking effect occurs specially for vehicles
    • B60T1/02Arrangements of braking elements, i.e. of those parts where braking effect occurs specially for vehicles acting by retarding wheels
    • B60T1/10Arrangements of braking elements, i.e. of those parts where braking effect occurs specially for vehicles acting by retarding wheels by utilising wheel movement for accumulating energy, e.g. driving air compressors
    • BPERFORMING OPERATIONS; TRANSPORTING
    • B60VEHICLES IN GENERAL
    • B60TVEHICLE BRAKE CONTROL SYSTEMS OR PARTS THEREOF; BRAKE CONTROL SYSTEMS OR PARTS THEREOF, IN GENERAL; ARRANGEMENT OF BRAKING ELEMENTS ON VEHICLES IN GENERAL; PORTABLE DEVICES FOR PREVENTING UNWANTED MOVEMENT OF VEHICLES; VEHICLE MODIFICATIONS TO FACILITATE COOLING OF BRAKES
    • B60T13/00Transmitting braking action from initiating means to ultimate brake actuator with power assistance or drive; Brake systems incorporating such transmitting means, e.g. air-pressure brake systems
    • B60T13/10Transmitting braking action from initiating means to ultimate brake actuator with power assistance or drive; Brake systems incorporating such transmitting means, e.g. air-pressure brake systems with fluid assistance, drive, or release
    • B60T13/24Transmitting braking action from initiating means to ultimate brake actuator with power assistance or drive; Brake systems incorporating such transmitting means, e.g. air-pressure brake systems with fluid assistance, drive, or release the fluid being gaseous
    • B60T13/46Vacuum systems
    • B60T13/52Vacuum systems indirect, i.e. vacuum booster units
    • B60T13/57Vacuum systems indirect, i.e. vacuum booster units characterised by constructional features of control valves
    • BPERFORMING OPERATIONS; TRANSPORTING
    • B60VEHICLES IN GENERAL
    • B60TVEHICLE BRAKE CONTROL SYSTEMS OR PARTS THEREOF; BRAKE CONTROL SYSTEMS OR PARTS THEREOF, IN GENERAL; ARRANGEMENT OF BRAKING ELEMENTS ON VEHICLES IN GENERAL; PORTABLE DEVICES FOR PREVENTING UNWANTED MOVEMENT OF VEHICLES; VEHICLE MODIFICATIONS TO FACILITATE COOLING OF BRAKES
    • B60T13/00Transmitting braking action from initiating means to ultimate brake actuator with power assistance or drive; Brake systems incorporating such transmitting means, e.g. air-pressure brake systems
    • B60T13/10Transmitting braking action from initiating means to ultimate brake actuator with power assistance or drive; Brake systems incorporating such transmitting means, e.g. air-pressure brake systems with fluid assistance, drive, or release
    • B60T13/66Electrical control in fluid-pressure brake systems
    • B60T13/68Electrical control in fluid-pressure brake systems by electrically-controlled valves
    • B60T13/686Electrical control in fluid-pressure brake systems by electrically-controlled valves in hydraulic systems or parts thereof
    • BPERFORMING OPERATIONS; TRANSPORTING
    • B60VEHICLES IN GENERAL
    • B60TVEHICLE BRAKE CONTROL SYSTEMS OR PARTS THEREOF; BRAKE CONTROL SYSTEMS OR PARTS THEREOF, IN GENERAL; ARRANGEMENT OF BRAKING ELEMENTS ON VEHICLES IN GENERAL; PORTABLE DEVICES FOR PREVENTING UNWANTED MOVEMENT OF VEHICLES; VEHICLE MODIFICATIONS TO FACILITATE COOLING OF BRAKES
    • B60T7/00Brake-action initiating means
    • B60T7/02Brake-action initiating means for personal initiation
    • B60T7/04Brake-action initiating means for personal initiation foot actuated
    • B60T7/042Brake-action initiating means for personal initiation foot actuated by electrical means, e.g. using travel or force sensors
    • BPERFORMING OPERATIONS; TRANSPORTING
    • B60VEHICLES IN GENERAL
    • B60TVEHICLE BRAKE CONTROL SYSTEMS OR PARTS THEREOF; BRAKE CONTROL SYSTEMS OR PARTS THEREOF, IN GENERAL; ARRANGEMENT OF BRAKING ELEMENTS ON VEHICLES IN GENERAL; PORTABLE DEVICES FOR PREVENTING UNWANTED MOVEMENT OF VEHICLES; VEHICLE MODIFICATIONS TO FACILITATE COOLING OF BRAKES
    • B60T7/00Brake-action initiating means
    • B60T7/02Brake-action initiating means for personal initiation
    • B60T7/04Brake-action initiating means for personal initiation foot actuated
    • B60T7/06Disposition of pedal
    • BPERFORMING OPERATIONS; TRANSPORTING
    • B60VEHICLES IN GENERAL
    • B60TVEHICLE BRAKE CONTROL SYSTEMS OR PARTS THEREOF; BRAKE CONTROL SYSTEMS OR PARTS THEREOF, IN GENERAL; ARRANGEMENT OF BRAKING ELEMENTS ON VEHICLES IN GENERAL; PORTABLE DEVICES FOR PREVENTING UNWANTED MOVEMENT OF VEHICLES; VEHICLE MODIFICATIONS TO FACILITATE COOLING OF BRAKES
    • B60T8/00Arrangements for adjusting wheel-braking force to meet varying vehicular or ground-surface conditions, e.g. limiting or varying distribution of braking force
    • B60T8/24Arrangements for adjusting wheel-braking force to meet varying vehicular or ground-surface conditions, e.g. limiting or varying distribution of braking force responsive to vehicle inclination or change of direction, e.g. negotiating bends
    • B60T8/248Trailer sway, e.g. for preventing jackknifing
    • BPERFORMING OPERATIONS; TRANSPORTING
    • B60VEHICLES IN GENERAL
    • B60TVEHICLE BRAKE CONTROL SYSTEMS OR PARTS THEREOF; BRAKE CONTROL SYSTEMS OR PARTS THEREOF, IN GENERAL; ARRANGEMENT OF BRAKING ELEMENTS ON VEHICLES IN GENERAL; PORTABLE DEVICES FOR PREVENTING UNWANTED MOVEMENT OF VEHICLES; VEHICLE MODIFICATIONS TO FACILITATE COOLING OF BRAKES
    • B60T8/00Arrangements for adjusting wheel-braking force to meet varying vehicular or ground-surface conditions, e.g. limiting or varying distribution of braking force
    • B60T8/32Arrangements for adjusting wheel-braking force to meet varying vehicular or ground-surface conditions, e.g. limiting or varying distribution of braking force responsive to a speed condition, e.g. acceleration or deceleration
    • B60T8/321Arrangements for adjusting wheel-braking force to meet varying vehicular or ground-surface conditions, e.g. limiting or varying distribution of braking force responsive to a speed condition, e.g. acceleration or deceleration deceleration
    • B60T8/3255Systems in which the braking action is dependent on brake pedal data
    • B60T8/3275Systems with a braking assistant function, i.e. automatic full braking initiation in dependence of brake pedal velocity
    • BPERFORMING OPERATIONS; TRANSPORTING
    • B60VEHICLES IN GENERAL
    • B60TVEHICLE BRAKE CONTROL SYSTEMS OR PARTS THEREOF; BRAKE CONTROL SYSTEMS OR PARTS THEREOF, IN GENERAL; ARRANGEMENT OF BRAKING ELEMENTS ON VEHICLES IN GENERAL; PORTABLE DEVICES FOR PREVENTING UNWANTED MOVEMENT OF VEHICLES; VEHICLE MODIFICATIONS TO FACILITATE COOLING OF BRAKES
    • B60T8/00Arrangements for adjusting wheel-braking force to meet varying vehicular or ground-surface conditions, e.g. limiting or varying distribution of braking force
    • B60T8/32Arrangements for adjusting wheel-braking force to meet varying vehicular or ground-surface conditions, e.g. limiting or varying distribution of braking force responsive to a speed condition, e.g. acceleration or deceleration
    • B60T8/34Arrangements for adjusting wheel-braking force to meet varying vehicular or ground-surface conditions, e.g. limiting or varying distribution of braking force responsive to a speed condition, e.g. acceleration or deceleration having a fluid pressure regulator responsive to a speed condition
    • B60T8/38Arrangements for adjusting wheel-braking force to meet varying vehicular or ground-surface conditions, e.g. limiting or varying distribution of braking force responsive to a speed condition, e.g. acceleration or deceleration having a fluid pressure regulator responsive to a speed condition including valve means of the relay or driver controlled type
    • BPERFORMING OPERATIONS; TRANSPORTING
    • B60VEHICLES IN GENERAL
    • B60TVEHICLE BRAKE CONTROL SYSTEMS OR PARTS THEREOF; BRAKE CONTROL SYSTEMS OR PARTS THEREOF, IN GENERAL; ARRANGEMENT OF BRAKING ELEMENTS ON VEHICLES IN GENERAL; PORTABLE DEVICES FOR PREVENTING UNWANTED MOVEMENT OF VEHICLES; VEHICLE MODIFICATIONS TO FACILITATE COOLING OF BRAKES
    • B60T8/00Arrangements for adjusting wheel-braking force to meet varying vehicular or ground-surface conditions, e.g. limiting or varying distribution of braking force
    • B60T8/32Arrangements for adjusting wheel-braking force to meet varying vehicular or ground-surface conditions, e.g. limiting or varying distribution of braking force responsive to a speed condition, e.g. acceleration or deceleration
    • B60T8/34Arrangements for adjusting wheel-braking force to meet varying vehicular or ground-surface conditions, e.g. limiting or varying distribution of braking force responsive to a speed condition, e.g. acceleration or deceleration having a fluid pressure regulator responsive to a speed condition
    • B60T8/48Arrangements for adjusting wheel-braking force to meet varying vehicular or ground-surface conditions, e.g. limiting or varying distribution of braking force responsive to a speed condition, e.g. acceleration or deceleration having a fluid pressure regulator responsive to a speed condition connecting the brake actuator to an alternative or additional source of fluid pressure, e.g. traction control systems
    • B60T8/4809Traction control, stability control, using both the wheel brakes and other automatic braking systems
    • B60T8/4827Traction control, stability control, using both the wheel brakes and other automatic braking systems in hydraulic brake systems
    • B60T8/4863Traction control, stability control, using both the wheel brakes and other automatic braking systems in hydraulic brake systems closed systems
    • B60T8/4872Traction control, stability control, using both the wheel brakes and other automatic braking systems in hydraulic brake systems closed systems pump-back systems
    • BPERFORMING OPERATIONS; TRANSPORTING
    • B60VEHICLES IN GENERAL
    • B60WCONJOINT CONTROL OF VEHICLE SUB-UNITS OF DIFFERENT TYPE OR DIFFERENT FUNCTION; CONTROL SYSTEMS SPECIALLY ADAPTED FOR HYBRID VEHICLES; ROAD VEHICLE DRIVE CONTROL SYSTEMS FOR PURPOSES NOT RELATED TO THE CONTROL OF A PARTICULAR SUB-UNIT
    • B60W10/00Conjoint control of vehicle sub-units of different type or different function
    • B60W10/04Conjoint control of vehicle sub-units of different type or different function including control of propulsion units
    • B60W10/08Conjoint control of vehicle sub-units of different type or different function including control of propulsion units including control of electric propulsion units, e.g. motors or generators
    • BPERFORMING OPERATIONS; TRANSPORTING
    • B60VEHICLES IN GENERAL
    • B60WCONJOINT CONTROL OF VEHICLE SUB-UNITS OF DIFFERENT TYPE OR DIFFERENT FUNCTION; CONTROL SYSTEMS SPECIALLY ADAPTED FOR HYBRID VEHICLES; ROAD VEHICLE DRIVE CONTROL SYSTEMS FOR PURPOSES NOT RELATED TO THE CONTROL OF A PARTICULAR SUB-UNIT
    • B60W10/00Conjoint control of vehicle sub-units of different type or different function
    • B60W10/18Conjoint control of vehicle sub-units of different type or different function including control of braking systems
    • B60W10/184Conjoint control of vehicle sub-units of different type or different function including control of braking systems with wheel brakes
    • B60W10/188Conjoint control of vehicle sub-units of different type or different function including control of braking systems with wheel brakes hydraulic brakes
    • BPERFORMING OPERATIONS; TRANSPORTING
    • B60VEHICLES IN GENERAL
    • B60WCONJOINT CONTROL OF VEHICLE SUB-UNITS OF DIFFERENT TYPE OR DIFFERENT FUNCTION; CONTROL SYSTEMS SPECIALLY ADAPTED FOR HYBRID VEHICLES; ROAD VEHICLE DRIVE CONTROL SYSTEMS FOR PURPOSES NOT RELATED TO THE CONTROL OF A PARTICULAR SUB-UNIT
    • B60W30/00Purposes of road vehicle drive control systems not related to the control of a particular sub-unit, e.g. of systems using conjoint control of vehicle sub-units
    • B60W30/18Propelling the vehicle
    • B60W30/18009Propelling the vehicle related to particular drive situations
    • B60W30/18109Braking
    • B60W30/18127Regenerative braking
    • BPERFORMING OPERATIONS; TRANSPORTING
    • B60VEHICLES IN GENERAL
    • B60TVEHICLE BRAKE CONTROL SYSTEMS OR PARTS THEREOF; BRAKE CONTROL SYSTEMS OR PARTS THEREOF, IN GENERAL; ARRANGEMENT OF BRAKING ELEMENTS ON VEHICLES IN GENERAL; PORTABLE DEVICES FOR PREVENTING UNWANTED MOVEMENT OF VEHICLES; VEHICLE MODIFICATIONS TO FACILITATE COOLING OF BRAKES
    • B60T2201/00Particular use of vehicle brake systems; Special systems using also the brakes; Special software modules within the brake system controller
    • B60T2201/03Brake assistants
    • BPERFORMING OPERATIONS; TRANSPORTING
    • B60VEHICLES IN GENERAL
    • B60TVEHICLE BRAKE CONTROL SYSTEMS OR PARTS THEREOF; BRAKE CONTROL SYSTEMS OR PARTS THEREOF, IN GENERAL; ARRANGEMENT OF BRAKING ELEMENTS ON VEHICLES IN GENERAL; PORTABLE DEVICES FOR PREVENTING UNWANTED MOVEMENT OF VEHICLES; VEHICLE MODIFICATIONS TO FACILITATE COOLING OF BRAKES
    • B60T2270/00Further aspects of brake control systems not otherwise provided for
    • B60T2270/60Regenerative braking
    • B60T2270/604Merging friction therewith; Adjusting their repartition
    • BPERFORMING OPERATIONS; TRANSPORTING
    • B60VEHICLES IN GENERAL
    • B60WCONJOINT CONTROL OF VEHICLE SUB-UNITS OF DIFFERENT TYPE OR DIFFERENT FUNCTION; CONTROL SYSTEMS SPECIALLY ADAPTED FOR HYBRID VEHICLES; ROAD VEHICLE DRIVE CONTROL SYSTEMS FOR PURPOSES NOT RELATED TO THE CONTROL OF A PARTICULAR SUB-UNIT
    • B60W20/00Control systems specially adapted for hybrid vehicles
    • YGENERAL TAGGING OF NEW TECHNOLOGICAL DEVELOPMENTS; GENERAL TAGGING OF CROSS-SECTIONAL TECHNOLOGIES SPANNING OVER SEVERAL SECTIONS OF THE IPC; TECHNICAL SUBJECTS COVERED BY FORMER USPC CROSS-REFERENCE ART COLLECTIONS [XRACs] AND DIGESTS
    • Y02TECHNOLOGIES OR APPLICATIONS FOR MITIGATION OR ADAPTATION AGAINST CLIMATE CHANGE
    • Y02TCLIMATE CHANGE MITIGATION TECHNOLOGIES RELATED TO TRANSPORTATION
    • Y02T10/00Road transport of goods or passengers
    • Y02T10/60Other road transportation technologies with climate change mitigation effect
    • Y02T10/62Hybrid vehicles

Definitions

  • the present invention relates to a vehicle brake device which achieves a target braking force to be applied to a vehicle according to a brake operation state by a fluid pressure braking force by a fluid pressure brake device and a regenerative braking force by a regenerative brake device.
  • a base hydraulic pressure is generated in a master cylinder according to depression of a brake pedal, and the generated base hydraulic pressure is connected by an oil path that intervenes the master cylinder and a hydraulic control valve.
  • a hydraulic brake device for generating a basic hydraulic braking force corresponding to the basic hydraulic pressure to each wheel by applying directly to the wheel cylinder of each of the wheels, and a regeneration for generating regenerative braking force to any of the wheels A brake device is provided, and the hydraulic brake device and the regenerative brake device are operated in coordination to apply a vehicle braking force corresponding to the operation state of the brake pedal to the vehicle based on the basic hydraulic pressure braking force and the regenerative braking force.
  • Vehicle braking devices are known.
  • This vehicle brake device is provided on any connecting member provided for connecting both members between the brake pedal and the piston of the master cylinder, and a first rod which is a brake pedal side portion of the connecting member A second rod having a tip portion on the master cylinder side of the connecting member and slidably engaged with the tip portion of the first rod, and interposed between the first rod and the second rod; And an urging member urging the rod away from the rod, and when the brake pedal is depressed, the first rod abuts on the second rod from the depression start position where the depression start state of the brake pedal is applied. Until the contact position is reached, the generation of the base hydraulic braking force is restricted, and when the first rod exceeds the contact position, the restriction of the generation of the base hydraulic braking force is released. And it includes a stage.
  • the contact position is provided based on the maximum regenerative braking force that can be generated by the regenerative brake device, and regeneration is performed when the first rod is positioned between the depression start position and the contact position. If the vehicle braking force corresponding to the operating state of the brake pedal is applied to the vehicle only by the regenerative braking force generated by the braking device, and the first rod is positioned beyond the contact position, the hydraulic braking device The vehicle braking force corresponding to the operation state of the brake pedal is applied to the vehicle by the basic hydraulic pressure braking force to be generated and the regenerative braking force generated by the regenerative braking device.
  • the regenerative braking force is actively used when the brake pedal is not in rapid depression (for example, in the case of depression at a normal depression speed) when not stepping rapidly.
  • High regenerative efficiency that is, high fuel efficiency can be achieved.
  • the basic hydraulic braking force be applied as early as possible because of achievement of high regeneration efficiency and high fuel efficiency.
  • the present invention has been made to solve the above-described problems, and in a vehicle brake device, by using regenerative braking force actively when the brake pedal is not stepped on quickly, high regeneration efficiency, high
  • An object of the present invention is to achieve both fuel consumption and to apply the base hydraulic braking force as early as possible when the brake pedal is suddenly depressed.
  • the structural feature of the invention according to claim 1 is that the basic hydraulic pressure is generated in the master cylinder according to the depression of the brake pedal, and the generated basic hydraulic pressure is generated with the master cylinder
  • a regenerative brake device for generating power on any of the wheels and the hydraulic brake device and the regenerative brake device are operated in coordination to operate the brake pedal based on the base hydraulic pressure braking force and the regenerative braking force.
  • a first rod connected to a brake pedal and a master cylinder are connected together
  • a second rod slidably engaged with the distal end of the first rod while changing the volume of the internal space while forming an internal space filled with fluid between the distal end of the rod and the first rod
  • a connection mechanism having a biasing member interposed between the rod and the second rod and biasing the both rods in the direction of increasing the volume of the internal space, and interlockingly connecting the brake pedal and the piston of the master cylinder
  • a communication passage that communicates the inside and the outside of the internal space, and restricts the outflow of fluid from the internal space when the brake pedal is suddenly depressed and restricts the outflow of fluid from the internal space when the brake pedal is not depressed.
  • the structural feature of the invention according to claim 2 is that in claim 1 the communication passage is an orifice.
  • the structural feature of the invention according to claim 3 is that, in claim 2, the orifice is a gap between the first rod and the second rod.
  • the structural feature of the invention according to claim 4 is that in claim 1, at least one of the tip of the first rod and the tip of the second rod has a bottomed cylindrical tubular part opened at the tip. The other is to slide in the tubular portion, and the internal space is formed inside the tubular portion.
  • the structural feature of the invention according to claim 5 is that, in claim 4, the communication passage is an orifice which penetrates the side wall of the cylindrical portion.
  • a feature of the invention according to claim 6 is that, in claim 4 or claim 5, when the brake pedal is not depressed suddenly, the tip end portion in the tube portion is the bottom of the tube portion after depression of the brake pedal is started.
  • the second rod slides on the first rod during the period until it abuts on the first rod, and the generation of the basic fluid pressure braking force is limited, while the depression of the brake pedal is started when the brake pedal is suddenly depressed.
  • the first rod presses the second rod via the fluid compressed in the internal space before the distal end portion in the portion abuts on the bottom of the cylindrical portion, and the restriction on the generation of the base fluid pressure braking force is released. Is Rukoto.
  • the structural feature of the invention according to claim 7 is that, in any one of claims 4 to 6, the depression position of the brake pedal in which the tip end portion in the cylindrical portion abuts on the bottom of the cylindrical portion is a regenerative brake It is set based on the maximum regenerative braking force that can be generated by the device.
  • the configurational feature of the invention according to claim 8 is characterized in that, in claim 1, the control valve for opening or closing the fluid passage connected to the communication passage, and the detection means for detecting a sudden depression of the brake pedal.
  • the control valve shuts off the communication passage when the sudden depression is detected by the detection means, and the communication passage is opened by the control valve when the sudden depression is not detected by the detection means.
  • the vehicle brake device includes a brake assist device, and the brake assist device is configured to rapidly depress the brake pedal. Operating with the second rod moving with the first rod.
  • the first rod connected to the brake pedal when the brake pedal is not depressed suddenly The outflow of fluid from the internal space formed between the first rod and the second rod slidably engaged with the first rod is not restricted by the communication passage.
  • the volume of the internal space decreases, the fluid in the internal space is hardly compressed, so the second rod is in a state of sliding on the first rod, and generation of the base hydraulic pressure braking force is performed in this state. Be suppressed.
  • the base hydraulic pressure braking force is forcibly limited to a predetermined value or less.
  • the regenerative braking device compensates for the shortage of the basic hydraulic braking force with respect to the vehicle braking force by the regenerative braking force by cooperative operation with the hydraulic brake device for achieving the vehicle braking force corresponding to the brake operation state. Therefore, when the brake pedal is not depressed suddenly, the regenerative braking force is positively utilized, and high regenerative efficiency, that is, high fuel efficiency can be achieved.
  • the brake pedal when the brake pedal is suddenly depressed, the outflow of fluid from the internal space is limited by the communication passage. At this time, for example, since the first rod presses the second rod via the compressed air by forming the compressed air in the internal space, the second rod is in a state of moving with the first rod. In this state, the suppression of the generation of the base fluid pressure braking force is released.
  • the regenerative braking device compensates for the shortage of the basic fluid pressure braking force with respect to the vehicle braking force by the regenerative braking force by cooperative operation with the hydraulic pressure braking device for achieving the vehicle braking force corresponding to the brake operation state. . Therefore, when the brake pedal is suddenly depressed, it is possible to achieve early application of the base hydraulic pressure braking force in preference to high regeneration efficiency and high fuel efficiency.
  • the regenerative braking force is actively used when not stepping on the vehicle, thereby achieving high regeneration efficiency and high fuel efficiency, and in the case of rapid stepping, the basic hydraulic braking force is as early as possible.
  • the coexistence of giving can be aimed at.
  • the communication passage is an orifice.
  • the orifice is a gap between the first rod and the second rod. Therefore, the outflow of fluid from the internal space can be reduced with a simple configuration and at low cost.
  • At least one of the tip end portion of the first rod and the tip end portion of the second rod is a bottomed cylindrical tubular portion opened at the tip end And the other slides in the tubular portion, and the internal space is formed inside the tubular portion.
  • the communication passage is an orifice passing through the side wall of the cylindrical portion.
  • the air in the internal space does not flow out, so the inside
  • the damper effect of the space can be further improved, and a shock (impact) when the first rod abuts on the second rod can be suppressed.
  • the regenerative braking force is positively It is possible to achieve high regeneration efficiency, that is, high fuel efficiency.
  • the basic hydraulic pressure braking force can be applied earlier than high regenerative efficiency and high fuel efficiency.
  • the depression position of the brake pedal in which the tip end portion in the cylindrical portion abuts on the bottom of the cylindrical portion is It is set based on the maximum regenerative braking force that can be generated by the regenerative braking device.
  • the base hydraulic pressure braking force generated by the hydraulic pressure brake device and the maximum regenerative control generated by the regenerative brake device The vehicle braking force corresponding to the operation state of the brake pedal can be applied to the vehicle by the power and high regeneration efficiency can be realized.
  • a control valve for opening or closing the fluid passage connected to the communication passage, and detection means for detecting sudden depression of the brake pedal.
  • the control valve shuts off the communication passage when the sudden depression is detected by the detection means, and the communication passage is opened by the control valve when the sudden depression is not detected by the detection means.
  • the communication path can be reliably blocked / opened in response to the rapid depression / non-emergency depression of the brake pedal.
  • the vehicle brake device includes a brake assist device, and the brake assist device is a rapid depression of the brake pedal. Sometimes it operates with the second rod moving with the first rod. As a result, when the brake pedal is suddenly depressed, the brake assist device can ensure early application of the base hydraulic pressure braking force.
  • FIG. 1 is a schematic view showing a first embodiment to which a vehicle brake device according to the present invention is applied. It is a figure which shows the state before stepping on a brake of the base hydraulic pressure braking force generator shown in FIG. It is sectional drawing which shows the operating force transmission mechanism shown in FIG. It is a schematic diagram which shows the outline
  • FIG. 1 It is a partial expanded sectional view of the negative pressure type booster shown in FIG. It is a correlation diagram of the brake operation force and damping
  • FIG. 21 is a view showing a pedal effort-deceleration characteristic showing an action of a reaction force spring in an eighth embodiment to which a vehicle brake system according to the present invention is applied.
  • FIG. 1 is a schematic view showing the configuration of the hybrid vehicle
  • FIG. 2 is a schematic view showing the configuration of a basic hydraulic braking force generator of the vehicle brake system.
  • a hybrid vehicle is a vehicle in which drive wheels such as left and right front wheels FL and FR are driven by a hybrid system, as shown in FIG.
  • the hybrid system is a powertrain that uses two types of power sources of the engine 11 and the motor 12 in combination.
  • it is a parallel hybrid system in which the wheels are directly driven by both the engine 11 and the motor 12.
  • serial hybrid system other than this, in which the wheels are driven by the motor 12 and the engine 11 acts as a power supply source to the motor 12.
  • a hybrid vehicle equipped with this parallel hybrid system includes an engine 11 and a motor 12.
  • the driving force of the engine 11 is transmitted to the drive wheels (the left and right front wheels FL and FR in the first embodiment) via the power split mechanism 13 and the power transmission mechanism 14, and the drive of the motor 12 is performed.
  • the force is transmitted to the drive wheels through the power transmission mechanism 14.
  • the power split mechanism 13 appropriately splits the drive power of the engine 11 into a vehicle drive power and a generator drive power.
  • the power transmission mechanism 14 appropriately integrates the driving forces of the engine 11 and the motor 12 according to the traveling conditions, and transmits the driving forces to the drive wheels.
  • the power transmission mechanism 14 adjusts the transmitted driving power ratio of the engine 11 and the motor 12 between 0: 100 and 100: 0.
  • the power transmission mechanism 14 has a speed change function.
  • the motor 12 assists the output of the engine 11 to enhance the driving force, and generates electric power when the vehicle is braked to charge the battery 17.
  • the generator 15 generates electric power by the output of the engine 11, and has a function of a starter at the time of engine start.
  • the motor 12 and the generator 15 are electrically connected to the inverter 16 respectively.
  • the inverter 16 is electrically connected to the battery 17 as a DC power supply, converts the AC voltage input from the motor 12 and the generator 15 into a DC voltage and supplies it to the battery 17, or conversely, from the battery 17 It converts DC voltage into AC voltage and outputs it to the motor 12 and the generator 15.
  • the motor 12, the inverter 16 and the battery 17 constitute a regenerative braking device A, which is detected by a pedal stroke sensor 21a (or pressure sensor P).
  • the regenerative braking force based on the brake operation state is selected from any of the wheels FL, FR, RL, and RR (in the first embodiment, the left and right front wheels FL driven by the motor 12 serving as the drive source, FR).
  • the engine 11 is controlled by an engine ECU (electronic control unit) 18, and the engine ECU 18 outputs an opening degree command to the electronically controlled throttle in accordance with an engine output request value from a hybrid ECU (electronic control unit) 19 described later. Adjust the rotation speed of.
  • the hybrid ECU 19 is connected such that the inverters 16 can communicate with each other.
  • the hybrid ECU 19 derives the necessary engine output, electric motor torque and generator torque from the accelerator opening and the shift position (calculated from the shift position signal inputted from the shift position sensor not shown), and the derived engine output request value Are transmitted to the engine ECU 18 to control the driving force of the engine 11, and also control the motor 12 and the generator 15 through the inverter 16 in accordance with the derived electric motor torque request value and generator torque request value.
  • the hybrid ECU 19 is connected to the battery 17 and monitors the charge state of the battery 17, charge current, and the like. Further, the hybrid ECU 19 is connected to an accelerator opening sensor (not shown) which is assembled to an accelerator pedal (not shown) and detects an accelerator opening of the vehicle, and receives an accelerator opening signal from the accelerator opening sensor. ing.
  • the hybrid vehicle also includes a hydraulic brake device B that applies a hydraulic braking force directly to the wheels FL, FR, RL, RR to brake the vehicle.
  • the hydraulic brake device B generates a base hydraulic pressure corresponding to a brake operation state by depression of the brake pedal 21 in the master cylinder 23, and generates the generated base hydraulic pressure with the master cylinder 23.
  • the respective wheels FL , FR, RL, RR By directly applying the fluid pressure control valves 31, 41 to the wheel cylinders WC1, WC2, WC3, WC4 of the wheels FL, FR, RL, RR connected by the oil paths Lf, Lr, respectively, the respective wheels FL , FR, RL, RR generate a base fluid pressure braking force corresponding to the base fluid pressure, and drive and control the pumps 37, 47 independently of the base fluid pressure generated corresponding to the brake operation state
  • the control hydraulic pressure formed by the control of the valves 31, 41 is applied to the wheel cylinders WC1, WC2, WC3, WC4 of the respective wheels FL, FR, RL, RR.
  • the hydraulic brake device B is a negative pressure booster 22 which is a booster that boosts the suction operation force of the engine 11 by acting an intake negative pressure of the engine 11 on the diaphragm to assist the brake operation force generated by the stepping operation of the brake pedal 21.
  • the brake fluid (oil) of the fluid pressure (hydraulic pressure) which is the basic fluid pressure corresponding to the brake operating force (that is, the operating state of the brake pedal 21) boosted by the negative pressure type booster 22
  • a master cylinder 23 that supplies WC4, a reservoir tank 24 that stores brake fluid and supplies the master cylinder 23 with the brake fluid, and is provided between the master cylinder 23 and wheel cylinders WC1 to WC4 to control hydraulic pressure
  • a brake actuator (control fluid pressure braking force generator) 25 to be formed is provided.
  • the brake pedal 21, the negative pressure booster 22, the master cylinder 23, and the reservoir tank 24 constitute a basic hydraulic pressure braking force generator.
  • the brake pedal 21 is connected to the negative pressure booster 22 via the operating rod 26, and the negative pressure booster 22 is connected to the master cylinder 23 via the push rod 27 and acts on the brake pedal 21.
  • the brake operating force thus obtained is input to the negative pressure booster 22 through the operating rod 26, boosted, and input to the master cylinder 23 through the push rod 27.
  • the brake pedal 21 is provided with a pedal stroke sensor 21 a which detects a brake pedal stroke which is a brake operation state by depression of the brake pedal 21.
  • the pedal stroke sensor 21 a is connected to the brake ECU 60, and a detection signal is transmitted to the brake ECU 60.
  • the brake pedal 21 is provided with a reaction force spring 21b which is a pedal reaction force forming means for forming a pedal reaction force of the brake pedal 21 until the brake operation state becomes a predetermined state (described later).
  • the reaction force spring 21b is connected at one end to the bracket 10a fixed to the vehicle body of the vehicle, and the brake release direction (the brake pedal 21 is not depressed before the brake pedal 21 is depressed). In the direction of returning to the original position).
  • the biasing force of the reaction force spring 21b is desirably set in consideration of the inner diameter of the housing 23a of the master cylinder 23, the boosting ratio, and the like.
  • the negative pressure booster 22 is generally well known, and the negative pressure inlet 22a is in communication with the intake manifold of the engine 11, and the negative pressure of the intake manifold is used as a boosting source.
  • the master cylinder 23 is a tandem type master cylinder, and has a housing 23a formed in a bottomed cylindrical shape, and a first and a liquid-tightly and slidably housed inside the housing 23a.
  • the second piston 23b, 23c, the first spring 23e disposed in the first hydraulic pressure chamber 23d formed between the first piston 23b and the second piston 23c, the second piston 23c, and the housing 23a It is comprised from the 2nd spring 23g arrange
  • the second piston 23c is urged toward the opening end (the first piston 23b side) by the second spring 23g, and the first piston 23b is urged toward the opening end by the first spring 23e.
  • One end (open end side end) of 23 b is pressed to abut on the tip of the push rod 27.
  • the housing 23a of the master cylinder 23 has a first port 23h for communicating the first fluid pressure chamber 23d with the reservoir tank 24, and a second port 23i for communicating the second fluid pressure chamber 23f with the reservoir tank 24. And are provided.
  • the first port 23 h is a first piston 23 b in a first position (return position: the state shown in FIG. 2) in which the driver's foot is away from the brake pedal 21, that is, the brake pedal 21 is not depressed.
  • the closed end closing the same port 23h is disposed at a position corresponding to the open end of the first port 23h (ie, the position immediately before the closed end of the first piston 23b starts closing the opening of the first port 23h).
  • the second port 23i has an open end that closes the second port 23i of the second piston 23c at the first position (return position: the state shown in FIG. 2). (Ie, the position immediately before the closed end of the second piston 23c starts closing the opening of the second port 23i).
  • the housing 23a of the master cylinder 23 constitutes a third port 23j for communicating the first hydraulic pressure chamber 23d with the oil passage Lr constituting the rear wheel system, and the second hydraulic pressure chamber 23f and the front wheel system.
  • a fourth port 23k for communicating with the oil path Lf is provided.
  • the oil passage Lr communicates the first fluid pressure chamber 23d with the wheel cylinders WC3 and WC4 of the left and right rear wheels RL and RR
  • the oil passage Lf is a second fluid pressure chamber.
  • 23f is communicated with the wheel cylinders WC1 and WC2 of the left and right front wheels FL and FR, respectively.
  • the respective braking means BK1, BK2, BK3, BK4 provided corresponding to WC4 are operated to apply a hydraulic braking force (base hydraulic braking force, braking hydraulic braking force) to each wheel FL, FR, RL, RR .
  • the brake means BK1, BK2, BK3, BK4 include disc brakes, drum brakes and the like, and friction members such as brake pads and brake shoes regulate the rotation of the disc rotor and brake drums integrated with the wheels. ing.
  • the operating rod 26 is provided to connect the two members 21 and 23b between the brake pedal 21 and the first piston 23b of the master cylinder 23, and the operating force to the brake pedal 21 is determined by the first piston 23b of the master cylinder 23. It is a connecting member for transmitting to the side.
  • the connecting member may be any connecting member provided for connecting both members between the brake pedal 21 and the first piston 23b of the master cylinder 23, and the push rod 27 or the like may be adopted. .
  • the operating rod 26 applies the operating force applied to the brake pedal 21 to the first piston 23b of the master cylinder 23 while the brake operation state is from the depression start state to the predetermined state.
  • An operation force transmission mechanism 70 configured to transmit an operation force applied to the brake pedal 21 to the first piston 23b of the master cylinder 23 after a predetermined state so as not to transmit is provided.
  • the operation force transmission mechanism 70 is a coupling mechanism that interlocks the brake pedal 21 and the first piston 23 b of the master cylinder 23 in an interlockable manner.
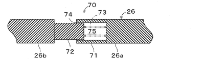
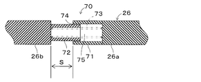
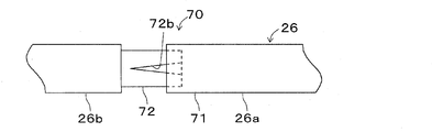
  • the operation force transmission mechanism 70 includes a first operating rod 26 a (first rod) which is a brake pedal 21 side portion constituting the operating rod 26 and a second operating rod 26 b (second rod) which is a master cylinder 23 side portion. It is provided at the junction. Specifically, one end of the first operating rod 26 a is connected to the brake pedal 21. A cylindrical portion 71 (outer cylindrical portion) is formed at the other end (distal end) of the first operating rod 26a. The cylindrical portion 71 is formed in a bottomed cylindrical shape whose tip is open. The other end of the second operating rod 26b is connected to the master cylinder 23 (first piston 23b) via the push rod 27 and the like.
  • a cylindrical engaging portion 72 (inner cylindrical portion) housed so as to reciprocate slidably in the cylindrical portion 71 is formed.
  • the cylindrical engagement portion 72 is configured not to come off the cylindrical portion 71.
  • a spring 73 is provided between the cylindrical portion 71 and the cylindrical engagement portion 72 for urging the rods 26a and 26b in a direction (a direction in which the volume of the internal space 75 increases) along the reciprocation direction. It is done.
  • the operation force transmission mechanism 70 is a basic hydraulic pressure braking force generation limiting means.
  • a fluid (air in this embodiment) is filled between the tip of the first operating rod 26a and the tip of the second operating rod 26b, that is, between the cylindrical portion 71 and the cylindrical engaging portion 72.
  • An internal space 75 is formed. The volume of the internal space 75 is changed by the relative movement of the cylindrical engagement portion 72 with respect to the cylindrical portion 71.
  • a fluid not only gas but also liquid is available.
  • the operation force transmission mechanism 70 is provided with a communication passage 74 that communicates the inside and the outside of the internal space 75 and allows the fluid in the internal space 75 to flow in and out.
  • the communication passage 74 is configured such that the outflow of fluid from the internal space 75 is limited when the brake pedal 21 is suddenly depressed, and not restricted when the brake pedal 21 is not depressed.
  • the communication passage 74 is an orifice.
  • the orifice is a gap between the cylindrical portion 71 of the first operating rod 26a and the cylindrical engaging portion 72 of the second operating rod 26b.
  • the stepping speed at the time of a sudden depression is faster than at the time of a non-deep depression.
  • the first operating rod 26a is in sliding contact with the second operating rod 26b which is stopped as in the present embodiment. It means that.
  • the first operating rod 26a is moved toward the second operating rod 26b against the biasing force of the spring 73 by the operating force.
  • the biasing force of the spring 73 is set to be smaller than the biasing force of the return spring of the negative pressure booster 22 for returning the second operating rod 26b and the springs 23e and 23g of the master cylinder 23.
  • the spring 73 is compressed but the second operating rod 26b is not moved. That is, since the master cylinder pressure is limited in the master cylinder 23, the master cylinder pressure is not applied to the wheel cylinders WC1, WC2, WC3, and WC4.
  • the second operating rod 26b is moved together with the first operating rod 26a by the operation force when it abuts on the part). That is, the master cylinder pressure starts to be formed by the master cylinder 23, and the master cylinder pressure generated by the depression of the brake pedal 21 is applied to the wheel cylinders WC1, WC2, WC3, WC4. Then, when the depression of the brake pedal 21 is released, the operating force transmission mechanism 70 is returned to the state of FIG. 3 by the biasing force of the spring 73.
  • the base hydraulic pressure braking force by the base hydraulic pressure formed by the hydraulic brake device B is as shown by a broken line in FIG. That is, when the brake pedal stroke is positioned between the depression start position and the position where the first operating rod 26a abuts on the second operating rod 26b (abutment position), the first and second hydraulic pressures of the master cylinder 23 Since the base fluid pressure generated in the chambers 23d and 23f is limited to zero, the generation of the base fluid pressure braking force is also limited to zero. Then, when the brake pedal stroke is located at a position beyond the position where the first operating rod 26a abuts on the second operating rod 26b, the aforementioned generation restriction of the base hydraulic pressure is released, and the first and second liquids are released.
  • the base fluid pressure braking force also corresponds to the brake pedal stroke.
  • the state where the first operating rod 26a is in contact with the second operating rod 26b is a predetermined state, and the basic hydraulic pressure braking force is a brake operation state where pressure boosting corresponding to the brake pedal stroke is started. Therefore, as shown by the broken line in FIG. 5, by applying the base hydraulic pressure directly to the wheel cylinders WC1, WC2, WC3, WC4, the foundation corresponding to the basic hydraulic pressure to the respective wheels FL, FR, RL, RR. A hydraulic braking force can be generated.
  • the predetermined state is a brake operation state in which the generation restriction of the base hydraulic pressure braking force is released and the base hydraulic pressure braking force starts to increase the pressure corresponding to the brake operation state.
  • a predetermined distance s (equivalent to s shown in FIG. 3), which is the distance from the stepping-in start position to the contact position, is the maximum regenerative braking force when the regenerative braking device A is in the predetermined state. It is desirable to be set to generate
  • the master cylinder 23 releases the restriction on the generation of the base hydraulic pressure braking force and the regenerative brake device A generates the maximum regenerative braking force.
  • the distance between one end surface of the cylindrical portion 71 of the first operating rod 26 a and the step of the cylindrical engaging portion 72 of the second operating rod 26 b It is.
  • the fluid flow from the internal space 75 of the operation force transmission mechanism 70 is restricted by the communication passage 74.
  • compressed air is formed in the internal space 75, so that the first operating rod 26a performs the second operating operation via the compressed air before the first operating rod 26a directly abuts on the second operating rod 26b.
  • the rod 26 b and the push rod 27 are pressed. Therefore, since the second operating rod 26b is moving with the first operating rod 26a, the first piston 23b is pushed by the push rod 27 to close the first port 23h, thereby the first hydraulic pressure chamber 23d.
  • the basic hydraulic pressure braking force generation limiting means generates a basic hydraulic pressure braking force during the period from when the first operating rod 26a is stepped on to the abutment position.
  • the base hydraulic pressure braking force can be actively generated when the first operating rod 26a is positioned between the depression start position and the contact position.
  • the regenerative brake device A uses the regenerative braking force to compensate for the insufficient amount of the basic hydraulic braking force to the vehicle braking force by cooperative operation with the hydraulic brake device B for achieving the vehicle braking force corresponding to the brake operation state. compensate. Therefore, in the low depression force area from the depression start position to the contact position of the first operating rod 26a, when the brake pedal 21 is suddenly depressed, the basic hydraulic pressure braking force is applied earlier than high regeneration efficiency and high fuel efficiency. be able to.
  • the base fluid pressure braking force by the base fluid pressure formed by the fluid pressure brake device B is as shown by a solid line in FIG. That is, when the brake pedal stroke is located between the depression start position and the closing position (port closing position) for completely closing the first port 23h, the generation of the base hydraulic pressure is not limited and occurs according to the pedal stroke. Do. Furthermore, when the brake pedal stroke is positioned from the closed position to the position where the first operating rod 26a abuts on the second operating rod 26b (abutment position), the first port 23h is completely closed, thereby the basic As the fluid pressure is increased (because the amount of increase is increased), a larger base fluid pressure is generated. When the brake pedal stroke is positioned beyond the contact position, the base fluid pressure generated in the first and second fluid pressure chambers 23d and 23f corresponds to the brake pedal stroke, so the base fluid The pressure braking force also corresponds to the brake pedal stroke.
  • the port closing position is set to be between the stepping start position and the contact position. Also, the port closing position may be set to a position beyond the abutting position.
  • the inclination of the base hydraulic pressure braking force at the time of rapid depression and the inclination of the basic hydraulic pressure braking force at the time of non-urgent depression are determined by the characteristics of the master cylinder 23 and the negative pressure booster 22 and have the same characteristics.
  • the rise time of the basic fluid pressure braking force at the time of rapid depression is earlier than at the time of non-rapid depression.
  • the brake actuator 25 is generally well known, and includes fluid pressure control valves 31, 41, pressure increase control valves 32, 33, 42, 43 constituting an ABS control valve, and pressure decrease control valves 35, 36. , 45, 46, pressure control reservoirs 34, 44, pumps 37, 47, motor M, etc. are packaged in one case.
  • the oil path Lf is provided with a hydraulic pressure control valve 31 configured of a differential pressure control valve.
  • the fluid pressure control valve 31 is controlled by the brake ECU 60 to switch between the communication state and the differential pressure state.
  • the fluid pressure control valve 31 is normally in communication, but the pressure in the oil passage Lf2 on the wheel cylinder WC1 and WC2 side is higher by a predetermined differential pressure than the oil passage Lf1 on the master cylinder 23 side by differential pressure. Can be held in The differential pressure is adjusted by the brake ECU 60 according to the control current.
  • the oil path Lf2 is branched into two, one of which is provided with a pressure increase control valve 32 for controlling the pressure increase of the brake fluid pressure to the wheel cylinder WC1 in the pressure increase mode of the ABS control, and the other has an ABS
  • a pressure increase control valve 33 is provided to control the pressure increase of the brake fluid pressure to the wheel cylinder WC2 in the pressure increase mode of control.
  • the pressure increase control valves 32 and 33 are configured as two-position valves that can control the communication / disconnection state by the brake ECU 60.
  • the pressure increase control valves 32, 33 are controlled to be in a continuous communication state. Further, safety valves 32a and 33a are provided in parallel to pressure increase control valves 32 and 33, respectively, and when the brake pedal 21 is released at the time of ABS control, the brake fluid from the wheel cylinders WC1 and WC2 side is accompanied accordingly. Is returned to the reservoir tank 24.
  • the oil passage Lf2 between the pressure increase control valves 32, 33 and the wheel cylinders WC1, WC2 is in communication with the pressure control reservoir 34 via the oil passage Lf3.
  • pressure reduction control valves 35, 36 capable of controlling the communication / disconnection state by the brake ECU 60 are respectively disposed. These pressure reduction control valves 35 and 36 are always in the shutoff state in the normal braking state (at the time of ABS non-operation), and appropriately release the brake fluid to the pressure control reservoir 34 through the oil passage Lf3 as the communication state, , WC2 to control the brake fluid pressure to prevent the wheels from becoming locked.
  • a pump 37 is disposed together with a safety valve 37a in an oil path Lf4 connecting the oil path Lf2 and the pressure control reservoir 34 between the fluid pressure control valve 31 and the pressure increase control valves 32,33.
  • An oil passage Lf5 is provided to connect the pressure control reservoir 34 to the master cylinder 23 via the oil passage Lf1.
  • the pump 37 is driven by the motor M according to a command from the brake ECU 60.
  • the pump 37 sucks in the brake fluid in the wheel cylinders WC1 and WC2 or the brake fluid stored in the pressure regulation reservoir 34 in the pressure reduction mode of the ABS control and is in communication with the master via the fluid pressure control valve 31 in communication state. It is returned to the cylinder 23.
  • the pump 37 is switched to the hydraulic pressure control valve 31 switched to the differential pressure state.
  • the brake fluid in the master cylinder 23 is sucked through the oil paths Lf1 and Lf5 and the pressure control reservoir 34, and the oil paths Lf4 and Lf2 and the pressure increase control valves 32 and 33 in communication.
  • the control hydraulic pressure is applied by discharging the wheel cylinders WC1 and WC2.
  • An accumulator 38 is disposed on the upstream side of the pump 37 of the oil path Lf4 in order to reduce the pulsation of the brake fluid discharged by the pump 37.
  • a pressure sensor P for detecting a master cylinder pressure which is a brake hydraulic pressure in the master cylinder 23 is provided in the oil path Lf1, and this detection signal is transmitted to the brake ECU 60.
  • the pressure sensor P may be provided on the oil path Lr1.
  • the rear wheel system of the brake actuator 25 has a configuration similar to that of the front wheel system described above, and the oil passage Lr constituting the rear wheel system is comprised of oil passages Lr1 to Lr5, as with the oil passage Lf.
  • the oil path Lr is provided with a fluid pressure control valve 41 similar to the fluid pressure control valve 31 and a pressure control reservoir 44 similar to the pressure control reservoir 34.
  • the branched oil paths Lr2 and Lr2 communicated with the wheel cylinders WC3 and WC4 are provided with pressure increase control valves 42 and 43 similar to the pressure increase control valves 32 and 33, and the oil path Lr3 is provided with pressure reduction control valves 35 and 36 Similar pressure reduction control valves 45, 46 are provided.
  • the oil path Lr4 is provided with a pump 37, a pump 47 similar to the safety valve 37a and the accumulator 38, a safety valve 47a and an accumulator 48.
  • the pressure increase control valves 42 and 43 are provided in parallel with safety valves 42 a and 43 a similar to the safety valves 32 a and 33 a, respectively.
  • control hydraulic pressure formed by driving the pumps 37 and 47 and controlling the hydraulic control valves 31 and 41 is applied to the wheel cylinders WC1, WC2, WC3 and WC4 of the respective wheels FL, FR, RL and RR.
  • the control fluid pressure braking force can be generated on each of the wheels FL, FR, RL, RR.
  • the vehicle brake system mainly includes wheel speed sensors Sfl, Sfr, Srl, Srr, and pressure which detect the wheel speeds of the pedal stroke sensor 21a and the wheels FL, FR, RL, RR, respectively.
  • a sensor P, control valves 31, 32, 33, 33, 35, 36, 41, 42, 43, 45, and 46, and a brake ECU (electronic control unit) 60 connected to a motor M are provided.
  • the brake ECU 60 switches and controls the states of the control valves 31, 32, 33, 35, 36, 41, 42, 43, 45, and 46 of the hydraulic brake device B based on the detection by these sensors and the state of the shift switch.
  • the control hydraulic pressure applied to the wheel cylinders WC1 to WC4 that is, the control hydraulic pressure braking force applied to the wheels FL, FR, RL, and RR is controlled.
  • the brake ECU 60 is communicably connected to each other to the hybrid ECU 19 and performs coordinated control of the regenerative brake and the hydraulic brake performed by the motor 12 so that the total braking force of the vehicle becomes equivalent to that of the hydraulic brake only vehicle. .
  • the brake ECU 60 in response to a driver's braking request, ie, a braking operation state, the brake ECU 60 sends a regeneration request value, which is a share of the regenerative braking device among the total braking force, to the hybrid ECU 19 as a target value of the regenerative braking device, ie, target regeneration. Output as a braking force.
  • the hybrid ECU 19 derives an actual regeneration execution value to be actually acted as a regeneration brake in consideration of the vehicle speed, the battery charge state, etc. based on the input regeneration request value (target regenerative braking force), and regeneration corresponding to the actual regeneration execution value.
  • the motor 12 is controlled via the inverter 16 to generate a braking force, and the derived actual regeneration execution value is output to the brake ECU 60.
  • the brake ECU 60 applies the basic hydraulic pressure braking force applied to the wheels FL, FR, RL, RR by the brake means BK1, BK2, BK3, BK4.
  • the brake ECU 60 maps the target regenerative braking force to be applied to the wheels FL, FR, RL, RR according to the brake operation state which is the stroke of the brake pedal (or the master cylinder pressure), maps it into a table or arithmetic expression and stores it. It is stored in advance. Further, in the brake ECU 60, a coordinated control program (a vehicle brake control program) shown in FIG. 6 is stored.
  • the brake ECU 60 executes a program corresponding to the above-described flowchart at predetermined short intervals.
  • the brake ECU 60 inputs a pedal stroke which is the operating state of the brake pedal 21 from the pedal stroke sensor 21a (step 102), and calculates a target regenerative braking force according to the input pedal stroke (step 104).
  • the brake ECU 60 uses a map, a table or an arithmetic expression indicating the relationship between the pedal stroke stored in advance, that is, the brake operation state and the target regenerative braking force to be applied to the wheels FL, FR, RL, RR.
  • the target regenerative braking force calculated in step 104 is output to the hybrid ECU 19 and control is not performed on the brake actuator 25 (steps 106 and 108). Therefore, when the brake pedal 21 is depressed, the hydraulic brake device B applies only the basic hydraulic braking force (static pressure brake) to the wheels FL, FR, RL, RR as in the case described above.
  • the hybrid ECU 19 inputs a regeneration request value indicating the target regenerative braking force, and based on the value, the motor 12 is transmitted via the inverter 16 so as to generate the regenerative braking force in consideration of the vehicle speed and the battery charge state. While performing control, the actual regeneration execution value is output to the brake ECU 60.
  • FIG. 5 shows the correlation between the brake operating force at the time of regenerative coordinated control and the braking force indicating the sum of the base fluid pressure braking force and the regenerative braking force.
  • the brake operation state is the state at the start of depression, from the depression start state Until the predetermined state is reached, the generation is limited so that the base fluid pressure braking force becomes equal to or less than a predetermined value.
  • the basic hydraulic braking force is forcibly limited to a predetermined value or less between the depression start state and the predetermined state, as indicated by the broken line in FIG. Only the regenerative braking force is applied according to the brake operation state.
  • the brake operation state when the brake operation state is in the predetermined state, the restriction on the generation of the base hydraulic pressure braking force is released, and the regenerative braking device A generates the maximum regenerative braking force, so only the maximum regenerative braking force is applied. Ru. Furthermore, when the brake operation state is depressed from the predetermined state, the release of the restriction on the generation of the base hydraulic pressure braking force is maintained, and the hydraulic brake device B and the regenerative brake device A operate in coordination with each other. A vehicle braking force corresponding to the brake operation state is applied based on the hydraulic pressure braking force and the regenerative braking force (basically, the maximum regenerative braking force).
  • the brake ECU 60 detects the fluctuation of the regenerative braking force actually generated by the regenerative brake device A (steps 110 to 114). Specifically, the brake ECU 60 performs actual regeneration execution indicating the actual regenerative braking force actually applied to the wheels FL, FR, RL, and RR by the regenerative braking device A with respect to the target regenerative braking force calculated in step 104. A value is input (step 110), and the difference between the target regenerative braking force calculated in step 104 and the actual regenerative braking force input in step 110 is calculated (step 112), and the calculated difference is a predetermined value. If it is larger than a, it is detected that the regenerative braking force has fluctuated (step 114).
  • the brake ECU 60 When the brake ECU 60 detects a change in regenerative braking force, it determines YES in step 114 and drives the pumps 37, 47 of the hydraulic brake device B and controls the hydraulic control valves 31, 41. By forming a control hydraulic pressure and applying a control hydraulic braking force based on the control hydraulic pressure to the wheels FL, FR, RL, RR, the shortage of the braking force due to the fluctuation of the regenerative braking force detected as described above is compensated. (Step 116). Specifically, the brake ECU 60 determines the difference between the target power calculated at step 104 and the actual regenerative braking force input at step 110, that is, the hydraulic pressure corresponding to the difference calculated at step 112.
  • Control hydraulic pressure to be The brake ECU 60 starts the motor M to drive the pumps 37 and 47 so that the hydraulic pressure of the brake fluid supplied from the pumps 37 and 47 to the wheel cylinders WC1, WC2, WC3 and WC4 becomes the control hydraulic pressure.
  • a current is applied to the linear solenoids of the pressure control valves 31 and 41.
  • the linear solenoid 33 be feedback-controlled so that the fluid pressure of the wheel cylinders WC1, WC2, WC3 and WC4 detected by the fluid pressure sensor 40 becomes the control fluid pressure.
  • the brake ECU 60 does not detect the fluctuation of the regenerative braking force, it is determined as NO in step 114, and the control of the brake actuator 25 is stopped (step 118).
  • the outflow is not limited by the communication passage 74.
  • the volume of the internal space 75 is reduced, the fluid in the internal space 75 is hardly compressed, so the second operating rod 26b (second rod) slides on the first operating rod 26a (first rod).
  • the generation of the base hydraulic pressure braking force is limited.
  • the base hydraulic pressure braking force is forcibly limited to a predetermined value or less. Be done.
  • the regenerative brake device A performs regenerative braking force on the insufficient portion of the basic fluid pressure braking force with respect to the vehicle braking force by cooperative operation with the hydraulic brake device B for achieving the vehicle braking force corresponding to the brake operation state.
  • the regenerative brake device A performs regenerative braking force on the insufficient portion of the basic fluid pressure braking force with respect to the vehicle braking force by cooperative operation with the hydraulic brake device B for achieving the vehicle braking force corresponding to the brake operation state.
  • the regenerative braking force is positively utilized, particularly in the low pedaling force area from the stepping start position to the abutment position of the first operating rod 26a.
  • Regenerative efficiency that is, high fuel efficiency can be achieved.
  • the operation force transmission mechanism 70 base fluid pressure braking force generation limiting means
  • the regenerative brake device A performs regenerative braking force on the insufficient portion of the basic fluid pressure braking force with respect to the vehicle braking force by cooperative operation with the hydraulic brake device B for achieving the vehicle braking force corresponding to the brake operation state. Make up for. Therefore, in the low depression force area from the depression start position to the contact position of the first operating rod 26a, when the brake pedal 21 is suddenly depressed, the basic hydraulic pressure braking force is applied earlier than high regeneration efficiency and high fuel efficiency. be able to.
  • high regenerative efficiency is achieved by actively utilizing regenerative braking force when not stepping in the low pedaling force region from the start of depression of the brake pedal 21 to the predetermined state.
  • the communication passage 74 is an orifice. Therefore, the outflow of the fluid from internal space 75 can be narrowed with simple composition.
  • the orifice is a gap 74 between the first operating rod 26a and the second operating rod 26b. Therefore, the outflow of fluid from the internal space 75 can be narrowed with a simple configuration and at low cost.
  • At least one of the tip of the first operating rod 26a and the tip of the second operating rod 26b has a bottomed cylindrical tubular portion 71 opened at the distal end, and the other slides in the tubular portion 71
  • the inner space 75 is formed inside the outer cylindrical portion 71 and the inner cylindrical portion 72.
  • the depression position of the brake pedal 21 at which the tip end of the cylindrical engaging portion 72 in the cylindrical portion 71 abuts on the bottom of the cylindrical portion 71 is set based on the maximum regenerative braking force that the regenerative braking device A can generate. It is done. Thereby, when the brake pedal stroke is located at a position beyond the contact position when the brake pedal 21 is not depressed suddenly, the base hydraulic pressure braking force generated by the hydraulic pressure brake device B and the regenerative brake device A are generated. A vehicle braking force corresponding to the operation state of the brake pedal can be applied to the vehicle by the maximum regenerative braking force to be applied, and a high regeneration efficiency can be realized.
  • the brake operation state may be detected by the master cylinder stroke sensor 23z that detects the stroke of the master cylinder 23.
  • the negative pressure type booster 22 of the hydraulic pressure brake device B described above was not equipped with the brake assist device
  • the negative pressure type booster 122 of the hydraulic pressure brake device B according to the second embodiment is a brake assist device Is equipped.
  • the brake assist device is a device that assists a small stepping force to form and apply a large braking force.
  • the negative pressure type booster 122 comprises a front shell 81a, a rear shell 81b and a movable wall 82, and includes a housing 81 whose inside is divided by a movable wall 82 into a constant pressure chamber R1 and a variable pressure chamber R2.
  • the movable wall 82 in the housing 81 is made of a metal plate 82a and a rubber diaphragm 82b, and is disposed movably in the front-rear direction with respect to the housing 81.
  • the constant pressure chamber R1 is in communication with an engine intake manifold (not shown) which is a negative pressure source, and is always kept at negative pressure during engine operation.
  • the variable pressure chamber R2 communicates with and shut off from the constant pressure chamber R1 through the passage 83 and the valve mechanism 84, and also communicates and shuts off from the atmosphere through the valve mechanism 84.
  • the plunger As shown in FIG. 8, in the negative pressure type booster 122, when the driver makes a sudden depression and depresses the brake pedal 21, when the relative movement amount between the operating rod 26 and the power piston 85 becomes larger than the predetermined value A, the plunger The sloped surface portion 86 b of 86 abuts on the tapered portion 87 a of the holding member 87 and radially expands the diameter of the holding member 87 urged in the direction of diameter reduction by the ring-shaped elastic body 88.
  • valve seat member 89 moves rearward, the second negative pressure valve seat 92 of the valve seat member 89 abuts on the valve 93a that constitutes the movable portion 93 of the valve mechanism 84, and communication between the constant pressure chamber R1 and the variable pressure chamber R2 is achieved. Cut off.
  • the plunger 86 is moving forward integrally with the operating rod 26, and the valve seat member 89 pushes back the movable portion 93 of the valve mechanism 84, so the atmosphere valve seat 86a of the plunger 86 and the valve
  • the valve 93 b constituting the movable portion 93 of the mechanism 84 is quickly separated from the pressure chamber R 2 to communicate with the atmosphere.
  • the communication shut-off between the constant pressure chamber R1 and the variable pressure chamber R2 and the communication between the variable pressure chamber R2 and the atmosphere are performed more rapidly.
  • the distance between the contact surface 85d and the first negative pressure valve seat 95 and the distance between the contact surface 85d of the power piston 85 against the reaction force member 94 and the atmospheric valve seat 86a are enlarged, and the output in the jumping state Can be made larger than in the normal state.
  • the emergency braking characteristic of the negative pressure type booster of this embodiment is achieved by changing the jumping characteristic and applying a propulsive force to the output member greater than that during normal braking.
  • the gap B between the contact member 96 and the reaction member 94 may be increased in FIG.
  • the gap B is enlarged by the distance between the contact surface 85d of the power piston 85 to the reaction member 94 and the first negative pressure valve seat 95, and the contact surface 85d of the power piston 85 to the reaction member 94 and the atmosphere valve seat It is the same as enlarging the distance to 86a.
  • the gap B is enlarged by moving the negative pressure valve seat 38 and the atmosphere valve seat 86 a backward, the output until the contact member 96 receives the reaction force from the reaction force member 94 is increased, and the output for the input
  • the output in the so-called jumping state where the ratio of becomes infinite is larger than that in the normal state.
  • the normal brake characteristic and the emergency brake characteristic are shown in FIG.
  • the jumping in the normal brake can only obtain an output of the magnitude of F1, but the jumping in the emergency braking increases to F2, and a small pedaling force generates a sufficiently large brake fluid pressure. It can be done.
  • the brake assist is started between the depression start position of the first operating rod 26a and the contact position.
  • the fluid flows out of the internal space 75 of the operating force transmission mechanism 70 formed on the operating rod 26. Is not limited by the communication passage 74. Therefore, the same operation and effect as the first embodiment described above can be obtained.
  • the brake pedal 21 when the brake pedal 21 is suddenly depressed, the fluid flow from the internal space 75 of the operation force transmission mechanism 70 is restricted by the communication passage 74.
  • the formation of compressed air in the internal space 75 allows the first operating rod 26a to pass through the compressed air before the first operating rod 26a directly abuts on the second operating rod 26b. And push the push rod 27. Therefore, when the first piston 23b is pushed by the push rod 27 and the first port 23h is closed, a base hydraulic pressure is generated in the first hydraulic chamber 23d. That is, the basic hydraulic pressure braking force generation limiting means generates a basic hydraulic pressure braking force during the period from when the first operating rod 26a is stepped on to the abutment position.
  • the second operating rod 26b is moving with the first operating rod 26a.
  • the base hydraulic pressure braking force can be actively generated when the first operating rod 26a is positioned between the depression start position and the contact position.
  • the base fluid pressure braking force by the base fluid pressure formed by the fluid pressure brake device B is as shown by a thick solid line in FIG. That is, when the brake pedal stroke is positioned between the depression start position and the brake assist start position (hereinafter referred to as the BA start position) at which the brake assist is started, the basics at the time of rapid depression according to the first embodiment As with the hydraulic braking force, the generation of the base hydraulic pressure is not limited and occurs in response to the pedal stroke. Furthermore, when the brake pedal stroke is located at a position beyond the BA start position, the base hydraulic pressure braking force by the brake assist device is applied corresponding to the brake pedal stroke. Thus, when the brake pedal 21 is suddenly depressed, the brake assist device operates in a state in which the second operating rod 26b is moving with the first operating rod 26a.
  • high regenerative efficiency is achieved by actively utilizing regenerative braking force when not stepping in the low pedaling force region from the start of depression of the brake pedal 21 to the predetermined state.
  • the brake assist device is configured by so-called mechanical brake assist, but an atmospheric pressure valve configured by a solenoid valve may be separately provided to control the opening and closing of this valve.
  • it may be configured by a brake actuator 15 capable of generating a control hydraulic pressure.
  • the brake fluid pressure device B preferably includes an accumulator capable of accumulating high pressure brake fluid.
  • the communication passage 74 (orifice) provided in the operation force transmission mechanism 70 is a cylindrical engagement of the cylindrical portion 71 of the first operating rod 26a and the second operating rod 26b. This is a gap with the joint portion 72.
  • the communication passage 74 is formed of a through hole (orifice) provided on the side wall of at least one of the cylindrical portion 71 and the cylindrical engaging portion 72.
  • a through hole 71 a is formed in the cylindrical portion 71.
  • the through holes 71a may be formed at any position in the axial direction.
  • the outflow of fluid from the through hole 71a is not limited.
  • the second operating rod 26b does not move until the first operating rod 26a abuts, so the regeneration efficiency is improved.
  • the outflow of fluid from the through hole 71a is restricted until the through hole 71a is closed by the cylindrical engagement portion 72. Accordingly, since the second operating rod 26b moves together with the first operating rod 26a, the base hydraulic pressure braking force can be applied early. Furthermore, since the internal space 75 is substantially sealed after the through hole 71a is closed by the cylindrical engaging portion 72, the first and second operating rods 26a and 26b are held by exhibiting the air damper function. The impact at the time of contact can be suppressed.
  • the through hole 72 a may be formed in the cylindrical engaging portion 72. Also in this case, it is possible to obtain the same operation and effect as the case where the through hole 71a is formed in the cylindrical portion 71.
  • a plurality of through holes may be formed in line along the axial direction.
  • a plurality of (three in the present embodiment) through holes 71 a are formed in the cylinder 71 along the axial direction.
  • the through holes 71a have the same diameter. Thereby, at the time of rapid depression, the number of through holes 71 a closed as the stroke amount increases is reduced, that is, the flow passage cross-sectional area of the communication passage 74 is reduced as the stroke amount increases.
  • the air damper function can be enhanced.
  • the diameters of the through holes 71a may be made different.
  • the communication passage 74 is provided in at least one of the portion of the first operating rod 26 a other than the cylindrical portion 71 and the portion of the second operating rod 26 b other than the cylindrical engaging portion 72. It consists of holes. Specifically, as shown in FIG. 13, a through hole 71b is formed in the first operating rod 26a. Also by this, it is possible to obtain the same function and effect as the first embodiment.
  • the communication passage 74 is formed of a groove provided on at least one of the inner side surface of the cylindrical portion 71 and the outer peripheral surface of the cylindrical engaging portion 72.
  • a groove 72 b is formed on the outer peripheral surface of the cylindrical engagement portion 72.
  • the groove 72 b extends in the axial direction from the tip of the cylindrical engagement portion 72 to a position before reaching the proximal end of the cylindrical engagement portion 72.
  • the flow passage cross-sectional area of the groove 72 b is designed to be smaller as it goes from the distal end of the cylindrical engagement portion 72 to the proximal end. Fluid flows in and out from between the groove 72 b and the inner periphery of the open end of the cylindrical portion 71.
  • the flow of fluid out of the groove 72b is not limited when not stepping on.
  • the second operating rod 26b does not move until the first operating rod 26a abuts, so the regeneration efficiency is improved.
  • the outflow of fluid from the groove 72b is restricted until the groove 72b is closed by the cylindrical portion 71. Accordingly, since the second operating rod 26b moves together with the first operating rod 26a, the base hydraulic pressure braking force can be applied early. Furthermore, after the groove 72b is closed by the cylindrical portion 71, the internal space 75 is substantially sealed, so that the air damper function is exhibited, whereby the impact when the first and second operating rods 26a, 26b abut. Can be suppressed.
  • the groove 72b may be configured such that the cross-sectional area of the flow passage is the same in the extending direction.
  • the solenoid valve is provided in the through hole (communication path) formed in the cylindrical portion 71 or the cylindrical engagement portion 72.
  • connection pipe 76 (fluid passage) opened to the atmosphere is connected to the through hole 71 a (communication passage) formed in the cylindrical portion 71.
  • the connection pipe 76 is provided with a solenoid valve 77 for opening or closing the connection pipe 76.
  • the solenoid valve 77 is opened by the detection of the non-emergency depression by the sensor that detects the non-emergency depression, and the outflow of the fluid from the through hole 71a is not limited.
  • the solenoid valve 77 is closed by the detection of the sudden depression by the sensor for detecting the sudden depression, and the outflow of the fluid from the through hole 71a is restricted.
  • the cylindrical portion 71 of the first operating rod 26a may be an inner cylindrical portion
  • the cylindrical engaging portion 72 of the second operating rod 26b may be an outer cylindrical portion.
  • the internal space of the inner cylindrical portion (cylindrical engaging portion 72) may be eliminated.
  • an O-ring 78 may be provided.
  • the O-ring 78 may be made of an elastic material and attached to the outer peripheral surface of the cylindrical engagement portion 72. The O-ring 78 suppresses the impact when the first and second operating rods 26a and 26b abut.
  • the reaction force spring 21b is formed of a linear spring, but in the seventh embodiment, the reaction force spring 121b has non-linear characteristics.
  • the reaction force spring 121b is configured by combining a plurality of linear springs.
  • the reaction force spring 121b includes a plurality of (three in the present embodiment) linear springs having different spring constants. That is, the reaction force spring 121b is configured by connecting the first spring 121b1, the second spring 121b2, and the third spring 121b3 in series.
  • the spring constant increases in the order of the first spring 121 b 1, the second spring 121 b 2, and the third spring 121 b 3.
  • the first spring 121b1 is accommodated in the first case 121b4 with an extension allowance of a predetermined distance S1. When the first spring 121b1 extends by a predetermined distance S1, the further extension is restricted by the first case 121b4.
  • the second spring 121b2 is also accommodated in the second case 121b5 with an expansion margin of a predetermined distance S1.
  • S1 a predetermined distance
  • FIG. 19A shows a state in which the first spring 121 b 1, the second spring 121 b 2, and the third spring 121 b 3 have natural lengths.
  • the first spring 121b1 having a small spring constant starts to sequentially extend.
  • the extension of the first spring 121b1 is restricted by the first case 121b4, and then the extension of the second spring 121b2 is restricted by the second case 121b5.
  • the master cylinder 23 and the reservoir tank 24 are ports (in the first embodiment, the first port 23h, and in the third embodiment, the first port 23h and the first piston side port 223b1 and In the state where communication is performed via the second piston port 223 b 2), the brake pedal reaction force due to the master cylinder pressure can not be obtained.
  • the characteristic (F-S characteristic) of the depression force with respect to the depression amount of the brake pedal (pedal stroke) is non-linear.
  • the master cylinder 23 and the reservoir tank 24 are connected to the first port 23h (or the port for piston 123b1).
  • the first port 23h that is, between the pedaling start position and the position where the first port 23h is closed
  • the characteristic of the load against the deflection of the reaction force spring 121b is nonlinear.
  • the characteristic (F-S characteristic) of the depression force with respect to the depression amount (pedal stroke) of a general brake pedal is shown by a thin solid line. As shown in FIG. 21, the brake characteristic (F-S characteristic) is non-linear.
  • the characteristic of the reaction force spring according to this embodiment is the same as a normal brake characteristic from the depression start position to the closing position, and is linear after the closing position. Thereby, the brake pedal 21 is depressed until the first piston 23b (or the first piston 123b) becomes from the first position to the second position (a predetermined distance S in the pressure increasing direction from the start of depression of the brake pedal 21). While moving, the driver can be provided with a better pedal feeder.
  • the reaction force spring 221b may be configured by combining a linear spring and a non-linear spring as shown in FIG.
  • the reaction force spring 221b is configured by connecting in series a first spring 221b1 which is a non-linear spring and a second spring 221b2 which is a linear spring.
  • the spring constant increases in the order of the first spring 221 b 1 and the second spring 221 b 2.
  • the first spring 221b1 is accommodated in the first case 221b3 with an extension allowance of a predetermined distance S1. When the first spring 221b1 extends by a predetermined distance S1, the further extension is restricted by the first case 221b3.
  • FIG. 20A shows a state in which the first spring 221 b 1 and the second spring 221 b 2 have natural lengths.
  • a force in the extending direction acts on the reaction force spring 221b, it starts to sequentially extend from the first spring 221b1 having a small spring constant.
  • the extension of the first spring 221b1 is restricted by the first case 221b3.
  • the characteristic of the load with respect to the deflection of the reaction force spring 21b is linear in the state where the master cylinder 23 and the reservoir tank 24 do not communicate with each other, and The increase is less than or equal to the increase in load for an increase in deflection in the non-linear characteristic.
  • the depression force is the sum of the reaction force by the master cylinder pressure and the biasing force by the reaction force spring.
  • the characteristics of the load with respect to the deflection of the reaction force spring are made non-linear in a state where the master cylinder 23 and the reservoir tank 24 are in communication with each other.
  • increase in load with respect to increase in deflection in linear characteristics normal brake characteristics (pedal force-deceleration characteristics) shown by thin solid line in FIG. 22)
  • the increase in the load with respect to the increase in the deflection the brake characteristic (pedal force-deceleration characteristic) according to the present embodiment shown by the thick solid line in FIG. 22) or less.
  • the biasing force by the reaction force spring it is possible to obtain the deceleration within a predetermined range with respect to the predetermined pedaling force.
  • brake piping system is comprised by the front-and-rear split system, you may make it be comprised by X piping system.
  • the larger one of the pedal stroke and the master cylinder pressure may be selected as the brake operation state and used for control.
  • a negative pressure type booster is used as the booster, the hydraulic pressure generated by the pump is accumulated in the accumulator, and the hydraulic pressure is applied to the piston to operate the pedal depression force acting on the brake pedal 21. You may boost it.
  • the present invention is applicable not only to hybrid vehicles, but also to vehicles equipped with only a motor as a drive source and a vehicle brake device having a master cylinder with a negative pressure type booster. In this case, a negative pressure source is required.
  • the regenerative braking force is actively used when the brake pedal is not depressed suddenly, thereby achieving high regeneration efficiency and high fuel efficiency, and the brake pedal is rapidly depressed.
  • it is suitable for achieving coexistence of applying the base fluid pressure braking force as early as possible.
  • hydraulic control valve 32, 33, 42, 43 ... pressure increase control valve, 35, 36, 45, 46 ... pressure reduction control valve, 34, 44 ... Pressure adjusting reservoir, 37, 47 ... pump, 60 ... brake ECU, 70 ... operation force transmission mechanism (connection mechanism), 71 ... cylinder part, 72 ... cylindrical engagement part, 73 ... spring, 74 ... communication path, A ... Regenerative braking system, B ... hydraulic pressure braking system, BK1, BK2, BK3, BK 4 ... brake means, FL, FR, RL, RR ... wheels, Lf, Lr ... oil path, M ... motor, P ... pressure sensor, Sfl , Sfr, Srl, Srr ... wheel speed sensors, WC1, WC2, WC3, WC4 ... wheel cylinders.

Landscapes

  • Engineering & Computer Science (AREA)
  • Transportation (AREA)
  • Mechanical Engineering (AREA)
  • Chemical & Material Sciences (AREA)
  • Combustion & Propulsion (AREA)
  • Physics & Mathematics (AREA)
  • Fluid Mechanics (AREA)
  • Automation & Control Theory (AREA)
  • Braking Elements And Transmission Devices (AREA)
  • Regulating Braking Force (AREA)
  • Braking Systems And Boosters (AREA)
PCT/JP2011/058063 2010-03-31 2011-03-30 車両用ブレーキ装置 Ceased WO2011125759A1 (ja)

Priority Applications (3)

Application Number Priority Date Filing Date Title
CN201180015609.0A CN102822021B (zh) 2010-03-31 2011-03-30 车辆用制动装置
US13/638,443 US9022486B2 (en) 2010-03-31 2011-03-30 Vehicle brake device
DE112011101176.8T DE112011101176B4 (de) 2010-03-31 2011-03-30 Fahrzeugbremsvorrichtung

Applications Claiming Priority (2)

Application Number Priority Date Filing Date Title
JP2010083347A JP5471726B2 (ja) 2010-03-31 2010-03-31 車両用ブレーキ装置
JP2010-083347 2010-03-31

Publications (1)

Publication Number Publication Date
WO2011125759A1 true WO2011125759A1 (ja) 2011-10-13

Family

ID=44762700

Family Applications (1)

Application Number Title Priority Date Filing Date
PCT/JP2011/058063 Ceased WO2011125759A1 (ja) 2010-03-31 2011-03-30 車両用ブレーキ装置

Country Status (5)

Country Link
US (1) US9022486B2 (enExample)
JP (1) JP5471726B2 (enExample)
CN (1) CN102822021B (enExample)
DE (1) DE112011101176B4 (enExample)
WO (1) WO2011125759A1 (enExample)

Cited By (2)

* Cited by examiner, † Cited by third party
Publication number Priority date Publication date Assignee Title
GB2484584A (en) * 2010-10-13 2012-04-18 Bosch Gmbh Robert Brake actuating system having a spring between an actuating element and an ouput piston
CN105452073A (zh) * 2013-08-13 2016-03-30 技术推进公司 用于机动车辆的真空产生方法

Families Citing this family (10)

* Cited by examiner, † Cited by third party
Publication number Priority date Publication date Assignee Title
JP5560851B2 (ja) 2010-03-31 2014-07-30 株式会社アドヴィックス 車両用ブレーキ装置
FR2966115B1 (fr) * 2010-10-19 2012-10-26 Renault Sa Procede et systeme de freinage d'un vehicule automobile a traction electrique ou hybride
FR2971460B1 (fr) * 2011-02-14 2015-05-22 Renault Sa Systeme et procede de freinage d'un vehicule a traction electrique ou hybride
DE102012209521A1 (de) * 2012-06-06 2013-12-12 Robert Bosch Gmbh Simulatorvorrichtung für ein Bremssystem eines Motorrads, Verfahren zum Montieren eines Bremssystems an einem Motorrad und Verfahren zum Abbremsen eines Motorrads
JP5856133B2 (ja) * 2013-12-11 2016-02-09 本田技研工業株式会社 車両用制動システム
CN104276050B (zh) * 2014-01-30 2015-08-26 比亚迪股份有限公司 车辆及其的制动回馈控制方法
KR101780285B1 (ko) * 2015-12-09 2017-09-21 현대자동차주식회사 하이브리드 차량 및 이의 제동 방법
CN107991086B (zh) * 2018-01-30 2019-08-06 芜湖东光奥威汽车制动系统有限公司 一种助力器二腔性能的检测装置
US11242041B2 (en) * 2018-04-23 2022-02-08 Safran Landing Systems Canada Inc. Slow response solenoid hydraulic valve, and associated systems and methods
JP7484154B2 (ja) * 2019-12-13 2024-05-16 株式会社デンソー 車両用ブレーキシステム

Citations (4)

* Cited by examiner, † Cited by third party
Publication number Priority date Publication date Assignee Title
JPH05262210A (ja) * 1992-03-18 1993-10-12 Toyota Motor Corp ブレーキ操作装置
JPH07149216A (ja) * 1993-11-26 1995-06-13 Aisin Seiki Co Ltd エアアブソーバ
JP2010025150A (ja) * 2008-07-15 2010-02-04 Honda Motor Co Ltd ダンパ装置
JP4415379B2 (ja) * 2004-09-30 2010-02-17 株式会社アドヴィックス 車両用ブレーキ装置

Family Cites Families (8)

* Cited by examiner, † Cited by third party
Publication number Priority date Publication date Assignee Title
US3422285A (en) * 1966-01-24 1969-01-14 Hughes Aircraft Co Pulse peak time detecting circuit
US20050269875A1 (en) * 2004-06-08 2005-12-08 Kazuya Maki Vehicle brake device
JP4296991B2 (ja) * 2004-06-08 2009-07-15 株式会社アドヴィックス 車両用ブレーキ装置
JP4639772B2 (ja) 2004-11-24 2011-02-23 トヨタ自動車株式会社 車両制動装置
US7597409B2 (en) * 2006-04-03 2009-10-06 Advics Co., Ltd. Control unit of brake apparatus for vehicle
JP5012542B2 (ja) * 2007-03-27 2012-08-29 株式会社アドヴィックス 車両用ブレーキ装置
DE102007016975B4 (de) * 2007-04-10 2024-08-01 Bayerische Motoren Werke Aktiengesellschaft Betätigungseinrichtung für eine elektrohydraulische Fahrzeug-Bremsanlage mit einem Pedalkraftsimulator
JP5560851B2 (ja) 2010-03-31 2014-07-30 株式会社アドヴィックス 車両用ブレーキ装置

Patent Citations (4)

* Cited by examiner, † Cited by third party
Publication number Priority date Publication date Assignee Title
JPH05262210A (ja) * 1992-03-18 1993-10-12 Toyota Motor Corp ブレーキ操作装置
JPH07149216A (ja) * 1993-11-26 1995-06-13 Aisin Seiki Co Ltd エアアブソーバ
JP4415379B2 (ja) * 2004-09-30 2010-02-17 株式会社アドヴィックス 車両用ブレーキ装置
JP2010025150A (ja) * 2008-07-15 2010-02-04 Honda Motor Co Ltd ダンパ装置

Cited By (3)

* Cited by examiner, † Cited by third party
Publication number Priority date Publication date Assignee Title
GB2484584A (en) * 2010-10-13 2012-04-18 Bosch Gmbh Robert Brake actuating system having a spring between an actuating element and an ouput piston
CN105452073A (zh) * 2013-08-13 2016-03-30 技术推进公司 用于机动车辆的真空产生方法
CN105452073B (zh) * 2013-08-13 2018-07-13 技术推进公司 用于机动车辆的真空产生方法

Also Published As

Publication number Publication date
DE112011101176T5 (de) 2013-01-10
US20130020859A1 (en) 2013-01-24
CN102822021B (zh) 2014-12-10
DE112011101176B4 (de) 2017-05-11
CN102822021A (zh) 2012-12-12
US9022486B2 (en) 2015-05-05
JP2011213245A (ja) 2011-10-27
JP5471726B2 (ja) 2014-04-16

Similar Documents

Publication Publication Date Title
JP5471726B2 (ja) 車両用ブレーキ装置
JP5560851B2 (ja) 車両用ブレーキ装置
JP4415379B2 (ja) 車両用ブレーキ装置
US9428168B2 (en) Brake device
US20050269875A1 (en) Vehicle brake device
US9434367B2 (en) Brake control apparatus
CN103359095B (zh) 制动装置
JP5891145B2 (ja) ブレーキ制御装置
CN102548814B (zh) 车辆控制装置
JP2001225739A (ja) 車両用ブレーキシステム
US20170327097A1 (en) Brake Apparatus and Brake System
CN104334425B (zh) 车辆的制动装置
KR20160034386A (ko) 브레이크 제어 장치 및 브레이크 제어 방법
JP2012071681A (ja) 車両用制動装置
JP5625530B2 (ja) 車両用ブレーキ装置
JP5716331B2 (ja) 車両用制動装置
CN108883749B (zh) 车辆用制动装置
JP4962589B2 (ja) 車両用ブレーキ装置
JP5949093B2 (ja) 車両用の制動制御装置
JP4962526B2 (ja) 車両用ブレーキ装置
JP2011245927A (ja) 液圧発生装置
WO2017047312A1 (ja) ブレーキ装置及びブレーキシステム
JP5978504B2 (ja) 車両用ブレーキ装置
JP5521937B2 (ja) 車両用制動装置

Legal Events

Date Code Title Description
WWE Wipo information: entry into national phase

Ref document number: 201180015609.0

Country of ref document: CN

121 Ep: the epo has been informed by wipo that ep was designated in this application

Ref document number: 11765659

Country of ref document: EP

Kind code of ref document: A1

WWE Wipo information: entry into national phase

Ref document number: 13638443

Country of ref document: US

WWE Wipo information: entry into national phase

Ref document number: 1120111011768

Country of ref document: DE

Ref document number: 112011101176

Country of ref document: DE

122 Ep: pct application non-entry in european phase

Ref document number: 11765659

Country of ref document: EP

Kind code of ref document: A1