WO2011033850A1 - プラズマエッチング装置 - Google Patents

プラズマエッチング装置 Download PDF

Info

Publication number
WO2011033850A1
WO2011033850A1 PCT/JP2010/062035 JP2010062035W WO2011033850A1 WO 2011033850 A1 WO2011033850 A1 WO 2011033850A1 JP 2010062035 W JP2010062035 W JP 2010062035W WO 2011033850 A1 WO2011033850 A1 WO 2011033850A1
Authority
WO
WIPO (PCT)
Prior art keywords
chamber
plasma
upper chamber
substrate
lower chamber
Prior art date
Legal status (The legal status is an assumption and is not a legal conclusion. Google has not performed a legal analysis and makes no representation as to the accuracy of the status listed.)
Ceased
Application number
PCT/JP2010/062035
Other languages
English (en)
French (fr)
Japanese (ja)
Inventor
山本 孝
尚弥 池本
Current Assignee (The listed assignees may be inaccurate. Google has not performed a legal analysis and makes no representation or warranty as to the accuracy of the list.)
Sumitomo Precision Products Co Ltd
Original Assignee
Sumitomo Precision Products Co Ltd
Priority date (The priority date is an assumption and is not a legal conclusion. Google has not performed a legal analysis and makes no representation as to the accuracy of the date listed.)
Filing date
Publication date
Application filed by Sumitomo Precision Products Co Ltd filed Critical Sumitomo Precision Products Co Ltd
Priority to KR1020117018564A priority Critical patent/KR101224143B1/ko
Priority to EP10816963.2A priority patent/EP2479781B1/en
Priority to CN201080007916.XA priority patent/CN102318043B/zh
Priority to US13/203,191 priority patent/US20110303365A1/en
Publication of WO2011033850A1 publication Critical patent/WO2011033850A1/ja
Anticipated expiration legal-status Critical
Ceased legal-status Critical Current

Links

Images

Classifications

    • HELECTRICITY
    • H01ELECTRIC ELEMENTS
    • H01LSEMICONDUCTOR DEVICES NOT COVERED BY CLASS H10
    • H01L21/00Processes or apparatus adapted for the manufacture or treatment of semiconductor or solid state devices or of parts thereof
    • H01L21/02Manufacture or treatment of semiconductor devices or of parts thereof
    • H01L21/04Manufacture or treatment of semiconductor devices or of parts thereof the devices having potential barriers, e.g. a PN junction, depletion layer or carrier concentration layer
    • H01L21/18Manufacture or treatment of semiconductor devices or of parts thereof the devices having potential barriers, e.g. a PN junction, depletion layer or carrier concentration layer the devices having semiconductor bodies comprising elements of Group IV of the Periodic Table or AIIIBV compounds with or without impurities, e.g. doping materials
    • H01L21/30Treatment of semiconductor bodies using processes or apparatus not provided for in groups H01L21/20 - H01L21/26
    • H01L21/302Treatment of semiconductor bodies using processes or apparatus not provided for in groups H01L21/20 - H01L21/26 to change their surface-physical characteristics or shape, e.g. etching, polishing, cutting
    • H01L21/306Chemical or electrical treatment, e.g. electrolytic etching
    • H01L21/3065Plasma etching; Reactive-ion etching
    • HELECTRICITY
    • H01ELECTRIC ELEMENTS
    • H01JELECTRIC DISCHARGE TUBES OR DISCHARGE LAMPS
    • H01J37/00Discharge tubes with provision for introducing objects or material to be exposed to the discharge, e.g. for the purpose of examination or processing thereof
    • H01J37/32Gas-filled discharge tubes
    • H01J37/32009Arrangements for generation of plasma specially adapted for examination or treatment of objects, e.g. plasma sources
    • H01J37/32422Arrangement for selecting ions or species in the plasma
    • HELECTRICITY
    • H01ELECTRIC ELEMENTS
    • H01JELECTRIC DISCHARGE TUBES OR DISCHARGE LAMPS
    • H01J37/00Discharge tubes with provision for introducing objects or material to be exposed to the discharge, e.g. for the purpose of examination or processing thereof
    • H01J37/32Gas-filled discharge tubes
    • H01J37/32009Arrangements for generation of plasma specially adapted for examination or treatment of objects, e.g. plasma sources
    • H01J37/32082Radio frequency generated discharge
    • H01J37/321Radio frequency generated discharge the radio frequency energy being inductively coupled to the plasma
    • HELECTRICITY
    • H01ELECTRIC ELEMENTS
    • H01JELECTRIC DISCHARGE TUBES OR DISCHARGE LAMPS
    • H01J37/00Discharge tubes with provision for introducing objects or material to be exposed to the discharge, e.g. for the purpose of examination or processing thereof
    • H01J37/32Gas-filled discharge tubes
    • H01J37/32009Arrangements for generation of plasma specially adapted for examination or treatment of objects, e.g. plasma sources
    • H01J37/32357Generation remote from the workpiece, e.g. down-stream

Definitions

  • the present invention relates to a plasma etching apparatus that converts a processing gas containing an etching gas into plasma and etches a substrate to be processed with the plasma processing gas.
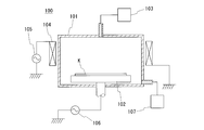
  • the plasma etching apparatus for example, the one shown in FIG. 7 (see Japanese Patent Application Laid-Open No. 2006-54305) or the one shown in FIG. 8 (see Japanese Patent Application Publication No. 2003-533878) is known.
  • the plasma etching apparatus 100 shown in FIG. 7 is provided with a processing chamber 101, a base 102 on which a substrate K is placed, and a gas for supplying an etching gas into the processing chamber 101.
  • this plasma etching apparatus 100 by supplying high frequency power to the coil 104, the etching gas supplied into the processing chamber 101 is turned into plasma, and high frequency power is supplied to radicals in the plasma and the base 102.
  • the substrate K on the base 102 is etched by ions in the plasma that are incident on the substrate K due to the bias potential generated by this.
  • the plasma etching apparatus 200 shown in FIG. 8 is formed so that substantially the same size space is formed above and below the processing chamber 201 having an internal space in which the two plasma generation regions 202 and 203 are set up and down.
  • the etching gas supplied into the processing chamber 201 flows from the plasma generation region 202 into the plasma generation region 203 through the through-hole 205 of the flat plate member 204, and the coils 208 and 210 have high frequency power.
  • the etching gas in the plasma generation regions 202 and 203 is turned into plasma, respectively, by radicals in the plasma in the plasma generation region 203 and a bias potential generated by supplying high-frequency power to the base 206.
  • the substrate K on the base 206 is etched by the ions in the plasma in the plasma generation region 203 incident on the substrate K.
  • ions in the etching gas disappear in contact with the flat plate member 204, and only radicals pass through.
  • the density of radicals is high, and the substrate K is etched by such radicals and ions.
  • the substrate K for example, silicon oxide (SiO 2 ), which is mainly etched by ions incident on the substrate K, and silicon (Si), for example, radicals and Depending on the substrate K, whether the etching proceeds mainly due to ion incidence or mainly due to the chemical reaction with radicals differs depending on the substrate K.
  • silicon oxide SiO 2
  • Si silicon
  • radicals for example, radicals
  • the plasma etching apparatus 100 shown in FIG. 7 when etching mainly involving ion incidence is performed, if the plasma density (ion density) of the generated plasma is made uniform as shown in FIG. Although it is possible to uniformly etch the entire surface of K at a uniform etching rate (see FIG. 9B), in the case of performing etching mainly of radical chemical reaction, if the plasma density is uniform, the radical density Therefore, due to the loading effect, the etching rate of the outer peripheral portion of the substrate K is increased and the entire surface of the substrate K cannot be uniformly etched (see FIG. 9C).
  • this loading effect is generated because a larger plasma is generated outside the outer peripheral portion of the substrate K, so that more radicals contribute to etching in the outer peripheral portion of the substrate K than in the central portion.
  • the radical density when the plasma density is high on the central side of the substrate K and low on the outer peripheral side of the substrate K, the radical density also has a density distribution similar to the plasma density.
  • the etching is mainly performed by the chemical reaction, the etching rate on the central portion side of the substrate K having a high radical density is increased to the same level as the etching rate on the outer peripheral portion of the substrate K, and the entire surface of the substrate K is made uniform.
  • etching can be performed (see FIG. 10C)
  • the etching rate at the center of the substrate K is increased, and the entire surface of the substrate K is uniformly etched. Inconvenient (see FIG.
  • the outer peripheral portion of the substrate K can be accurately etched by ions incident obliquely. Results in the disadvantage that does not come. That is, as shown in FIG. 11, the groove H or the hole H is formed perpendicular to the surface in the central portion (C portion) of the substrate K, but the groove is formed in the outer peripheral portion (L portion, R portion) of the substrate K. H or holes H are formed obliquely.
  • either one of the substrate K that is mainly etched by incident ions and the substrate K that is mainly etched by a chemical reaction with radicals is applied to one of the substrates K. It was only possible to etch uniformly, and it was not possible to etch both substrates K uniformly.
  • the radical density in the plasma generation region 203 can be increased by the flat plate member 204, the radical density becomes high overall, not locally.
  • This device 200 also causes the same problem as described above.
  • the present invention has been made in view of the above circumstances, and regardless of the type of substrate, that is, even when the substrate is mainly etched by radical chemical reaction, the substrate is mainly etched by ion incidence.
  • An object of the present invention is to provide a plasma etching apparatus capable of uniformly etching the entire surface of the substrate even when it is performed.
  • the present invention provides:
  • the upper chamber is composed of a cylindrical container-like member having an open bottom surface
  • the lower chamber is composed of a cylindrical container-shaped member having an open top surface.
  • the upper chamber and the lower chamber are arranged vertically.
  • a processing chamber having an internal space communicating with each other, wherein the upper chamber is formed with an outer diameter smaller than that of the lower chamber, and is provided at the center of the upper surface of the lower chamber;
  • a base disposed in the lower chamber and on which a substrate is placed;
  • Gas supply means for supplying a processing gas containing an etching gas into at least the upper chamber;
  • First plasma generating means for converting the processing gas in the upper chamber into plasma;
  • Second plasma generating means for converting the processing gas in the lower chamber into plasma;
  • Exhaust means for exhausting the gas in the processing chamber to depressurize the interior;
  • Power supply means for supplying high-frequency power to the base;
  • the present invention relates to a plasma etching apparatus comprising: an i
  • the inside of the processing chamber is depressurized by the exhaust means, and the processing gas containing the etching gas is supplied into the upper chamber by the gas supply means, and the supplied processing gas is supplied from the upper chamber to the lower chamber. While flowing inward, the first plasma generating means and the second plasma generating means generate plasma. Further, high frequency power is supplied to the base by power supply means, and a potential difference (bias potential) is generated between the base and the plasma of the processing gas in the lower chamber.
  • the substrate on the base is etched by radicals in the plasma in the lower chamber and ions incident on the substrate due to a bias potential.
  • Ions in the processing gas (plasma) that is turned into plasma by the first plasma generating means and flows into the lower chamber from the upper chamber is removed by the ion removing means, but radicals in the processing gas move without being removed.
  • the outer diameter of the upper chamber is smaller than the outer diameter of the lower chamber, and the upper chamber is provided at the center of the upper surface of the lower chamber.
  • the plasma density and radical density generated in the lower chamber by the second plasma generating means are uniform, the plasma density remains constant and the substrate is moved by the amount of radicals moved from the upper chamber to the lower chamber. Since the radical density on the central side can be made higher than that on the outer peripheral side of the substrate (see FIG. 2A), when the substrate to be etched is etched mainly by a radical chemical reaction, The etching rate of the portion can be increased to the same level as the etching rate at the outer peripheral portion of the substrate due to the loading effect (see FIG. 2C), and as a result, the entire surface of the substrate can be etched uniformly.
  • the entire surface of the substrate can be uniformly etched at a uniform etching rate by uniformly distributed ions (see FIG. 2B).
  • the groove H or the hole H can be formed perpendicularly to the surface in both the central portion (C portion) of the substrate K and the outer peripheral portions (L portion, R portion) of the substrate K. it can.
  • the plasma etching apparatus of the present invention since the radical density on the substrate center side can be made higher than that on the substrate outer peripheral side without changing the plasma density, the chemical reaction of radicals is mainly performed. Thus, even when the substrate is etched or when the substrate is etched mainly by ion incidence, the entire surface of the substrate can be etched uniformly.
  • the ion removing means is composed of a grounded flat plate member having a plurality of through-holes penetrating the front and back surfaces, and the flat plate member is formed in the lower part of the upper chamber or the upper part of the lower chamber.
  • the inner space of the processing chamber may be partitioned. In this case, the processing gas flowing from the upper chamber toward the lower chamber passes through the flat plate member in the middle of the flow, and at this time, ions in the processing gas (plasma) come into contact with the flat plate member. The radicals move as they are without disappearing.
  • a grounded portion is formed on at least one of the lower portion of the upper chamber and the upper portion of the lower chamber, and the ion removing unit is arranged so as to wind the upper chamber around the outer periphery of the upper chamber.
  • a DC power source for supplying a direct current to the coil, and ions in the processing gas converted into plasma by the first plasma generating means by the magnetic field formed by the coil through which the direct current flows.
  • You may be comprised so that it may move toward the inner surface of the said grounded part of a chamber, and may contact.
  • ions in the processing gas (plasma) flowing from the upper chamber into the lower chamber move toward the inner surface of the grounded portion of the processing chamber by a magnetic field formed by a coil through which a direct current flows. It contacts and disappears from the inner surface, and radicals move as they are without disappearing.
  • the ion removing unit includes the upper chamber in which a plasma generation region is set in the upper portion of the internal space and a portion corresponding to the lower portion of the plasma generation region is grounded, or in the upper portion of the inner space.
  • the upper chamber in which the plasma generation region is set and the lower chamber in which the annular plate as the top plate is grounded, and the plasma generation region is processed into plasma by the first plasma generation means in the plasma generation region It may be set at an upper position away from the lower end of the upper chamber so that ions in the gas come into contact with the inner surface of the grounded portion. In this case, the processing gas supplied into the upper chamber is converted into plasma in the plasma generation region and flows into the lower chamber through the grounded portion of the upper chamber or the inner peripheral surface of the annular plate.
  • the ions in the processing gas disappear in contact with the inner surface of the grounded part or the inner peripheral surface of the annular plate, and the radicals disappear. Without passing through the grounded portion or the inner peripheral surface of the annular plate, it moves into the lower chamber. Therefore, even if it does in this way, although it is not positive, an ion can be annihilated.
  • ions in the process gas plasmified in the plasma generation region are preferable for the height of the upper chamber and the plasma generation region, which are preferable for contacting and annihilating the inner surface of the grounded portion of the upper chamber or the inner peripheral surface of the annular plate
  • the height position and the thickness of the annular plate are obtained experimentally, for example.
  • the etching rate of the substrate can be made uniform as shown in FIG. 2 regardless of the substrate to be etched.
  • the entire surface of the substrate can be uniformly etched by radical or ion incidence.
  • FIG. 1 is a cross-sectional view showing a schematic configuration of a plasma etching apparatus according to an embodiment of the present invention.
  • the plasma etching apparatus 1 of this example includes a processing chamber 11 having a closed space, a base 16 disposed in the processing chamber 11 and on which a substrate K to be etched is placed, A gas supply device 20 that supplies an etching gas (processing gas) into the processing chamber 11, a plasma generation device 25 that converts the etching gas supplied into the processing chamber 11 into plasma, and a high frequency that supplies high frequency power to the base 16.
  • a power source 32 and an exhaust device 35 for reducing the pressure in the processing chamber 11 are provided.
  • the processing chamber 11 is formed into an upper and lower two-part configuration by an upper chamber 12 and a lower chamber 13, and the upper chamber 12 and the lower chamber 13 are each composed of a cylindrical container-like member. Further, the lower surface of the upper chamber 12 is opened, the upper surface of the lower chamber 13 is opened, and the internal spaces of the upper chamber 12 and the lower chamber 13 are communicated with each other.
  • the upper chamber 12 has an outer diameter that is smaller than the outer diameter of the lower chamber 13, and is disposed at the center of the upper surface of the lower chamber 13.
  • a grounded flat plate member (ion removing member) 14 is provided on the ceiling surface of the lower chamber 13 to partition the internal space of the processing chamber 11 into a space on the upper chamber 12 side and a space on the lower chamber 13 side.
  • the flat plate member 14 includes a plurality of through holes 14a penetrating the front and back, and is made of a metal such as aluminum. Further, an opening 13 a for carrying in and out the substrate K is provided on the outer peripheral surface of the lower chamber 13, and this opening 13 a is opened and closed by a shutter 15. .
  • the top plate 12a and the side wall lower portion 12c of the upper chamber 12 and the top plate (annular plate) 13b of the lower chamber 13 are made of, for example, a metal such as aluminum, and the side wall upper portion 12b of the upper chamber 12
  • the side wall 13c of the lower chamber 13 is made of, for example, ceramic.
  • the lower side wall portion 12c of the upper chamber 12 and the top plate 13b of the lower chamber 13 are grounded.
  • the base 16 includes an upper member 17 and a lower member 18 and is disposed in the lower chamber 13.
  • a substrate K is placed on the upper member 17, and an elevating cylinder 19 for elevating the base 16 is connected to the lower member 18.
  • the gas supply device 20 includes a supply unit 21 for supplying an etching gas (for example, SF 6 gas), and a supply pipe 22 having one end connected to the supply unit 21 and the other end connected to the upper portion of the upper chamber 12. Then, an etching gas is supplied from the supply unit 21 into the upper chamber 12 through the supply pipe 22.
  • an etching gas for example, SF 6 gas
  • the plasma generator 25 includes a first plasma generator including a plurality of annular coils 27 and a high-frequency power source 28 that supplies high-frequency power to the coils 27 that are arranged side by side on the outer periphery of the upper chamber 12. 26 and a plurality of annular coils 30 arranged vertically on the outer periphery of the lower chamber 13, and a second plasma generation unit 29 having a high frequency power source 31 for supplying high frequency power to each coil 30. Is done. Each coil 30 is provided above the base 16 above the lower chamber 13.
  • the plasma generators 26 and 29 when high frequency power is supplied to the coils 27 and 30 by the high frequency power supplies 28 and 31, a magnetic field is formed in each of the chambers 12 and 13, and an electric field induced by the magnetic field is generated.
  • the etching gas in the chambers 12 and 13 is turned into plasma, and radicals, ions, electrons, and the like are generated.
  • a potential difference (bias potential) is generated between the base 16 and the plasma generated in the lower chamber 13.
  • the exhaust device 35 includes an exhaust pump 36 and an exhaust pipe 37 that connects the exhaust pump 36 and the lower chamber 13.
  • the exhaust pump 36 exhausts the gas in the lower chamber 13 through the exhaust pipe 37.
  • the inside of the processing chamber 11 is reduced to a predetermined pressure.
  • the coils 27 and 30 are respectively driven by the high frequency power supplies 28, 31 and 32.
  • high frequency power is supplied to the base 16, the inside of the processing chamber 11 is decompressed by the exhaust device 35, and an etching gas is supplied into the processing chamber 11 by the gas supply device 20.
  • Part of the supplied etching gas is turned into plasma and flows from the upper chamber 12 into the lower chamber 13, and flows into and diffuses into the lower chamber 13 through the through holes 14 a of the flat plate member 14. At that time, however, the ions A in the etching gas (plasma) disappear upon contact with the flat plate member 14, and the etching gas that has not been converted to plasma and radicals B in the plasma flow into the lower chamber 13 (FIG. 1). reference).
  • a part of the flowing etching gas is turned into plasma.
  • the substrate K placed on the base 16 in the lower chamber 13 chemically reacts with radicals in the plasma in the lower chamber 13, or ions in the plasma enter the substrate K by a bias potential. It is etched by this.
  • the plasmaized etching gas passes through the flat plate member 14, ions in the etching gas (plasma) disappear in contact with the flat plate member 14, and radicals are not lost. It flows into the lower chamber 13. Further, the outer diameter of the upper chamber 12 is smaller than the outer diameter of the lower chamber 13, and the upper chamber 12 is provided at the center of the upper surface of the lower chamber 13.
  • the radical density on the central portion side of the substrate K is increased by the radicals flowing from the upper chamber 12, and the etching gas in the upper chamber 12 flows to cause the radicals in the lower chamber 13 to flow.
  • the plasma density (ion density) does not change.
  • the plasma density and radical density generated in the lower chamber 13 are uniform, the plasma density remains constant as shown in FIG.
  • the radical density on the central portion side of the substrate K can be made higher than that on the outer peripheral portion side of the substrate K by the amount of the radical that has moved.
  • the etching rate at the center of the substrate K is set to the outer periphery of the substrate K by the loading effect as shown in FIG. As a result, the whole surface of the substrate K can be uniformly etched.
  • the substrate K to be etched is etched mainly by ion incidence, the entire surface of the substrate K is uniformly etched at a uniform etching rate by uniformly distributed ions as shown in FIG. can do.
  • the groove H or the hole H can be formed perpendicularly to the surface in both the central portion (C portion) of the substrate K and the outer peripheral portions (L portion, R portion) of the substrate K. it can.
  • the radical density on the central side of the substrate K can be made higher than that on the outer peripheral side of the substrate K without changing the plasma density. Even when the substrate K is etched mainly by chemical reaction or when the substrate K is mainly etched by ion incidence, the etching rate of the substrate K is made uniform as shown in FIG. Thus, the entire surface of the substrate K can be etched uniformly.
  • the flat member 14 is provided on the ceiling surface of the lower chamber 13 to come into contact with and disappear from the ions generated when the etching gas is turned into plasma in the upper chamber 12.
  • the flat plate member 14 may be provided on the lower inner peripheral surface of the upper chamber 12 so that the etching gas contacts and disappears from the ions in the etching gas before actually flowing into the lower chamber 13.
  • the member 14 may be provided on the upper inner peripheral surface of the lower chamber 13 so that the etching gas immediately contacts and disappears from the ions in the etching gas after flowing into the lower chamber 13.
  • the plasma etching apparatus 2 instead of the flat plate member 14, has a coil 51 disposed so as to wind the upper chamber 12 around the lower periphery of the upper chamber 12, A removal device 50 including a direct current power source 52 for passing a direct current through the coil 51 is provided.
  • the parts other than the removing device 50 have the same configuration as the plasma etching device 1.
  • the direct current power source 52 causes the direct current to flow through the coil 51 so that a magnetic field in the direction of the magnetic force lines G as shown in FIG. That is, a direct current is applied so that the magnetic field lines G are formed from the upper side to the lower side in the inner peripheral part of the coil 51, and the magnetic field G is formed from the lower side to the upper side in the outer peripheral part of the coil 51. .
  • the ions A generated when the etching gas is turned into plasma in the upper chamber 12 are moved in the direction of the lines of magnetic force G by the magnetic field formed by the coil 51. And then disappears in contact with the inner surface of the processing chamber 11 (mainly the ceiling (the top plate 13b) of the lower chamber 13). For this reason, the ions A in the etching gas flowing into the lower chamber 13 from the upper chamber 12 immediately disappear, and the radicals B in the etching gas move downward without disappearing. Therefore, the plasma etching apparatus 2 can achieve the same effect as the plasma etching apparatus 1.
  • the plasma etching apparatuses 3 and 4 may be configured as shown in FIGS.
  • the upper chamber 12 itself has a removal function
  • the upper chamber 12 is formed vertically long
  • a plasma generation region is set in the upper part of the internal space.
  • a portion corresponding to the lower portion of the plasma generation region is the side wall lower portion 12c.
  • the plasma etching apparatus 3 has the same configuration as the plasma etching apparatus 1 except for the length of the upper chamber 12 and the flat member 14.
  • the side wall lower portion 12c functions as a portion where ions in the processing gas converted into plasma in the plasma generation region contact and disappear, and an upper chamber for functioning the side wall lower portion 12c in this way.
  • the height of 12 and the height position of the plasma generation region can be obtained experimentally, for example.
  • the plasma etching apparatus 4 shown in FIG. 6 exhibits a removal function due to the structure of the upper chamber 12 and the lower chamber 13, and the upper chamber 12 is formed to be long in the vertical direction and the upper part of the internal space.
  • a plasma generation region is set, and a top plate (annular plate) 13b of the lower chamber 13 is formed thick.
  • the side wall 12d of the upper chamber 12 is not different from the upper and lower members, and is made of, for example, ceramic.
  • the plasma etching apparatus 4 has the same configuration as the plasma etching apparatus 1 except for the thickness of the annular plate 13b of the upper chamber 12 and the lower chamber 13 and the portion other than the flat plate member 14.
  • the annular plate 13b functions as a portion where ions in the processing gas that has been converted to plasma in the plasma generation region come into contact and disappear, and the upper portion for allowing the annular plate 13b to function in this manner.
  • the height of the chamber 12, the height position of the plasma generation region, and the thickness of the annular plate 13b can be determined experimentally, for example.
  • the etching gas supplied into the upper chamber 12 is turned into plasma in the plasma generation region, and the inner peripheral surfaces of the side wall lower portion 12c and the annular plate 13b are formed.
  • the plasma etching apparatus 3 of FIG. 5 when passing through the lower portion 12c of the side wall, the ions A in the etching gas contact with the inner surface of the lower portion 12c of the side wall and disappear, as shown in FIG.
  • the plasma etching apparatus 4 when passing through the inner peripheral surface of the annular plate 13b, the ions A in the etching gas disappear in contact with the inner peripheral surface of the annular plate 13b, and the radical B does not disappear, It passes through the inner peripheral surface of the annular plate 13b and moves downward. Therefore, like the plasma etching apparatuses 3 and 4, the upper chamber 12 is formed to be long in the vertical direction, the plasma generation region is set in the upper part of the internal space, and the plasma generation region is separated from the lower end of the upper chamber 12. Also, the same effect as the plasma etching apparatus 1 can be obtained.
  • the mode of extinguishing ions in the plasma-ized etching gas is not limited to the above-described mode. According to another mode, ions are brought into contact with a grounded member (including a part of the member) so as to be extinguished.
  • a grounded member including a part of the member
  • the etching gas is directly supplied only into the upper chamber 12.
  • the present invention is not limited to this, and the gas supply device 20 supplies the etching gas to both the upper chamber 12 and the lower chamber 13. You may make it supply.
  • Plasma etching apparatus 11 Processing chamber 12 Upper chamber 13 Lower chamber 14 Flat member 16 Base 20 Gas supply apparatus 25 Plasma generator 26 First plasma generation part 27 Coil 28 High frequency power supply 29 Second plasma generation part 30 Coil 31 High frequency power supply 35 Exhaust device K Substrate

Landscapes

  • Engineering & Computer Science (AREA)
  • Physics & Mathematics (AREA)
  • Plasma & Fusion (AREA)
  • Chemical & Material Sciences (AREA)
  • Analytical Chemistry (AREA)
  • General Physics & Mathematics (AREA)
  • Condensed Matter Physics & Semiconductors (AREA)
  • Manufacturing & Machinery (AREA)
  • Computer Hardware Design (AREA)
  • Microelectronics & Electronic Packaging (AREA)
  • Power Engineering (AREA)
  • Plasma Technology (AREA)
  • Drying Of Semiconductors (AREA)
  • Weting (AREA)
PCT/JP2010/062035 2009-09-15 2010-07-16 プラズマエッチング装置 Ceased WO2011033850A1 (ja)

Priority Applications (4)

Application Number Priority Date Filing Date Title
KR1020117018564A KR101224143B1 (ko) 2009-09-15 2010-07-16 플라즈마 식각 장치
EP10816963.2A EP2479781B1 (en) 2009-09-15 2010-07-16 Plasma etching method
CN201080007916.XA CN102318043B (zh) 2009-09-15 2010-07-16 电浆蚀刻装置
US13/203,191 US20110303365A1 (en) 2009-09-15 2010-07-16 Plasma Etching Apparatus

Applications Claiming Priority (2)

Application Number Priority Date Filing Date Title
JP2009-212727 2009-09-15
JP2009212727A JP4855506B2 (ja) 2009-09-15 2009-09-15 プラズマエッチング装置

Publications (1)

Publication Number Publication Date
WO2011033850A1 true WO2011033850A1 (ja) 2011-03-24

Family

ID=43758463

Family Applications (1)

Application Number Title Priority Date Filing Date
PCT/JP2010/062035 Ceased WO2011033850A1 (ja) 2009-09-15 2010-07-16 プラズマエッチング装置

Country Status (7)

Country Link
US (1) US20110303365A1 (enExample)
EP (1) EP2479781B1 (enExample)
JP (1) JP4855506B2 (enExample)
KR (1) KR101224143B1 (enExample)
CN (1) CN102318043B (enExample)
TW (1) TW201110229A (enExample)
WO (1) WO2011033850A1 (enExample)

Families Citing this family (17)

* Cited by examiner, † Cited by third party
Publication number Priority date Publication date Assignee Title
US9111729B2 (en) 2009-12-03 2015-08-18 Lam Research Corporation Small plasma chamber systems and methods
US9967965B2 (en) 2010-08-06 2018-05-08 Lam Research Corporation Distributed, concentric multi-zone plasma source systems, methods and apparatus
US9449793B2 (en) 2010-08-06 2016-09-20 Lam Research Corporation Systems, methods and apparatus for choked flow element extraction
US10283325B2 (en) 2012-10-10 2019-05-07 Lam Research Corporation Distributed multi-zone plasma source systems, methods and apparatus
KR101495288B1 (ko) * 2012-06-04 2015-02-24 피에스케이 주식회사 기판 처리 장치 및 방법
GB201309583D0 (en) * 2013-05-29 2013-07-10 Spts Technologies Ltd Apparatus for processing a semiconductor workpiece
CN104241070A (zh) * 2013-06-24 2014-12-24 中微半导体设备(上海)有限公司 用于感应耦合等离子体腔室的气体注入装置
CN105336559B (zh) * 2014-08-14 2018-01-09 北京北方华创微电子装备有限公司 一种反应腔室及半导体加工设备
KR101680850B1 (ko) * 2016-06-28 2016-11-29 주식회사 기가레인 배기유로의 크기가 조절되는 플라즈마 처리 장치
CN108155080A (zh) * 2016-12-02 2018-06-12 北京北方华创微电子装备有限公司 等离子体产生装置及包括该装置的半导体设备
KR102070544B1 (ko) * 2019-04-17 2020-01-29 주식회사 기가레인 플라즈마 안테나 및 이를 포함하는 플라즈마 처리장치
JP6909824B2 (ja) * 2019-05-17 2021-07-28 株式会社Kokusai Electric 基板処理装置、半導体装置の製造方法及びプログラム
WO2021130826A1 (ja) * 2019-12-23 2021-07-01 株式会社日立ハイテク プラズマ処理装置
CN111508802B (zh) * 2020-04-22 2023-10-13 北京北方华创微电子装备有限公司 反应腔室及其刻蚀方法
US11521834B2 (en) * 2020-08-26 2022-12-06 Tokyo Electron Limited Plasma processing systems and methods for chemical processing a substrate
US12131888B2 (en) * 2020-08-31 2024-10-29 Tokyo Electron Limited Gas cluster assisted plasma processing
CN119943711B (zh) * 2024-12-25 2025-10-17 启东新微智造科技有限公司 一种集成光电子器件制造的蚀刻机构

Citations (1)

* Cited by examiner, † Cited by third party
Publication number Priority date Publication date Assignee Title
JPH08186095A (ja) * 1994-12-28 1996-07-16 Kawasaki Steel Corp コンタクトホールの形成方法およびエッチング装置

Family Cites Families (9)

* Cited by examiner, † Cited by third party
Publication number Priority date Publication date Assignee Title
JP3267690B2 (ja) * 1992-09-22 2002-03-18 マツダ株式会社 エアバッグ装置
JPH08107101A (ja) * 1994-10-03 1996-04-23 Fujitsu Ltd プラズマ処理装置及びプラズマ処理方法
US6352049B1 (en) * 1998-02-09 2002-03-05 Applied Materials, Inc. Plasma assisted processing chamber with separate control of species density
US6203657B1 (en) * 1998-03-31 2001-03-20 Lam Research Corporation Inductively coupled plasma downstream strip module
ATE458261T1 (de) * 1998-12-11 2010-03-15 Surface Technology Systems Plc Plasmabehandlungsgerät
DE10024883A1 (de) * 2000-05-19 2001-11-29 Bosch Gmbh Robert Plasmaätzanlage
US20020185226A1 (en) * 2000-08-10 2002-12-12 Lea Leslie Michael Plasma processing apparatus
JP2008028022A (ja) * 2006-07-19 2008-02-07 Tokyo Electron Ltd プラズマエッチング方法およびコンピュータ読取可能な記憶媒体
KR100963287B1 (ko) * 2008-02-22 2010-06-11 주식회사 유진테크 기판처리장치 및 기판처리방법

Patent Citations (1)

* Cited by examiner, † Cited by third party
Publication number Priority date Publication date Assignee Title
JPH08186095A (ja) * 1994-12-28 1996-07-16 Kawasaki Steel Corp コンタクトホールの形成方法およびエッチング装置

Also Published As

Publication number Publication date
EP2479781A4 (en) 2012-08-29
CN102318043A (zh) 2012-01-11
TW201110229A (en) 2011-03-16
KR101224143B1 (ko) 2013-01-21
US20110303365A1 (en) 2011-12-15
TWI374495B (enExample) 2012-10-11
JP4855506B2 (ja) 2012-01-18
CN102318043B (zh) 2014-11-05
EP2479781B1 (en) 2014-05-14
KR20120022705A (ko) 2012-03-12
EP2479781A1 (en) 2012-07-25
JP2011066033A (ja) 2011-03-31

Similar Documents

Publication Publication Date Title
JP4855506B2 (ja) プラズマエッチング装置
KR102403856B1 (ko) 에칭 층을 에칭하기 위한 방법
TWI779753B (zh) 電漿處理裝置及被處理體處理方法
JP2009224441A (ja) シャワーヘッド及び基板処理装置
JP2009117711A (ja) シャワープレート及び基板処理装置
KR20140051962A (ko) 비활성 가스로부터 형성된 준안정 원자들을 사용한 원자층 에칭
TW201104743A (en) Substrate processing method
JP2017098323A (ja) プラズマエッチング方法
JP2013110414A (ja) 半導体製造装置及び半導体製造方法
TWI806871B (zh) 多孔低介電常數介電蝕刻
JP2007005377A (ja) プラズマエッチング方法、制御プログラム、コンピュータ記憶媒体及びプラズマエッチング装置
TWI682426B (zh) 電漿處理裝置及電漿處理方法
JP2007027349A (ja) エッチング方法及びエッチング装置
JP2022029847A (ja) シリコンのドライエッチング方法
JP2009224388A (ja) プラズマエッチング装置
JP2012227334A (ja) プラズマ処理方法
JP4336680B2 (ja) 反応性イオンエッチング装置
KR101262904B1 (ko) 플라즈마 식각 장치
JP2007005592A (ja) プラズマ処理方法、高速プラズマエッチング装置
JP2009231589A (ja) 反応性イオンエッチング装置
JP2007095905A (ja) ドライエッチング装置
JP2013171859A (ja) ドライエッチング装置とドライエッチング装置の調整方法、半導体装置の製造方法
KR100784793B1 (ko) 플라즈마 처리 장치 및 이를 이용한 기판의 처리 방법
JP2010016139A (ja) エッチング装置
JP2007103600A (ja) プラズマ処理装置及びプラズマ処理方法

Legal Events

Date Code Title Description
WWE Wipo information: entry into national phase

Ref document number: 201080007916.X

Country of ref document: CN

121 Ep: the epo has been informed by wipo that ep was designated in this application

Ref document number: 10816963

Country of ref document: EP

Kind code of ref document: A1

ENP Entry into the national phase

Ref document number: 20117018564

Country of ref document: KR

Kind code of ref document: A

DPE1 Request for preliminary examination filed after expiration of 19th month from priority date (pct application filed from 20040101)
WWE Wipo information: entry into national phase

Ref document number: 13203191

Country of ref document: US

WWE Wipo information: entry into national phase

Ref document number: 2010816963

Country of ref document: EP

NENP Non-entry into the national phase

Ref country code: DE