WO2010116632A1 - 光ディスク装置および多層光ディスクにおける層間ジャンプ方法 - Google Patents

光ディスク装置および多層光ディスクにおける層間ジャンプ方法 Download PDF

Info

Publication number
WO2010116632A1
WO2010116632A1 PCT/JP2010/002050 JP2010002050W WO2010116632A1 WO 2010116632 A1 WO2010116632 A1 WO 2010116632A1 JP 2010002050 W JP2010002050 W JP 2010002050W WO 2010116632 A1 WO2010116632 A1 WO 2010116632A1
Authority
WO
WIPO (PCT)
Prior art keywords
layer
interlayer jump
optical disc
jump
focus position
Prior art date
Legal status (The legal status is an assumption and is not a legal conclusion. Google has not performed a legal analysis and makes no representation as to the accuracy of the status listed.)
Ceased
Application number
PCT/JP2010/002050
Other languages
English (en)
French (fr)
Inventor
渡邊克也
山本真一
Current Assignee (The listed assignees may be inaccurate. Google has not performed a legal analysis and makes no representation or warranty as to the accuracy of the list.)
Panasonic Corp
Original Assignee
Panasonic Corp
Priority date (The priority date is an assumption and is not a legal conclusion. Google has not performed a legal analysis and makes no representation as to the accuracy of the date listed.)
Filing date
Publication date
Application filed by Panasonic Corp filed Critical Panasonic Corp
Priority to JP2011508210A priority Critical patent/JP5615264B2/ja
Priority to US12/996,664 priority patent/US8582403B2/en
Publication of WO2010116632A1 publication Critical patent/WO2010116632A1/ja
Anticipated expiration legal-status Critical
Ceased legal-status Critical Current

Links

Images

Classifications

    • GPHYSICS
    • G11INFORMATION STORAGE
    • G11BINFORMATION STORAGE BASED ON RELATIVE MOVEMENT BETWEEN RECORD CARRIER AND TRANSDUCER
    • G11B7/00Recording or reproducing by optical means, e.g. recording using a thermal beam of optical radiation by modifying optical properties or the physical structure, reproducing using an optical beam at lower power by sensing optical properties; Record carriers therefor
    • G11B7/08Disposition or mounting of heads or light sources relatively to record carriers
    • G11B7/085Disposition or mounting of heads or light sources relatively to record carriers with provision for moving the light beam into, or out of, its operative position or across tracks, otherwise than during the transducing operation, e.g. for adjustment or preliminary positioning or track change or selection
    • G11B7/08505Methods for track change, selection or preliminary positioning by moving the head
    • G11B7/08511Methods for track change, selection or preliminary positioning by moving the head with focus pull-in only
    • GPHYSICS
    • G11INFORMATION STORAGE
    • G11BINFORMATION STORAGE BASED ON RELATIVE MOVEMENT BETWEEN RECORD CARRIER AND TRANSDUCER
    • G11B7/00Recording or reproducing by optical means, e.g. recording using a thermal beam of optical radiation by modifying optical properties or the physical structure, reproducing using an optical beam at lower power by sensing optical properties; Record carriers therefor
    • G11B2007/0003Recording, reproducing or erasing systems characterised by the structure or type of the carrier
    • G11B2007/0009Recording, reproducing or erasing systems characterised by the structure or type of the carrier for carriers having data stored in three dimensions, e.g. volume storage
    • G11B2007/0013Recording, reproducing or erasing systems characterised by the structure or type of the carrier for carriers having data stored in three dimensions, e.g. volume storage for carriers having multiple discrete layers
    • GPHYSICS
    • G11INFORMATION STORAGE
    • G11BINFORMATION STORAGE BASED ON RELATIVE MOVEMENT BETWEEN RECORD CARRIER AND TRANSDUCER
    • G11B7/00Recording or reproducing by optical means, e.g. recording using a thermal beam of optical radiation by modifying optical properties or the physical structure, reproducing using an optical beam at lower power by sensing optical properties; Record carriers therefor
    • G11B7/08Disposition or mounting of heads or light sources relatively to record carriers
    • G11B7/09Disposition or mounting of heads or light sources relatively to record carriers with provision for moving the light beam or focus plane for the purpose of maintaining alignment of the light beam relative to the record carrier during transducing operation, e.g. to compensate for surface irregularities of the latter or for track following
    • G11B7/0908Disposition or mounting of heads or light sources relatively to record carriers with provision for moving the light beam or focus plane for the purpose of maintaining alignment of the light beam relative to the record carrier during transducing operation, e.g. to compensate for surface irregularities of the latter or for track following for focusing only

Definitions

  • the present invention relates to a recording / reproducing apparatus for a single-area layer type optical disc.
  • the present invention relates to an optical disc apparatus capable of recording and reproducing a 16-layer or 20-layer multi-layer optical disc with a 405 nm blue-violet laser light source having a high NA of 0.85 or more and an interlayer jump method in a multilayer optical disc.
  • an optical disc provided with N layers (an integer of 2 or more) of information layers stacked is referred to as an “N layer disc”.
  • An optical disc having a plurality of information layers is generically referred to as a “multilayer optical disc”.
  • a “single area layer type optical disc” is an optical disc in which light irradiating each information layer is incident from one surface of the optical disc.
  • the distance from the disc surface 100a on which light is incident to each information layer may be referred to as the “depth” of the information layer.
  • a transparent cover layer called a “light transmission layer” exists between the information layer having the closest depth and the disc surface 100a.
  • the distance between the focused information layer and the disc surface 100a, that is, the depth of the information layer is referred to as the “light transmitting layer thickness”.
  • the information layer located farthest from the disc surface 100a is referred to as “L1 layer”.
  • the N information layers are referred to as an L1 layer, an L2 layer,..., An LN layer in order of approaching the disc surface 100a.
  • the information layer closest to the disc surface 100a is the L4 layer.
  • Data recorded on the optical disc is reproduced by irradiating a rotating optical disc with a light beam having a relatively weak constant light amount and detecting reflected light modulated by the optical disc.
  • a reproduction-only optical disc information by pits is previously recorded in a spiral shape at the manufacturing stage of the optical disc.
  • a recording material film capable of optically recording / reproducing data is deposited on the surface of a substrate on which a track having spiral lands or grooves is formed by a method such as vapor deposition. Has been.
  • the optical disc When data is recorded on a rewritable optical disc, the optical disc is irradiated with a light beam whose amount of light is modulated in accordance with the data to be recorded, thereby changing the characteristics of the recording material film locally to write the data. Do.
  • a multilayer optical disc when data is read from a certain information layer (referred to as “layer A”) of a plurality of stacked information layers, or when data is written to the layer A, the light beam is focused on the layer A.
  • layer A a certain information layer
  • layer B an information layer other than the layer A
  • the light beam is focused on the layer B.
  • the movement of the focus position of the light beam from one information layer (current layer) to another information layer (target layer) is referred to as “interlayer movement” or “focus jump”.
  • the movement of the focus position of the light beam in the depth direction of the information layer (in the thickness direction of the optical disk) can be performed by a focus actuator in the optical pickup.
  • the optical pickup includes a laser light source that emits a light beam, an objective lens that focuses the light beam, and an actuator that moves the position of the objective lens.
  • the actuator can be divided into a tracking actuator that moves the objective lens in the radial direction of the optical disc and a focus actuator that moves the objective lens in the thickness direction of the optical disc.
  • Patent Document 1 discloses a conventional technique for performing a focus jump in a dual-layer disc of DVD or a dual-layer disc of Blu-ray Disc (BD).
  • a method of focus jump in a BD double-layer disc disclosed in Patent Document 1 first, the movement of the spherical aberration correction mechanism is started, and the movement of the objective lens by the focus actuator is started after a predetermined time has elapsed.
  • the predetermined time corresponds to approximately 1 ⁇ 2 of the time required to move the spherical aberration correction mechanism from the position corresponding to the first recording layer to the position corresponding to the second recording layer.
  • the movement of the objective lens by the focus actuator is started when the spherical aberration correction mechanism is approaching the position corresponding to the second recording layer, when the focus position moves to the second recording layer, the spherical surface is corrected.
  • the aberration correction mechanism is also approaching the position corresponding to the second recording layer, and focus servo can be correctly performed on the second recording layer.
  • the movement of the focus position is started when the spherical aberration correction mechanism moves to a substantially intermediate position between the position corresponding to the first recording layer and the position corresponding to the second recording layer. Therefore, the focus servo can be correctly executed after the focus position moves to the second recording layer.
  • Patent Document 1 when performing a focus jump that moves a focus position over two or more recording layers at a time in a multilayer optical disc of three or more layers, a spherical aberration correction mechanism from the current recording layer to the adjacent recording layer And the focus actuator is moved and the focus position is once brought into focus on the adjacent recording layer.
  • the focus jump to the next adjacent recording layer is executed and the focus jump to each adjacent recording layer is repeated a predetermined number of times, the focus servo becomes unstable even when two or more recording layers are moved. There was no movement between layers.
  • the conventional interlayer jump technology was developed assuming a two-layer disc. According to such a conventional interlayer jump method, the spherical aberration is adjusted to the cover thickness of the target layer (depth of the target layer) before executing the focus jump. In another conventional technique, spherical aberration correction is adjusted to an intermediate value between the target layer and the current layer, the focus is removed, and movement toward the target layer is started.
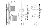
  • FIGS. 1 and 2 show the waveforms of the light beam, the FE signal, and the drive signal in the two-layer disc and the four-layer disc when spherical aberration correction is performed so as to minimize the spherical aberration in the target layer at the time of focus jump. .
  • FIG. 1A shows a cross-sectional configuration of a two-layer BD.
  • a state where the L1 layer is in focus is schematically shown
  • a state where the L2 layer is in focus is schematically shown.
  • the focus position is moved by moving the objective lens in the thickness direction of the optical disk.
  • FIG. 1B shows the waveform of the S-shaped signal and the acceleration pulse P1 and deceleration pulse P2 on the focus drive signal when moving from the L1 layer to the L2 layer.
  • FIG. 1C shows an S-shaped waveform and an acceleration pulse P1 and a deceleration pulse P2 on the focus drive signal when moving from the L2 layer to the L1 layer.
  • the “S-shaped signal” is a waveform portion that appears in the FE signal in the process in which the focus position approaches the information layer and eventually passes away through the information layer.
  • the S-shaped signal has a non-zero amplitude when the focus position of the light beam is located in the vicinity of the information layer.
  • One S-shaped signal is usually composed of two peak portions having different polarities that appear in the FE signal. There is a zero cross point between the two peaks. The zero cross point of the S-shaped signal means that the focus position is on the information layer (focused).
  • the width of the peak portion of the S-shaped signal may be referred to as a “detection range”.
  • the polarities of the acceleration pulse P1 and the deceleration pulse P2 are “positive” when a force is applied in a direction in which the objective lens approaches the optical disk, and are described upward in the figure.
  • the polarity of the acceleration pulse P1 and the deceleration pulse P2 becomes “negative” and is shown downward in the figure.
  • the upward pulse in the figure contributes to “acceleration” when applied when the objective lens approaches the optical disc, but contributes to “deceleration” when applied when the objective lens moves away from the optical disc.
  • the output of the S layer on one side of the target layer that appears when approaching the target layer is detected and the deceleration pulse P2 is output.
  • the deceleration pulse P2 is detected at the time when the amplitude (polarity change positive or negative) of one side of the S-shaped signal of the target layer that appears when approaching the target layer is detected. Is outputted, the brake is applied to the movement of the focus position sufficiently before the target layer.
  • the interlayer pitch is small as shown in FIG. For this reason, even if the deceleration pulse P2 is output when the S-side output of the target layer that appears when the focus position approaches the target layer is detected, the brake timing is slow, and the focus control in the target layer is pulled in. Sometimes it failed.
  • FIG. 3A shows a cross-sectional configuration of the two-layer BD.
  • FIG. 3B shows an S-shaped waveform when moving from the L1 layer to the L2 layer, and an acceleration pulse P1 and a deceleration pulse P2 on the focus drive signal.
  • FIG. 3C shows an S-shaped waveform when moving from the L2 layer to the L1 layer, and an acceleration pulse P1 and a deceleration pulse P2 on the focus drive signal.
  • FIG. 4A shows a cross-sectional configuration of a four-layer BD.
  • FIG. 4B shows an S-shaped waveform when moving from the L1 layer to the L4 layer, and an acceleration pulse P1 and a deceleration pulse P2 on the focus drive signal.
  • FIG. 4C shows an S-shaped waveform when moving from the L4 layer to the L1 layer, and an acceleration pulse P1 and a deceleration pulse P2 on the focus drive signal.
  • an object of the present invention is to provide an optical disc apparatus that realizes stable and high-speed interlayer movement even in a multilayer optical disc having a larger number of layers than a two-layer disc, and an interlayer jump method in the multilayer optical disc.
  • An optical disc apparatus includes an interlayer jump control unit for controlling an interlayer jump at a focus position in a multilayer optical disc having a plurality of stacked information layers, and spherical aberration correction corresponding to each of the plurality of information layers in the optical disc.
  • a spherical aberration correction unit that can be performed, and an S-shaped signal detection unit that detects an S-shaped signal from an information layer included in the plurality of information layers after starting an interlayer jump of the focus position,
  • the aberration correction unit performs spherical aberration correction according to the information layer that starts deceleration of the focus position movement in the interlayer jump before or after the start of the interlayer jump at the focus position, and the interlayer jump control unit Focus position movement in the interlayer jump in response to detection of an S-shaped signal from the information layer subjected to aberration correction It begins to decelerate.
  • the information layer that starts decelerating the focus position movement in the interlayer jump is located between the information layer where the focus position existed at the start of the interlayer jump and the target information layer of the interlayer jump.
  • Information layer is located between the information layer where the focus position existed at the start of the interlayer jump and the target information layer of the interlayer jump.
  • the information layer that starts decelerating focus position movement in the interlayer jump is an information layer adjacent to the target information layer of the interlayer jump.
  • the spherical aberration correction unit completes the spherical aberration correction according to the information layer positioned before the start of the interlayer jump and before the target information layer of the interlayer jump.
  • the spherical aberration correction unit switches the correction amount of the spherical aberration according to the movement of the focus position after the start of the interlayer jump.
  • the spherical aberration correction unit minimizes spherical aberration correction in the information layer closest to the focus position that is moving during the interlayer jump among the plurality of information layers.
  • the interlayer jump control unit accelerates focus position movement based on an S-shaped signal detection interval obtained when the focus position crosses each of the plurality of information layers after the start of the interlayer jump. Adjust deceleration.
  • the interlayer jump method in the multilayer optical disc of the present invention is an interlayer jump method for controlling the interlayer jump at the focus position in the multilayer optical disc having a plurality of stacked information layers, and before or after the start of the interlayer jump at the focus position, A step of correcting spherical aberration in accordance with the information layer starting deceleration of the focus position movement in the interlayer jump, and detecting an S-shaped signal from the information layer on which the spherical aberration correction has been performed after starting the interlayer jump. And a step of starting to decelerate focus position movement in the interlayer jump in response to detection of the S-shaped signal from the information layer on which the spherical aberration has been performed.
  • the information layer for starting the deceleration of the focus position movement in the interlayer jump is selected from a plurality of information layers including an information layer adjacent to the target information layer of the interlayer jump and an information layer located in the vicinity thereof. It is a specific layer.
  • the information layer that starts the deceleration of the focus position movement in the interlayer jump is an information layer adjacent to the target information layer of the interlayer jump.
  • the method includes a step of performing spherical aberration correction suitable for a target information layer of the interlayer jump after performing the deceleration.
  • the method includes a step of determining an interlayer jump pattern by using total layer number information of the multilayer optical disc and interlayer jump information including an interlayer jump source and an interlayer jump destination.
  • the interlayer jump pattern includes at least one of a layer that performs spherical aberration correction before the interlayer jump, a layer that generates a deceleration signal, and a maximum number of layers that can jump at one time.
  • the interlayer jump pattern includes a pattern that moves from an interlayer jump source to an interlayer jump destination in a plurality of times.
  • S-shaped signals obtained from each information layer in the multilayer optical disc do not overlap each other.
  • the method of the interlayer jump is changed according to an interlayer jump in a direction in which the objective lens approaches the multilayer optical disc and an interlayer jump in a direction away from the multilayer optical disc.
  • the number of information layers that the focus position crosses during the interlayer jump is smaller in the interlayer jump in the direction in which the objective lens approaches the multilayer optical disk than in the interlayer jump in the direction away from the multilayer optical disk.
  • Another optical disc apparatus includes an interlayer jump control unit that controls an interlayer jump at a focus position in a multilayer optical disc having a plurality of stacked information layers, and a target information layer for the interlayer jump after the interlayer jump is started.
  • An S-shaped signal detecting unit for detecting an S-shaped signal from an information layer adjacent to the front side of the head, and the interlayer jump control unit is configured to move a focus position in the interlayer jump in response to the detection of the S-shaped signal. Deceleration is started, and maximum deceleration is performed on the information layer adjacent to the front side of the target information layer.
  • An interlayer jump method in another multilayer optical disc of the present invention is an interlayer jump method for controlling an interlayer jump at a focus position in a multilayer optical disc having a plurality of stacked information layers, and the interlayer jump is started after the interlayer jump is started.
  • a step of detecting an S-shaped signal from an information layer adjacent to the front side of the target information layer of the jump, and in response to the detection of the S-shaped signal, decelerating focus position movement in the interlayer jump is started, and the target information Performing maximum deceleration on an information layer adjacent to the front side of the layer.
  • the optical disc apparatus and the interlayer jump method of the present invention perform the deceleration control on the information layer on which the spherical aberration is performed after starting the interlayer jump in the multilayer optical disc, it depends on the interlayer distance and the number of layers of the loaded multilayer optical disc.
  • the focus position can be decelerated at the optimal timing. For this reason, a stable interlayer jump can be realized even in a multilayer optical disc having a large number of information layers.
  • the optical disc apparatus and the interlayer jump method of the present invention move to a desired information layer all at once, so that the adjacent layer is once subjected to focus control and stabilized, and then the movement to the next adjacent layer is repeated. Further, the travel time can be greatly shortened. As a result, not only long-time recording but also 3D recording and random accessibility can be ensured, so that it is possible to provide applications and devices that take advantage of the multi-layered large capacity, such as substitution of a hard disk.
  • maximum deceleration is performed in response to detection of an S-shaped signal from the information layer adjacent to the front side of the target information layer of the interlayer jump. This makes it possible to reliably stop the interlayer jump in the target information layer as compared to the case of responding to detection of the S-shaped signal from the target information layer.
  • the spherical aberration does not need to be minimized in the information layer adjacent to the front side of the target information layer.
  • (A) is a cross-sectional configuration diagram of the two-layer BD
  • (b) is an L1 layer in the case where spherical aberration correction is performed so as to minimize spherical aberration in the L2 layer (depth 75 ⁇ m) of the two-layer BD.
  • (c) is a case where spherical aberration correction is performed so as to minimize spherical aberration in the L1 layer (depth 100 ⁇ m) of the two-layer BD.
  • Waveform diagram of focus error (FE) signal obtained from each of L1, L2 layer (A) is a cross-sectional configuration diagram of a four-layer BD, and (b) is L1-L4 when spherical aberration correction is performed to minimize spherical aberration in the L4 layer (depth 75 ⁇ m) of the four-layer BD.
  • (C) is a waveform diagram of a focus error (FE) signal obtained from each of the layers, and (c) shows a case where spherical aberration correction is performed so as to minimize spherical aberration in the L1 layer (depth of 100 ⁇ m) of the four-layer BD.
  • Waveform diagram of focus error (FE) signal obtained from each of L1 to L4 layers (A) is a cross-sectional configuration diagram of the two-layer BD
  • (b) is a waveform diagram of acceleration and deceleration pulses on an S-shaped waveform and a focus drive signal when moving from the L1 layer to the L2 layer
  • (c) Waveform diagram of S-curve waveform and acceleration / deceleration pulse on focus drive signal when moving from L2 layer to L1 layer
  • A) is a cross-sectional configuration diagram of a four-layer BD
  • (b) is a waveform diagram of an S-shaped waveform and acceleration and deceleration pulses on a focus drive signal when moving from the L1 layer to the L4 layer
  • (c) Waveform diagram of S-shaped waveform and acceleration / deceleration pulse on focus drive signal when moving from L4 layer to L1 layer
  • (A) is a cross-sectional configuration diagram of a two-layer BD
  • (b) is an
  • FIG. 7 is a detailed block diagram of the optical pickup, the servo control circuit and its peripheral part.
  • (A) And (b) is a figure which shows an example of an internal structure of the spherical aberration correction part 128 of FIG.
  • FIG. 1 Schematic diagram showing the objective lens when the focus jump operation is performed from the nearest layer (L4 layer) to the farthest layer (L1 layer) and the S-shaped signal when the focus position passes through each layer of the multilayer BD disc.
  • Flow chart of focus jump operation Waveform diagram of S-shaped signal and deceleration pulse P2 enlarged around the L7 layer part which is the brake layer The figure which showed the brake layer in each movement pattern of 2 layer BD, 4 layer BD, and 8 layer BD, the maximum number of crossing layers, and the frequency
  • Waveform diagram showing the timing of the S-shaped signal, acceleration pulse P1 and deceleration pulse P2 appearing on the FE in the first movement (L1 layer to L5 layer), the second movement (L5 layer to L8 layer)
  • (b) is a figure which shows the other example of an internal structure of the spherical aberration correction part 128 of FIG.
  • the double-layer disc is an S-shaped signal capable of focus jumping even when the width (detection range) of one side of the S-shaped signal is 10 ⁇ m.
  • a multilayer BD having three or more information layers it is necessary to stack the layers with a smaller interlayer pitch than in the two-layer BD. Therefore, in order to detect an independent S-shaped signal of each layer and reduce interlayer crosstalk. It is necessary to narrow the detection range of the S-shaped signal. If the detection range of the S-shaped signal is not narrowed, the S-shaped signals from the adjacent information layers overlap with each other and interlayer crosstalk occurs, making it difficult to identify individual information layers by the S-shaped signal. For example, in a four-layer BD with an interlayer pitch of up to 5 ⁇ m, as shown in FIG.
  • the width (detection range) of one side of the S-shaped signal is narrow to 2 ⁇ m so that the S-shaped signal in each layer can be detected. There is a need to. Therefore, as shown in the figure, at the time of interlayer jump, an S-shaped signal is not generated in each layer unless it is just before the target layer.
  • an interlayer jump is performed from the L1 layer to the L2 layer.
  • 5 (a) and 6 (a) schematically show a cross-sectional configuration of the two-layer BD and a state where the L1 layer and the L2 layer are in focus.
  • FIG. 5B shows the waveform of the FE signal obtained from each of the L1 layer and the L2 layer when spherical aberration correction is performed so as to minimize spherical aberration in the L2 layer (depth 75 ⁇ m) of the two-layer BD. Is shown.
  • FIG. 6B is obtained from each of the L1 layer and the L2 layer when the spherical aberration correction is performed so as to minimize the spherical aberration in the L1 layer (depth of 100 ⁇ m) of the two-layer BD.
  • the waveform of the FE signal is shown.
  • the dead zone range becomes large as shown in the figure, and at the time of focus jump, it is in the vicinity of the current layer or the target layer.
  • an S-shaped signal is generated.
  • the spherical aberration is adjusted to the target layer (L2 layer) to detect the earlier timing, and the S-shaped signal is detected. Is output, and immediately after detecting the output of the S-shaped signal from the zero level of the dead zone, the deceleration pulse P2 is issued and the brake is applied.
  • the timing is generated with the S-shaped signal of the current layer (L1 layer), in order to accurately delay the brake timing, the spherical aberration is kept in accordance with the current layer, and the S-shaped signal While detecting the gradient of the waveform, it may be configured to apply a deceleration pulse after the predetermined delay time has elapsed and apply the brake after the gradient value becomes zero.
  • the spherical aberration correction is combined with the information layer (brake layer) for generating the timing to apply the brake, and the spherical aberration correction is minimized in the information layer.
  • the S-shaped signal obtained from the information layer is increased and stabilized.
  • a deceleration pulse is output based on the S-shaped signal obtained from the information layer.
  • the maximum deceleration is performed in response to detection of the S-shaped signal from the information layer adjacent to the front side of the target information layer of the interlayer jump. This makes it possible to reliably stop the interlayer jump in the target information layer as compared to the case of responding to detection of the S-shaped signal from the target information layer.
  • FIG. 7 is a block diagram of the optical disc apparatus according to the present embodiment.
  • 8 to 11 are tables showing configuration examples of a single-layer, double-layer to 16-layer multilayer BD disc group supported in the first embodiment.
  • the depth of the reference layer (L1 layer) that is located farthest from the disc surface 100a should be 100 ⁇ m. preferable.
  • the interlayer distance is preferably 3 ⁇ m or more.
  • the interlayer distance may be referred to as an interlayer pitch (LP).
  • the thickness of the light transmission layer (the distance between the layer closest to the disk surface 100a and the disk surface 100a) cannot be reduced.
  • An optical system used for BD recording / reproduction has a high NA (0.85). As the NA increases, the focal length of the objective lens decreases. Considering these, it is preferable to secure a thickness of the light transmission layer of 25 ⁇ m or more.
  • the four patterns (configuration examples) shown in FIGS. 8 to 11 are conceivable for a two-layer, four-layer, six-layer, eight-layer, ten-layer, twelve-layer, fourteen-layer, and sixteen-layer optical disc. .
  • the distance between layers is secured as much as possible.
  • the layers are equally spaced, and in a 16-layer optical disc, the layers are 5 ⁇ m and the thickness of the light transmission layer is 25 ⁇ m.
  • the interlayer distance is alternately changed to cancel the crosstalk.
  • the distance between the odd-numbered layer and the even-numbered layer is 5 ⁇ m.
  • the distance between the even-numbered layer and the odd-numbered layer is 4 ⁇ m, and the thickness of the light transmission layer is 32 ⁇ m.
  • the interlayer 10 and 11 are examples in which the surface and the distance from the surface to the nearest layer (thickness of the light transmission layer) are secured with priority.
  • the interlayer is equally spaced.
  • the interlayer is 3.125 ⁇ m and the thickness of the light transmission layer is 53.125 ⁇ m.
  • the interlayer distance is alternately changed in order to cancel the crosstalk.
  • the distance between the odd-numbered layer and the even-numbered layer is 3.125 ⁇ m.
  • the distance between the even-numbered layer and the odd-numbered layer is 3 ⁇ m
  • the thickness of the light transmission layer is 54 ⁇ m.
  • the interlayer distance and the light transmission layer thickness slightly increase or decrease from the above numerical example due to manufacturing variations.
  • typical configuration examples of multilayer optical discs are generally summarized in the above four patterns.
  • the focus jump in this embodiment can be applied in common to all the above-described patterns. Therefore, the pattern 1 will be described below, and only the necessary portions of the patterns 2, 3, and 4 will be described supplementarily.
  • the optical disc apparatus includes a pickup 103, a servo control circuit 106 that controls the operation of the optical pickup 103, a reproduction circuit 110 that reproduces an information signal on the optical disc 100 detected by the optical pickup 103, and information to be recorded on the optical disc 100. And a recording circuit 123 for writing.
  • the optical pickup 103 has an optical system that focuses a light beam on the optical disc 100, a photodetector that detects reflected light from the optical disc 100, and a laser diode as a light source.
  • the recording circuit 123 writes the information on the optical disc 100 by causing the laser driving circuit 107 to emit a laser diode in a pulsed manner by a predetermined modulation method based on the information to be recorded.
  • the optical pickup 103 irradiates the focused laser beam to the optical disc 100 loaded on the optical disc motor 101.
  • the RF servo amplifier 104 generates an electrical signal based on the light reflected from the optical disc 100.
  • the servo control circuit 106 controls the motor drive circuit 102 and the optical pickup 103 to perform focus and tracking control on the optical disc 100 loaded in the optical disc motor 101. Further, the servo control circuit 106 discriminates whether the optical disc 100 is a BD disc by irradiating the optical disc 100 with a light beam and a lens, and determines whether the optical disc 100 is a BD disc.
  • a disc discriminating unit 109 for discriminating a multilayer having an information recording layer is included.
  • the reproduction circuit 110 equalizes the electric signal output from the RF servo amplifier 104 with a waveform equivalent circuit or the like to generate an analog reproduction signal.
  • the generated reproduction signal is digitized, and data is extracted in synchronization with a read clock (reference clock) by a PLL. Thereafter, the signal is input to the system controller 111 after predetermined demodulation and error correction.
  • the system controller 111 is transferred to the host 113 via the I / F circuit 112.
  • the recording circuit 123 is added with a header, redundant bits for error correction, etc. and modulated to a predetermined modulation pattern (modulation method), and then the laser driving circuit 107 passes the host 140 through the I / F circuit 131.
  • the laser diode in the optical pickup 103 is caused to emit light in pulses.
  • Information of “1” or “0” is recorded by changing the reflectance of the recording material (for example, organic material or phase change material) of the optical disc 100 according to the intensity modulation of the laser light incident on the optical disc 100.
  • FIG. 12 is a block diagram showing in more detail the optical pickup, servo control circuit and its peripheral portion of FIG. 7 related to the focus jump of the multilayer optical disc of this embodiment. This will be further described with reference to FIG.
  • the illustrated optical pickup 103 includes a light source 122, a coupling lens 124, a polarization beam splitter 126, a spherical aberration correction device 128, an objective lens 130, actuators 131 and 132, a condensing lens 134, and light detection. Part 136.
  • the light source 122 is composed of a semiconductor laser diode that emits a light beam.
  • a single light source 122 is shown in FIG. 12, but the actual light source is composed of, for example, three semiconductor lasers that emit light beams of different wavelengths.
  • one optical pickup includes a plurality of semiconductor lasers that emit light beams of different wavelengths for CD, DVD, and BD, but in FIG. Yes.
  • the coupling lens 124 converts the light beam emitted from the light source 122 into parallel light.
  • the polarization beam splitter 126 reflects the parallel light from the coupling lens 124. Since the position of the semiconductor laser in the light source 122 and the wavelength of the emitted light beam differ depending on the type of the optical disc, the optimal optical system configuration differs depending on the type of the optical disc 100. For this reason, the actual configuration of the optical pickup 103 is more complicated than that shown in the figure.
  • the objective lens 130 focuses the light beam reflected by the polarization beam splitter 126.
  • the position of the objective lens 130 is controlled to a predetermined position by the actuator 132 based on the FE signal and the TE signal.
  • the focal point of the light beam focused by the objective lens 130 is located on the information recording layer, and the light beam is focused on the information recording layer. A spot is formed.
  • one objective lens 130 is shown in FIG. 12, a plurality of objective lenses 130 are actually provided, and different objective lenses 130 are used depending on the type of the optical disc 100.
  • the focus servo and tracking servo operate so that the focal point of the light beam follows a desired track in the information recording layer, and the position of the objective lens 130 is controlled with high accuracy.
  • the optical disk 100 is an optical disk that performs recording / reproduction with the blue-violet laser diode 122 and the high NA objective lens 130 in particular.
  • the optical pickup 103 has a simple configuration as shown in FIG.
  • the actual optical pickup 103 may include a light source and an objective lens for CD and / or DVD.
  • a focus jump is performed in order to perform data recording / reproduction operations on any layer included in a plurality of information layers of the optical disc 100.
  • the objective lens 130 is moved between the layers along the optical axis direction by the action of the actuator 132.
  • the spherical aberration correction element 128 includes, for example, an aberration correction lens 228 (FIG. 13) whose position can be changed in the optical axis direction. By adjusting the position of the aberration correction lens 228, the spherical aberration state (correction) is corrected. (A beam expander system) that can change the amount).
  • the configuration of the spherical aberration correction unit 128 does not need to have such a beam expander configuration, and may have a configuration in which aberration is corrected by a liquid crystal element, a hinge, or the like.
  • the light beam reflected by the information recording layer of the optical disc 100 passes through the objective lens 130, the spherical aberration correction unit 128, and the polarization beam splitter 126 and enters the condenser lens 134.
  • the condenser lens 134 focuses the reflected light from the optical disc 100 that has passed through the objective lens 130 and the polarization beam splitter 126 onto the light detection unit 136.
  • the light detection unit 136 receives the light that has passed through the condenser lens 134 and converts the optical signal into various electric signals (current signals).
  • the light detection unit 136 has, for example, a four-part light receiving region.
  • the servo control circuit 106 further includes an FE signal generation unit 150, a TE signal generation unit 151, an S-shaped signal detection unit 160, and a disc determination unit 109.
  • the focus control unit 140 can drive the focusing actuator 132 in accordance with an instruction from the CPU 146 to move the objective lens 130 to an arbitrary position along the optical axis direction.
  • the tracking control unit 141 can drive the tracking actuator 131 to move the objective lens 130 to an arbitrary position along the radial direction of the optical disc 100, and the optical signal is output from the TE signal output from the TE signal generation unit 151. Tracking control is performed so that the light spot on 100 scans the track.
  • the spherical aberration control unit 142 controls the spherical aberration correction unit 128 to a predetermined setting state according to an instruction from the CPU 146.
  • FIG. 13 is an internal configuration diagram of the spherical aberration correction unit 128. Specifically, the stepping motor 8 shown in FIG. 13 operates based on a control signal from the spherical aberration control unit 142. For example, in the case of a two-layer disc, the aberration correction lens 228 is attached to the first layer and the second layer. It is moved to a predetermined position corresponding to the cover layer thickness. By changing the position (position in the optical axis direction) of the aberration correction lens 228, the spherical aberration state of the light beam can be adjusted. This has the same operation and function from the 4th layer to the 16th layer and the 20th layer.
  • the FE signal generation unit 150 generates an FE signal based on electrical signals output from a plurality of light receiving areas included in the light detection unit 136.
  • the generation method of the FE signal is not particularly limited, and an astigmatism method may be used, or a knife edge method may be used. Further, an SSD (spot sized detection) method may be used.
  • the FE signal output from the FE signal generation unit 150 is input to the S-shaped signal detection unit 160 in which a predetermined detection threshold is set by a command from the CPU 146.
  • the TE signal generation unit 151 generates a TE signal based on electrical signals output from a plurality of light receiving areas included in the light detection unit 136.
  • the TE signal generation method is generally a push-pull detection method for recording media having a concavo-convex track such as a recording medium represented by BD-R or BD-RE, and a read-only medium represented by BD-ROM.
  • the phase difference detection method is mainly used for the embossed information pre-pits, but the tracking method is not particularly limited.
  • the S-shaped signal detection unit 160 detects the S-shaped signal based on whether or not the FE signal exceeds a predetermined threshold while the objective lens 130 is moving in the optical axis direction by focus search.
  • Set the aberration value is selected as the brake layer.
  • the information layer adjacent to the target information layer between the information layer (jump start layer) for starting the interlayer jump and the target information layer is referred to as an information layer “before” the target information layer.
  • the brake layer is typically an information layer positioned in front of the target information layer, but the present invention is not limited to this example. In consideration of the speed of the focus position and the weight of the objective lens during the interlayer movement, it is possible to select an information layer that is more than one layer away from the target information layer as a brake layer.
  • tracking control and focus control are turned off, and an acceleration pulse P1 is applied to the actuator 132.
  • the deceleration pulse P2 is output when the brake layer is detected. Since the deceleration pulse P2 is applied to the actuator 132 in a layer (brake layer) positioned in front of the target layer, the moving speed of the focus position can be reduced.
  • the focus control is turned on when the S-shaped signal detected during the focus jump is counted and the target layer is reached. For this reason, the focus position can be accurately moved to the target layer.
  • FIG. 14 shows a four-layer disc as an example.
  • FIG. 15 shows a flowchart of the focus jump operation at that time.
  • the focus position that moves with the movement of the objective lens is sometimes referred to as a “light spot position”. This is because the cross section of the light beam converged by the objective lens forms the smallest light spot at the focus position.
  • the focus position is on the information layer, and a light spot is formed on the information layer.
  • a focus jump or an interlayer jump is a movement of a focus position from one information layer to another information layer, and is realized by moving the objective lens in the thickness direction of the optical disc.
  • step ST1 shown in FIG. 15 when the focus position is initially focused on the nearest layer (L4 layer) and is in a standby state, a seek command is received from the host 113.
  • the target address is the track address of the farthest layer (L1 layer)
  • the layer (brake layer) that issues the brake from the condition of the movement from the L4 layer to the L1 layer is the layer jump destination layer (L1 layer).
  • the L2 layer in front is used. That is, the timing for issuing the deceleration pulse P2 is determined as an S-shaped signal detected from the front of the L2 layer.
  • step ST2 the spherical aberration control unit 142 is commanded, and the aberration correction lens 228 of FIG. 13 is driven so that the correction value matches the cover layer thickness of the L2 layer (depth of the L2 layer).
  • spherical aberration correction is performed so that the spherical aberration is minimized in the L2 layer serving as the brake layer. For this reason, when the focus position is on or near the L2 layer, the amplitudes of various signals (RF signal, FE signal, TE signal) obtained from the L2 layer are maximized. As a result, the amplitude of the S-shaped signal is also maximized and sharpened.
  • FIG. 14 schematically shows an FE signal (S-shaped signal) obtained from the L1 to L4 layers.
  • S-shaped signal FE signal
  • the focus position is moved in a state where the spherical aberration is performed so that the spherical aberration is minimized in the L2 layer (ideally zero)
  • the S-shape obtained in the L2 layer is obtained.
  • the amplitude of the signal is the largest.
  • the amplitude of the S-shaped signal obtained from these layers becomes small.
  • the waveform of such an S-shaped signal spreads (dulls) in the lateral direction due to spherical aberration, and the detection width increases. According to the dull S-shaped waveform obtained from the layer whose spherical aberration is not corrected, it is difficult to detect the position of the information layer with high accuracy.
  • step ST3 After completing the driving of the spherical aberration correction lens, in step ST3, first the S-shaped detection level is lowered (closed to 0). Accordingly, the S-shaped signal M1 (also referred to as the S-shaped signal coarse detection mode M1) that can reliably detect even the S-shaped signal from the information layer that does not match the spherical aberration correction and count the number of the information layer is set. To do. Thereafter, the tracking is turned off, and the acceleration pulse P1 is applied to the focus actuator 132 (step ST4). The focus actuator 132 to which the acceleration pulse P1 is applied accelerates the objective lens 130 in the optical axis direction. Thus, the focus position moves in the direction across the information layer toward the interlayer jump destination.
  • the S-shaped detection level is lowered (closed to 0). Accordingly, the S-shaped signal M1 (also referred to as the S-shaped signal coarse detection mode M1) that can reliably detect even the S-shaped signal from the information layer that does not match the spherical
  • step ST5 an S-shaped signal is output every time it passes through the L3 layer and the L2 layer, so that the current focus position while moving can be grasped by the count.
  • step ST6 since the deceleration pulse P2 is output when passing through the L3 layer that is one layer before the brake layer (L2 layer) based on the count value of the S-shaped signal, the S-shaped signal in the L2 layer is output. Signal detection is performed in the S-shaped signal detail detection mode M2.
  • step ST7 the S-shaped signal level is determined.
  • the front side of the L2 layer which is the brake output timing
  • the peak value of the deceleration pulse P2 corresponding to the required time up to that time is determined and output.
  • the timing to end the brake output is when the S-shaped signal is further counted and the layer jump destination layer is reached.
  • step ST9 when it is determined that the layer jump destination layer has been reached, in step ST10, the brake output is completed when the S-shaped signal on the near side of the L1 layer is specifically detected. Then, the focus control is immediately turned on. Since the movement of the focus position is sufficiently decelerated, the focus pull-in in the target layer can be realized extremely stably.
  • FIG. 14 shows the output of the S-shaped signal for the movement of the layer at this time and the mode switching operation corresponding to it.
  • spherical aberration correction is performed before the start of focus jump so that the spherical aberration becomes zero in the brake layer.
  • the amplitude of the S-shaped signal in the brake layer is maximized and the S / N ratio is also increased, so that a high-resolution S-shaped signal can be obtained. Therefore, it becomes possible to detect the amplitude level of the S-shaped signal in more detail and to set the start of the fine brake, so that the jump speed control over multiple layers can be realized stably.
  • FIG. 16 is a diagram for explaining the operations of the S-shaped signal count mode M1 (S-shaped signal coarse detection mode M1) and the S-shaped signal detailed detection mode M2 of FIG.
  • the S-shaped signal count mode M1 is set from the L5 layer to the L6 layer
  • the S-shaped signal detailed detection mode M2 is set from the L7 layer to the L8 layer. As shown in the vicinity of the S-shaped signal of the L7 layer in FIG.
  • the near side of the L7 layer (direction in which the objective lens approaches the disk surface 100a) L7N, or the vicinity of the center of the L7 layer L7Z, or
  • the timing can be freely set (arbitrarily) at the L7 layer fair side (direction in which the objective lens moves away from the disk surface 100a) L7F, and the change of the S-shaped signal can be detected in detail.
  • the detection level of the S-shaped waveform is M1 level close to 0 level. Since the spherical aberration correction is shifted in the L5 and L6 layers (there is a relatively large spherical aberration), it is difficult to reliably obtain a sufficiently large S-shaped amplitude level. However, since an S-shaped signal is output even at a low amplitude level, the detection level is lowered so that the S-shaped signal can be reliably counted.
  • the S-shaped detection mode M1 when the S-shaped signals of the L5 layer and the L6 layer are counted and the focus position moves to a position close to the L7 layer, the S-shaped detection mode is switched to the detailed detection mode M2.
  • the S-shaped detection detailed mode M2 since spherical aberration correction is matched with the L7 layer corresponding to this S-shape, the spherical aberration in the L7 layer is minimized. For this reason, it is easy to obtain the amplitude of a large S-shaped signal.
  • the detection level of the S-shaped signal can be set to a fine level. Therefore, it is possible to finely adjust the start point and end point of the deceleration pulse P2, which is particularly important for timing.
  • one S-shaped output range is divided into three regions L7N, L7Z, and L7N, and specifically, a timing signal can be generated in each of the divided range regions.
  • An appropriate level value is set for the detection level of the S-shaped signal, and a timing signal is generated.
  • What is necessary is just to comprise so that acceleration and deceleration may be started at the timing.
  • the deceleration pulse P2 can be applied to the focus actuator at the optimum timing.
  • the start timing and output value (crest value) of the deceleration pulse P2 it is preferable to appropriately adjust the start timing and output value (crest value) of the deceleration pulse P2 depending on the weight of the lens, the thrust of the actuator, the speed of the lens, etc., but it is used in a conventional BD or DVD.
  • the start timing of the deceleration pulse is a short distance of 100 ⁇ m or less, the vicinity of the intermediate position of the moving distance is good, and when moving a long distance of 100 ⁇ m or more, the position near 50 ⁇ m before the target layer is used. It is preferable to start braking. For example, in the case of supporting the focus jump of the multilayer optical disk group (multilayer optical disk group) as shown in FIG.
  • the interlayer distance (LP) of each group 0 to 3 is unique. I understand. For this reason, it is possible to obtain information on the distance traveled and the number of layers crossed by the seek pattern. With this combination, the table or calculation formula can be used in the program to quote the brake layer and the focus position at one time. Determine the maximum number of information layers traversed by.
  • FIGS. 17 and 18 The table of the brake layer and the maximum number of moving layers and the number of moving layers per time for this determination are shown in FIGS. 17 and 18 by taking 2 layers BD, 4 layers BD, 8 layers BD and 16 layers BD as an example. Shown in
  • L2N for example, L2N, L2Z, L2F, etc.
  • the brake layer is L2N
  • the near side of the L2 layer (the direction in which the objective lens approaches the disk surface 100a)
  • the case of L2Z Indicates the vicinity of the center of the L2 layer
  • the case of L2F the L2 layer fair side (the direction in which the objective lens moves away from the disk surface 100a).
  • the brake layer is indicated as L2N (intermediate), and in this case, the deceleration pulse P2 is the S1 of the L1 layer.
  • the deceleration pulse P2 is output.
  • the brake layer is indicated as L2Z.
  • the L2 layer is set as the brake layer, and the amplitude before or behind the S-shaped signal of the L2 layer is 0 level.
  • the level drops to a nearby level (L2Z)
  • the deceleration pulse P2 is output.
  • the brake layer is indicated as L3N.
  • the L3 layer is set as the brake layer, and the S-shaped signal on the front side of the L3 layer is changed from the 0 level (L3Z).
  • a deceleration pulse P2 is output upon detection of a rise to a predetermined level in the vicinity.
  • the layers L1 to L2, L1 to L3, and L1 to L4 are the same as the 4-layer BD.
  • the brake layer is indicated as L3Z.
  • the L3 layer is set as the brake layer, and the amplitude before or behind the S-shaped signal of the L3 layer is 0 level.
  • a deceleration pulse P2 is output by detecting when the level has dropped to a nearby level (L3Z).
  • the movement pattern is indicated as L1 ⁇ L5 ⁇ L8.
  • the first jump from the L1 layer to the L5 layer and the L5 layer to the L8 layer are performed first.
  • the first brake layer is indicated as L3Z.
  • the L3 layer is determined as the brake layer, and the amplitude before or behind the S-shaped signal of the L3 layer is determined. Is detected when it falls to a level near the 0 level (L3Z), a deceleration pulse P2 is output, and when reaching the L5 layer, the focus is once pulled.
  • the second brake layer is indicated as L7Z.
  • the L7 layer is determined as the brake layer, and before the S-shaped signal of the L7 layer or When the back side amplitude drops to a level near the 0 level (L7Z), a deceleration pulse P2 is output, and when reaching the L8 layer, the focus is drawn to complete the movement.
  • FIG. 19 shows the cross section of the recording layer of each disc of the first movement (L1 layer to L5 layer) and the second movement (L5 layer to L8 layer), the S-shaped signal appearing on the FE, and the acceleration pulse P1. And a waveform showing the timing of the deceleration pulse P2 output by detecting the S-shaped signal of the brake layer.
  • an acceleration pulse P1 is applied to start moving the objective lens toward the L5 layer. Since the spherical aberration is adjusted in the L3 layer, the amplitude of the S-shaped signal is the largest in the L3 layer and decreases as the distance from the L3 layer increases. However, the amplitude of the S-shaped signal does not become 0 even in the information layer other than the L3 layer in the S-shaped count mode M1 (S-shaped signal coarse detection mode M1), so the S-shaped signal of the L1 layer and the L2 layer is detected. It is possible to do. Therefore, it can be detected that the focus position has passed the L1 layer and has reached the L2 layer.
  • the passage of the focus position through the L2 layer can be detected by providing an S-shaped signal coarse detection level M1 near the 0 level.
  • the S-shaped signal coarse detection mode M1 is switched to the S-shaped signal detailed detection mode M2.
  • This mode is a mode in which the amplitude level of the S-shaped signal is set finely.
  • the S-shaped signal detail detection mode M2 is also executed after the focus position passes through the L6 layer, as will be described later.
  • FIG. 16 is a diagram for explaining the operation of the S-shaped signal detail detection mode M2.
  • the near side of the L7 layer (direction in which the objective lens approaches the disk surface 100a) L7N, or the vicinity of the center of the L7 layer L7Z, or The change in the S-shaped signal can be detected in detail on the far side of the L7 layer (the direction in which the objective lens moves away from the disk surface 100a) L7F. Accordingly, the starting point of the deceleration pulse P2 can be finely adjusted. As a result, even if there is a surface blur or variation between layers, the deceleration pulse P2 can be applied to the focus actuator at an optimal timing.
  • the focus is turned on.
  • the brake layer and the target layer are adjacent layers and the amount of spherical aberration is close, so the amplitude of the S-shaped signal is approximately the same. Therefore, the S-shaped signal detail detection mode M2 is continued from the brake layer to the target layer.
  • spherical aberration after applying the deceleration pulse P2 layer in the L3 layer and the L7 layer in order to improve the pull-in by increasing the amplitude of the FE in the target layer L5 layer and the L8 layer reached in the first and second times as much as possible.
  • the driving may be started so as to match the target layer with the L5 layer and the L8 layer.
  • the maximum number of layers that can be jumped at one time is determined in advance. For example, if the number of layers is determined to be 5, the sequence may be switched to the target layer 3 times for 16-layer access and 4 times for 20-layer access.
  • FIG. 18 also shows a part of a 16-layer BD.
  • the set value varies depending on the distance between the layers and the number of moving layers.
  • the brake layer that generates the deceleration pulse P2 in the same manner the maximum number of moving layers It is possible to determine the number of jumps.
  • the multilayer optical disc is divided into a plurality of multilayer groups (0 to 3) according to FIGS. 17 and 18, and the movement pattern of the interlayer jump includes the total layer number information of the multilayer optical disc, the interlayer jump source, and the interlayer jump. It was shown that it was determined using the interlayer jump information including the jump destination. In addition, it is shown that this movement pattern includes a layer that performs spherical aberration correction before an interlayer jump, a brake layer that generates a deceleration signal, and the maximum number of transverse layers that can jump at one time, but at least one of the items May be included. Further, it has been shown that this movement pattern includes a pattern that moves from an interlayer jump source to an interlayer jump destination in a plurality of times. Here, it is desirable that the S-shaped signals obtained from each layer in the multilayer optical disc do not overlap each other.
  • the detection range of the S-shaped signal is 2 ⁇ m or less.
  • the interlayer distance becomes shorter. Therefore, in order to prevent reliable detection of each layer and interlayer crosstalk, it is necessary to further narrow the detection range of the S-shaped signal. Therefore, the width of the S-shaped signal (the time between the maximum value and the minimum value) detected while the focus position is moved by the focus jump is very narrow. Even in a multilayer optical disk that will be manufactured in the future, an interlayer distance of about 15 ⁇ m to 5 ⁇ m is secured, so that the interval between the S-shaped signal and the S-shaped signal becomes clearer when the detection range of the S-shaped signal is narrowed. For this reason, it becomes easy to detect the information layer based on the S-shaped signal.
  • the multilayer optical disc it is possible to detect the timing at which the focus position passes through the information layer during the focus jump with high accuracy based on the S-shaped signal. If the S-shaped signal detected during the focus jump is counted and the detection interval is measured, the moving speed of the focus position (the moving speed in the disc thickness direction) can be obtained.
  • the time interval T23 of the minimum value B2 of the S-shaped signal of the layer can be measured. If the time intervals T12 and T23 are longer than a predetermined value (a standard value calculated from the design value of the moving speed), it is determined that the moving speed of the focus position is low, and the deceleration is preferably set small. In this case, the peak value Vbr of the deceleration pulse P2 may be decreased or the deceleration pulse width Tbr may be decreased.
  • the time intervals T12 and T23 are shorter than the predetermined value, it is determined that the moving speed of the focus position is high, and it is preferable to increase the deceleration.
  • the peak value Vbr of the deceleration pulse P2 may be increased or the deceleration pulse width Tbr may be increased.
  • the time interval between the S-shaped signals of the first two layers is measured, but the present invention is not limited to such an example.
  • a multilayer optical disk such as a 10-layer disk or a 16-layer disk may jump 10 layers at a time without stopping midway.
  • This makes it easy to adjust the moving speed within a predetermined range even in a focus jump having a long moving distance that passes through many layers such as 10 layers and 16 layers.
  • the interlayer movement of the focus position can be achieved stably, and the focus can be stably pulled in with the reached target layer.
  • one focus jump starts to move by one acceleration pulse P1 and stops moving by one deceleration pulse.
  • the focus jump in the present invention is not limited to such an example.
  • at least one acceleration pulse for speed adjustment is set between the acceleration pulse P1 and the deceleration pulse P2.
  • a deceleration pulse may be applied.
  • the focus jump is performed once to the layer immediately before the target layer, and finally the focus jump of only one layer is performed.
  • the focus jump downward since the focus jump downward (from the back to the front) has a low risk of collision, it may be moved directly to the target layer.
  • the method of interlayer jump may be changed according to the interlayer jump in the direction in which the objective lens approaches the multilayer optical disc and the interlayer jump in the direction in which the objective lens moves away from the multilayer optical disc.
  • the number of information layers that the focus position traverses at the time of interlayer jump may be reduced in the interlayer jump in the direction in which the objective lens approaches the multilayer optical disc, compared to the interlayer jump in the direction away from the multilayer optical disc.
  • the spherical aberration correction is completed before the start of the focus jump so that the spherical aberration becomes zero in the brake layer.
  • the amplitude of the S-shaped signal in the brake layer is maximized and the S / N ratio is also increased, so that a high-resolution S-shaped signal can be obtained.
  • more detailed detection of the amplitude level of the S-shaped signal is possible, so that the timing of the deceleration pulse P2 can be accurately determined.
  • a drive signal (acceleration pulse, intermediate pulse, deceleration) as shown in FIG. 21 is output to the actuator 132 from the focus actuator drive circuit included in the focus control unit 140 shown in FIG. (Pulse).
  • the calculated signal is applied to the spherical aberration corrector 128 (FIG. 12).
  • the spherical aberration correction unit 128 shown in FIG. 13 moves the spherical aberration correction lens 228 by the stepping motor 8, but an actuator for correcting spherical aberration is provided between the spherical aberration correction lens 228 and the stepping motor 8. Is preferred.
  • FIG. 20 is a diagram illustrating another configuration example of the spherical aberration correction unit 128 including such an actuator 229.
  • a drive signal is output from the focus actuator drive circuit provided in the focus control unit 140 to the spherical aberration correction unit 230.
  • the spherical aberration correction unit 230 performs an operation on the output drive signal.
  • the calculated signal is applied to the stepping motor 8 and the actuator 229, respectively.
  • the actuator 229 has a narrow operating range, but has high responsiveness.
  • the position of the spherical aberration correction lens 228 is changed by the actuator 229 having a high response speed. It is preferable that fine adjustment can be performed at high speed.
  • the first S-shaped signal is an acceleration pulse
  • the second S-shaped signal is an intermediate pulse
  • the third S-shaped signal is It is configured to issue a deceleration pulse.
  • a value (signal) corresponding to the amount of movement in the focus direction can be obtained by extracting the positive pulse toward the target layer and performing integration calculation.
  • the obtained signal is subjected to band separation and applied to the stepping motor 8 and the actuator 229 which are elements for correcting spherical aberration.
  • the time interval between the S-shaped signal and the S-shaped signal described above may be measured, and the layer where the light beam reaches, that is, the position of the spherical aberration may be estimated from the moving speed of the focus position obtained thereby. .
  • FIG. 22 shows an operation in which the CPU 146 measures the time interval between the S-shape and the S-shape during the focus jump, calculates the speed from the time, and feeds back a signal corresponding to the speed to the actuator in the spherical aberration correction unit 128.
  • the moving speed of the focus position can be estimated. Therefore, the reach distance of the focus position of the light beam during the focus jump can be easily calculated. In this way, it is possible to know which information layer the focus position is approaching or on which information layer. For this reason, it is possible to sequentially adjust spherical aberration correction to the information layer close to the moving focus position.
  • the detection interval of the S-shaped signal is proportional to the moving speed of the focus position
  • the timing at which the focus position crosses the information layer and the timing at which the spherical aberration is corrected so as to match the information layer at which the focus position crosses. Can be synchronized.
  • the acceleration pulse P1 and the deceleration pulse are each output only once, but the present invention is not limited to such a case as shown in FIG.
  • the spherical aberration correction is minimized in the brake layer.
  • the brake layer becomes the target information layer. If they are adjacent to each other, the S-shaped signal from the brake layer can be detected with high accuracy.
  • an optical disc apparatus may have the following configuration. That is, an interlayer jump control unit that controls an interlayer jump at a focus position in a multilayer optical disc having a plurality of stacked information layers, and an information layer adjacent to the front side of the target information layer of the interlayer jump after starting the interlayer jump And an S-shaped signal detector for detecting the S-shaped signal. Then, the interlayer jump control unit starts the deceleration of the focus position movement in the interlayer jump in response to the detection of the S-shaped signal, and performs the maximum deceleration in the information layer adjacent to the front side of the target information layer.
  • an interlayer jump method for controlling an interlayer jump at a focus position in a multilayer optical disc having a plurality of information layers stacked it is possible to execute an interlayer jump method for controlling an interlayer jump at a focus position in a multilayer optical disc having a plurality of information layers stacked. That is, after starting the interlayer jump, a step of detecting an S-shaped signal from the information layer adjacent to the front side of the target information layer of the interlayer jump, and the movement of the focus position in the interlayer jump in response to the detection of the S-shaped signal The step of starting deceleration and performing the maximum deceleration in the information layer adjacent to the front side of the target information layer can be executed.
  • optical disc apparatus or the interlayer jump method described above it is possible to reliably stop the interlayer jump in the target information layer as compared with the case of responding to the detection of the S-shaped signal from the target information layer.
  • the optical disc apparatus according to the present invention and the interlayer jump method in the multilayer optical disc according to the present invention can realize stable and high-speed interlayer movement, and therefore can be suitably applied to a multilayer optical disc having three or more information layers. Is done.
  • the present invention is not limited to the BD as long as it is an optical disk on which a large number of information layers are laminated, and can also be applied to other optical disks (for example, CH-DVD).
  • the optical disc apparatus of the present invention can be suitably applied not only to a player having no recording function but also to a recorder and a PC drive having a data recording function.

Landscapes

  • Moving Of The Head For Recording And Reproducing By Optical Means (AREA)
  • Optical Head (AREA)
  • Optical Recording Or Reproduction (AREA)

Abstract

 本発明の層間ジャンプ方法は、多層光ディスクにおける層間ジャンプを開始した後、目的情報層の手前に位置する情報層に応じた球面収差が行われた状態で、目的情報層の手前の層からS字信号を検出するステップST7と、前記検出されたS字信号を用いて層間ジャンプにおける減速信号を発生させるステップST8とを備えている。

Description

光ディスク装置および多層光ディスクにおける層間ジャンプ方法
 本発明は、片面積層型光ディスクの記録再生装置に関する。特に16層や20層などの多重層光ディスクを0.85以上の高NAで405nmの青紫色のレーザ光源で記録、再生できる光ディスク装置および多層光ディスクにおける層間ジャンプ方法に関している。
 本明細書では、積層されたN層(2以上の整数)の情報層を備える光ディスクを「N層ディスク」と称する。また、複数の情報層を備える光ディスクを包括的に「多層光ディスク」と称する。「片面積層型光ディスク」とは、各情報層を照射する光が光ディスクの片側の表面から入射される光ディスクである。
 多層光ディスクにおいて、光が入射するディスク表面100aから各情報層までの距離を、その情報層の「深さ」と称する場合がある。多層光ディスクにおいて、深さが最も近い情報層とディスク表面100aとの間は、「光透過層」と呼ばれる透明なカバー層が存在する。情報層と情報層との間にも光を透過する層が存在するが、着目する情報層とディスク表面100aとの距離、すなわち、その情報層の深さを「光透過層の厚さ」と称する場合がある。
 本明細書では、N層ディスクにおいて、ディスク表面100aから最も奥に位置する情報層を「L1層」と称する。N層の情報層を、ディスク表面100aに近づく順序で、L1層、L2層、・・・LN層と称する。この場合、例えば4層ディスクでは、ディスク表面100aに最も近い情報層は、L4層である。
 光ディスクに記録されているデータは、比較的弱い一定の光量の光ビームを回転する光ディスクに照射し、光ディスクによって変調された反射光を検出することによって再生される。再生専用の光ディスクには、光ディスクの製造段階でピットによる情報が予めスパイラル状に記録されている。これに対して、書き換え可能な光ディスクでは、スパイラル状のランドまたはグルーブを有するトラックが形成された基材表面に、光学的にデータの記録/再生が可能な記録材料膜が蒸着等の方法によって堆積されている。書き換え可能な光ディスクにデータを記録する場合は、記録すべきデータに応じて光量を変調した光ビームを光ディスクに照射し、それによって記録材料膜の特性を局所的に変化させることによってデータの書き込みを行う。
 多層光ディスクでは、積層された複数の情報層のうちの或る情報層(「層A」と称する)からデータを読み出すとき、あるいは、層Aにデータを書き込むとき、層Aに光ビームのフォーカスが合わせられる。そして、層A以外の情報層(「層B」と称する)からデータを読み出すとき、あるいは、層Bにデータを書き込むときは、層Bに光ビームのフォーカスが合わせられる。このように光ビームのフォーカス位置を、或る情報層(現在層)から他の情報層(目的層)に移動させることを、「層間移動」または「フォーカスジャンプ」と称することとする。
 光ビームのフォーカス位置を情報層の深さ方向(光ディスクの厚さ方向)に移動させることは、光ピックアップ内のフォーカスアクチュエータによって行うことができる。光ピックアップは、光ビームを放射するレーザ光源と、その光ビームを集束させる対物レンズと、対物レンズの位置を移動させるアクチュエータとを備えている。アクチュエータは、対物レンズを光ディスクの半径方向に移動させるトラッキングアクチュエータと、対物レンズを光ディスクの厚さ方向に移動させるフォーカスアクチュエータとに分けることができる。
 フォーカスジャンプ(層間ジャンプ)を行うためには、フォーカスアクチュエータによって光ビームのフォーカス位置を目標位置に速やかに移動させることが必須である。例えば特許文献1には、DVDの2層ディスク、あるいはブルーレイディスク(BD)の2層ディスクにおけるフォーカスジャンプを行うための従来技術が開示されている。
 特許文献1に開示されているBDの2層ディスクにおけるフォーカスジャンプの一方法では、まず球面収差補正機構の移動を開始し、所定時間経過後にフォーカスアクチュエータによる対物レンズの移動を開始する。その所定時間は、球面収差補正機構を第1の記録層に対応する位置から第2の記録層に対応する位置まで移動させるのに要する時間の略1/2に相当する。これに球面収差補正機構が第2の記録層に対応する位置に近づこうとしているときにフォーカスアクチュエータによる対物レンズの移動を開始するので、フォーカス位置が第2の記録層に移動した頃には球面収差補正機構も第2の記録層に対応する位置に近づいており、第2の記録層上でフォーカスサーボを正しく行うことができる。またフォーカスジャンプの他の方法では、球面収差補正機構が第1の記録層に対応する位置と第2の記録層に対応する位置との略中間位置まで移動したときに、フォーカス位置の移動を開始するので、フォーカス位置が第2の記録層へ移動した後、正しくフォーカスサーボを実行することができる。
 特許文献1の技術では、3層以上の多層光ディスクにおいて、一度に2層以上の記録層にわたってフォーカス位置を移動させるフォーカスジャンプを行う場合に、現在の記録層から隣接記録層へと球面収差補正機構とフォーカスアクチュエータを移動するとともに隣接記録層上でフォーカス位置を一旦合焦状態とする。そして次の隣接記録層へのフォーカスジャンプを実行し、隣接記録層への一層毎のフォーカスジャンプを所定の回数繰り返すことにより、2層以上の記録層の移動においてもフォーカスサーボが不安定になることなく多層にわたる層間移動を実現していた。
特開2003-22545号公報
 従来の層間ジャンプ技術は、2層ディスクを想定して開発されたものである。このような従来の層間ジャンプ方法によれば、フォーカスジャンプを実行する前に球面収差を目的層のカバー厚(目的層の深さ)に合わせることが行われる。他の従来技術では、球面収差補正を目的層と現在層の中間値に合わせておき、フォーカスを外して目的層に向けて移動を開始する。
 フォーカスジャンプ時に目的層で球面収差を最小化するように球面収差補正を行った場合の2層ディスク、4層ディスクにおける光ビームとFE信号、駆動信号の波形の様子を図1、図2に示す。
 図1(a)には、2層BDの断面構成が示されている。図1(a)の右側では、L1層にフォーカスが合っている状態が模式的に示され、左側ではL2層にフォーカスが合っている状態が模式的に示されている。対物レンズを光ディスクの厚さ方向に移動させることにより、フォーカス位置を移動させている。図1(b)にはL1層からL2層へ移動したときのS字信号の波形とフォーカス駆動信号上の加速パルスP1、減速パルスP2が示されている。図1(c)には、L2層からL1層に移動したときのS字波形とフォーカス駆動信号上の加速パルスP1、減速パルスP2)が示されている。
 ここで、「S字信号」とは、フォーカス位置が情報層に接近し、やがて情報層を通過して遠ざかる過程でFE信号に現れる波形部分である。S字信号は、光ビームのフォーカス位置が情報層の近傍に位置するとき、ゼロではない大きさの振幅を有する。1つのS字信号は、通常、FE信号に現れる極性の異なる2つの山部分から構成される。2つの山部分の間には、ゼロクロスポイントが存在する。S字信号のゼロクロスポイントは、フォーカス位置が情報層上にあること(合焦していること)を意味する。FE信号を観察しながら、フォーカス位置を移動させるとき、フォーカス位置が情報層に十分に近づくと、FE信号のレベルがゼロの状態から正または負のレベルに変位する。S字信号の山部分の幅を「検出範囲」と称する場合がある。
 なお、本明細書において、加速パルスP1および減速パルスP2の極性は、対物レンズが光ディスクに近づく方向に力が付与されるときに、「正」となり、図で上向きに記載される。一方、対物レンズが光ディスクから遠ざかる方向に力が付与されるときに、加速パルスP1および減速パルスP2の極性は、「負」となり、図で下向きに記載される。図で上向きのパルスは、対物レンズが光ディスクに近づく場合に印加されると「加速」に寄与するが、対物レンズが光ディスクから遠ざかる場合に印加されると「減速」に寄与することになる。
 従来は、2層ディスク、4層ディスクにかかわらず、目的層に接近したときに現れる目的層のS字片側の出力を検出して減速パルスP2を出力している。他の従来技術では、図1(b)に示すL2層のS字信号の極性が負の部分(右側振幅)や、図1(c)に示すL1層のS字信号の極性が正の部分(左側振幅)を検出して減速パルスP2を出力している。
 2層ディスクの場合は、層間ピッチが十分に大きいため、目的層に接近したときに現れる目的層のS字信号の片側の振幅(極性が正又は負の変化)を検出した時点で減速パルスP2を出力することにより、目的層の十分手前でフォーカス位置の移動にブレーキがかかる。しかし、多層ディスクである4層ディスクの場合には、図2(a)に示すように層間ピッチが小さくなっている。このため、フォーカス位置が目的層に接近したときに現れる目的層のS字片側の出力を検出した時点で減速パルスP2を出力しても、ブレーキのタイミングがおそく、目的層でのフォーカス制御を引き込み失敗することがあった。
 図3、図4は、球面収差補正を目的層と現在層の中間値に合わせた例を示す。図3(a)には、2層BDの断面構成が示されている。図3(b)にはL1層からL2層へ移動したときのS字波形とフォーカス駆動信号上の加速パルスP1、減速パルスP2が示されている。図3(c)には、L2層からL1層に移動したときのS字波形とフォーカス駆動信号上の加速パルスP1、減速パルスP2が示されている。同様に、図4(a)には、4層BDの断面構成が示されている。図4(b)にはL1層からL4層へ移動したときのS字波形とフォーカス駆動信号上の加速パルスP1、減速パルスP2が示されている。図4(c)には、L4層からL1層に移動したときのS字波形とフォーカス駆動信号上の加速パルスP1、減速パルスP2が示されている。
 図3、図4に示すように、特許文献1に開示されているような従来技術を用いても、S字信号の振幅が各層でほぼ等しくなるだけである。しかも、フォーカス位置が目的層に近づけば近づくほど、S字信号振幅は、球面収差が合っている場合の大きさよりも小さくなっている。そのため、フォーカス制御の引き込みに失敗する確率が上昇してしまう。
 本発明は上記課題に鑑み、2層ディスクよりも層数の多い多層光ディスクにおいても、安定かつ高速な層間移動を実現する光ディスク装置、および多層光ディスクにおける層間ジャンプ方法を提供することを目的とする。
 本発明の光ディスク装置は、積層された複数の情報層を有する多層光ディスクにおけるフォーカス位置の層間ジャンプを制御する層間ジャンプ制御部と、前記光ディスクにおける前記複数の情報層の各々に応じた球面収差補正を行うことができる球面収差補正部と、前記フォーカス位置の層間ジャンプを開始した後、前記複数の情報層に含まれる情報層からのS字信号を検出するS字信号検出部とを備え、前記球面収差補正部は、前記フォーカス位置の層間ジャンプの開始前または開始後に、前記層間ジャンプにおけるフォーカス位置移動の減速を開始する情報層に応じた球面収差補正を行い、前記層間ジャンプ制御部は、前記球面収差補正が行われた情報層からのS字信号の検出に応答して前記層間ジャンプにおけるフォーカス位置移動の減速を開始する。
 好ましい実施形態において、前記層間ジャンプにおけるフォーカス位置移動の減速を開始する前記情報層は、前記層間ジャンプの開始時に前記フォーカス位置が存在した情報層と前記層間ジャンプの目的情報層との間に位置する情報層である。
 好ましい実施形態において、前記層間ジャンプにおけるフォーカス位置移動の減速を開始する前記情報層は、前記層間ジャンプの目的情報層に隣接する情報層である。
 好ましい実施形態において、前記球面収差補正部は、前記層間ジャンプの開始前、前記層間ジャンプの目的情報層の手前に位置する情報層に応じた球面収差補正を完了する。
 好ましい実施形態において、前記球面収差補正部は、前記層間ジャンプの開始後、前記フォーカス位置の移動に応じて前記球面収差の補正量を切り替える。
 好ましい実施形態において、前記球面収差補正部は、前記複数の情報層のうち、前記層間ジャンプ中に移動しているフォーカス位置に最も近い情報層で球面収差補正を最小化する。
 好ましい実施形態において、前記層間ジャンプ制御部は、前記層間ジャンプの開始後、前記フォーカス位置が前記複数の情報層の各々を横切る時に得られるS字信号の検出間隔に基づいてフォーカス位置移動の加速および減速を調整する。
 本発明の多層光ディスクにおける層間ジャンプ方法は、積層された複数の情報層を有する多層光ディスクにおけるフォーカス位置の層間ジャンプを制御する層間ジャンプ方法であって、フォーカス位置の層間ジャンプの開始前または開始後に、前記層間ジャンプにおけるフォーカス位置移動の減速を開始する情報層に応じた球面収差補正を行うステップと、前記層間ジャンプを開始した後、前記球面収差補正が行われた情報層からS字信号を検出するステップと、前記球面収差が行われた情報層からの前記S字信号の検出に応答して前記層間ジャンプにおけるフォーカス位置移動の減速を開始するステップとを含む。
 好ましい実施形態において、前記層間ジャンプにおけるフォーカス位置移動の減速を開始する情報層は、前記層間ジャンプの目的情報層に隣接する情報層およびその近傍に位置する情報層を含む複数の情報層から選択された特定層である。
 好ましい実施形態において、前記層間ジャンプにおけるフォーカス位置移動の減速を開始する情報層は、前記層間ジャンプの目的情報層に隣接する情報層である。
 好ましい実施形態において、前記減速を行った後、前記層間ジャンプの目的情報層に適した球面収差補正を行うステップを有する。
 好ましい実施形態において、前記多層光ディスクのトータル層数情報と、層間ジャンプ元と層間ジャンプ先を含む層間ジャンプ情報を用いて、層間ジャンプのパターンを決定するステップを有する。
 好ましい実施形態において、前記層間ジャンプのパターンには、層間ジャンプ前に球面収差補正を行う層、減速信号を発生させる層、および、一度にジャンプできる最大層数の少なくとも1つを含む。
 好ましい実施形態において、前記層間ジャンプのパターンには、複数回に分けて層間ジャンプ元から層間ジャンプ先に移動するパターンを含む。
 好ましい実施形態において、前記多層光ディスクにおける各情報層から得られるS字信号は、それぞれ重複していない。
 好ましい実施形態において、対物レンズが前記多層光ディスクに近づく方向の層間ジャンプと、前記多層光ディスクから遠ざかる方向の層間ジャンプとに応じて、前記層間ジャンプの仕方を変える。
 好ましい実施形態において、前記対物レンズが前記多層光ディスクに近づく方向の層間ジャンプは、前記多層光ディスクから遠ざかる方向の層間ジャンプに比べて、前記層間ジャンプ時にフォーカス位置が横切る情報層の数が小さい。
 本発明の他の光ディスク装置は、積層された複数の情報層を有する多層光ディスクにおけるフォーカス位置の層間ジャンプを制御する層間ジャンプ制御部と、前記層間ジャンプを開始した後、前記層間ジャンプの目的情報層の手前側に隣接する情報層からのS字信号を検出するS字信号検出部とを備え、前記層間ジャンプ制御部は、前記S字信号の検出に応答して前記層間ジャンプにおけるフォーカス位置移動の減速を開始し、前記目的情報層の手前側に隣接する情報層で最大の減速を行う。
 本発明の他の多層光ディスクにおける層間ジャンプ方法は、積層された複数の情報層を有する多層光ディスクにおけるフォーカス位置の層間ジャンプを制御する層間ジャンプ方法であって、前記層間ジャンプを開始した後、前記層間ジャンプの目的情報層の手前側に隣接する情報層からのS字信号を検出するステップと、前記S字信号の検出に応答して前記層間ジャンプにおけるフォーカス位置移動の減速を開始し、前記目的情報層の手前側に隣接する情報層で最大の減速を行うステップと、を含む。
 本発明の光ディスク装置および層間ジャンプ方法は、多層光ディスクにおける層間ジャンプを開始した後、球面収差が行われた情報層において減速制御を行うので、装填された多層光ディスクの層間距離や層数に依存せず、最適なタイミングでフォーカス位置を減速できる。このため、情報層の数が多い多層光ディスクにおいても安定な層間ジャンプを実現できる。
 また本発明の光ディスク装置および層間ジャンプ方法は、所望の情報層に一気に移動するため、隣接層に一旦フォーカス制御をかけて安定した後、次の隣接層へ移動する動作を繰り返すような従来の方法より移動時間を大幅に短縮することができる。これにより、長時間記録だけでなく、3D記録やランダムアクセス性を確保できるため、ハードディスクの代用など多層の大容量のメリットを生かしたアプリケーションや装置の提供が可能となる。
 また、本発明の他の態様によれば、層間ジャンプの目的情報層の手前側に隣接する情報層からのS字信号の検出に応答して最大の減速を行う。これにより、目的情報層からのS字信号の検出に応答する場合に比べて、確実に目的情報層で層間ジャンプを停止することが可能になる。この発明の態様では、球面収差は目的情報層の手前側に隣接する情報層で最小化している必要はない。
(a)は、2層BDの断面構成図、(b)は、2層BDのL2層(深さ75μm)で球面収差を最小化するように球面収差補正を行った場合おける、L1層およびL2層の各々から得られるフォーカスエラー(FE)信号の波形図、(c)は、2層BDのL1層(深さ100μm)で球面収差を最小化するように球面収差補正を行った場合における、L1層およびL2層の各々から得られるフォーカスエラー(FE)信号の波形図 (a)は、4層BDの断面構成図、(b)は、4層BDのL4層(深さ75μm)で球面収差を最小化するように球面収差補正を行った場合おける、L1~L4層の各々から得られるフォーカスエラー(FE)信号の波形図、(c)は、4層BDのL1層(深さ100μm)で球面収差を最小化するように球面収差補正を行った場合における、L1~L4層の各々から得られるフォーカスエラー(FE)信号の波形図 (a)は、2層BDの断面構成図、(b)は、L1層からL2層へ移動したときのS字波形とフォーカス駆動信号上の加速、減速パルスの波形図、(c)は、L2層からL1層に移動したときのS字波形とフォーカス駆動信号上の加速、減速パルスの波形図 (a)は、4層BDの断面構成図、(b)は、L1層からL4層へ移動したときのS字波形とフォーカス駆動信号上の加速、減速パルスの波形図、(c)は、L4層からL1層に移動したときのS字波形とフォーカス駆動信号上の加速、減速パルスの波形図 (a)は、2層BDの断面構成図、(b)は、2層BDのL2層(深さ75μm)で球面収差を最小化するように球面収差補正を行った場合における、L1層、L2層の各々から得られるFE信号の波形図 (a)は、2層BDの断面構成図、(b)は、2層BDのL1層(深さ5100μm)で球面収差を最小化するように球面収差補正を行った場合における、L1層、L2層の各々から得られるFE信号の波形図 本発明の実施形態に係る光ディスク装置のブロック図 単層、2層~16層までの多層BDディスク群の第1構成の表を示した図 単層、2層~16層までの多層BDディスク群の第2構成の表を示した図 単層、2層~16層までの多層BDディスク群の第3構成の表を示した図 単層、2層~16層までの多層BDディスク群の第4構成の表を示した図 図7の光ピックアップ、サーボ制御回路とその周辺部分の詳細なブロック図 (a)および(b)は、図7の球面収差補正部128の内部構成の一例を示す図 最近層(L4層)から最遠層(L1層)までフォーカスジャンプ動作をしたときの対物レンズと、フォーカス位置が多層BDディスクの各層を通過したときのS字信号を表した模式図 フォーカスジャンプ動作のフローチャート ブレーキ層であるL7層部分を中心に拡大したS字信号と減速パルスP2の波形図 2層BD、4層BD、8層BDの各移動パターンに於けるブレーキ層と最大横断層数及びジャンプ回数をテーブル形式で示した図 16層BDの各移動パターンに於けるブレーキ層と最大横断層数及びジャンプ回数をテーブル形式で示した図 1回目の移動(L1層からL5層)と、2回目の移動(L5層からL8層)におけるFE上に現れるS字信号と、加速パルスP1並びに減速パルスP2のタイミングを示す波形図 (a)および(b)は、図7の球面収差補正部128の内部構成の他の例を示す図 最近層(L4層)から最遠層(L1層)までフォーカスジャンプ動作をしたときにフォーカス位置が多層BDディスクの各層を通過したときのS字信号、駆動信号(加速パルス、中間パルス、減速パルス)を示す図 フォーカスジャンプ中にS字とS字の時間間隔を測定し、その時間から速度を求めて、その速度に応じた信号をアクチュエータへフィードバックする動作を示す波形図
 従来はDVD2層の層間ピッチ40μmや、BD2層の層間ピッチ25μmに対してフォーカスエラーFE信号上に現れるS字状の波形を有するS字信号の検出ができればよかった。このため2層ディスクでは、図1に示すようにS字信号の片側の幅(検出範囲)が10μmでも、フォーカスジャンプが可能なS字信号となる。
 3層以上の情報層を備える多層BDでは、2層BDよりも層間ピッチを詰めて積層する必要があるため、各層の独立したS字信号を検出し、また層間クロストークを低減するためにこのS字信号の検出範囲を狭くする必要がある。S字信号の検出範囲を狭くしないと、隣接する情報層によるS字信号が重なりあい、層間クロストークが発生するため、S字信号によって個々の情報層を識別することが困難になる。例えば層間5μmまで層間ピッチを詰めた4層BDでは、図2に示すように、それぞれの層でのS字信号が検出できるようにS字信号の片側の幅(検出範囲)は例えば2μmまで狭くする必要がある。よって図示するように、層間ジャンプ時には、目的層の間際でなければ、その各々の層でのS字信号が発生しない。
 次に、図5および図6を参照しながら、多層対応のピックアップで、2層のジャンプを行う方法を説明する。この例では、L1層からL2層に層間ジャンプを行う。
 図5(a)および図6(a)は、いずれも、2層BDの断面構成と、L1層、L2層のそれぞれにフォーカスが合っている状態を模式的に示している。
 図5(b)は、2層BDのL2層(深さ75μm)で球面収差を最小化するように球面収差補正を行った場合における、L1層、L2層の各々から得られるFE信号の波形を示している。これに対して、図6(b)は、2層BDのL1層(深さ100μm)で球面収差を最小化するように球面収差補正を行った場合における、L1層、L2層の各々から得られるFE信号の波形を示している。
 上記のような多層対応の光ディスク装置において、従来の2層ディスクでのS字信号を観察すると、図示するように、不感帯の範囲が大きくなり、フォーカスジャンプ時には現在層の近傍あるいは目的層の近傍でしかS字信号が発生しない。
 したがって、図5(b)に示すように目的層(L2層)のS字信号の振幅が最も大きくなる極値付近を検出して、減速パルスP2を出力していたのではブレーキのタイミングがおそくて十分減速できず、引き込みを失敗する。逆に、図6(b)に示すように現在層(L1層)のS字信号の振幅が最も大きくなる極値付近を検出して減速パルスP2を出力していたのでは、ブレーキのタイミングが早すぎる。そのため、面振れなどの影響を受け、元の層に戻ってしまう。
 このような場合は、目的層(L2層)のS字信号でタイミングを生成するのであれば、より早いタイミングを検出するために、目的層(L2層)に球面収差を合わせて、S字信号の出力を安定させ、不感帯の0レベルからからS字信号の出力を検出した直後に減速パルスP2を出してブレーキをかけるように構成する。
 また現在の層(L1層)のS字信号でタイミングを生成するのであれば、ブレーキのタイミングを正確に遅延させるために、球面収差は現在の層に合わせたままにしておき、S字信号の波形の勾配を検出しながら、その勾配値が0になってから、所定の遅延時間経過後に減速パルスを出してブレーキをかけるように構成すればよい。
 しかしながら、情報層が3層以上になると、このような方法では、正確な層間ジャンプは実現困難になる。
 本発明では、ブレーキをかけるタイミングを生成するための情報層(ブレーキ層)に球面収差補正を合わせて、その情報層で球面収差補正を最小化する。これにより、その情報層から得られるS字信号を大きくかつ安定化させる。そして、その情報層から得られるS字信号基づいて減速パルスを出力する。
 本発明の他の態様によれば、層間ジャンプの目的情報層の手前側に隣接する情報層からのS字信号の検出に応答して最大の減速を行う。これにより、目的情報層からのS字信号の検出に応答する場合に比べて、確実に目的情報層で層間ジャンプを停止することが可能になる。
 (実施形態1)
 以下、本発明による光ディスク装置および層間ジャンプ方法の実施形態を説明する。
 図7は、本実施形態に係る光ディスク装置のブロック図である。図8~図11は、実施形態1でサポートする単層、2層~16層までの多層BDディスク群の構成例を示す表である。
 まず、本実施形態の光ディスク装置に装填され得る多層光ディスクの構成例について説明する。
 多層光ディスクの構成としては、種々の組み合わせが考えられる。すでに商品化されている単層、2層のBDとの互換性を考慮すると、ディスク表面100aから最も離れた位置に存在する基準層(L1層)の深さは100μmで統一しておくことが好ましい。
 各層が極端に接近すると、層間のクロストークが発生するために、層間距離は3μm以上が好ましい。本明細書では、層間距離を層間ピッチ(LP:Layer Pitch)と称する場合がある。
 光ディスクの表面に形成され得る傷や塵の影響を考えると、光透過層の厚さ(ディスク表面100aに最も近い層とディスク表面100aとの距離)を薄くすることもできない。BDの記録再生に使用する光学系は、高いNA(0.85)を有している。NAが高くなると、対物レンズの焦点距離が短くなる。これらのことを考えると、光透過層の厚さは25μm以上を確保することが好ましい。
 以上のことから、2層、4層、6層、8層、10層、12層、14層、16層の光ディスクには、図8~図11に示す4つパターン(構成例)が考えられる。
 図8、図9のパターン1、2は、層間の距離をできるだけ確保した例である。パターン1の例では、層間が等間隔あり、16層の光ディスクでは層間が5μm、光透過層の厚さは25μmになる。パターン2の例では、クロストークをキャンセルするため層間距離を交互に変えている。16層の光ディスクでは、奇数番目の層と偶数番目の層との間の距離が5μmになる。また、偶数番目の層と奇数番目の層との間の距離が4μmで、光透過層の厚さは32μmになる。
 図10、図11のパターン3、4は、表面と表面から最も近い層までの距離(光透過層の厚さ)を優先して確保した例である。パターン3の例では、層間が等間隔あり、16層の光ディスクでは、層間が3.125μm、光透過層の厚さは53.125μmになる。パターン4では、クロストークをキャンセルするために層間距離を交互に変えている。16層の光ディスクでは、奇数番目の層と偶数番目の層との間の距離が3.125μmになる。また、偶数番目の層と奇数番目の層との間の距離が3μmであり、光透過層の厚さは54μmになる。
 実際の多層光ディスクでは、製造ばらつきにより、層間距離や光透過層厚さは、上述の数値例から多少増減する。しかし、典型的な多層光ディスクの構成例は、大凡、上記の4つのパターンに集約される。本実施形態におけるフォーカスジャンプは、上述の全てのパターンに共通に適用することができる。このため、以下、パターン1について説明し、パターン2,3,4については必要な部分のみを補足的に説明する。
 図7を参照しながら、本実施形態における多層光ディスク装置の構成および基本動作について説明する。
 本光ディスク装置は、ピックアップ103と、光ピックアップ103の動作を制御するサーボ制御回路106と、光ピックアップ103で検出した光ディスク100上の情報信号を再生する再生回路110と、記録する情報を光ディスク100に書き込む記録回路123とを備えている。光ピックアップ103は、光ビームを光ディスク100上に集束させる光学系、光ディスク100からの反射光を検出する光検出器、および光源としてレーザダイオードを有している。記録回路123は、レーザ駆動回路107により、記録する情報に基づく所定の変調方式でレーザダイオードをパルス状に発光させることにより、前記情報を光ディスク100に書き込む。
 光ピックアップ103は、光ディスクモータ101上に装填された光ディスク100に対し、集束されたレーザ光を照射する。RFサーボアンプ104は、光ディスク100から反射された光に基づいて電気信号を生成する。サーボ制御回路106は、モータ駆動回路102及び光ピックアップ103を制御することにより、光ディスクモータ101に装填された光ディスク100にフォーカスおよびトラッキング制御を実施する。また、サーボ制御回路106は、光ディスク100に対して光源およびレンズを用いて光ビームを照射することによって光ディスク100がBDディスクであるかのディスク判別、単層もしくは2層か、あるいは2層より多い情報記録層をもつ多層判別を行うディスク判別部109を含む。
 再生回路110は、RFサーボアンプ104から出力された電気信号を波形等価回路などでイコライジングしてアナログ再生信号を生成する。生成された再生信号はデジタル化された後、PLLによってリードクロック(基準クロック)と同期し、データ抽出がなされる。その後、所定の復調、エラー訂正をなされた後、システムコントローラ111に入力される。システムコントローラ111は、I/F回路112を介してホスト113へと転送される。
 記録回路123は、ヘッダやエラー訂正のための冗長ビットなどが付加されて、所定の変調パターン(変調方式)に変調した後、レーザ駆動回路107によって、ホスト140からI/F回路131を介して送られてくる情報を光ディスク100に記録するため、光ピックアップ103の中のレーザダイオードをパルス状に発光させる。光ディスク100に入射するレーザ光の強度変調に応じて、光ディスク100の記録材料(たとえば有機材料や相変化材料)の反射率を変えることで、「1」または「0」の情報の記録を行う。
 図12は、本実施形態の多層光ディスクのフォーカスジャンプに関係する図7の光ピックアップ、サーボ制御回路とその周辺部分をより詳細に記載したブロック図である。図12を用いてさらに説明する。
 まず光ピックアップの構成を説明する。図示されている光ピックアップ103は、光源122と、カップリングレンズ124と、偏光ビームスプリッタ126と、球面収差補正装置128、対物レンズ130と、アクチュエータ131、132と、集光レンズ134と、光検出部136とを有している。
 光源122は、光ビームを放射する半導体レーザダイオードから構成される。簡単のため、図12には単一の光源122が示されているが、実際の光源は、異なる波長の光ビームを放射する例えば3つの半導体レーザから構成される。具体的には、1つの光ピックアップがCD、DVD、およびBD用に異なる波長の光ビームを放射する複数の半導体レーザを備えるが、図12では、簡単のため、1つの光源122として記載している。
 カップリングレンズ124は、光源122から放射された光ビームを平行光にする。偏光ビームスプリッタ126は、カップリングレンズ124からの平行光を反射する。光ディスクの種類に応じて光源122における半導体レーザの位置や、放射される光ビームの波長が異なるため、光ディスク100の種類に応じて最適な光学系の構成は異なる。このため、実際の光ピックアップ103の構成は、図示されているものに比べて複雑である。
 対物レンズ130は、偏光ビームスプリッタ126で反射された光ビームを集束する。対物レンズ130の位置は、アクチュエータ132がFE信号およびTE信号に基づいて所定の位置に制御する。光ディスク100の情報記録層からデータを読み出し、あるいは情報記録層にデータを書き込むとき、対物レンズ130によって集束された光ビームの焦点は、情報記録層上に位置し、情報記録層上に光ビームのスポットが形成される。図12には、1つの対物レンズ130が記載されているが、現実には複数の対物レンズ130が備えられており、光ディスク100の種類に応じて異なる対物レンズ130が用いられることになる。データの記録/再生時は、光ビームの焦点が情報記録層における所望のトラックを追従するようにフォーカスサーボおよびトラッキングサーボが動作し、対物レンズ130の位置が高精度に制御される。
 本実施形態では、光ディスク100が特に青紫色のレーザダイオード122と高NAの対物レンズ130で記録再生を行う光ディスクである。説明をわかりやすくするため、光ピックアップ103は、図12に示すような簡易な構成を有している。現実の光ピックアップ103は、CDおよび/またはDVDのための光源および対物レンズを備えていても良い。
 光ディスク100が装填された後、光ディスク100が有する複数の情報層に含まれる任意の層に対して、データの記録/再生の動作を行なうために、フォーカスジャンプを行う。具体的には、対物レンズ130をアクチュエータ132の働きにより光軸方向に沿って層間を移動させる。
 球面収差補正素子128は、例えば光軸方向に位置を変化させることのできる収差補正用レンズ228(図13)を備え、収差補正用レンズ228の位置を調節することにより、球面収差の状態(補正量)を変化させることができる(ビームエキスパンダ方式)構成を備えている。球面収差補正部128の構成は、このようなビームエキスパンダ方式の構成を備えている必要は無く、液晶素子やヒンジなどによって収差を補正する構成を備えていても良い。
 光ディスク100の情報記録層で反射された光ビームは、対物レンズ130、球面収差補正部128、および偏光ビームスプリッタ126を通過し、集光レンズ134に入射する。集光レンズ134は、対物レンズ130および偏光ビームスプリッタ126を通過してきた、光ディスク100からの反射光を光検出部136上に集束させる。光検出部136は、集光レンズ134を通過した光を受け、その光信号を各種の電気信号(電流信号)に変換する。光検出部136は、例えば4分割の受光領域を有している。
 図12のサーボ制御回路106は、フォーカス制御部140、トラッキング制御部141、球面収差制御部142を備えており、これらを介してCPU146が光ピックアップ130の各種動作を制御する。サーボ制御回路106は、更に、FE信号生成部150、TE信号生成部151、S字信号検出部160、およびディスク判別部109を備えている。
 フォーカス制御部140は、CPU146の指示に従ってフォーカシングアクチュエータ132を駆動し、対物レンズ130を光軸方向に沿って任意の位置に移動させることができる。
 またトラッキング制御部141は、トラッキングアクチュエータ131を駆動し、対物レンズ130を光ディスク100の半径方向に沿って任意の位置に移動させることができ、TE信号生成部151から出力されたTE信号によって、光ディスク100上の光スポットがトラックを走査するようにトラッキング制御を行う。
 球面収差制御部142は、CPU146の指示に従って球面収差補正部128を所定の設定状態に制御する。図13は球面収差補正部128の内部構成図である。具体的には、図13に示すステッピングモータ8が球面収差制御部142からの制御信号に基づいて動作し、例えば2層ディスクの場合には、収差補正レンズ228を1層目、2層目のカバー層厚に対応した所定の位置に移動させる。収差補正レンズ228の位置(光軸方向の位置)を変えることにより、光ビームの球面収差状態を調節することができる。これは4層~16層、20層まで全て同じような動作、機能を有するものである。
 FE信号生成部150は、光検出部136に含まれる複数の受光領域から出力される電気信号に基づいてFE信号を生成する。FE信号の生成法は、特に限定されず、非点収差法を用いたものでもよいし、ナイフエッジ法を用いたものであってもよい。また、SSD(スポット・サイズド・ディテクション)法を用いたものであってもよい。FE信号生成部150から出力されるFE信号は、CPU146からの指令で所定の検出閾値が設定されるS字信号検出部160に入力される。
 TE信号生成部151は、光検出部136に含まれる複数の受光領域から出力される電気信号に基づいてTE信号を生成する。TE信号の生成法は、一般的にはBD-RやBD-REに代表される記録メディアのように凸凹のトラックを有するものはプッシュプル検出法、BD-ROMに代表される再生専用メディアのようにエンボス形状の情報プリピットを有するものは位相差検出法が主に用いられるが、特にトラッキングの方式で限定はされない。
 S字信号検出部160は、フォーカスサーチによって対物レンズ130が光軸方向に移動している間におけるFE信号が所定の閾値を越えたかどうかでS字信号の検出を行う。本実施形態では、サポートする多層光ディスクのうち、減速パルスP2を出力する層、すなわち層間ジャンプの目的情報層と層間ジャンプを開始する情報層との間に位置するブレーキ層の深さに対応した球面収差値を設定する。ここでは、目的情報層の手前側に隣接する情報層をブレーキ層として選択する。
 以下、本明細書では、層間ジャンプを開始する情報層(ジャンプ開始層)と目的情報層との間において、目的情報層に隣接する情報層を、目的情報層の「手前」の情報層と称することにする。ブレーキ層は、典型的には、目的情報層の手前に位置する情報層であるが、本発明は、この例に限定されない。層間移動中にフォーカス位置の速度や対物レンズの重さなどを考慮し、目的情報層よりも1層を超えて離れた情報層をブレーキ層として選択することも可能である。
 ブレーキ層に応じた球面収差補正を行った後、トラッキング制御、フォーカス制御をOFFして、アクチュエータ132に加速パルスP1を印加する。こうして、目的の層に向けて対物レンズを駆動した後、前記ブレーキ層を検出したときに減速パルスP2を出力する。減速パルスP2が目的層の手前に位置する層(ブレーキ層)でアクチュエータ132に印加されるため、フォーカス位置の移動速度を低下させることができる。さらに本実施形態では、フォーカスジャンプ中に検出されるS字信号をカウントして目的層に到達したときにフォーカス制御をONする。このため、フォーカス位置を正確に目的層に移動させることができる。
 図14は、4層ディスクを例にとり、最近層(L4層)から最遠層(L1層)までフォーカスジャンプ動作をしたときの対物レンズと、フォーカス位置が多層BDディスクの各層を通過したときのS字信号を表した模式図である。また図15はその時のフォーカスジャンプ動作のフローチャートを示す。
 なお、対物レンズを光ディスクの厚さ方向に移動させるとき、対物レンズの移動に伴って移動するフォーカス位置は、「光スポット位置」と称される場合がある。対物レンズによって収束される光ビームの断面は、フォーカス位置で最も小さな光スポットを形成するからである。或る情報層にフォーカスがあっているとき、フォーカス位置は情報層上にあり、その情報層上に光スポットが形成される。フォーカスジャンプまたは層間ジャンプとは、フォーカス位置を、ある情報層から他の情報層に移動させることであり、対物レンズを光ディスクの厚さ方向に移動させることによって実現される。
 図14、図15を参照して本実施形態のフォーカスジャンプ動作を説明する。
 図15に示すステップST1では、最初にフォーカス位置が最近層(L4層)にフォーカスして待機状態である場合に、ホスト113からのシークコマンドを受ける。そして、その目的アドレスが最遠層(L1層)のトラックアドレスの場合に、L4層からL1層への移動という条件からブレーキを出す層(ブレーキ層)を層間ジャンプ先の層(L1層)の手前のL2層とする。すなわち、減速パルスP2を出すタイミングをL2層の手前から検出されるS字信号に決定する。その後、ステップST2では、球面収差制御部142に指令し、補正値をL2層のカバー層厚さ(L2層の深さ)に合致するように図13の収差補正レンズ228を駆動する。
 この例では、ブレーキ層となるL2層で球面収差が最も小さくなるように球面収差補正が行われている。このため、フォーカス位置がL2層上またはその近傍にあるとき、L2層から得られる各種の信号(RF信号、FE信号、TE信号)の振幅が最大化される。その結果として、S字信号の振幅も最大化され、またシャープになる。
 図14には、L1~L4層から得られるFE信号(S字信号)が模式的に示されている。この例では、L2層で球面収差が最も小さくなるように(理想的にはゼロになるように)球面収差が行われた状態でフォーカス位置を移動させているため、L2層で得られるS字信号の振幅が最も大きくなっている。逆に、L2層以外のL1、L3、L4層では、球面収差が最小化されていないため、それらの層から得られるS字信号の振幅は小さくなる。また、そのようなS字信号の波形は、球面収差によって横方向に広がり(鈍り)、検出幅が大きくなる。球面収差が補正されていない層から得られる鈍ったS字波形によれば、情報層の位置を精度良く検出することは困難になる。
 球面収差補正レンズの駆動完了後、ステップST3では、まずS字の検出レベルを下げる(0に近づける)。これにより、球面収差補正の合致していない情報層からのS字信号でも確実に検出し、その情報層の数をカウントできるS字カウントモードM1(S字信号粗検出モードM1とも称す)に設定する。その後、トラッキングをオフして、フォーカスアクチュエータ132に加速パルスP1を印加する(ステップST4)。加速パルスP1が印加されたフォーカスアクチュエータ132は、対物レンズ130を光軸方向に加速駆動する。こうして、フォーカス位置は層間ジャンプ先に向けて情報層を横切る方向に移動する。
 ステップST5では、L3層、L2層を通過する毎にS字信号が出力されるので、そのカウントにより、移動している間の現在のフォーカス位置の位置が把握できる。ステップST6では、S字信号のカウント値に基づいて、ブレーキ層(L2層)の1層手前の層であるL3層を通過した時点で、減速パルスP2を出力するため、L2層でのS字信号の検出をS字信号詳細検出モードM2で行う。
 ステップST7では、S字信号レベルの判定を行う。ブレーキの出力タイミングであるL2層の手前がS字信号の片側によって検出できたとき、ステップST8では、それまでの所要時間に応じた減速パルスP2の波高値を決定して出力する。ブレーキの出力を終了するタイミングは、さらにS字信号をカウントして、層間ジャンプ先の層に到達したときである。ステップST9では、層間ジャンプ先の層に到達したと判定された場合、ステップST10では、具体的にはL1層の手前片側のS字信号が検出できたときにブレーキの出力を完了する。そして、その後速やかにフォーカス制御をONする。フォーカス位置の移動は、十分に減速されているため、目的層におけるフォーカス引き込みを極めて安定して実現できる。
 このときの、層の移動に対するS字信号の出力と、それに対応したモード切り換えの動作を図14に示す。
 本実施形態では、ブレーキ層で球面収差が0になるようにフォーカスジャンプ開始前に球面収差補正を実行している。その結果、ブレーキ層でのS字信号の振幅は最大となり、SN比も増加するため、高い分解能のS字信号を得ることができる。よって、より詳細なS字信号の振幅レベルの検出が可能となり、細かいブレーキの開始設定ができるため、多層にわたるジャンプの速度制御を安定に実現することができる。
 図16は、図15のS字信号カウントモードM1(S字信号粗検出モードM1)と、S字信号詳細検出モードM2の動作を説明する図である。図16の例ではL5層からL6層まではS字信号カウントモードM1が設定され、L7層からL8層まではS字信号詳細検出モードM2が設定されている。図16のL7層のS字信号近傍に示すように、S字信号詳細検出モードM2ではL7層のニア側(対物レンズがディスク表面100aに近づく方向)L7N、あるいはL7層の中心近傍L7Z、あるいはL7層ファア側(対物レンズがディスク表面100aから遠ざかる方向)L7Fでタイミングを自由に(任意に)設定することができ、S字信号の変化を詳細に検出することができる。
 最初にS字信号カウントモードM1に設定すると、S字波形の検出レベルは0レベルに近いM1レベルとなる。L5、L6層は球面収差補正がずれている(比較的大きな球面収差が存在する)ため、十分に大きなS字振幅レベルを確実に得ることが難しい。しかし、低い振幅レベルでもS字信号の出力はあるので、検出レベルを下げて確実にS字信号をカウントできるようにしている。
 そのS字カウントモードM1で、L5層、L6層のS字信号をカウントしてフォーカス位置がL7層に接近する近い位置まで移動したとき、S字の検出モードを詳細検出モードM2に切り換える。このS字検出詳細モードM2では、球面収差補正をこのS字の対応したL7層に合わせているので、L7層での球面収差は最小化される。このため、大きな振幅のS字信号の振幅を得ることが容易である。また、S字信号の検出レベルを細かなレベルに設定できる。このため、特にタイミングが重要な減速パルスP2の開始点や終了点を細かく調整することができる。
 例えば図16中に示すように1つのS字出力範囲に対して、3つの領域L7N、L7Z、L7Nに分割し、それぞれの分割範囲領域の各々でタイミング信号が生成できるよう、具体的には、S字信号の検出レベルに対し、適当なレベル値を設定し、タイミング信号を生成する。そして、そのタイミングで加速・減速を開始するように構成すればよい。これにより、面ぶれが生じたり、層間ピッチのばらつきがあっても、最適なタイミングで減速パルスP2をフォーカスアクチュエータに印加することが可能となる。
 次にブレーキ層の決定の方法について説明する。
 減速パルスP2は、実際にはレンズの重量とアクチュエータの推力、レンズの速度などでその開始タイミングや出力値(波高値)などを適当に調整するのが好ましいが、従来のBDあるいはDVDで使用されているピックアップでは、基本的には減速パルスの開始タイミングは100μm以下の短い距離であれば移動距離の中間位置近傍がよく、100μ以上の長い距離を移動する場合は、目的層手前50μm近傍の位置でブレーキを開始するのが好ましい。例えば、図8に示すような多層光ディスク群(多層光ディスクグループ)のフォーカスジャンプをサポートする場合には、装填しているディスクの種別がわかれば、各グループ0~3の層間距離(LP)が一意にわかる。このため、シークのパターンで移動距離及び何層横切りかの情報も取得することができるので、この組み合わせで、プログラムでテーブル、あるいは計算式をもって、それを引用してブレーキ層と1回にフォーカス位置が横切る情報層数の最大値の決定を行う。
 この決定をするためのブレーキ層のテーブルと最大移動層数及び1回当たりの移動層数のテーブルを、2層BD、4層BD、8層BD、16層BDを例として図17、図18に示す。
 図17、図18において、例えば、L2N、L2Z、L2Fなどと表記されているが、ブレーキ層が、L2Nの場合はL2層のニア側(対物レンズがディスク表面100aに近づく方向)、L2Zの場合はL2層の中心近傍、L2Fの場合はL2層ファア側(対物レンズがディスク表面100aから遠ざかる方向)を示している。
 図17に示すように、グループ0の2層BDにおいてL1層からL2層にジャンプする場合は、ブレーキ層はL2N(中間)と示されており、この場合は、減速パルスP2はL1層のS字信号が立ち下がって0レベルになるとき、あるいはL2層のS字信号が0レベルであるL2Zから立ち上がるときを検出して減速パルスP2を出力する。
 グループ1の4層BDにおいて、L1層からL2層にジャンプする場合は2層BDと同じである。L1層からL3層にジャンプする場合は、ブレーキ層はL2Zと示されており、この場合は、L2層をブレーキ層に設定し、L2層のS字信号の手前あるいは奥側の振幅が0レベル近傍のレベルに下がったとき(L2Z)を検出して減速パルスP2を出力する。L1層からL4層にジャンプする場合は、ブレーキ層はL3Nと示されており、この場合は、L3層をブレーキ層に設定し、L3層の手前側のS字信号が0レベル(L3Z)から近傍の所定レベルまで立ち上がったときを検出して減速パルスP2を出力する。
 グループ2の8層BDにおいて、L1層からL2層、L1層からL3層、L1層からL4層までは、4層BDと同じである。L1層からL5層にジャンプする場合は、ブレーキ層はL3Zと示されており、この場合は、L3層をブレーキ層に設定し、L3層のS字信号の手前あるいは奥側の振幅が0レベル近傍のレベル(L3Z)に下がったときを検出して減速パルスP2を出力する。
 さらにL1層からL8層にジャンプする場合は、移動パターンはL1→L5→L8と示されており、この場合は、まずは、L1層からL5層の1回目のジャンプとL5層からL8層までを2回目のジャンプとして設定する。1回目L1層からL5層のジャンプでは、1回目のブレーキ層はL3Zと示されており、この場合は、L3層をブレーキ層として決定し、L3層のS字信号の手前あるいは奥側の振幅が0レベル近傍のレベル(L3Z)に下がったときを検出して減速パルスP2を出力し、L5層に到達したとき一度フォーカスを引き込む。次にL5層からL8層までの2回目のジャンプでは、2回目のブレーキ層はL7Zと示されており、この場合は、L7層をブレーキ層として決定し、L7層のS字信号の手前あるいは奥側の振幅が0レベル近傍のレベル(L7Z)に下がったときを検出して減速パルスP2を出力し、L8層に到達したときフォーカスを引き込んで移動を完了する。
 このL1層からL8層の移動について、図16と図19を参照して、より詳細に説明する。
 図19は、1回目の移動(L1層からL5層)と、2回目の移動(L5層からL8層)の各ディスクの記録層の断面と、FE上に現れるS字信号、および加速パルスP1並びにブレーキ層のS字信号を検出して出力される減速パルスP2のタイミングを示す波形とを示す図である。 前述したように、1回目のジャンプがL1層からL5層と決まると、ブレーキ層であるL3層に球面収差を合わせる。すなわち、L3層で球面収差が最も小さくなるように球面収差補正を行う。
 その後、加速パルスP1を印加し、L5層に向けて対物レンズの移動を開始する。L3層で球面収差を合わせているので、S字信号の振幅は、L3層で最も大きく、そこから離れるほど小さくなる。ただし、S字信号の振幅は、上記S字カウントモードM1(S字信号粗検出モードM1)では、L3層以外の情報層でも0にはならないので、L1層、L2層のS字信号を検出することは可能である。よって、フォーカス位置がL1層を通過し、L2層に到達したことを検知することができる。さらにフォーカス位置のL2層の通過は、0レベル近傍にS字信号粗検出レベルM1を設けることで検出が可能である。フォーカス位置がL2層を通過したら、S字信号粗検出モードM1からS字信号詳細検出モードM2に切り換える。このモードはS字信号の振幅レベルを細やかに設定したモードである。S字信号詳細検出モードM2は、後述するように、フォーカス位置がL6層を通過した後にも実行する。
 図16は、S字信号詳細検出モードM2の動作を説明する図である。図16のL7層のS字信号近傍に示すように、S字信号詳細検出モードM2ではL7層のニア側(対物レンズがディスク表面100aに近づく方向)L7N、あるいはL7層の中心近傍L7Z、あるいはL7層のファア側(対物レンズがディスク表面100aから遠ざかる方向)L7FでS字信号の変化を詳細に検出することができる。それに合わせて減速パルスP2の開始点を細かく調整することができる。これにより、面ぶれや層間のばらつきがあっても、最適なタイミングで減速パルスP2をフォーカスアクチュエータに印加することが可能となる。
 再び、図19を参照する。
 減速パルスP2を印加した後は、S字信号粗検出モードM1に戻してL4層の通過を検出し、再度S字信号詳細検出モードM2に戻してL5層での引き込みレベルを設定して、その引き込みレベルに到達したらフォーカス制御をONする。2回目のジャンプ(L5層からL8層)も同様にして、球面収差をブレーキ層のL7層に合わせた後、S字信号粗検出モードM1でL5層、L6層の通過を検出し、S字信号詳細検出モードM2でL7層のディスクに近い側のS字信号を検出したら減速パルスP2を発行する。その後L8層に向けて慣性力で移動してL8層でのS字信号が引き込みレベルに達したときフォーカスをONする。この2回目の移動の場合はブレーキ層と目的層が隣接層で球面収差量も近いため、S字信号の振幅は同程度である。よってブレーキ層から目的層までS字信号詳細検出モードM2を継続する。ところで、1回目、2回目で到達した目的層L5層、L8層でのFEの振幅を少しでも大きくして引き込みをよくするために、L3層、L7層で減速パルスP2層を印加後に球面収差を目的層であるL5層、L8層に合わせるように駆動を開始しておいてもよい。
 また8層、16層、20層で一気に8層、16層あるいは20層のジャンプを行う場合はブレーキを出してからの残りの移動距離も長くなるため、減速しすぎるという場合がある。この場合は、1回でジャンプできる最大層数を予め決定しておく。例えば5層と決めた場合は、16層のアクセスの場合は3回、20層アクセスの場合は4回で目的層にいくようなシーケンスに切り換えればよい。
 図18に16層BDの一部の例も示している。このように16層、あるいは20層になっても、それぞれの層間距離や移動層数などで設定値は変わるが、同様の方法で減速パルスP2を出すブレーキ層、1回の最大移動層数とジャンプ回数を決定することは可能である。
 以上のように図17および図18によって、多層光ディスクは、複数の多層グループ(0~3)に分かれており、層間ジャンプの移動パターンは、多層光ディスクのトータル層数情報と、層間ジャンプ元と層間ジャンプ先を含む層間ジャンプ情報を用いて決定されていることが示された。またこの移動パターンには、層間ジャンプ前に球面収差補正を行う層、減速信号を発生させるブレーキ層、および、一度にジャンプできる最大横断層数を含むことを示したが、少なくとも何れか1つの項目を含むとしてもよい。さらにこの移動パターンには、複数回に分けて層間ジャンプ元から層間ジャンプ先に移動するパターンを含むことが示された。ここで多層光ディスクにおける各層から得られるS字信号は、それぞれ重複していないことが望ましい。
 本実施形態では、S字信号の検出範囲が2μm以下である。多層光ディスクにおける情報層の数が更に増加していくと、層間距離が短くなる。したがって、各層の確実な検出と層間クロストークを防止するためには、S字信号の検出範囲をさらに狭くする必要がある。よって、フォーカスジャンプでフォーカス位置が移動している間に検出されるS字信号の幅(極大値と極小値の時間)は、非常に狭くなる。今後製造されるであろう多層光ディスクでも、15μm~5μm程度の層間距離は確保されるため、S字信号の検出範囲が狭くなると、S字信号とS字信号との間隔はより鮮明になる。このため、S字信号に基づいて情報層を検知しやすくなる。
 このように、多層光ディスクでは、フォーカスジャンプ中にフォーカス位置が情報層を通過するタイミングを、S字信号に基づいて高精度で検知することが可能である。フォーカスジャンプ中の検出されるS字信号をカウントし、検出の間隔を測定すれば、フォーカス位置の移動速度(ディスクの厚さ方向の移動速度)を求めることが可能になる。
 例えば図19(a)におけるフォーカスジャンプ中に現れるL1層のS字信号の極大値T1とL2層のS字信号の極大値T2の時間間隔T12、L2層のS字信号の極小値B1とL3層のS字信号の極小値B2の時間間隔T23を計測することができる。その時間間隔T12、T23が所定値(移動速度の設計値から算出した標準値)よりも長ければ、フォーカス位置の移動速度が低いと判定し、減速を小さく設定することが好ましい。この場合、減速パルスP2の波高値Vbrを小さく、あるいは減速パルス幅Tbrを短くすればよい。
 逆に、時間間隔T12、T23が上記所定値のよりも短ければ、フォーカス位置の移動速度が高いと判定し、減速を大きくすることが好ましい。この場合は、減速パルスP2の波高値Vbrを大きく、あるいは減速パルス幅Tbrを長くすればよい。このように、S字信号の検出時間の間隔を測定することによってフォーカス位置の移動速度を求め、この移動速度に基づいて、フォーカスの引き込み時における加減速に調整することが可能である。
 上記の例では、最初の2つの層のS字信号の時間間隔を測定しているが、本発明は、そのような例に限定されない。例えば、10層ディスク、16層ディスクなどの多層光ディスクでは、途中で停止することなく一度に10層のジャンプをすることがある。このような場合には、1層おき、あるいは2層おきのS字信号の間隔を測定して、その測定値において都度波高値を調整しながら減速(あるいは加速)パルスを印加してもよい。こうすることにより、10層、16層などの多くの層を通過する、移動距離の長いフォーカスジャンプにおいても、移動速度を所定範囲に調整することが容易になる。その結果、安定にフォーカス位置の層間移動を達成し、到達した目標層でフォーカスを安定に引き込むことが可能である。
 図19に示す例では、1回のフォーカスジャンプは、1つの加速パルスP1によって移動を開始し、1つの減速パルスによって移動を停止している。しかし、本発明におけるフォーカスジャンプは、このような例に限定されない。上述したように、フォーカスジャンプ中におけるフォーカス位置の速度を検出しながら、フォーカス位置の移動速度を調整するため、加速パルスP1と減速パルスP2との間に速度調整のための少なくとも1つの加速パルスまたは減速パルスを印加してもよい。
 次にレンズとディスクの衝突を防止して信頼性を高めるための、多層のフォーカスジャンプの設定切換について説明する。
 PCドライブ、レコーダ/プレ-ヤ等々の光ディスク装置の多くは水平に設置されることが多い。このため、多層光ディスクの奥側の層から手前の層へフォーカスジャンプする場合と手前の層から奥側の層へフォーカスジャンプする場合では、対物レンズの移動方向に印加される重力に2G(Gは重力加速度)の差が生じる。したがって下向き(奥から手前)では過加速に、上向き(手前から奥)では過減速になることが多い。このことは、対物レンズと光ディスクの衝突に関しては有利な方向に働く。しかし、さらに衝突の信頼性を向上させ、縦置きのBDプレイヤやPCドライブも想定すると、絶対的ではないといえる。
 したがって衝突しない確率を向上させるため、上向き(多層光ディスクの手前から奥)のフォーカスジャンプの場合は、一旦目的層の1つ手前の層まで移動し、最後に1層のみのフォーカスジャンプで移動させる。逆に下向き(奥から手前)のフォーカスジャンプは、衝突のリスクが少ないため、直接目的層まで移動させるようにしてもよい。
 この場合、同じ層数を横切るジャンプであっても、上向き(手前から奥)と下向き(奥から手前)とでブレーキ層を切り換えれば、安定なジャンプ性能を確保することができる。
 以上の理由から、対物レンズが多層光ディスクに近づく方向の層間ジャンプと、多層光ディスクから遠ざかる方向の層間ジャンプとに応じて、層間ジャンプの仕方を変えてもよい。また対物レンズが多層光ディスクに近づく方向の層間ジャンプは、多層光ディスクから遠ざかる方向の層間ジャンプに比べて、層間ジャンプ時にフォーカス位置が横切る情報層の数を小さくしても良い。
 以上、説明した本発明の実施形態では、ブレーキ層で、球面収差が0になるようにフォーカスジャンプ開始前に球面収差補正を完了している。その結果、ブレーキ層でのS字信号の振幅は最大となり、SN比も増加するため、高い分解能のS字信号を得ることができる。それによって、より詳細なS字信号の振幅レベルの検出が可能となるので、減速パルスP2のタイミングを正確に決定することができる。しかし、球面収差がブレーキ層で最適化されるように球面収差補正を行うには、球面収差を完了してからフォーカス移動を行う必要はない。すなわち、フォーカス移動を行いながら、球面収差補正を行っても良い。
 球面収差補正を変化させながら、フォーカスジャンプを行うように構成すれば、各情報層で特性のよいS字信号を得ることができる。その結果、フォーカス位置が情報層を通過する毎になめらかな速度の制御が可能になる。具体的には、フォーカスジャンプをするときに、図12に示すフォーカス制御部140が備えるフォーカスアクチュエータ駆動回路からアクチュエータ132に出力される、図21に示すような駆動信号(加速パルス、中間パルス、減速パルス)に対して演算を行う。その演算後の信号を、球面収差補正部128(図12)に印加する。図13に示す球面収差補正部128は、球面収差補正レンズ228をステッピングモータ8によって移動させているが、球面収差補正レンズ228とステッピングモータ8との間に球面収差補正のためのアクチュエータを設けることが好ましい。
 図20は、このようなアクチュエータ229を備える球面収差補正部128の他の構成例を示す図である。図20において、フォーカス制御部140が備えるフォーカスアクチュエータ駆動回路から球面収差補正部230に駆動信号が出力される。球面収差補正部230はこの出力された駆動信号に対して演算を行う。その演算後の信号を、ステッピングモータ8とアクチュエータ229にそれぞれ印加する。アクチュエータ229は、ステッピングモータ8に比べると、稼動範囲は狭いが、高い応答性を有する。このため、フォーカス位置(フォーカス位置)が複数の情報層を通過していくタイミングに応じて迅速に球面収差補正を変化させるには、応答速度の高いアクチュエータ229により、球面収差補正レンズ228の位置を高速に微調整できることが好ましい。
 図21に示すように、例えば、4層ディスクにおいてL4層からL1層にジャンプした場合、第1のS字信号で加速パルス、第2のS字信号で中間パルス、第3のS字信号で減速パルスを出すように構成する。この場合に、目的層へ向かう正極性パルス分を抽出して、積分演算することにより、フォーカス方向の移動量に相当する値(信号)を求めることが可能である。この求めた信号に帯域分離をかけ、球面収差を補正する素子であるステッピングモータ8とアクチュエータ229にそれぞれ印加する。
 このような構成を採用することにより、フォーカス位置が多層光ディスク内のどの情報層の近傍に位置しているかの情報を得て、その情報に基づいて球面収差補正を迅速に最適化できる。したがって、フォーカスジャンプを開始した後、フォーカス位置が情報層を横切るタイミングと同期して、球面収差の補正量を切り換えることが可能である。
 また、上述したS字信号とS字信号との時間間隔を計測し、それによって求められるフォーカス位置の移動速度から、光ビームの到達している層、すなわち球面収差の位置を推定してもよい。
 図22は、CPU146がフォーカスジャンプ中にS字とS字の時間間隔を測定し、その時間から速度を求めて、その速度に応じた信号を球面収差補正部128内のアクチュエータへフィードバックする動作を示す波形図である。
 この場合、層間距離とS字の検出範囲は既知であるので、フォーカス位置の移動速度を推定できる。よって、フォーカスジャンプ中の光ビームのフォーカス位置の到達距離が容易に算出できる。こうして、フォーカス位置がどの情報層に近づいているか、あるいはどの情報層上にあるかがわかる。このため、移動しつつあるフォーカス位置に近い情報層に、順次、球面収差補正を合せることが可能になる。
 このように、S字信号の検出間隔は、フォーカス位置の移動速度に比例しているため、フォーカス位置が情報層を横切るタイミングと、フォーカス位置が横切る情報層に合うように球面収差を補正するタイミングとの同期をとることが可能になる。
 上記の構成を採用した光ディスク装置において、図14に示す層間ジャンプを行うと、L1~L4層のいずれの層から得られるS字信号も、振幅は十分に大きく、同程度になる。
 なお、図14の例では、加速パルスP1および減速パルスを、それぞれ、1回だけ出力しているが、図22に示すように、本発明はこのような場合に限定されない。
 なお、上記の各実施形態では、ブレーキ層で球面収差補正を最小化しているが、目的情報層で球面収差が最小化するように球面収差補正が行われる場合でも、ブレーキ層が目的情報層に隣接するならば、ブレーキ層からのS字信号を高精度で検出することが可能になる。
 このため、本発明の他の態様による光ディスク装置は、以下の構成を備えていてもよい。すなわち、積層された複数の情報層を有する多層光ディスクにおけるフォーカス位置の層間ジャンプを制御する層間ジャンプ制御部と、層間ジャンプを開始した後、層間ジャンプの目的情報層の手前側に隣接する情報層からのS字信号を検出するS字信号検出部とを備えている。そして、層間ジャンプ制御部は、S字信号の検出に応答して層間ジャンプにおけるフォーカス位置移動の減速を開始し、目的情報層の手前側に隣接する情報層で最大の減速を行う。
 この光ディスク装置によれば、積層された複数の情報層を有する多層光ディスクにおけるフォーカス位置の層間ジャンプを制御する層間ジャンプ方法を実行することができる。すなわち、層間ジャンプを開始した後、層間ジャンプの目的情報層の手前側に隣接する情報層からのS字信号を検出するステップと、S字信号の検出に応答して層間ジャンプにおけるフォーカス位置移動の減速を開始し、目的情報層の手前側に隣接する情報層で最大の減速を行うステップとを実行することができる。
 上記の光ディスク装置または層間ジャンプ方法によれば、目的情報層からのS字信号の検出に応答する場合に比べて、確実に目的情報層で層間ジャンプを停止することが可能になる。
 以上のように、本発明に係る光ディスク装置、および本発明に係る多層光ディスクにおける層間ジャンプ方法は、安定かつ高速な層間移動を実現できるので、3層以上の情報層を備える多層光ディスクに好適に適用される。
 本発明は、多数の情報層が積層される光ディスクであれば、BDに限定されず、他の光ディスク(例えばCH-DVD)にも適用可能である。また、本発明の光ディスク装置は、録画機能を有しないプレイヤはもちろん、データ記録機能を有するレコーダやPCドライブにも好適に適用され得る。
 100  光ディスク
 103  光ピックアップ
 106  サーボ制御回路
 146  層間ジャンプ制御部(CPU)
 160  S字信号検出部

Claims (19)

  1.  積層された複数の情報層を有する多層光ディスクにおけるフォーカス位置の層間ジャンプを制御する層間ジャンプ制御部と、
     前記光ディスクにおける前記複数の情報層の各々に応じた球面収差補正を行うことができる球面収差補正部と、
     前記フォーカス位置の層間ジャンプを開始した後、前記複数の情報層に含まれる情報層からのS字信号を検出するS字信号検出部と
    を備え、
     前記球面収差補正部は、前記フォーカス位置の層間ジャンプの開始前または開始後に、前記層間ジャンプにおけるフォーカス位置移動の減速を開始する情報層に応じた球面収差補正を行い、
     前記層間ジャンプ制御部は、前記球面収差補正が行われた情報層からのS字信号の検出に応答して前記層間ジャンプにおけるフォーカス位置移動の減速を開始する、光ディスク装置。
  2.  前記層間ジャンプにおけるフォーカス位置移動の減速を開始する前記情報層は、前記層間ジャンプの開始時に前記フォーカス位置が存在した情報層と前記層間ジャンプの目的情報層との間に位置する情報層である、請求項1に記載の光ディスク装置。
  3.  前記層間ジャンプにおけるフォーカス位置移動の減速を開始する前記情報層は、前記層間ジャンプの目的情報層に隣接する情報層である、請求項2に記載の光ディスク装置。
  4.  前記球面収差補正部は、前記層間ジャンプの開始前、前記層間ジャンプの目的情報層の手前に位置する情報層に応じた球面収差補正を完了する、請求項1に記載の光ディスク装置。
  5.  前記球面収差補正部は、前記層間ジャンプの開始後、前記フォーカス位置の移動に応じて前記球面収差の補正量を切り替える、請求項1に記載の光ディスク装置。
  6.  前記球面収差補正部は、前記複数の情報層のうち、前記層間ジャンプ中に移動しているフォーカス位置に最も近い情報層で球面収差補正を最小化する、請求項5に記載の光ディスク装置。
  7.  前記層間ジャンプ制御部は、前記層間ジャンプの開始後、前記フォーカス位置が前記複数の情報層の各々を横切る時に得られるS字信号の検出間隔に基づいてフォーカス位置移動の加速および減速を調整する、請求項1に記載の光ディスク装置。
  8.  積層された複数の情報層を有する多層光ディスクにおけるフォーカス位置の層間ジャンプを制御する層間ジャンプ方法であって、
     フォーカス位置の層間ジャンプの開始前または開始後に、前記層間ジャンプにおけるフォーカス位置移動の減速を開始する情報層に応じた球面収差補正を行うステップと、
     前記層間ジャンプを開始した後、前記球面収差補正が行われた情報層からS字信号を検出するステップと、
     前記球面収差が行われた情報層からの前記S字信号の検出に応答して前記層間ジャンプにおけるフォーカス位置移動の減速を開始するステップと
    を含む、多層光ディスクにおける層間ジャンプ方法。
  9.  前記層間ジャンプにおけるフォーカス位置移動の減速を開始する情報層は、前記層間ジャンプの目的情報層に隣接する情報層およびその近傍に位置する情報層を含む複数の情報層から選択された特定層である、請求項8に記載の多層光ディスクにおける層間ジャンプ方法。
  10.  前記層間ジャンプにおけるフォーカス位置移動の減速を開始する情報層は、前記層間ジャンプの目的情報層に隣接する情報層である、請求項9に記載の多層光ディスクにおける層間ジャンプ方法。
  11.  前記減速を行った後、前記層間ジャンプの目的情報層に適した球面収差補正を行うステップを有する、請求項8に記載の多層光ディスクにおける層間ジャンプ方法。
  12.  前記多層光ディスクのトータル層数情報と、層間ジャンプ元と層間ジャンプ先を含む層間ジャンプ情報を用いて、層間ジャンプのパターンを決定するステップを有する、請求項8に記載の多層光ディスクにおける層間ジャンプ方法。
  13.  前記層間ジャンプのパターンには、層間ジャンプ前に球面収差補正を行う層、減速信号を発生させる層、および、一度にジャンプできる最大層数の少なくとも1つを含む、請求項12に記載の多層光ディスクにおける層間ジャンプ方法。
  14.  前記層間ジャンプのパターンには、複数回に分けて層間ジャンプ元から層間ジャンプ先に移動するパターンを含む、請求項12に記載の多層光ディスクにおける層間ジャンプ方法。
  15.  前記多層光ディスクにおける各情報層から得られるS字信号は、それぞれ重複していない、請求項8に記載の多層光ディスクにおける層間ジャンプ方法。
  16.  対物レンズが前記多層光ディスクに近づく方向の層間ジャンプと、前記多層光ディスクから遠ざかる方向の層間ジャンプとに応じて、前記層間ジャンプの仕方を変える、請求項8に記載の多層光ディスクにおける層間ジャンプ方法。
  17.  前記対物レンズが前記多層光ディスクに近づく方向の層間ジャンプは、前記多層光ディスクから遠ざかる方向の層間ジャンプに比べて、前記層間ジャンプ時にフォーカス位置が横切る情報層の数が小さい、請求項16に記載の多層光ディスクにおける層間ジャンプ方法。
  18.  積層された複数の情報層を有する多層光ディスクにおけるフォーカス位置の層間ジャンプを制御する層間ジャンプ制御部と、
     前記層間ジャンプを開始した後、前記層間ジャンプの目的情報層の手前側に隣接する情報層からのS字信号を検出するS字信号検出部と
    を備え、
     前記層間ジャンプ制御部は、前記S字信号の検出に応答して前記層間ジャンプにおけるフォーカス位置移動の減速を開始し、前記目的情報層の手前側に隣接する情報層で最大の減速を行う、光ディスク装置。
  19.  積層された複数の情報層を有する多層光ディスクにおけるフォーカス位置の層間ジャンプを制御する層間ジャンプ方法であって、
     前記層間ジャンプを開始した後、前記層間ジャンプの目的情報層の手前側に隣接する情報層からのS字信号を検出するステップと、
     前記S字信号の検出に応答して前記層間ジャンプにおけるフォーカス位置移動の減速を開始し、前記目的情報層の手前側に隣接する情報層で最大の減速を行うステップと、
    を含む、多層光ディスクにおける層間ジャンプ方法。
PCT/JP2010/002050 2009-04-10 2010-03-24 光ディスク装置および多層光ディスクにおける層間ジャンプ方法 Ceased WO2010116632A1 (ja)

Priority Applications (2)

Application Number Priority Date Filing Date Title
JP2011508210A JP5615264B2 (ja) 2009-04-10 2010-03-24 光ディスク装置および多層光ディスクにおける層間ジャンプ方法
US12/996,664 US8582403B2 (en) 2009-04-10 2010-03-24 Optical disc apparatus and method of making layer-to-layer jump in multilayer optical disc

Applications Claiming Priority (2)

Application Number Priority Date Filing Date Title
JP2009095849 2009-04-10
JP2009-095849 2009-04-10

Publications (1)

Publication Number Publication Date
WO2010116632A1 true WO2010116632A1 (ja) 2010-10-14

Family

ID=42935933

Family Applications (1)

Application Number Title Priority Date Filing Date
PCT/JP2010/002050 Ceased WO2010116632A1 (ja) 2009-04-10 2010-03-24 光ディスク装置および多層光ディスクにおける層間ジャンプ方法

Country Status (3)

Country Link
US (1) US8582403B2 (ja)
JP (1) JP5615264B2 (ja)
WO (1) WO2010116632A1 (ja)

Families Citing this family (2)

* Cited by examiner, † Cited by third party
Publication number Priority date Publication date Assignee Title
US8582403B2 (en) * 2009-04-10 2013-11-12 Panasonic Corporation Optical disc apparatus and method of making layer-to-layer jump in multilayer optical disc
EP2851731A4 (en) * 2012-05-17 2016-01-20 Citizen Holdings Co Ltd ABERRATION CORRECTION DEVICE AND LASER MICROSCOPE

Citations (3)

* Cited by examiner, † Cited by third party
Publication number Priority date Publication date Assignee Title
JPH11345420A (ja) * 1998-03-31 1999-12-14 Matsushita Electric Ind Co Ltd フォーカスジャンプ制御方法と光ディスク装置
JP2007109285A (ja) * 2005-10-12 2007-04-26 Hitachi Ltd 光ディスク装置
JP2007200447A (ja) * 2006-01-26 2007-08-09 Hitachi-Lg Data Storage Inc 光ディスク装置、フォーカス制御方法および光ディスク

Family Cites Families (7)

* Cited by examiner, † Cited by third party
Publication number Priority date Publication date Assignee Title
JP4217395B2 (ja) * 2000-09-06 2009-01-28 パナソニック株式会社 光ディスク装置及び多層光ディスクの記録再生方法
TW564404B (en) * 2000-09-06 2003-12-01 Matsushita Electric Industrial Co Ltd Optical disk unit and information recording and reproducing method
JP4788071B2 (ja) * 2001-06-29 2011-10-05 ソニー株式会社 光ピックアップ及び記録/再生装置
JP4257049B2 (ja) * 2001-07-06 2009-04-22 パイオニア株式会社 多層ディスク記録再生装置およびフォーカスジャンプ方法
JP2008159137A (ja) * 2006-12-22 2008-07-10 Tdk Corp 光記録再生方法、光記録再生装置、光記録媒体
US20100118685A1 (en) * 2008-11-12 2010-05-13 Yoshiaki Komma Optical recording medium, manufacturing method for optical recording medium, information recording/reproducing method and information recording/reproducing device
US8582403B2 (en) * 2009-04-10 2013-11-12 Panasonic Corporation Optical disc apparatus and method of making layer-to-layer jump in multilayer optical disc

Patent Citations (3)

* Cited by examiner, † Cited by third party
Publication number Priority date Publication date Assignee Title
JPH11345420A (ja) * 1998-03-31 1999-12-14 Matsushita Electric Ind Co Ltd フォーカスジャンプ制御方法と光ディスク装置
JP2007109285A (ja) * 2005-10-12 2007-04-26 Hitachi Ltd 光ディスク装置
JP2007200447A (ja) * 2006-01-26 2007-08-09 Hitachi-Lg Data Storage Inc 光ディスク装置、フォーカス制御方法および光ディスク

Also Published As

Publication number Publication date
US8582403B2 (en) 2013-11-12
US20110080814A1 (en) 2011-04-07
JPWO2010116632A1 (ja) 2012-10-18
JP5615264B2 (ja) 2014-10-29

Similar Documents

Publication Publication Date Title
US8164998B2 (en) Optical disc device
JP4512515B2 (ja) 光ディスク装置及び光ディスク判別方法
JP4996509B2 (ja) 光ディスク装置およびその駆動方法
JP2002279654A (ja) 光ディスク装置、対物レンズ移動制御方法
US7778129B2 (en) Optical disk apparatus, focal position control method and focal position control apparatus
JP5372864B2 (ja) 多層光ディスクおよび光ディスク装置
JP5615264B2 (ja) 光ディスク装置および多層光ディスクにおける層間ジャンプ方法
JP4224506B2 (ja) 光ディスク装置
JP4139751B2 (ja) 光ディスク装置
JP2006134367A (ja) 光ディスク判別方法、及び、光ディスク装置
WO2008047741A1 (en) Optical information recorder/reproducer, optical information recording/reproducing method and control circuit
JP5377552B2 (ja) フォーカスサーボ制御装置、及びそれを用いた情報記録再生装置
JP2011192378A (ja) 光ディスク装置および光ディスクの再生方法
JP5417007B2 (ja) 光ディスク装置
US7936645B2 (en) Optical disc device
US20110205872A1 (en) Optical disc drive and method of controlling the same
JP4224503B2 (ja) 光ディスク装置およびその駆動方法
WO2010092756A1 (ja) 多層ディスクのグループ判別方法および光ディスク装置
JP2012252767A (ja) 光ディスク装置
JP4825862B2 (ja) 光ディスク装置及び光ディスク判別方法
JP2013143175A (ja) 光ディスク装置
JP2008130176A (ja) 光ディスク再生装置、光ディスク記録層の検出方法及び光ディスク記録層の検出プログラム
JP2010192115A (ja) 光ディスク装置及び光ディスク判別方法
WO2014128847A1 (ja) 光情報記録媒体及びそれを用いた記録または再生方法
JP2006018898A (ja) 光ディスク装置

Legal Events

Date Code Title Description
WWE Wipo information: entry into national phase

Ref document number: 12996664

Country of ref document: US

121 Ep: the epo has been informed by wipo that ep was designated in this application

Ref document number: 10761340

Country of ref document: EP

Kind code of ref document: A1

WWE Wipo information: entry into national phase

Ref document number: 2011508210

Country of ref document: JP

NENP Non-entry into the national phase

Ref country code: DE

122 Ep: pct application non-entry in european phase

Ref document number: 10761340

Country of ref document: EP

Kind code of ref document: A1