WO2010079776A1 - ベーン式エアモータ - Google Patents

ベーン式エアモータ Download PDF

Info

Publication number
WO2010079776A1
WO2010079776A1 PCT/JP2010/050020 JP2010050020W WO2010079776A1 WO 2010079776 A1 WO2010079776 A1 WO 2010079776A1 JP 2010050020 W JP2010050020 W JP 2010050020W WO 2010079776 A1 WO2010079776 A1 WO 2010079776A1
Authority
WO
WIPO (PCT)
Prior art keywords
rotor
vane
cylindrical
peripheral surface
air
Prior art date
Legal status (The legal status is an assumption and is not a legal conclusion. Google has not performed a legal analysis and makes no representation as to the accuracy of the status listed.)
Ceased
Application number
PCT/JP2010/050020
Other languages
English (en)
French (fr)
Japanese (ja)
Inventor
隆 中條
Current Assignee (The listed assignees may be inaccurate. Google has not performed a legal analysis and makes no representation or warranty as to the accuracy of the list.)
Nitto Kohki Co Ltd
Original Assignee
Nitto Kohki Co Ltd
Priority date (The priority date is an assumption and is not a legal conclusion. Google has not performed a legal analysis and makes no representation as to the accuracy of the date listed.)
Filing date
Publication date
Application filed by Nitto Kohki Co Ltd filed Critical Nitto Kohki Co Ltd
Priority to KR1020137017557A priority Critical patent/KR101530796B1/ko
Priority to CN2010800079920A priority patent/CN102317575B/zh
Priority to EP10729196.5A priority patent/EP2378062B1/en
Publication of WO2010079776A1 publication Critical patent/WO2010079776A1/ja
Priority to US13/176,879 priority patent/US8439662B2/en
Anticipated expiration legal-status Critical
Ceased legal-status Critical Current

Links

Images

Classifications

    • FMECHANICAL ENGINEERING; LIGHTING; HEATING; WEAPONS; BLASTING
    • F01MACHINES OR ENGINES IN GENERAL; ENGINE PLANTS IN GENERAL; STEAM ENGINES
    • F01CROTARY-PISTON OR OSCILLATING-PISTON MACHINES OR ENGINES
    • F01C1/00Rotary-piston machines or engines
    • F01C1/30Rotary-piston machines or engines having the characteristics covered by two or more groups F01C1/02, F01C1/08, F01C1/22, F01C1/24 or having the characteristics covered by one of these groups together with some other type of movement between co-operating members
    • F01C1/34Rotary-piston machines or engines having the characteristics covered by two or more groups F01C1/02, F01C1/08, F01C1/22, F01C1/24 or having the characteristics covered by one of these groups together with some other type of movement between co-operating members having the movement defined in group F01C1/08 or F01C1/22 and relative reciprocation between the co-operating members
    • F01C1/344Rotary-piston machines or engines having the characteristics covered by two or more groups F01C1/02, F01C1/08, F01C1/22, F01C1/24 or having the characteristics covered by one of these groups together with some other type of movement between co-operating members having the movement defined in group F01C1/08 or F01C1/22 and relative reciprocation between the co-operating members with vanes reciprocating with respect to the inner member
    • FMECHANICAL ENGINEERING; LIGHTING; HEATING; WEAPONS; BLASTING
    • F01MACHINES OR ENGINES IN GENERAL; ENGINE PLANTS IN GENERAL; STEAM ENGINES
    • F01CROTARY-PISTON OR OSCILLATING-PISTON MACHINES OR ENGINES
    • F01C21/00Component parts, details or accessories not provided for in groups F01C1/00 - F01C20/00
    • F01C21/18Arrangements for admission or discharge of the working fluid, e.g. constructional features of the inlet or outlet
    • FMECHANICAL ENGINEERING; LIGHTING; HEATING; WEAPONS; BLASTING
    • F01MACHINES OR ENGINES IN GENERAL; ENGINE PLANTS IN GENERAL; STEAM ENGINES
    • F01CROTARY-PISTON OR OSCILLATING-PISTON MACHINES OR ENGINES
    • F01C1/00Rotary-piston machines or engines
    • F01C1/30Rotary-piston machines or engines having the characteristics covered by two or more groups F01C1/02, F01C1/08, F01C1/22, F01C1/24 or having the characteristics covered by one of these groups together with some other type of movement between co-operating members
    • F01C1/34Rotary-piston machines or engines having the characteristics covered by two or more groups F01C1/02, F01C1/08, F01C1/22, F01C1/24 or having the characteristics covered by one of these groups together with some other type of movement between co-operating members having the movement defined in group F01C1/08 or F01C1/22 and relative reciprocation between the co-operating members
    • F01C1/344Rotary-piston machines or engines having the characteristics covered by two or more groups F01C1/02, F01C1/08, F01C1/22, F01C1/24 or having the characteristics covered by one of these groups together with some other type of movement between co-operating members having the movement defined in group F01C1/08 or F01C1/22 and relative reciprocation between the co-operating members with vanes reciprocating with respect to the inner member
    • F01C1/3441Rotary-piston machines or engines having the characteristics covered by two or more groups F01C1/02, F01C1/08, F01C1/22, F01C1/24 or having the characteristics covered by one of these groups together with some other type of movement between co-operating members having the movement defined in group F01C1/08 or F01C1/22 and relative reciprocation between the co-operating members with vanes reciprocating with respect to the inner member the inner and outer member being in contact along one line or continuous surface substantially parallel to the axis of rotation
    • F01C1/3442Rotary-piston machines or engines having the characteristics covered by two or more groups F01C1/02, F01C1/08, F01C1/22, F01C1/24 or having the characteristics covered by one of these groups together with some other type of movement between co-operating members having the movement defined in group F01C1/08 or F01C1/22 and relative reciprocation between the co-operating members with vanes reciprocating with respect to the inner member the inner and outer member being in contact along one line or continuous surface substantially parallel to the axis of rotation the surfaces of the inner and outer member, forming the working space, being surfaces of revolution
    • FMECHANICAL ENGINEERING; LIGHTING; HEATING; WEAPONS; BLASTING
    • F01MACHINES OR ENGINES IN GENERAL; ENGINE PLANTS IN GENERAL; STEAM ENGINES
    • F01CROTARY-PISTON OR OSCILLATING-PISTON MACHINES OR ENGINES
    • F01C21/00Component parts, details or accessories not provided for in groups F01C1/00 - F01C20/00
    • F01C21/04Lubrication
    • FMECHANICAL ENGINEERING; LIGHTING; HEATING; WEAPONS; BLASTING
    • F01MACHINES OR ENGINES IN GENERAL; ENGINE PLANTS IN GENERAL; STEAM ENGINES
    • F01CROTARY-PISTON OR OSCILLATING-PISTON MACHINES OR ENGINES
    • F01C13/00Adaptations of machines or engines for special use; Combinations of engines with devices driven thereby
    • F01C13/02Adaptations of machines or engines for special use; Combinations of engines with devices driven thereby for driving hand-held tools or the like
    • FMECHANICAL ENGINEERING; LIGHTING; HEATING; WEAPONS; BLASTING
    • F01MACHINES OR ENGINES IN GENERAL; ENGINE PLANTS IN GENERAL; STEAM ENGINES
    • F01CROTARY-PISTON OR OSCILLATING-PISTON MACHINES OR ENGINES
    • F01C21/00Component parts, details or accessories not provided for in groups F01C1/00 - F01C20/00
    • F01C21/02Arrangements of bearings
    • FMECHANICAL ENGINEERING; LIGHTING; HEATING; WEAPONS; BLASTING
    • F04POSITIVE - DISPLACEMENT MACHINES FOR LIQUIDS; PUMPS FOR LIQUIDS OR ELASTIC FLUIDS
    • F04CROTARY-PISTON, OR OSCILLATING-PISTON, POSITIVE-DISPLACEMENT MACHINES FOR LIQUIDS; ROTARY-PISTON, OR OSCILLATING-PISTON, POSITIVE-DISPLACEMENT PUMPS
    • F04C2240/00Components
    • F04C2240/30Casings or housings
    • FMECHANICAL ENGINEERING; LIGHTING; HEATING; WEAPONS; BLASTING
    • F04POSITIVE - DISPLACEMENT MACHINES FOR LIQUIDS; PUMPS FOR LIQUIDS OR ELASTIC FLUIDS
    • F04CROTARY-PISTON, OR OSCILLATING-PISTON, POSITIVE-DISPLACEMENT MACHINES FOR LIQUIDS; ROTARY-PISTON, OR OSCILLATING-PISTON, POSITIVE-DISPLACEMENT PUMPS
    • F04C2250/00Geometry
    • F04C2250/10Geometry of the inlet or outlet
    • F04C2250/102Geometry of the inlet or outlet of the outlet
    • FMECHANICAL ENGINEERING; LIGHTING; HEATING; WEAPONS; BLASTING
    • F04POSITIVE - DISPLACEMENT MACHINES FOR LIQUIDS; PUMPS FOR LIQUIDS OR ELASTIC FLUIDS
    • F04CROTARY-PISTON, OR OSCILLATING-PISTON, POSITIVE-DISPLACEMENT MACHINES FOR LIQUIDS; ROTARY-PISTON, OR OSCILLATING-PISTON, POSITIVE-DISPLACEMENT PUMPS
    • F04C2250/00Geometry
    • F04C2250/20Geometry of the rotor

Definitions

  • the present invention relates to a vane air motor used as a driving means for an air tool such as a pneumatic grinder.
  • the vane type air motor is configured to rotate eccentrically with respect to the rotor chamber, and a rotor housing including a cylindrical wall having a rotor chamber defined by a cylindrical inner peripheral surface, and end walls provided so as to close both ends of the cylindrical wall.
  • a vane-attached rotor, and a compressed air is supplied into the rotor chamber from an air supply opening provided in a cylindrical inner peripheral surface, and the vane-type rotor is driven to rotate by the compressed air.
  • the compressed air that has been rotated and driven is discharged out of the rotor chamber from an air discharge opening that opens to the cylindrical inner peripheral surface (Patent Document 1).
  • the rotor is coaxial with the output shaft portion projecting from one end face of the rotor along the rotation axis of the rotor and rotatably supported by the end wall of the motor housing, and the output shaft portion from the other end face of the rotor. And a support shaft that is rotatably supported by the end wall of the motor housing.
  • the output shaft is drivingly connected to a member that performs a required tool function such as polishing in a tool such as the pneumatic pneumatic grinder.
  • the support shaft portion normally restricts the flow of the air supply flow path for supplying the compressed air to the intake holes communicating with the rotor chamber when the rotor is rotated at a predetermined rotation speed or more. It is connected to the governor that suppresses the rotation speed.
  • the motor housing and governor are surrounded by a casing of a tool such as a pneumatic grinder to which the vane type air motor is attached, and the compressed air supplied into the rotor chamber is formed around the governor by the casing.
  • the compressed air is supplied to the rotor chamber through the end wall of the motor housing.
  • the vane is formed in a thin plate shape and rotates while maintaining the sliding engagement with the cylindrical wall surface of the rotor chamber by being displaced in the radial direction of the rotor as the rotor rotates. For this reason, since the vane receives friction, impact force due to displacement, bending stress, and the like, it is difficult to use the vane for a long time, and it is desired to improve its durability. However, until now, the vane may be rotated at high speed in a sealed rotor chamber, and it is difficult to clarify the cause of impairing the durability of the vane. There wasn't. The inventor of the present application has tackled this problem and has elucidated the following causes that impair durability.
  • the first cause is wear received by the vane tip edge sliding with the cylindrical wall surface of the rotor chamber.
  • the inventor of the present application has determined that the wear affects the durability of the vane even though the wear is not necessarily large enough to be clearly determined visually. That is, the vane tip edge slides with the cylindrical inner peripheral surface of the rotor chamber, but the inner peripheral surface is provided with an air supply opening and an air discharge opening.
  • the portions that pass through the air exhaust openings are less subject to friction than the other portions by the distance through the openings, and therefore wear less than the other portions. Since these openings are spaced apart from each other in the axial direction of the rotor chamber, there is a difference in wear between the portion of the vane tip edge passing through and not passing through the opening, and the tip edge is uneven.
  • the portion passing through the opening of the vane tip edge is in a state of protruding outward in the radial direction although being smaller than the other portions. Since the vane is rotated at a high speed, the projecting portion hits the edge of the opening and generates a large impact, thereby hindering the smooth rotation of the rotor and giving an impact to the vane. It will cause damage of the.
  • the inventor has further determined that such uneven wear of the vane tip edge is mainly due to the air discharge opening.
  • the inventor of the present application also paid attention to the following points regarding the durability of the vane. That is, in the conventional vane air motor, a part of the compressed air supplied through the intake hole provided in one end wall of the rotor chamber is at the end of the cylindrical wall adjacent to the end wall. The rotor chamber is supplied directly from the air supply opening provided, and the remainder passes through the cylindrical wall in the axial direction and passes through the intake hole extending to the other end of the cylindrical wall.
  • one end of the vane tip edge is likely to be damaged.
  • the inventor of the present application has found that the cause is as follows.
  • one end of the vane tip edge pressed against the cylindrical wall surface hits the periphery of the opening when passing through the air supply opening, and receives a large impact, and one end of the vane tip edge It is considered that the rupture of the vane and the impact of the entire vane are caused, and the rupture is caused at a portion other than the end of the vane tip edge.
  • the inventor of the present application has found that the following points are likely to cause wear and breakage at one end of the tip edge of the vane.
  • the output shaft portion and the support shaft portion of the rotor are supported by a radial bearing, but since the radial bearing supporting the support shaft portion is adjacent to the compressed air supply chamber described above, the pressure of the compressed air is Acting on one side of the radial bearing (the side away from the rotor chamber), the grease of the radial bearing leaks into the end of the rotor chamber. Since the grease has a high viscosity, when the grease that has entered the rotor chamber comes to adhere to the end of the rotating blade, the smooth movement of the blade in the radial direction with respect to the rotor is obstructed. This may cause the same problem as described above.
  • the vane is formed in an elongated plate shape that is long in the axial direction of the rotor and short in the radial direction, but the vane may break in the axial direction at a substantially intermediate position in the width direction.
  • the cause lies in the following points. That is, the vane is accommodated in a radially extending groove provided in the rotor, and enters and exits the groove in the radial direction as the rotor rotates. For this reason, the side surface of the vane slides with the side wall of the groove. Furthermore, since the tip edge of the vane slides with the cylindrical inner peripheral surface of the rotor chamber, the vane receives resistance against rotation from the cylindrical inner peripheral surface.
  • the vane is slightly inclined in the rotational direction. Enter and exit the groove while rotating. For this reason, the side surface of the vane is subjected to friction with the side wall of the groove and the edge of the groove, and the side surface of the vane is slightly removed.
  • the vane is rotated at a high speed and receives a large impact as described above, so that the portion weakened due to the blowout cracks and eventually breaks. .
  • the present inventor has determined that these factors are related to the durability of the vane, and that the durability of the vane is impaired by the interaction of these factors.
  • An object of the present invention is to eliminate the above-described problems and improve the durability of the blade.
  • a motor housing having a cylindrical wall having a cylindrical inner peripheral surface, first and second end walls attached to both ends of the cylindrical wall, and having a rotor chamber inside;
  • a rotor that is rotatable about a rotation axis that is parallel to the central axis of the cylindrical inner peripheral surface and spaced from the central axis, the rotor being rotatable along the rotation axis.
  • a rotor comprising an output shaft extending through the two end walls, and a support shaft extending into the first end wall;
  • a vane attached to the rotor; Have Compressed air is supplied into the rotor chamber, the rotor is rotationally driven by the compressed air, and the compressed air that has finished rotating the rotor is discharged out of the rotor chamber through a plurality of air discharge openings that open to the cylindrical inner peripheral surface.
  • a vane-type air motor designed to The plurality of air discharge openings are provided so as to be spaced apart from each other, and the air discharge openings adjacent in the axial direction of the motor housing are arranged to overlap each other when viewed in the circumferential direction of the motor housing.
  • a vane air motor is provided.
  • the air discharge openings that have caused uneven wear on the vane tip edge are arranged so as to overlap each other as seen in the circumferential direction as described above. Further, wear is caused to occur uniformly over the range of the predetermined length in which the air discharge opening is disposed, thereby eliminating the above-described problem of the conventional vane air motor.
  • a plurality of air discharge openings can be arranged so as to overlap each other when viewed in the axial direction. That is, by doing in this way, the amount of air discharged can be changed more continuously.
  • the air discharge opening is circular, the formation of the air discharge opening can be facilitated and a decrease in the strength of the cylinder due to the provision of the air discharge opening can be reduced.
  • the specific arrangement of the air discharge openings includes a central air discharge opening and a plurality of air discharge openings arranged on both sides in the axial direction of the central air discharge opening. It is possible to dispose the rotor so as to be separated from the upstream side with respect to the rotational direction of the rotor as it is separated from the shaft in the axial direction.
  • First and second radial bearings attached to the first and second end walls, respectively, for rotatably supporting the support shaft portion and the output shaft portion;
  • a casing connected to the motor housing, forming a compressed air supply chamber together with the first end wall, and supplying compressed air into the rotor chamber through an air supply hole formed in the first end wall;
  • Have The first end wall is An inner end surface defining the rotor chamber together with the cylindrical inner peripheral surface of the cylindrical wall in contact with the end surface of the cylindrical wall, an outer end surface opposite to the axial direction of the rotor, and the first end wall penetrating And an end wall portion having a cylindrical hole through which the support shaft portion of the rotor passes.
  • a cylindrical wall portion extending from the outer end surface into the compressed air supply chamber in a direction opposite to the rotor chamber and defining a bearing storage recess for storing the first radial bearing, the outer wall of the first radial bearing
  • An inner race having an inner peripheral surface on which an outer peripheral surface is fitted and fixed, and the first radial bearing is fitted and fixed to the outer race and the outer peripheral surface of the support shaft portion coaxially with the outer race.
  • a cylindrical wall portion configured to include a plurality of rolling members provided between the outer race and the inner race, A ventilation groove extending from the end surface of the cylindrical wall portion to the outer end surface of the end wall portion along the inner peripheral surface can be provided.
  • a ventilation groove extending from the end surface of the cylindrical wall portion to the outer end surface of the end wall portion along the inner peripheral surface thereof is provided, so that the air pressure in the compressed air supply chamber passes through the ventilation groove and passes through the radial bearing. Leaks from the radial bearing to the rotor chamber as described above so that almost equal air pressure is applied to the front and rear of the radial bearing (that is, the rotor chamber side and the compressed air chamber side). It is possible to prevent.
  • the outer end surface of the end wall portion may have a ventilation recess that communicates with the ventilation groove and is opposed to the radial bearing. More specifically, the ventilation recess is formed on the outer end surface of the end wall portion and provided on the outer end surface around the cylindrical hole, and is formed on the outer end surface of the end wall portion in the radial direction. And a radial recess that communicates with the vent groove. This is intended to reliably transmit the air pressure to the rotor chamber side of the radial bearing to prevent the above-described leakage of grease.
  • the vane air motor according to the present invention includes: A shaft-shaped rotating member fixed to the end of the support shaft portion coaxially with the support shaft portion and rotated together with the support shaft portion is provided, and the shaft-shaped rotation member is rotated at a rotation speed greater than a predetermined value.
  • the shaft-like rotating member of the governor may include a flange having an annular surface that extends in a radial direction thereof and is close to an end surface of the outer race opposite to the rotor chamber side.
  • the end wall portion of the first end wall extends radially outward from the wall surface of the cylindrical hole and opens to the outer peripheral surface of the end wall portion to the atmosphere. There may be radial holes in communication. As a result, even if the grease leaks from the radial bearing toward the rotor chamber, the grease can be discharged to the outside before reaching the rotor chamber.
  • an air supply opening for supplying compressed air into the rotor chamber is provided so as to open at a substantially central position in the axial direction of the cylindrical wall on the cylindrical inner peripheral surface. Can do. This makes it possible to avoid the inclination of the vane due to the pressure difference of the compressed air blown into the rotor chamber when the above-described air supply openings are provided at both ends of the cylindrical wall of the rotor chamber. Uniform wear can be reduced.
  • the present invention also provides A motor housing having a cylindrical wall having a cylindrical inner peripheral surface, first and second end walls attached to both ends of the cylindrical wall, and having a rotor chamber inside;
  • a rotor that is rotatable about a rotation axis that is parallel to the central axis of the cylindrical inner peripheral surface and spaced from the central axis, the rotor being rotatable along the rotation axis.
  • a rotor comprising an output shaft extending through the two end walls, and a support shaft extending into the first end wall;
  • Have Compressed air is supplied into the rotor chamber, the rotor is rotationally driven by the compressed air, and the compressed air that has finished rotating the rotor is discharged out of the rotor chamber through a plurality of air discharge openings that open to the cylindrical inner peripheral surface.
  • Vane type air motor First and second radial bearings attached to the first and second end walls, respectively, for rotatably supporting the support shaft portion and the output shaft portion;
  • a casing connected to the motor housing to form a compressed air supply chamber together with the first end wall, and to supply compressed air into the rotor chamber through the first end wall;
  • Have The first end wall is An inner end surface that contacts the end surface of the cylindrical wall and defines the rotor chamber together with a cylindrical inner peripheral surface of the cylindrical wall, an outer end surface opposite to the axial direction of the rotor, and the first end wall. And an end wall portion having a cylindrical hole through which the support shaft portion of the rotor passes.
  • a cylindrical wall portion extending from the outer end surface into the compressed air supply chamber in a direction opposite to the rotor chamber and defining a bearing storage recess for storing the first radial bearing, the outer wall of the first radial bearing
  • An inner race having an inner peripheral surface on which an outer peripheral surface is fitted and fixed, and the first radial bearing is fitted and fixed to the outer race and the outer peripheral surface of the support shaft portion coaxially with the outer race.
  • a cylindrical wall portion configured to include a plurality of rolling members provided between the outer race and the inner race, A ventilation groove extending from the end surface of the cylindrical wall portion to the outer end surface of the end wall portion along the inner peripheral surface;
  • the air discharge openings are arranged such that adjacent air discharge openings in the axial direction overlap each other when viewed in the circumferential direction of the motor housing;
  • a vane type air motor in which an air supply opening for supplying compressed air into a rotor chamber is provided at a substantially central position in the axial direction of the cylindrical wall on the cylindrical inner peripheral surface.
  • the air supply opening is provided so as to open at a substantially central position of the cylindrical wall on the cylindrical inner peripheral surface of the rotor chamber.
  • the vane can be prevented from being inclined by the compressed air supplied from the air supply opening.
  • the ventilation groove it is possible to apply the pressure of the compressed air equally to both ends in the axial direction of the first radial bearing, and the grease is transferred from the first radial bearing generated in the conventional vane air motor to the rotor chamber.
  • FIG. 6 is an end view of the first end wall of FIG. 5. It is a principal part expanded sectional view which shows the vane in the vane type air motor of FIG. 1, and the vane accommodation groove
  • FIG. 1 shows a pneumatic grinder (polishing machine) 12 equipped with a vane type air motor 10 according to the present invention.
  • the vane air motor 10 includes a cylindrical wall 14 having a cylindrical inner peripheral surface 11 and first and second end walls 16 and 18 provided at both ends of the cylindrical wall, and a rotor chamber 19 is formed therein.
  • a support shaft 28 and an output shaft 26 are supported by the second end wall, and a governor 30 is attached to the end of the support shaft 28.
  • the output shaft portion 26 is drivingly connected to a rotating shaft 36 of a disc-shaped polishing member 32 via a bevel gear 34.
  • the rotary shaft 36, the vane air motor 10, and the governor 30 are housed in a casing 38 including a plurality of casing parts 38-1 to 38-3 of the pneumatic grinder.
  • the casing part 38-3 is adapted to receive compressed air via a hose 40 connected to an air pump (not shown), and the received compressed air passes through the communication hole 42 penetrating the casing part 38-2.
  • a compressed air supply chamber 44 formed around the governor 30 by the casing part 38-2 and the first end wall 16 is supplied to the compressed air supply chamber 44, and this compressed air is further shown in the drawings of the first end wall 16 and the cylindrical wall 14.
  • the air is supplied to the rotor chamber via the air supply holes 46 and 48 provided at the upper position, and acts on the vane 24 to rotate the rotor 22 and to rotate the polishing member 32.
  • the compressed air that has acted on the vane 24 is discharged out of the casing through the exhaust hole 49 and an exhaust passage provided in the casing (not shown).
  • FIG. 1 One feature of the vane type air motor according to the present invention is the arrangement of the air discharge opening 50 of the exhaust hole 49 provided in the cylindrical wall 14 of the rotor housing 20 and opening in the rotor chamber 19, which is shown in FIG. And it demonstrates based on FIG. In FIG. 1, the air supply holes 48 and the exhaust holes 49 are drawn so as to face each other in the diametrical direction for explanation, but actually, as can be seen from FIG. A plurality of exhaust holes 49 are provided at intervals in the circumferential direction of the cylindrical wall, and a plurality of exhaust holes 49 are provided at positions shifted from the opposing positions in the diameter direction.
  • the air supply hole 48 communicates with the rotor chamber 19 through one common air supply opening 61 (FIG. 1) provided so as to extend in the circumferential direction at a substantially central position in the axial direction of the cylindrical wall 14. .
  • the air discharge openings 50 of the exhaust holes 49 are provided in the arrangement shown in FIG. 3 in the left half instead of the substantially right half where the air supply openings 61 are provided, as viewed in FIG.
  • these air discharge openings 50 are provided at the substantially central position in the axial direction of the cylindrical wall 14 and are provided with one large-diameter air discharge opening 50-1 at an upper position as viewed in FIG.
  • Each of the three small-diameter air discharge openings 50-2 is arranged so as to form a coasting shape as a whole, and an additional large-diameter air discharge opening 50-3 is formed at a lower position as viewed in FIG. Has been.
  • air discharge openings 50 An important point in the arrangement of the air discharge openings 50 is that the air discharge openings 50 adjacent to each other in the axial direction of the cylindrical wall are spaced apart from each other. This means that the air discharge openings 50 are continuously provided over a certain length range in the axial direction of the rotor chamber as viewed in the circumferential direction. It is that. In short, with such an arrangement, the tip edge of the vane can be evenly worn over this fixed length range.
  • a plurality of air discharge openings are arranged so as to overlap each other even when viewed in the axial direction. This is because the opening area of the air discharge opening through which the vane rotates and the compressed air that has finished rotating the rotor is discharged to the air discharge opening smoothly increases or decreases as a whole.
  • the present invention also has the following characteristics.
  • the first end wall 16 has a cylindrical hole 60 that communicates with the rotor chamber 19 and passes the support shaft portion 28, and the cylindrical hole on the side opposite to the rotor chamber 19.
  • a bearing housing recess 62 that is connected is formed, and a radial bearing 51 is set in the bearing housing recess 62.
  • the radial bearing 51 includes an inner race 52 fixed around the support shaft portion 28, an outer race 54 fixed in the bearing housing recess 62 on the radially outer side of the inner race, and the inner race and the outer race.
  • the support shaft portion 28 is rotatably supported.
  • the second end wall 18 is also formed in the same manner, and has a cylindrical hole 64 through which the output shaft portion 26 passes, a bearing housing portion 66, and a radial bearing 68.
  • the governor 30 includes a shaft-like rotating member 70 that is coaxially fixed to the end of the support shaft portion 28, and a sleeve 72 that is slidably provided around the shaft-like rotating member.
  • a pin 74 provided so as to penetrate the sleeve 72 and the shaft-like rotary member 70 in a diametrical direction, and is set between the pin 74 and the sleeve 72 to bias the sleeve 72 to the left as viewed in the figure.
  • the coil spring 76 is pressed in the radial direction by the biasing force.
  • a disc spring 80 is set at a position adjacent to the right end surface of the shaft-like rotating member 70 so as to cross near the right end of the compressed air supply chamber 44, and the casing part 38-2 communicates with the center of the disc spring.
  • An air introduction hole 82 for introducing the compressed air that has passed through the hole 42 into the compressed air supply chamber 44 is formed.
  • the air introduction hole of the disc spring is formed. 82 is blocked, the supply of compressed air to the rotor chamber is suppressed, and thereby the rotation of the rotor is suppressed.
  • the axially rotating member 70 of the governor 30 is provided with a flange 86 extending in the radial direction, and the surface toward the radial bearing 51 is made close to the end surface of the outer race 54 of the radial bearing, so that the compressed air
  • the pressure of the compressed air in the supply chamber 44 is reduced and applied to the inside of the radial bearing, thereby suppressing the grease of the radial bearing from being pushed out toward the rotor chamber.
  • the following means is further provided for preventing the grease in the radial bearing 51 from being pushed out to the rotor chamber side due to the influence of the compressed air in the compressed air supply chamber 44.
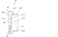
  • the first end wall 16 abuts the end surface of the cylindrical wall 14 and defines the rotor chamber 19 together with the cylindrical inner peripheral surface of the cylindrical wall 14. -1 and an outer end face 16-2 opposite to the end wall 16-3, and a cylindrical wall 16-4 extending in an axial direction from the end wall 16-3 to define a bearing housing recess 62. And has a ventilation groove 16-5 extending from the end surface of the cylindrical wall portion 16-4 to the outer end surface 16-2 of the end wall portion 16-3 along the inner peripheral surface, and through the ventilation groove 16-5.
  • the air pressure of the compressed air supply chamber 44 is passed through the rotor chamber side of the radial bearing 51.
  • annular recess 16-6 formed in the outer end surface 16-2 of the end wall portion 16-3 and formed in the outer end surface 16-2 around the cylindrical hole 60, and the outer end surface of the end wall portion. It has a pair of radial recesses 16-7 formed in 16-2 and extending in a radial direction from the annular recess 16-6 and communicating with the ventilation groove 16-5.
  • the air pressure in the compressed air supply chamber 44 is applied to the front and rear of the radial bearing 51 (that is, the rotor chamber side and the compressed air supply chamber side), and grease is transferred from the radial bearing to the rotor chamber. It suppresses being pushed out to the side.
  • a radial hole 84 extending in the radial direction from the cylindrical hole 60 of the end wall portion 16-3 of the first end wall 16 and opening in the outer peripheral surface of the end wall portion is provided.
  • the grease slightly pushed out from the nozzle flows through the radial hole 84 to the outside of the cylindrical wall having the rotor chamber.
  • the vane type air motor 10 by adopting such a structure, it is possible to prevent the leakage of the radial bearing grease into the rotor chamber, which has occurred in the conventional vane type air motor.
  • the vane 24 rotates while the tip edge 24-1 slides on the cylindrical inner peripheral surface 11 of the rotor housing as the rotor 22 rotates, so that a force as indicated by an arrow A is applied to the vane.
  • the vane enters and exits the vane storage groove 21 in the radial direction while being slightly inclined in the rotational direction. Therefore, the side surface of the vane slides while being pressed against the opening edge 21-1 of the vane storage groove, and the side surface is worn, and even if slight, the side surface is swollen. Become. When such erosion occurs, cracks are likely to occur due to the impact of the vane on the rotation.
  • the wall surface of the vane storage groove is a mirror finish or a surface close thereto.
  • the embodiment of the vane motor according to the present invention has been described.
  • the air supply opening 61 is opened at a substantially central position of the cylindrical wall on the cylindrical inner peripheral surface of the rotor chamber. Therefore, in the above-described conventional vane type air motor, the vane is inclined by the compressed air supplied from the air supply opening as in the case where the air supply openings are provided at both ends in the axial direction of the rotor chamber. It can be avoided. Further, by providing the ventilation groove 16-5, it is possible to apply the pressure of the compressed air equally to both ends in the axial direction of the first radial bearing, and the grease for the first radial bearing generated in the conventional vane type air motor.
  • the vane tip edge can be prevented from being pushed into the rotor chamber and coming into contact with the vane and causing the vane tip edge to tilt. That is, it becomes possible to reduce wear and breakage of the end portion of the vane tip edge caused by rotating the vane tip edge in an inclined state. Further, when the vane is rotated in a state where there is no inclination, non-uniform wear tends to occur at the vane tip edge due to the relationship with the air exhaust opening 50.
  • the air exhaust opening is arranged in the circumferential direction. The non-uniform wear can be reduced by providing them so as to overlap each other.
  • the opening edge of the vane storage groove is rounded to make the wall surface of the groove a smooth surface, thereby further reducing wear and impact on the vane due to rotation.
  • this vane type motor it is possible to eliminate the cause of vane wear and breakage caused by various factors in the conventional motor and to greatly improve the durability thereof. .
  • the present invention is not limited to this, and various modifications can be made.
  • the arrangement of the air exhaust openings is mutually in the circumferential direction of the cylindrical wall 14.

Landscapes

  • Engineering & Computer Science (AREA)
  • Mechanical Engineering (AREA)
  • General Engineering & Computer Science (AREA)
  • Rotary Pumps (AREA)
  • Hydraulic Motors (AREA)
PCT/JP2010/050020 2009-01-08 2010-01-05 ベーン式エアモータ Ceased WO2010079776A1 (ja)

Priority Applications (4)

Application Number Priority Date Filing Date Title
KR1020137017557A KR101530796B1 (ko) 2009-01-08 2010-01-05 베인식 에어 모터
CN2010800079920A CN102317575B (zh) 2009-01-08 2010-01-05 叶片式气动马达
EP10729196.5A EP2378062B1 (en) 2009-01-08 2010-01-05 Vane-type air motor
US13/176,879 US8439662B2 (en) 2009-01-08 2011-07-06 Vane air motor

Applications Claiming Priority (2)

Application Number Priority Date Filing Date Title
JP2009-002313 2009-01-08
JP2009002313A JP4964254B2 (ja) 2009-01-08 2009-01-08 ベーン式エアモータ

Related Child Applications (1)

Application Number Title Priority Date Filing Date
US13/176,879 Continuation US8439662B2 (en) 2009-01-08 2011-07-06 Vane air motor

Publications (1)

Publication Number Publication Date
WO2010079776A1 true WO2010079776A1 (ja) 2010-07-15

Family

ID=42316542

Family Applications (1)

Application Number Title Priority Date Filing Date
PCT/JP2010/050020 Ceased WO2010079776A1 (ja) 2009-01-08 2010-01-05 ベーン式エアモータ

Country Status (7)

Country Link
US (1) US8439662B2 (enExample)
EP (1) EP2378062B1 (enExample)
JP (1) JP4964254B2 (enExample)
KR (2) KR20110102425A (enExample)
CN (1) CN102317575B (enExample)
TW (1) TWI400140B (enExample)
WO (1) WO2010079776A1 (enExample)

Families Citing this family (6)

* Cited by examiner, † Cited by third party
Publication number Priority date Publication date Assignee Title
JP4866921B2 (ja) * 2009-01-08 2012-02-01 日東工器株式会社 ベーン式エアモータ
JP5959251B2 (ja) * 2012-03-19 2016-08-02 日東工器株式会社 円柱状材料に形成した溝の開口縁角部分のr面取り工具
JP5926586B2 (ja) * 2012-03-19 2016-05-25 日東工器株式会社 ベーン収納溝を有するロータの形成方法及びその方法によるロータを備えた回転流体装置
US9954418B2 (en) * 2014-03-17 2018-04-24 Makita Corporation Power tool
JP6420644B2 (ja) 2014-11-28 2018-11-07 日東工器株式会社 ベーン式エアモータ及びベーン式エアモータを備えるエア工具
CN114320476B (zh) * 2022-01-05 2023-04-21 苏州明志科技股份有限公司 一种叶片式气动马达

Citations (4)

* Cited by examiner, † Cited by third party
Publication number Priority date Publication date Assignee Title
JPS49111648U (enExample) * 1973-01-22 1974-09-24
JPS5634905A (en) 1979-08-27 1981-04-07 Yoshio Niwa Device for starting and stopping air motor and increasing its torque
JP2001009695A (ja) 1999-06-29 2001-01-16 Fuji Kuki Kk 安全装置を備えたエアツール
JP2007535639A (ja) * 2004-04-30 2007-12-06 ジ アンスパック エフォート,インコーポレイテッド 外科用空気圧モータ

Family Cites Families (13)

* Cited by examiner, † Cited by third party
Publication number Priority date Publication date Assignee Title
US3460437A (en) * 1967-01-03 1969-08-12 Earl G Roggenburk Rotary fluid displacement machine with unitary end plate and bearing construction
US3734652A (en) * 1970-10-26 1973-05-22 Stryker Corp Pneumatically powered device
US3700363A (en) * 1971-02-04 1972-10-24 Gardner Denver Co Low inertia motor for fluid operated tool
JPS5121088B2 (enExample) * 1972-02-19 1976-06-30
US3901631A (en) * 1974-03-19 1975-08-26 Black & Decker Mfg Co Pneumatic motor and housing assembly
DE3106028A1 (de) * 1981-02-19 1982-09-02 Robert Bosch Gmbh, 7000 Stuttgart Fluegelzellenmotor fuer rechts- links-lauf
US4631012A (en) * 1982-09-29 1986-12-23 Dresser Industries, Inc. Pneumatic tools
US5017109A (en) * 1990-01-26 1991-05-21 Ingersoll-Rand Company Cylinder and housing assembly for pneumatic tool
JP2723211B2 (ja) * 1994-08-09 1998-03-09 ユーエイチティー株式会社 エアーモータ
AU2003240343A1 (en) * 2002-07-12 2004-02-02 Suhner Intertrade Ag Compressed-air operated rotary vane motor
US7527486B2 (en) * 2004-04-30 2009-05-05 The Anspach Effort, Inc Surgical pneumatic motor for use with MRI
US20060075989A1 (en) * 2004-04-30 2006-04-13 Vanderbilt University High efficiency hot gas vane actuator
TWM306283U (en) * 2006-08-16 2007-02-11 Soartec Co Ltd Pneumatic motor with improved sealing cover

Patent Citations (4)

* Cited by examiner, † Cited by third party
Publication number Priority date Publication date Assignee Title
JPS49111648U (enExample) * 1973-01-22 1974-09-24
JPS5634905A (en) 1979-08-27 1981-04-07 Yoshio Niwa Device for starting and stopping air motor and increasing its torque
JP2001009695A (ja) 1999-06-29 2001-01-16 Fuji Kuki Kk 安全装置を備えたエアツール
JP2007535639A (ja) * 2004-04-30 2007-12-06 ジ アンスパック エフォート,インコーポレイテッド 外科用空気圧モータ

Also Published As

Publication number Publication date
TWI400140B (zh) 2013-07-01
KR20110102425A (ko) 2011-09-16
US20110262292A1 (en) 2011-10-27
JP2010159689A (ja) 2010-07-22
CN102317575B (zh) 2013-12-04
EP2378062A4 (en) 2016-06-08
TW201039977A (en) 2010-11-16
KR20130084703A (ko) 2013-07-25
US8439662B2 (en) 2013-05-14
KR101530796B1 (ko) 2015-06-22
JP4964254B2 (ja) 2012-06-27
CN102317575A (zh) 2012-01-11
EP2378062A1 (en) 2011-10-19
EP2378062B1 (en) 2017-12-06

Similar Documents

Publication Publication Date Title
JP4964254B2 (ja) ベーン式エアモータ
TWI429521B (zh) Rotating drive pneumatic tools
JPH07167079A (ja) 貯蔵容器から自動車の内燃機関に燃料を供給するための装置
JP2011032892A (ja) トロコイド式回転ポンプ
JP5964042B2 (ja) スクロール型圧縮機
JP2010127223A (ja) 車載用圧縮機
CN102317574B (zh) 叶片式气动马达
JP5702253B2 (ja) ベーンポンプ
JP2014034905A (ja) 可変容量型ベーンポンプ
JP5897946B2 (ja) 可変容量型ポンプ
JP5103305B2 (ja) ポンプ装置
JP2016196889A (ja) スクロール型圧縮機
US10415565B2 (en) Vane cell machine
KR101851537B1 (ko) 연료 펌프
JPH0791379A (ja) 可変容量型ベーンポンプ
JP4976827B2 (ja) ベーンポンプ
JPH03275994A (ja) 可変容量型ベーンポンプ
JP2004257357A (ja) ベーン式バキュームポンプ
JPH06101660A (ja) スクロール式流体機械
JP2009138672A (ja) ベーンポンプ
JP2007023991A (ja) オイルポンプ

Legal Events

Date Code Title Description
WWE Wipo information: entry into national phase

Ref document number: 201080007992.0

Country of ref document: CN

121 Ep: the epo has been informed by wipo that ep was designated in this application

Ref document number: 10729196

Country of ref document: EP

Kind code of ref document: A1

WWE Wipo information: entry into national phase

Ref document number: 2010729196

Country of ref document: EP

ENP Entry into the national phase

Ref document number: 20117015664

Country of ref document: KR

Kind code of ref document: A

NENP Non-entry into the national phase

Ref country code: DE