RU2404113C1 - Устройство для изменения вылета стрелы подъемно-транспортного средства (варианты) - Google Patents
Устройство для изменения вылета стрелы подъемно-транспортного средства (варианты) Download PDFInfo
- Publication number
- RU2404113C1 RU2404113C1 RU2009119270/11A RU2009119270A RU2404113C1 RU 2404113 C1 RU2404113 C1 RU 2404113C1 RU 2009119270/11 A RU2009119270/11 A RU 2009119270/11A RU 2009119270 A RU2009119270 A RU 2009119270A RU 2404113 C1 RU2404113 C1 RU 2404113C1
- Authority
- RU
- Russia
- Prior art keywords
- boom
- rod
- hydraulic cylinder
- pivotally connected
- base
- Prior art date
Links
- 230000000694 effects Effects 0.000 abstract description 2
- BCSVCWVQNOXFGL-UHFFFAOYSA-N 3,4-dihydro-4-oxo-3-((5-trifluoromethyl-2-benzothiazolyl)methyl)-1-phthalazine acetic acid Chemical compound O=C1C2=CC=CC=C2C(CC(=O)O)=NN1CC1=NC2=CC(C(F)(F)F)=CC=C2S1 BCSVCWVQNOXFGL-UHFFFAOYSA-N 0.000 abstract 1
- 239000000126 substance Substances 0.000 abstract 1
- 239000012530 fluid Substances 0.000 description 8
- 230000007423 decrease Effects 0.000 description 4
- 238000000034 method Methods 0.000 description 3
- 238000005096 rolling process Methods 0.000 description 2
- 238000010586 diagram Methods 0.000 description 1
- ZZUFCTLCJUWOSV-UHFFFAOYSA-N furosemide Chemical compound C1=C(Cl)C(S(=O)(=O)N)=CC(C(O)=O)=C1NCC1=CC=CO1 ZZUFCTLCJUWOSV-UHFFFAOYSA-N 0.000 description 1
- 230000007246 mechanism Effects 0.000 description 1
- 238000005728 strengthening Methods 0.000 description 1
Images
Landscapes
- Jib Cranes (AREA)
Abstract
Изобретение относится к подъемно-транспортному оборудованию и может быть использовано для изменения вылета стрелы крана, манипулятора и аналогичных грузоподъемных машин и механизмов. Устройство для изменения вылета стрелы подъемно-транспортного средства в первом варианте установлено на связанных между собой посредством опорного шарнира стреле и основании и содержит гидроцилиндр, шарнирно соединенный со штангой, один конец которой шарнирно закреплен на основании, а второй конец соединен с ползуном, выполненным с возможностью перемещения по направляющим, которые закреплены на стреле и выполнены с криволинейным профилем. Устройство для изменения вылета стрелы подъемно-транспортного средства во втором варианте установлено на связанных между собой посредством опорного шарнира стреле и основании и содержит гидроцилиндр, шарнирно соединенный со штангой, один конец которой шарнирно закреплен на стреле, а второй конец соединен с ползуном, выполненным с возможностью перемещения по направляющим, которые выполнены с криволинейным профилем и закреплены на основании. Достигается снижение мощности привода стрелы подъемно-транспортного средства и увеличение эффективности ее использования в процессе поворота стрелы во время подъема или опускания. 2 н. и 8 з.п. ф-лы, 9 ил.
Description
Изобретение относится к подъемно-транспортному оборудованию и может быть использовано для изменения вылета стрелы крана, манипулятора и аналогичных грузоподъемных машин и механизмов.
Известен навесной универсальный манипулятор ЛВ-185, устройство для изменения вылета стрелы которого выполнено в виде гидроцилиндра, шарнирно соединенного со стрелой и основанием манипулятора (Е.И.Миронов и др. Машины и оборудование лесозаготовок. Справочник. М.: Лесная промышленность, 1990, с.269).
Недостатком известного устройства является повышенная мощность привода стрелы манипулятора, обусловленная необходимостью создания больших усилий со стороны исполнительного механизма, которым является гидроцилиндр, для обеспечения поворотов стрелы при подъеме или опускании груза. Известно, что мощность привода стрелы манипулятора выбирается из условия обеспечения его заданной максимальной грузоподъемности при заданном максимальном вылете стрелы. Снижения силы, действующей со стороны штока гидроцилиндра на стрелу, а следовательно, снижения мощности привода в данной конструкции можно достичь только путем изменения места приложения подъемной силы к стреле, т.е. за счет смещения начального положения опорного шарнира силового гидроцилиндра на стреле к концу стрелы, и путем изменения места крепления опорного шарнира гидроцилиндра на основании, удаляя его от шарнира, соединяющего стрелу с основанием, и увеличивая, таким образом, плечо воздействия подъемной силы на стрелу относительно ее опорного шарнира. Однако такое изменение конструкции приводит к необходимости использования гидроцилиндра большей длины, т.е. гидроцилиндра с увеличенным рабочим ходом его штока, что предполагает усиление конструктивных элементов гидроцилиндра, а значит, изменение параметров его конструкции, которые, в свою очередь, ограничены параметрами конструкции манипулятора в целом. Таким образом, достичь максимального снижения мощности привода стрелы манипулятора, не изменяя его конструктивных параметров, практически невозможно. Кроме того, не менее значимым условием выбора начального положения опорных шарниров гидроцилиндра на стреле и основании манипулятора является обеспечение максимального использования мощности привода стрелы во всем диапазоне ее движения при подъеме или опускании. Известно, что изменение суммарного момента сил, действующих со стороны груза и стрелы на силовой гидроцилиндр при повороте стрелы в процессе ее подъема или опускания, происходит по синусоидальному закону и зависит от угла наклона стрелы относительно горизонтальной плоскости. Аналогичным образом изменяется и момент силы, действующей на стрелу манипулятора со стороны штока гидроцилиндра. Однако шарнирные опоры стрелы и гидроцилиндра конструктивно имеют разные координаты, что обусловливает разницу величин рассматриваемых моментов сил в сравнении друг с другом в процессе поворота стрелы в каждый момент времени. В результате обеспечить постоянное использование максимальной мощности привода стрелы в процессе ее подъема или опускания, которая требуется для обеспечения движения стрелы из положения максимального вылета при максимальной нагрузке, в данной конструкции, где существуют ограничения, обусловленные особенностями кинематической схемы и конструктивными параметрами, даже теоретически не представляется возможным, так как положение опорных шарниров гидроцилиндра на стреле и основании манипулятора относительно оси опорного шарнира стрелы остается неизменным в процессе ее поворота.
Наиболее близким аналогом, принятым за прототип в первом варианте, является устройство для поворота и изменения вылета стрелы крана (А.с. №988753, з. 11.06.81 г.; оп. 15.01.83 г.), установленное на связанных между собой посредством опорного шарнира стреле и основании. Устройство содержит гидроцилиндр, элемент для соединения стрелы с основанием, выполненный в виде двух гидроцилиндров, связанных между собой шарниром, совмещенным с ползуном. Ползун выполнен с возможностью перемещения по направляющим, которые закреплены на стреле.
Наиболее близким аналогом, принятым за прототип во втором варианте, также является устройство для поворота и изменения вылета стрелы крана (А.с. №988753, з. 11.06.81 г.; оп. 15.01.83 г.), установленное на связанных между собой посредством опорного шарнира стреле и основании. Устройство содержит гидроцилиндр, элемент для соединения стрелы с основанием, выполненный в виде двух гидроцилиндров, связанных между собой шарниром. Шарнир совмещен с ползуном, который выполнен с возможностью перемещения по направляющим.
Недостатком известного устройства, несмотря на наличие в его конструкции смонтированных на стреле направляющих с установленным в них ползуном и гидроцилиндра, связанного одним концом с опорным шарниром стрелы, а другим - с ползуном и обеспечивающего движение ползуна в направляющих вдоль стрелы, также является повышенная мощность привода стрелы крана. Это обусловлено тем, что в данном устройстве отсутствует какая-либо зависимость между работой гидроцилиндра, перемещающего ползун по направляющим, и работой двух гидроцилиндров, установленных на основании крана под углом друг к другу и связанных между собой шарниром, расположенным на стреле, а это означает, что кинематическая схема устройства, принятого за прототип, по сути идентична схеме устройства, принятого в качестве аналога, и отличается от нее только тем, что сила, действующая со стороны стрелы с грузом, распределяется на три гидроцилиндра, которые в совокупности и обеспечивают подъем или опускание стрелы. Кроме того, изменением в каждый момент времени движения стрелы положения точки приложения результирующей движущей силы, действующей на стрелу со стороны двух гидроцилиндров, установленных под углом друг к другу и закрепленных на основании крана, за счет перемещения ползуна по направляющим в принципе невозможно обеспечить постоянное значение величины действующего на стрелу момента силы во всем диапазоне амплитуды ее поворота при подъеме или опускании, так как направляющие выполнены с прямолинейным профилем. Таким образом, недостатком этого устройства также является отсутствие возможности полного использования мощности привода стрелы во всем диапазоне амплитуды ее подъема или опускания.
Задачей, на решение которой направлено заявляемое изобретение, является снижение мощности привода стрелы подъемно-транспортного средства и увеличение эффективности ее использования в процессе поворота стрелы во время подъема или опускания.
Для решения поставленной задачи в первом варианте устройства для изменения вылета стрелы подъемно-транспортного средства, установленного на связанных между собой посредством опорного шарнира стреле и основании, содержащего гидроцилиндр, элемент для соединения основания и стрелы, один конец которого шарнирно закреплен на основании, а второй конец соединен с ползуном, выполненным с возможностью перемещения по направляющим, закрепленным на стреле, согласно изобретению элемент для соединения стрелы с основанием выполнен в виде штанги, шарнирно соединенной с одной взаимоподвижной частью гидроцилиндра, а направляющие выполнены с криволинейным профилем.
Гидроцилиндр одной своей взаимоподвижной частью шарнирно связан со штангой в ее крайней части.
Возможен пример выполнения устройства, при котором гидроцилиндр одной своей взаимоподвижной частью шарнирно связан со штангой в ее срединной части.
Гидроцилиндр выполнен с возможностью соединения второй своей взаимоподвижной частью с опорным шарниром.
Возможен пример выполнения устройства, при котором оно снабжено узлом, размещенным на стреле и шарнирно соединенным со второй взаимоподвижной частью гидроцилиндра.
Для решения поставленной задачи во втором варианте устройства для изменения вылета стрелы подъемно-транспортного средства, установленного на связанных между собой посредством опорного шарнира стреле и основании, содержащего гидроцилиндр, элемент для соединения основания и стрелы, один конец которого соединен с ползуном, выполненным с возможностью перемещения по направляющим, согласно изобретению направляющие выполнены с криволинейным профилем и закреплены на основании, а элемент для соединения стрелы с основанием выполнен в виде штанги, шарнирно соединенной с одной взаимоподвижной частью гидроцилиндра, при этом второй конец штанги шарнирно закреплен на стреле.
Гидроцилиндр одной своей взаимоподвижной частью шарнирно связан со штангой в ее крайней части.
Возможен пример выполнения устройства, при котором гидроцилиндр одной своей взаимоподвижной частью шарнирно связан со штангой в ее срединной части.
Гидроцилиндр выполнен с возможностью соединения второй своей взаимоподвижной частью с опорным шарниром.
Возможен пример выполнения устройства, при котором оно снабжено узлом, размещенным на основании и шарнирно соединенным со второй взаимоподвижной частью гидроцилиндра.
Изобретение поясняется чертежами.
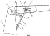
На фиг.1 изображено устройство для изменения вылета стрелы подъемно-транспортного средства, в котором направляющие закреплены на стреле, а гидроцилиндр одной своей взаимоподвижной частью закреплен на опорном шарнире, а второй шарнирно соединен со штангой в ее крайней части, соединенной с ползуном, размещенным в направляющих, общий вид (вариант 1).
На фиг.2 изображено устройство для изменения вылета стрелы подъемно-транспортного средства, в котором направляющие закреплены на стреле, а гидроцилиндр одной своей взаимоподвижной частью закреплен на опорном шарнире, а второй шарнирно соединен со штангой в ее срединной части, при этом штанга соединена с ползуном, размещенным в направляющих (вариант 1).
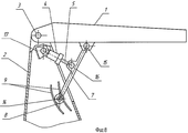
На фиг.3 изображено устройство для изменения вылета стрелы подъемно-транспортного средства, в котором гидроцилиндр одной своей взаимоподвижной частью соединен со штангой в ее крайней части и ползуном, установленным в направляющих, которые смонтированы на стреле, а второй шарнирно закреплен на узле, размещенном на стреле (вариант 1).
На фиг.4 изображено устройство для изменения вылета стрелы подъемно-транспортного средства, в котором гидроцилиндр одной своей взаимоподвижной частью шарнирно соединен со штангой в ее срединной части, а второй шарнирно закреплен на узле, размещенном на стреле, при этом направляющие смонтированы на стреле (вариант 1).
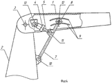
На фиг.5 изображено устройство для изменения вылета стрелы подъемно-транспортного средства, в котором направляющие закреплены на основании, а гидроцилиндр одной своей взаимоподвижной частью закреплен на опорном шарнире, а второй шарнирно соединен со штангой в ее крайней части, соединенной с ползуном, размещенным в направляющих, общий вид (вариант 2).
На фиг.6 изображено устройство для изменения вылета стрелы подъемно-транспортного средства, в котором направляющие закреплены на основании, а гидроцилиндр одной своей взаимоподвижной частью закреплен на опорном шарнире, а второй шарнирно соединен со штангой в ее срединной части, при этом штанга соединена с ползуном, размещенным в направляющих (вариант 2).
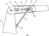
На фиг.7 изображено устройство для изменения вылета стрелы подъемно-транспортного средства, в котором гидроцилиндр одной своей взаимоподвижной частью соединен со штангой в ее крайней части и ползуном, установленным в направляющих, которые смонтированы на основании, а второй шарнирно закреплен на узле, размещенном на основании (вариант 2).
На фиг.8 изображено устройство для изменения вылета стрелы подъемно-транспортного средства, в котором гидроцилиндр одной своей взаимоподвижной частью шарнирно соединен со штангой в ее срединной части, а второй шарнирно закреплен на узле, размещенном на основании, при этом направляющие смонтированы на основании (вариант 2).
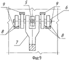
На фиг.9 изображено устройство для изменения вылета стрелы подъемно-транспортного средства, разрез А-А на фиг.1.
Устройство для изменения вылета стрелы подъемно-транспортного средства в первом варианте (фиг.1) установлено на стреле 1 и основании 2, которые связаны между собой посредством опорного шарнира 3. Устройство содержит гидроцилиндр, у которого одна взаимоподвижная часть - корпус 4 с гильзой - соединена с опорным шарниром 3, а другая взаимоподвижная часть - шток 5 - посредством оси 6 шарнирно связана с одним концом элемента 7 для соединения стрелы с основанием, который выполнен в виде штанги. Ось 6 связана с ползуном 8, выполненным, например, в виде закрепленных на оси подшипников. Ползун 8 установлен с возможностью перемещения в направляющих 9, жестко закрепленных на стреле 1. Направляющие выполнены с криволинейным профилем. Второй конец штанги 7 шарнирно связан с основанием 2 посредством оси 10.
Возможен пример выполнения заявляемого устройства (фиг.2), при котором гидроцилиндр корпусом 4 соединен с опорным шарниром 3, а штоком 5 шарнирно соединен со штангой 7 в ее срединной части посредством оси 11. При этом один конец штанги 7 шарнирно связан с основанием 2 посредством оси 10, а другой шарнирно соединен посредством оси 12 с ползуном 8, размещенным с возможностью перемещения в направляющих 9 с криволинейным профилем, которые жестко закреплены на стреле 1.
Возможен пример выполнения устройства (фиг.3), при котором стрела 1 снабжена узлом 13, шарнирно соединенным с корпусом 4 гидроцилиндра, шток 5 которого посредством оси 6 шарнирно связан с одним концом штанги 7, второй конец которой шарнирно соединен с основанием 2 посредством оси 10. Ось 6 связана с ползуном 8, который установлен с возможностью перемещения в направляющих 9 с криволинейным профилем, жестко закрепленных на стреле 1.
Возможен пример выполнения устройства (фиг.4), при котором стрела 1 снабжена узлом 13, шарнирно соединенным с корпусом 4 гидроцилиндра, шток 5 которого шарнирно соединен со штангой 7 в срединной ее части посредством оси 11, при этом один конец штанги 7 шарнирно связан с основанием 2 посредством оси 10, а другой шарнирно соединен посредством оси 12 с ползуном 8, размещенным с возможностью перемещения в направляющих 9 с криволинейным профилем, которые жестко закреплены на стреле 1.
Устройство для изменения вылета стрелы подъемно-транспортного средства во втором варианте (фиг.5) установлено на стреле 1 и основании 2, которые связаны между собой посредством опорного шарнира 3. Устройство содержит гидроцилиндр, у которого одна взаимоподвижная часть - корпус 4 с гильзой - соединена с опорным шарниром 3, а другая взаимоподвижная часть - шток 5 - посредством оси 14 шарнирно связана с одним концом штанги 7. Ось 14 связана с ползуном 8, который установлен с возможностью перемещения в направляющих 9, жестко закрепленных на основании 2. Направляющие выполнены с криволинейным профилем. Второй конец штанги 7 шарнирно связан со стрелой 1 посредством оси 15.
Возможен пример выполнения заявляемого устройства (фиг.6), при котором гидроцилиндр корпусом 4 соединен с опорным шарниром 3, а штоком 5 шарнирно соединен со штангой 7 в ее срединной части посредством оси 16. При этом один конец штанги 7 шарнирно связан со стрелой 1 посредством оси 15, а другой посредством оси 14 шарнирно соединен с ползуном 8, размещенным с возможностью перемещения в направляющих 9 с криволинейным профилем, которые жестко закреплены на основании 2.
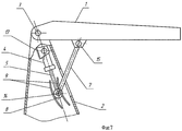
Возможен пример выполнения устройства (фиг.7), при котором основание 2 снабжено узлом 17, шарнирно соединенным с корпусом 4 гидроцилиндра, шток 5 которого посредством оси 14 шарнирно связан с одним концом штанги 7, второй конец которой шарнирно соединен со стрелой 1 посредством оси 15. Ось 14 связана с ползуном 8, который установлен с возможностью перемещения в направляющих 9 с криволинейным профилем, жестко закрепленных на основании 2.
Возможен пример выполнения устройства (фиг.8), при котором основание 1 снабжено узлом 17, шарнирно соединенным с корпусом 4 гидроцилиндра, шток 5 которого шарнирно соединен со штангой 7 в срединной ее части посредством оси 16. При этом один конец штанги 7 шарнирно связан со стрелой 1 посредством оси 15, а другой посредством оси 14 шарнирно соединен с ползуном 8, размещенным с возможностью перемещения в направляющих 9 с криволинейным профилем, которые жестко закреплены на основании 2.
Устройство для изменения вылета стрелы подъемно-транспортного средства, выполненное по первому варианту в соответствии с примерами, приведенными на фиг.1 и фиг.3, в которых направляющие размещены на стреле, работает следующим образом.
Для осуществления подъема стрелы с грузом рабочая жидкость под давлением подается в штоковую полость гидроцилиндра, который корпусом 4 связан с опорным шарниром 3 (фиг.1) или с установленным на стреле 1 узлом 13 (фиг.3), в результате чего шток 5 приводится в движение и, втягиваясь в гильзу корпуса 4, перемещается вдоль стрелы 1 в сторону опорного шарнира 3, увлекая за собой шарнирно связанный с ним посредством оси 6 ползун 8. Ползун 8, который, в свою очередь, шарнирно связан со штангой 7, двигаясь по направляющим 9 в направлении опорного шарнира 3, увлекает за собой штангу 7, поворачивая ее против часовой стрелки вокруг оси 10. Штанга 7, поворачиваясь против часовой стрелки вокруг оси 10, оказывает воздействие на ползун 8, которое через направляющие 9 передается на стрелу 1. Это приводит к повороту стрелы 1 против часовой стрелки вокруг оси опорного шарнира 3, в результате чего стрела 1 осуществляет подъем.
Для осуществления опускания стрелы с грузом рабочая жидкость под давлением подается в поршневую полость гидроцилиндра, в результате чего шток 5 приводится в движение и, выдвигаясь из гильзы корпуса 4, перемещается вдоль стрелы 1, отдаляясь от опорного шарнира 3 и увлекая за собой шарнирно связанный с ним посредством оси 6 ползун 8. Ползун 8, который также посредством оси 6 шарнирно связан со штангой 7, двигаясь по направляющим 9 и отдаляясь от опорного шарнира 3, изменяет тем самым место опоры стрелы 1 на штангу 7, поворачивая штангу 7 по часовой стрелке вокруг оси 10. Это приводит к повороту стрелы 1 по часовой стрелке вокруг оси опорного шарнира 3, в результате чего происходит опускание стрелы 1.
Устройство для изменения вылета стрелы подъемно-транспортного средства, выполненное по первому варианту в соответствии с примерами, приведенными на фиг.2 и фиг.4, в которых шток гидроцилиндра шарнирно соединен со штангой в срединной ее части, а направляющие размещены на стреле, работает следующим образом.
Для осуществления подъема стрелы с грузом рабочая жидкость под давлением подается в штоковую полость гидроцилиндра, который корпусом 4 связан с опорным шарниром 3 (фиг.2) или с установленным на стреле 1 узлом 13 (фиг.4), в результате чего шток 5 приводится в движение и, втягиваясь в гильзу корпуса 4, перемещается вдоль стрелы 1 в сторону опорного шарнира 3, увлекая за собой связанную с ним шарнирно посредством оси 11 штангу 7 и поворачивая ее против часовой стрелки вокруг оси 10. Штанга 7, которая посредством оси 12 шарнирно связана с ползуном 8, поворачиваясь против часовой стрелки вокруг оси 10, перемещает ползун 8 по направляющим 9 в сторону опорного шарнира 3, воздействуя посредством ползуна 8 на стрелу 1. Это приводит к повороту стрелы 1 против часовой стрелки вокруг оси опорного шарнира 3, в результате чего стрела 1 осуществляет подъем.
Для осуществления опускания стрелы с грузом рабочая жидкость под давлением подается в поршневую полость гидроцилиндра, в результате чего шток 5 приводится в движение и, выдвигаясь из гильзы корпуса 4, перемещается вдоль стрелы 1, отдаляясь от опорного шарнира 3 и оказывая воздействие на штангу 7 через ось 11. В результате этого штанга 7 поворачивается по часовой стрелке вокруг оси 10, увлекая за собой шарнирно связанный с ней посредством оси 12 ползун 8. Ползун 8, двигаясь по направляющим 9 и отдаляясь от опорного шарнира 3, изменяет тем самым место опоры стрелы 1 на штангу 7, поворачивая стрелу 1 по часовой стрелке вокруг оси опорного шарнира 3. В результате этого происходит опускание стрелы 1.
Устройство для изменения вылета стрелы подъемно-транспортного средства, выполненное по второму варианту в соответствии с примерами, приведенными на фиг.5 и фиг.7, в которых направляющие размещены на основании, работает следующим образом.
Для осуществления подъема стрелы с грузом рабочая жидкость под давлением подается в штоковую полость гидроцилиндра, который корпусом 4 связан с опорным шарниром 3 (фиг.5) или с установленным на основании 2 узлом 17 (фиг.7), в результате чего шток 5 приводится в движение и, втягиваясь в гильзу корпуса 4, перемещается вдоль основания 2 в сторону опорного шарнира 3, увлекая за собой шарнирно связанный с ним посредством оси 14 ползун 8. Ползун 8, который также посредством оси 14 шарнирно связан со штангой 7, двигаясь по направляющим 9 в направлении опорного шарнира 3, оказывает воздействие на штангу 7, которое через ось 15 передается на стрелу 1. Это приводит к повороту стрелы 1 против часовой стрелки вокруг оси опорного шарнира 3, в результате чего стрела 1 осуществляет подъем.
Для осуществления опускания стрелы с грузом рабочая жидкость под давлением подается в поршневую полость гидроцилиндра, в результате чего шток 5 приводится в движение и, выдвигаясь из корпуса 4, перемещается вдоль основания 2, отдаляясь от опорного шарнира 3 и увлекая за собой шарнирно связанный с ним посредством оси 14 ползун 8. Ползун 8, который также посредством оси 14 шарнирно связан со штангой 7, двигаясь по направляющим 9 и отдаляясь от опорного шарнира 3, увлекает за собой штангу 7, усилие от которой через ось 15 передается на стрелу 1, поворачивая ее по часовой стрелке вокруг оси опорного шарнира 3, в результате чего происходит опускание стрелы 1.
Устройство для изменения вылета стрелы подъемно-транспортного средства, выполненное по второму варианту, в соответствии с примерами, приведенными на фиг.6 и фиг.8, в которых шток гидроцилиндра шарнирно соединен со штангой в срединной ее части, а направляющие размещены на основании, работает следующим образом.
Для осуществления подъема стрелы с грузом рабочая жидкость под давлением подается в штоковую полость гидроцилиндра, который корпусом 4 связан с опорным шарниром 3 (фиг.6) или с установленным на основании 2 узлом 17 (фиг.8), в результате чего шток 5 приводится в движение и, втягиваясь в гильзу корпуса 4, перемещается вдоль основания 2 в сторону опорного шарнира 3, увлекая за собой и поворачивая по часовой стрелке вокруг оси 15 шарнирно связанную с ним посредством оси 16 штангу 7. При этом ползун 8, шарнирно связанный посредством оси 14 со штангой 7, начинает перемещаться по направляющим 9, установленным на основании 2, в сторону опорного шарнира 3, толкая штангу 7. Усилие, действующее со стороны ползуна 8 на штангу 7, через ось 15 передается на стрелу 1. Это приводит к повороту стрелы 1 против часовой стрелки вокруг оси опорного шарнира 3, в результате чего стрела 1 осуществляет подъем.
Для осуществления опускания стрелы с грузом рабочая жидкость под давлением подается в поршневую полость гидроцилиндра, в результате чего шток 5 приводится в движение и, выдвигаясь из корпуса 4, перемещается вдоль основания 2, отдаляясь от опорного шарнира 3 и оказывая воздействие на штангу 7 через ось 16. В результате этого штанга 7 поворачивается против часовой стрелки вокруг оси 15, перемещая шарнирно связанный с ней посредством оси 14 ползун 8 по направляющим 9 от опорного шарнира 3 и изменяя тем самым место опоры ползуна 8 на основании 2. Штанга 7, перемещаясь вместе с ползуном 8, через ось 15 воздействует на стрелу 1, увлекая ее за собой и тем самым поворачивая ее по часовой стрелке вокруг опорного шарнира 3. В результате этого происходит опускание стрелы 1.
Во всех описанных примерах выполнения устройства для изменения вылета стрелы подъемно-транспортного средства места закрепления штанги 7, гидроцилиндра и направляющих 9 на стреле 1 или основании 2, а также место шарнирного соединения гидроцилиндра со штангой могут быть выбраны произвольно, так как это не влияет на принцип работы устройства в целом. Таким образом, спектр основных критериев, которые задаются при разработке и проектировании подъемно-транспортного средства и определяются из условия обеспечения требуемых его технических характеристик, остается неизменным в сравнении с критериями, которые являются определяющими при разработке конструктивных параметров подъемно-транспортных средств с известными кинематическими схемами. При этом во всех вариантах конструкции предлагаемого устройства самым нагруженным элементом является штанга 7, которая воспринимает на себя основную нагрузку, действующую со стороны стрелы 1 с грузом, в отличии от существующих конструкций, где основным нагруженным элементом является гидроцилиндр подъема и опускания стрелы. В предлагаемом же устройстве функция гидроцилиндра заключается, по сути, в создании усилия, которое необходимо для обеспечения перемещения ползуна 8 в направляющих 9, установленных на стреле 1 или на основании 2 (в зависимости от варианта конструкции устройства). Величина этого усилия зависит от угла его приложения к штанге 7 со стороны гидроцилиндра, а также от угла наклона штанги 7 относительно плоскости направляющих 9, чем определяется сила трения, действующая на ползун 8 со стороны направляющих 9 и прямо пропорционально зависящая от действующей на штангу 7 силы со стороны стрелы 1 с грузом. При этом величина силы трения зависит и от характера самого вида трения ползуна 8 о направляющие 9. Ранее уже говорилось, что ползун может быть выполнен в виде роликов, изготовленных, например, с использованием подшипников качения (Фиг.9), т.е. конструктивно возможно обеспечить качение ползуна 8 по направляющим 9, значительно снизив тем самым величину силы трения и облегчив работу гидроцилиндра по перемещению ползуна 8, что позволяет, в свою очередь, уменьшить мощность привода гидроцилиндра подъемно-транспортного средства.
Известно, что максимальная мощность привода исполнительного элемента, осуществляющего подъем и опускание стрелы, в существующих грузоподъемных средствах определяется из условия обеспечения подъема стрелы с максимальной нагрузкой из положения ее максимального вылета. Из анализа кинематических схем существующих грузоподъемных средств следует, что по мере подъема стрелы из какого-то крайнего нижнего положения суммарный момент сил, действующих со стороны стрелы и груза, уменьшается, так как уменьшается плечо действия каждой из этих сил относительно оси, вокруг которой вращается стрела. Из этого следует, что по мере поворота стрелы требуемая для ее подъема мощность уменьшается, а это значит, что установленная мощность привода используется не полностью. Вместе с тем, уменьшается и плечо силы, действующей со стороны штока гидроцилиндра. Однако обеспечить одинаковое изменение этих моментов в процессе поворота стрелы в существующих конструкциях грузоподъемных средств, как уже говорилось ранее, невозможно из-за особенностей их кинематических схем. В предлагаемом устройстве кривизна профиля направляющих 9 может быть рассчитана и выбрана с учетом координат мест крепления конструктивных элементов и изменения их положения в процессе движения стрелы 1 исходя из условия сохранения неизменной силы, действующей на штангу 7 со стороны стрелы 1 с грузом, в каждый момент времени в процессе движения стрелы при подъеме или опускании, и обеспечить, таким образом, полное использование установленной мощности привода стрелы.
Таким образом, использование предлагаемого устройства для изменения вылета стрелы подъемно-транспортного средства позволяет не только достичь снижения мощности привода стрелы подъемно-транспортного средства, но и повысить эффективность ее использования в процессе поворота стрелы.
Claims (10)
1. Устройство для изменения вылета стрелы подъемно-транспортного средства, установленное на связанных между собой посредством опорного шарнира стреле и основании, содержащее гидроцилиндр, элемент для соединения основания и стрелы, один конец которого шарнирно закреплен на основании, а второй конец соединен с ползуном, выполненным с возможностью перемещения по направляющим, закрепленным на стреле, отличающееся тем, что элемент для соединения стрелы с основанием выполнен в виде штанги, шарнирно соединенной с одной взаимоподвижной частью гидроцилиндра, а направляющие выполнены с криволинейным профилем.
2. Устройство по п.1, отличающееся тем, что гидроцилиндр одной своей взаимоподвижной частью шарнирно связан со штангой в ее крайней части.
3. Устройство по п.1, отличающееся тем, что гидроцилиндр одной своей взаимоподвижной частью шарнирно связан со штангой в ее срединной части.
4. Устройство по п.1, отличающееся тем, что гидроцилиндр выполнен с возможностью соединения второй своей взаимоподвижной частью с опорным шарниром.
5. Устройство по п.1, отличающееся тем, что снабжено узлом, размещенным на стреле и шарнирно соединенным со второй взаимоподвижной частью гидроцилиндра.
6. Устройство для изменения вылета стрелы подъемно-транспортного средства, установленное на связанных между собой посредством опорного шарнира стреле и основании, содержащее гидроцилиндр, элемент для соединения основания и стрелы, один конец которого соединен с ползуном, выполненным с возможностью перемещения по направляющим, отличающееся тем, что направляющие выполнены с криволинейным профилем и закреплены на основании, а элемент для соединения стрелы с основанием выполнен в виде штанги, шарнирно соединенной с одной взаимоподвижной частью гидроцилиндра, при этом второй конец штанги шарнирно закреплен на стреле.
7. Устройство по п.6, отличающееся тем, что гидроцилиндр одной своей взаимоподвижной частью шарнирно связан со штангой в ее крайней части.
8. Устройство по п.6, отличающееся тем, что гидроцилиндр одной своей взаимоподвижной частью шарнирно связан со штангой в ее срединной части.
9. Устройство по п.6, отличающееся тем, что гидроцилиндр выполнен с возможностью соединения второй своей взаимоподвижной частью с опорным шарниром.
10. Устройство по п.6, отличающееся тем, что снабжено узлом, размещенным на основании и шарнирно соединенным со второй взаимоподвижной частью гидроцилиндра.
Priority Applications (1)
| Application Number | Priority Date | Filing Date | Title |
|---|---|---|---|
| RU2009119270/11A RU2404113C1 (ru) | 2009-05-21 | 2009-05-21 | Устройство для изменения вылета стрелы подъемно-транспортного средства (варианты) |
Applications Claiming Priority (1)
| Application Number | Priority Date | Filing Date | Title |
|---|---|---|---|
| RU2009119270/11A RU2404113C1 (ru) | 2009-05-21 | 2009-05-21 | Устройство для изменения вылета стрелы подъемно-транспортного средства (варианты) |
Publications (1)
| Publication Number | Publication Date |
|---|---|
| RU2404113C1 true RU2404113C1 (ru) | 2010-11-20 |
Family
ID=44058409
Family Applications (1)
| Application Number | Title | Priority Date | Filing Date |
|---|---|---|---|
| RU2009119270/11A RU2404113C1 (ru) | 2009-05-21 | 2009-05-21 | Устройство для изменения вылета стрелы подъемно-транспортного средства (варианты) |
Country Status (1)
| Country | Link |
|---|---|
| RU (1) | RU2404113C1 (ru) |
Cited By (4)
| Publication number | Priority date | Publication date | Assignee | Title |
|---|---|---|---|---|
| RU2613203C1 (ru) * | 2015-12-31 | 2017-03-15 | Федеральное государственное бюджетное образовательное учреждение высшего образования "Воронежский государственный лесотехнический университет имени Г.Ф. Морозова" | Механизм подъема стрелы манипулятора |
| RU2682866C1 (ru) * | 2018-05-11 | 2019-03-21 | Федеральное государственное бюджетное образовательное учреждение высшего образования "Воронежский государственный лесотехнический университет имени Г.Ф. Морозова" | Механизм подъема стрелы манипулятора |
| CN114132854A (zh) * | 2021-12-09 | 2022-03-04 | 安徽春华智能科技有限公司 | 一种起重机大梁回转驱动装置 |
| RU216899U1 (ru) * | 2022-12-07 | 2023-03-06 | Акционерное общество "Шадринский автоагрегатный завод" | Устройство крепления гидроцилиндра для осуществления поворота грузоподъемного средства |
Citations (2)
| Publication number | Priority date | Publication date | Assignee | Title |
|---|---|---|---|---|
| US4303166A (en) * | 1977-01-18 | 1981-12-01 | Algoship International Limited | Horizontal slewing crane |
| US4579235A (en) * | 1984-12-20 | 1986-04-01 | Figgie International Inc. | Crane boom stowing apparatus |
-
2009
- 2009-05-21 RU RU2009119270/11A patent/RU2404113C1/ru not_active IP Right Cessation
Patent Citations (2)
| Publication number | Priority date | Publication date | Assignee | Title |
|---|---|---|---|---|
| US4303166A (en) * | 1977-01-18 | 1981-12-01 | Algoship International Limited | Horizontal slewing crane |
| US4579235A (en) * | 1984-12-20 | 1986-04-01 | Figgie International Inc. | Crane boom stowing apparatus |
Cited By (4)
| Publication number | Priority date | Publication date | Assignee | Title |
|---|---|---|---|---|
| RU2613203C1 (ru) * | 2015-12-31 | 2017-03-15 | Федеральное государственное бюджетное образовательное учреждение высшего образования "Воронежский государственный лесотехнический университет имени Г.Ф. Морозова" | Механизм подъема стрелы манипулятора |
| RU2682866C1 (ru) * | 2018-05-11 | 2019-03-21 | Федеральное государственное бюджетное образовательное учреждение высшего образования "Воронежский государственный лесотехнический университет имени Г.Ф. Морозова" | Механизм подъема стрелы манипулятора |
| CN114132854A (zh) * | 2021-12-09 | 2022-03-04 | 安徽春华智能科技有限公司 | 一种起重机大梁回转驱动装置 |
| RU216899U1 (ru) * | 2022-12-07 | 2023-03-06 | Акционерное общество "Шадринский автоагрегатный завод" | Устройство крепления гидроцилиндра для осуществления поворота грузоподъемного средства |
Similar Documents
| Publication | Publication Date | Title |
|---|---|---|
| CN101674998B (zh) | 用于绞盘的调节机构及应用其的起重机臂和起重机 | |
| CN205653019U (zh) | 一种起吊机的货箱夹持机构 | |
| CN111498704A (zh) | 一种车体式龙门起重机 | |
| CN111217264B (zh) | 起重机 | |
| KR20120042115A (ko) | 타워 크레인 | |
| CN104690710A (zh) | 一种电液复合驱动的可移动式机械臂 | |
| CN103613012A (zh) | 一种可变角度的起重机变幅装置 | |
| RU2404113C1 (ru) | Устройство для изменения вылета стрелы подъемно-транспортного средства (варианты) | |
| RU2008126095A (ru) | Блок грузовой стрелы и контейнерный кран, содержащий такой блок | |
| CN103523682A (zh) | 动臂塔式起重机 | |
| RU2571312C1 (ru) | Кран-трубоукладчик | |
| CN214495494U (zh) | 起重设备 | |
| CN101117202A (zh) | 一种新型液压履带式起重机 | |
| FI127128B (en) | Bomsammansättning | |
| RU2613203C1 (ru) | Механизм подъема стрелы манипулятора | |
| US4967917A (en) | Jib derricking gear for a crane | |
| CN203728439U (zh) | 行走门式起重机 | |
| RU2682866C1 (ru) | Механизм подъема стрелы манипулятора | |
| RU2467946C2 (ru) | Самоходный подъемный кран и способ обеспечения его работы | |
| CN103723635B (zh) | 行走门式起重机 | |
| RU189827U1 (ru) | Гидравлический кран-манипулятор мобильной машины | |
| WO2018153934A1 (en) | Device for an excavator | |
| RU2374166C2 (ru) | Стреловое устройство крана | |
| CN223737568U (zh) | 水电站可变幅回转吊 | |
| CN205799583U (zh) | 抓木机用二段式抓料臂 |
Legal Events
| Date | Code | Title | Description |
|---|---|---|---|
| MM4A | The patent is invalid due to non-payment of fees |
Effective date: 20120522 |