KR20120042115A - 타워 크레인 - Google Patents

타워 크레인

Info

Publication number
KR20120042115A
KR20120042115A KR1020100103624A KR20100103624A KR20120042115A KR 20120042115 A KR20120042115 A KR 20120042115A KR 1020100103624 A KR1020100103624 A KR 1020100103624A KR 20100103624 A KR20100103624 A KR 20100103624A KR 20120042115 A KR20120042115 A KR 20120042115A
Authority
KR
South Korea
Prior art keywords
boom
horizontal
vertical
assembly
tower crane
Prior art date
Legal status (The legal status is an assumption and is not a legal conclusion. Google has not performed a legal analysis and makes no representation as to the accuracy of the status listed.)
Abandoned
Application number
KR1020100103624A
Other languages
English (en)
Inventor
박정원
Original Assignee
박정원
Priority date (The priority date is an assumption and is not a legal conclusion. Google has not performed a legal analysis and makes no representation as to the accuracy of the date listed.)
Filing date
Publication date
Application filed by 박정원 filed Critical 박정원
Priority to KR1020100103624A priority Critical patent/KR20120042115A/ko
Publication of KR20120042115A publication Critical patent/KR20120042115A/ko
Abandoned legal-status Critical Current

Links

Images

Classifications

    • BPERFORMING OPERATIONS; TRANSPORTING
    • B66HOISTING; LIFTING; HAULING
    • B66CCRANES; LOAD-ENGAGING ELEMENTS OR DEVICES FOR CRANES, CAPSTANS, WINCHES, OR TACKLES
    • B66C23/00Cranes comprising essentially a beam, boom, or triangular structure acting as a cantilever and mounted for translatory of swinging movements in vertical or horizontal planes or a combination of such movements, e.g. jib-cranes, derricks, tower cranes
    • B66C23/16Cranes comprising essentially a beam, boom, or triangular structure acting as a cantilever and mounted for translatory of swinging movements in vertical or horizontal planes or a combination of such movements, e.g. jib-cranes, derricks, tower cranes with jibs supported by columns, e.g. towers having their lower end mounted for slewing movements
    • B66C23/163Cranes comprising essentially a beam, boom, or triangular structure acting as a cantilever and mounted for translatory of swinging movements in vertical or horizontal planes or a combination of such movements, e.g. jib-cranes, derricks, tower cranes with jibs supported by columns, e.g. towers having their lower end mounted for slewing movements where only part of the column rotates, i.e. at least the bottom part is fixed
    • BPERFORMING OPERATIONS; TRANSPORTING
    • B66HOISTING; LIFTING; HAULING
    • B66CCRANES; LOAD-ENGAGING ELEMENTS OR DEVICES FOR CRANES, CAPSTANS, WINCHES, OR TACKLES
    • B66C23/00Cranes comprising essentially a beam, boom, or triangular structure acting as a cantilever and mounted for translatory of swinging movements in vertical or horizontal planes or a combination of such movements, e.g. jib-cranes, derricks, tower cranes
    • B66C23/62Constructional features or details
    • B66C23/64Jibs
    • B66C23/70Jibs constructed of sections adapted to be assembled to form jibs or various lengths
    • B66C23/701Jibs constructed of sections adapted to be assembled to form jibs or various lengths telescopic
    • B66C23/705Jibs constructed of sections adapted to be assembled to form jibs or various lengths telescopic telescoped by hydraulic jacks
    • BPERFORMING OPERATIONS; TRANSPORTING
    • B66HOISTING; LIFTING; HAULING
    • B66CCRANES; LOAD-ENGAGING ELEMENTS OR DEVICES FOR CRANES, CAPSTANS, WINCHES, OR TACKLES
    • B66C2700/00Cranes
    • B66C2700/03Cranes with arms or jibs; Multiple cranes
    • B66C2700/0385Cranes with trolleys movable along adjustable or slewable arms

Landscapes

  • Engineering & Computer Science (AREA)
  • Mechanical Engineering (AREA)
  • Jib Cranes (AREA)

Abstract

본 발명은 작업장의 주변환경과 작업 용도에 따라 그 길이를 조절하여 다양한 환경에서 다양한 용도로 사용될 수 있고, 다수의 붐대가 연결된 붐조립체가 시저 링크부의 작용으로 양측이 지지되어 수직붐과 수평붐의 신축과정이 보다 안정적으로 이루어지도록 하는 타워크레인에 관한 것으로, 건설현장의 지반에 설치되고, 지면에 수직으로 장착되는 수직붐과 상기 수직붐의 상단에 수평으로 장착되는 수평붐을 포함하되, 상기 수직붐 또는 수평붐은 복수의 붐대가 다단으로 신축가능하게 연결된 붐조립체와, 상기 붐조립체의 양측에 고정되어 붐조립체를 따라 신축하는 시저형 링크부와, 상기 붐 조립체의 신축력을 제공하는 실린더부를 포함하여 구성된다.

Description

타워 크레인{tower crane}
본 발명은 타워 크레인에 관한 것으로, 작업장의 주변환경과 작업 용도에 따라 그 길이를 조절하여 다양한 환경에서 여러 가지 용도로 사용 가능한 타워크레인에 관한 것이다.
일반적으로,타워크레인은 빌딩, 야적장 등의 건설현장에서 중량의 화물을 수직으로 인양하여 운반할 수 있도록 사용되는 건설장비로서, 화물을 후크에 의해 수직으로 인양하는 호이스트(hoist)와, 수직으로 인양된 화물을 소정위치로 수평이동시키는 트롤리(trolley)로 구성되는 권상장치를 포함한다.
상기와 같은 종래의 타워 크레인은 수직붐과 수평붐의 길이를 조절할 수 있는 시스템이 구축되지 않아 작업장의 주변환경에 맞춰 그 길이를 조절할 수 없었고, 작업 용도가 다르더라도 정해진 사이즈의 타워크레인을 사용해야만 함에 따라 작업효율이 떨어지는 문제점을 갖는다.
또한, 그 용도가 중량체를 수직방향으로 인양하는 데 한정되고 있어, 보다 다양한 작업을 수행할 수 있는 타워크레인의 제공이 이루어져야 할 것이다.
상기와 같은 종래 문제점을 해결하기 위한 본 발명은 작업장의 주변환경과 작업 용도에 따라 그 길이를 조절하여 다양한 환경에서 다양한 용도로 사용될 수 있고, 다수의 붐대가 연결된 붐조립체가 시저 링크부의 작용으로 양측이 지지되어 수직붐과 수평붐의 신축과정이 보다 안정적으로 이루어지도록 하는 타워크레인을 제공하는 데 그 목적이 있다.
상기와 같은 목적을 달성하기 위한 본 발명은 건설현장의 지반에 설치되고, 지면에 수직으로 장착되는 수직붐과 상기 수직붐의 상단에 수평으로 장착되는 수평붐을 포함하되, 상기 수직붐 또는 수평붐은 복수의 붐대가 다단으로 신축가능하게 연결된 붐조립체와, 상기 붐조립체의 양측에 고정되어 붐조립체를 따라 신축하는 시저형 링크부와, 상기 붐 조립체의 신축력을 제공하는 실린더부를 포함하는 타워크레인을 제공한다.
상기와 같은 본 발명에 따르면, 수직붐과 수평붐이 신축가능한 구조로 이루어져 작업장의 주변환경과 작업 용도에 따라 그 길이를 조절하여 다양한 환경에서 다양한 용도로 사용될 수 있어 장비의 효율성을 극대화할 수 있는 효과가 있다.
또한, 상부받침대를 기준으로 수평빔이 회전하는 과정에서 아랫방향으로 가압력이 생성되어 지주를 지반에 항타하는 등의 용도로 사용 가능하고, 다수의 붐대가 연결된 붐조립체가 시저 링크부의 작용으로 양측이 지지되어 수직붐과 수평붐의 신축과정이 보다 안정적으로 이루어질 수 있도록 하는 효과가 있다.
도 1은 본 발명에 따른 타워크레인의 정면도,
도 2a는 본 발명에 따른 롤러와 가이드레일의 구조를 보인 사시도,
도 2b는 본 발명에 따른 수직붐의 부분확대 사시도,
도 3은 본 발명에 따른 수평붐의 다른 실시 예를 보인 부분확대 정면도,
도 4는 본 발명에 따른 타워 크레인의 또 다른 실시 예를 보인 정면도,
도 5는 본 발명에 따른 수평붐이 회전하는 모습을 보인 정면도.
이하, 첨부된 도면에 따라 본 발명 타워크레인의 구성 및 작용을 더욱 상세하게 설명하면 다음과 같다.
도 1은 본 발명에 따른 타워크레인의 정면도이고, 도 2a는 본 발명에 따른 롤러와 가이드레일의 구조를 보인 사시도, 도 2b는 본 발명에 따른 수직붐의 부분확대 사시도이며, 도 3은 본 발명에 따른 수평붐의 다른 실시 예를 보인 부분확대 정면도이고, 도 4는 본 발명에 따른 타워 크레인의 또 다른 실시 예를 보인 정면도이며, 도 5는 본 발명에 따른 수평붐이 회전하는 모습을 보인 정면도이다.
본 발명 타원크레인(10)은 건설현장의 지반에 설치되고, 지면에 수직으로 장착되는 수직붐(100)과 상기 수직붐(100)의 상단에 수평으로 장착되는 수평붐(200)을 포함하며, 상기 수직붐(100) 또는 수평붐(200)은 복수의 붐대(11a)가 다단으로 신축가능하게 연결된 붐조립체(11)와, 상기 붐조립체(11)의 양측에 고정되어 붐조립체(11)를 따라 신축하는 시저형 링크부(12)와, 상기 붐 조립체(11)의 신축력을 제공하는 실린더부(13)를 포함하는 것을 특징으로 한다.
먼저, 수직붐(100)은 지면과 수직하도록 설치되는 것으로, 상기 수직붐(100)은 소정의 높이를 유지하여 고층빌딩의 건설 현장에서 해당 높이에 각종 건설장비, 건설 재료 등을 인양하도록 한다.
종래 상기 수직붐(100)은 높이를 조절하지 못하여 해당 높이별로 운반물이 매달린 와이어의 길이를 별도로 조절해야하는 번거로움이 있었고, 정확한 길이조절이 이루어지지 못하는데 따른 작업시간 지연과, 각종 안전사고 발생 위험이 있었다.
수평붐(200)은 상기 수직붐(100)의 상단에 수평방향으로 장착되는 구성으로, 상기 수직붐(100)이 수직방향으로 높이를 조절한다면, 수평붐(200)은 수평방향으로 신축하면서 수직붐(100)과 운반물 사이의 거리를 조절한다.
상기 수평붐(200)의 단부에는 버켓(bucket), 셔블(shovel) 및 각종 운반할 물체를 들어올릴 수 있도록 와이어와 후크를 비롯하여 각종 이송 수단 및 건설 장비가 장착될 수 있다.
상기와 같은 수직붐(100) 및 수평붐(200)은 신축가능한 공지의 다양한 구조로 이루어질 수 있지만, 특히 붐조립체(11), 링크부(12), 실린더부(13)를 포함하는 구조를 취할 수 있다.
먼저, 붐조립체(11)는 복수의 붐대(11a)가 다단으로 신축가능하게 연결된 구조를 갖는다.
상기 붐대(11a)는 내부에 수용될수록 점차적으로 작은 크기를 갖게 되고, 내부에 수용된 붐대(11a)가 외부의 붐대(11a)에서 나오면서 붐조립체(11)는 길어지고, 내부의 붐대(11a)가 외부의 붐대(11a)로 들어가면 붐조립체(11)는 짧아지게 된다.
시저형 링크부(12)는 상기 붐조립체(11)의 양측에 고정되어 붐조립체(11)를 따라 신축하는 구조를 갖는다.
바람직하게는 상기 시저형 링크부(12)는 'X'자 형으로 교차된 교차점이 각각의 붐대(11a)에 회동가능하도록 핀 등의 수단을 이용해서 고정된다.
따라서, 상기 붐조립체(11)가 신축하면 시저형 링크부(12)가 동시에 신축될 수 있는 것이다.
실린더부(13)는 상기 붐 조립체(11)의 신축력을 제공하는 구성으로, 일반적으로 유압실린더를 사용한다.
상기 실린더부(13)는 붐조립체(11)의 내부에 장착되어 붐대(11a)를 단계별로 출몰시켜 붐 조립체(11)를 신축시킨다.
본 발명의 바람직한 실시 예에 따르면, 상기 수직붐(100)의 상단에는 상기 수평붐(200)이 회전가능하도록 힌지(310)결합되는 상부받침대(300)가 설치되고, 상기 상부받침대(300)의 상단에는 상기 수평붐(200)과 연결되어 수평붐(200)이 상기 힌지(310)를 중심으로 회전하도록 신축하는 실린더(320)가 추가로 장착된다.
상기 상부받침대(300)는 상기 수평붐(200)과 수직붐(100)을 연결해주는 작용을 하고, 그 상단에 힌지(310)를 장착하여 상기 수평붐(200)이 힌지(310)를 중심으로 회전할 수 있도록 한다.
상기 수평붐(200)은 상부 받침대(300)에 설치된 실린더(320)와 연결되어 상기 실린더(320)가 승강하면 그 힘에 의해 상기 힌지(310)를 중심으로 회전하게 된다.
상기 실린더(320)는 힌지(310)를 중심으로 각각 양측에 배치될 수 있는데, 각각의 실린더(320)는 각각 일측의 실린더가 상승하면, 타측의 실린더는 하강하고, 반대로 일측의 실린더가 하강하면 타측의 실린더는 상승하는 구조를 취한다.
상기와 같이 수평붐(200)이 회전하는 구조를 취하게 되면, 포크레인과 같이 각종 파쇄물, 흙 등을 직접 파내거나, 담아서 운반할 수 있고, 회전하는 과정에서 하방으로 가해지는 힘을 이용하여 지주, 빔 등을 지반에 항타하거나, 지반을 천공하는 등의 작업을 수행할 수 있다.
본 발명의 바람직한 실시 예에 따르면, 상기 수직붐(100)의 하단에는 상기 수직붐(100)이 지반에 안착하도록 하부받침판(400)이 설치되고, 상기 하부받침판(400)과 수직붐(100) 사이에는 상기 수직붐(100)을 수평방향으로 회전시키는 회전부(410)가 설치된다.
하부받침판(400)은 수직붐(100)이 지반에 안정적으로 설치될 수 있도록 지지해주는 작용을 한다.
상기 하부받침판(400)은 외측에 상기 하부바침판(400)이 지반에 더욱 안정적으로 안착되도록 다수의 안전발(420)을 추가로 장착할 수 있다. 또한, 하부받침판(400)의 상부에는 회전가능한 턴테이블 방식의 회전부(410)가 추가로 장착될 수 있다.
또한, 저면에는 상기 타워크레인(10)을 보다 쉽게 이송할 수 있도록 바퀴(430)가 장착될 수 있다.
상기 바퀴(430)는 타워크레인(10)이 작업을 시행하면 지면과 접하지 않고, 타워크레인(10)의 작업이 정지되고 이동할 경우에만 지면과 접하게 된다.
상기 안전발(420)은 상기 타워크레인(10)이 작업을 시행하는 도중 상기 바퀴(430)에 의해 타워크레인(10)이 임의로 이동하는 사고를 방지하는 브레이크장치인 셈이다.
상기 회전부(410)는 하부받침판(400)과 수직붐(100) 사이에 배치되며, 하부받침판(400)에 장착되지만 별도의 회전 구동부와 연결되어 수직붐(100)을 회전시키며, 그 결과 수평붐(200)의 길이에 따른 작업반경 내의 작업이 보다 빠르고 용이하게 이루어질 수 있다.
본 발명의 바람직한 실시 예에 따르면, 상기 시저형 링크부(12) 양측 단부에는 롤러(14)가 장착되고, 상기 롤러(14)가 안내되는 가이드레일(15)이 추가로 설치된다.
상기 시저형 링크부(12)는 그 길이가 줄어들면 시저형 링크부(12)의 폭은 넓어지고, 그 길이가 늘어나면 폭을 좁아지는 구조를 갖는다.
따라서, 시저형 링크부(12)의 길이변화에 따라 양측 단부(12a)는 서로 간격이 좁혀졌다 멀어짐을 반복한다.
상기 시저형 링크부(12)는 수직붐(100) 또는 수평붐(200)의 양측에 장착되므로, 양측에는 각각 4개의 단부(12a)가 노출되고, 각각 4개의 단부(12a)에 롤러(14)가 장착된다.
이때, 상기 롤러(14)가 일직선으로 이송할 수 있도록 안내하는 가이드레일(15)이 추가로 장착된다.
상기 수직붐(100)에 상부받침대(300)와 하부받침판(400)이 장착된 경우에는 수직붐(100)의 경우 상기 가이드레일(15)은 상부받침대(300)의 저면과 하부받침판(400)의 상면, 바람직하게는 회전부(410)의 상면에 장착됨이 바람직하다.
상기 가이드레일(15)은 상호 마주하여 평행하도록 일직선으로 장착되어, 롤러(14)가 일직선으로 이송하게 된다. 따라서, 시저형 링크부(12)가 안정적으로 신축할 수 있게 된다.
또, 상기 가이드레일(15)에는 구간별로 별도의 스토퍼를 마련하여, 롤러(14)의 이송거리를 제한할 수 있다.
본 발명의 바람직한 실시 예에 따르면, 상기 붐대(11a)는 상기 시저형 링크부(12)의 교차점을 연결하는 연결핀(16)이 끼워져 안내되도록 길이방향으로 안내홈(11b)을 형성하고, 붐대(11a)의 단부는 상기 시저형 링크부(12)와 연결되도록 체결구를 갖는 연결부(11c)를 형성하여, 상기 시저형 링크부(12)가 붐조립체(11)를 따라 신축할 수 있도록 한다.
상기 붐대(110a)는 출몰되는 방향의 단부에 시저형 링크부(12)와 연결되도록 체결구를 갖는 연결부(11c)를 형성한다.
따라서, 상기 연결부(11c)에 타공된 형태로 마련된 체결구와 상기 시저형 링크부(12)의 연결핀(16)이 회전가능하도록 체결되어 붐조립체(11)가 신축하면 시저형 링크부(12)가 따라서 신축할 수 있다.
또한, 상기 붐대(110a)는 길이방향으로는 상기 시저형 링크부(12)의 교차점을 연결하는 연결핀(16)이 끼워져 안내되도록 안내홈(11b)이 형성된다.
즉, 상기 안내홈(110b)은 체결구가 형성된 연결부(11c)를 제외하고 형성되는 것이다.
시저형 링크부(12)는 링크의 중심이 교차되어 교차점을 형성하고, 상기 교차점은 링크가 서로 회전할 수 있도록 연결핀(116)으로 연결된다.
또한, 링크의 단부끼리도 연결핀(116)을 통해서 회전가능하게 연결된다.
따라서, 상기 연결핀(116)은 대부분 시저형 링크부(12)의 표면으로 돌출될 수밖에 없다.
따라서, 상기 연결핀(116)이 연결핀(16)이 끼워져 안내되도록 길이방향으로 안내홈(11b)을 형성하는 것이다.
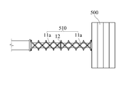
본 발명의 바람직한 실시 예에 따르면, 상기 수평붐(200)의 맞은편에는 상기 수평붐(200)과 균형을 맞추도록 중량체(500)를 배치하되, 상기 중량체(500)는 상기 수평붐(200)과의 거리를 조절할 수 있도록 신축가능한 거리조절부(510)를 통해 상기 수평붐(200)과 연결된다.
즉, 상기 중량체(500)는 수직붐(100)을 기준으로 하여 수평붐(200)의 맞은편에 장착되고, 균형추로 작용하여 수평붐(200)과 균형을 맞춘다.
상기 수평붐(200)에 인양되는 물체의 중량에 따라 중량체(500)의 중량은 변경될 수 있으며, 수직붐(100)과의 거리조절을 통해 수평붐(200)과의 균형을 맞출 수 있다.
즉, 수평붐(200)에 매달린 운반물의 중량이 증가되면, 거리조절부(510)를 통해 수직붐(100)과 중량체(500)의 간격을 늘려서 균형을 맞추고, 반대로 수평붐(200)에 매달린 물체의 중량이 감소되면, 거리조절부(510)를 통해 수직붐(100)과 중량체(500)의 간격을 줄여서 균형을 맞추는 것이다.
또, 상기 중량체(500)를 지반으로부터 인양해서 거리조절부(510)에 장착할 수 있도록 실린더, 와이어, 후크 등으로 이루어진 추인양모듈(520)을 추가로 장착할 수 있다.
본 발명의 바람직한 실시 예에 따르면, 상기 수평붐(200)은 하단에 지면과 접촉하여 상기 수평붐(200)을 수직붐(100)과 함께 지지하도록 수직방향으로 신축가능한 보조지지대(600)를 추가로 장착한다.
상기와 같이 수평붐(200)에 지반에 의해 지지되는 보조지지대(600)가 추가로 장착되면, 상기 수평붐(200)은 보조지지대(600)와 수직붐(100)에 의해 지지되므로, 수직붐(100)에만 가해졌던 하중이 분산되어 수평붐(200) 및 인양물체가 보다 안정적으로 지지될 수 있고, 지나친 하중에 타워크레인(10)이 손상되거나, 넘어지는 등의 사고를 예방할 수 있다.
본 발명의 바람직한 실시 예에 따르면, 상기 거리조절부(510) 또는 보조지지대(600)는 복수의 붐대(11a)가 다단으로 신축가능하게 연결된 붐조립체(11)와, 상기 붐조립체(11)의 양측에 고정되어 붐조립체(11)를 따라 신축하는 시저형 링크부(12)와, 상기 붐 조립체(11)의 신축력을 제공하는 실린더부(13)를 포함한다.
즉, 상기 거리조절부(510) 또는 보조지지대(600)는 상기 수직붐(100) 및 수평붐(200)과 같은 구조를 취하는 것이다.
앞서 설명한 바와 같이, 상기 붐조립체(11)는 복수의 붐대(11a)가 다단으로 신축가능하게 연결된 구조를 갖는다.
상기 붐대(11a)는 내부에 수용될수록 작은 크기를 갖게 되고, 내부에 수용된 붐대(11a)가 외부의 붐대(11a)에서 출몰하면서 붐조립체(11)는 신축된다.
시저형 링크부(12)는 상기 붐조립체(11)의 양측에 고정되어 붐조립체(11)를 따라 신축하는 구조를 갖는다.
바람직하게는 상기 시저형 링크부(12)는 'X'자 형으로 교차된 교차점이 각각의 붐대(11a)에 회동가능하도록 핀 등의 수단을 이용해서 고정된다.
따라서, 사기 붐조립체(11)가 신축하면 시저형 링크부(12)가 동시에 신축될 수 있는 것이다.
실린더부(13)는 상기 붐 조립체(11)의 신축력을 제공하는 구성으로, 일반적으로 유압실린더를 사용한다.
상기 실린더부(13)는 붐조립체(11)의 내부에 장착되어 붐대(11a)를 단계별로 출몰시켜 붐 조립체(11)를 신축시킨다.
상기와 같은 본 발명에 따르면, 수직붐(100)과 수평붐(200)이 신축가능한 구조로 이루어져 작업장의 주변환경과 작업 용도에 따라 그 길이를 조절하여 다양한 환경에서 다양한 용도로 사용될 수 있어 장비의 효율성을 극대화할 수 있고, 상부받침대(300)를 기준으로 수평빔(200)이 회전하는 과정에서 아랫방향으로 가압력이 생성되어 지주를 지반에 항타하는 등의 용도로 사용 가능하고, 다수의 붐대(11a)가 연결된 붐조립체(11)가 시저형 링크부(12)의 작용으로 양측이 지지되어 수직붐(100), 수평붐(200), 거리조절부(510) 및 보조지지대(600)의 신축과정이 보다 안정적으로 이루어질 수 있는 장점이 있다.
본 발명은 첨부된 도면에 도시된 일 실시 예를 참고로 설명되었으나 이는 예시적인 것에 불과하며, 당해 기술분야에서 통상의 지식을 가진 자라면 이로부터 다양한 변형 및 균등한 타 실시예가 가능하다는 점을 이해할 수 있을 것이다. 따라서, 본 발명의 진정한 보호 범위는 첨부된 청구 범위에 의해서만 정해져야 할 것이다.
10 : 타원크레인 100 : 수직붐
11a : 붐대 11 : 붐조립체
12 : 시저형 링크부 13 : 실린더부
14 : 롤러 15 : 가이드레일
200 : 수평붐 300 : 상부받침대
310 : 힌지 320 : 실린더
400 : 하부받침판 410 : 회전부
500 : 중량체 510 : 거리조절부
600 : 보조지지대

Claims (8)

  1. 건설현장의 지반에 설치되고, 지면에 수직으로 장착되는 수직붐과 상기 수직붐의 상단에 수평으로 장착되는 수평붐을 포함하는 타워크레인에 관한 것으로,
    상기 수직붐 또는 수평붐은,
    복수의 붐대가 다단으로 신축가능하게 연결된 붐조립체;
    상기 붐조립체의 양측에 고정되어 붐조립체를 따라 신축하는 시저형 링크부;
    상기 붐 조립체의 신축력을 제공하는 실린더부;를 포함하는 것을 특징으로 하는 타워크레인.
  2. 제 1항에 있어서,
    상기 수직붐의 상단에는 상기 수평붐이 회전가능하도록 힌지결합되는 상부받침대가 설치되고, 상기 상부받침대의 상단에는 상기 수평붐과 연결되어 수평붐이 상기 힌지중심으로 회전하도록 신축하는 실린더가 추가로 장착된 것을 특징으로 하는 타워크레인.
  3. 제 1항에 있어서,
    상기 수직붐의 하단에는 상기 수직붐이 지반에 안착하도록 하부받침판이 설치되고, 상기 하부받침판과 수직붐 사이에는 상기 수직붐을 수평방향으로 회전시키는 회전부가 설치된 것을 특징으로 하는 타워크레인.
  4. 제1항에 있어서,
    상기 시저형 링크부 양측 단부에는 롤러가 장착되고,
    상기 롤러가 안내되는 가이드레일이 추가로 설치된 것을 특징으로 하는 타워크레인.
  5. 제 1항에 있어서,
    상기 붐대는 상기 시저형 링크부의 교차점을 연결하는 연결핀이 끼워져 안내되도록 길이방향으로 안내홈을 형성하고, 붐대의 단부는 상기 시저형 링크부와 연결되도록 체결구를 갖는 연결부를 형성하여, 상기 시저형 링크부가 붐조립체를 따라 신축할 수 있도록 한 것을 특징으로 하는 타워 크레인.
  6. 제 1항에 있어서,
    상기 수평붐의 맞은편에는 상기 수평붐과 균형을 맞추도록 중량체를 배치하되, 상기 중량체는 상기 수평붐과의 거리를 조절할 수 있도록 신축가능한 거리조절부를 통해 상기 수평붐과 연결된 것을 특징으로 하는 타워크레인.
  7. 제 1항에 있어서,
    상기 수평붐은 하단에 지면과 접촉하여 상기 수평붐을 수직붐과 함께 지지하도록 수직방향으로 신축가능한 보조지지대를 추가로 장착한 것을 특징으로 하는 타워크레인.
  8. 제 6항 또는 제 7항에 있어서,
    상기 거리조절부 또는 보조지지대는 복수의 붐대가 다단으로 신축가능하게 연결된 붐조립체;
    상기 붐조립체의 양측에 고정되어 붐조립체를 따라 신축하는 시저형 링크부;
    상기 붐 조립체의 신축력을 제공하는 실린더부;를 포함하는 것을 특징으로 하는 타워크레인.
KR1020100103624A 2010-10-22 2010-10-22 타워 크레인 Abandoned KR20120042115A (ko)

Priority Applications (1)

Application Number Priority Date Filing Date Title
KR1020100103624A KR20120042115A (ko) 2010-10-22 2010-10-22 타워 크레인

Applications Claiming Priority (1)

Application Number Priority Date Filing Date Title
KR1020100103624A KR20120042115A (ko) 2010-10-22 2010-10-22 타워 크레인

Publications (1)

Publication Number Publication Date
KR20120042115A true KR20120042115A (ko) 2012-05-03

Family

ID=46262947

Family Applications (1)

Application Number Title Priority Date Filing Date
KR1020100103624A Abandoned KR20120042115A (ko) 2010-10-22 2010-10-22 타워 크레인

Country Status (1)

Country Link
KR (1) KR20120042115A (ko)

Cited By (10)

* Cited by examiner, † Cited by third party
Publication number Priority date Publication date Assignee Title
KR101689107B1 (ko) * 2016-05-03 2016-12-22 유흥식 러핑 지브형 탑리스 타워크레인
WO2017005365A1 (de) * 2015-07-06 2017-01-12 Liebherr-Werk Biberach Gmbh Turmkran
CN107010550A (zh) * 2017-05-17 2017-08-04 李瑞平 一种配重可调节悬臂式旋转起重机
KR20180029621A (ko) * 2016-09-13 2018-03-21 김선규 유압호스를 이용한 크레인
KR101869685B1 (ko) * 2018-03-20 2018-06-21 호산엔지니어링(주) 타워크레인 텔레스코핑 장치
WO2020091090A1 (ko) * 2018-10-29 2020-05-07 엄부섭 안전성이 향상된 타워크레인
CN113104742A (zh) * 2021-04-14 2021-07-13 潘归强 一种建筑桥梁道路施工用钢结构塔吊
CN115893234A (zh) * 2022-12-19 2023-04-04 杭州未名信科科技有限公司 智能塔吊和智能塔吊的大臂平衡控制方法
WO2023096174A1 (ko) * 2021-11-29 2023-06-01 엄부섭 스마트 타워크레인
KR102680607B1 (ko) * 2023-07-20 2024-07-03 엄부섭 카운터지브 일체형 유압식 러핑 타워크레인

Cited By (14)

* Cited by examiner, † Cited by third party
Publication number Priority date Publication date Assignee Title
US10843908B2 (en) 2015-07-06 2020-11-24 Liebherr-Werk Biberach Gmbh Tower crane
US20180273353A1 (en) * 2015-07-06 2018-09-27 Liebherr-Werk Biberach Gmbh Tower crane
CN108025897A (zh) * 2015-07-06 2018-05-11 利勃海尔工厂比伯拉赫股份有限公司 一种塔式起重机
CN108025897B (zh) * 2015-07-06 2020-09-29 利勃海尔工厂比伯拉赫股份有限公司 一种塔式起重机
WO2017005365A1 (de) * 2015-07-06 2017-01-12 Liebherr-Werk Biberach Gmbh Turmkran
KR101689107B1 (ko) * 2016-05-03 2016-12-22 유흥식 러핑 지브형 탑리스 타워크레인
KR20180029621A (ko) * 2016-09-13 2018-03-21 김선규 유압호스를 이용한 크레인
CN107010550A (zh) * 2017-05-17 2017-08-04 李瑞平 一种配重可调节悬臂式旋转起重机
KR101869685B1 (ko) * 2018-03-20 2018-06-21 호산엔지니어링(주) 타워크레인 텔레스코핑 장치
WO2020091090A1 (ko) * 2018-10-29 2020-05-07 엄부섭 안전성이 향상된 타워크레인
CN113104742A (zh) * 2021-04-14 2021-07-13 潘归强 一种建筑桥梁道路施工用钢结构塔吊
WO2023096174A1 (ko) * 2021-11-29 2023-06-01 엄부섭 스마트 타워크레인
CN115893234A (zh) * 2022-12-19 2023-04-04 杭州未名信科科技有限公司 智能塔吊和智能塔吊的大臂平衡控制方法
KR102680607B1 (ko) * 2023-07-20 2024-07-03 엄부섭 카운터지브 일체형 유압식 러핑 타워크레인

Similar Documents

Publication Publication Date Title
KR20120042115A (ko) 타워 크레인
EP2969884B1 (en) Self erecting jacking tower
CA2848005C (en) Hoisting platform system
CA2903613C (en) Safety mechanism for scissors lift assembly
KR20220146782A (ko) 풍력 발전 시스템의 설치와 유지 보수를 위한 자력 승강식 크레인 장치
CN102303821A (zh) 基于钢绳牵引变幅的吊臂平衡式动臂塔机
KR20220146781A (ko) 풍력 발전 시스템의 설치와 유지 보수를 위한 자력 승강식 크레인 장치
CN207348480U (zh) 高位大块玻璃安装装置
CN114852863A (zh) 双向伸缩卡位式u型节段梁自动化吊具及其施工方法
KR100846209B1 (ko) 타워크레인용 트롤리
JPH1181246A (ja) プレキャストブロック工法の緊張ジャッキ移動装置
CN202296907U (zh) 基于钢绳牵引变幅的吊臂平衡式动臂塔机
CN107826986A (zh) 一种具有a型结构吊臂的变幅式桥面吊机
CN205709649U (zh) 一种简易悬臂吊
CN100417586C (zh) 大型桥式起重机整体提升方法及其设备
CN113620186A (zh) 一种双臂电力抱杆
CN219653732U (zh) 一种用于护坡作业的辅助设备
RU2404113C1 (ru) Устройство для изменения вылета стрелы подъемно-транспортного средства (варианты)
JP6956627B2 (ja) 水平ジブを備えた揚重装置
CN2483472Y (zh) 动、平臂起重带倒节爬升塔式起重混凝土布料两用机
CN208378261U (zh) 一种支撑架吊装装置
CN218560919U (zh) 动臂塔机
CN221253704U (zh) 一种吊臂
CN106320525B (zh) 采光井顶棚大跨度圆钢管桁架旋转滑移施工方法
CN116356710B (zh) 一种悬索桥空间缆顶撑设备

Legal Events

Date Code Title Description
A201 Request for examination
PA0109 Patent application

Patent event code: PA01091R01D

Comment text: Patent Application

Patent event date: 20101022

PA0201 Request for examination
PG1501 Laying open of application
E902 Notification of reason for refusal
PE0902 Notice of grounds for rejection

Comment text: Notification of reason for refusal

Patent event date: 20120529

Patent event code: PE09021S01D

E902 Notification of reason for refusal
PE0902 Notice of grounds for rejection

Comment text: Notification of reason for refusal

Patent event date: 20121227

Patent event code: PE09021S01D

E701 Decision to grant or registration of patent right
PE0701 Decision of registration

Patent event code: PE07011S01D

Comment text: Decision to Grant Registration

Patent event date: 20130520

PC1904 Unpaid initial registration fee