RU2337493C2 - Получение собственных векторов для пространственной обработки в системах связи mimo - Google Patents
Получение собственных векторов для пространственной обработки в системах связи mimo Download PDFInfo
- Publication number
- RU2337493C2 RU2337493C2 RU2005121540/09A RU2005121540A RU2337493C2 RU 2337493 C2 RU2337493 C2 RU 2337493C2 RU 2005121540/09 A RU2005121540/09 A RU 2005121540/09A RU 2005121540 A RU2005121540 A RU 2005121540A RU 2337493 C2 RU2337493 C2 RU 2337493C2
- Authority
- RU
- Russia
- Prior art keywords
- eigenvectors
- matrix
- vectors
- reference signal
- mimo communication
- Prior art date
Links
- 239000013598 vector Substances 0.000 title claims abstract description 95
- 238000012545 processing Methods 0.000 title claims abstract description 55
- 238000004891 communication Methods 0.000 title claims abstract description 40
- 238000000034 method Methods 0.000 claims abstract description 56
- 238000000354 decomposition reaction Methods 0.000 claims abstract description 40
- 238000001914 filtration Methods 0.000 claims abstract description 28
- 238000004364 calculation method Methods 0.000 claims abstract description 10
- 230000005540 biological transmission Effects 0.000 claims description 53
- 239000011159 matrix material Substances 0.000 abstract description 144
- 230000004044 response Effects 0.000 abstract description 42
- 230000000694 effects Effects 0.000 abstract description 3
- 238000012546 transfer Methods 0.000 abstract description 3
- 238000011156 evaluation Methods 0.000 abstract 2
- 238000005516 engineering process Methods 0.000 abstract 1
- 230000008054 signal transmission Effects 0.000 abstract 1
- 239000000126 substance Substances 0.000 abstract 1
- 230000008569 process Effects 0.000 description 13
- 238000010586 diagram Methods 0.000 description 4
- 230000021615 conjugation Effects 0.000 description 3
- 230000006870 function Effects 0.000 description 3
- 230000011664 signaling Effects 0.000 description 3
- 230000017105 transposition Effects 0.000 description 3
- KLDZYURQCUYZBL-UHFFFAOYSA-N 2-[3-[(2-hydroxyphenyl)methylideneamino]propyliminomethyl]phenol Chemical compound OC1=CC=CC=C1C=NCCCN=CC1=CC=CC=C1O KLDZYURQCUYZBL-UHFFFAOYSA-N 0.000 description 2
- 230000009286 beneficial effect Effects 0.000 description 2
- 230000015556 catabolic process Effects 0.000 description 2
- 238000012937 correction Methods 0.000 description 2
- 125000004122 cyclic group Chemical group 0.000 description 2
- 238000006731 degradation reaction Methods 0.000 description 2
- 201000001098 delayed sleep phase syndrome Diseases 0.000 description 2
- 208000033921 delayed sleep phase type circadian rhythm sleep disease Diseases 0.000 description 2
- 238000005259 measurement Methods 0.000 description 2
- XDLMVUHYZWKMMD-UHFFFAOYSA-N 3-trimethoxysilylpropyl 2-methylprop-2-enoate Chemical compound CO[Si](OC)(OC)CCCOC(=O)C(C)=C XDLMVUHYZWKMMD-UHFFFAOYSA-N 0.000 description 1
- 241000228740 Procrustes Species 0.000 description 1
- 239000000654 additive Substances 0.000 description 1
- 230000000996 additive effect Effects 0.000 description 1
- 230000003321 amplification Effects 0.000 description 1
- 238000004458 analytical method Methods 0.000 description 1
- 238000003491 array Methods 0.000 description 1
- 230000008859 change Effects 0.000 description 1
- 230000003247 decreasing effect Effects 0.000 description 1
- 238000009795 derivation Methods 0.000 description 1
- 230000006866 deterioration Effects 0.000 description 1
- 230000006872 improvement Effects 0.000 description 1
- 230000010354 integration Effects 0.000 description 1
- 238000012986 modification Methods 0.000 description 1
- 230000004048 modification Effects 0.000 description 1
- 238000010606 normalization Methods 0.000 description 1
- 238000003199 nucleic acid amplification method Methods 0.000 description 1
Images
Classifications
-
- H—ELECTRICITY
- H04—ELECTRIC COMMUNICATION TECHNIQUE
- H04L—TRANSMISSION OF DIGITAL INFORMATION, e.g. TELEGRAPHIC COMMUNICATION
- H04L25/00—Baseband systems
- H04L25/02—Details ; arrangements for supplying electrical power along data transmission lines
-
- H—ELECTRICITY
- H04—ELECTRIC COMMUNICATION TECHNIQUE
- H04B—TRANSMISSION
- H04B7/00—Radio transmission systems, i.e. using radiation field
- H04B7/02—Diversity systems; Multi-antenna system, i.e. transmission or reception using multiple antennas
- H04B7/04—Diversity systems; Multi-antenna system, i.e. transmission or reception using multiple antennas using two or more spaced independent antennas
- H04B7/0413—MIMO systems
- H04B7/0417—Feedback systems
- H04B7/0421—Feedback systems utilizing implicit feedback, e.g. steered pilot signals
-
- H—ELECTRICITY
- H04—ELECTRIC COMMUNICATION TECHNIQUE
- H04B—TRANSMISSION
- H04B7/00—Radio transmission systems, i.e. using radiation field
-
- H—ELECTRICITY
- H04—ELECTRIC COMMUNICATION TECHNIQUE
- H04L—TRANSMISSION OF DIGITAL INFORMATION, e.g. TELEGRAPHIC COMMUNICATION
- H04L1/00—Arrangements for detecting or preventing errors in the information received
- H04L1/02—Arrangements for detecting or preventing errors in the information received by diversity reception
- H04L1/06—Arrangements for detecting or preventing errors in the information received by diversity reception using space diversity
-
- H—ELECTRICITY
- H04—ELECTRIC COMMUNICATION TECHNIQUE
- H04L—TRANSMISSION OF DIGITAL INFORMATION, e.g. TELEGRAPHIC COMMUNICATION
- H04L25/00—Baseband systems
- H04L25/02—Details ; arrangements for supplying electrical power along data transmission lines
- H04L25/0202—Channel estimation
- H04L25/0204—Channel estimation of multiple channels
-
- H—ELECTRICITY
- H04—ELECTRIC COMMUNICATION TECHNIQUE
- H04L—TRANSMISSION OF DIGITAL INFORMATION, e.g. TELEGRAPHIC COMMUNICATION
- H04L25/00—Baseband systems
- H04L25/02—Details ; arrangements for supplying electrical power along data transmission lines
- H04L25/0202—Channel estimation
- H04L25/024—Channel estimation channel estimation algorithms
- H04L25/0242—Channel estimation channel estimation algorithms using matrix methods
- H04L25/0248—Eigen-space methods
-
- H—ELECTRICITY
- H04—ELECTRIC COMMUNICATION TECHNIQUE
- H04L—TRANSMISSION OF DIGITAL INFORMATION, e.g. TELEGRAPHIC COMMUNICATION
- H04L25/00—Baseband systems
- H04L25/02—Details ; arrangements for supplying electrical power along data transmission lines
- H04L25/03—Shaping networks in transmitter or receiver, e.g. adaptive shaping networks
- H04L25/03006—Arrangements for removing intersymbol interference
- H04L25/03343—Arrangements at the transmitter end
-
- H—ELECTRICITY
- H04—ELECTRIC COMMUNICATION TECHNIQUE
- H04L—TRANSMISSION OF DIGITAL INFORMATION, e.g. TELEGRAPHIC COMMUNICATION
- H04L27/00—Modulated-carrier systems
- H04L27/26—Systems using multi-frequency codes
-
- H—ELECTRICITY
- H04—ELECTRIC COMMUNICATION TECHNIQUE
- H04B—TRANSMISSION
- H04B7/00—Radio transmission systems, i.e. using radiation field
- H04B7/02—Diversity systems; Multi-antenna system, i.e. transmission or reception using multiple antennas
- H04B7/04—Diversity systems; Multi-antenna system, i.e. transmission or reception using multiple antennas using two or more spaced independent antennas
- H04B7/06—Diversity systems; Multi-antenna system, i.e. transmission or reception using multiple antennas using two or more spaced independent antennas at the transmitting station
- H04B7/0613—Diversity systems; Multi-antenna system, i.e. transmission or reception using multiple antennas using two or more spaced independent antennas at the transmitting station using simultaneous transmission
- H04B7/0615—Diversity systems; Multi-antenna system, i.e. transmission or reception using multiple antennas using two or more spaced independent antennas at the transmitting station using simultaneous transmission of weighted versions of same signal
-
- H—ELECTRICITY
- H04—ELECTRIC COMMUNICATION TECHNIQUE
- H04B—TRANSMISSION
- H04B7/00—Radio transmission systems, i.e. using radiation field
- H04B7/02—Diversity systems; Multi-antenna system, i.e. transmission or reception using multiple antennas
- H04B7/04—Diversity systems; Multi-antenna system, i.e. transmission or reception using multiple antennas using two or more spaced independent antennas
- H04B7/08—Diversity systems; Multi-antenna system, i.e. transmission or reception using multiple antennas using two or more spaced independent antennas at the receiving station
- H04B7/0837—Diversity systems; Multi-antenna system, i.e. transmission or reception using multiple antennas using two or more spaced independent antennas at the receiving station using pre-detection combining
- H04B7/0842—Weighted combining
-
- H—ELECTRICITY
- H04—ELECTRIC COMMUNICATION TECHNIQUE
- H04L—TRANSMISSION OF DIGITAL INFORMATION, e.g. TELEGRAPHIC COMMUNICATION
- H04L25/00—Baseband systems
- H04L25/02—Details ; arrangements for supplying electrical power along data transmission lines
- H04L25/03—Shaping networks in transmitter or receiver, e.g. adaptive shaping networks
- H04L25/03006—Arrangements for removing intersymbol interference
- H04L2025/0335—Arrangements for removing intersymbol interference characterised by the type of transmission
- H04L2025/03426—Arrangements for removing intersymbol interference characterised by the type of transmission transmission using multiple-input and multiple-output channels
Landscapes
- Engineering & Computer Science (AREA)
- Computer Networks & Wireless Communication (AREA)
- Signal Processing (AREA)
- Power Engineering (AREA)
- Physics & Mathematics (AREA)
- Mathematical Physics (AREA)
- Radio Transmission System (AREA)
- Mobile Radio Communication Systems (AREA)
Applications Claiming Priority (4)
| Application Number | Priority Date | Filing Date | Title |
|---|---|---|---|
| US43276002P | 2002-12-11 | 2002-12-11 | |
| US60/432,760 | 2002-12-11 | ||
| US10/729,070 US7280625B2 (en) | 2002-12-11 | 2003-12-04 | Derivation of eigenvectors for spatial processing in MIMO communication systems |
| US10/729,070 | 2003-12-04 |
Publications (2)
| Publication Number | Publication Date |
|---|---|
| RU2005121540A RU2005121540A (ru) | 2006-01-27 |
| RU2337493C2 true RU2337493C2 (ru) | 2008-10-27 |
Family
ID=32511664
Family Applications (1)
| Application Number | Title | Priority Date | Filing Date |
|---|---|---|---|
| RU2005121540/09A RU2337493C2 (ru) | 2002-12-11 | 2003-12-09 | Получение собственных векторов для пространственной обработки в системах связи mimo |
Country Status (15)
| Country | Link |
|---|---|
| US (2) | US7280625B2 (enExample) |
| EP (2) | EP1570616B1 (enExample) |
| JP (2) | JP4532412B2 (enExample) |
| KR (1) | KR101000170B1 (enExample) |
| CN (2) | CN100542145C (enExample) |
| AT (2) | ATE479263T1 (enExample) |
| AU (2) | AU2003297873C1 (enExample) |
| BR (1) | BR0317173A (enExample) |
| CA (3) | CA2809754C (enExample) |
| DE (2) | DE60322424D1 (enExample) |
| ES (2) | ES2349490T3 (enExample) |
| IL (1) | IL168932A (enExample) |
| MX (1) | MXPA05006231A (enExample) |
| RU (1) | RU2337493C2 (enExample) |
| WO (1) | WO2004054191A1 (enExample) |
Families Citing this family (82)
| Publication number | Priority date | Publication date | Assignee | Title |
|---|---|---|---|---|
| US8194770B2 (en) | 2002-08-27 | 2012-06-05 | Qualcomm Incorporated | Coded MIMO systems with selective channel inversion applied per eigenmode |
| US8169944B2 (en) | 2002-10-25 | 2012-05-01 | Qualcomm Incorporated | Random access for wireless multiple-access communication systems |
| US8208364B2 (en) | 2002-10-25 | 2012-06-26 | Qualcomm Incorporated | MIMO system with multiple spatial multiplexing modes |
| US20040081131A1 (en) | 2002-10-25 | 2004-04-29 | Walton Jay Rod | OFDM communication system with multiple OFDM symbol sizes |
| US7324429B2 (en) | 2002-10-25 | 2008-01-29 | Qualcomm, Incorporated | Multi-mode terminal in a wireless MIMO system |
| US8134976B2 (en) | 2002-10-25 | 2012-03-13 | Qualcomm Incorporated | Channel calibration for a time division duplexed communication system |
| US8170513B2 (en) | 2002-10-25 | 2012-05-01 | Qualcomm Incorporated | Data detection and demodulation for wireless communication systems |
| US8218609B2 (en) | 2002-10-25 | 2012-07-10 | Qualcomm Incorporated | Closed-loop rate control for a multi-channel communication system |
| US7002900B2 (en) | 2002-10-25 | 2006-02-21 | Qualcomm Incorporated | Transmit diversity processing for a multi-antenna communication system |
| US8320301B2 (en) | 2002-10-25 | 2012-11-27 | Qualcomm Incorporated | MIMO WLAN system |
| US7151809B2 (en) * | 2002-10-25 | 2006-12-19 | Qualcomm, Incorporated | Channel estimation and spatial processing for TDD MIMO systems |
| US7986742B2 (en) | 2002-10-25 | 2011-07-26 | Qualcomm Incorporated | Pilots for MIMO communication system |
| US8570988B2 (en) | 2002-10-25 | 2013-10-29 | Qualcomm Incorporated | Channel calibration for a time division duplexed communication system |
| US7280625B2 (en) | 2002-12-11 | 2007-10-09 | Qualcomm Incorporated | Derivation of eigenvectors for spatial processing in MIMO communication systems |
| US7680461B2 (en) * | 2003-11-05 | 2010-03-16 | Sony Corporation | Wireless communications system, wireless communications method, and wireless communications apparatus |
| US7298805B2 (en) * | 2003-11-21 | 2007-11-20 | Qualcomm Incorporated | Multi-antenna transmission for spatial division multiple access |
| US9473269B2 (en) | 2003-12-01 | 2016-10-18 | Qualcomm Incorporated | Method and apparatus for providing an efficient control channel structure in a wireless communication system |
| US8204149B2 (en) | 2003-12-17 | 2012-06-19 | Qualcomm Incorporated | Spatial spreading in a multi-antenna communication system |
| US7336746B2 (en) | 2004-12-09 | 2008-02-26 | Qualcomm Incorporated | Data transmission with spatial spreading in a MIMO communication system |
| KR100804651B1 (ko) | 2004-02-13 | 2008-02-20 | 포스데이타 주식회사 | 멀티 캐리어 통신 시스템에서의 적응적 전송 및 피드백방법 및 장치 |
| US8169889B2 (en) | 2004-02-18 | 2012-05-01 | Qualcomm Incorporated | Transmit diversity and spatial spreading for an OFDM-based multi-antenna communication system |
| US7492741B2 (en) * | 2004-04-12 | 2009-02-17 | Alcatel-Lucent Usa Inc. | Space-time multipath searcher |
| US7346115B2 (en) * | 2004-04-22 | 2008-03-18 | Qualcomm Incorporated | Iterative eigenvector computation for a MIMO communication system |
| US8923785B2 (en) | 2004-05-07 | 2014-12-30 | Qualcomm Incorporated | Continuous beamforming for a MIMO-OFDM system |
| US8285226B2 (en) | 2004-05-07 | 2012-10-09 | Qualcomm Incorporated | Steering diversity for an OFDM-based multi-antenna communication system |
| KR101098215B1 (ko) * | 2004-05-10 | 2011-12-28 | 소니 주식회사 | 무선 통신 시스템, 무선 통신 장치 및 무선 통신 방법, 및 기록 매체 |
| US7616695B1 (en) * | 2004-06-17 | 2009-11-10 | Marvell International Ltd. | MIMO equalizer design: an algorithmic perspective |
| US7978649B2 (en) | 2004-07-15 | 2011-07-12 | Qualcomm, Incorporated | Unified MIMO transmission and reception |
| ES2395941T3 (es) | 2004-08-11 | 2013-02-18 | Interdigital Technology Corporation | Sondeo de canal para prestaciones de sistema mejoradas |
| US7555035B2 (en) * | 2004-08-31 | 2009-06-30 | Ntt Docomo, Inc. | Communication system and method using a relay node |
| US7366245B2 (en) * | 2004-09-10 | 2008-04-29 | Intel Corporation | Calibration in MIMO systems |
| KR20070072862A (ko) * | 2004-09-28 | 2007-07-06 | 마쓰시다 일렉트릭 인더스트리얼 컴패니 리미티드 | 멀티 캐리어 통신 장치 및 멀티 캐리어 통신 방법 |
| CN100388645C (zh) * | 2004-09-28 | 2008-05-14 | 上海贝尔阿尔卡特股份有限公司 | 一种改善v-blast检测性能的预编码方法和装置 |
| CN100373811C (zh) * | 2004-12-10 | 2008-03-05 | 电子科技大学 | 一种分布式多入多出系统的信号检测方法 |
| US7719993B2 (en) * | 2004-12-30 | 2010-05-18 | Intel Corporation | Downlink transmit beamforming |
| US7778826B2 (en) * | 2005-01-13 | 2010-08-17 | Intel Corporation | Beamforming codebook generation system and associated methods |
| US7554952B2 (en) * | 2005-02-09 | 2009-06-30 | Alcatel-Lucent Usa Inc. | Distributed multiple antenna scheduling for wireless packet data communication system using OFDM |
| US7747271B2 (en) * | 2005-03-02 | 2010-06-29 | Qualcomm Incorporated | Radiated power control for a multi-antenna transmission |
| JP4646680B2 (ja) * | 2005-03-04 | 2011-03-09 | 三洋電機株式会社 | キャリブレーション方法ならびにそれを利用した無線装置および通信システム |
| US8515359B2 (en) * | 2005-03-09 | 2013-08-20 | Intel Corporation | Method and apparatus to provide low cost transmit beamforming for network devices |
| US7978759B1 (en) | 2005-03-24 | 2011-07-12 | Marvell International Ltd. | Scalable equalizer for multiple-in-multiple-out (MIMO) wireless transmission |
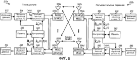
| US7602855B2 (en) * | 2005-04-01 | 2009-10-13 | Interdigital Technology Corporation | Method and apparatus for singular value decomposition of a channel matrix |
| JP4646682B2 (ja) * | 2005-04-13 | 2011-03-09 | 三洋電機株式会社 | キャリブレーション方法ならびにそれを利用した無線装置および通信システム |
| US7466749B2 (en) | 2005-05-12 | 2008-12-16 | Qualcomm Incorporated | Rate selection with margin sharing |
| US8358714B2 (en) | 2005-06-16 | 2013-01-22 | Qualcomm Incorporated | Coding and modulation for multiple data streams in a communication system |
| KR101124863B1 (ko) | 2005-07-20 | 2012-03-27 | 에스티마이크로일렉트로닉스 에스.알.엘. | 다중 소스로부터의 통신신호를 처리하는 장치 및 방법 |
| WO2008110854A2 (en) | 2007-03-14 | 2008-09-18 | Stmicroelectronics S.R.L. | A method and apparatus for multiple antenna communications, computer program product therefor |
| US9025689B2 (en) | 2005-07-20 | 2015-05-05 | Stmicroelectronics S.R.L. | Method and apparatus for multiple antenna communications, and related systems and computer program |
| CA2515997A1 (en) * | 2005-08-15 | 2007-02-15 | Research In Motion Limited | Implementation of joint space-time optimum filters (jstof) using qr and eigenvalue decompositions |
| WO2007036073A1 (en) * | 2005-09-30 | 2007-04-05 | Huawei Technologies Co., Ltd. | Resource allocation method for mimo-ofdm of multi-user access systems |
| US8200164B2 (en) * | 2005-12-01 | 2012-06-12 | Intel Corporation | Wireless communication system, associated methods and data structures |
| US8543070B2 (en) | 2006-04-24 | 2013-09-24 | Qualcomm Incorporated | Reduced complexity beam-steered MIMO OFDM system |
| US8494084B1 (en) | 2006-05-02 | 2013-07-23 | Marvell International Ltd. | Reuse of a matrix equalizer for the purpose of transmit beamforming in a wireless MIMO communication system |
| US8290089B2 (en) * | 2006-05-22 | 2012-10-16 | Qualcomm Incorporated | Derivation and feedback of transmit steering matrix |
| US7864657B2 (en) * | 2006-05-23 | 2011-01-04 | Motorola Mobility, Inc. | Method and apparatus for performing stream weighting in an SDMA communication system |
| JP4836186B2 (ja) * | 2006-05-31 | 2011-12-14 | 三洋電機株式会社 | 送信装置 |
| KR100789754B1 (ko) * | 2006-07-28 | 2008-01-02 | 한국전자통신연구원 | 다중입력 다중출력 시스템에서 격자 리덕션 알고리즘을이용한 최대우도 검파방법 |
| KR101210332B1 (ko) * | 2006-09-27 | 2012-12-10 | 삼성전자주식회사 | 증폭-순방향 릴레이 시스템의 릴레이 전력 제어 장치 및 그방법 |
| ATE492082T1 (de) * | 2006-10-11 | 2011-01-15 | Thomson Licensing | Verfahren zur dekodierung eines empfangenen multidimensionalen signals und entsprechende vorrichtung |
| US8885744B2 (en) | 2006-11-10 | 2014-11-11 | Qualcomm Incorporated | Providing antenna diversity in a wireless communication system |
| EP1936851B1 (en) * | 2006-12-18 | 2019-08-28 | Huawei Technologies Co., Ltd. | Method and apparatus for transmitting/receiving data and control information through an uplink in a wireless communication system |
| US7809074B2 (en) * | 2007-03-16 | 2010-10-05 | Freescale Semiconductor, Inc. | Generalized reference signaling scheme for multi-user, multiple input, multiple output (MU-MIMO) using arbitrarily precoded reference signals |
| US8223872B1 (en) | 2007-04-04 | 2012-07-17 | Marvell International Ltd. | Reuse of a matrix equalizer for the purpose of transmit beamforming in a wireless MIMO communication system |
| US8199841B1 (en) | 2007-04-26 | 2012-06-12 | Marvell International Ltd. | Channel tracking in a wireless multiple-input multiple-output (MIMO) communication system |
| GB2449935A (en) * | 2007-06-08 | 2008-12-10 | Fujitsu Ltd | Closed loop MIMO communication system using SISO r.m.s. delay spread to estimate eigen coherence bandwidth. |
| TWI400902B (zh) * | 2007-06-28 | 2013-07-01 | Ind Tech Res Inst | 多重輸入輸出通訊系統之符元解映射方法及裝置 |
| US8379745B1 (en) * | 2007-07-06 | 2013-02-19 | Marvell International Ltd. | Forward channel variation detection in a wireless communication system |
| US8014265B2 (en) * | 2007-08-15 | 2011-09-06 | Qualcomm Incorporated | Eigen-beamforming for wireless communication systems |
| KR100959645B1 (ko) * | 2007-10-31 | 2010-05-26 | 한국전자통신연구원 | 다중사용자 다중입출력 시스템의 송수신 방법 |
| WO2009057876A1 (en) * | 2007-10-31 | 2009-05-07 | Electronics And Telecommunications Research Institute | Transmitting/receiving method for multi-user multiple-input multiple-output system |
| JP5122428B2 (ja) * | 2008-02-04 | 2013-01-16 | 株式会社エヌ・ティ・ティ・ドコモ | 移動通信システム、受信装置及び方法 |
| US8340605B2 (en) * | 2008-08-06 | 2012-12-25 | Qualcomm Incorporated | Coordinated transmissions between cells of a base station in a wireless communications system |
| CN101686500B (zh) * | 2008-09-25 | 2013-01-23 | 中国移动通信集团公司 | 确定相关参数的方法、用户终端以及信号赋形方法、基站 |
| EP2374099A1 (en) * | 2008-12-30 | 2011-10-12 | Telecom Italia S.p.A. | Method and system of content recommendation |
| WO2011047713A1 (en) * | 2009-10-20 | 2011-04-28 | Telefonaktiebolaget L M Ericsson (Publ) | Controllable filter to diagonalize a transmission channel |
| US8750400B2 (en) * | 2010-01-04 | 2014-06-10 | Broadcom Corporation | Method and system for an iterative multiple user multiple input multiple output (MU-MIMO) communication system |
| RU2428795C1 (ru) * | 2010-02-24 | 2011-09-10 | Государственное образовательное учреждение высшего профессионального образования Ставропольский государственный университет | Способ передачи информации на основе хаотически формируемых ансамблей дискретных многоуровневых ортогональных сигналов |
| JP2013176008A (ja) * | 2012-02-27 | 2013-09-05 | Kyocera Corp | 通信システム、基地局、移動局及び通信制御方法 |
| FR3009913B1 (fr) * | 2013-08-23 | 2015-08-28 | Thales Sa | Procede de detection d'un signal electromagnetique par un reseau antennaire a diversite de diagramme et dispositif mettant en oeuvre le procede |
| WO2018187902A1 (en) | 2017-04-10 | 2018-10-18 | Qualcomm Incorporated | An efficient interleaver design for polar codes |
| CN109461295B (zh) * | 2018-12-07 | 2021-06-11 | 连尚(新昌)网络科技有限公司 | 一种家居报警方法及设备 |
| US10826649B1 (en) | 2018-12-19 | 2020-11-03 | Marvell Asia Pte, Ltd. | WiFi receiver architecture |
Citations (1)
| Publication number | Priority date | Publication date | Assignee | Title |
|---|---|---|---|---|
| US5490165A (en) * | 1993-10-28 | 1996-02-06 | Qualcomm Incorporated | Demodulation element assignment in a system capable of receiving multiple signals |
Family Cites Families (7)
| Publication number | Priority date | Publication date | Assignee | Title |
|---|---|---|---|---|
| US6058105A (en) * | 1997-09-26 | 2000-05-02 | Lucent Technologies Inc. | Multiple antenna communication system and method thereof |
| US6952454B1 (en) * | 2000-03-22 | 2005-10-04 | Qualcomm, Incorporated | Multiplexing of real time services and non-real time services for OFDM systems |
| US20020154705A1 (en) * | 2000-03-22 | 2002-10-24 | Walton Jay R. | High efficiency high performance communications system employing multi-carrier modulation |
| US6961388B2 (en) * | 2001-02-01 | 2005-11-01 | Qualcomm, Incorporated | Coding scheme for a wireless communication system |
| DE10162548A1 (de) | 2001-12-19 | 2003-07-17 | Siemens Ag | Kombination von adaptiver Modulation und Space-Frequency-Block-Codierung oder Antennengewichtung |
| US7039001B2 (en) * | 2002-10-29 | 2006-05-02 | Qualcomm, Incorporated | Channel estimation for OFDM communication systems |
| US7280625B2 (en) * | 2002-12-11 | 2007-10-09 | Qualcomm Incorporated | Derivation of eigenvectors for spatial processing in MIMO communication systems |
-
2003
- 2003-12-04 US US10/729,070 patent/US7280625B2/en active Active
- 2003-12-09 CN CNB2003801086298A patent/CN100542145C/zh not_active Expired - Lifetime
- 2003-12-09 JP JP2005511766A patent/JP4532412B2/ja not_active Expired - Lifetime
- 2003-12-09 CA CA2809754A patent/CA2809754C/en not_active Expired - Lifetime
- 2003-12-09 EP EP03796943A patent/EP1570616B1/en not_active Expired - Lifetime
- 2003-12-09 DE DE60322424T patent/DE60322424D1/de not_active Expired - Lifetime
- 2003-12-09 AT AT08006516T patent/ATE479263T1/de not_active IP Right Cessation
- 2003-12-09 ES ES08006516T patent/ES2349490T3/es not_active Expired - Lifetime
- 2003-12-09 KR KR1020057010650A patent/KR101000170B1/ko not_active Expired - Lifetime
- 2003-12-09 EP EP08006516A patent/EP1940098B1/en not_active Expired - Lifetime
- 2003-12-09 CN CN2009101601762A patent/CN101615983B/zh not_active Expired - Lifetime
- 2003-12-09 RU RU2005121540/09A patent/RU2337493C2/ru active
- 2003-12-09 BR BR0317173-6A patent/BR0317173A/pt active Search and Examination
- 2003-12-09 CA CA2509196A patent/CA2509196C/en not_active Expired - Lifetime
- 2003-12-09 AU AU2003297873A patent/AU2003297873C1/en not_active Ceased
- 2003-12-09 AT AT03796943T patent/ATE402551T1/de not_active IP Right Cessation
- 2003-12-09 DE DE60333961T patent/DE60333961D1/de not_active Expired - Lifetime
- 2003-12-09 CA CA2809768A patent/CA2809768C/en not_active Expired - Lifetime
- 2003-12-09 MX MXPA05006231A patent/MXPA05006231A/es active IP Right Grant
- 2003-12-09 WO PCT/US2003/039392 patent/WO2004054191A1/en not_active Ceased
- 2003-12-09 ES ES03796943T patent/ES2308027T3/es not_active Expired - Lifetime
-
2005
- 2005-06-01 IL IL168932A patent/IL168932A/en not_active IP Right Cessation
-
2007
- 2007-09-04 US US11/849,976 patent/US7551698B2/en not_active Expired - Lifetime
-
2009
- 2009-09-24 AU AU2009220023A patent/AU2009220023C1/en not_active Ceased
-
2010
- 2010-04-08 JP JP2010089246A patent/JP5175315B2/ja not_active Expired - Lifetime
Patent Citations (1)
| Publication number | Priority date | Publication date | Assignee | Title |
|---|---|---|---|---|
| US5490165A (en) * | 1993-10-28 | 1996-02-06 | Qualcomm Incorporated | Demodulation element assignment in a system capable of receiving multiple signals |
Also Published As
Similar Documents
| Publication | Publication Date | Title |
|---|---|---|
| RU2337493C2 (ru) | Получение собственных векторов для пространственной обработки в системах связи mimo | |
| RU2406228C2 (ru) | Выбор скорости передачи для собственного управления в mimo-системе связи | |
| US8570988B2 (en) | Channel calibration for a time division duplexed communication system | |
| US7346115B2 (en) | Iterative eigenvector computation for a MIMO communication system | |
| US20070086536A1 (en) | Channel estimation and spatial processing for tdd mimo systems | |
| US20060002496A1 (en) | Efficient computation of spatial filter matrices for steering transmit diversity in a MIMO communication system | |
| US20050185728A1 (en) | Calibration of downlink and uplink channel responses in a wireless MIMO communication system | |
| US20050227628A1 (en) | Calibration of transmit and receive chains in a MIMO communication system | |
| CN1729634B (zh) | Tdd mimo系统的信道估计和空间处理 | |
| RU2351071C2 (ru) | Оценка канала и пространственная обработка для tdd mimo систем | |
| HK1088143B (en) | Derivation of eigenvectors for spatial processing in mimo communication systems | |
| Ferreira et al. | A low complexity channel estimation scheme for Massive MIMO systems | |
| HK1114962A (en) | Channel calibration for a time division duplexed communication system |