RU2334103C2 - Резцедержатель для резца угольного или добычного струга и резец - Google Patents
Резцедержатель для резца угольного или добычного струга и резец Download PDFInfo
- Publication number
- RU2334103C2 RU2334103C2 RU2004138731/03A RU2004138731A RU2334103C2 RU 2334103 C2 RU2334103 C2 RU 2334103C2 RU 2004138731/03 A RU2004138731/03 A RU 2004138731/03A RU 2004138731 A RU2004138731 A RU 2004138731A RU 2334103 C2 RU2334103 C2 RU 2334103C2
- Authority
- RU
- Russia
- Prior art keywords
- tool holder
- support wall
- cutter
- holder according
- wall
- Prior art date
Links
- OKTJSMMVPCPJKN-UHFFFAOYSA-N Carbon Chemical compound [C] OKTJSMMVPCPJKN-UHFFFAOYSA-N 0.000 title 1
- 229910052799 carbon Inorganic materials 0.000 title 1
- 238000005065 mining Methods 0.000 claims abstract description 8
- 239000003245 coal Substances 0.000 claims description 15
- 230000007423 decrease Effects 0.000 claims description 3
- 238000009434 installation Methods 0.000 claims description 2
- 230000000694 effects Effects 0.000 abstract 1
- 230000002035 prolonged effect Effects 0.000 abstract 1
- 239000000126 substance Substances 0.000 abstract 1
- 238000010079 rubber tapping Methods 0.000 description 10
- 238000003780 insertion Methods 0.000 description 5
- 230000037431 insertion Effects 0.000 description 5
- 230000007704 transition Effects 0.000 description 4
- 238000004519 manufacturing process Methods 0.000 description 3
- 238000009412 basement excavation Methods 0.000 description 1
- 239000000969 carrier Substances 0.000 description 1
- 238000010276 construction Methods 0.000 description 1
- 230000000630 rising effect Effects 0.000 description 1
- 238000003466 welding Methods 0.000 description 1
Images
Classifications
-
- E—FIXED CONSTRUCTIONS
- E21—EARTH OR ROCK DRILLING; MINING
- E21C—MINING OR QUARRYING
- E21C35/00—Details of, or accessories for, machines for slitting or completely freeing the mineral from the seam, not provided for in groups E21C25/00 - E21C33/00, E21C37/00 or E21C39/00
- E21C35/18—Mining picks; Holders therefor
- E21C35/19—Means for fixing picks or holders
- E21C35/193—Means for fixing picks or holders using bolts as main fixing elements
-
- Y—GENERAL TAGGING OF NEW TECHNOLOGICAL DEVELOPMENTS; GENERAL TAGGING OF CROSS-SECTIONAL TECHNOLOGIES SPANNING OVER SEVERAL SECTIONS OF THE IPC; TECHNICAL SUBJECTS COVERED BY FORMER USPC CROSS-REFERENCE ART COLLECTIONS [XRACs] AND DIGESTS
- Y10—TECHNICAL SUBJECTS COVERED BY FORMER USPC
- Y10T—TECHNICAL SUBJECTS COVERED BY FORMER US CLASSIFICATION
- Y10T279/00—Chucks or sockets
- Y10T279/17—Socket type
- Y10T279/17042—Lost motion
- Y10T279/17051—Swinging external yoke or detent
Landscapes
- Engineering & Computer Science (AREA)
- Mining & Mineral Resources (AREA)
- Mechanical Engineering (AREA)
- Life Sciences & Earth Sciences (AREA)
- General Life Sciences & Earth Sciences (AREA)
- Geochemistry & Mineralogy (AREA)
- Geology (AREA)
- Drilling And Exploitation, And Mining Machines And Methods (AREA)
- Knives (AREA)
- Road Repair (AREA)
- Automatic Tool Replacement In Machine Tools (AREA)
- Component Parts Of Construction Machinery (AREA)
Abstract
Изобретение относится к области горного дела, в частности к резцедержателям вспарывающего резца угольного или добычного струга. Технический результат - минимизация вызванного высокими рабочими усилиями при работе струга между хвостовиком резца и резцедержателем износа на контактных поверхностях в области монтажного кармана, повышение срока службы. Резцедержатель для резца струга имеет открытый на своей верхней стороне, выполненный для приема и поддержки хвостовика резца монтажный карман, который ограничен по краям двумя боковыми по отношению к рабочему направлению струга, одной передней и одной задней опорными стенками, причем задняя опорная стенка выступает над передней опорной стенкой. Одна боковая опорная стенка, обращенная при работе струга от очистного забоя, выступает над передней и другой боковой опорными стенками и образует удлиненную относительно другой боковой опорной стенки боковую подпорку для хвостовика резца. 2 н. и 18 з.п. ф-лы, 6 ил.
Description
Изобретение относится к резцедержателю для резца, в частности вспарывающего резца угольного или добычного струга, имеющему открытый на своей верхней стороне, выполненный для приема и поддержки хвостовика резца монтажный карман, который ограничен по краям двумя боковыми по отношению к рабочему направлению струга, одной передней и одной задней опорными стенками, причем задняя опорная стенка выступает над передней опорной стенкой. Изобретение относится также к резцу, в частности вспарывающему резцу, содержащему головку и хвостовик, вводимый в монтажный карман резцедержателя и закрепляемый в нем посредством фиксирующего болта.
Добычные струги с резцами и резцедержателями для обоих рабочих направлений струга, приваренными, в частности, к поворотным резценосителям, уже давно используются заявителем. На каждом резценосителе струга закреплено несколько распределенных по его высоте резцедержателей, каждый из которых имеет открытый монтажный карман для приема хвостовика резца. Каждый монтажный карман резцедержателя ограничен по краям двумя боковыми по отношению к рабочему направлению струга, одной передней и одной выступающей над ней задней опорными стенками, и, по меньшей мере, один резцедержатель каждого резценосителя служит для размещения вспарывающего резца, который режет добываемый уголь непосредственно на лежачем боку пласта. При работе добычного струга все резцы подвержены высоким, а вспарывающий резец - особенно высоким нагрузкам, которые приводят к чрезмерно сильному износу вспарывающего резца. Из-за этих повышенных усилий принимающий хвостовик вспарывающего резца - резцедержатель также подвержен сравнительно высоким нагрузкам.
В подземных горных разработках необходимо регулярно заменять все резцы угольного или добычного струга. Авторы настоящей заявки установили, что определяющим периодичность замены всех резцов угольного или добычного струга является более сильный износ держателя вспарывающего резца. Заявитель уже наблюдал это, в частности, на добычных стругах, которые оснащены известными из DE 29901985 U1 резцедержателями и образуют уровень техники для настоящего изобретения.
Резцедержатель из DE 29901985 U1 имеет, за исключением отверстия для забивания фиксатора резца, симметричную конструкцию и содержит заднюю опорную стенку, которая заметно возвышается над обеими боковыми и передней опорными стенками для поддержки резца на большой площади даже при высоких нагрузках и при возврате струга из-за высоких усилий струга. У резцедержателя возвышение на задней по отношению к рабочему направлению струга опорной стенке сознательно выражено только в средней области и нисходит к обеим боковым опорным стенкам, причем в то же время торцевые стороны боковых кромок задней опорной стенки снабжены направляющими поверхностями для достижения при работе оптимального отвода угольной мелочи. Благодаря этому устраняется мертвое пространство между боковыми и задней опорными стенками, которое могло бы заполниться при работе струга угольной мелочью, и одновременно достигается оптимальный отвод угольной мелочи при работе.
Исходя из этого известного резцедержателя, в основе изобретения лежит задача минимизации вызванного высокими рабочими усилиями при работе струга между хвостовиком резца и резцедержателем износа на контактных поверхностях в области монтажного кармана с тем, чтобы повысить срок службы резцедержателя или вставленного в него резца и обеспечить более длительную периодичность замены.
Эта задача решается согласно изобретению за счет того, что боковая опорная стенка, обращенная при работе струга от очистного или угольного забоя, т.е. со стороны закладки, выступает как над передней, так и над противоположной боковой, при работе струга расположенной со стороны очистного забоя опорной стенкой и образует удлиненную относительно нее (со стороны закладки) боковую подпорку для хвостовика резца. Более длинная боковая опорная стенка образует, в частности, на своем возвышающемся над более короткой опорной стенкой участке, дополнительный опорный заплечик для боковой подпорки вставленного и зафиксированного резца. Изобретение может быть реализовано с особым преимуществом у резцедержателя для вспарывающего резца, поскольку приложенные через вспарывающий резец к его резцедержателю усилия, т.е. нагрузки на держатель вспарывающего резца, выше, чем нагрузки на другие резцедержатели. Основная идея изобретения может быть, однако, вполне реализована у всех резцедержателей угольного или добычного струга. За счет выполненной более длинной согласно изобретению боковой стенки, расположенной со стороны закладки, достигается существенно улучшенная подпорка хвостовика резца на более сильно нагруженной, ограничивающей монтажный карман опорной стенке, расположенной со стороны закладки. В результате возникает противодействие опрокидыванию вставленного в резцедержатель резца к опрокидыванию при меньших контактных давлениях между контактными зонами. Высокие поперечные усилия, вводимые из-за установки глубины резанья при подвижке направляющего добычный струг транспортера в направлении очистного забоя в резец и карман для резца, могут поэтому восприниматься более благоприятно, нежели в уровне техники и противодействовать выбиванию или расширению монтажного кармана.
В предпочтительном варианте осуществления более длинная боковая опорная стенка возвышается над более короткой боковой опорной стенкой до передней опорной стенки на, по существу, постоянную величину. Далее монтажный карман может быть расположен преимущественно асимметрично между боковыми опорными стенками и иметь до внешней поверхности более короткой боковой опорной стенки резцедержателя меньшее расстояние, чем до внешней поверхности более длинной боковой опорной стенки. За счет асимметричного выполнения кармана для резца и за счет соответственно согласованных с его разными нагрузками разных по толщине боковых опорных стенок монтажный карман резцедержателя приобретает более оптимально согласованную с воспринимаемыми усилиями геометрию без увеличения риска того, что резцедержатель при движении струга будет подвержен более высоким, оказываемым отбитым углем усилиям. Также здесь предпочтительно, если более короткая боковая опорная стенка, расположенная со стороны очистного забоя, имеет меньшую толщину, чем более длинная боковая опорная стенка, расположенная со стороны закладки. Толщина более длинной боковой опорной стенки непрерывно уменьшается преимущественно, по меньшей мере, на части высоты. Кроме того, внешняя сторона более длинной боковой опорной стенки на части высоты может проходить наклонно к продольной средней плоскости монтажного кармана резцедержателя.
Кроме того, задняя опорная стенка имеет преимущественно только в средней области возвышение, которое выступает над обеими боковыми опорными стенками и образует дополнительную заднюю подпорку для резца. Для достижения отвода угольной мелочи также предпочтительно, если обе боковые опорные стенки выполнены с или в виде скосов, нисходящих к монтажному карману. Скосы могут проходить, в частности, под углом приблизительно 93° к продольной средней плоскости монтажного кармана.
Далее преимущественно ограничивающие с боков монтажный карман внутренние поверхности обеих боковых опорных стенок выполнены плоскими, а расстояние между ними возрастает от дна монтажного кармана вверх, т.е. к верхней стороне резцедержателя. Внутренние поверхности обеих боковых опорных стенок могут расходиться, в частности, относительно продольной средней плоскости монтажного кармана под углом приблизительно 1-2°, в частности приблизительно 1,8°. В то же время, как известно, внутренние поверхности передней и задней опорных стенок должны проходить с наклоном к рабочему направлению струга, причем угол наклона, в частности, в предпочтительном варианте осуществления составляет 50-60°, в частности 54,5±1°. Дно кармана резцедержателя преимущественно открыто.
Для фиксации в резцедержателе вставленного резца, как известно, в передней опорной стенке выполнено отверстие для ввода для стержня фиксирующего болта. У держателя согласно изобретению отверстие для ввода переходит преимущественно в выполненную во внутренней поверхности более короткой боковой опорной стенки канавку для ввода и/или в полностью проходящее через заднюю опорную стенку монтажное отверстие свободного конца стержня, с тем чтобы фиксирующий болт можно было оптимально ввести в резцедержатель, а угольную мелочь можно было выколотить, и в фиксированном положении закрепить хвостовик резца одновременно в передней, задней и более короткой боковой опорных стенках. В частности, предпочтительно, если отверстие для ввода и монтажное отверстие выполнены в поперечном сечении прямоугольными со скругленными углами, причем преимущественно размер в свету отверстия для ввода и монтажного отверстия постоянный по высоте и по мере увеличения глубины ввода уменьшается по ширине. Далее передняя опорная стенка преимущественно снабжена над отверстием для ввода выступающим носиком в качестве защиты для головки фиксирующего болта. Для того чтобы в этом варианте осуществления еще более улучшить подпорку вставленного в резцедержатель резца, передний торец носика может быть снабжен фаской и/или устьем в качестве дополнительной подпорки для головки резца. Устье может быть выполнено V-образным с плоскими сторонами, причем линия пересечения поверхностей обеих сторон преимущественно соосна вершине возвышения на задней опорной стенке и продольной средней плоскости.
Далее, находящаяся со стороны очистного забоя, т.е. над более короткой боковой опорной стенкой, боковая поверхность задней опорной стенки может быть преимущественно снабжена, в частности, скругленным желобчатым углублением, причем углубление может, в частности, нисходить к монтажному карману наклонно внутрь, образуя на или над более короткой боковой опорной стенкой направляющую поверхность для облегчения ввода хвостовика резца в монтажный карман.
Задача согласно изобретению решается также посредством резца, в частности вспарывающего резца, содержащего головку и вводимый в монтажный карман резцедержателя и закрепляемый там посредством фиксирующего болта хвостовик, имеющий на образующих монтажный карман сторонах две, по существу, плоские контактные поверхности большой площади, у которого, согласно изобретению, одна сторона хвостовика имеет более длинную контактную поверхность, чем другая сторона, причем более короткая сторона хвостовика снабжена открытой с краю канавкой для ввода фиксирующего болта. Соответствующий резец может более длинной, находящейся при работе со стороны закладки контактной поверхностью прилегать по всей высоте монтажного кармана к его соответственно более длинной опорной поверхности или опорной стенке.
Другие преимущества и варианты осуществления резцедержателя согласно изобретению, а также резца струга согласно изобретению, следуют из приведенного ниже описания схематично изображенного на чертежах варианта осуществления асимметричного кармана для вспарывающего резца и асимметричного вспарывающего резца. На чертежах показано:
фиг.1 - держатель вспарывающего резца в разрезе со вставленным и зафиксированным резцом;
фиг.2 - в перспективе резцедержатель согласно изобретению;
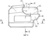
фиг.3 - резцедержатель согласно изобретению, из фиг.2 на виде сбоку;
фиг.4 - вид на переднюю сторону резцедержателя из фиг.2;
Фиг.5 - разрез по линии V-V на фиг.3;
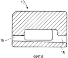
фиг.6 - разрез по линии VI-VI на фиг.3.
На чертежах поз.10 обозначен состоящий из литой детали резцедержатель, выполненный в виде держателя для вставленного в него вспарывающего резца 1. Вспарывающий резец 1 содержит расположенную в монтажном положении вне резцедержателя 10 головку 2 с впаянной твердосплавной режущей пластиной 3А и, по меньшей мере, одним впаянным твердосплавным штифтом 3В на режущих поверхностях. За одно целое с головкой 2 соединен хвостовик 5, который вставлен в открытый (на фиг.1) на верхней стороне 11 резцедержателя 10 монтажный карман 12 и размещен в кармане 12 с геометрическим замыканием. Хвостовик 5 имеет две стороны большой площади, из которых изображенная на фиг.1 сторона 6 снабжена ориентированной приблизительно параллельно нижней стороне 7 хвостовика канавкой 8 для ввода стержня 51 обозначенного поз.50 фиксирующего болта, посредством которой фиксируют монтажное положение резца 1 в монтажном кармане 12 резцедержателя 10.
Изображенный резцедержатель 10 предназначен, в частности, для приваривания к поворотному резценосителю (не показан) подземного, ведомого по направляющей цепного скребкового транспортера добычного струга в качестве самого нижнего или одного из двух самых нижних резцедержателей. Для этого резцедержатель 10 приваривают его нижней стороной 26 к резценосителю таким образом, что монтажный карман 12 или верхняя сторона 11 резцедержателя 10 обращена к лежачему боку выемочного забоя, с тем чтобы режущая пластина 3А и режущий штифт 3В резца 1 могли отделять уголь на переходе от лежачего бока к очистному забою. При работе струг (не показан) движется в направлении стрелки А на фиг.1. Стрелка А указывает, следовательно, рабочее направление струга для вспарывающего резца 1, и в монтажном положении на резценосителе резцедержатель 10 ориентирован таким образом, что продольная средняя плоскость монтажного кармана 12 резцедержателя 10, как показано на фиг.1, параллельна рабочему направлению А струга. При работе видимая по отношению к фиг.1 и рабочему направлению А струга сторона 6 хвостовика 5 резца указывает в направлении очистного забоя, тогда как противоположная сторона хвостовика указывает в направлении закладочной стороны, а хвостовик 5 поддерживается на своей передней стороне 4 передней опорной стенкой 13 кармана для резца, а на своей нерабочей стороне 9 - задней опорной стенкой 14 в монтажном кармане 12 резцедержателя 10. Передняя сторона 4 хвостовика 5 проходит по всей его высоте прямолинейно, однако относительно рабочего направления А струга наклонена назад к нижней стороне 7 хвостовика, тогда как нерабочая сторона 9 на большей части высоты хвостовика проходит параллельно передней стороне 4, но вблизи нижней стороны переходит в загнутый под прямым углом к рабочему направлению А струга участок 9А. Внутренние поверхности монтажного кармана 12 на передней 13 и задней 14 опорных стенках проходят соответственно с наклоном к рабочему направлению струга, причем угол наклона составляет около 54,5°.
На фиг.1 хорошо видно также, что стержень 51 фиксирующего болта 50 проходит как через отверстие 15 для ввода в передней опорной стенке 13, так и через монтажное отверстие 16 в задней опорной стенке 14 резцедержателя 10 или входит в них и одновременно лежит частично в канавке 8 для ввода в стенке 6 хвостовика 5 резца. Для фиксации фиксирующего болта 50 в монтажном положении, в котором его головка 52 прилегает к внешней стороне 17 передней опорной стенки 13, в углублении 8А в стороне 6 хвостовика расположена L-образная пластмассовая зажимная деталь 60, короткое запорное плечо 61 которой снабжено отверстием или круглой выемкой и входит в желобок 53 для ввода на фиксирующем болте 50. Для удаления фиксирующего болта 50 из монтажного положения к его головке 52 следует приложить, следовательно, сравнительно большое усилие в направлении А стрелки, т.е. в рабочем направлении струга, причем для приложения этого усилия необходим инструмент, поскольку при работе струга действующие на резец 1 усилия направлены навстречу рабочему направлению А струга. Описанная выше принципиальная конструкция резцедержателя 10 с вставленным и фиксированным в его монтажном кармане 12 хвостовиком 5 резца 1 известна специалисту.
Согласно изобретению, как это показано на фиг.1 лишь схематично, одна из двух боковых опорных стенок, а именно боковая опорная стенка 20, расположенная при работе струга со стороны закладки и поэтому на фиг.1 за резцом 1, выполнена длиннее и выше, чем другая опорная стенка, расположенная со стороны очистного забоя (не показана). Более длинная опорная стенка 20 одновременно возвышается над передней опорной стенкой 13. Это видно из нижеследующего описания резцедержателя 10, подробно изображенного на фиг.2-6.
На фиг.2 видно, что монтажный карман 12 резцедержателя 10 ограничен передней 13, задней 14 и двумя боковыми 20, 21 опорными стенками. В частности, в сочетании с фиг.3 и 5 при этом видно, что верхняя сторона 21, расположенная при работе со стороны закладки, опорной стенки 20 возвышается над верхней стороной 32 другой опорной стенки 30, расположенной со стороны очистного забоя, примерно на 1/3 всей длины более короткой опорной стенки 30 по всей длине монтажного кармана 12 с одинаковым размером по высоте. Ограничивающая монтажный карман 12 внутренняя поверхность 22 опорной стенки 20 образует поэтому для хвостовика резца по высоте монтажного кармана 12 подпорку с гораздо большей площадью, чем внутренняя поверхность 31 более короткой опорной стенки 30. Поскольку струг при работе, т.е. когда он движется в рабочем направлении (А, фиг.1), должен быть подвинут для добычи угля на нужную глубину резания к очистному забою, вставленный в резцедержатель 10 хвостовик резца и опорная стенка 20 нагружены со стороны закладки сильнее, чем со стороны очистного забоя. Более длинная опорная внутренняя поверхность 22 боковой опорной стенки 20 и выбранная гораздо большей толщина последней приспособлены к этим нагрузкам, причем рассматриваемая по высоте более длинная опорная поверхность опорной стенки 20 дает то особое преимущество, что оказываемый через головку резца на его хвостовик опрокидывающий момент воспринимается со стороны закладки почти по всей высоте хвостовика резца. Весь участок более длинной боковой опорной стенки 20, возвышающийся над верхней стороной 18 передней опорной стенки 13 и верхней стороной 32 более короткой боковой опорной стенки 30, образует, следовательно, дополнительное, расположенное со стороны закладки опорное плечо для стороны хвостовика резца, расположенной со стороны закладки.
Более длинная опорная стенка 20 проходит до выступающего носика 19 передней опорной стенки 13. В частности, фиг.5 иллюстрирует при этом, что поверхность 21 более длинной опорной стенки 20 и поверхность 32 более короткой боковой опорной стенки 30 проходят наклонно к монтажному карману 12, причем обе поверхности 21, 32 предпочтительно образуют с продольной средней плоскостью М монтажного кармана 12 соответственно угол около 93°. В то же время обе внутренние поверхности 31,22 боковых опорных стенок 30,20 расходятся под небольшим углом около 1,8° относительно продольной средней плоскости М, за счет чего монтажный карман 12 равномерно расширяется в обе стороны от открытого дна 12А к поверхностям 21, 32.
Из фиг.3-5 далее видно, что задняя опорная стенка 14 имеет в средней области возвышение 40, которое еще незначительно выступает не только за более короткую боковую опорную стенку 30, но и за более длинную и толстую боковую опорную стенку 20, образуя дополнительную со стороны головки подпорку для резца на задней стороне монтажного кармана 12. Переход возвышения 40 к более короткой боковой опорной стенке 30 происходит посредством дугообразного скругленного переходного участка 41 вплоть до поверхности 32 более короткой боковой опорной стенки 30. Включающая в себя переходный участок 41 боковая поверхность задней опорной стенки 14, которая проходит сбоку от монтажного кармана 12 и над более короткой боковой опорной стенкой 30, снабжена нисходящим к карману 12 скругленным желобчатым углублением 42 в качестве вводного вспомогательного приспособления для хвостовика резца.
В частности, фиг.4 и 5 показывают, что внешняя стенка 23 более длинной боковой опорной стенки 20 над выполненной вблизи нижней стороны 13 монтажного кармана 12 фаской 24 для приваривания проходит наискось к асимметрично лежащей продольной средней плоскости М монтажного кармана 12, так что толщина боковой опорной стенки 20 дополнительно уменьшается по мере увеличения высоты резцедержателя 10. Фиг.4 показывает также, что выступающий на передней опорной стенке 14 носик 19 снабжен V-образно скошенным желобком, причем обе отдельные поверхности 19А, 19В сходятся под тупым углом приблизительно 175-188°. В то время как выступающий носик 19 обеспечивает защиту головки 52 болта (фиг.1), V-образный скос образует дополнительную опорную поверхность для опорного язычка резца под его головкой (2, фиг.1). Для достижения предпочтительной блокировки фиксирующего болта (50, фиг.1) в резцедержателе 10 высота в свету отверстия 15 для ввода и монтажное отверстие 16 в резцедержателе 10 остается, по существу, постоянной, тогда как их ширина в свету, т.е. протяженность между опорными стенками 20, 30, непрерывно уменьшается к монтажному отверстию 16, как это показано, в частности, на фиг.6.
Из предшествующего описания специалисту понятно, что изображенный на фиг.1 резец 1 содержит хвостовик 5, задняя, невидимая на фиг.1, сторона которого имеет существенно более длинную, по существу, плоскую контактную поверхность для прилегания к более длинной боковой опорной стенке 20, чем видимая на фиг.1 передняя сторона 5 хвостовика. За счет этого резец согласно изобретению согласован с резцедержателем. У резца согласно изобретению сами стороны хвостовика не обязательно должны быть выполнены плоскими по всей их поверхности, а могут иметь рядом с канавкой для ввода фиксирующего болта также другие углубления. В равной мере, в целом, в качестве контактной поверхности прилегания к ограничительным поверхностям монтажного кармана возникает соответственно плоская контактная зона.
Claims (21)
1. Резцедержатель для резца, в частности вспарывающего резца угольного или добычного струга, имеющий открытый на своей верхней стороне (11), выполненный для приема и поддержки хвостовика резца монтажный карман (12), который ограничен по краям двумя боковыми (20, 30) по отношению к рабочему направлению (А) струга, одной передней (13) и одной задней (14) опорными стенками, причем задняя опорная стенка (14) выступает над передней опорной стенкой (13), отличающийся тем, что одна боковая опорная стенка (20), обращенная при работе струга от очистного забоя, выступает над передней (13) и другой боковой (30) опорными стенками и образует удлиненную относительно другой боковой опорной стенки (30) боковую подпорку для хвостовика резца.
2. Резцедержатель по п.1, отличающийся тем, что более длинная боковая опорная стенка (20) возвышается над более короткой боковой опорной стенкой (30) вплоть до передней опорной стенки (13) на, по существу, постоянную величину по высоте.
3. Резцедержатель по п.1 или 2, отличающийся тем, что монтажный карман (12) расположен асимметрично между боковыми опорными стенками (20; 30) и имеет до внешней поверхности (33) более короткой боковой опорной стенки (30) меньшее расстояние, чем до внешней поверхности (23) более длинной боковой опорной стенки (20).
4. Резцедержатель по п.1, отличающийся тем, что более длинная боковая опорная стенка (20) имеет большую толщину, чем более короткая боковая опорная стенка (30).
5. Резцедержатель по п.4, отличающийся тем, что толщина более длинной боковой опорной стенки (20) непрерывно уменьшается, по меньшей мере, на части высоты.
6. Резцедержатель по п.3, отличающийся тем, что внешняя сторона (23) более длинной боковой опорной стенки (20) на части высоты проходит наклонно к продольной средней плоскости (М) монтажного кармана (12).
7. Резцедержатель по п.1, отличающийся тем, что задняя опорная стенка (14) имеет в средней области возвышение (40), которое выступает за обе боковые опорные стенки (20; 30) и образует дополнительную заднюю подпорку для резца.
8. Резцедержатель по п.1, отличающийся тем, что поверхности (21;32) обеих боковых опорных стенок (20;30) выполнены со скосами, нисходящими к монтажному карману (12).
9. Резцедержатель по п.8, отличающийся тем, что скосы проходят под углом около 93° к продольной средней плоскости (М) монтажного кармана (12).
10. Резцедержатель по п.1, отличающийся тем, что ограничивающие с боков монтажный карман (12) внутренние поверхности (22; 31) боковых опорных стенок (20; 30) выполнены плоскими, а расстояние между ними возрастает от дна (2А) монтажного кармана (12) к верхней стороне резцедержателя (10).
11. Резцедержатель по п.10, отличающийся тем, что внутренние поверхности (22; 31) обеих боковых опорных стенок (20; 30) проходят наклонно к продольной средней плоскости (М) монтажного кармана (12) под углом 1-2°, предпочтительно 1,8°.
12. Резцедержатель по п.1, отличающийся тем, что внутренние поверхности передней (13) и задней (14) опорных стенок проходят под наклоном к рабочему направлению (А) струга, причем угол наклона составляет предпочтительно 50-60°, в частности приблизительно 54,5±1°.
13. Резцедержатель по п.1, отличающийся тем, что дно (12А) монтажного кармана (12) выполнено открытым.
14. Резцедержатель по п.1, отличающийся тем, что в передней опорной стенке (13) выполнено отверстие (15) для ввода стержня фиксирующего болта, которое переходит в канавку (34) для ввода, выполненную во внутренней поверхности (31) более короткой боковой опорной стенки (30), и/или в проходящее преимущественно сквозь заднюю опорную стенку (14) монтажное отверстие (16) для свободного конца стержня.
15. Резцедержатель по п.14, отличающийся тем, что отверстие (15) для ввода и монтажное отверстие (16) выполнены в сечении прямоугольными, предпочтительно со скругленными углами, причем предпочтительно размер в свету отверстия (15) для ввода и монтажного отверстия (16) постоянный по высоте и по мере возрастания глубины ввода уменьшается по ширине.
16. Резцедержатель по п.14, отличающийся тем, что передняя опорная стенка (13) снабжена над отверстием (15) для ввода выступающим носиком (19) в качестве защиты для головки фиксирующего болта.
17. Резцедержатель по п.16, отличающийся тем, что передний торец (19А, 19В) носика (19) снабжен фаской и/или устьем в качестве дополнительной подпорки для головки резца.
18. Резцедержатель по п.1, отличающийся тем, что боковая поверхность (41) задней опорной стенки (14) снабжена над более короткой боковой опорной стенкой (30) предпочтительно скругленным желобчатым углублением (42).
19. Резцедержатель по п.18, отличающийся тем, что углубление (42) нисходит наклонно внутрь к монтажному карману (12).
20. Резец струга, в частности вспарывающий резец, для резцедержателя (10) по любому из пп.1-19, содержащий головку (2) и вводимый в монтажный карман (12) резцедержателя (10) и закрепляемый там посредством фиксирующего болта (50) хвостовик (5), отличающийся тем, что одна сторона хвостовика имеет более длинную контактную поверхность, чем другая сторона (б) хвостовика, причем она снабжена открытой по краям канавкой (8) для ввода фиксирующего болта.
Приоритет по пунктам:
29.12.2003 по пп.1-20.
Applications Claiming Priority (2)
| Application Number | Priority Date | Filing Date | Title |
|---|---|---|---|
| DE20320161.2 | 2003-12-29 | ||
| DE20320161U DE20320161U1 (de) | 2003-12-29 | 2003-12-29 | Meißelhalter für einen Hobelmeißel eines Kohlen- oder Gewinnungshobels und Hobelmeißel |
Publications (2)
| Publication Number | Publication Date |
|---|---|
| RU2004138731A RU2004138731A (ru) | 2006-06-10 |
| RU2334103C2 true RU2334103C2 (ru) | 2008-09-20 |
Family
ID=31984922
Family Applications (1)
| Application Number | Title | Priority Date | Filing Date |
|---|---|---|---|
| RU2004138731/03A RU2334103C2 (ru) | 2003-12-29 | 2004-12-28 | Резцедержатель для резца угольного или добычного струга и резец |
Country Status (5)
| Country | Link |
|---|---|
| US (1) | US7073870B2 (ru) |
| CN (1) | CN100564799C (ru) |
| DE (1) | DE20320161U1 (ru) |
| PL (1) | PL206240B1 (ru) |
| RU (1) | RU2334103C2 (ru) |
Cited By (1)
| Publication number | Priority date | Publication date | Assignee | Title |
|---|---|---|---|---|
| RU2745564C2 (ru) * | 2016-06-03 | 2021-03-29 | ДЖОЙ ГЛОБАЛ АНДЕРГРАУНД МАЙНИНГ ЭлЭлСи | Зуб с ограниченным сцеплением конической поверхности |
Families Citing this family (14)
| Publication number | Priority date | Publication date | Assignee | Title |
|---|---|---|---|---|
| DE20320163U1 (de) * | 2003-12-29 | 2004-03-04 | Dbt Gmbh | Meißelhalter für einen Hobelmeißel |
| DE102005036359A1 (de) * | 2005-07-29 | 2007-02-01 | Dbt Gmbh | Verfahren zum Hereingewinnen von Kohle und Kohlenhobelanlage |
| AU2011253666B8 (en) | 2010-11-30 | 2014-09-25 | Joy Global Surface Mining Inc | Pick Assembly |
| CN102425414A (zh) * | 2011-11-22 | 2012-04-25 | 无锡速力特机械科技有限公司 | 采煤机滚筒专用的开槽截齿结构 |
| CN102400687A (zh) * | 2011-11-22 | 2012-04-04 | 无锡速力特机械科技有限公司 | 一种采煤机滚筒专用的楔型截齿结构 |
| USD709112S1 (en) | 2011-11-30 | 2014-07-15 | Harnischfeger Technologies, Inc. | Pick holder |
| USD720375S1 (en) | 2011-11-30 | 2014-12-30 | Harnischfeger Technologies, Inc. | Pick holder |
| CN102979522B (zh) * | 2012-12-13 | 2015-01-14 | 三一重型装备有限公司 | 一种刨刀及刨煤机 |
| CN103277097B (zh) * | 2013-05-17 | 2015-04-15 | 中煤张家口煤矿机械有限责任公司 | 刨煤机快速拆装回转刀座结构 |
| NZ627813A (en) * | 2013-06-18 | 2016-08-26 | Esco Corp | Mineral winning pick, pick holder, and combination |
| EP2952676A1 (en) * | 2014-06-03 | 2015-12-09 | Caterpillar Global Mining Europe GmbH | Plow bit assembly |
| DE102014112539A1 (de) * | 2014-09-01 | 2016-03-03 | Wirtgen Gmbh | Verschleißschutzkappe |
| AU2015210467B2 (en) * | 2014-09-11 | 2019-08-08 | Kennametal Inc. | Cutting tool mounting assembly |
| CN106677784A (zh) * | 2017-03-03 | 2017-05-17 | 胡沿东 | 一种采矿机械设备用辊子 |
Citations (8)
| Publication number | Priority date | Publication date | Assignee | Title |
|---|---|---|---|---|
| DE3209410A1 (de) * | 1981-06-06 | 1982-12-23 | Gewerkschaft Eisenhütte Westfalia, 4670 Lünen | Meisselanordnung, insbesondere fuer kohlenhobel u.dgl. |
| US4557525A (en) * | 1982-03-16 | 1985-12-10 | Gewerkschaft Eisenhutte Westfalia | Cutter bit assembly |
| SU1231222A1 (ru) * | 1982-12-23 | 1986-05-15 | Шахтинский научно-исследовательский и проектно-конструкторский угольный институт им.А.М.Терпигорева | Исполнительный орган горной машины |
| SU1375144A3 (ru) * | 1984-02-08 | 1988-02-15 | Геверкшафт Эйзенхютте Вестфалия (Фирма) | Устройство дл креплени резца,в частности дл угольного струга |
| US4915455A (en) * | 1988-11-09 | 1990-04-10 | Joy Technologies Inc. | Miner cutting bit holding apparatus |
| US5011229A (en) * | 1988-11-09 | 1991-04-30 | Joy Technologies Inc. | Miner cutting bit holding apparatus |
| DE29803944U1 (de) * | 1998-03-06 | 1998-04-30 | DBT Deutsche Bergbau-Technik GmbH, 44534 Lünen | Meißelsicherung für einen Hobelmeißel |
| DE29901985U1 (de) * | 1999-02-05 | 1999-04-08 | DBT Deutsche Bergbau-Technik GmbH, 44534 Lünen | Meißelhalter für einen Hobelmeißel |
Family Cites Families (4)
| Publication number | Priority date | Publication date | Assignee | Title |
|---|---|---|---|---|
| DE3638135A1 (de) * | 1986-11-08 | 1988-05-11 | Gewerk Eisenhuette Westfalia | Bodenmeissel fuer bergbau-gewinnungshobel |
| DE3900140C1 (ru) * | 1989-01-04 | 1990-08-16 | Halbach & Braun Industrieanlagen, 5600 Wuppertal, De | |
| DE4300534C2 (de) * | 1993-01-12 | 2001-10-04 | Dbt Gmbh | Gewinnungshobel für die untertägige Gewinnung |
| DE4328863C2 (de) * | 1993-08-27 | 2001-09-27 | Dbt Gmbh | Abbaueinrichtung für den Untertagebergbau |
-
2003
- 2003-12-29 DE DE20320161U patent/DE20320161U1/de not_active Expired - Lifetime
-
2004
- 2004-11-24 CN CNB2004100950405A patent/CN100564799C/zh not_active Expired - Lifetime
- 2004-11-30 US US11/000,024 patent/US7073870B2/en not_active Expired - Lifetime
- 2004-12-20 PL PL371844A patent/PL206240B1/pl unknown
- 2004-12-28 RU RU2004138731/03A patent/RU2334103C2/ru active
Patent Citations (8)
| Publication number | Priority date | Publication date | Assignee | Title |
|---|---|---|---|---|
| DE3209410A1 (de) * | 1981-06-06 | 1982-12-23 | Gewerkschaft Eisenhütte Westfalia, 4670 Lünen | Meisselanordnung, insbesondere fuer kohlenhobel u.dgl. |
| US4557525A (en) * | 1982-03-16 | 1985-12-10 | Gewerkschaft Eisenhutte Westfalia | Cutter bit assembly |
| SU1231222A1 (ru) * | 1982-12-23 | 1986-05-15 | Шахтинский научно-исследовательский и проектно-конструкторский угольный институт им.А.М.Терпигорева | Исполнительный орган горной машины |
| SU1375144A3 (ru) * | 1984-02-08 | 1988-02-15 | Геверкшафт Эйзенхютте Вестфалия (Фирма) | Устройство дл креплени резца,в частности дл угольного струга |
| US4915455A (en) * | 1988-11-09 | 1990-04-10 | Joy Technologies Inc. | Miner cutting bit holding apparatus |
| US5011229A (en) * | 1988-11-09 | 1991-04-30 | Joy Technologies Inc. | Miner cutting bit holding apparatus |
| DE29803944U1 (de) * | 1998-03-06 | 1998-04-30 | DBT Deutsche Bergbau-Technik GmbH, 44534 Lünen | Meißelsicherung für einen Hobelmeißel |
| DE29901985U1 (de) * | 1999-02-05 | 1999-04-08 | DBT Deutsche Bergbau-Technik GmbH, 44534 Lünen | Meißelhalter für einen Hobelmeißel |
Cited By (1)
| Publication number | Priority date | Publication date | Assignee | Title |
|---|---|---|---|---|
| RU2745564C2 (ru) * | 2016-06-03 | 2021-03-29 | ДЖОЙ ГЛОБАЛ АНДЕРГРАУНД МАЙНИНГ ЭлЭлСи | Зуб с ограниченным сцеплением конической поверхности |
Also Published As
| Publication number | Publication date |
|---|---|
| US20050140099A1 (en) | 2005-06-30 |
| PL371844A1 (en) | 2005-07-11 |
| PL206240B1 (pl) | 2010-07-30 |
| CN100564799C (zh) | 2009-12-02 |
| US7073870B2 (en) | 2006-07-11 |
| DE20320161U1 (de) | 2004-03-04 |
| CN1637231A (zh) | 2005-07-13 |
| RU2004138731A (ru) | 2006-06-10 |
Similar Documents
| Publication | Publication Date | Title |
|---|---|---|
| RU2334103C2 (ru) | Резцедержатель для резца угольного или добычного струга и резец | |
| JP3626190B2 (ja) | ねじ切削インサート | |
| US3342532A (en) | Cutting tool comprising holder freely rotatable in socket with bit frictionally attached | |
| US4969779A (en) | Cutting insert | |
| EP2838682B1 (en) | Cutting insert chip-control arrangement | |
| US20090146490A1 (en) | Breaking or excavating tool with cemented tungsten carbide insert and ring | |
| CN100436075C (zh) | 凿子 | |
| CN102947029A (zh) | 切削工具 | |
| US7393061B2 (en) | Coal plow cutter | |
| DK1175531T3 (da) | Isskraber med ikke-roterbare værktöjer med afskærmede skæreindsatser | |
| US3660877A (en) | Cutoff tool having improved cutting tip | |
| RU2334104C2 (ru) | Резцедержатель для резца струга | |
| RU2071562C1 (ru) | Резец для горных машин | |
| JPH11223082A (ja) | 掘削機の掘削歯 | |
| KR100304414B1 (ko) | 구멍 모따기용 절삭공구 | |
| CN106414897A (zh) | 刨机钻头组件 | |
| EP0351245B1 (en) | Cutting tool for a mining machine | |
| GB2069031A (en) | Floor cutter bit | |
| RU237950U1 (ru) | Породоразрушающий инструмент | |
| US7347501B2 (en) | Plow baseplate | |
| GB2249116A (en) | Mineral cutter pick and tip | |
| US3343879A (en) | Long wall mining planer having mine floor related guiding means | |
| RU2018658C1 (ru) | Резец для углевыемочной машины | |
| US2873960A (en) | Coal cutting bit having three cutting tips | |
| RU2307932C1 (ru) | Горнорежущий инструмент |
Legal Events
| Date | Code | Title | Description |
|---|---|---|---|
| PD4A | Correction of name of patent owner |