RU2165103C2 - Система перемещения и отведения назад квитанций для банковского автомата (варианты) и способ работы банковского автомата (варианты) - Google Patents
Система перемещения и отведения назад квитанций для банковского автомата (варианты) и способ работы банковского автомата (варианты) Download PDFInfo
- Publication number
- RU2165103C2 RU2165103C2 RU99113439A RU99113439A RU2165103C2 RU 2165103 C2 RU2165103 C2 RU 2165103C2 RU 99113439 A RU99113439 A RU 99113439A RU 99113439 A RU99113439 A RU 99113439A RU 2165103 C2 RU2165103 C2 RU 2165103C2
- Authority
- RU
- Russia
- Prior art keywords
- sheet
- transmission element
- belt
- span
- source
- Prior art date
Links
- 238000000034 method Methods 0.000 title claims description 26
- 230000008569 process Effects 0.000 title description 3
- 238000003860 storage Methods 0.000 claims abstract description 65
- 230000005540 biological transmission Effects 0.000 claims description 187
- 230000033001 locomotion Effects 0.000 claims description 38
- 230000007246 mechanism Effects 0.000 claims description 38
- 230000009471 action Effects 0.000 claims description 25
- 230000008447 perception Effects 0.000 claims description 11
- 230000004044 response Effects 0.000 claims description 5
- 230000005484 gravity Effects 0.000 claims description 4
- 238000002834 transmittance Methods 0.000 claims 1
- 239000000126 substance Substances 0.000 abstract 1
- 238000012546 transfer Methods 0.000 description 32
- 238000005520 cutting process Methods 0.000 description 30
- 238000004140 cleaning Methods 0.000 description 10
- 238000002310 reflectometry Methods 0.000 description 8
- 230000007257 malfunction Effects 0.000 description 6
- 238000012423 maintenance Methods 0.000 description 4
- 230000005855 radiation Effects 0.000 description 4
- 238000012360 testing method Methods 0.000 description 4
- 230000008859 change Effects 0.000 description 3
- 230000006870 function Effects 0.000 description 3
- 230000003287 optical effect Effects 0.000 description 3
- 230000001464 adherent effect Effects 0.000 description 2
- 238000006073 displacement reaction Methods 0.000 description 2
- 230000008030 elimination Effects 0.000 description 2
- 238000003379 elimination reaction Methods 0.000 description 2
- 238000002789 length control Methods 0.000 description 2
- 238000012545 processing Methods 0.000 description 2
- 238000011144 upstream manufacturing Methods 0.000 description 2
- 208000036829 Device dislocation Diseases 0.000 description 1
- 230000001133 acceleration Effects 0.000 description 1
- 239000000370 acceptor Substances 0.000 description 1
- 230000003213 activating effect Effects 0.000 description 1
- 230000002730 additional effect Effects 0.000 description 1
- 230000008901 benefit Effects 0.000 description 1
- 230000015572 biosynthetic process Effects 0.000 description 1
- 238000006243 chemical reaction Methods 0.000 description 1
- 239000003086 colorant Substances 0.000 description 1
- 238000010276 construction Methods 0.000 description 1
- 238000012937 correction Methods 0.000 description 1
- 230000008878 coupling Effects 0.000 description 1
- 238000010168 coupling process Methods 0.000 description 1
- 238000005859 coupling reaction Methods 0.000 description 1
- 230000003111 delayed effect Effects 0.000 description 1
- 238000001514 detection method Methods 0.000 description 1
- 238000009826 distribution Methods 0.000 description 1
- 230000010006 flight Effects 0.000 description 1
- 230000014759 maintenance of location Effects 0.000 description 1
- 239000000463 material Substances 0.000 description 1
- 239000011159 matrix material Substances 0.000 description 1
- 238000012544 monitoring process Methods 0.000 description 1
- 230000003534 oscillatory effect Effects 0.000 description 1
- 230000000737 periodic effect Effects 0.000 description 1
- 239000004065 semiconductor Substances 0.000 description 1
- 230000007480 spreading Effects 0.000 description 1
- 238000003892 spreading Methods 0.000 description 1
- 230000007704 transition Effects 0.000 description 1
Images
Landscapes
- Handling Of Sheets (AREA)
- Pile Receivers (AREA)
Abstract
Банковский автомат включает в себя устройство перемещения и отведения назад квитанций. Автомат включает в себя печатающее устройство, выдающее лист, который представляет собой квитанцию на сделку в случае сделки, проводимой на автомате. Лист перемещается в сцепленном состоянии с нижними пролетами двух разнесенных друг от друга в поперечном направлении ремней. Рядом с печатающим устройством расположен элемент пропускания, который смонтирован вращательным образом. Элемент пропускания включает в себя прорези, которые проходят в поперечном направлении между дугообразными наружной поверхностью и внутренней поверхностью элемента пропускания. В первом положении элемента пропускания пролеты ремней проходят через прорези. Зацепление листа, движущегося в направлении наружу от печатающего устройства к выходу, перемещает элемент пропускания во второе положение поворота, в котором лист проходит элемент пропускания. Лист движется в направлении наружу, пока он достигнет выхода и пройдет через отверстие, где обеспечен доступ пользователю. Если пользователь не возьмет лист, ремни движут лист в противоположном направлении. Лист движется в противоположном направлении и зацепляет внутреннюю поверхность элемента пропускания и направляется к местоположению (80) хранения внутри автомата. Указанные признаки обеспечат перемещение и выдачу квитанций пользователю, приводящему в действие банковский автомат, где эти квитанции содержат бланки различных типов и размеров и различное качество бумаги. 8 с. и 51 з.п.ф-лы, 24 ил.
Description
Настоящее изобретение касается банковских автоматов. В частности, это изобретение касается системы перемещения и отведения назад квитанций на сделки или других листов, выдаваемых пользователю, приводящему в действие банковский автомат.
Предшествующий уровень техники
В технике хорошо известны банковские автоматы. Банковские автоматы могут включать в себя автоматические кассовые машины (АКМ), через которые клиент может производить банковские сделки. Другие типы банковских автоматов включают в себя устройства, которые подсчитывают или выдают наличные деньги или другие элементы стоимости клиенту, банковскому служащему или другому пользователю, а также терминалы в торговой точке (ТТ), а также другие терминалы, которые дают возможность пользователям выполнять сделки по оценке.
В технике хорошо известны банковские автоматы. Банковские автоматы могут включать в себя автоматические кассовые машины (АКМ), через которые клиент может производить банковские сделки. Другие типы банковских автоматов включают в себя устройства, которые подсчитывают или выдают наличные деньги или другие элементы стоимости клиенту, банковскому служащему или другому пользователю, а также терминалы в торговой точке (ТТ), а также другие терминалы, которые дают возможность пользователям выполнять сделки по оценке.
Обычно банковские автоматы обеспечивают пользователя отпечатанной квитанцией, которая документирует каждую сделку. В квитанциях обычно указывают тип сделки и включенную стоимость или сумму. В зависимости от типа банковского автомата на квитанции можно также включать другую информацию. Квитанции могут содержать также такую информацию, как имя пользователя, время суток, место, где была проведена сделка, и остаток на счете. Квитанции могут также содержать номер карточки пользователя и номер счета пользователя.
Часто пользователи банковскими автоматами спешат и забывают взять квитанцию после проведения сделки. Когда это случается, квитанция обычно остается выходящей наружу из отверстия для выдачи квитанций в автомате, пока будет проведена следующая сделка и будет обеспечена другая квитанция. Следующая квитанция обычно выталкивает предыдущую из отверстия для выдачи, а предыдущая квитанция падает на землю или на пол рядом с автоматом.
В случае автоматических кассовых машин клиент очень часто не берет свою квитанцию. Это создает неприглядную картину образования мусора в местоположении машины. Операторы таких машин должны часто производить уборку в этом местоположении, чтобы держать его подходящим для клиентов. Не взятие квитанции на сделку может создавать также другие проблемы. В частности, квитанции могут содержать информацию и могут быть использованы преступниками. Эта информация может включать в себя номера счетов и остатки на них, которые могут быть использованы для противозаконных целей.
С увеличением применений банковских автоматов теперь часто появляется возможность печатать больше информации на квитанциях на сделки. Не редко эта информация носит частный характер, которую пользователи не желают раскрывать. Хотя обеспечение такой информации имеет значение для пользователей, которые последовательно берут и проверяют свои квитанции, клиенты, которые не делают этого, подвергаются увеличенным рискам.
Разработаны системы для приема денег, кредитных или дебетовых карточек, которые пользователи не изымают из банковского автомата. Однако механизмы для возвращения таких элементов часто оказываются сложными и дорогостоящими. Такие механизмы также занимают ограниченное пространство, имеющееся внутри банковского автомата. Хотя такие системы возвращения оправдываются с точки зрения элементов высокой стоимости, типа денег и кредитных и дебетовых карточек, такие механизмы не оправдываются с точки зрения квитанций.
Из патента США N 4280036 (А, кл. B 41 J 3/28, 21.07.81), который принят в качестве прототипа, известно устройство банковского автомата, перемещающее листы от источника во внутренней области устройства к выходу, содержащее пролет ремня, выполненный с возможностью движения, идущий в упомянутом устройстве между упомянутым источником и упомянутым выходом. Устройство банковского автомата включает устройство перемещения, перемещающее листы от источника к выходу и отводящее назад от упомянутого выхода до местонахождения в упомянутом автомате, а также содержит источник листов, размещенный во внутренней области устройства, выход, посредством которого лист на выходе доступен пользователю автомата.
Устройство банковского автомата, средство перемещаемого элемента для перемещения листа в сцепленном с ним отношении от источника к выходу, посредством чего пользователь устройства получает лист на выходе, а источник листов выдает лист. Из патента США N 4280036 (A, кл. B 41 J 3/28, 21.07.81) известен способ работы банковского автомата, содержащий этапы, при которых осуществляют подачу листов от источника во внутренней области автомата, от источника листов, размещенного внутри машины, или от источника листов, расположенного в автомате.
Но существует необходимость в создании системы перемещения и отведения назад квитанций для банковского автомата, которая выдает квитанцию пользователю в создании системы перемещения и отведения назад квитанций для банковского автомата, которая отводит назад квитанции, выдаваемые пользователю, но не взятые им, в обеспечении системы перемещения и отведения назад для банковского автомата, которая хранит квитанции, не взятые пользователем, в местоположении хранения во внутренней области автомата, в обеспечении системы перемещения и отведения назад квитанций для банковского автомата, конструкция которой проста и надежна, необходимость в обеспечении системы перемещения и отведения назад квитанций для банковского автомата, которая маленькая и компактная, в системе перемещения и отведения назад квитанций для банковского автомата, которая имеет низкую стоимость, в создании устройства перемещения листов для передачи листа от источника листов к выходу, в создании системы перемещения и отведения назад листов, которая возвращает назад не взятый лист, в создании системы перемещения и отведения назад листов, которая может манипулировать бланками квитанций различных типов и размеров, в обеспечении системы перемещения и отведения назад листов, которая может манипулировать бланками квитанций, имеющими различные цвета и качество бумаги.
Еще одной задачей настоящего изобретения является обеспечение способа подачи листов к выходу и возвращения назад не взятых на выходе листов.
Еще одной задачей настоящего изобретения является создание способа перемещения и выдачи квитанций пользователю, приводящему в действие банковский автомат.
Еще одной задачей настоящего изобретения является обеспечение способа перемещения и выдачи квитанций пользователю, приводящему в действие банковский автомат, где эти квитанции содержат бланки различных типов и размеров и эти бланки имеют различные качества бумаги.
Еще одной задачей настоящего изобретения является обеспечение способа отведения назад квитанции, которая выдана, но не взята пользователем банковского автомата.
Еще одной задачей настоящего изобретения является обеспечение способа хранения отведенных назад квитанций во внутренней части банковского автомата и периодического извлечения отведенных назад листов.
Другие задачи настоящего изобретения станут очевидными из последующего раздела "Лучший способ выполнения изобретения" и прилагаемой формулы изобретения.
Предложенное изобретение отличается от известного тем, что имеется элемент пропускания, простирающийся между упомянутым источником и упомянутым выходом, при этом элемент пропускания поворотным образом смонтирован в поддерживаемом положении на устройстве относительно оси вращения и имеет прорезь, причем в первом положении элемента пропускания пролет ремня проходит в прорези, при этом элемент пропускания включает в себя край и в упомянутом первом положении этот край проходит дальше в радиальном направлении наружу от упомянутой оси вращения, чем упомянутый пролет ремня, причем при движении пролета ремня в направлении наружу, при подаче источником листа рядом с элементом пропускания, этот лист сцепляется с элементом пропускания и пролетом ремня, причем сила сцепления листа пролета ремня поворачивает элемент пропускания относительно оси вращения во второе положение, в котором лист имеет возможность перемещения мимо элемента пропускания по направлению к выходу в сцепленном состоянии с упомянутым пролетом ремня.
Согласно еще одному аспекту изобретения имеется способный перемещаться элемент привода, находящийся в поддерживаемом отношении с устройством, в котором упомянутый элемент привода имеет первую сторону, обращенную в первом направлении, в котором листы способны перемещаться в сцепленном отношении с упомянутой первой стороной и в котором, когда упомянутый элемент привода движется в направлении наружу, упомянутый элемент привода заставляет листы двигаться от источника к выходу, кроме того, оно содержит способный перемещаться элемент пропускания, смонтированный в поддерживаемом отношении с устройством, при этом элемент пропускания включает в себя внешнюю поверхность, внутреннюю поверхность и прорезь, проходящую в поперечном направлении между упомянутыми внешней и внутренней поверхностями, и в котором внешняя поверхность элемента пропускания включает в себя первую часть и вторую часть, при этом упомянутая прорезь проходит в первой части, а вторая часть смещена от прорези, причем в первой части элемента пропускания упомянутый элемент привода проходит в прорези, а внутренняя поверхность проходит вне второй поверхности во втором направлении, противоположном упомянутому первому направлению, при этом захват проходит рядом с внешней поверхностью и прорезью, причем, когда источник подает лист в упомянутый захват и элемент привода перемещается в направлении наружу, упомянутый элемент привода и упомянутый элемент пропускания зацепляют лист и элемент пропускания перемещается под действием силы зацепленного листа, действующего на элемент пропускания, во второе положение, в котором упомянутый лист проходит между упомянутым элементом привода и упомянутой второй частью элемента пропускания.
Одна из вышеуказанных необходимостей решается тем, что имеется избирательно перемещаемый механизм привода, перемещающий лист в зацепленном с ним отношении, при этом механизм привода проходит между источником и выходом, элемент пропускания в перемещаемом поддерживаемом отношении с устройством, расположенный между источником и выходом, при этом элемент пропускания включает в себя внешнюю поверхность и внутреннюю поверхность и имеет прорезь, проходящую в поперечном направлении между внешней и внутренней поверхностями, причем в первом положении элемента пропускания механизм привода проходит в прорези и при движении механизма привода для перемещения листа в направлении наружу от источника к выходу зацепляется лист, выдаваемый источником, между внешней поверхностью и механизмом привода, при этом сила упомянутого зацепленного листа перемещает элемент пропускания в первом направлении ко второму положению, в котором лист проходит элемент пропускания в направлении наружу в зацепленном отношении с частью внешней поверхности, отдаленной от прорези.
Еще одна необходимость решается тем, что содержит средство пропускания для предоставления листу возможности проходить средство пропускания в направлении наружу от источника к выходу и для предотвращения перемещения листа в противоположном направлении от источника, при этом средство пропускания зацепляет лист, движущийся в противоположном направлении, и направляет лист к местоположению, причем средство пропускания находится в способном перемещаться поддерживаемом отношении с упомянутым устройством и это средство способно перемещаться между первым и вторым положениями, при этом средство пропускания включает в себя прорезь, а упомянутое средство способного перемещаться элемента проходит в этой прорези в первом положении средства пропускания, которое способно перемещаться ко второму положению под действием сцепления листа со средством пропускания и средством перемещаемого элемента, причем во втором положении средства пропускания лист способен проходить упомянутое средство пропускания в направлении наружу в поддерживаемом отношении со средством пропускания и средством перемещаемого элемента.
Еще одна необходимость решается тем, что содержит раму, смонтированную с возможностью поворота в поддерживаемом отношении на устройстве, причем в первом поворотном положении рамы упомянутая рама проходит между источником и выходом, а во втором поворотном положении рамы обеспечивается возможность ручного доступа к листоположению хранения листов, расположенному между источником и выходом, кроме того, имеется перемещаемый пролет ремня, поддерживаемый на раме, причем пролет ремня проходит между источником и выходом в первом положении рамы, перемещаемый элемент пропускания, расположенный между источником и местоположением хранения в первом положении рамы, при этом элемент пропускания имеет внешнюю поверхность, обращенную к источнику, и внутреннюю поверхность, обращенную к выходу, причем в первом положении элемента пропускания внешняя поверхность и упомянутый пролет ремня определяют захват, в котором лист имеет возможность сцепления с пролетом ремня и элементом пропускания, когда пролет ремня перемещается в направлении наружу, и в котором при зацеплении листа элемент пропускания перемещается во второе положение, при этом лист способен проходить элемент пропускания в направлении наружу, и после прохода листа упомянутый элемент пропускания возвращается в первое положение, причем лист, движущийся в противоположном направлении, имеет возможность сцепления с внутренней поверхностью элемента пропускания и направляется к местоположению хранения.
Еще одна необходимость решается тем, что осуществляют зацепление листа между способным вращаться элементом пропускания, поддерживаемым на автомате, и пролетом ремня, движущимся в направлении наружу, причем лист имеет возможность сцепления в первом положении элемента пропускания, в котором пролет ремня проходит в прорези в элементе пропускания, при этом осуществляют перемещение элемента пропускания во второе положение посредством реагирования на силу сцепленного на нем листа, причем во втором положении пролет ремня отдален от прорези и лист проходит упомянутый элемент пропускания, перемещаясь в направлении наружу в зацепленном отношении с пролетом ремня и элементом пропускания.
Еще одна необходимость решается тем, что способ включает этап сцепления подаваемого листа с перемещающимся пролетом ремня в продольном направлении наружу, перемещение листа в направлении наружу мимо элемента пропускания, который перемещается из первого положения во второе положение, чтобы дать возможность листу пройти в направлении наружу, в следующем этапе осуществляют дальнейшее перемещение листа в направлении наружу в сцепленном отношении с пролетом ремня к выходу, в котором лист оказывается доступным на упомянутом выходе, в следующем этапе осуществляют перемещение листа от выхода в продольном противоположном направлении в сцепленном отношении с пролетом ремня, затем осуществляют сцепление листа, движущегося в противоположном направлении с элементом пропускания, после чего осуществляют направление листа элементом пропускания к местоположению хранения в автомате, посредством чего лист помещается в упомянутое местоположение, затем перемещают пролет ремня в первом направлении, поперечном упомянутому продольному направлению, ко второму положению, благодаря чему местоположение хранения становится доступным.
И еще одна необходимость может быть решена тем, что осуществляют зацепление поданного листа пролетом ремня в положении перемещения листа и перемещают в продольном направлении наружу мимо элемента пропускания, при этом элемент пропускают и перемещают из первого положения во второе положение, чтобы дать возможность листу пройти в направлении наружу, далее перемещают лист в направлении наружу в сцепленном отношении с пролетом ремня к выходу, благодаря чему лист оказывается доступным для пользователя на выходе, затем перемещают лист от выхода в продольном противоположном направлении в сцепленном отношении с пролетом ремня, сцепляют лист, движущийся в противоположном направлении, с элементом пропускания и направляют лист этим элементом к местоположению хранения в автомате, осуществляют перемещение пролета ремня из положения перемещения листа в направлении, поперечном продольному направлению, благодаря чему оказывается доступным местоположение хранения, затем удаляют лист из местоположения хранения ручным способом и возвращают пролет ремня в поперечном направлении к его положению перемещения листа после удаления листа.
Краткое описание чертежей
Фиг.1 представляет изометрический вид банковского автомата.
Фиг.1 представляет изометрический вид банковского автомата.
Фиг.2 представляет изометрический вид соответствующего предпочтительному варианту осуществления настоящего изобретения устройства перемещения и отведения назад квитанций.
Фиг. 3 представляет схематический вид сбоку показанного на фиг. 2 устройства с элементом пропускания в первом положении.
Фиг. 4 представляет вид, аналогичный фиг.3, но с элементом пропускания, перемещенным во второе положение посредством зацепления листом.
Фиг. 5 представляет вид, аналогичный фиг. 4, но с листом, расположенным в выходном отверстии.
Фиг. 6 представляет вид, аналогичный фиг. 5, но с листом, показанным в процессе отведения назад.
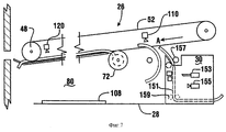
Фиг. 7 представляет вид, аналогичный фиг. 6, с листом, отведенным назад и удерживаемым в местоположении хранения.
Фиг. 8 представляет схематический вид показанного на фиг. 2 устройства, перемещенного в положение обслуживания для обеспечения доступа к отведенным назад листам в местоположении хранения.
Фиг. 9 представляет изометрический вид соответствующего изобретению элемента пропускания устройства.
Фиг. 10 представляет вид сверху показанного на фиг. 9 элемента пропускания.
Фиг. 11 представляет вид справа сбоку показанного на фиг. 9 элемента пропускания.
Фиг. 12 представляет вид с торца поперечного разреза рамы и пролетов ремней перемещения листов в соответствующем настоящему изобретению устройстве.
Фиг. 13 иллюстрирует схематическое представление этапом, выполняемых соответствующим предпочтительному варианту осуществления контроллером в подпрограмме печатания и управления перемещением.
Фиг. 14-16 иллюстрируют схематическое представление этапов, выполняемых контроллером в подпрограмме загрузки и классифицирования бумаги.
Фиг. 17 иллюстрирует схематическое представление этапов, выполняемых контроллером в подпрограмме управления длиной бумажного бланка.
Фиг. 18-20 иллюстрируют схематическое представление этапов, выполняемых контроллером в подпрограмме отрезания бланка.
Фиг. 21 иллюстрирует схематическое представление этапов, выполняемых контроллером в подпрограмме представления бланка.
Фиг. 22 и 23 иллюстрируют схематическое представление этапов, выполняемых контроллером в подпрограмме отведения назад бланка.
Фиг. 24 иллюстрирует схематическое представление этапов, выполняемых контроллером в подпрограмме очистки бланка.
Лучший способ осуществления изобретения
Рассмотрим теперь чертежи и, в частности, фиг. 1, на которой показан изометрический вид банковского автомата, в общем обозначенного позицией 10. Банковский автомат 10 представляет собой автоматическую кассовую машину. Однако следует понимать, что настоящее изобретение можно использовать в других таких банковских автоматах, включая блоки подсчета денег, акцептанты денег, терминалы временных расписок, терминалы торговых точек и устройства аналогичного типа.
Рассмотрим теперь чертежи и, в частности, фиг. 1, на которой показан изометрический вид банковского автомата, в общем обозначенного позицией 10. Банковский автомат 10 представляет собой автоматическую кассовую машину. Однако следует понимать, что настоящее изобретение можно использовать в других таких банковских автоматах, включая блоки подсчета денег, акцептанты денег, терминалы временных расписок, терминалы торговых точек и устройства аналогичного типа.
Банковский автомат 10 включает в себя приборную панель 12, которая содержит интерфейс пользователя. Приборная панель содержит отверстие, через которое можно видеть экран 14. Экран используется для обеспечения инструкций и выдачи сообщений пользователю. На приборной панели имеется также клавиатура 16, с помощью которой пользователь может вводить инструкции.
Приборная панель содержит также отверстия для других типов устройств и механизмов. В показанном варианте осуществления панель содержит депозитное отверстие 18, в которое пользователь может вносить вклад. Обеспечено также отверстие 20 получения денег, через которое деньги выдаются пользователю. Приборная панель содержит также прорезь 22 ввода карточки, в которую пользователь вводит дебетовую или кредитную карточку, которая используется для инициирования операции машины. Приборная панель содержит также отверстие 24 выдачи квитанций, через которое пользователю выдается квитанция на сделку.
Листы, которые содержат квитанции клиентов, подаются к отверстию 24 выдачи квитанций устройством перемещения и отведения назад, в общем показанным позицией 26 на фиг. 2. Устройство 26 включает в себя основание 28, которое поддерживается во внутренней области машины 10. На основании 28 поддерживается источник листов, который в предпочтительной форме изобретения представляет собой печатающее устройство 30 (фиг. 3) квитанций на сделки. Печатающее устройство 30 предпочтительно представляет собой печатающее устройство квитанций обычного типа, которое печатает квитанции на листах, используя термографический, матричный, струйный, лазерный или другие способы печатания. К печатающему устройству предпочтительно подается также бумага от непрерывного рулона или сложенной в гармошку стопки бумаги. Печатающее устройство предпочтительно включает в себя также устройство отрезания для отрезания листов и отделения их после печатания на них информации квитанции. Настоящее изобретение можно использовать для создания квитанций одинаковой длины или различных длин. Предпочтительный вариант осуществления настоящего изобретения особенно приспособлен также для использования либо с квитанциями на бланке предварительно напечатанного типа, либо с квитанциями на простой бумаге.
Устройство 26 дополнительно включает в себя раму 32. Рама 32 поддерживается и поворотным образом смонтирована на паре стоек 34 и 36. Стойка 34 поддерживает привод, включающий в себя двигатель 38, который может действовать для привода шкива 40 посредством ремня 42. Шкив 40, в свою очередь, подсоединен к валу 44. Рама 32 поддерживается на валу 44 и смонтирована поворотным образом относительно него.
На валу 44 смонтированы пара шкивов 46 и 48. Шкивы 46 и 48 служат для привода пары разнесенных в поперечном направлении ремней 50 и 52 соответственно. Ремни 50 и 52 представляют собой непрерывные ремни, которые движутся вокруг шкивов 54 и 56. Шкивы 54 и 56 смонтированы на валу 58 на противоположных от вала 44 концах рамы 32. Как лучше показано на фиг. 12, рама 32 в поперечном разрезе включает в себя нижнюю стенку 60. Внутренняя поверхность нижней стенки 60 содержит на себе идущий вверх поддерживающий выступ 62. Как показано на фиг. 12, лист 64 может перемещаться в сцепленном состоянии с нижними пролетами ремней 50 и 52 и поддерживающим выступом 62. Это устройство обеспечивает надежное перемещение листов с ограниченным управляемым проскальзыванием.
Как показано на фиг. 2, нижняя стенка 60 устройства 32 перемещения включает в себя перевернутые концевые выступы 66 и 68. Концевые выступы 66 и 68 содержат между собой отверстие 70. В отверстии 70 проходит вниз поддерживающий выступ 62.
На раме 32 дополнительно поддерживается валик 72, который служит в качестве поддерживающего элемента. Валик 72 свободно катится и обычно сцепляется с нижними пролетами ремней 50 и 52. Валик 72 дополнительно содержит центральный вырез 74, как показано на фиг. 3. Поддерживающий выступ 62 проходит по направлению вниз в вырезе 74.
На раме 32 вращательным образом смонтирован и поддерживается элемент 76 пропускания. Элемент 76 пропускания более подробно показан на фиг. 9, 10 и 11. Элемент 76 пропускания включает в себя сделанную в нем пару прорезей 78. Каждый из нижних пролетов ремней 50 и 52 проходит в прорези 78, когда элемент 76 пропускания находится в показанном на фиг. 2 положении.
Обычно ниже рамы 32 расположено местоположение хранения или лоток, в общем показанный позицией 80, в показанном на фиг. 2 рабочем положении устройства перемещения и отведения назад. Рама 32 поддерживается в рабочем положении элементом 82, который прикреплен к основанию 28. Как показано на фиг. 2, элемент 82 ограничивает поворот вниз рамы 32 относительно вала 44. Предусмотрен электрический выключатель, воспринимающий состояние, когда рама находится в повернутом вниз положении, при котором устройство перемещения осуществляет подачу листов. Следует дополнительно отметить, что элемент 82 сконструирован для направления листов, создаваемых печатающим устройством 30, к нижним пролетам ремней и элементу 76 пропускания.
Более подробно элемент 76 пропускания показан на фиг. 9-11. Элемент 76 пропускания имеет дугообразный профиль поперечного разреза и содержит наружную поверхность 86 и внутреннюю поверхность 88. Устройство 76 пропускания включает в себя разнесенные друг от друга торцевые стенки 90. Торцевые стенки 90 имеют скошенные внутрь части 92.
Торцевые стенки 90 дополнительно содержат пару направленных во внешние стороны осевых выступов 94. Осевые выступы подвешены в поддерживаемом положении на раме 32 и содержат шарнир. Следует отметить, что осевые выступы 94 расположены со смещением от центра дуг внешней и внутренней поверхностей. Центр дуг схематически показан позицией 95 на фиг. 11.
Каждая из торцевых стенок 90 дополнительно содержит идущие во внешние стороны упорные выступы 96. Назначение упорных выступов 96 более подробно описано ниже. Внутренняя поверхность 88 дополнительно содержит расположенные на ней, идущие внутрь маленькие выступы 98. Идущие внутрь выступы 98 служат для разрыва поверхностного натяжения между листами, проходящими в поддерживаемом состоянии относительно внутренней поверхности описываемым ниже способом. Идущие внутрь выступы 98 удерживают также передние кромки листов от захватывания на основаниях прорезей 78.
Элемент 76 пропускания дополнительно содержит верхний край 100. Прорези 78 проходят в поперечном направлении через внутреннюю и внешнюю поверхности элемента пропускания и оканчиваются у верхнего края 100. Верхний край 100 несколько скошен и сделан тоньше относительно остальной части дугообразного профиля элемента пропускания, как показано на фиг. 11. Элемент 76 пропускания включает в себя нижний край 102. Внутренняя поверхность 88 проходит по дуге примерно 180 градусов между верхним краем и нижним краем. Прорези 78 проходят в первом положении, в общем обозначенном позицией 104, внешней поверхности элемента пропускания. Внешняя поверхность имеет также вторую часть, в общем обозначенную позицией 106, которая имеет гладкую дугообразную поверхность и которая обеспечивает низкое сопротивление для перемещения на ней листов.
Следует также отметить, что из-за прорезей 78 и отсутствия в них материала элемент 76 пропускания смещается под действием силы тяжести, поворачиваясь относительно осевых выступов 94 в направлении по часовой стрелке от показанного на фиг. 11 положения. Это распределение веса обеспечивает смещающее средство, которое осуществляет перемещение элемента пропускания описываемым ниже способом.
Теперь будет приведено описание механического действия изобретения со ссылкой на фиг. 3-7. Печатающее устройство 30 выдает лист 108, который в предпочтительном варианте осуществления содержит бланк квитанции на сделку. Печатающее устройство 30 выдает лист 108 по направлению вверх к нижним пролетам ремней 50 и 52. Для целей упрощения на чертежах показан только один ремень 52.
Подача листа рядом с элементом пропускания воспринимается первым датчиком 110. Первый датчик 110 предпочтительно представляет собой датчик фотоэлектрического оптического типа. Первый датчик 110 в рабочем отношении соединен с контроллером 112, который схематически показан на фиг. 5. Работа контроллера более подробно описывается ниже со ссылкой на фиг. 13-24. При перемещении выдаваемого листа рядом с первым датчиком 110 контроллер 112 осуществляет привод посредством запуска двигателя 38 для начала перемещения каждого нижнего пролета ремня в направлении наружу, в общем показанном стрелкой А. Схема контроллера подсоединена к устройству управления печатающим устройством так, чтобы привод начинал перемещение под действием работы печатающего устройства, перемещающего бумагу на такую величину, чтобы из печатающего устройства бумажный лист выходил на величину, достаточную для зацепления пролетами ремней. В других вариантах осуществления привод может начинать движение под действием датчика, воспринимающего движущийся рядом с ним лист.
Лист 108 направляется в область выдачи, которая включает в себя захват, в общем обозначенный позицией 114, образованный наружной поверхностью элемента пропускания и обращенной вниз первой стороной нижнего пролета ремня. Область выдачи представляет собой область, из которой можно изымать лист бланка, выходящий из печатающего устройства. Движущийся нижний пролет ремня протягивает лист 108 в захват и вызывает зацепление листом области на наружной поверхности элемента пропускания, где пролет ремня проходит через прорезь 78.
Как схематически показано на фиг. 3, упор служит для предотвращения вращения элемента 76 пропускания в направлении по часовой стрелке. Упор действует посредством зацепления упорного выступа 96 на элементе пропускания поверхностью рамы. Упор гарантирует, что когда элемент пропускания не подвергается действию листа, движущегося в направлении наружу, элемент пропускания поддерживается в первом положении, показанном на фиг. 3.
Зацепление листа 108 элементом 76 пропускания и нижним пролетом ремня 52 вызывает приложение листом силы к элементу пропускания. Эта сила поворачивает элемент пропускания в показанном направлении против часовой стрелки во второе положение, показанное на фиг. 4. В этом втором положении лист поддерживается между гладкой второй частью 106 наружной поверхности элемента пропускания и пролетом ремня.
Элемент пропускания предпочтительно может свободно поворачиваться. Осевые выступы 94 проходят в шарнирном соединении в раме 32. Сила, прилагаемая листом 108, перемещает элемент пропускания во второе положение без существенного сопротивления. Во втором положении элемента пропускания лист 108 способен легко проходить в направлении наружу над внешней поверхностью устройства пропускания.
Следует также отметить, что между верхним краем 100 элемента пропускания и валиком 72 имеется зазор 116. Этот зазор по существу закрывается, когда элемент пропускания движется из первого положения во второе положение. Это закрывание зазора 116 служит для гарантирования, что листы, проходящие поверх элемента пропускания, направляются так, чтобы поддерживалось сцепление с нижним пролетом ремня. Вращение валика 72 осуществляется в показанном направлении против часовой стрелки, когда пролет ремня движется в направлении наружу. В результате, любые листы, которые стремятся сохранить сцепление с наружной поверхностью элемента пропускания, направляются в зависимости от движущейся поверхности валика 72 и движутся обратно в сцепление с пролетом ремня.
Следует отметить, что упор дополнительно ограничивает движение элемента 76 пропускания в направлении против часовой стрелки. Это выполняется посредством сцепления упорного выступа 96 с дополнительной поверхностью рамы, как показано на фиг. 4. Таким образом, упор предотвращает слишком сильный поворот элемента пропускания под действием приложения силы листом.
Листы, движущиеся в направлении наружу, проходят элемент 76 пропускания. После того, как листы выходят из сцепления с элементом пропускания, элемент пропускания возвращается в первое положение под действием смещающих сил тяжести, как представлено на фиг. 5. Листы проходят в направлении наружу по пути, который предпочтительно больше длины листа, пока не достигнут выходного отверстия, в общем показанного позицией 118. В выходном отверстии 118 лист становится доступным для пользователя. Как показано на фиг. 5, лист 108 выходит наружу у выхода через отверстие 24 выдачи квитанции в приборной панели 12.
Привод работает под действием контроллера для перемещения нижнего пролета ремня с зацепленным листом в направлении наружу, пока второй фотоэлектрический датчик 120 на выходном конце пути не воспримет прохождение внутреннего конца листа. Датчик 120 соединен с контроллером 112, который действует в отношении остановки двигателя 38, а это останавливает привод, движущий нижний пролет ремня. Затем контроллер движет устройство перемещения в обратном направлении, пока снова не воспримет внутренний конец листа, и после этого останавливает движение устройства перемещения. В этом положении лист 108 остается сцепленным с пролетом ремня и направляется немного вверх концевыми выступами 66 и 68, чтобы обеспечить возможность его изъятия пользователем через отверстие 24. Пролеты ремней позволяют осуществлять ограниченное скольжение, поэтому пользователь может вручную изъять простирающийся наружу лист без повреждения.
Контроллер 112 в рабочем отношении соединен с таймером, схематически показанным позицией 122. Контроллер 112 предпочтительно включает в себя один или более процессоров, а таймер 122 является частью запрограммированной подпрограммы, выполняемой процессором, как описывается ниже. В качестве альтернативы таймер может быть резидентной частью другой системы, соединенной с контроллером. Под действием описываемых ниже определенных запрограммированных условий и по прошествии установленного времени контроллер приводит в действие подпрограмму отведения назад для движения привода в противоположном направлении, чтобы нижний пролет ремня двигался в направлении внутрь, как показано стрелкой B на фиг. 6. Если клиент не изъял лист, контроллер приводит в действие привод таким образом, чтобы возвратить лист описываемым ниже способом. Однако, если пользователь вынул лист 108, то лист не будет восприниматься и контроллер выполняет запрограммированный этап в соответствии с этим условием. После этого устройство оказывается готовым для выдачи следующего листа.
Если после достижения таймером 122 установленного времени пользователь не вынул лист, то лист продолжает восприниматься вторым датчиком 120. Под действием удовлетворяемых запрограммированных условий контроллер 112 управляет приводом так, что нижний пролет ремня движется в направлении внутрь. В результате этого лист 108 движется в направлении внутрь по пути, пока не сцепится с дугообразной внутренней поверхностью элемента 76 пропускания. При сцеплении с внутренней поверхностью элемента пропускания лист направляется в поддерживаемом положении на нем в местоположение 80 хранения. Как показано на фиг. 6, когда лист 108 проходит над внутренней поверхностью элемента пропускания, он поворачивается на 180 градусов. Лист воспринимается также датчиком 110, когда движется рядом с элементом 76 пропускания.
Контроллер 112 прогоняет привод при движении нижнего пролета ремня в направлении внутрь в течение достаточно длительного времени и таким способом, чтобы гарантировать продвижение листа в местоположение хранения. При достижении листом местоположения хранения он предпочтительно ложится в плоском положении, поддерживаемом на основании 24. Из-за того, что возвращаемый лист подается в плоской ориентации, в местоположении хранения 80 можно накапливать большое количество листов, прежде чем следует изымать возвращенные листы. Как показано на фиг. 7, после поступления отведенного назад листа в местоположение хранения, устройство 26 перемещения и отведения назад оказывается готовым к выдаче и отведению назад следующих листов от печатающего устройства 30.
Изъятие накопленных листов схематически показано на фиг. 8. После периода продолжительной работы в местоположении 80 хранения располагается стопка 124 возвращенных листов. Контроллер осуществляет обнаружение описываемым ниже способом, когда оказывается заполненным местоположение хранения. Стопку можно вручную взять и изъять посредством поворота рамы 32 относительно оси 44 до показанного на фиг. 8 положения. Этот поворот удаляет в поперечном направлении раму и поддерживаемые на ней пролеты ремней от местоположения хранения. В этом положении стопка 124 оказывается более легко доступной для изъятия. Далее, печатающее устройство 30 также оказывается легко доступным для целей такого технического обслуживания, как смена кассет печатания или пополнение запасов бумаги или обслуживание. После удаления из местоположения хранения стопки 124 возвращенных листов, раму возвращают в рабочее положение, когда ремень снова проходит между источником бумаги, которым является печатающее устройство 30, и выходом.
Отводимые назад листы показанного варианта осуществления лежат, как правило, в горизонтальной ориентации в местоположении 80 хранения. Это потому, что внутренняя поверхность 88 элемента 76 пропускания проходит обычно примерно на 180 градусов. Однако в других вариантах осуществления изобретения элемент пропускания может иметь другие очертания и угловые конфигурации внутренней поверхности. Например, можно использовать дугу в 90 градусов для вертикального выравнивания листов в местоположении хранения. Это может оказаться желательным, если пространство местоположения хранения имеется только под устройством пропускания.
Соответствующая предпочтительному варианту осуществления система приводится в действие контроллером 112 несколькими другими способами под влиянием точности выполнения некоторых запрограммированных условий. Например, контроллер управляет также очищением бланков из отверстия для квитанций под влиянием наполнения местоположения 80 хранения или под действием слишком длинной для отведения квитанции. Контроллер также действует такими способами, которые управляют корректированием неправильной работы, типа заеданий бумаги.
В предпочтительном варианте осуществления настоящего изобретения контроллер 112 предпочтительно включает в себя микропроцессор. Микропроцессор находится в оперативном соединении с запоминающим устройством. Запоминающее устройство предпочтительно является полупроводниковым запоминающим устройством или программно-аппаратным средством. Однако в других вариантах осуществления можно использовать другие типы запоминающих устройств. Контроллер, который приводит в действие соответствующую настоящему изобретению систему перемещения и отведения назад, может также приводить в действие печатающее устройство 30 и управлять печатанием бланков квитанций. В других вариантах осуществления настоящего изобретения можно использовать отдельные контроллеры для печатающего устройства и системы перемещения и отведения назад квитанций.
Схематические представления этапов, выполняемых контроллером 112, графически показаны на фиг. 13-24. Фиг. 13 является схематическим представлением этапов, выполняемых контроллером в подпрограмме управления печатанием и перемещением. Подпрограмма начинается с этапа 126, на котором печатающее устройство приводится в действие для печатания символов или других индексов на бумаге. На этапе 128 контроллер 112 выполняет определение, была ли воспринята бумага, на которой проводится печатание, как движущаяся под влиянием усилий печатающего устройства с целью перемещения бумаги. Движение бумаги предпочтительно воспринимается с использованием системы, показанной в одновременно рассматриваемой заявке на патент США с регистрационным номером 08/568.887, зарегистрированной 7 декабря 1995 г., раскрытие которой включено в описание изобретения путем ссылки. Если воспринимается, что бумага движется под действием печатающего устройства, контроллер на этапе 130 дает показание неисправности.
Если контроллер воспринимает, что бумага под действием печатающего устройства движется правильно, то контроллер далее определяет на этапе 132, получена ли команда на подачу бланка. Если нет, то контроллер далее на этапе 134 определяет, получена ли команда на отрезание, которая показывает инструкцию печатающему устройству отрезать бумагу. Если команда на отрезание бумаги не получена, то на этапе 136 осуществляется проверка для определения, получена ли команда представления бланка. Если команда на представление бланка не получена, то на этапе 138 осуществляется определение, получена ли команда на отведение бланка назад. И наконец, на этапе 140 выполняется проверка для определения, принята ли команда на очистку. Если принимается какая-либо из команд, представленных на этапах 132-140, то контроллер на этапе 142 действует так, чтобы дать возможность средству перемещения работать на средней скорости. Средство перемещения приводится в действие в соответствии с конкретными этапами, связанными с описываемой ниже принимаемой командой. От этапа 142 контроллер переходит к этапу 126.
Если на этапах 132-140 ни одна из команд не принята, то на этапе 144 принимается решение в отношении того, достаточно ли выступает из печатающего устройства длина бумаги, которой печатающее устройство приводится в действие для распечатывания на текущем бланке, для сцепления с пролетами ремней средства перемещения. Это предпочтительно осуществляется посредством сравнения контроллером расстояния, на которое бумага продвинулась после последней операции отрезания до запомненного значения. Если бумага имеет еще не достаточную длину для сцепления с пролетами ремней, то средство перемещения на этапе 146 временно блокируется и программа возвращается к этапу 126. После того, как бумага достигнет длины, достаточной для сцепления с пролетами ремней, контроллер выполняет этап 148. На этапе 148 выполняется действие по началу движения ремней средства перемещения в направлении вперед на малой скорости. В направлении вперед пролеты ремней форсируют перемещение листа по направлению к отверстию 24 для квитанций. Как описано выше, конфигурация средства перемещения такова, что ремням обеспечивается возможность двигаться в зацеплении с бланком квитанции. После этапа 148 ремни продолжают двигаться на низкой скорости, пока не будет принята одна из других команд.
На фиг. 14-17 схематически демонстрируют этапы, выполняемые контроллером в качестве части подпрограммы загрузки и классифицирования бумаги. Предпочтительная форма изобретения состоит в таком действии по восприятию характеристик бумаги, что контроллер может динамически запоминать и изменять запомненные качества используемой в листах бумаги. Предпочтительная форма изобретения способна динамически приспосабливаться к бумаге с изменяющимися качеством и цветом. В предпочтительной форме изобретения контроллер предпочтительно способен также выполнять запоминание и корректирование пороговых значений, которые показывают бумагу, воспринимаемую рядом с датчиком, когда выполняется действие печатания. Таким образом, предпочтительная форма системы способна правильно работать с типами бумаги, которые в значительной степени изменяются. Она также приспосабливается к изменениям бумаги, которые имеют место в середине рулона или сложенной в гармошку стопки. Система также динамически настраивается на оптические свойства меток "начала бумаги" (НБ) при использовании бумаги с метками типа НБ.
Подпрограмма загрузки и классифицирования бумаги начинается с этапа 150 входа, после которого на этапе 152 осуществляется проверка в отношении того, находится ли средство перемещения квитанций в рабочем положении. Если средство перемещения движется к местоположению для обслуживания, например, для замены источника бумаги, то контроллер далее выполняет этап 154. На этапе 154 контроллер осуществляет регулирование базового значения цвета бумаги для согласования со значением, имеющимся на датчике 155 (фиг. 7). Датчик 155 предпочтительно располагают на пути прохождения бумаги, указанном позицией 151 в печатающем устройстве 30. Датчик 155 располагают на пути прохождения бумаги в местоположении, впереди по меньшей мере одного механизма привода бумаги, схематически показанного валиками 157, 159, которые зацепляют бумагу и движут ее по пути прохождения бумаги. Датчик 155 предпочтительно располагают также на пути прохождения бумаги впереди механизма отрезания бумаги, схематически показанного позицией 153. Устройство 153 отрезания по выбору действует для поперечного отрезания бумаги на пути ее прохождения. Датчик 155 располагают на достаточном расстоянии внутри на пути прохождения бумаги, чтобы когда датчик воспримет на месте конец бумаги, остальную бумагу можно было продвинуть наружу валиками 157 для зацепления ремнями устройства перемещения в захвате 114.
В предпочтительной форме изобретения датчик 155 представляет собой датчик оптического типа, который включает в себя излучатель и приемник. Контроллер действует так, чтобы регулировать интенсивность излучателя таким образом, что уровень света, отражаемого от бумаги и воспринимаемого приемником в датчике 155, увеличивается до уровня, выше требуемого. Это гарантирует, что датчик 155 может надежно воспринимать наличие рядом с ним бумаги. Однако в альтернативных вариантах осуществления запомненный пороговый уровень сигнала от приемника можно соответственным образом регулировать для индикации наличия бумаги или могут регулироваться пороговые уровни сигналов и излучения и приемника под действием характеристик бумаги. Это предпочтительно выполняется на основании отражательной способности по меньшей мере двух разнесенных друг от друга участков на листе, которые затем используются для устанавливания порогового уровня. Например, считывания от двух разнесенных друг от друга мест можно осреднить, а затем взять отклонение от среднего значения для целей устанавливания порогового уровня. Сигналы от датчика 155 можно также использовать для изменения величин излучения или для регулирования пороговых значений восприятия наличия бумаги в отношении сигналов от датчиков 110 и 120.
На этапе 156 выполняется определение в отношении того, является ли используемая бумага бумагой с меткой начала бланка (НБ). Это можно выполнять посредством ввода в контроллер техником по обслуживанию. Однако в альтернативных вариантах это может выполняться автоматически датчиком 155, обнаруживающим изменения отражательной способности бумаги, которые показывают наличие меток НБ. Метки НБ являются темными метками, которые расположены на каждом бланке листа. Они используются для обеспечения указания на печатание и отрезание бумаги. Поскольку метки НБ расположены равномерно и гораздо темнее (менее отражающие), чем окружающая поверхность бланка, контроллер можно программировать на реагирование на значительные изменения отражательной способности, связанные с метками НБ, и он принимает решение на этапе 156 на основании наличия или отсутствия таких изменений.
Если на этапе 156 показано наличие бумаги с меткой НБ, то контроллер далее выполняет этап 158. На этапе 158 печатающее устройство осуществляет продвижение бумаги, используя валики 157 и/или другие приводные механизмы, на достаточное расстояние, чтобы собирать информацию выборок, касающуюся отражательной способности бумаги в области меток НБ, а также в областях, находящихся на расстоянии от меток. В предпочтительной форме изобретения на этапе 158 бумага продвигается печатающим устройством на расстояние по меньшей мере двух меток НБ, а пороговые значения, соответствующие наличию бумаги и наличию меток НБ на бумаге рядом с датчиком 155, корректируются и запоминаются в запоминающем устройстве. После этого контроллер выполняет на этапе 160 подпрограмму отрезания бланка, что будет более подробно описано ниже, и переходит к этапам, которые описываются ниже в связи с фиг. 16.
Если на этапе 156 определяется, что используемая бумага не является бумагой с меткой НБ, то контроллер далее выполняет этап 162. На этапе 162 бумага продвигается на достаточное расстояние для гарантирования, что печатающему устройству дается возможность надежно продвигать бумагу. В предпочтительной форме изобретения бумага продвигается вперед примерно на 25 сантиметров. После этого контроллер переходит к этапу 160 и отрезает бумагу, используя режущий механизм 153.
Если на этапе 152 определяется, что средство перемещения находится в рабочем положении, контроллер далее выполняет этап 164. Этап 164 представляет собой подпрограмму отведения назад, которая ниже описывается в связи с фиг. 22 и 23. В подпрограмме отведения назад контроллер обеспечивает движение ремней средства перемещения для гарантирования, что отводится назад любой бланк в нем и движется в местоположение 80 хранения. Этот этап гарантирует, что средство перемещения перед загрузкой очищено.
Далее контроллер выполняет этап 166. На этапе 166 бумага перемещается вперед по пути 151 следования бумаги приводным механизмом в печатающем устройстве. На этапе 168 синхронизирования проводится проверка, завершено ли полное время отсутствия восприятия бумаги. Если проводится попытка продвинуть бумагу вперед в течение времени, превышающего завершение времени отсутствия восприятия бумаги, контроллер выполняет этап 170, на котором контроллер устанавливает состояние, показывающее, что в печатающем устройстве нет бумаги или имеется подобная неисправность. После этапа 170 контроллер выходит из подпрограммы.
Если в течение разрешенного на этапе 168 завершенного времени воспринято наличие бумаги, то контроллер переходит к этапу 172. Этап 172 аналогичен ранее описанному этапу 154. На этапе 172 контроллер осуществляет оценку сигналов, принимаемых от датчика 110, и регулирование пороговой интенсивности излучения, связанного с датчиком, или пороговых уровней сигналов от приемного устройства датчика для приведения в соответствие с характеристиками отражательной способности загруженной бумаги. Затем контроллер переходит к
этапу 174, аналогичному этапу 156, на котором производится определение, является ли загруженная бумага бумагой с меткой начала бланка или нет. Как и в случае ранее описанного этапа, это можно осуществлять на основании входного сигнала или можно определить на основании изменений отражательной способности бумаги.
этапу 174, аналогичному этапу 156, на котором производится определение, является ли загруженная бумага бумагой с меткой начала бланка или нет. Как и в случае ранее описанного этапа, это можно осуществлять на основании входного сигнала или можно определить на основании изменений отражательной способности бумаги.
Если используется бумага с меткой начала бланка, то контроллер выполняет этап 176, на котором он устанавливает пороговые уровни для обнаружения метки НБ на бумаге. Эти пороговые уровни меток НБ устанавливают на основании общей отражательной способности бумаги, которая определяется на этапе 172, если решение в отношении наличия бумаги с меткой НБ основано на ручном вводе. Если определение осуществляется автоматически, то пороговые уровни меток могут базироваться на характеристиках отражательной способности метки (меток) НБ, воспринимаемых в процессе определения.
Как показано на фиг. 15, контроллер далее выполняет этап 178, на котором осуществляется определение, находится ли бумага рядом с датчиком 155. Если бумага не воспринимается рядом с входным датчиком, то на этапе 180 производится определение, воспринимается ли бумага рядом с выходным датчиком средства перемещения, который является вторым датчиком 120. Если бумага воспринимается рядом с выходным датчиком, а не датчиком 155, то имеется проблема, и на этапе 182 устанавливается состояние неисправности входного датчика.
После этапа 182 контроллер на этапе 184 осуществляет выполнение подпрограммы отрезания бумаги и выполнение подпрограммы очистки бланка на этапе 186. Эти подпрограммы подробно описаны ниже. После этого контроллер переходит к выполнению этапов, показанных на фиг. 16.
Если на этапе 178 принятия решения воспринимается бумага рядом с датчиком 155, то контроллер переходит к этапу 188. На этапе 188 снова производится определение, используется ли бумага с меткой начала бланка или нет. Это определение может базироваться на вводе пользователем, на определении по изменениям отражательной способности бумаги или на основании решения, которое было принято на этапе 174.
Если на этапе 188 определяется, что используемая бумага является бумагой с меткой НБ, то контроллер переходит к этапу 190. На этапе 190 печатающее устройство осуществляет движение бумаги так, чтобы поместить метку НБ рядом с датчиком 155. После этого контроллер осуществляет регулирование порогового значения, представляющего наличие метки НБ. Это можно выполнять посредством либо регулирования пороговой интенсивности излучения, связанного с датчиком, либо регулирования пороговых значений сигналов, соответствующих соседней метке НБ.
После регулирования на этапе 190 пороговых значений, связанных с соседней меткой НБ, контроллер далее на этапе 192 выполняет подпрограмму отрезания бумаги. После отрезания бумаги контроллер на этапе 194 выполняет подпрограмму отведения назад и на этапе 196 продвигает бумагу к местоположению следующей метки НБ рядом с датчиком 155.
В качестве альтернативы, если на этапе 188 определяется, что используется не бумага с меткой начала бланка, то контроллер переходит к этапу 198, на котором выполняется подпрограмма отрезания бумаги. На этапе 200 отрезанный бланк возвращается обратно в местоположение хранения. Либо на этапе 196, либо на этапе 200 контроллер осуществляет переход к выполнению этапа 202, на котором очищается любое показание остаточного состояния, свидетельствующее о том, что с входного датчика считывается условие неисправности.
От этапов 186, 202 и 160 контроллер переходит к этапу 204, показанному на фиг. 16. На этапе 204, перед выполнением подпрограммы текущей загрузки и классифицирования бумаги, стираются предыдущие значения, которые контроллер использовал для восприятия меток НБ. Точно так же очищаются предыдущие значения неисправностей, типа значения неисправности, показывающего некондиционную бумагу, которое имело место перед текущей подпрограммой загрузки бумаги.
На этапе 206 выполняется определение в отношении того, было ли воспринято состояние "отсутствия бумаги" в ходе выполнения осуществляемой в данный момент подпрограммы загрузки и классифицирования бумаги. Если нет, то контроллер переходит к этапу 208. На этапе 208 контроллер выполняет заранее запрограммированную подпрограмму, в соответствии с которой он печатает тестовый шаблон на одном бланке, продвигает соответственным образом бланк на основании того, является ли бланк листом типа бланка с меткой НБ или простым листом бумаги, и выполняет подпрограмму отрезания и подпрограмму отведения назад для размещения бланка в местоположении хранения.
Если тестовая подпрограмма на этапе 208 выполнена успешно, то показывающая ее информация представлена в параметрах программы контроллера на этапе 210. Конечно, если на этапе 206 устройство определяет отсутствие бумаги, то информация, указывающая его состояние, на этапе 210 корректируется. После корректирования информации о состоянии контроллер на этапе 212 выходит из программы.
Во время печатания печатающее устройство реагирует на электрические сигналы от контроллера, которые показывают знаки, подлежащие печатанию на подлежащем выдаче бланке. Как показано на фиг. 13, после того, как величина распечатки, сделанной на бланке, окажется достаточной, чтобы вызвать превышение длиной бланка порогового значения, контроллер выполняет этап 144, который позволяет устройству перемещения начать движение в соответствии с этапом 148. По мере продолжения печатания бланк простирается в устройстве перемещения мимо элемента пропускания. В случае бланка на простой бумаге бланк может иметь переменную длину, которая определяется величиной распечатки на нем. В случае бланка с меткой НБ бланк может представлять собой один или более соединенные листы с метками НБ, проходящие в устройстве перемещения.
При завершении печатания на бланке контроллер начинает выполнять этапы в подпрограмме отрезания бланка, представленной на фиг. 18-20. После этого контроллер выполняет этапы, показанные на фиг. 21 подпрограммы представления бланка, в соответствии с которой осуществляется представление листа бланка клиенту.
На этапе 214 контроллер входит в подпрограмму отрезания бланка. На этапе 216 выполняется определение, является ли вход в подпрограмму ошибочным из-за того, что длина бланка на основании распечатки равна нулю. Если длина бланка равна нулю, то контроллер сразу же на этапе 218 выходит из подпрограммы. Полагая, что по определению на этапе 216 длина бланка не равна нулю, на этапе 220 выполняется определение, составляет ли длина отпечатанного бланка больше минимально необходимой для перемещения. И здесь это решение основывается на расстоянии, на которое печатающее устройство продвинуло бланк и на выполненном печатании. Если на этапе 220 принято решение, что длина бланка меньше минимальной, то выполняется этап 222 для продвижения бумаги до минимальной длины бланка.
После этапа 220 или этапа 222 контроллер далее выполняет этап 224, на котором осуществляется определение, очищено ли устройство перемещения. Если на этапе 224 выходной датчик 120 воспринимает бланк, то на этапе 226 выполняется подпрограмма чистки. При выполнении подпрограммы чистки обычно изымается бланк на выходе и очищается устройство перемещения. Однако если на этапе 228 определяется, что выходной датчик все еще не очищен, то на этапе 230 указывается проблемное состояние и на этапе 232 контроллер выходит из подпрограммы.
Если на этапе 224 возле выходного датчика бланк не обнаружен или если выполненная на этапе 226 подпрограмма чистки осуществила эффективное удаление бланка, то контроллер выполняет этап 234. На этапе 234 печатающее устройство отрезает бумагу посредством приведения в действие режущего механизма 153. Кроме того, на этапе 234 контроллер выполняет также корректирование верхней части бланка и пороговых значений отражательной способности бумаги, запомненных в запоминающем устройстве на основании характеристик отражательной способности только что обработанного бланка. Это обеспечивает корректирование пороговых значений для каждого листа и компенсирует изменения, которые происходят в различных листах.
На этапе 234 контроллер переходит далее к этапу 236, на котором осуществляется определение, находится ли устройство перемещения в рабочем положении. Если да, то контроллер выполняет этап 238, на котором устройство перемещения продвигается вперед, чтобы продвинуть бланк на минимальную перемещаемую длину наружу в местоположение вблизи выходного датчика 120. В качестве альтернативы, если на этапе 236 обнаруживается, что устройство перемещения находится не в рабочем положении, то выполняются этапы, схематически показанные на фиг. 20, как будет описано ниже.
После этапа 238 контроллер выполняет, этап 240. На этапе 240 осуществляется определение, воспринимается ли все еще бумага рядом с входным датчиком 110, несмотря на то, что бланк продвинут на расстояние, достаточное для его расположения рядом с выходным датчиком. Если бланк все еще находится рядом с входным датчиком, то выполняется этап 242, на котором печатающее устройство снова пытается отрезать бумагу. После этапа 242 устройство перемещения на этапе 244 снова пытается продвинуть бланк по направлению к выходному датчику. Попытка продвижения бумаги бланка в это время осуществляется на средней скорости.
Далее контроллер исполняет этап 246. На этапе 246 снова производится определение, находится ли все еще бланк рядом с входным датчиком 110. Если да, то контроллер выполняет этап 248, который показывает состояние неисправности, и на этапе 250 выходит из программы.
Однако если на этапе 240 или на этапе 246 бланк больше не воспринимается рядом с входным датчиком, то контроллер выполняет этап 252, на котором очищается любое показание состояния неисправности режущего устройства, которое может находиться в запоминающем устройстве. Затем на этапе 254 контроллер приводит в действие устройство перемещения с целью продвижения бланка по направлению к выходу на высокой скорости. На этапе 256 производится определение, воспринимается ли бланк рядом с выходным датчиком 120. Если воспринимается, то выполняются этапы, показанные на фиг. 20.
Если на этапе 256 бланк не воспринимается датчиком 120 рядом с выходом устройства перемещения, то выполняется этап 258. На этапе 258 контроллер приводит в действие устройство перемещения так, чтобы продвинуть бланк на высокой скорости к выходу. Затем на этапе 260 производится определение, достиг ли бланк выхода. Если теперь бланк находится рядом с выходным датчиком, то контроллер переходит к показанным на фиг. 20 этапам. Однако если бланк не находится рядом с выходным датчиком, то контроллер переходит к этапу 262.
На этапе 262 выполняется подпрограмма чистки заедания, иногда называемая подпрограммой устранения заедания. В предпочтительной форме подпрограммы устранения заедания контроллер действует так, чтобы продвинуть ремни 50 и 52 устройства перемещения назад и вперед, вначале в одном направлении, а затем в другом. В предпочтительной форме подпрограммы устранения заедания ремни движутся в первом направлении, а затем в противоположном направлении от начальной пусковой точки. Это производится три раза с увеличением смещения ремней в каждом направлении при каждом цикле. Обратное и прямое перемещения ремней в подпрограмме устранения заедания обычно осуществляются для чистки любого заедания и позволяют начать движение застрявшему листу. Благодаря предпочтительному варианту осуществления изобретения в ряде ситуаций используется подпрограмма устранения заедания.
После выполнения подпрограммы устранения заедания контроллер переходит к этапу 264, на котором производится определение, был ли виден бланк во время выполнения подпрограммы устранения заедания рядом с выходным датчиком 120. Если был виден, то бланк освободился и появилась вероятность либо изъятия его из устройства перемещения, либо перемещения в местоположение хранения. Если бланк был виден у выходного датчика, то выполняется этап 266, на котором очищаются любые показания состояния неисправности и контроллер переходит к этапам, представленным на фиг. 20.
Однако если подпрограммы устранения заедания на этапе 262 было не достаточно, чтобы обеспечить восприятие бланка выходным датчиком, то контроллер выполняет этап 268, чтобы показать наличие состояния неисправности, и на этапе 270 выходит из программы.
От этапа 236, этапа 256, этапа 260 или этапа 266 контроллер переходит к этапу 272, показанному на фиг. 20. На этапе 272 очищаются любые показания состояния наличия неисправности. Затем контроллер выполняет этап 274, на котором восстанавливаются счетчики печати и длины бланка. Это позволяет контроллеру начать счет длины следующего подлежащего печатанию бланка. На этапе 276 осуществляется проверка, осталось ли подключенным устройство перемещения, и если подключено, то контроллер переходит к этапу 278, на котором он показывает, что теперь бланк для клиента находится в устройстве перемещения. Конечно, если устройство перемещения больше не подключено, то это не соответствует показанию, что бланк находится на хранении. После этого контроллер на этапе 280 выходит из программы.
Если бланк находится в устройстве перемещения на хранении, то контроллер осуществляет исполнение подпрограммы представления бланка, схематически представленной на фиг. 21. Следует отметить, что обычно одновременно происходит представление одного из отпечатанных бланков. Однако предпочтительный вариант осуществления настоящего изобретения позволяет осуществлять удержание при необходимости более одного бланка на хранении в устройстве перемещения. Это можно выполнять посредством соответствующего программирования, которое проверяет бланк, отрезаемый посредством движения его рядом с выходным датчиком 120 и затем возвращения его на основании его длины к промежуточной точке в устройстве перемещения во время печатания дополнительных бланков.
Если необходимо представить находящиеся на хранении в устройстве перемещения бланков, то контроллер выполняет этапы, схематически показанные на фиг. 21. Контроллер начинает действие с выполнения этапа 282. После этого на этапе 284 осуществляется определение правильности включения устройства перемещения. Если устройство перемещения не включено, то на этапе 286 осуществляется определение, отпечатан ли или продвинут бланк. Если нет, то контроллер на этапе 288 устанавливает состояние взятого бланка и на этапе 290 выходит из программы. Точно так же если бланк отпечатан, то контроллер выполняет этап 292 для подачи бланка. После этапа 292, контроллер затем выполняет этапы 288 и 290 для выхода из программы.
Если на этапе 284 определяется, что устройство перемещения подключено, то контроллер переходит к этапу 294. На этапе 294 производится определение, показано ли в запоминающем устройстве состояние, которое представляет, что бланк находится на хранении в устройстве перемещения. Если нет, то контроллер выходит из программы. Однако если показано надлежащее состояние нахождения бланка на хранении, то контроллер выполняет этап 296. На этапе 296 контроллер приводит в действие устройство перемещения в попытке продвинуть бланк наружу за пределы выходного датчика 120.
Полное время продвижения бланка наружу на этапе 296 измеряется на этапе 298. Если в течение полного времени не воспринимается движение бланка наружу мимо выходного датчика, то на этапе 300 выполняется подпрограмма устранения заедания. Подпрограмма устранения заедания аналогична ранее описанной, при которой ремни движутся взад и вперед с целью попытки продвижения бланка.
После выполнения подпрограммы 300 устранения заедания на этапе 302 осуществляется определение, виден ли все еще бланк рядом с выходным датчиком. Если подпрограмма устранения заедания была успешной и теперь бланк не виден выходным датчиком или оказался успешным этап 296 в отношении движения бланка за пределы выходного датчика, контроллер на этапе 304 изменяет движение устройства перемещения на обратное, чтобы расположить бланк рядом с выходным датчиком для контроля. Затем контроллер выполняет этап 306, на котором дается показание состояния, говорящее о том, что бланк присутствует. Этап 306 выполняется также в ответ на все еще нахождение бланка рядом с выходным датчиком на этапе 302.
После этапа 306 контроллер переходит к выполнению этапа 308. На этапе 308 контроллер контролирует, взят ли бланк клиентом. Если клиент взял бланк, то бланк больше не будет обнаруживаться выходным датчиком. Кроме того, во время выполнения этапа 308 контроллер осуществляет выполнение подпрограммы синхронизации. Как описано выше, если бланк находится у выходного датчика дольше установленного времени при программировании контроллера, то бланк будет отведен назад в соответствии с этапами, описанными в связи с фиг. 22 и 23. Если бланк имеется на этапе 308 контроля, контроллер выходит из программы через этап 310.
Если на этапе 308 клиент взял бланк, то показывается состояние взятого бланка и устройство перемещения оказывается готовым перейти к представлению следующего бланка либо тому же клиенту, либо другому клиенту. Однако если клиент не взял бланк в течение определенного времени, то контроллер осуществляет выполнение этапов, представляемых подпрограммой отведения назад, графически представленной на фиг. 22 и 23.
Контроллер входит в подпрограмму отведения назад бланка, начиная с этапа 312. После этапа 312 на этапе 314 осуществляется определение, включено ли устройство перемещения. Если не включено, то контроллер на этапе 316 выходит из программы. Если устройство перемещения включено, то контроллер выполняет этап 318, на котором осуществляется определение, показано ли состояние нахождения бланка в устройстве перемещения на хранении. Если на этапе 318 определяется, что состояния, показывающего нахождение на хранении в устройстве перемещения бланка, больше нет в запоминающем устройстве, контроллер приводится в действие для выполнения этапа 320, на котором устройство перемещения движется в обратном направлении в течение достаточного времени для отведения назад любого бланка, который может находиться в устройстве перемещения в местоположение хранения, а затем выходит из программы.
Если на этапе 318 контроллер определяет, что имеется индикация состояния, что бланк находится на хранении в устройстве перемещения, контроллер переходит к этапу 322. На этапе 322 осуществляется определение, касающееся длины бланка, который отпечатан печатающим устройством, на основании счетчиков строк в печатающем устройстве. На этапе 322 производится определение, имеет ли бланк длину больше максимальной длины, на которую может отвести назад устройство перемещения. Следует понимать, что в предпочтительном варианте осуществления изобретения печатающему устройству дается возможность печатать бланки, которые выходят из печатающего устройства на весь путь по устройству перемещения к клиенту. Следовательно, можно иметь бланк, который длиннее, чем можно отвести назад.
Если на этапе 322 определяется, что бланк длиннее максимальной длины отведения назад, то контроллер выполняет этап 324. На этапе 324 выполняются этапы в показанной на фиг. 24 подпрограмме прочистки. После выполнения подпрограммы прочистки контроллер осуществляет выполнение этапа 326, на котором показано состояние, что бланк взят, и контроллер на этапе 328 выходит из подпрограммы.
Если на этапе 322 определяется на основании длины отпечатанного бланка, что хранящийся бланк не слишком длинный для отведения назад, контроллер переходит к этапу 330. На этапе 330 выполняется определение, находится ли в данный момент бланк рядом с выходным датчиком 120. Если находится, то контроллер выполняет этап 332, на котором устройство перемещения движется в обратном направлении для очистки выходного датчика. После выполнения этапа 332 выполняется этап 334 для определения, находится ли еще бланк рядом с выходом. Если находится, то контроллер на этапе 336 выполняет подпрограмму прочистки бланка. После этого контроллер на этапе 338 осуществляет выполнение подпрограммы устранения заедания. Затем контроллер выполняет этап 340, чтобы показать, что бланк взят, и на этапе 342 выходит из программы.
Если на этапе 330 обнаружено, что рядом с выходным датчиком нет бланка, контроллер выполняет этап 344. При выполнении этапа 344 контроллер осуществляет движение устройства перемещения в обратном направлении, пока бланк не будет воспринят рядом с входным датчиком 110 устройства перемещения. Как показано на фиг. 23, на этапе 346 производится определение, движется ли бланк рядом с входным датчиком. Если нет, то контроллер осуществляет на этапе 348 приведение в действие подпрограммы устранения заедания.
Если на этапе 346 или после подпрограммы 348 устранения заедания определяется, что бланк находится рядом с входным датчиком, контроллер осуществляет выполнение этапа 350. На этапе 350 устройство перемещения продолжает двигаться в обратном направлении, пока входной датчик не очистится. Это показывает, что бланк отведен назад и направлен элементом пропускания в местоположение 80 хранения. Затем контроллер выполняет этап 352, на котором осуществляется определение, воспринимается ли все еще бланк рядом с входным датчиком, несмотря на выполнение этапа 350. Если это так, то это показывает, что местоположение хранения заполнено. Индикация этого осуществляется контроллером посредством выполнения этапа 354, и после этого контроллер на этапе 356 выходит из программы.
Если на этапе 352 бланк больше не воспринимается рядом с входным датчиком, то это показывает, что он, вероятно, правильно возвращен в местоположение хранения. Далее контроллер выполняет этап 358. На этапе 358 контроллер осуществляет движение устройства перемещения вперед на короткое расстояние и затем останавливается. Затем выполняется этап 360, на котором осуществляется определение, проталкивает ли движущееся вперед устройство перемещения на короткое расстояние бланк от местоположения хранения, которое воспринимается входным датчиком. Если проталкивается, то это показывает, что местоположение хранения заполнено и выполняется этап 354.
Однако если на этапе 360 определяется, что местоположение хранения не заполнено, то выполняется этап 362. На этапе 362 контроллер осуществляет движение устройства перемещения в обратном направлении на расстояние, аналогичное расстоянию, на которое на этапе 358 устройство перемещения продвинулось вперед.
Далее контроллер выполняет этап 364. На этапе 364 осуществляется определение, виден ли бланк входным датчиком 110 во время выполнения подпрограммы отведения назад. Если был виден, то выполняется этап 366, на котором контроллер устанавливает состояние отведенного назад бланка. Однако если на этапе 364 определяется, что бланк не был воспринят входным датчиком, то это показывает, что клиент взял бланк или что он другим способом был изъят из устройства перемещения. В ответ на это состояние контроллер осуществляет выполнение этапа 368 и устанавливает состояние взятого бланка. После этапов либо 368, либо 366 контроллер на этапе 370 выходит из подпрограммы.
Подпрограмма прочистки, упоминаемая в соответствии с предыдущими этапами программы, схематически представлена на фиг. 24. Контроллер входит в подпрограмму через этап 372 и после этого осуществляет определение на этапе 374, подключено ли устройство перемещения к печатающему устройству. Если устройство перемещения не подключено, то контроллер на этапе 376 выходит из подпрограммы.
Далее контроллер выполняет этап 378, на котором осуществляется определение, отпечатан ли печатающим устройством бланк или продвинут ли бланк. Если нет, то на этапе 380 бланк продвигается. Затем на этапе 382 контроллер осуществляет движение ремней устройства перемещения в направлении вперед на расстояние, достаточное для проталкивания любых бланков в устройстве перемещения наружу через отверстие 24 для квитанций. В предпочтительной форме изобретения расстояние, на которое перемещаются ремни вперед, составляет примерно 50 сантиметров.
После выполнения этапа 382 контроллер далее выполняет этап 384, на котором выполняется определение, обнаруживает ли датчик 110 или 120 рядом с собой бланк. Если нет, то на этапе 386 выполняется подпрограмма устранения заедания. Подпрограмма устранения заедания аналогична описанной выше подпрограмме, в соответствии с которой ремни подвергаются колебательному движению в попытке очистить прилипший бланк. После исполнения подпрограммы устранения заедания на этапе 388 выполняется определение, воспринимается ли бланк рядом с каким-либо из датчиков устройства перемещения. Если нет или в качестве альтернативы если датчики устройства перемещения были очищены на этапе 384, то контролер на этапе 390 выполняет установление состояния прочищенного бланка, показывающее, что бланк продвинут из отверстия для квитанций и что устройство перемещения очищено. После этого контроллер на этапе 392 осуществляет выход из программы. Однако если на этапе 388 определяется, что бланк все еще воспринимается рядом с одним из датчиков устройства перемещения, то контроллер осуществляет на этапе 394 установление состояния невыполнения прочищения. Затем контроллер выходит из подпрограммы.
Дополнительная новая особенность предпочтительного варианта осуществления настоящего изобретения состоит в том, чтобы избежать отрезание бумаги при достижении конца источника бумаги. Это особенно полезно, когда в качестве источника используется непрерывный рулон бумаги и отрезание бумаги после печатания "последнего" бланка оставляет короткие отрезки бумаги, которыми не могут манипулировать печатающее устройство или устройство перемещения. Такие обрезки бумаги могут застревать в печатающем устройстве при подаче новой бумаги.
На фиг. 17 схематически показаны этапы выполняемой контроллером подпрограммы управления длиной бланка. Управление длиной бланка осуществляется при обработке каждого бланка. Эта подпрограмма серьезно осуществляется, когда остается мало бумаги и когда желательно установить новый рулон или источник. В качестве альтернативы подпрограмму можно использовать для движения контрольной бумаги.
От этапа 396 входа контроллер переходит к определению на этапе 397, находится ли система в режиме проведения сделки или в режиме обслуживания. Установка этого режима основывается на вводах или других условиях, воспринимаемых контроллером. Если система находится в режиме обслуживания, то контроллер на этапе 398 переходит к определению, разблокирован ли выключатель подачи. Выключателем подачи является выключатель ручного типа, который разблокирует контроллер. Например, контроллер может заблокировать выключатель подачи под действием определенных условий состояния. Если на этапе 398 определяется, что выключатель подачи разблокирован, то контроллер на этапе 400 выходит из подпрограммы.
После этапа 398 контроллер следующим выполняет этап 402 для определения, нажат ли вручную выключатель подачи. Это выполняется, когда осуществляется испытательная подача бумаги или когда извлекается бумага из почти пустого источника, чтобы можно было установить новый источник. Если выключатель не нажат, то контроллер на этапе 404 выходит из подпрограммы. Если выключатель подачи был нажат, контроллер переходит к этапу 406.
На этапе 406, переход к которому осуществляется либо от этапа 397, либо от этапа 402, выполняется определение, используется ли бумага с меткой НБ. Как описывалось выше, это определение может быть основано на вводе пользователем, показывающим, что используется бумага с меткой НБ. В качестве альтернативы это можно определить посредством перемещения бумаги мимо датчика 155 и восприятия периодического изменения отражательной способности, связанной с наличием метки НБ.
Если на этапе 406 показано использование бумаги с меткой НБ, бумага продвигается на этапе 408 к следующей метке НБ или пока продвинутая бумага не будет соответствовать запрограммированной максимальной длине бланка. Однако если на этапе 406 показано, что используется бумага без метки НБ, то на этапе 410 такая бумага продвигается на величину, которая соответствует минимальной длине бланка, подходящей для манипулирования устройством перемещения.
На этапе 412 производится определение, удерживается ли вручную выключатель подачи. Это показывает, что обслуживающий персонал желает изъять оставшуюся бумагу. Если выключатель удерживается, то печатающее устройство и устройство перемещения на этапе 414 продвигает бумагу до максимальной длины, которую можно отвести назад.
От этапа 408, 412 или 414 контроллер переходит к этапу 416, на котором осуществляется определение, подается ли все еще бумага. Определение предпочтительно выполняется на основании отсутствия восприятия бумаги датчиком 155. В качестве альтернативы конец бумаги можно воспринимать, используя устройство, описанное в заявке на патент США с регистрационным номером 08/568.887, раскрытие которой включено здесь путем ссылки. Если бумага больше не поставляется, то на этапе 417 блокируется действие отрезания режущим механизмом 153, связанным с печатающим устройством 30.
От этапа 416 или 417 контроллер переходит к исполнению на этапе 418 подпрограммы отрезания. Конечно, если этап 417 был выполнен, бумага на самом деле не отрезается во время подпрограммы отрезания. В результате вся бумага, оставшаяся в источнике снабжения, движется через печатающее устройство и в устройство перемещения. В других случаях длина бланка, продвинутого в устройство перемещения на этапе 418, оказывается минимальной длиной бланка или максимальной длиной бланка, которую можно отводить назад.
После этапа 418 контроллер определяет на этапе 419, является ли этот режим режимом сделки или режимом обслуживания. Если машина находится в режиме обслуживания, то контроллер на этапе 420 выполняет подпрограмму отведения назад. Подпрограмма отведения назад осуществляет отведение назад бланка в местоположение хранения. Если на этапе 419 контроллер находится в режиме проведения сделки, то контроллер выполняет на этапе 421 подпрограмму представления бланка. Выполнение этой подпрограммы, как правило, приводит к выдачи бланка клиенту. На следующем этапе 422 контроллер приводится в действие для корректирования своей внутренней записи состояния. Например, если бумага теперь отсутствует, то устанавливается показывающее это положение состояние. Точно также, если бланк был отрезан в качестве теста, установка состояния показывает, что бумага загружена и устройство перемещения подготовлено. Затем контроллер на этапе 426 выходит из подпрограммы.
Следует отметить, что в предпочтительной форме изобретения, действия отрезания и печатания бумаги приостанавливаются всякий раз, когда воспринимается истощение источника бумаги. Когда воспринимается истощение источника бумаги, используя датчик 155 в печатающем устройстве или систему, описанную во включенном здесь раскрытии патентов, оставшаяся бумага имеет достаточную длину для продвижения механизмом перемещения печатающего устройства через валики 157 в зацепление с ремнями устройства перемещения. Устройство перемещения несет последнюю часть бумаги от печатающего устройства. В результате этого маленькие кусочки бумаги, которыми не могут манипулировать печатающее устройство или устройство перемещения, не создаются при окончании источника снабжения бумагой. Это устраняет проблемы, связанные с маленькими кусочками бумаги, которые может заедать печатающее устройство или могут вызывать неправильную его работу.
В показанном варианте осуществления датчик 155 разблокируется для обеспечения сигнала на контроллер, который показывает, что это должно вызвать дополнительное действие режущего механизма. В этом варианте осуществления этот результат достигается потому, что местоположение на пути следования бумаги, в котором датчик воспринимает бумагу, располагается на первом расстоянии от последних приводных валиков 157, которые зацепляют и движут бумагу через печатающее устройство. Это первое расстояние больше второго расстояния, на которое должна простираться бумага за пределы приводных валиков 157 на пути следования бумаги, чтобы достигнуть участка выдачи, из которого можно брать листы бланков. В предпочтительном варианте осуществления участок выдачи включает в себя зажим 114, из которого устройство перемещения может брать листы. Конечно, в других вариантах осуществления участок выдачи может представлять ввод для другого типа устройства перемещения или область, в которой лист может вручную брать клиент.
В предпочтительном варианте осуществления отрезающий механизм 153 расположен на пути следования бумаги выше по ходу от валиков 157, чтобы валики могли целиком двигать отрезанные листы к участку выдачи. Однако в альтернативных вариантах осуществления режущий механизм можно располагать на стороне ниже по ходу от конечных приводных валиков 157. Точно так же в предпочтительном варианте осуществления место, где на бумаге печатаются индексы посредством механизма печатающего устройства, располагаются выше по ходу на пути следования бумаги от режущего механизма и конечных приводных валиков. Однако в других вариантах осуществления можно использовать другие устройства. Точно так же, хотя датчик 155 используется для восприятия наличия бумаги в одном местоположении на пути следования бумаги, а контроллер прекращает действия отрезания, как только датчик больше не воспринимает бумагу, в других вариантах осуществления могут использоваться другие типы датчиков и могут задерживаться превращения действий отрезания, пока бумага передвинется на дополнительное расстояние за пределы состояния, где воспринимается окончание источника подачи бумаги. Это зависит от конфигурации системы, способности рассчитывать расстояние движений бланка и количества оставшейся бумаги, когда воспринимается окончание бумаги. Специалисты в данной области техники приспосабливают другие варианты осуществления изобретения, в которых используются основные аспекты избежания создания листа бланка, который слишком короткий для прохождения от привода к участку выдачи, на основании приведенного здесь раскрытия.
Специалисты в данной области техники поймут, что можно выполнять различные вышеописанные этапы в попытке очищать заедания и прочищать устройство перемещения. Следует далее понимать, что хотя контроллер 112 описан регулирующим пороговые уровни для обнаружения бумаги возле входного датчика 155, аналогичным образом можно регулировать соответствующие пороговые уровни для обнаружения бумаги возле датчиков 110 и 120 устройства перемещения. Это можно осуществлять либо посредством обработки восприятия последовательных участков на листе датчиком 110 или 120 способом, аналогичным способу, описанному со ссылкой на датчик 155, либо посредством регулирования пороговых уровней для одного или обоих датчиков 110 и 120 в соответствии с характеристиками бумаги, определяемыми, используя датчик 155.
Предпочтительная форма настоящего изобретения обеспечивает простое, однако высоконадежное устройство перемещения и отведения назад квитанций и других листов, выдаваемых банковским автоматом. Изобретение является также весьма компактным из-за элемента пропускания и способности устройства хранить многочисленные отводимые назад листы в сложенном в стопку состоянии на ограниченном участке. Имеется также возможность легко изымать отведенные назад листы, а также обеспечен превосходный доступ для обслуживания его компонентов. Оно также самоприспосабливается к различным типам бланков и бумаги.
Таким образом, в соответствующей настоящему изобретению новой системе перемещения и отведения назад листов достигаются вышеупомянутые задачи, устраняются трудности, встречающиеся при использовании предыдущих устройств и систем, решаются проблемы и достигаются описанные здесь требуемые результаты.
В вышеприведенном описании некоторые термины использованы для краткости, ясности и понимания. Однако из этого не следуют ограничения, потому что такие термины имеют описательные цели и предназначены для широкого толкования. Более того, приведенные здесь описание и иллюстрации используются в качестве примера, и изобретение не ограничивается показанными и описанными деталями.
В нижеприведенной формуле изобретения любая особенность, описанная в качестве средства для выполнения функций, будет объяснена в виде охватывающей любое средство, способное выполнять перечисленные функции, и не должна ограничиваться средством, показанным или описанным здесь для выполнения названной функции или просто ее эквивалентов.
Описав особенности раскрытия и принципы изобретения, способ, которым конструируется и приводится в действие, и преимущества и достигаемые полезные результаты, в прилагаемой формуле изобретения установлены новые и полезные структуры, устройства, элементы, расположения, детали, сочетания, системы, аппаратура, операции, способы и взаимосвязи.
Claims (59)
1. Устройство банковского автомата, перемещающее листы от источника во внутренней области устройства к выходу, содержащее пролет ремня, выполненный с возможностью движения, идущий в упомянутом устройстве между упомянутым источником и упомянутым выходом, отличающееся тем, что оно имеет элемент пропускания, простирающийся между упомянутым источником и упомянутым выходом, при этом элемент пропускания поворотным образом смонтирован в поддерживаемом положении на устройстве относительно оси вращения, и имеет прорезь, причем в первом положении элемента пропускания пролет ремня проходит в прорези, при этом элемент пропускания включает в себя край, и в упомянутом первом положении этот край проходит дальше в радиальном направлении наружу от упомянутой оси вращения, чем упомянутый пролет ремня, причем при движении пролета ремня в направлении наружу, при подаче источником листа рядом с элементом пропускания, этот лист сцепляется с элементом пропускания и пролетом ремня, и причем сила сцепленного листа пролета ремня поворачивает элемент пропускания относительно оси вращения во второе положение, в котором лист имеет возможность перемещения мимо элемента пропускания по направлению к выходу в сцепленном состоянии с упомянутым пролетом ремня.
2. Устройство по п.1, отличающееся тем, что содержит средство для смещения упомянутого элемента пропускания к первому положению, причем когда пролет ремня движет лист в противоположном направлении внутрь, лист зацепляет элемент пропускания и направляется элементом пропускания к местоположению хранения в упомянутом автомате.
3. Устройство по п.1, отличающееся тем, что содержит упор в действующем соединении с элементом пропускания, при этом упомянутое вращение элемента пропускания зацепленным листом и пролетом ремня ограничено упором.
4. Устройство по п.1, отличающееся тем, что элемент пропускания в поперечном сечении содержит дугообразную внешнюю поверхность, проходящую рядом с краем, причем упомянутый лист зацепляет внешнюю поверхность с возможностью перемещения элемента пропускания во второе положение.
5. Устройство по п.1, отличающееся тем, что элемент пропускания содержит дугообразную внутреннюю поверхность, идущую рядом с упомянутым краем, причем когда первый пролет ремня перемещает лист в противоположном направлении внутрь, упомянутый лист зацепляет внутреннюю поверхность и перемещается в поддерживаемой связи на ней.
6. Устройство по п.1, отличающееся тем, что элемент пропускания содержит дугообразный профиль в поперечном сечении.
7. Устройство по п.1, отличающееся тем, что элемент пропускания в поперечном сечении имеет дугообразный профиль, причем упомянутый дугообразный профиль простирается относительно центра дуги, а упомянутая ось вращения смещена от центра дуги.
8. Устройство по п.7, отличающееся тем, что элемент пропускания содержит в поперечном сечении концентрические внутреннюю и внешнюю поверхности, при этом упомянутая прорезь проходит в поперечном направлении между упомянутыми поверхностями, а сила тяжести смещает элемент пропускания по направлению к первому положению.
9. Устройство по п.1, отличающееся тем, что устройство перемещения содержит два разнесенных в поперечном направлении пролета ремня, проходящих между источником и выходом, при этом элемент пропускания содержит две расположенные в поперечном направлении прорези, в котором один из пролетов ремня проходит в одной из прорезей.
10. Устройство по п. 7, отличающееся тем, что профиль ограничен парой разнесенных торцевых стенок, причем элемент пропускания поворотным образом поддерживается на торцевых стенках.
11. Устройство по п. 1, отличающееся тем, что содержит поддерживающий элемент, расположенный между элементом пропускания и выходом, при этом поддерживающий элемент находится в поддерживающем отношении с пролетом ремня, и когда элемент пропускания находится во втором положении, упомянутый край находится в близком смежном отношении с поддерживающим элементом.
12. Устройство по п. 11, отличающееся тем, что поддерживающий элемент содержит валик, и упомянутый валик выполнен с возможностью вращения под действием перемещения пролета ремня.
13. Устройство по п.11, отличающееся тем, что содержит путь, простирающийся между поддерживающим элементом и выходом, причем путь имеет расстояние, а лист имеет длину, и упомянутая длина листа меньше расстояния пути.
14. Устройство по п. 1, отличающееся тем, что содержит привод, причем привод находится в рабочем соединении с пролетом ремня и действует для избирательного перемещения пролета ремня в направлении наружу или в противоположном направлении внутрь, датчик рядом с выходом, причем датчик выполнен с возможностью восприятия листа рядом с выходом, и контроллер в действующем соединении с приводом и датчиком, при этом упомянутый контроллер осуществляет управление приводом для движения пролета ремня в направлении внутрь, под действием датчика.
15. Устройство по п. 14, отличающееся тем, что контроллер находится в действующем соединении с таймером, а таймер осуществляет начало синхронизации под действием датчика, и упомянутый привод работает под действием таймера с возможностью перемещения пролета ремня в направлении внутрь.
16. Устройство по п.1, отличающееся тем, что элемент пропускания включает в себя внутреннюю поверхность, а упомянутая внутренняя поверхность простирается по дуге на 180° от края, и упомянутая внутренняя поверхность заканчивается у местоположения, причем когда пролет ремня перемещает упомянутый лист в противоположном направлении внутрь от выхода, лист зацепляет внутреннюю поверхность и перемещается в поддерживаемом положении упомянутой внутренней поверхностью к местоположению.
17. Устройство по п.1, отличающееся тем, что содержит приборную панель, и упомянутая приборная панель содержит проходящее через нее отверстие, а упомянутое отверстие находится рядом с выходом, с возможностью касания руками листа на выходе через упомянутое отверстие.
18. Устройство по п. 1, отличающееся тем, что лист представляет собой квитанцию на сделку, а источник содержит печатающее устройство.
19. Устройство по п.1, отличающееся тем, что содержит привод в действующем соединении с пролетом ремня и дополнительно содержит датчик рядом с элементом пропускания, а датчик выполнен с возможностью восприятия условия, показывающего подачу листа из упомянутого источника, причем привод выполнен с возможностью действия в ответ на упомянутое условие для движения пролета ремня в направлении наружу.
20. Устройство по п.9, отличающееся тем, что содержит поддерживающий выступ, идущий параллельно пролетам ремней и между ними, при этом лист способен перемещаться в сцепленном состоянии с пролетами ремней и поддерживающим выступом, и содержит валик, который проходит в поперечном направлении пролетов ремней и способен вращаться в сцепленном состоянии с ними, и во втором положении элемента пропускания упомянутый край находится в положении непосредственной близости с валиком, и в котором валик содержит идущий в радиальном направлении вырез, а упомянутый поддерживающий выступ проходит в упомянутом вырезе.
21. Устройство банковского автомата, включающее в себя устройство перемещения, перемещающее листы от источника к выходу и отводящее назад от упомянутого выхода до местонахождения в упомянутом автомате, отличающееся тем, что содержит способный перемещаться элемент привода, находящийся в поддерживаемом отношении с устройством, в котором упомянутый элемент привода имеет первую сторону, обращенную в первом направлении, в котором листы способны перемещаться в сцепленном отношении с упомянутой первой стороной, и в котором, когда упомянутый элемент привода движется в направлении наружу, упомянутый элемент привода заставляет листы двигаться от источника и к выходу, кроме того, оно содержит способный перемещаться элемент пропускания, смонтированный в поддерживаемом отношении с устройством, при этом элемент пропускания включает в себя внешнюю поверхность, внутреннюю поверхность, и прорезь, проходящую в поперечном направлении между упомянутыми внешней и внутренней поверхностями, и в котором внешняя поверхность элемента пропускания включает в себя первую часть и вторую часть, при этом упомянутая прорезь проходит в первой части, а вторая часть смещена от прорези, и причем в первой части элемента пропускания упомянутый элемент привода проходит в прорези, а внутренняя поверхность проходит вне второй поверхности во втором направлении, противоположном упомянутому первому направлению, при этом захват проходит рядом с внешней поверхностью и упомянутой прорезью, причем когда источник подает лист в упомянутый захват и элемент привода перемещается в направлении наружу, упомянутый элемент привода и упомянутый элемент пропускания зацепляют лист, и элемент пропускания перемещается под действием силы зацепленного листа, действующего на элемент пропускания, во второе положение, в котором упомянутый лист проходит между упомянутым элементом привода и упомянутой второй частью элемента пропускания.
22. Устройство по п.21, отличающееся тем, что внутренняя поверхность элемента пропускания проходит между элементом привода и местоположением хранения, причем, когда лист движется в направлении внутрь от выхода, упомянутая внутренняя поверхность направляет лист в поддерживаемом с ней отношении к упомянутому местоположению хранения.
23. Устройство банковского автомата, содержащее источник листов, размещенный во внутренней области устройства, выход, посредством которого лист на выходе доступен пользователю автомата, отличающееся тем, что содержит избирательно перемещаемый механизм привода, перемещающий лист в зацепленном с ним отношении, при этом механизм привода проходит между источником и выходом, элемент пропускания в перемещаемом поддерживаемом отношении с устройством, расположенным между источником и выходом, при этом элемент пропускания включает в себя внешнюю поверхность и внутреннюю поверхность, и имеет прорезь, проходящую в поперечном направлении между внешней поверхностью, причем в первом положении элемента пропускания механизм привода проходит в прорези, и при движении механизма привода для перемещения листа в направлении наружу от источника к выходу зацепляется лист, выдаваемый источником между внешней поверхностью и механизмом привода, при этом сила упомянутого зацепленного листа перемещает элемент пропускания в первом направлении ко второму положению, в котором лист проходит элемент пропускания в направлении наружу в зацепленном отношении с частью внешней поверхности, отдаленной от прорези.
24. Устройство по п.23, отличающееся тем, что содержит средство смещения для смещения элемента пропускания к первому положению, при этом внутренняя поверхность блокирует пропускание листа, движущегося в противоположном направлении, и внутренней поверхностью зацепляется упомянутый лист, и он направляется к местоположению внутренней области.
25. Устройство по п.24, отличающееся тем, что содержит перемещаемый поддерживающий элемент, при этом поддерживающий элемент перемещается в оперативно зацепленном отношении с механизмом привода, а элемент пропускания находится во втором положении, внешняя поверхность находится рядом с поддерживающим элементом, и в котором при этом элемент пропускания находится в первом положении, а элемент пропускания отделяется от упомянутого поддерживающего элемента зазором, и листы, проходящие к упомянутому местоположению, проходят через зазор.
26. Устройство по п.23, отличающееся тем, что содержит датчик рядом с выходом и таймер в действующем соединении с датчиком, при этом лист перемещается в противоположном направлении с механизмом привода под действием датчика и таймера.
27. Устройство по п.23, отличающееся тем, что содержит датчик рядом с элементом пропускания, и датчик выполнен с возможностью восприятия условия, показывающего подачу листа источником листов, а механизм привода оперативно реагирует на датчик для перемещения в направлении наружу.
28. Устройство по п.25, отличающееся тем, что содержит поддерживающий выступ, проходящий параллельно механизму привода и между поддерживающим элементом и выходом, причем лист перемещается в зацеплении с поддерживающим выступом, а поддерживающий элемент содержит вырез, причем поддерживающий выступ проходит в упомянутом вырезе.
29. Устройство по п.23, отличающееся тем, что источник листов включает в себя печатающее устройство, причем механизм привода оперативно реагирует на печатающее устройство с возможностью перемещения упомянутого механизма привода в направлении наружу.
30. Устройство по п. 23, отличающееся тем, что элемент пропускания в поперечном сечении содержит дугообразный профиль, и элемент пропускания поддерживается подвижным образом, смещенным от центра шарниром.
31. Устройство по п.23, отличающееся тем, что перемещение элемента пропускания в первом направлении ограничено упором, при этом элемент пропускания смещается к первому положению под действием силы тяжести.
32. Устройство по п.23, отличающееся тем, что содержит контроллер, который выполнен с возможностью осуществления перемещения упомянутого механизма привода, датчик в оперативном соединении с контроллером, причем датчик выполнен с возможностью восприятия поверхности упомянутого листа, когда он находится в сцеплении с механизмом привода, при этом датчик действует с возможностью генерирования сигнала под действием восприятия поверхности листа, а контроллер выполнен с возможностью сравнивания величины, соответствующей упомянутым сигналам датчика, с запомненным значением, причем контроллер действует в отношении управления перемещением упомянутого механизма привода под действием величины и запомненного значения, имеющих предварительно определенную связь.
33. Устройство по п.32, отличающееся тем, что контроллер осуществляет устанавливание упомянутого запомненного значения, соответствующего сигналам датчика, генерируемым под действиям поверхности первого листа, находящегося в сцеплении с механизмом привода.
34. Устройство по п.32, отличающееся тем, что контроллер выполнен с возможностью регулирования запомненного значения под действием сигналов датчика, создаваемых от каждого листа, находящегося в сцеплении с механизмом привода.
35. Устройство по п.34, отличающееся тем, что контроллер выполнен с возможностью регулирования запомненного значения под действием сигналов датчика, соответствующих по меньшей мере двум местоположениям на каждом листе.
36. Устройство по п.32, отличающееся тем, что листы включают в себя листы с индикаторами НБ и листы без индикатора НБ, причем запомненное значение показывает сигналы датчика от бланка, включающего индикатор НБ, а контроллер выполнен с возможностью действия в ответ на восприятие сигнала датчика, соответствующего индикатору НБ, и возможностью приведения в движение механизма привода способом, реагирующим на индикаторы НБ на упомянутых листах.
37. Устройство по п.36, отличающееся тем, что контроллер выполняет регулирование запомненного значения под действием сигнала датчика, генерируемого в ответ на восприятие датчиком упомянутого индикатора НБ.
38. Устройство банковского автомата, содержащее источник листов, средство перемещаемого элемента для перемещения листа в сцепленном с ним отношении от источника к выходу, посредством чего пользователь устройства может получать лист на выходе, отличающееся тем, что содержит средство пропускания для предоставления листу возможности проходить средство пропускания в направлении наружу от источника к выходу и для предотвращения перемещения листа в противоположном направлении от источника, при этом средство пропускания зацепляет лист, движущийся в противоположном направлении, и направляет лист к местоположению, причем средство пропускания находится в способном перемещаться поддерживаемом отношении с упомянутым устройством, и это средство способно перемещаться между первым и вторым положениями, при этом средство пропускания включает в себя прорезь, а упомянутое средство способного перемещаться элемента проходит в этой прорези в первом положении средства пропускания, которое способно перемещаться ко второму положению под действием сцепления листа со средством пропускания и средством перемещаемого элемента, причем во втором положении средства пропускания лист способен проходить упомянутое средство пропускания в направлении наружу в поддерживаемом отношении со средством пропускания и средством перемещаемого элемента.
39. Устройство по п.38, отличающееся тем, что содержит средство крепления для крепления вращательным способом средства пропускания в поддерживаемом отношении с упомянутым устройством, причем первое положение смещено под углом от второго положения.
40. Устройство по п.38, отличающееся тем, что содержит средство смещения для смещения средства пропускания к первому положению, и средство упора для ограничения движения средства пропускания в направлении от упомянутого первого положения за пределы второго положения.
41. Устройство по п.38, отличающееся тем, что содержит средство восприятия для восприятия упомянутого листа рядом с выходом и для перемещения средства перемещаемого элемента в противоположном направлении под действием упомянутого датчика.
42. Устройство банковского автомата, содержащее источник листов, помещенный во внутренней области устройства, в котором источник листов выдает лист, отличающееся тем, что содержит раму, смонтированную с возможностью поворота в поддерживаемом отношении на устройстве, причем в первом поворотном положении рамы упомянутая рама проходит между источником и выходом, а во втором поворотном положении рамы обеспечивается возможность ручного доступа к местоположению хранения листов, расположенному между источником и выходом, кроме того, имеется перемещаемый пролет ремня, поддерживаемый на раме, причем пролет ремня проходит между источником и выходом в первом положении рамы, перемещаемый элемент пропускания, расположенный между источником и местоположением хранения в первом положении рамы, при этом элемент пропускания имеет внешнюю поверхность, обращенную к источнику, и внутреннюю поверхность, обращенную к выходу, причем в первом положении элемента пропускания внешняя поверхность и упомянутый пролет ремня определяют захват, в котором лист имеет сцепления сцепляться с пролетом ремня и элементом пропускания, когда пролет ремня перемещается в направлении наружу, и в котором при зацеплении листа элемент пропускания перемещается во второе положение, при этом лист способен проходить элемент пропускания в направлении наружу, и после прохода листа элемент пропускания возвращается в первое положение, причем лист, движущийся в противоположном направлении, имеет возможность сцепления с внутренней поверхностью элемента пропускания и направляется к местоположению хранения.
43. Устройство по п. 42, отличающееся тем, что внутренняя поверхность простирается на 180°.
44. Устройство по п.42, отличающееся тем, что элемент пропускания включает в себя прорезь, проходящую в поперечном направлении между внешней поверхностью и внутренней поверхностью, причем в первом положении элемента пропускания пролет ремня проходит в упомянутой прорези.
45. Устройство по п.42, отличающееся тем, что элемент пропускания установлен поворотным образом способным перемещаться в поддерживаемой связи с упомянутым устройством.
46. Устройство по п.42, отличающееся тем, что содержит валик в поддерживаемом соединении с упомянутой рамой, причем валик расположен рядом с выходом, а пролет ремня находится в поддерживаемой связи с валиком, и упомянутый валик смонтирован посредством цапфы на валу, причем рама поддерживается с возможностью перемещения поворотным образом на валу.
47. Устройство по п.46, отличающееся тем, что местоположение хранения расположено в устройстве вертикально ниже рамы и выхода.
48. Способ работы банковского автомата, при котором осуществляют подачу листа от источника во внутренней области автомата, отличающийся тем, что осуществляют зацепление упомянутого листа между способным вращаться элементом пропускания, поддерживаемым на авто-мате, и пролетом ремня, движущимся в направлении наружу, причем лист имеет возможность сцепления в первом положении элемента пропускания, в котором пролет ремня проходит в прорези в элементе пропускания, при этом осуществляют перемещение элемента пропускания во второе положение посредством реагирования на силу сцепленного на нем листа, причем во втором положении пролет ремня отдален от прорези, и в лист проходит упомянутый элемент пропускания, перемещаясь в направлении наружу в зацепленном отношении с пролетом ремня и элементом пропускания.
49. Способ по п. 48, отличающийся тем, что осуществляют возвращение элемента пропускания из второго положения в первое положение после прохождения листа элемента пропускания.
50. Способ по п.49, отличающийся тем, что элемент пропускания включает в себя внутреннюю поверхность, причем прорезь и пролет ремня проходят через внутреннюю поверхность в первом положении элемента пропускания, а также осуществляют обратное движение пролета ремня с возможностью перемещения в противоположном направлении, причем лист движется в противоположном направлении и зацепляет внутреннюю поверхность, осуществляют направление листа в поддерживаемом отношении с внутренней поверхностью к местоположению во внутренней области автомата.
51. Способ по п.50, отличающийся тем, что осуществляют подачу листа к выходу, причем лист оказывается доступен для пользователя устройства, и перед этапом реверсирования, осуществляют восприятие датчиком листа на выходе и синхронизацию таймером, находящимся в оперативном соединении с датчиком, времени наличия листа на выходе, и осуществляют инициализацию этапа реверсирования под действием таймера.
52. Способ по п.48, отличающийся тем, что осуществляют перемещение поворотным образом элемента пропускания относительно шарнира.
53. Способ по п.48, отличающийся тем, что перед зацеплением осуществляют восприятие средством восприятия упомянутого листа, подаваемого из источника, и начало движения пролета ремня в направлении наружу под действием восприятия листа упомянутым средством восприятия.
54. Способ по п.48, отличающийся тем, что осуществляют пропускание упомянутого листа между перемещающимся вращательным образом поддерживающим элементом и пролетом ремня, когда лист проходит от сцепленного отношения с элементом пропускания.
55. Способ по п.51, отличающийся тем, что при подаче листа из источника осуществляют печатание на упомянутом листе.
56. Способ работы банковского автомата, при котором осуществляют подачу листа из источника листов, размещенного внутри машины, отличающийся тем, что осуществляют сцепление подаваемого листа с перемещающимся пролетом ремня в продольном направлении наружу, перемещение листа в направлении наружу мимо элемента пропускания, который перемещается из первого положения во второе положение, чтобы дать возможность листу пройти в направлении наружу, в следующем этапе осуществляют дальнейшее перемещение листа в направлении наружу в сцепленном отношении с пролетом ремня к выходу, в котором лист оказывается доступным на выходе, в следующем этапе осуществляют перемещение листа от выхода в продольном противоположном направлении в сцепленном отношении с пролетом ремня, затем осуществляют сцепление листа, движущегося в противоположном направлении, с элементом пропускания, после чего направление листа элементом пропускания к местоположению хранения в автомате, посредством чего лист помещается в упомянутое местоположение, затем перемещают пролет ремня в первом направлении, поперечном упомянутому продольному направлению, ко второму положению, благодаря чему местоположение хранения становится доступным.
57. Способ по п.56, отличающийся тем, что удаляют вручную лист из упомянутого местоположения хранения.
58. Способ по п.57, отличающийся тем, что осуществляют перемещение пролета ремня в поперечном направлении первому положению перемещения листа после удаления упомянутого листа.
59. Способ работы банковского автомата, при котором осуществляют подачу листа из источника листов, расположенного в автомате, отличающийся тем, что осуществляют зацепление поданного листа пролетом ремня в положении перемещения листа и перемещают в продольном направлении наружу, мимо элемента пропускания, при этом элемент пропускания перемещают из первого положения во второе положение, чтобы дать возможность листу пройти в направлении наружу, далее перемещают лист в направлении наружу в сцепленном отношении с пролетом ремня к выходу, благодаря чему лист оказывается доступным для пользователя на выходе, затем перемещают лист от выхода в продольном противоположном направлении в сцепленном отношении с пролетом ремня, сцепляют лист, движущийся в противоположном направлении, с элементом пропускания и направляют лист этим элементом к местоположению хранения в автомате, осуществляют перемещение пролета ремня из положения перемещения листа в направлении, поперечном продольному направлению, благодаря чему оказывается доступным упомянутое местоположение хранения, затем удаляют лист из местоположения хранения ручным способом и возвращают пролет ремня в поперечном направлении к его положению перемещения листа после удаления листа.
Applications Claiming Priority (3)
| Application Number | Priority Date | Filing Date | Title |
|---|---|---|---|
| US3150196P | 1996-11-27 | 1996-11-27 | |
| US60/031,501 | 1996-11-27 | ||
| US08/827,569 | 1997-03-28 |
Publications (2)
| Publication Number | Publication Date |
|---|---|
| RU2165103C2 true RU2165103C2 (ru) | 2001-04-10 |
| RU99113439A RU99113439A (ru) | 2001-04-10 |
Family
ID=21859812
Family Applications (2)
| Application Number | Title | Priority Date | Filing Date |
|---|---|---|---|
| RU99113439A RU2165103C2 (ru) | 1996-11-27 | 1997-11-25 | Система перемещения и отведения назад квитанций для банковского автомата (варианты) и способ работы банковского автомата (варианты) |
| RU99113839A RU2167065C2 (ru) | 1996-11-27 | 1997-11-25 | Система манипулирования бланками квитанций для банковского автомата |
Family Applications After (1)
| Application Number | Title | Priority Date | Filing Date |
|---|---|---|---|
| RU99113839A RU2167065C2 (ru) | 1996-11-27 | 1997-11-25 | Система манипулирования бланками квитанций для банковского автомата |
Country Status (2)
| Country | Link |
|---|---|
| CN (1) | CN1240551C (ru) |
| RU (2) | RU2165103C2 (ru) |
Families Citing this family (5)
| Publication number | Priority date | Publication date | Assignee | Title |
|---|---|---|---|---|
| CA2689840C (en) * | 2002-12-31 | 2012-03-13 | Diebold, Incorporated | Atm currency cassette arrangement |
| US7344132B2 (en) * | 2003-03-10 | 2008-03-18 | Diebold Self-Service Systems Division Of Diebold, Incorporated | Cash dispensing automated banking machine and method |
| RU2311683C2 (ru) * | 2003-03-10 | 2007-11-27 | Дайболд Инкорпорейтед | Автоматический банковский аппарат для выдачи наличных с улучшенными возможностями фиксации карты и способ, реализованный в нем |
| DE102006029988A1 (de) | 2006-06-29 | 2008-01-03 | Siemens Ag | Verfahren und Vorrichtung zum Betreiben eines Druckers |
| ES2728521T3 (es) * | 2015-06-08 | 2019-10-25 | Custom Spa | Aparato de impresión que comprende un dispositivo antibloqueo y método de impresión correspondiente |
Citations (5)
| Publication number | Priority date | Publication date | Assignee | Title |
|---|---|---|---|---|
| US4280036A (en) * | 1978-10-24 | 1981-07-21 | Tokyo Shibaura Denki Kabushiki Kaisha | Banking apparatus using passbooks |
| US4517451A (en) * | 1981-10-15 | 1985-05-14 | Laurel Bank Machine Co., Ltd. | Note transfer mechanism in automatic money depositing and disbursing machine |
| US4567358A (en) * | 1982-10-18 | 1986-01-28 | Tokyo Shibaura Denki Kabushiki Kaisha | Automatic teller system |
| US5340099A (en) * | 1992-11-20 | 1994-08-23 | Electrocom Gard Ltd. | Orientation chute for sorting machine |
| US5720478A (en) * | 1996-09-26 | 1998-02-24 | Xerox Corporation | Gateless duplex inverter |
Family Cites Families (6)
| Publication number | Priority date | Publication date | Assignee | Title |
|---|---|---|---|---|
| FR2397289A1 (fr) * | 1977-07-13 | 1979-02-09 | Logabax | Dispositif d'introduction, d'entrainement et d'ejection des feuillets de papier dans une imprimante rapide |
| JP2685290B2 (ja) * | 1989-05-19 | 1997-12-03 | 株式会社東芝 | 帳票取扱い装置 |
| JP2667739B2 (ja) * | 1990-08-16 | 1997-10-27 | 沖電気工業株式会社 | 紙幣自動入出金装置 |
| JP2694053B2 (ja) * | 1990-12-28 | 1997-12-24 | 富士通株式会社 | 自動取引装置 |
| US5816720A (en) * | 1994-03-15 | 1998-10-06 | Interbold | Printer mechanism for automated teller machine |
| US5411433A (en) * | 1994-06-13 | 1995-05-02 | Dynabrade, Inc. | Dust-collecting apparatus |
-
1997
- 1997-11-25 RU RU99113439A patent/RU2165103C2/ru not_active IP Right Cessation
- 1997-11-25 RU RU99113839A patent/RU2167065C2/ru not_active IP Right Cessation
- 1997-11-25 CN CN 97180617 patent/CN1240551C/zh not_active Expired - Fee Related
Patent Citations (5)
| Publication number | Priority date | Publication date | Assignee | Title |
|---|---|---|---|---|
| US4280036A (en) * | 1978-10-24 | 1981-07-21 | Tokyo Shibaura Denki Kabushiki Kaisha | Banking apparatus using passbooks |
| US4517451A (en) * | 1981-10-15 | 1985-05-14 | Laurel Bank Machine Co., Ltd. | Note transfer mechanism in automatic money depositing and disbursing machine |
| US4567358A (en) * | 1982-10-18 | 1986-01-28 | Tokyo Shibaura Denki Kabushiki Kaisha | Automatic teller system |
| US5340099A (en) * | 1992-11-20 | 1994-08-23 | Electrocom Gard Ltd. | Orientation chute for sorting machine |
| US5720478A (en) * | 1996-09-26 | 1998-02-24 | Xerox Corporation | Gateless duplex inverter |
Also Published As
| Publication number | Publication date |
|---|---|
| CN1240551C (zh) | 2006-02-08 |
| CN1240385A (zh) | 2000-01-05 |
| RU2167065C2 (ru) | 2001-05-20 |
Similar Documents
| Publication | Publication Date | Title |
|---|---|---|
| US5779379A (en) | Receipt form handling system for automated banking machine | |
| EP0944543B1 (en) | Receipt transport and retrieval system for automated banking machine | |
| US4618085A (en) | Sheet separating apparatus | |
| EP0872439B1 (en) | A paper discharging apparatus | |
| EP0616963A2 (en) | Sheet handling apparatus | |
| US5435542A (en) | Statement presenter mechanism for automated teller machine | |
| JP2685290B2 (ja) | 帳票取扱い装置 | |
| JPH06318281A (ja) | 紙葉類処理装置 | |
| US4450978A (en) | Apparatus for retrieving paper money bills presented but not picked up at automatic teller machine bill delivery station | |
| WO2004002695A1 (en) | Ticket dispensing apparatus and method | |
| EP0260015B1 (en) | Sheet feeding apparatus | |
| CA2496218C (en) | Paper jam detection apparatus and method for automated banking machine | |
| RU2165103C2 (ru) | Система перемещения и отведения назад квитанций для банковского автомата (варианты) и способ работы банковского автомата (варианты) | |
| EP0334309B1 (en) | Printed paper dispensing apparatus and method of controlling said apparatus | |
| JP2995538B2 (ja) | 紙葉類取扱装置 | |
| JPH11339100A (ja) | 紙幣収納装置 | |
| EP0405963A2 (en) | Container for holding a stack of articles | |
| EP0183234A2 (en) | Slip issuing apparatus | |
| US8844806B2 (en) | Selective bunch presentation | |
| EP0971820B1 (en) | automated banking machine | |
| JP2000187759A (ja) | 紙幣収納装置 | |
| GB2196323A (en) | Sheet feeding apparatus | |
| KR100305963B1 (ko) | 현금지급기의거래명세표용지롤자동로딩장치 | |
| JPH11353530A (ja) | 紙幣収納装置 | |
| JP2000048242A (ja) | 紙幣収納装置 |
Legal Events
| Date | Code | Title | Description |
|---|---|---|---|
| MM4A | The patent is invalid due to non-payment of fees |
Effective date: 20081126 |