KR20190000932A - 접합 유리용 중간막, 롤체 및 접합 유리 - Google Patents
접합 유리용 중간막, 롤체 및 접합 유리 Download PDFInfo
- Publication number
- KR20190000932A KR20190000932A KR1020187037664A KR20187037664A KR20190000932A KR 20190000932 A KR20190000932 A KR 20190000932A KR 1020187037664 A KR1020187037664 A KR 1020187037664A KR 20187037664 A KR20187037664 A KR 20187037664A KR 20190000932 A KR20190000932 A KR 20190000932A
- Authority
- KR
- South Korea
- Prior art keywords
- layer
- interlayer
- laminated glass
- polyvinyl acetal
- acetal resin
- Prior art date
- Legal status (The legal status is an assumption and is not a legal conclusion. Google has not performed a legal analysis and makes no representation as to the accuracy of the status listed.)
- Withdrawn
Links
- 239000011229 interlayer Substances 0.000 title claims abstract description 209
- 239000005340 laminated glass Substances 0.000 title claims abstract description 82
- -1 roll body Substances 0.000 title description 37
- 239000010410 layer Substances 0.000 claims description 227
- 239000011521 glass Substances 0.000 claims description 114
- DHKHKXVYLBGOIT-UHFFFAOYSA-N 1,1-Diethoxyethane Chemical compound CCOC(C)OCC DHKHKXVYLBGOIT-UHFFFAOYSA-N 0.000 claims description 83
- 239000011354 acetal resin Substances 0.000 claims description 83
- 229920006324 polyoxymethylene Polymers 0.000 claims description 83
- 229920002554 vinyl polymer Polymers 0.000 claims description 83
- 239000004014 plasticizer Substances 0.000 claims description 55
- 125000002887 hydroxy group Chemical group [H]O* 0.000 claims description 37
- 229920005992 thermoplastic resin Polymers 0.000 claims description 32
- 238000004804 winding Methods 0.000 claims description 23
- 238000000034 method Methods 0.000 claims description 16
- 239000004065 semiconductor Substances 0.000 claims 2
- 230000002708 enhancing effect Effects 0.000 abstract description 19
- 238000004519 manufacturing process Methods 0.000 abstract description 11
- 239000002245 particle Substances 0.000 description 80
- 239000003795 chemical substances by application Substances 0.000 description 47
- 239000003963 antioxidant agent Substances 0.000 description 29
- 230000003078 antioxidant effect Effects 0.000 description 23
- QGLKJKCYBOYXKC-UHFFFAOYSA-N nonaoxidotritungsten Chemical compound O=[W]1(=O)O[W](=O)(=O)O[W](=O)(=O)O1 QGLKJKCYBOYXKC-UHFFFAOYSA-N 0.000 description 20
- 229910001930 tungsten oxide Inorganic materials 0.000 description 20
- 238000006359 acetalization reaction Methods 0.000 description 18
- 229910052751 metal Inorganic materials 0.000 description 18
- 239000002184 metal Substances 0.000 description 18
- 230000021736 acetylation Effects 0.000 description 17
- 238000006640 acetylation reaction Methods 0.000 description 17
- 125000004432 carbon atom Chemical group C* 0.000 description 16
- 238000005259 measurement Methods 0.000 description 14
- ZTQSAGDEMFDKMZ-UHFFFAOYSA-N butyric aldehyde Natural products CCCC=O ZTQSAGDEMFDKMZ-UHFFFAOYSA-N 0.000 description 13
- 239000011162 core material Substances 0.000 description 13
- 239000000203 mixture Substances 0.000 description 13
- 150000003839 salts Chemical class 0.000 description 13
- 150000001875 compounds Chemical class 0.000 description 12
- 230000002093 peripheral effect Effects 0.000 description 12
- 125000000816 ethylene group Chemical group [H]C([H])([*:1])C([H])([H])[*:2] 0.000 description 11
- 229910044991 metal oxide Inorganic materials 0.000 description 11
- 150000004706 metal oxides Chemical class 0.000 description 11
- IEQIEDJGQAUEQZ-UHFFFAOYSA-N phthalocyanine Chemical class N1C(N=C2C3=CC=CC=C3C(N=C3C4=CC=CC=C4C(=N4)N3)=N2)=C(C=CC=C2)C2=C1N=C1C2=CC=CC=C2C4=N1 IEQIEDJGQAUEQZ-UHFFFAOYSA-N 0.000 description 11
- 229920002037 poly(vinyl butyral) polymer Polymers 0.000 description 11
- 239000004372 Polyvinyl alcohol Substances 0.000 description 10
- XLOMVQKBTHCTTD-UHFFFAOYSA-N Zinc monoxide Chemical compound [Zn]=O XLOMVQKBTHCTTD-UHFFFAOYSA-N 0.000 description 10
- 229920002451 polyvinyl alcohol Polymers 0.000 description 10
- 239000002356 single layer Substances 0.000 description 10
- 230000001965 increasing effect Effects 0.000 description 9
- 230000004048 modification Effects 0.000 description 9
- 238000012986 modification Methods 0.000 description 9
- 238000002834 transmittance Methods 0.000 description 9
- MTHSVFCYNBDYFN-UHFFFAOYSA-N diethylene glycol Chemical compound OCCOCCO MTHSVFCYNBDYFN-UHFFFAOYSA-N 0.000 description 8
- 239000002344 surface layer Substances 0.000 description 8
- 238000010998 test method Methods 0.000 description 8
- BJIUNQZHYLBUNL-UHFFFAOYSA-N 6-heptoxy-6-oxohexanoic acid Chemical compound CCCCCCCOC(=O)CCCCC(O)=O BJIUNQZHYLBUNL-UHFFFAOYSA-N 0.000 description 7
- 150000001299 aldehydes Chemical class 0.000 description 7
- 125000003354 benzotriazolyl group Chemical group N1N=NC2=C1C=CC=C2* 0.000 description 7
- 238000004049 embossing Methods 0.000 description 7
- LKKPNUDVOYAOBB-UHFFFAOYSA-N naphthalocyanine Chemical class N1C(N=C2C3=CC4=CC=CC=C4C=C3C(N=C3C4=CC5=CC=CC=C5C=C4C(=N4)N3)=N2)=C(C=C2C(C=CC=C2)=C2)C2=C1N=C1C2=CC3=CC=CC=C3C=C2C4=N1 LKKPNUDVOYAOBB-UHFFFAOYSA-N 0.000 description 7
- 238000006116 polymerization reaction Methods 0.000 description 7
- 229920005989 resin Polymers 0.000 description 7
- 239000011347 resin Substances 0.000 description 7
- NLZUEZXRPGMBCV-UHFFFAOYSA-N Butylhydroxytoluene Chemical compound CC1=CC(C(C)(C)C)=C(O)C(C(C)(C)C)=C1 NLZUEZXRPGMBCV-UHFFFAOYSA-N 0.000 description 6
- NBIIXXVUZAFLBC-UHFFFAOYSA-N Phosphoric acid Chemical compound OP(O)(O)=O NBIIXXVUZAFLBC-UHFFFAOYSA-N 0.000 description 6
- NBBJYMSMWIIQGU-UHFFFAOYSA-N Propionic aldehyde Chemical compound CCC=O NBBJYMSMWIIQGU-UHFFFAOYSA-N 0.000 description 6
- VYPSYNLAJGMNEJ-UHFFFAOYSA-N Silicium dioxide Chemical compound O=[Si]=O VYPSYNLAJGMNEJ-UHFFFAOYSA-N 0.000 description 6
- 239000012528 membrane Substances 0.000 description 6
- 230000003287 optical effect Effects 0.000 description 6
- 230000037303 wrinkles Effects 0.000 description 6
- LYCAIKOWRPUZTN-UHFFFAOYSA-N Ethylene glycol Chemical compound OCCO LYCAIKOWRPUZTN-UHFFFAOYSA-N 0.000 description 5
- 125000002777 acetyl group Chemical group [H]C([H])([H])C(*)=O 0.000 description 5
- 239000002253 acid Substances 0.000 description 5
- WNLRTRBMVRJNCN-UHFFFAOYSA-N adipic acid Chemical compound OC(=O)CCCCC(O)=O WNLRTRBMVRJNCN-UHFFFAOYSA-N 0.000 description 5
- 239000000463 material Substances 0.000 description 5
- 238000002360 preparation method Methods 0.000 description 5
- XOLBLPGZBRYERU-UHFFFAOYSA-N tin dioxide Chemical compound O=[Sn]=O XOLBLPGZBRYERU-UHFFFAOYSA-N 0.000 description 5
- 229910001887 tin oxide Inorganic materials 0.000 description 5
- 229910052720 vanadium Inorganic materials 0.000 description 5
- LEONUFNNVUYDNQ-UHFFFAOYSA-N vanadium atom Chemical group [V] LEONUFNNVUYDNQ-UHFFFAOYSA-N 0.000 description 5
- 239000011787 zinc oxide Substances 0.000 description 5
- RYGMFSIKBFXOCR-UHFFFAOYSA-N Copper Chemical group [Cu] RYGMFSIKBFXOCR-UHFFFAOYSA-N 0.000 description 4
- OAICVXFJPJFONN-UHFFFAOYSA-N Phosphorus Chemical compound [P] OAICVXFJPJFONN-UHFFFAOYSA-N 0.000 description 4
- RWCCWEUUXYIKHB-UHFFFAOYSA-N benzophenone Chemical group C=1C=CC=CC=1C(=O)C1=CC=CC=C1 RWCCWEUUXYIKHB-UHFFFAOYSA-N 0.000 description 4
- OCWYEMOEOGEQAN-UHFFFAOYSA-N bumetrizole Chemical compound CC(C)(C)C1=CC(C)=CC(N2N=C3C=C(Cl)C=CC3=N2)=C1O OCWYEMOEOGEQAN-UHFFFAOYSA-N 0.000 description 4
- 229920001971 elastomer Polymers 0.000 description 4
- 238000001125 extrusion Methods 0.000 description 4
- 239000005357 flat glass Substances 0.000 description 4
- 229910052749 magnesium Inorganic materials 0.000 description 4
- 239000011777 magnesium Substances 0.000 description 4
- 238000002156 mixing Methods 0.000 description 4
- 150000007524 organic acids Chemical class 0.000 description 4
- 150000002895 organic esters Chemical class 0.000 description 4
- HGBOYTHUEUWSSQ-UHFFFAOYSA-N pentanal Chemical compound CCCCC=O HGBOYTHUEUWSSQ-UHFFFAOYSA-N 0.000 description 4
- 229910052698 phosphorus Inorganic materials 0.000 description 4
- 239000011574 phosphorus Substances 0.000 description 4
- BASFCYQUMIYNBI-UHFFFAOYSA-N platinum Chemical compound [Pt] BASFCYQUMIYNBI-UHFFFAOYSA-N 0.000 description 4
- 229920000139 polyethylene terephthalate Polymers 0.000 description 4
- 239000005020 polyethylene terephthalate Substances 0.000 description 4
- 229910052700 potassium Inorganic materials 0.000 description 4
- 238000012216 screening Methods 0.000 description 4
- JYEUMXHLPRZUAT-UHFFFAOYSA-N 1,2,3-triazine Chemical group C1=CN=NN=C1 JYEUMXHLPRZUAT-UHFFFAOYSA-N 0.000 description 3
- 229920002799 BoPET Polymers 0.000 description 3
- AMIMRNSIRUDHCM-UHFFFAOYSA-N Isopropylaldehyde Chemical compound CC(C)C=O AMIMRNSIRUDHCM-UHFFFAOYSA-N 0.000 description 3
- ISWSIDIOOBJBQZ-UHFFFAOYSA-N Phenol Chemical compound OC1=CC=CC=C1 ISWSIDIOOBJBQZ-UHFFFAOYSA-N 0.000 description 3
- FRQDZJMEHSJOPU-UHFFFAOYSA-N Triethylene glycol bis(2-ethylhexanoate) Chemical compound CCCCC(CC)C(=O)OCCOCCOCCOC(=O)C(CC)CCCC FRQDZJMEHSJOPU-UHFFFAOYSA-N 0.000 description 3
- 125000004036 acetal group Chemical group 0.000 description 3
- 239000001361 adipic acid Substances 0.000 description 3
- 235000011037 adipic acid Nutrition 0.000 description 3
- 229910000147 aluminium phosphate Inorganic materials 0.000 description 3
- MWPLVEDNUUSJAV-UHFFFAOYSA-N anthracene Natural products C1=CC=CC2=CC3=CC=CC=C3C=C21 MWPLVEDNUUSJAV-UHFFFAOYSA-N 0.000 description 3
- WPYMKLBDIGXBTP-UHFFFAOYSA-N benzoic acid Chemical group OC(=O)C1=CC=CC=C1 WPYMKLBDIGXBTP-UHFFFAOYSA-N 0.000 description 3
- 239000011248 coating agent Substances 0.000 description 3
- 238000000576 coating method Methods 0.000 description 3
- 238000006073 displacement reaction Methods 0.000 description 3
- 230000000694 effects Effects 0.000 description 3
- WGCNASOHLSPBMP-UHFFFAOYSA-N hydroxyacetaldehyde Natural products OCC=O WGCNASOHLSPBMP-UHFFFAOYSA-N 0.000 description 3
- 238000009434 installation Methods 0.000 description 3
- 238000000691 measurement method Methods 0.000 description 3
- QUAMTGJKVDWJEQ-UHFFFAOYSA-N octabenzone Chemical compound OC1=CC(OCCCCCCCC)=CC=C1C(=O)C1=CC=CC=C1 QUAMTGJKVDWJEQ-UHFFFAOYSA-N 0.000 description 3
- 230000035515 penetration Effects 0.000 description 3
- 230000035484 reaction time Effects 0.000 description 3
- 239000000377 silicon dioxide Substances 0.000 description 3
- 239000000126 substance Substances 0.000 description 3
- 229910052717 sulfur Inorganic materials 0.000 description 3
- ZIBGPFATKBEMQZ-UHFFFAOYSA-N triethylene glycol Chemical compound OCCOCCOCCO ZIBGPFATKBEMQZ-UHFFFAOYSA-N 0.000 description 3
- YJGHMLJGPSVSLF-UHFFFAOYSA-N 2-[2-(2-octanoyloxyethoxy)ethoxy]ethyl octanoate Chemical compound CCCCCCCC(=O)OCCOCCOCCOC(=O)CCCCCCC YJGHMLJGPSVSLF-UHFFFAOYSA-N 0.000 description 2
- JEYLQCXBYFQJRO-UHFFFAOYSA-N 2-[2-[2-(2-ethylbutanoyloxy)ethoxy]ethoxy]ethyl 2-ethylbutanoate Chemical compound CCC(CC)C(=O)OCCOCCOCCOC(=O)C(CC)CC JEYLQCXBYFQJRO-UHFFFAOYSA-N 0.000 description 2
- IKHGUXGNUITLKF-UHFFFAOYSA-N Acetaldehyde Chemical compound CC=O IKHGUXGNUITLKF-UHFFFAOYSA-N 0.000 description 2
- 229920000178 Acrylic resin Polymers 0.000 description 2
- 239000004925 Acrylic resin Substances 0.000 description 2
- 238000012935 Averaging Methods 0.000 description 2
- FERIUCNNQQJTOY-UHFFFAOYSA-N Butyric acid Chemical compound CCCC(O)=O FERIUCNNQQJTOY-UHFFFAOYSA-N 0.000 description 2
- 229920002943 EPDM rubber Polymers 0.000 description 2
- IYXGSMUGOJNHAZ-UHFFFAOYSA-N Ethyl malonate Chemical group CCOC(=O)CC(=O)OCC IYXGSMUGOJNHAZ-UHFFFAOYSA-N 0.000 description 2
- KDLHZDBZIXYQEI-UHFFFAOYSA-N Palladium Chemical compound [Pd] KDLHZDBZIXYQEI-UHFFFAOYSA-N 0.000 description 2
- JKIJEFPNVSHHEI-UHFFFAOYSA-N Phenol, 2,4-bis(1,1-dimethylethyl)-, phosphite (3:1) Chemical compound CC(C)(C)C1=CC(C(C)(C)C)=CC=C1OP(OC=1C(=CC(=CC=1)C(C)(C)C)C(C)(C)C)OC1=CC=C(C(C)(C)C)C=C1C(C)(C)C JKIJEFPNVSHHEI-UHFFFAOYSA-N 0.000 description 2
- OFOBLEOULBTSOW-UHFFFAOYSA-N Propanedioic acid Natural products OC(=O)CC(O)=O OFOBLEOULBTSOW-UHFFFAOYSA-N 0.000 description 2
- NINIDFKCEFEMDL-UHFFFAOYSA-N Sulfur Chemical compound [S] NINIDFKCEFEMDL-UHFFFAOYSA-N 0.000 description 2
- MCMNRKCIXSYSNV-UHFFFAOYSA-N Zirconium dioxide Chemical compound O=[Zr]=O MCMNRKCIXSYSNV-UHFFFAOYSA-N 0.000 description 2
- 239000000654 additive Substances 0.000 description 2
- 150000001278 adipic acid derivatives Chemical class 0.000 description 2
- 229910052783 alkali metal Inorganic materials 0.000 description 2
- 229910052784 alkaline earth metal Inorganic materials 0.000 description 2
- 125000004429 atom Chemical group 0.000 description 2
- HUMNYLRZRPPJDN-UHFFFAOYSA-N benzaldehyde Chemical compound O=CC1=CC=CC=C1 HUMNYLRZRPPJDN-UHFFFAOYSA-N 0.000 description 2
- 239000012964 benzotriazole Substances 0.000 description 2
- CZBZUDVBLSSABA-UHFFFAOYSA-N butylated hydroxyanisole Chemical compound COC1=CC=C(O)C(C(C)(C)C)=C1.COC1=CC=C(O)C=C1C(C)(C)C CZBZUDVBLSSABA-UHFFFAOYSA-N 0.000 description 2
- 150000001732 carboxylic acid derivatives Chemical class 0.000 description 2
- 230000000052 comparative effect Effects 0.000 description 2
- 230000002950 deficient Effects 0.000 description 2
- 230000009977 dual effect Effects 0.000 description 2
- 238000011156 evaluation Methods 0.000 description 2
- JARKCYVAAOWBJS-UHFFFAOYSA-N hexanal Chemical compound CCCCCC=O JARKCYVAAOWBJS-UHFFFAOYSA-N 0.000 description 2
- FUZZWVXGSFPDMH-UHFFFAOYSA-N hexanoic acid Chemical compound CCCCCC(O)=O FUZZWVXGSFPDMH-UHFFFAOYSA-N 0.000 description 2
- 229910052738 indium Inorganic materials 0.000 description 2
- APFVFJFRJDLVQX-UHFFFAOYSA-N indium atom Chemical compound [In] APFVFJFRJDLVQX-UHFFFAOYSA-N 0.000 description 2
- 229910003437 indium oxide Inorganic materials 0.000 description 2
- PJXISJQVUVHSOJ-UHFFFAOYSA-N indium(iii) oxide Chemical compound [O-2].[O-2].[O-2].[In+3].[In+3] PJXISJQVUVHSOJ-UHFFFAOYSA-N 0.000 description 2
- 238000009413 insulation Methods 0.000 description 2
- KQNPFQTWMSNSAP-UHFFFAOYSA-N isobutyric acid Chemical compound CC(C)C(O)=O KQNPFQTWMSNSAP-UHFFFAOYSA-N 0.000 description 2
- VNWKTOKETHGBQD-UHFFFAOYSA-N methane Chemical compound C VNWKTOKETHGBQD-UHFFFAOYSA-N 0.000 description 2
- UHOVQNZJYSORNB-UHFFFAOYSA-N monobenzene Natural products C1=CC=CC=C1 UHOVQNZJYSORNB-UHFFFAOYSA-N 0.000 description 2
- BDJRBEYXGGNYIS-UHFFFAOYSA-N nonanedioic acid Chemical compound OC(=O)CCCCCCCC(O)=O BDJRBEYXGGNYIS-UHFFFAOYSA-N 0.000 description 2
- 125000000962 organic group Chemical group 0.000 description 2
- 239000002530 phenolic antioxidant Substances 0.000 description 2
- 229910052697 platinum Inorganic materials 0.000 description 2
- 229920001223 polyethylene glycol Polymers 0.000 description 2
- SCVFZCLFOSHCOH-UHFFFAOYSA-M potassium acetate Chemical compound [K+].CC([O-])=O SCVFZCLFOSHCOH-UHFFFAOYSA-M 0.000 description 2
- XAEFZNCEHLXOMS-UHFFFAOYSA-M potassium benzoate Chemical compound [K+].[O-]C(=O)C1=CC=CC=C1 XAEFZNCEHLXOMS-UHFFFAOYSA-M 0.000 description 2
- 230000004044 response Effects 0.000 description 2
- 238000005096 rolling process Methods 0.000 description 2
- CXMXRPHRNRROMY-UHFFFAOYSA-N sebacic acid Chemical compound OC(=O)CCCCCCCCC(O)=O CXMXRPHRNRROMY-UHFFFAOYSA-N 0.000 description 2
- 150000003377 silicon compounds Chemical class 0.000 description 2
- 239000011593 sulfur Substances 0.000 description 2
- 239000000454 talc Substances 0.000 description 2
- 229910052623 talc Inorganic materials 0.000 description 2
- UWHCKJMYHZGTIT-UHFFFAOYSA-N tetraethylene glycol Chemical compound OCCOCCOCCOCCO UWHCKJMYHZGTIT-UHFFFAOYSA-N 0.000 description 2
- HVLLSGMXQDNUAL-UHFFFAOYSA-N triphenyl phosphite Chemical compound C=1C=CC=CC=1OP(OC=1C=CC=CC=1)OC1=CC=CC=C1 HVLLSGMXQDNUAL-UHFFFAOYSA-N 0.000 description 2
- 239000006097 ultraviolet radiation absorber Substances 0.000 description 2
- KJYSXRBJOSZLEL-UHFFFAOYSA-N (2,4-ditert-butylphenyl) 3,5-ditert-butyl-4-hydroxybenzoate Chemical compound CC(C)(C)C1=CC(C(C)(C)C)=CC=C1OC(=O)C1=CC(C(C)(C)C)=C(O)C(C(C)(C)C)=C1 KJYSXRBJOSZLEL-UHFFFAOYSA-N 0.000 description 1
- HHMAHORWXWSISL-UHFFFAOYSA-N 1,2-bis(ethenoxy)ethane;3-(3-tert-butyl-4-hydroxy-5-methylphenyl)propanoic acid Chemical compound C=COCCOC=C.CC1=CC(CCC(O)=O)=CC(C(C)(C)C)=C1O.CC1=CC(CCC(O)=O)=CC(C(C)(C)C)=C1O HHMAHORWXWSISL-UHFFFAOYSA-N 0.000 description 1
- KZVBBTZJMSWGTK-UHFFFAOYSA-N 1-[2-(2-butoxyethoxy)ethoxy]butane Chemical compound CCCCOCCOCCOCCCC KZVBBTZJMSWGTK-UHFFFAOYSA-N 0.000 description 1
- KNQFGKYCUMPAHP-UHFFFAOYSA-N 1-[3-(benzotriazol-2-yl)-5-pentylphenyl]pentan-2-ol Chemical compound CCCCCC1=CC(CC(O)CCC)=CC(N2N=C3C=CC=CC3=N2)=C1 KNQFGKYCUMPAHP-UHFFFAOYSA-N 0.000 description 1
- XCTNDJAFNBCVOM-UHFFFAOYSA-N 1h-imidazo[4,5-b]pyridin-2-ylmethanamine Chemical compound C1=CC=C2NC(CN)=NC2=N1 XCTNDJAFNBCVOM-UHFFFAOYSA-N 0.000 description 1
- RNFJDJUURJAICM-UHFFFAOYSA-N 2,2,4,4,6,6-hexaphenoxy-1,3,5-triaza-2$l^{5},4$l^{5},6$l^{5}-triphosphacyclohexa-1,3,5-triene Chemical compound N=1P(OC=2C=CC=CC=2)(OC=2C=CC=CC=2)=NP(OC=2C=CC=CC=2)(OC=2C=CC=CC=2)=NP=1(OC=1C=CC=CC=1)OC1=CC=CC=C1 RNFJDJUURJAICM-UHFFFAOYSA-N 0.000 description 1
- BUUQZURCNBMDGS-UHFFFAOYSA-N 2-(2-hydroxyethoxy)ethyl 2,2-diethylhexanoate Chemical compound CCCCC(CC)(CC)C(=O)OCCOCCO BUUQZURCNBMDGS-UHFFFAOYSA-N 0.000 description 1
- CKQNDABUGIXFCL-UHFFFAOYSA-N 2-(2-octanoyloxyethoxy)ethyl octanoate Chemical compound CCCCCCCC(=O)OCCOCCOC(=O)CCCCCCC CKQNDABUGIXFCL-UHFFFAOYSA-N 0.000 description 1
- OXQGTIUCKGYOAA-UHFFFAOYSA-N 2-Ethylbutanoic acid Chemical compound CCC(CC)C(O)=O OXQGTIUCKGYOAA-UHFFFAOYSA-N 0.000 description 1
- GCDUWJFWXVRGSM-UHFFFAOYSA-N 2-[2-(2-heptanoyloxyethoxy)ethoxy]ethyl heptanoate Chemical compound CCCCCCC(=O)OCCOCCOCCOC(=O)CCCCCC GCDUWJFWXVRGSM-UHFFFAOYSA-N 0.000 description 1
- LCZVSXRMYJUNFX-UHFFFAOYSA-N 2-[2-(2-hydroxypropoxy)propoxy]propan-1-ol Chemical compound CC(O)COC(C)COC(C)CO LCZVSXRMYJUNFX-UHFFFAOYSA-N 0.000 description 1
- SSKNCQWPZQCABD-UHFFFAOYSA-N 2-[2-[2-(2-heptanoyloxyethoxy)ethoxy]ethoxy]ethyl heptanoate Chemical compound CCCCCCC(=O)OCCOCCOCCOCCOC(=O)CCCCCC SSKNCQWPZQCABD-UHFFFAOYSA-N 0.000 description 1
- QSRJVOOOWGXUDY-UHFFFAOYSA-N 2-[2-[2-[3-(3-tert-butyl-4-hydroxy-5-methylphenyl)propanoyloxy]ethoxy]ethoxy]ethyl 3-(3-tert-butyl-4-hydroxy-5-methylphenyl)propanoate Chemical compound CC(C)(C)C1=C(O)C(C)=CC(CCC(=O)OCCOCCOCCOC(=O)CCC=2C=C(C(O)=C(C)C=2)C(C)(C)C)=C1 QSRJVOOOWGXUDY-UHFFFAOYSA-N 0.000 description 1
- JQDJSFVRBAXBCM-UHFFFAOYSA-N 2-tert-butyl-6-(5-chloro-2H-benzotriazol-4-yl)-4-methylphenol Chemical compound CC(C)(C)C1=CC(C)=CC(C=2C=3N=NNC=3C=CC=2Cl)=C1O JQDJSFVRBAXBCM-UHFFFAOYSA-N 0.000 description 1
- CNGYZEMWVAWWOB-VAWYXSNFSA-N 5-[[4-anilino-6-[bis(2-hydroxyethyl)amino]-1,3,5-triazin-2-yl]amino]-2-[(e)-2-[4-[[4-anilino-6-[bis(2-hydroxyethyl)amino]-1,3,5-triazin-2-yl]amino]-2-sulfophenyl]ethenyl]benzenesulfonic acid Chemical compound N=1C(NC=2C=C(C(\C=C\C=3C(=CC(NC=4N=C(N=C(NC=5C=CC=CC=5)N=4)N(CCO)CCO)=CC=3)S(O)(=O)=O)=CC=2)S(O)(=O)=O)=NC(N(CCO)CCO)=NC=1NC1=CC=CC=C1 CNGYZEMWVAWWOB-VAWYXSNFSA-N 0.000 description 1
- YPMQZLZYAUKEQI-UHFFFAOYSA-N 6-tert-butyl-4-ethyl-4-methylcyclohexa-1,5-dien-1-ol Chemical compound CC1(CC=C(C(=C1)C(C)(C)C)O)CC YPMQZLZYAUKEQI-UHFFFAOYSA-N 0.000 description 1
- HUUJFOGLCYMPCS-UHFFFAOYSA-N C(C)(C)(C)C(CC(C(O[P])OC1=CC=CC=C1)CC)CCC(C)(C)C Chemical compound C(C)(C)(C)C(CC(C(O[P])OC1=CC=CC=C1)CC)CCC(C)(C)C HUUJFOGLCYMPCS-UHFFFAOYSA-N 0.000 description 1
- MPEUTEBLKOHDSF-UHFFFAOYSA-N CC(C)(C)C(C=CN=C1C(C)(C)C)=C1OP(O)OC1=C(C(C)(C)C)C=CN=C1C(C)(C)C Chemical compound CC(C)(C)C(C=CN=C1C(C)(C)C)=C1OP(O)OC1=C(C(C)(C)C)C=CN=C1C(C)(C)C MPEUTEBLKOHDSF-UHFFFAOYSA-N 0.000 description 1
- WHFHWPZYUIZDFA-UHFFFAOYSA-N CC1(CC(C(C(=C1)C(C)(C)C)O)(C)C)O Chemical compound CC1(CC(C(C(=C1)C(C)(C)C)O)(C)C)O WHFHWPZYUIZDFA-UHFFFAOYSA-N 0.000 description 1
- PYGXAGIECVVIOZ-UHFFFAOYSA-N Dibutyl decanedioate Chemical compound CCCCOC(=O)CCCCCCCCC(=O)OCCCC PYGXAGIECVVIOZ-UHFFFAOYSA-N 0.000 description 1
- LFQSCWFLJHTTHZ-UHFFFAOYSA-N Ethanol Chemical compound CCO LFQSCWFLJHTTHZ-UHFFFAOYSA-N 0.000 description 1
- GYHNNYVSQQEPJS-UHFFFAOYSA-N Gallium Chemical compound [Ga] GYHNNYVSQQEPJS-UHFFFAOYSA-N 0.000 description 1
- BENNPBRBSFRLGP-UHFFFAOYSA-N OP(O)OP(O)O.C(CCCCCCCCC)C(O)(C(CO)(CO)CO)CCCCCCCCCC Chemical compound OP(O)OP(O)O.C(CCCCCCCCC)C(O)(C(CO)(CO)CO)CCCCCCCCCC BENNPBRBSFRLGP-UHFFFAOYSA-N 0.000 description 1
- MOABYHZDQQELLG-UHFFFAOYSA-N OP(O)OP(O)O.C(CCCCCCCCCCCC)C(O)(C(CO)(CO)CO)CCCCCCCCCCCCC Chemical compound OP(O)OP(O)O.C(CCCCCCCCCCCC)C(O)(C(CO)(CO)CO)CCCCCCCCCCCCC MOABYHZDQQELLG-UHFFFAOYSA-N 0.000 description 1
- XBDQKXXYIPTUBI-UHFFFAOYSA-M Propionate Chemical compound CCC([O-])=O XBDQKXXYIPTUBI-UHFFFAOYSA-M 0.000 description 1
- GWEVSGVZZGPLCZ-UHFFFAOYSA-N Titan oxide Chemical compound O=[Ti]=O GWEVSGVZZGPLCZ-UHFFFAOYSA-N 0.000 description 1
- 239000007983 Tris buffer Substances 0.000 description 1
- HCHKCACWOHOZIP-UHFFFAOYSA-N Zinc Chemical compound [Zn] HCHKCACWOHOZIP-UHFFFAOYSA-N 0.000 description 1
- FSRKEDYWZHGEGG-UHFFFAOYSA-N [2-(8-methylnonyl)phenyl] dihydrogen phosphate Chemical compound CC(C)CCCCCCCC1=CC=CC=C1OP(O)(O)=O FSRKEDYWZHGEGG-UHFFFAOYSA-N 0.000 description 1
- BGYHLZZASRKEJE-UHFFFAOYSA-N [3-[3-(3,5-ditert-butyl-4-hydroxyphenyl)propanoyloxy]-2,2-bis[3-(3,5-ditert-butyl-4-hydroxyphenyl)propanoyloxymethyl]propyl] 3-(3,5-ditert-butyl-4-hydroxyphenyl)propanoate Chemical compound CC(C)(C)C1=C(O)C(C(C)(C)C)=CC(CCC(=O)OCC(COC(=O)CCC=2C=C(C(O)=C(C=2)C(C)(C)C)C(C)(C)C)(COC(=O)CCC=2C=C(C(O)=C(C=2)C(C)(C)C)C(C)(C)C)COC(=O)CCC=2C=C(C(O)=C(C=2)C(C)(C)C)C(C)(C)C)=C1 BGYHLZZASRKEJE-UHFFFAOYSA-N 0.000 description 1
- 239000006096 absorbing agent Substances 0.000 description 1
- WNLRTRBMVRJNCN-UHFFFAOYSA-L adipate(2-) Chemical compound [O-]C(=O)CCCCC([O-])=O WNLRTRBMVRJNCN-UHFFFAOYSA-L 0.000 description 1
- 229920000180 alkyd Polymers 0.000 description 1
- 229910052782 aluminium Inorganic materials 0.000 description 1
- XAGFODPZIPBFFR-UHFFFAOYSA-N aluminium Chemical compound [Al] XAGFODPZIPBFFR-UHFFFAOYSA-N 0.000 description 1
- PNEYBMLMFCGWSK-UHFFFAOYSA-N aluminium oxide Inorganic materials [O-2].[O-2].[O-2].[Al+3].[Al+3] PNEYBMLMFCGWSK-UHFFFAOYSA-N 0.000 description 1
- 150000001454 anthracenes Chemical class 0.000 description 1
- 229910052787 antimony Inorganic materials 0.000 description 1
- WATWJIUSRGPENY-UHFFFAOYSA-N antimony atom Chemical compound [Sb] WATWJIUSRGPENY-UHFFFAOYSA-N 0.000 description 1
- 239000002216 antistatic agent Substances 0.000 description 1
- 125000003118 aryl group Chemical group 0.000 description 1
- 229910052788 barium Inorganic materials 0.000 description 1
- 150000008366 benzophenones Chemical class 0.000 description 1
- 230000005540 biological transmission Effects 0.000 description 1
- ZEFSGHVBJCEKAZ-UHFFFAOYSA-N bis(2,4-ditert-butyl-6-methylphenyl) ethyl phosphite Chemical compound CC=1C=C(C(C)(C)C)C=C(C(C)(C)C)C=1OP(OCC)OC1=C(C)C=C(C(C)(C)C)C=C1C(C)(C)C ZEFSGHVBJCEKAZ-UHFFFAOYSA-N 0.000 description 1
- CJFLBOQMPJCWLR-UHFFFAOYSA-N bis(6-methylheptyl) hexanedioate Chemical compound CC(C)CCCCCOC(=O)CCCCC(=O)OCCCCCC(C)C CJFLBOQMPJCWLR-UHFFFAOYSA-N 0.000 description 1
- FQUNFJULCYSSOP-UHFFFAOYSA-N bisoctrizole Chemical compound N1=C2C=CC=CC2=NN1C1=CC(C(C)(C)CC(C)(C)C)=CC(CC=2C(=C(C=C(C=2)C(C)(C)CC(C)(C)C)N2N=C3C=CC=CC3=N2)O)=C1O FQUNFJULCYSSOP-UHFFFAOYSA-N 0.000 description 1
- 239000001273 butane Substances 0.000 description 1
- WERYXYBDKMZEQL-UHFFFAOYSA-N butane-1,4-diol Chemical compound OCCCCO WERYXYBDKMZEQL-UHFFFAOYSA-N 0.000 description 1
- 229910052792 caesium Inorganic materials 0.000 description 1
- 229910052791 calcium Inorganic materials 0.000 description 1
- 229910000420 cerium oxide Inorganic materials 0.000 description 1
- 230000008859 change Effects 0.000 description 1
- 238000006243 chemical reaction Methods 0.000 description 1
- 229910052801 chlorine Inorganic materials 0.000 description 1
- 125000001309 chloro group Chemical group Cl* 0.000 description 1
- 239000003086 colorant Substances 0.000 description 1
- KSMVZQYAVGTKIV-UHFFFAOYSA-N decanal Chemical compound CCCCCCCCCC=O KSMVZQYAVGTKIV-UHFFFAOYSA-N 0.000 description 1
- 125000002704 decyl group Chemical group [H]C([H])([H])C([H])([H])C([H])([H])C([H])([H])C([H])([H])C([H])([H])C([H])([H])C([H])([H])C([H])([H])C([H])([H])* 0.000 description 1
- 238000007872 degassing Methods 0.000 description 1
- 238000010586 diagram Methods 0.000 description 1
- 150000005690 diesters Chemical group 0.000 description 1
- XWVQUJDBOICHGH-UHFFFAOYSA-N dioctyl nonanedioate Chemical compound CCCCCCCCOC(=O)CCCCCCCC(=O)OCCCCCCCC XWVQUJDBOICHGH-UHFFFAOYSA-N 0.000 description 1
- SZXQTJUDPRGNJN-UHFFFAOYSA-N dipropylene glycol Chemical compound OCCCOCCCO SZXQTJUDPRGNJN-UHFFFAOYSA-N 0.000 description 1
- 238000009826 distribution Methods 0.000 description 1
- MCPKSFINULVDNX-UHFFFAOYSA-N drometrizole Chemical compound CC1=CC=C(O)C(N2N=C3C=CC=CC3=N2)=C1 MCPKSFINULVDNX-UHFFFAOYSA-N 0.000 description 1
- LMJKLTNTDHKUGO-UHFFFAOYSA-N ethane-1,2-diol;2-(2-hydroxypropoxy)propan-1-ol Chemical compound OCCO.CC(O)COC(C)CO LMJKLTNTDHKUGO-UHFFFAOYSA-N 0.000 description 1
- 229920006242 ethylene acrylic acid copolymer Polymers 0.000 description 1
- 239000005038 ethylene vinyl acetate Substances 0.000 description 1
- 239000003063 flame retardant Substances 0.000 description 1
- 239000012634 fragment Substances 0.000 description 1
- 229910052733 gallium Inorganic materials 0.000 description 1
- 230000009477 glass transition Effects 0.000 description 1
- 150000002334 glycols Chemical class 0.000 description 1
- 125000005843 halogen group Chemical group 0.000 description 1
- 125000003187 heptyl group Chemical group [H]C([*])([H])C([H])([H])C([H])([H])C([H])([H])C([H])([H])C([H])([H])C([H])([H])[H] 0.000 description 1
- 239000003112 inhibitor Substances 0.000 description 1
- 238000011835 investigation Methods 0.000 description 1
- 229910052746 lanthanum Inorganic materials 0.000 description 1
- FZLIPJUXYLNCLC-UHFFFAOYSA-N lanthanum atom Chemical compound [La] FZLIPJUXYLNCLC-UHFFFAOYSA-N 0.000 description 1
- 239000007788 liquid Substances 0.000 description 1
- 229910052744 lithium Inorganic materials 0.000 description 1
- UEGPKNKPLBYCNK-UHFFFAOYSA-L magnesium acetate Chemical compound [Mg+2].CC([O-])=O.CC([O-])=O UEGPKNKPLBYCNK-UHFFFAOYSA-L 0.000 description 1
- 239000011654 magnesium acetate Substances 0.000 description 1
- 229940069446 magnesium acetate Drugs 0.000 description 1
- 235000011285 magnesium acetate Nutrition 0.000 description 1
- CQQJGTPWCKCEOQ-UHFFFAOYSA-L magnesium dipropionate Chemical compound [Mg+2].CCC([O-])=O.CCC([O-])=O CQQJGTPWCKCEOQ-UHFFFAOYSA-L 0.000 description 1
- 159000000003 magnesium salts Chemical class 0.000 description 1
- OJXOOFXUHZAXLO-UHFFFAOYSA-M magnesium;1-bromo-3-methanidylbenzene;bromide Chemical compound [Mg+2].[Br-].[CH2-]C1=CC=CC(Br)=C1 OJXOOFXUHZAXLO-UHFFFAOYSA-M 0.000 description 1
- JOADGALWHMAAKM-UHFFFAOYSA-L magnesium;2-ethylbutanoate Chemical compound [Mg+2].CCC(CC)C([O-])=O.CCC(CC)C([O-])=O JOADGALWHMAAKM-UHFFFAOYSA-L 0.000 description 1
- 239000000155 melt Substances 0.000 description 1
- WSFSSNUMVMOOMR-NJFSPNSNSA-N methanone Chemical compound O=[14CH2] WSFSSNUMVMOOMR-NJFSPNSNSA-N 0.000 description 1
- 238000000465 moulding Methods 0.000 description 1
- ZBNMOUGFCKAGGQ-UHFFFAOYSA-N n'-(5-tert-butyl-2-ethoxyphenyl)-n-(2-ethylphenyl)oxamide Chemical compound CCOC1=CC=C(C(C)(C)C)C=C1NC(=O)C(=O)NC1=CC=CC=C1CC ZBNMOUGFCKAGGQ-UHFFFAOYSA-N 0.000 description 1
- IJDNQMDRQITEOD-UHFFFAOYSA-N n-butane Chemical compound CCCC IJDNQMDRQITEOD-UHFFFAOYSA-N 0.000 description 1
- OFBQJSOFQDEBGM-UHFFFAOYSA-N n-pentane Natural products CCCCC OFBQJSOFQDEBGM-UHFFFAOYSA-N 0.000 description 1
- 229910052757 nitrogen Inorganic materials 0.000 description 1
- 125000004433 nitrogen atom Chemical group N* 0.000 description 1
- 229950002083 octabenzone Drugs 0.000 description 1
- NUJGJRNETVAIRJ-UHFFFAOYSA-N octanal Chemical compound CCCCCCCC=O NUJGJRNETVAIRJ-UHFFFAOYSA-N 0.000 description 1
- PFPYHYZFFJJQFD-UHFFFAOYSA-N oxalic anhydride Chemical group O=C1OC1=O PFPYHYZFFJJQFD-UHFFFAOYSA-N 0.000 description 1
- BMMGVYCKOGBVEV-UHFFFAOYSA-N oxo(oxoceriooxy)cerium Chemical compound [Ce]=O.O=[Ce]=O BMMGVYCKOGBVEV-UHFFFAOYSA-N 0.000 description 1
- 125000004430 oxygen atom Chemical group O* 0.000 description 1
- 229910052763 palladium Inorganic materials 0.000 description 1
- QNGNSVIICDLXHT-UHFFFAOYSA-N para-ethylbenzaldehyde Natural products CCC1=CC=C(C=O)C=C1 QNGNSVIICDLXHT-UHFFFAOYSA-N 0.000 description 1
- 230000035699 permeability Effects 0.000 description 1
- 150000003014 phosphoric acid esters Chemical class 0.000 description 1
- 125000004437 phosphorous atom Chemical group 0.000 description 1
- 239000000049 pigment Substances 0.000 description 1
- 229920001200 poly(ethylene-vinyl acetate) Polymers 0.000 description 1
- 229920003229 poly(methyl methacrylate) Polymers 0.000 description 1
- 229920000515 polycarbonate Polymers 0.000 description 1
- 239000004417 polycarbonate Substances 0.000 description 1
- 229920005749 polyurethane resin Polymers 0.000 description 1
- 229920002689 polyvinyl acetate Polymers 0.000 description 1
- 239000011118 polyvinyl acetate Substances 0.000 description 1
- ZUFQCVZBBNZMKD-UHFFFAOYSA-M potassium 2-ethylhexanoate Chemical compound [K+].CCCCC(CC)C([O-])=O ZUFQCVZBBNZMKD-UHFFFAOYSA-M 0.000 description 1
- 235000011056 potassium acetate Nutrition 0.000 description 1
- BWILYWWHXDGKQA-UHFFFAOYSA-M potassium propanoate Chemical compound [K+].CCC([O-])=O BWILYWWHXDGKQA-UHFFFAOYSA-M 0.000 description 1
- 239000004331 potassium propionate Substances 0.000 description 1
- 235000010332 potassium propionate Nutrition 0.000 description 1
- LYWPJPGMDLOUDX-UHFFFAOYSA-M potassium;2-ethylbutanoate Chemical compound [K+].CCC(CC)C([O-])=O LYWPJPGMDLOUDX-UHFFFAOYSA-M 0.000 description 1
- 125000004805 propylene group Chemical group [H]C([H])([H])C([H])([*:1])C([H])([H])[*:2] 0.000 description 1
- 229910052701 rubidium Inorganic materials 0.000 description 1
- 238000007127 saponification reaction Methods 0.000 description 1
- 229920006395 saturated elastomer Polymers 0.000 description 1
- 229910052708 sodium Inorganic materials 0.000 description 1
- 229910052712 strontium Inorganic materials 0.000 description 1
- 239000000758 substrate Substances 0.000 description 1
- 125000004434 sulfur atom Chemical group 0.000 description 1
- 229920003002 synthetic resin Polymers 0.000 description 1
- 239000000057 synthetic resin Substances 0.000 description 1
- OGIDPMRJRNCKJF-UHFFFAOYSA-N titanium oxide Inorganic materials [Ti]=O OGIDPMRJRNCKJF-UHFFFAOYSA-N 0.000 description 1
- OXFUXNFMHFCELM-UHFFFAOYSA-N tripropan-2-yl phosphate Chemical compound CC(C)OP(=O)(OC(C)C)OC(C)C OXFUXNFMHFCELM-UHFFFAOYSA-N 0.000 description 1
- WTLBZVNBAKMVDP-UHFFFAOYSA-N tris(2-butoxyethyl) phosphate Chemical compound CCCCOCCOP(=O)(OCCOCCCC)OCCOCCCC WTLBZVNBAKMVDP-UHFFFAOYSA-N 0.000 description 1
- MGMXGCZJYUCMGY-UHFFFAOYSA-N tris(4-nonylphenyl) phosphite Chemical compound C1=CC(CCCCCCCCC)=CC=C1OP(OC=1C=CC(CCCCCCCCC)=CC=1)OC1=CC=C(CCCCCCCCC)C=C1 MGMXGCZJYUCMGY-UHFFFAOYSA-N 0.000 description 1
- QQBLOZGVRHAYGT-UHFFFAOYSA-N tris-decyl phosphite Chemical compound CCCCCCCCCCOP(OCCCCCCCCCC)OCCCCCCCCCC QQBLOZGVRHAYGT-UHFFFAOYSA-N 0.000 description 1
- PEXOFOFLXOCMDX-UHFFFAOYSA-N tritridecyl phosphite Chemical compound CCCCCCCCCCCCCOP(OCCCCCCCCCCCCC)OCCCCCCCCCCCCC PEXOFOFLXOCMDX-UHFFFAOYSA-N 0.000 description 1
- 230000000007 visual effect Effects 0.000 description 1
- 229910052725 zinc Inorganic materials 0.000 description 1
- 239000011701 zinc Substances 0.000 description 1
Images
Classifications
-
- B—PERFORMING OPERATIONS; TRANSPORTING
- B32—LAYERED PRODUCTS
- B32B—LAYERED PRODUCTS, i.e. PRODUCTS BUILT-UP OF STRATA OF FLAT OR NON-FLAT, e.g. CELLULAR OR HONEYCOMB, FORM
- B32B17/00—Layered products essentially comprising sheet glass, or glass, slag, or like fibres
- B32B17/06—Layered products essentially comprising sheet glass, or glass, slag, or like fibres comprising glass as the main or only constituent of a layer, next to another layer of a specific material
- B32B17/10—Layered products essentially comprising sheet glass, or glass, slag, or like fibres comprising glass as the main or only constituent of a layer, next to another layer of a specific material of synthetic resin
- B32B17/10005—Layered products essentially comprising sheet glass, or glass, slag, or like fibres comprising glass as the main or only constituent of a layer, next to another layer of a specific material of synthetic resin laminated safety glass or glazing
- B32B17/10009—Layered products essentially comprising sheet glass, or glass, slag, or like fibres comprising glass as the main or only constituent of a layer, next to another layer of a specific material of synthetic resin laminated safety glass or glazing characterized by the number, the constitution or treatment of glass sheets
- B32B17/10036—Layered products essentially comprising sheet glass, or glass, slag, or like fibres comprising glass as the main or only constituent of a layer, next to another layer of a specific material of synthetic resin laminated safety glass or glazing characterized by the number, the constitution or treatment of glass sheets comprising two outer glass sheets
-
- B—PERFORMING OPERATIONS; TRANSPORTING
- B32—LAYERED PRODUCTS
- B32B—LAYERED PRODUCTS, i.e. PRODUCTS BUILT-UP OF STRATA OF FLAT OR NON-FLAT, e.g. CELLULAR OR HONEYCOMB, FORM
- B32B17/00—Layered products essentially comprising sheet glass, or glass, slag, or like fibres
- B32B17/06—Layered products essentially comprising sheet glass, or glass, slag, or like fibres comprising glass as the main or only constituent of a layer, next to another layer of a specific material
- B32B17/10—Layered products essentially comprising sheet glass, or glass, slag, or like fibres comprising glass as the main or only constituent of a layer, next to another layer of a specific material of synthetic resin
-
- B—PERFORMING OPERATIONS; TRANSPORTING
- B32—LAYERED PRODUCTS
- B32B—LAYERED PRODUCTS, i.e. PRODUCTS BUILT-UP OF STRATA OF FLAT OR NON-FLAT, e.g. CELLULAR OR HONEYCOMB, FORM
- B32B17/00—Layered products essentially comprising sheet glass, or glass, slag, or like fibres
- B32B17/06—Layered products essentially comprising sheet glass, or glass, slag, or like fibres comprising glass as the main or only constituent of a layer, next to another layer of a specific material
- B32B17/10—Layered products essentially comprising sheet glass, or glass, slag, or like fibres comprising glass as the main or only constituent of a layer, next to another layer of a specific material of synthetic resin
- B32B17/10005—Layered products essentially comprising sheet glass, or glass, slag, or like fibres comprising glass as the main or only constituent of a layer, next to another layer of a specific material of synthetic resin laminated safety glass or glazing
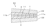
- B32B17/1055—Layered products essentially comprising sheet glass, or glass, slag, or like fibres comprising glass as the main or only constituent of a layer, next to another layer of a specific material of synthetic resin laminated safety glass or glazing characterized by the resin layer, i.e. interlayer
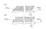
- B32B17/10559—Shape of the cross-section
- B32B17/10568—Shape of the cross-section varying in thickness
-
- B—PERFORMING OPERATIONS; TRANSPORTING
- B32—LAYERED PRODUCTS
- B32B—LAYERED PRODUCTS, i.e. PRODUCTS BUILT-UP OF STRATA OF FLAT OR NON-FLAT, e.g. CELLULAR OR HONEYCOMB, FORM
- B32B17/00—Layered products essentially comprising sheet glass, or glass, slag, or like fibres
- B32B17/06—Layered products essentially comprising sheet glass, or glass, slag, or like fibres comprising glass as the main or only constituent of a layer, next to another layer of a specific material
- B32B17/10—Layered products essentially comprising sheet glass, or glass, slag, or like fibres comprising glass as the main or only constituent of a layer, next to another layer of a specific material of synthetic resin
- B32B17/10005—Layered products essentially comprising sheet glass, or glass, slag, or like fibres comprising glass as the main or only constituent of a layer, next to another layer of a specific material of synthetic resin laminated safety glass or glazing
- B32B17/1055—Layered products essentially comprising sheet glass, or glass, slag, or like fibres comprising glass as the main or only constituent of a layer, next to another layer of a specific material of synthetic resin laminated safety glass or glazing characterized by the resin layer, i.e. interlayer
- B32B17/10761—Layered products essentially comprising sheet glass, or glass, slag, or like fibres comprising glass as the main or only constituent of a layer, next to another layer of a specific material of synthetic resin laminated safety glass or glazing characterized by the resin layer, i.e. interlayer containing vinyl acetal
-
- B—PERFORMING OPERATIONS; TRANSPORTING
- B32—LAYERED PRODUCTS
- B32B—LAYERED PRODUCTS, i.e. PRODUCTS BUILT-UP OF STRATA OF FLAT OR NON-FLAT, e.g. CELLULAR OR HONEYCOMB, FORM
- B32B27/00—Layered products comprising a layer of synthetic resin
- B32B27/06—Layered products comprising a layer of synthetic resin as the main or only constituent of a layer, which is next to another layer of the same or of a different material
- B32B27/08—Layered products comprising a layer of synthetic resin as the main or only constituent of a layer, which is next to another layer of the same or of a different material of synthetic resin
-
- B—PERFORMING OPERATIONS; TRANSPORTING
- B32—LAYERED PRODUCTS
- B32B—LAYERED PRODUCTS, i.e. PRODUCTS BUILT-UP OF STRATA OF FLAT OR NON-FLAT, e.g. CELLULAR OR HONEYCOMB, FORM
- B32B27/00—Layered products comprising a layer of synthetic resin
- B32B27/18—Layered products comprising a layer of synthetic resin characterised by the use of special additives
- B32B27/22—Layered products comprising a layer of synthetic resin characterised by the use of special additives using plasticisers
-
- B—PERFORMING OPERATIONS; TRANSPORTING
- B32—LAYERED PRODUCTS
- B32B—LAYERED PRODUCTS, i.e. PRODUCTS BUILT-UP OF STRATA OF FLAT OR NON-FLAT, e.g. CELLULAR OR HONEYCOMB, FORM
- B32B27/00—Layered products comprising a layer of synthetic resin
- B32B27/30—Layered products comprising a layer of synthetic resin comprising vinyl (co)polymers; comprising acrylic (co)polymers
-
- B—PERFORMING OPERATIONS; TRANSPORTING
- B32—LAYERED PRODUCTS
- B32B—LAYERED PRODUCTS, i.e. PRODUCTS BUILT-UP OF STRATA OF FLAT OR NON-FLAT, e.g. CELLULAR OR HONEYCOMB, FORM
- B32B27/00—Layered products comprising a layer of synthetic resin
- B32B27/30—Layered products comprising a layer of synthetic resin comprising vinyl (co)polymers; comprising acrylic (co)polymers
- B32B27/306—Layered products comprising a layer of synthetic resin comprising vinyl (co)polymers; comprising acrylic (co)polymers comprising vinyl acetate or vinyl alcohol (co)polymers
-
- B—PERFORMING OPERATIONS; TRANSPORTING
- B60—VEHICLES IN GENERAL
- B60J—WINDOWS, WINDSCREENS, NON-FIXED ROOFS, DOORS, OR SIMILAR DEVICES FOR VEHICLES; REMOVABLE EXTERNAL PROTECTIVE COVERINGS SPECIALLY ADAPTED FOR VEHICLES
- B60J1/00—Windows; Windscreens; Accessories therefor
-
- B—PERFORMING OPERATIONS; TRANSPORTING
- B60—VEHICLES IN GENERAL
- B60J—WINDOWS, WINDSCREENS, NON-FIXED ROOFS, DOORS, OR SIMILAR DEVICES FOR VEHICLES; REMOVABLE EXTERNAL PROTECTIVE COVERINGS SPECIALLY ADAPTED FOR VEHICLES
- B60J1/00—Windows; Windscreens; Accessories therefor
- B60J1/02—Windows; Windscreens; Accessories therefor arranged at the vehicle front, e.g. structure of the glazing, mounting of the glazing
-
- B—PERFORMING OPERATIONS; TRANSPORTING
- B65—CONVEYING; PACKING; STORING; HANDLING THIN OR FILAMENTARY MATERIAL
- B65H—HANDLING THIN OR FILAMENTARY MATERIAL, e.g. SHEETS, WEBS, CABLES
- B65H18/00—Winding webs
- B65H18/28—Wound package of webs
-
- B—PERFORMING OPERATIONS; TRANSPORTING
- B32—LAYERED PRODUCTS
- B32B—LAYERED PRODUCTS, i.e. PRODUCTS BUILT-UP OF STRATA OF FLAT OR NON-FLAT, e.g. CELLULAR OR HONEYCOMB, FORM
- B32B2250/00—Layers arrangement
- B32B2250/03—3 layers
-
- B—PERFORMING OPERATIONS; TRANSPORTING
- B32—LAYERED PRODUCTS
- B32B—LAYERED PRODUCTS, i.e. PRODUCTS BUILT-UP OF STRATA OF FLAT OR NON-FLAT, e.g. CELLULAR OR HONEYCOMB, FORM
- B32B2307/00—Properties of the layers or laminate
- B32B2307/10—Properties of the layers or laminate having particular acoustical properties
- B32B2307/102—Insulating
-
- B—PERFORMING OPERATIONS; TRANSPORTING
- B32—LAYERED PRODUCTS
- B32B—LAYERED PRODUCTS, i.e. PRODUCTS BUILT-UP OF STRATA OF FLAT OR NON-FLAT, e.g. CELLULAR OR HONEYCOMB, FORM
- B32B2315/00—Other materials containing non-metallic inorganic compounds not provided for in groups B32B2311/00 - B32B2313/04
- B32B2315/08—Glass
-
- B—PERFORMING OPERATIONS; TRANSPORTING
- B32—LAYERED PRODUCTS
- B32B—LAYERED PRODUCTS, i.e. PRODUCTS BUILT-UP OF STRATA OF FLAT OR NON-FLAT, e.g. CELLULAR OR HONEYCOMB, FORM
- B32B2605/00—Vehicles
- B32B2605/003—Interior finishings
-
- B—PERFORMING OPERATIONS; TRANSPORTING
- B32—LAYERED PRODUCTS
- B32B—LAYERED PRODUCTS, i.e. PRODUCTS BUILT-UP OF STRATA OF FLAT OR NON-FLAT, e.g. CELLULAR OR HONEYCOMB, FORM
- B32B2605/00—Vehicles
- B32B2605/006—Transparent parts other than made from inorganic glass, e.g. polycarbonate glazings
-
- B—PERFORMING OPERATIONS; TRANSPORTING
- B32—LAYERED PRODUCTS
- B32B—LAYERED PRODUCTS, i.e. PRODUCTS BUILT-UP OF STRATA OF FLAT OR NON-FLAT, e.g. CELLULAR OR HONEYCOMB, FORM
- B32B2605/00—Vehicles
- B32B2605/08—Cars
Landscapes
- Engineering & Computer Science (AREA)
- Mechanical Engineering (AREA)
- Joining Of Glass To Other Materials (AREA)
- Laminated Bodies (AREA)
Applications Claiming Priority (3)
| Application Number | Priority Date | Filing Date | Title |
|---|---|---|---|
| JP2015247428 | 2015-12-18 | ||
| JPJP-P-2015-247428 | 2015-12-18 | ||
| PCT/JP2016/086984 WO2017104632A1 (ja) | 2015-12-18 | 2016-12-13 | 合わせガラス用中間膜、ロール体及び合わせガラス |
Related Parent Applications (1)
| Application Number | Title | Priority Date | Filing Date |
|---|---|---|---|
| KR1020187010304A Division KR101935216B1 (ko) | 2015-12-18 | 2016-12-13 | 접합 유리용 중간막, 롤체 및 접합 유리 |
Publications (1)
| Publication Number | Publication Date |
|---|---|
| KR20190000932A true KR20190000932A (ko) | 2019-01-03 |
Family
ID=59056710
Family Applications (3)
| Application Number | Title | Priority Date | Filing Date |
|---|---|---|---|
| KR1020187010304A Active KR101935216B1 (ko) | 2015-12-18 | 2016-12-13 | 접합 유리용 중간막, 롤체 및 접합 유리 |
| KR1020187018765A Active KR101935222B1 (ko) | 2015-12-18 | 2016-12-13 | 접합 유리용 중간막, 롤체 및 접합 유리 |
| KR1020187037664A Withdrawn KR20190000932A (ko) | 2015-12-18 | 2016-12-13 | 접합 유리용 중간막, 롤체 및 접합 유리 |
Family Applications Before (2)
| Application Number | Title | Priority Date | Filing Date |
|---|---|---|---|
| KR1020187010304A Active KR101935216B1 (ko) | 2015-12-18 | 2016-12-13 | 접합 유리용 중간막, 롤체 및 접합 유리 |
| KR1020187018765A Active KR101935222B1 (ko) | 2015-12-18 | 2016-12-13 | 접합 유리용 중간막, 롤체 및 접합 유리 |
Country Status (12)
| Country | Link |
|---|---|
| US (1) | US11186068B2 (enExample) |
| EP (1) | EP3392222B1 (enExample) |
| JP (2) | JP6152496B1 (enExample) |
| KR (3) | KR101935216B1 (enExample) |
| CN (1) | CN108290784B (enExample) |
| AU (1) | AU2016374397A1 (enExample) |
| BR (1) | BR112018012202B1 (enExample) |
| MX (1) | MX2018006264A (enExample) |
| RU (1) | RU2721740C2 (enExample) |
| TW (1) | TWI802531B (enExample) |
| WO (1) | WO2017104632A1 (enExample) |
| ZA (1) | ZA201802503B (enExample) |
Families Citing this family (18)
| Publication number | Priority date | Publication date | Assignee | Title |
|---|---|---|---|---|
| KR101935216B1 (ko) | 2015-12-18 | 2019-01-03 | 세키스이가가쿠 고교가부시키가이샤 | 접합 유리용 중간막, 롤체 및 접합 유리 |
| US10906273B2 (en) * | 2016-03-30 | 2021-02-02 | Sekisui Chemical Co., Ltd. | Interlayer for laminated glass, and laminated glass |
| KR20190060726A (ko) * | 2016-10-12 | 2019-06-03 | 세키스이가가쿠 고교가부시키가이샤 | 접합 유리용 중간막 및 접합 유리 |
| KR20190068492A (ko) * | 2016-10-12 | 2019-06-18 | 세키스이가가쿠 고교가부시키가이샤 | 접합 유리용 중간막, 롤체 및 접합 유리 |
| GB201711553D0 (en) * | 2017-07-18 | 2017-08-30 | Pilkington Group Ltd | Laminated glazing |
| MX2020006048A (es) * | 2017-12-19 | 2020-08-17 | Sekisui Chemical Co Ltd | Pelicula de capa intermedia para vidrio laminado, y vidrio laminado. |
| WO2019124373A1 (ja) * | 2017-12-19 | 2019-06-27 | 積水化学工業株式会社 | 合わせガラス |
| CN111225887B (zh) * | 2017-12-28 | 2023-03-28 | 积水化学工业株式会社 | 夹层玻璃用中间膜和夹层玻璃 |
| JP7569151B2 (ja) * | 2018-03-29 | 2024-10-17 | 積水化学工業株式会社 | 合わせガラス及び合わせガラスの取り付け方法 |
| EP3778516A4 (en) * | 2018-03-29 | 2021-12-08 | Sekisui Chemical Co., Ltd. | INTERMEDIATE LAYER FOR LAMINATED GLASS, LAMINATED GLASS AND HEAD-UP DISPLAY SYSTEM ATTACHMENT METHOD |
| JPWO2019189741A1 (ja) * | 2018-03-29 | 2021-04-15 | 積水化学工業株式会社 | 合わせガラス用中間膜、合わせガラス及びヘッドアップディスプレイシステムの製造方法 |
| US20210213711A1 (en) * | 2018-08-20 | 2021-07-15 | Sekisui Chemical Co., Ltd. | Interlayer film for laminated glass, roll body and method of manufacturing laminated glass set |
| WO2020067176A1 (ja) | 2018-09-26 | 2020-04-02 | 株式会社クラレ | ポリビニルアセタール樹脂フィルムおよびそれを含む積層体 |
| MX2021006760A (es) * | 2018-12-28 | 2021-07-15 | Sekisui Chemical Co Ltd | Capa intermedia de vidrio laminado, cuerpo de rollo y metodo de fabricacion de vidrio laminado. |
| KR102223185B1 (ko) * | 2019-06-28 | 2021-03-03 | 에스케이씨 주식회사 | 접합용 적층필름 및 이를 포함하는 광투과 적층체 |
| TWI728581B (zh) * | 2019-11-29 | 2021-05-21 | 長春石油化學股份有限公司 | 聚合物膜及其應用 |
| US11136441B2 (en) | 2019-11-29 | 2021-10-05 | Chang Chun Petrochemical Co., Ltd. | Polymer film and uses of the same |
| US20230211588A1 (en) | 2020-05-27 | 2023-07-06 | Sekisui Chemical Co., Ltd. | Interlayer film for laminated glass, and laminated glass |
Family Cites Families (25)
| Publication number | Priority date | Publication date | Assignee | Title |
|---|---|---|---|---|
| US4226818A (en) * | 1979-06-08 | 1980-10-07 | Monsanto Company | Production of polyvinylbutyral sheet rolls |
| US4943140A (en) | 1989-07-27 | 1990-07-24 | Monsanto Company | Optical element for a vehicle windshield |
| MX171971B (es) | 1989-10-16 | 1993-11-24 | Libbey Owens Ford Co | Panel exhibidor para un parabrisas de vehiculo |
| JPH07292133A (ja) * | 1994-04-22 | 1995-11-07 | Sumitomo Chem Co Ltd | 透明板貼合用メタクリル系樹脂フィルム |
| JP2005068006A (ja) | 1998-03-11 | 2005-03-17 | Sekisui Chem Co Ltd | 合わせガラス用中間膜ロール体及び合わせガラス用中間膜ロール体の製造方法 |
| US20040053006A1 (en) | 1998-03-11 | 2004-03-18 | Sekisui Chemical Co., Ltd. | Intermediate film for laminated glass |
| JP2000290046A (ja) | 1999-04-09 | 2000-10-17 | Sekisui Chem Co Ltd | 合わせガラス用中間膜及びその製造方法 |
| US7419716B2 (en) * | 2003-05-30 | 2008-09-02 | Awi Licensing Company | Multiple gloss level surface coverings and method of making |
| US20070009714A1 (en) * | 2005-05-11 | 2007-01-11 | Lee David J | Polymeric interlayers having a wedge profile |
| EP3208247B1 (en) | 2006-05-12 | 2021-03-17 | Sekisui Chemical Co., Ltd. | Intermediate film for laminated glass and laminated glass |
| WO2008069186A1 (ja) * | 2006-12-04 | 2008-06-12 | Asahi Glass Company, Limited | 車両窓用防曇ガラス、その製造方法、及びその固定構造 |
| JP5220607B2 (ja) | 2007-06-27 | 2013-06-26 | 積水化学工業株式会社 | 安全ガラス用多層中間膜の製造装置及び製造方法 |
| JP4389976B2 (ja) | 2007-06-29 | 2009-12-24 | ブラザー工業株式会社 | 画像処理装置および画像処理プログラム |
| CN103097320A (zh) | 2010-08-20 | 2013-05-08 | 积水化学工业株式会社 | 夹层玻璃用中间膜及夹层玻璃 |
| CN104944806A (zh) | 2010-09-01 | 2015-09-30 | 积水化学工业株式会社 | 夹层玻璃用中间膜及夹层玻璃 |
| US9123471B2 (en) | 2011-03-10 | 2015-09-01 | Toray Industries, Inc. | Biaxially stretched polypropylene film, metallized film and film capacitor |
| US20120258307A1 (en) | 2011-04-11 | 2012-10-11 | Cretekos George F | Matte Multi-Layer Films Having Improved Sealing Properties |
| JP2013001613A (ja) | 2011-06-17 | 2013-01-07 | Sekisui Chem Co Ltd | 合わせガラス用中間膜及び合わせガラス |
| DE102012209939A1 (de) * | 2012-06-13 | 2013-12-19 | Kuraray Europe Gmbh | Geprägte Kunststofffolien für Verbundverglasungen |
| JPWO2015152241A1 (ja) * | 2014-03-31 | 2017-04-13 | 積水化学工業株式会社 | 合わせガラス用中間膜、合わせガラス、及び、合わせガラス用中間膜ロール状体 |
| KR20200087285A (ko) | 2014-04-09 | 2020-07-20 | 세키스이가가쿠 고교가부시키가이샤 | 합판 유리용 중간막, 롤상체, 합판 유리, 및 합판 유리의 제조 방법 |
| EP3130569B1 (en) * | 2014-04-09 | 2020-01-01 | Sekisui Chemical Co., Ltd. | Vehicle-windshield-glass intermediate film, rolled body, and vehicle windshield glass |
| US20170129220A1 (en) * | 2014-05-30 | 2017-05-11 | Konica Minolta, Inc. | Film for laminated glass, and laminated glass |
| US10933612B2 (en) | 2015-04-10 | 2021-03-02 | Sekisui Chemical Co., Ltd. | Interlayer for laminated glass, laminated glass, production method for embossing roll, and production method for interlayer for laminated glass |
| KR101935216B1 (ko) | 2015-12-18 | 2019-01-03 | 세키스이가가쿠 고교가부시키가이샤 | 접합 유리용 중간막, 롤체 및 접합 유리 |
-
2016
- 2016-12-13 KR KR1020187010304A patent/KR101935216B1/ko active Active
- 2016-12-13 US US15/775,801 patent/US11186068B2/en active Active
- 2016-12-13 WO PCT/JP2016/086984 patent/WO2017104632A1/ja not_active Ceased
- 2016-12-13 KR KR1020187018765A patent/KR101935222B1/ko active Active
- 2016-12-13 KR KR1020187037664A patent/KR20190000932A/ko not_active Withdrawn
- 2016-12-13 MX MX2018006264A patent/MX2018006264A/es unknown
- 2016-12-13 CN CN201680067750.8A patent/CN108290784B/zh active Active
- 2016-12-13 EP EP16875609.6A patent/EP3392222B1/en active Active
- 2016-12-13 JP JP2016575268A patent/JP6152496B1/ja active Active
- 2016-12-13 BR BR112018012202-5A patent/BR112018012202B1/pt active IP Right Grant
- 2016-12-13 AU AU2016374397A patent/AU2016374397A1/en not_active Abandoned
- 2016-12-13 RU RU2018126351A patent/RU2721740C2/ru active
- 2016-12-16 TW TW105141790A patent/TWI802531B/zh active
-
2017
- 2017-05-26 JP JP2017104840A patent/JP6871061B2/ja active Active
-
2018
- 2018-04-16 ZA ZA2018/02503A patent/ZA201802503B/en unknown
Also Published As
| Publication number | Publication date |
|---|---|
| US20180319130A1 (en) | 2018-11-08 |
| US11186068B2 (en) | 2021-11-30 |
| RU2721740C2 (ru) | 2020-05-21 |
| TWI802531B (zh) | 2023-05-21 |
| JP6152496B1 (ja) | 2017-06-21 |
| EP3392222A4 (en) | 2019-08-21 |
| BR112018012202B1 (pt) | 2022-04-05 |
| ZA201802503B (en) | 2019-07-31 |
| RU2018126351A (ru) | 2020-01-20 |
| TW201731686A (zh) | 2017-09-16 |
| WO2017104632A1 (ja) | 2017-06-22 |
| EP3392222B1 (en) | 2021-02-17 |
| JP2017214276A (ja) | 2017-12-07 |
| MX2018006264A (es) | 2018-09-07 |
| JP6871061B2 (ja) | 2021-05-12 |
| BR112018012202A2 (pt) | 2018-11-27 |
| CN108290784A (zh) | 2018-07-17 |
| JPWO2017104632A1 (ja) | 2017-12-21 |
| KR20180049087A (ko) | 2018-05-10 |
| RU2018126351A3 (enExample) | 2020-03-20 |
| EP3392222A1 (en) | 2018-10-24 |
| KR101935222B1 (ko) | 2019-01-03 |
| AU2016374397A1 (en) | 2018-04-26 |
| CN108290784B (zh) | 2020-05-12 |
| KR101935216B1 (ko) | 2019-01-03 |
| KR20180081157A (ko) | 2018-07-13 |
Similar Documents
| Publication | Publication Date | Title |
|---|---|---|
| KR101935216B1 (ko) | 접합 유리용 중간막, 롤체 및 접합 유리 | |
| KR102609906B1 (ko) | 접합 유리용 중간막 및 접합 유리 | |
| KR20180061192A (ko) | 접합 유리용 중간막 및 접합 유리 | |
| JP6581596B2 (ja) | 合わせガラス用中間膜及び合わせガラス | |
| KR102341992B1 (ko) | 접합 유리용 중간막 및 접합 유리 | |
| KR102302429B1 (ko) | 접합 유리용 중간막, 롤체 및 접합 유리 | |
| KR20180061190A (ko) | 접합 유리용 중간막 및 접합 유리 | |
| JP6449524B1 (ja) | 合わせガラス用中間膜及び合わせガラス | |
| KR101935215B1 (ko) | 접합 유리용 중간막 및 접합 유리 | |
| KR102350188B1 (ko) | 접합 유리용 중간막 및 접합 유리 | |
| KR20180128397A (ko) | 접합 유리용 중간막 및 접합 유리 | |
| WO2018070461A1 (ja) | 合わせガラス用中間膜及び合わせガラス | |
| JP6484351B2 (ja) | 合わせガラス用中間膜、ロール体及び合わせガラス | |
| WO2018168904A1 (ja) | 合わせガラス用中間膜及び合わせガラス |
Legal Events
| Date | Code | Title | Description |
|---|---|---|---|
| A107 | Divisional application of patent | ||
| PA0104 | Divisional application for international application |
Comment text: Divisional Application for International Patent Patent event code: PA01041R01D Patent event date: 20181226 Application number text: 1020187010304 Filing date: 20180412 |
|
| PG1501 | Laying open of application | ||
| PC1203 | Withdrawal of no request for examination |