KR20180098600A - 가솔린 미립자 필터 - Google Patents
가솔린 미립자 필터 Download PDFInfo
- Publication number
- KR20180098600A KR20180098600A KR1020187021204A KR20187021204A KR20180098600A KR 20180098600 A KR20180098600 A KR 20180098600A KR 1020187021204 A KR1020187021204 A KR 1020187021204A KR 20187021204 A KR20187021204 A KR 20187021204A KR 20180098600 A KR20180098600 A KR 20180098600A
- Authority
- KR
- South Korea
- Prior art keywords
- wall
- channels
- monolith
- catalyst
- osc
- Prior art date
- Legal status (The legal status is an assumption and is not a legal conclusion. Google has not performed a legal analysis and makes no representation as to the accuracy of the status listed.)
- Granted
Links
Images
Classifications
-
- B—PERFORMING OPERATIONS; TRANSPORTING
- B01—PHYSICAL OR CHEMICAL PROCESSES OR APPARATUS IN GENERAL
- B01J—CHEMICAL OR PHYSICAL PROCESSES, e.g. CATALYSIS OR COLLOID CHEMISTRY; THEIR RELEVANT APPARATUS
- B01J23/00—Catalysts comprising metals or metal oxides or hydroxides, not provided for in group B01J21/00
- B01J23/38—Catalysts comprising metals or metal oxides or hydroxides, not provided for in group B01J21/00 of noble metals
- B01J23/40—Catalysts comprising metals or metal oxides or hydroxides, not provided for in group B01J21/00 of noble metals of the platinum group metals
- B01J23/46—Ruthenium, rhodium, osmium or iridium
- B01J23/464—Rhodium
-
- B—PERFORMING OPERATIONS; TRANSPORTING
- B01—PHYSICAL OR CHEMICAL PROCESSES OR APPARATUS IN GENERAL
- B01D—SEPARATION
- B01D53/00—Separation of gases or vapours; Recovering vapours of volatile solvents from gases; Chemical or biological purification of waste gases, e.g. engine exhaust gases, smoke, fumes, flue gases, aerosols
- B01D53/34—Chemical or biological purification of waste gases
- B01D53/92—Chemical or biological purification of waste gases of engine exhaust gases
- B01D53/94—Chemical or biological purification of waste gases of engine exhaust gases by catalytic processes
- B01D53/9459—Removing one or more of nitrogen oxides, carbon monoxide, or hydrocarbons by multiple successive catalytic functions; systems with more than one different function, e.g. zone coated catalysts
-
- B—PERFORMING OPERATIONS; TRANSPORTING
- B01—PHYSICAL OR CHEMICAL PROCESSES OR APPARATUS IN GENERAL
- B01D—SEPARATION
- B01D53/00—Separation of gases or vapours; Recovering vapours of volatile solvents from gases; Chemical or biological purification of waste gases, e.g. engine exhaust gases, smoke, fumes, flue gases, aerosols
- B01D53/34—Chemical or biological purification of waste gases
- B01D53/92—Chemical or biological purification of waste gases of engine exhaust gases
- B01D53/94—Chemical or biological purification of waste gases of engine exhaust gases by catalytic processes
- B01D53/9445—Simultaneously removing carbon monoxide, hydrocarbons or nitrogen oxides making use of three-way catalysts [TWC] or four-way-catalysts [FWC]
- B01D53/945—Simultaneously removing carbon monoxide, hydrocarbons or nitrogen oxides making use of three-way catalysts [TWC] or four-way-catalysts [FWC] characterised by a specific catalyst
-
- B—PERFORMING OPERATIONS; TRANSPORTING
- B01—PHYSICAL OR CHEMICAL PROCESSES OR APPARATUS IN GENERAL
- B01D—SEPARATION
- B01D53/00—Separation of gases or vapours; Recovering vapours of volatile solvents from gases; Chemical or biological purification of waste gases, e.g. engine exhaust gases, smoke, fumes, flue gases, aerosols
- B01D53/34—Chemical or biological purification of waste gases
- B01D53/92—Chemical or biological purification of waste gases of engine exhaust gases
- B01D53/94—Chemical or biological purification of waste gases of engine exhaust gases by catalytic processes
-
- B—PERFORMING OPERATIONS; TRANSPORTING
- B01—PHYSICAL OR CHEMICAL PROCESSES OR APPARATUS IN GENERAL
- B01J—CHEMICAL OR PHYSICAL PROCESSES, e.g. CATALYSIS OR COLLOID CHEMISTRY; THEIR RELEVANT APPARATUS
- B01J21/00—Catalysts comprising the elements, oxides, or hydroxides of magnesium, boron, aluminium, carbon, silicon, titanium, zirconium, or hafnium
- B01J21/02—Boron or aluminium; Oxides or hydroxides thereof
- B01J21/04—Alumina
-
- B—PERFORMING OPERATIONS; TRANSPORTING
- B01—PHYSICAL OR CHEMICAL PROCESSES OR APPARATUS IN GENERAL
- B01J—CHEMICAL OR PHYSICAL PROCESSES, e.g. CATALYSIS OR COLLOID CHEMISTRY; THEIR RELEVANT APPARATUS
- B01J23/00—Catalysts comprising metals or metal oxides or hydroxides, not provided for in group B01J21/00
- B01J23/02—Catalysts comprising metals or metal oxides or hydroxides, not provided for in group B01J21/00 of the alkali- or alkaline earth metals or beryllium
- B01J23/04—Alkali metals
-
- B—PERFORMING OPERATIONS; TRANSPORTING
- B01—PHYSICAL OR CHEMICAL PROCESSES OR APPARATUS IN GENERAL
- B01J—CHEMICAL OR PHYSICAL PROCESSES, e.g. CATALYSIS OR COLLOID CHEMISTRY; THEIR RELEVANT APPARATUS
- B01J23/00—Catalysts comprising metals or metal oxides or hydroxides, not provided for in group B01J21/00
- B01J23/10—Catalysts comprising metals or metal oxides or hydroxides, not provided for in group B01J21/00 of rare earths
-
- B—PERFORMING OPERATIONS; TRANSPORTING
- B01—PHYSICAL OR CHEMICAL PROCESSES OR APPARATUS IN GENERAL
- B01J—CHEMICAL OR PHYSICAL PROCESSES, e.g. CATALYSIS OR COLLOID CHEMISTRY; THEIR RELEVANT APPARATUS
- B01J23/00—Catalysts comprising metals or metal oxides or hydroxides, not provided for in group B01J21/00
- B01J23/38—Catalysts comprising metals or metal oxides or hydroxides, not provided for in group B01J21/00 of noble metals
- B01J23/40—Catalysts comprising metals or metal oxides or hydroxides, not provided for in group B01J21/00 of noble metals of the platinum group metals
-
- B—PERFORMING OPERATIONS; TRANSPORTING
- B01—PHYSICAL OR CHEMICAL PROCESSES OR APPARATUS IN GENERAL
- B01J—CHEMICAL OR PHYSICAL PROCESSES, e.g. CATALYSIS OR COLLOID CHEMISTRY; THEIR RELEVANT APPARATUS
- B01J23/00—Catalysts comprising metals or metal oxides or hydroxides, not provided for in group B01J21/00
- B01J23/38—Catalysts comprising metals or metal oxides or hydroxides, not provided for in group B01J21/00 of noble metals
- B01J23/54—Catalysts comprising metals or metal oxides or hydroxides, not provided for in group B01J21/00 of noble metals combined with metals, oxides or hydroxides provided for in groups B01J23/02 - B01J23/36
- B01J23/56—Platinum group metals
- B01J23/63—Platinum group metals with rare earths or actinides
-
- B01J35/0006—
-
- B—PERFORMING OPERATIONS; TRANSPORTING
- B01—PHYSICAL OR CHEMICAL PROCESSES OR APPARATUS IN GENERAL
- B01J—CHEMICAL OR PHYSICAL PROCESSES, e.g. CATALYSIS OR COLLOID CHEMISTRY; THEIR RELEVANT APPARATUS
- B01J35/00—Catalysts, in general, characterised by their form or physical properties
- B01J35/19—Catalysts containing parts with different compositions
-
- B—PERFORMING OPERATIONS; TRANSPORTING
- B01—PHYSICAL OR CHEMICAL PROCESSES OR APPARATUS IN GENERAL
- B01J—CHEMICAL OR PHYSICAL PROCESSES, e.g. CATALYSIS OR COLLOID CHEMISTRY; THEIR RELEVANT APPARATUS
- B01J35/00—Catalysts, in general, characterised by their form or physical properties
- B01J35/50—Catalysts, in general, characterised by their form or physical properties characterised by their shape or configuration
- B01J35/56—Foraminous structures having flow-through passages or channels, e.g. grids or three-dimensional [3D] monoliths
-
- B—PERFORMING OPERATIONS; TRANSPORTING
- B01—PHYSICAL OR CHEMICAL PROCESSES OR APPARATUS IN GENERAL
- B01J—CHEMICAL OR PHYSICAL PROCESSES, e.g. CATALYSIS OR COLLOID CHEMISTRY; THEIR RELEVANT APPARATUS
- B01J37/00—Processes, in general, for preparing catalysts; Processes, in general, for activation of catalysts
- B01J37/02—Impregnation, coating or precipitation
- B01J37/0215—Coating
- B01J37/0228—Coating in several steps
-
- B—PERFORMING OPERATIONS; TRANSPORTING
- B01—PHYSICAL OR CHEMICAL PROCESSES OR APPARATUS IN GENERAL
- B01J—CHEMICAL OR PHYSICAL PROCESSES, e.g. CATALYSIS OR COLLOID CHEMISTRY; THEIR RELEVANT APPARATUS
- B01J37/00—Processes, in general, for preparing catalysts; Processes, in general, for activation of catalysts
- B01J37/08—Heat treatment
-
- F—MECHANICAL ENGINEERING; LIGHTING; HEATING; WEAPONS; BLASTING
- F01—MACHINES OR ENGINES IN GENERAL; ENGINE PLANTS IN GENERAL; STEAM ENGINES
- F01N—GAS-FLOW SILENCERS OR EXHAUST APPARATUS FOR MACHINES OR ENGINES IN GENERAL; GAS-FLOW SILENCERS OR EXHAUST APPARATUS FOR INTERNAL-COMBUSTION ENGINES
- F01N13/00—Exhaust or silencing apparatus characterised by constructional features
-
- F—MECHANICAL ENGINEERING; LIGHTING; HEATING; WEAPONS; BLASTING
- F01—MACHINES OR ENGINES IN GENERAL; ENGINE PLANTS IN GENERAL; STEAM ENGINES
- F01N—GAS-FLOW SILENCERS OR EXHAUST APPARATUS FOR MACHINES OR ENGINES IN GENERAL; GAS-FLOW SILENCERS OR EXHAUST APPARATUS FOR INTERNAL-COMBUSTION ENGINES
- F01N3/00—Exhaust or silencing apparatus having means for purifying, rendering innocuous, or otherwise treating exhaust
-
- F—MECHANICAL ENGINEERING; LIGHTING; HEATING; WEAPONS; BLASTING
- F01—MACHINES OR ENGINES IN GENERAL; ENGINE PLANTS IN GENERAL; STEAM ENGINES
- F01N—GAS-FLOW SILENCERS OR EXHAUST APPARATUS FOR MACHINES OR ENGINES IN GENERAL; GAS-FLOW SILENCERS OR EXHAUST APPARATUS FOR INTERNAL-COMBUSTION ENGINES
- F01N3/00—Exhaust or silencing apparatus having means for purifying, rendering innocuous, or otherwise treating exhaust
- F01N3/02—Exhaust or silencing apparatus having means for purifying, rendering innocuous, or otherwise treating exhaust for cooling, or for removing solid constituents of, exhaust
- F01N3/021—Exhaust or silencing apparatus having means for purifying, rendering innocuous, or otherwise treating exhaust for cooling, or for removing solid constituents of, exhaust by means of filters
- F01N3/033—Exhaust or silencing apparatus having means for purifying, rendering innocuous, or otherwise treating exhaust for cooling, or for removing solid constituents of, exhaust by means of filters in combination with other devices
- F01N3/035—Exhaust or silencing apparatus having means for purifying, rendering innocuous, or otherwise treating exhaust for cooling, or for removing solid constituents of, exhaust by means of filters in combination with other devices with catalytic reactors
-
- F—MECHANICAL ENGINEERING; LIGHTING; HEATING; WEAPONS; BLASTING
- F01—MACHINES OR ENGINES IN GENERAL; ENGINE PLANTS IN GENERAL; STEAM ENGINES
- F01N—GAS-FLOW SILENCERS OR EXHAUST APPARATUS FOR MACHINES OR ENGINES IN GENERAL; GAS-FLOW SILENCERS OR EXHAUST APPARATUS FOR INTERNAL-COMBUSTION ENGINES
- F01N3/00—Exhaust or silencing apparatus having means for purifying, rendering innocuous, or otherwise treating exhaust
- F01N3/08—Exhaust or silencing apparatus having means for purifying, rendering innocuous, or otherwise treating exhaust for rendering innocuous
- F01N3/10—Exhaust or silencing apparatus having means for purifying, rendering innocuous, or otherwise treating exhaust for rendering innocuous by thermal or catalytic conversion of noxious components of exhaust
- F01N3/101—Three-way catalysts
-
- F—MECHANICAL ENGINEERING; LIGHTING; HEATING; WEAPONS; BLASTING
- F01—MACHINES OR ENGINES IN GENERAL; ENGINE PLANTS IN GENERAL; STEAM ENGINES
- F01N—GAS-FLOW SILENCERS OR EXHAUST APPARATUS FOR MACHINES OR ENGINES IN GENERAL; GAS-FLOW SILENCERS OR EXHAUST APPARATUS FOR INTERNAL-COMBUSTION ENGINES
- F01N3/00—Exhaust or silencing apparatus having means for purifying, rendering innocuous, or otherwise treating exhaust
- F01N3/08—Exhaust or silencing apparatus having means for purifying, rendering innocuous, or otherwise treating exhaust for rendering innocuous
- F01N3/10—Exhaust or silencing apparatus having means for purifying, rendering innocuous, or otherwise treating exhaust for rendering innocuous by thermal or catalytic conversion of noxious components of exhaust
- F01N3/18—Exhaust or silencing apparatus having means for purifying, rendering innocuous, or otherwise treating exhaust for rendering innocuous by thermal or catalytic conversion of noxious components of exhaust characterised by methods of operation; Control
- F01N3/20—Exhaust or silencing apparatus having means for purifying, rendering innocuous, or otherwise treating exhaust for rendering innocuous by thermal or catalytic conversion of noxious components of exhaust characterised by methods of operation; Control specially adapted for catalytic conversion
-
- F—MECHANICAL ENGINEERING; LIGHTING; HEATING; WEAPONS; BLASTING
- F01—MACHINES OR ENGINES IN GENERAL; ENGINE PLANTS IN GENERAL; STEAM ENGINES
- F01N—GAS-FLOW SILENCERS OR EXHAUST APPARATUS FOR MACHINES OR ENGINES IN GENERAL; GAS-FLOW SILENCERS OR EXHAUST APPARATUS FOR INTERNAL-COMBUSTION ENGINES
- F01N3/00—Exhaust or silencing apparatus having means for purifying, rendering innocuous, or otherwise treating exhaust
- F01N3/08—Exhaust or silencing apparatus having means for purifying, rendering innocuous, or otherwise treating exhaust for rendering innocuous
- F01N3/10—Exhaust or silencing apparatus having means for purifying, rendering innocuous, or otherwise treating exhaust for rendering innocuous by thermal or catalytic conversion of noxious components of exhaust
- F01N3/24—Exhaust or silencing apparatus having means for purifying, rendering innocuous, or otherwise treating exhaust for rendering innocuous by thermal or catalytic conversion of noxious components of exhaust characterised by constructional aspects of converting apparatus
- F01N3/28—Construction of catalytic reactors
- F01N3/2803—Construction of catalytic reactors characterised by structure, by material or by manufacturing of catalyst support
-
- B—PERFORMING OPERATIONS; TRANSPORTING
- B01—PHYSICAL OR CHEMICAL PROCESSES OR APPARATUS IN GENERAL
- B01D—SEPARATION
- B01D2255/00—Catalysts
- B01D2255/10—Noble metals or compounds thereof
- B01D2255/102—Platinum group metals
- B01D2255/1021—Platinum
-
- B—PERFORMING OPERATIONS; TRANSPORTING
- B01—PHYSICAL OR CHEMICAL PROCESSES OR APPARATUS IN GENERAL
- B01D—SEPARATION
- B01D2255/00—Catalysts
- B01D2255/10—Noble metals or compounds thereof
- B01D2255/102—Platinum group metals
- B01D2255/1023—Palladium
-
- B—PERFORMING OPERATIONS; TRANSPORTING
- B01—PHYSICAL OR CHEMICAL PROCESSES OR APPARATUS IN GENERAL
- B01D—SEPARATION
- B01D2255/00—Catalysts
- B01D2255/10—Noble metals or compounds thereof
- B01D2255/102—Platinum group metals
- B01D2255/1025—Rhodium
-
- B—PERFORMING OPERATIONS; TRANSPORTING
- B01—PHYSICAL OR CHEMICAL PROCESSES OR APPARATUS IN GENERAL
- B01D—SEPARATION
- B01D2255/00—Catalysts
- B01D2255/20—Metals or compounds thereof
- B01D2255/206—Rare earth metals
- B01D2255/2066—Praseodymium
-
- B—PERFORMING OPERATIONS; TRANSPORTING
- B01—PHYSICAL OR CHEMICAL PROCESSES OR APPARATUS IN GENERAL
- B01D—SEPARATION
- B01D2255/00—Catalysts
- B01D2255/20—Metals or compounds thereof
- B01D2255/209—Other metals
- B01D2255/2092—Aluminium
-
- B—PERFORMING OPERATIONS; TRANSPORTING
- B01—PHYSICAL OR CHEMICAL PROCESSES OR APPARATUS IN GENERAL
- B01D—SEPARATION
- B01D2255/00—Catalysts
- B01D2255/40—Mixed oxides
- B01D2255/407—Zr-Ce mixed oxides
-
- B—PERFORMING OPERATIONS; TRANSPORTING
- B01—PHYSICAL OR CHEMICAL PROCESSES OR APPARATUS IN GENERAL
- B01D—SEPARATION
- B01D2255/00—Catalysts
- B01D2255/90—Physical characteristics of catalysts
- B01D2255/908—O2-storage component incorporated in the catalyst
-
- B—PERFORMING OPERATIONS; TRANSPORTING
- B01—PHYSICAL OR CHEMICAL PROCESSES OR APPARATUS IN GENERAL
- B01D—SEPARATION
- B01D2255/00—Catalysts
- B01D2255/90—Physical characteristics of catalysts
- B01D2255/915—Catalyst supported on particulate filters
- B01D2255/9155—Wall flow filters
-
- B—PERFORMING OPERATIONS; TRANSPORTING
- B01—PHYSICAL OR CHEMICAL PROCESSES OR APPARATUS IN GENERAL
- B01J—CHEMICAL OR PHYSICAL PROCESSES, e.g. CATALYSIS OR COLLOID CHEMISTRY; THEIR RELEVANT APPARATUS
- B01J2235/00—Indexing scheme associated with group B01J35/00, related to the analysis techniques used to determine the catalysts form or properties
-
- B—PERFORMING OPERATIONS; TRANSPORTING
- B01—PHYSICAL OR CHEMICAL PROCESSES OR APPARATUS IN GENERAL
- B01J—CHEMICAL OR PHYSICAL PROCESSES, e.g. CATALYSIS OR COLLOID CHEMISTRY; THEIR RELEVANT APPARATUS
- B01J2235/00—Indexing scheme associated with group B01J35/00, related to the analysis techniques used to determine the catalysts form or properties
- B01J2235/30—Scanning electron microscopy; Transmission electron microscopy
-
- F—MECHANICAL ENGINEERING; LIGHTING; HEATING; WEAPONS; BLASTING
- F01—MACHINES OR ENGINES IN GENERAL; ENGINE PLANTS IN GENERAL; STEAM ENGINES
- F01N—GAS-FLOW SILENCERS OR EXHAUST APPARATUS FOR MACHINES OR ENGINES IN GENERAL; GAS-FLOW SILENCERS OR EXHAUST APPARATUS FOR INTERNAL-COMBUSTION ENGINES
- F01N2330/00—Structure of catalyst support or particle filter
- F01N2330/02—Metallic plates or honeycombs, e.g. superposed or rolled-up corrugated or otherwise deformed sheet metal
-
- F—MECHANICAL ENGINEERING; LIGHTING; HEATING; WEAPONS; BLASTING
- F01—MACHINES OR ENGINES IN GENERAL; ENGINE PLANTS IN GENERAL; STEAM ENGINES
- F01N—GAS-FLOW SILENCERS OR EXHAUST APPARATUS FOR MACHINES OR ENGINES IN GENERAL; GAS-FLOW SILENCERS OR EXHAUST APPARATUS FOR INTERNAL-COMBUSTION ENGINES
- F01N2330/00—Structure of catalyst support or particle filter
- F01N2330/06—Ceramic, e.g. monoliths
-
- F—MECHANICAL ENGINEERING; LIGHTING; HEATING; WEAPONS; BLASTING
- F01—MACHINES OR ENGINES IN GENERAL; ENGINE PLANTS IN GENERAL; STEAM ENGINES
- F01N—GAS-FLOW SILENCERS OR EXHAUST APPARATUS FOR MACHINES OR ENGINES IN GENERAL; GAS-FLOW SILENCERS OR EXHAUST APPARATUS FOR INTERNAL-COMBUSTION ENGINES
- F01N2510/00—Surface coverings
- F01N2510/06—Surface coverings for exhaust purification, e.g. catalytic reaction
-
- Y—GENERAL TAGGING OF NEW TECHNOLOGICAL DEVELOPMENTS; GENERAL TAGGING OF CROSS-SECTIONAL TECHNOLOGIES SPANNING OVER SEVERAL SECTIONS OF THE IPC; TECHNICAL SUBJECTS COVERED BY FORMER USPC CROSS-REFERENCE ART COLLECTIONS [XRACs] AND DIGESTS
- Y02—TECHNOLOGIES OR APPLICATIONS FOR MITIGATION OR ADAPTATION AGAINST CLIMATE CHANGE
- Y02A—TECHNOLOGIES FOR ADAPTATION TO CLIMATE CHANGE
- Y02A50/00—TECHNOLOGIES FOR ADAPTATION TO CLIMATE CHANGE in human health protection, e.g. against extreme weather
- Y02A50/20—Air quality improvement or preservation, e.g. vehicle emission control or emission reduction by using catalytic converters
-
- Y—GENERAL TAGGING OF NEW TECHNOLOGICAL DEVELOPMENTS; GENERAL TAGGING OF CROSS-SECTIONAL TECHNOLOGIES SPANNING OVER SEVERAL SECTIONS OF THE IPC; TECHNICAL SUBJECTS COVERED BY FORMER USPC CROSS-REFERENCE ART COLLECTIONS [XRACs] AND DIGESTS
- Y02—TECHNOLOGIES OR APPLICATIONS FOR MITIGATION OR ADAPTATION AGAINST CLIMATE CHANGE
- Y02A—TECHNOLOGIES FOR ADAPTATION TO CLIMATE CHANGE
- Y02A50/00—TECHNOLOGIES FOR ADAPTATION TO CLIMATE CHANGE in human health protection, e.g. against extreme weather
- Y02A50/20—Air quality improvement or preservation, e.g. vehicle emission control or emission reduction by using catalytic converters
- Y02A50/2351—Atmospheric particulate matter [PM], e.g. carbon smoke microparticles, smog, aerosol particles, dust
-
- Y—GENERAL TAGGING OF NEW TECHNOLOGICAL DEVELOPMENTS; GENERAL TAGGING OF CROSS-SECTIONAL TECHNOLOGIES SPANNING OVER SEVERAL SECTIONS OF THE IPC; TECHNICAL SUBJECTS COVERED BY FORMER USPC CROSS-REFERENCE ART COLLECTIONS [XRACs] AND DIGESTS
- Y02—TECHNOLOGIES OR APPLICATIONS FOR MITIGATION OR ADAPTATION AGAINST CLIMATE CHANGE
- Y02T—CLIMATE CHANGE MITIGATION TECHNOLOGIES RELATED TO TRANSPORTATION
- Y02T10/00—Road transport of goods or passengers
- Y02T10/10—Internal combustion engine [ICE] based vehicles
- Y02T10/12—Improving ICE efficiencies
Landscapes
- Chemical & Material Sciences (AREA)
- Engineering & Computer Science (AREA)
- Chemical Kinetics & Catalysis (AREA)
- Materials Engineering (AREA)
- Organic Chemistry (AREA)
- Combustion & Propulsion (AREA)
- Mechanical Engineering (AREA)
- General Engineering & Computer Science (AREA)
- Health & Medical Sciences (AREA)
- Toxicology (AREA)
- Environmental & Geological Engineering (AREA)
- Analytical Chemistry (AREA)
- General Chemical & Material Sciences (AREA)
- Oil, Petroleum & Natural Gas (AREA)
- Biomedical Technology (AREA)
- Physics & Mathematics (AREA)
- Thermal Sciences (AREA)
- Catalysts (AREA)
- Exhaust Gas After Treatment (AREA)
- Exhaust Gas Treatment By Means Of Catalyst (AREA)
- Processes For Solid Components From Exhaust (AREA)
- Filtering Materials (AREA)
- Filtering Of Dispersed Particles In Gases (AREA)
Abstract
Description
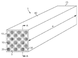
도 1a는 본 발명에 따른 벽-유동형 모노리스 필터(1)를 개략적으로 나타내는 사시도이고;
도 1b는 도 1a에 나타낸 벽-유동형 모노리스 필터(1)의 A-A 라인 단면도이고;
도 2는 가솔린 직접 분사 엔진용 배기 가스 처리 시스템의 개략도를 나타낸다.
Claims (19)
- 배출물 처리 시스템에서 이용하기 위한 촉매 벽-유동형 모노리스이며, 모노리스는 다공성 기재 및 삼원 촉매(TWC)를 포함하고, TWC는 실질적으로 다공성 기재 전반을 통해서 분포되고, TWC는:
(i) 알루미나;
(ii) 하나 이상의 백금족 금속; 및
(iii) 산소 저장 성분(OSC)을 포함하고,
OSC는 세리아, 또는 세륨을 포함하는 하나 이상의 혼합 산화물을 포함하고, 65:35 내지 85:15의 OSC 대 알루미나의 중량비로 존재하는, 촉매 벽-유동형 모노리스. - 제1항에 있어서,
OSC가 세리아를 포함하는, 촉매 벽-유동형 모노리스. - 제2항에 있어서,
OSC가 세륨 및 지르코늄의 혼합 산화물; 세륨, 지르코늄 및 네오디뮴의 혼합 산화물; 프라세오디뮴 및 지르코늄의 혼합 산화물; 세륨, 지르코늄 및 프라세오디뮴의 혼합 산화물; 또는 프라세오디뮴, 세륨, 란타넘, 이트륨, 지르코늄 및 네오디뮴의 혼합 산화물을 포함하는, 촉매 벽-유동형 모노리스. - 제3항에 있어서,
OSC가 프라세오디뮴을 포함하고 2 내지 10 중량%로 존재하는, 촉매 벽-유동형 모노리스. - 제3항 또는 제4항에 있어서,
OSC가 프라세오디뮴을 포함하고, 제1의 복수의 채널은, 프라세오디뮴을 포함하는 OSC를 포함하는 벽상 TWC 코팅을 포함하는, 촉매 벽-유동형 모노리스. - 제1항 내지 제5항 중 어느 한 항에 있어서,
OSC 대 알루미나의 중량비가 약 75:25인, 촉매 벽-유동형 모노리스. - 제1항 내지 제6항 중 어느 한 항에 있어서,
하나 이상의 백금족 금속이 Pt, Pd 및 Rh, 또는 그 둘 이상의 조합으로부터 선택되는, 촉매 벽-유동형 모노리스. - 제1항 내지 제7항 중 어느 한 항에 있어서,
TWC가 다공성 기재 전반을 통해서 균질한, 촉매 벽-유동형 모노리스. - 제1항 내지 제8항 중 어느 한 항에 있어서,
모노리스는, 길이방향을 사이에 규정하는, 제1 면 및 제2 면을 가지고, 제1 및 제2의 복수의 채널이 길이방향으로 연장되며,
제1의 복수의 채널은 제1 면에서 개방되고 제2 면에서 폐쇄되며, 제2의 복수의 채널은 제2 면에서 개방되고 제1 면에서 폐쇄되며, 그리고
TWC는 제1 및 제2의 복수의 채널 중 적어도 하나의 표면 상에서 코팅으로서 더 존재하는, 촉매 벽-유동형 모노리스. - 제9항에 있어서,
인접 채널들 사이의 기재의 평균 최소 두께가 8 내지 20 mil(0.02 내지 0.05 cm)인, 촉매 벽-유동형 모노리스. - 제9항 또는 제10항에 있어서,
(a) 제1의 복수의 채널의 채널 벽 표면 상에 존재하는 벽상 코팅의 단위 부피당 하나 이상의 백금족 금속의 중량의 양이 길이방향을 따라 연속적으로 변화되고; 및/또는 (b) 제1의 복수의 채널의 채널 벽 표면 상에 존재하는 벽상 코팅 - 또는 실질적으로 벽상 코팅 - 의 층 두께는 길이방향을 따라 연속적으로 변화되는, 촉매 벽-유동형 모노리스. - 연소 배기 가스의 유동을 처리하기 위한 배출물 처리 시스템이며, 제1항 내지 제11항 중 어느 한 항에 따른 촉매 벽-유동형 모노리스를 포함하는, 배출물 처리 시스템.
- 제12항에 따른 배출물 처리 시스템을 포함하는 포지티브 점화 엔진.
- 제13항에 따른 엔진을 포함하는 자동차.
- 촉매 벽-유동형 모노리스의 제조 방법이며:
길이방향을 사이에서 규정하는 제1 면 및 제2 면, 그리고 길이방향으로 연장되는 제1 및 제2의 복수의 채널을 갖는 다공성 기재를 제공하는 단계로서, 여기서 제1의 복수 채널은 제1 면에서 개방되어 있고 제2 면에서 폐쇄되어 있으며, 제2의 복수 채널은 제2 면에서 개방되어 있고 제1 면에서 폐쇄되어 있는, 단계;
다공성 기재를, 촉매 재료를 포함하는 워시코트로 침윤시키는 단계; 및
다공성 기재 내의 촉매 재료를 하소시키는 단계를 포함하고,
촉매 재료는:
(i) 알루미나;
(ii) 하나 이상의 백금족 금속; 및
(iii) 산소 저장 성분(OSC)을 포함하고,
OSC는 세리아, 또는 세륨을 포함하는 하나 이상의 혼합 산화물을 포함하고, 65:35 내지 85:15의 OSC 대 알루미나의 중량비로 존재하는, 방법. - 제15항에 있어서,
다공성 기재를 침윤시키는 단계 전의 워시코트의 준비는:
Pt 및/또는 Pd를 알루미나와 혼합하고 하소시켜, 촉매 재료의 제1 부분을 형성하는 것을 포함하는, 방법. - 제15항 또는 제16항에 있어서,
다공성 기재를 침윤시키는 단계 전의 워시코트의 준비는:
Rh와 OSC를 혼합하고 하소시켜, 촉매 재료의 제2 부분을 형성하는, 방법. - 제15항 내지 제17항 중 어느 한 항에 있어서,
촉매 벽-유동형 모노리스가 제1항 내지 제11항 중 어느 한 항에 따른 모노리스인, 방법. - 질소 산화물(NOx), 일산화탄소(CO), 미연소 탄화수소 연료(HC) 및 미립자 물질(PM)을 함유하는 포지티브 점화 내연 엔진으로부터의 연소 배기 가스를 처리하는 방법이며, 배기 가스를 제1항 내지 제11항 중 어느 한 항에 따른 촉매 벽-유동형 필터와 접촉시키는 것을 포함하는, 방법.
Applications Claiming Priority (5)
| Application Number | Priority Date | Filing Date | Title |
|---|---|---|---|
| GB1522917.2A GB2545747A (en) | 2015-12-24 | 2015-12-24 | Gasoline particulate filter |
| GB1522917.2 | 2015-12-24 | ||
| GB1604915.7 | 2016-03-23 | ||
| GBGB1604915.7A GB201604915D0 (en) | 2015-12-24 | 2016-03-23 | Gasoline particulate filter |
| PCT/GB2016/054070 WO2017109514A1 (en) | 2015-12-24 | 2016-12-23 | Gasoline particulate filter |
Publications (2)
| Publication Number | Publication Date |
|---|---|
| KR20180098600A true KR20180098600A (ko) | 2018-09-04 |
| KR102694306B1 KR102694306B1 (ko) | 2024-08-13 |
Family
ID=55359052
Family Applications (1)
| Application Number | Title | Priority Date | Filing Date |
|---|---|---|---|
| KR1020187021204A Active KR102694306B1 (ko) | 2015-12-24 | 2016-12-23 | 가솔린 미립자 필터 |
Country Status (10)
| Country | Link |
|---|---|
| US (1) | US10625243B2 (ko) |
| EP (1) | EP3393654B1 (ko) |
| JP (1) | JP6920304B2 (ko) |
| KR (1) | KR102694306B1 (ko) |
| CN (1) | CN108602050B (ko) |
| BR (1) | BR112018012782B1 (ko) |
| DE (1) | DE112016005997T5 (ko) |
| GB (3) | GB2545747A (ko) |
| RU (1) | RU2732400C2 (ko) |
| WO (1) | WO2017109514A1 (ko) |
Cited By (2)
| Publication number | Priority date | Publication date | Assignee | Title |
|---|---|---|---|---|
| KR20200124270A (ko) * | 2018-02-26 | 2020-11-02 | 바스프 코포레이션 | 가솔린 엔진 배기 가스 후처리용 촉매 |
| KR20230079369A (ko) * | 2020-09-29 | 2023-06-07 | 존슨 맛쎄이 퍼블릭 리미티드 컴파니 | 미세 입자를 여과하기 위한 촉매 물품 및 이의 용도 |
Families Citing this family (42)
| Publication number | Priority date | Publication date | Assignee | Title |
|---|---|---|---|---|
| MY180110A (en) * | 2014-12-12 | 2020-11-23 | Honda Motor Co Ltd | Exhaust gas purifying catalyst |
| US20180071679A1 (en) * | 2015-03-19 | 2018-03-15 | Basf Corporation | Automotive Catalysts With Palladium Supported In An Alumina-Free Layer |
| CN108367224B (zh) | 2015-12-09 | 2022-04-29 | 康宁股份有限公司 | 多孔陶瓷材料、过滤器和制品 |
| DE102017116405A1 (de) | 2017-07-20 | 2017-10-26 | FEV Europe GmbH | Verfahren zum Bestimmen der Beladung eines Partikelfilters mit Asche |
| JP7472014B2 (ja) * | 2017-07-27 | 2024-04-22 | ビーエーエスエフ コーポレーション | リーン/リッチシステムのための自動車排気からのn2o除去 |
| EP3505246B1 (de) | 2017-12-19 | 2019-10-23 | Umicore Ag & Co. Kg | Katalytisch aktives partikelfilter |
| EP3505245B1 (de) | 2017-12-19 | 2019-10-23 | Umicore Ag & Co. Kg | Katalytisch aktives partikelfilter |
| EP3501648B1 (de) * | 2017-12-19 | 2023-10-04 | Umicore Ag & Co. Kg | Katalytisch aktives partikelfilter |
| JP6544880B1 (ja) * | 2017-12-28 | 2019-07-17 | ユミコア日本触媒株式会社 | 水素製造用触媒及びこれを用いた排ガス浄化用触媒 |
| EP3749438A1 (en) | 2018-02-05 | 2020-12-16 | BASF Corporation | Four-way conversion catalyst having improved filter properties |
| JP6771119B2 (ja) * | 2018-03-30 | 2020-10-21 | 三井金属鉱業株式会社 | 排ガス浄化触媒 |
| JP7065551B2 (ja) * | 2018-08-09 | 2022-05-12 | エヌ・イーケムキャット株式会社 | 触媒塗工ガソリンパティキュレートフィルター及びその製造方法 |
| EP3843883A1 (en) * | 2018-08-31 | 2021-07-07 | BASF Corporation | Four-way conversion catalyst for the treatment of an exhaust gas stream |
| JP7171751B2 (ja) * | 2018-09-28 | 2022-11-15 | ユミコア日本触媒株式会社 | 排ガス浄化触媒、排ガスの浄化方法、及び排ガス浄化触媒の製造方法 |
| EP3639919B1 (en) | 2018-10-18 | 2025-07-09 | Umicore AG & Co. KG | Exhaust gas purification system for a gasoline engine |
| DE102018127955A1 (de) * | 2018-11-08 | 2020-05-14 | Umicore Ag & Co. Kg | Katalytisch aktiver Partikelfilter mit hoher Filtrationseffizienz |
| JP6740506B1 (ja) * | 2018-12-27 | 2020-08-12 | ユミコア日本触媒株式会社 | 排気ガス浄化用触媒及び排気ガス浄化方法 |
| KR20210111251A (ko) | 2019-01-04 | 2021-09-10 | 패서픽 인더스트리얼 디벨럽먼트 코퍼레이션 | 나노결정 크기의 세륨-지르코늄 산화물 재료 및 이를 제조하는 방법 |
| CN109621952B (zh) * | 2019-02-11 | 2021-09-03 | 无锡威孚环保催化剂有限公司 | 一种汽油机尾气颗粒物过滤器催化剂及其制备方法 |
| WO2020200398A1 (de) | 2019-03-29 | 2020-10-08 | Umicore Ag & Co. Kg | Katalytisch aktives partikelfilter |
| GB2583581B (en) * | 2019-03-29 | 2022-06-15 | Johnson Matthey Plc | A catalyst article and the use thereof for filtering fine particles |
| US12264608B2 (en) * | 2019-04-22 | 2025-04-01 | Basf Mobile Emissions Catalysts Llc | Catalyzed gasoline particulate filter |
| EP3733266B1 (en) * | 2019-05-03 | 2024-04-24 | Johnson Matthey Public Limited Company | Catalyst article, method and use |
| WO2021012107A1 (en) | 2019-07-19 | 2021-01-28 | Rhodia Operations | Mixed oxide based on cerium and zirconium |
| JP7386651B2 (ja) * | 2019-09-02 | 2023-11-27 | 株式会社キャタラー | 排ガス浄化用触媒 |
| JP6921261B1 (ja) * | 2020-03-26 | 2021-08-18 | 株式会社キャタラー | 排ガス浄化触媒装置 |
| US11618008B2 (en) * | 2020-10-05 | 2023-04-04 | Ford Global Technologies, Llc | Precious group metal on pyrochlore-phase ceria zirconia with superior oxygen storage capacity and TWC performance |
| US11788450B2 (en) * | 2020-10-30 | 2023-10-17 | Johnson Matthey Public Limited Company | TWC catalysts for gasoline engine exhaust gas treatments |
| EP4015065B1 (de) * | 2020-12-15 | 2025-02-26 | Umicore AG & Co. KG | Katalytisch aktiver partikelfilter mit hoher filtrationseffizienz |
| CN118647454A (zh) | 2022-01-25 | 2024-09-13 | 庄信万丰(上海)化工有限公司 | 用于制造汽油颗粒过滤器的方法 |
| US11801491B1 (en) * | 2022-04-21 | 2023-10-31 | GM Global Technology Operations LLC | Three-way catalyst with reduced palladium loading and method of making the three-way catalyst |
| US12544739B2 (en) | 2022-05-27 | 2026-02-10 | Johnson Matthey Public Limited Company | Method for manufacturing gasoline particulate filter |
| CN120019031A (zh) | 2022-08-12 | 2025-05-16 | 罗地亚经营管理公司 | 铈基和锆基混合氧化物 |
| JP2025531218A (ja) * | 2022-09-27 | 2025-09-19 | ビーエーエスエフ モバイル エミッションズ カタリスツ エルエルシー | 触媒化微粒子フィルタ |
| JP2025531356A (ja) * | 2022-09-27 | 2025-09-19 | ビーエーエスエフ モバイル エミッションズ カタリスツ エルエルシー | 触媒化微粒子フィルタ |
| EP4420764B1 (en) | 2023-02-23 | 2025-07-30 | Johnson Matthey Public Limited Company | Catalytic wall flow filter |
| EP4438161A1 (en) | 2023-03-28 | 2024-10-02 | Johnson Matthey Public Limited Company | Catalytic gasoline particulate filter |
| US20240399309A1 (en) | 2023-05-31 | 2024-12-05 | Johnson Matthey Public Limited Company | Catalytic wall flow filter |
| WO2025199853A1 (en) | 2024-03-28 | 2025-10-02 | Johnson Matthey Public Limited Company | Catalytic wall flow filter |
| EP4640303A1 (en) | 2024-04-25 | 2025-10-29 | Johnson Matthey Public Limited Company | Catalytic gasoline particulate filter |
| EP4717346A1 (en) | 2024-09-26 | 2026-04-01 | Johnson Matthey Public Limited Company | Method for the manufacture of a catalytic gasoline particulate filter |
| EP4729155A1 (en) | 2024-10-15 | 2026-04-22 | Johnson Matthey Public Limited Company | Catalytic gasoline particulate filter |
Citations (9)
| Publication number | Priority date | Publication date | Assignee | Title |
|---|---|---|---|---|
| KR20100125291A (ko) * | 2008-02-05 | 2010-11-30 | 바스프 코포레이션 | 미립자 트랩을 갖는 가솔린 엔진 배출물 처리 시스템 |
| JP2011212639A (ja) * | 2010-04-02 | 2011-10-27 | Toyota Motor Corp | 自動車排ガス浄化用触媒 |
| JP5176727B2 (ja) * | 2008-07-02 | 2013-04-03 | マツダ株式会社 | 排気ガス浄化用触媒材の製造方法、及び排気ガス浄化用触媒 |
| KR20130092413A (ko) * | 2010-04-19 | 2013-08-20 | 바스프 코포레이션 | 가솔린 미립자 필터를 갖는 가솔린 엔진 배출물 처리 시스템 |
| US20140205523A1 (en) * | 2013-01-24 | 2014-07-24 | Basf Se | Automotive Catalyst Composites Having A Two-Metal Layer |
| WO2014162140A1 (en) * | 2013-04-05 | 2014-10-09 | Johnson Matthey Public Limited Company | Filter substrate comprising three-way catalyst |
| WO2015079908A1 (ja) * | 2013-11-28 | 2015-06-04 | 株式会社キャタラー | 排ガス浄化用触媒 |
| KR20150119140A (ko) * | 2013-02-15 | 2015-10-23 | 존슨 맛쎄이 퍼블릭 리미티드 컴파니 | 삼원 촉매 필터를 포함하는 포지티브 점화 엔진 및 배기 시스템 |
| JP5859487B2 (ja) * | 2012-06-20 | 2016-02-10 | 株式会社豊田中央研究所 | 排ガス浄化用触媒担体、それを用いた排ガス浄化用触媒、及び排ガス浄化用触媒担体の製造方法 |
Family Cites Families (26)
| Publication number | Priority date | Publication date | Assignee | Title |
|---|---|---|---|---|
| JPS60168537A (ja) * | 1984-02-10 | 1985-09-02 | Nippon Shokubai Kagaku Kogyo Co Ltd | 一体構造型排ガス浄化用触媒の製造方法 |
| US5041407A (en) * | 1989-12-14 | 1991-08-20 | Allied-Signal Inc. | High-temperature three-way catalyst for treating automotive exhaust gases |
| CA2097609C (en) | 1991-10-03 | 1999-03-16 | Shinichi Takeshima | Device for purifying exhaust of internal combustion engine |
| CA2144627A1 (en) * | 1992-09-28 | 1994-04-14 | Jack Curtis Ii Summers | Palladium-containing three-way automotive catalysts having unique support |
| DE19714707A1 (de) * | 1997-04-09 | 1998-10-15 | Degussa | Sauerstoff speicherndes Material mit hoher Temperaturstabilität sowie Verfahren zu seiner Herstellung |
| GB9805815D0 (en) | 1998-03-19 | 1998-05-13 | Johnson Matthey Plc | Manufacturing process |
| IT1319258B1 (it) * | 2000-10-31 | 2003-09-26 | Sued Chemie Mt Srl | Catalizzatore per la idrodeclorurazione del tetracloruro di carbonio acloroformio. |
| JP4019357B2 (ja) * | 2002-05-02 | 2007-12-12 | 日産自動車株式会社 | 排気ガス浄化用触媒粉末の製造方法及び排気ガス浄化触媒の製造方法 |
| DE10247946A1 (de) * | 2002-10-15 | 2004-04-29 | Robert Bosch Gmbh | Abgasnachbehandlungsanordnung |
| JP2007275704A (ja) * | 2006-04-03 | 2007-10-25 | Johnson Matthey Japan Inc | 排気ガス触媒およびそれを用いた排気ガス処理装置 |
| JP4316586B2 (ja) * | 2006-05-26 | 2009-08-19 | 三井金属鉱業株式会社 | 排ガス浄化用触媒 |
| DE102007046158B4 (de) | 2007-09-27 | 2014-02-13 | Umicore Ag & Co. Kg | Verwendung eines katalytisch aktiven Partikelfilters zur Entfernung von Partikeln aus dem Abgas von mit überwiegend stöchiometrischem Luft/Kraftstoff-Gemisch betriebenen Verbrennungsmotoren |
| DE502007002874D1 (de) | 2007-09-28 | 2010-04-01 | Umicore Ag & Co Kg | Entfernung von Partikeln aus dem Abgas von mit überwiegend stöchiometrischem Luft/Kraftstoff-Gemisch betriebenen Verbrennungsmotoren |
| FR2947735B1 (fr) * | 2009-07-09 | 2011-08-12 | Saint Gobain Ct Recherches | Structure en nid d'abeille marquee |
| GB201000019D0 (en) | 2010-01-04 | 2010-02-17 | Johnson Matthey Plc | Coating a monolith substrate with catalyst component |
| RU2570454C2 (ru) * | 2010-02-01 | 2015-12-10 | Джонсон Мэтти Плс | Экструдированный scr-фильтр |
| US20110212639A1 (en) | 2010-02-26 | 2011-09-01 | Jeffrey Paquette | Circuit card assembly connector and interconnection system |
| JP5938819B2 (ja) * | 2011-10-06 | 2016-06-22 | ジョンソン、マッセイ、パブリック、リミテッド、カンパニーJohnson Matthey Public Limited Company | 排気ガス処理用酸化触媒 |
| GB201207313D0 (en) * | 2012-04-24 | 2012-06-13 | Johnson Matthey Plc | Filter substrate comprising three-way catalyst |
| US20130336864A1 (en) * | 2012-06-15 | 2013-12-19 | Basf Corporation | Composites Of Mixed Metal Oxides For Oxygen Storage |
| GB201311615D0 (en) | 2013-06-03 | 2013-08-14 | Johnson Matthey Plc | Method of coating a substrate with a catalyst component |
| US20140369912A1 (en) * | 2013-06-13 | 2014-12-18 | Basf Corporation | Integrated Supports for Emission Control Catalysts |
| GB201405277D0 (en) | 2014-03-25 | 2014-05-07 | Johnson Matthey Plc | Method for coating a filter substrate |
| US9707545B2 (en) * | 2015-02-05 | 2017-07-18 | Johnson Matthey Public Limited Company | Three-way catalyst |
| EP3281697A4 (en) * | 2015-04-07 | 2018-03-21 | Umicore Shokubai Japan Co., Ltd. | Purification catalyst for internal combustion engine exhaust gases and exhaust gas purification method using said catalyst |
| EP3881932A1 (en) * | 2015-06-29 | 2021-09-22 | Corning Incorporated | Porous ceramic body to reduce emissions |
-
2015
- 2015-12-24 GB GB1522917.2A patent/GB2545747A/en not_active Withdrawn
-
2016
- 2016-03-23 GB GBGB1604915.7A patent/GB201604915D0/en not_active Ceased
- 2016-12-23 EP EP16822505.0A patent/EP3393654B1/en active Active
- 2016-12-23 US US16/065,439 patent/US10625243B2/en active Active
- 2016-12-23 WO PCT/GB2016/054070 patent/WO2017109514A1/en not_active Ceased
- 2016-12-23 BR BR112018012782-5A patent/BR112018012782B1/pt active IP Right Grant
- 2016-12-23 CN CN201680080634.XA patent/CN108602050B/zh active Active
- 2016-12-23 RU RU2018126874A patent/RU2732400C2/ru active
- 2016-12-23 DE DE112016005997.3T patent/DE112016005997T5/de not_active Ceased
- 2016-12-23 GB GB1707959.1A patent/GB2558332B/en active Active
- 2016-12-23 JP JP2018533092A patent/JP6920304B2/ja active Active
- 2016-12-23 KR KR1020187021204A patent/KR102694306B1/ko active Active
Patent Citations (9)
| Publication number | Priority date | Publication date | Assignee | Title |
|---|---|---|---|---|
| KR20100125291A (ko) * | 2008-02-05 | 2010-11-30 | 바스프 코포레이션 | 미립자 트랩을 갖는 가솔린 엔진 배출물 처리 시스템 |
| JP5176727B2 (ja) * | 2008-07-02 | 2013-04-03 | マツダ株式会社 | 排気ガス浄化用触媒材の製造方法、及び排気ガス浄化用触媒 |
| JP2011212639A (ja) * | 2010-04-02 | 2011-10-27 | Toyota Motor Corp | 自動車排ガス浄化用触媒 |
| KR20130092413A (ko) * | 2010-04-19 | 2013-08-20 | 바스프 코포레이션 | 가솔린 미립자 필터를 갖는 가솔린 엔진 배출물 처리 시스템 |
| JP5859487B2 (ja) * | 2012-06-20 | 2016-02-10 | 株式会社豊田中央研究所 | 排ガス浄化用触媒担体、それを用いた排ガス浄化用触媒、及び排ガス浄化用触媒担体の製造方法 |
| US20140205523A1 (en) * | 2013-01-24 | 2014-07-24 | Basf Se | Automotive Catalyst Composites Having A Two-Metal Layer |
| KR20150119140A (ko) * | 2013-02-15 | 2015-10-23 | 존슨 맛쎄이 퍼블릭 리미티드 컴파니 | 삼원 촉매 필터를 포함하는 포지티브 점화 엔진 및 배기 시스템 |
| WO2014162140A1 (en) * | 2013-04-05 | 2014-10-09 | Johnson Matthey Public Limited Company | Filter substrate comprising three-way catalyst |
| WO2015079908A1 (ja) * | 2013-11-28 | 2015-06-04 | 株式会社キャタラー | 排ガス浄化用触媒 |
Cited By (2)
| Publication number | Priority date | Publication date | Assignee | Title |
|---|---|---|---|---|
| KR20200124270A (ko) * | 2018-02-26 | 2020-11-02 | 바스프 코포레이션 | 가솔린 엔진 배기 가스 후처리용 촉매 |
| KR20230079369A (ko) * | 2020-09-29 | 2023-06-07 | 존슨 맛쎄이 퍼블릭 리미티드 컴파니 | 미세 입자를 여과하기 위한 촉매 물품 및 이의 용도 |
Also Published As
| Publication number | Publication date |
|---|---|
| KR102694306B1 (ko) | 2024-08-13 |
| GB201707959D0 (en) | 2017-07-05 |
| DE112016005997T5 (de) | 2018-08-30 |
| BR112018012782B1 (pt) | 2021-10-26 |
| US10625243B2 (en) | 2020-04-21 |
| RU2018126874A (ru) | 2020-01-24 |
| EP3393654B1 (en) | 2020-08-12 |
| JP2019509166A (ja) | 2019-04-04 |
| GB201522917D0 (en) | 2016-02-10 |
| EP3393654A1 (en) | 2018-10-31 |
| US20190009254A1 (en) | 2019-01-10 |
| GB2558332B (en) | 2020-10-28 |
| GB201604915D0 (en) | 2016-05-04 |
| GB2545747A (en) | 2017-06-28 |
| CN108602050B (zh) | 2021-09-21 |
| RU2732400C2 (ru) | 2020-09-16 |
| CN108602050A (zh) | 2018-09-28 |
| BR112018012782A2 (en) | 2018-12-04 |
| RU2018126874A3 (ko) | 2020-04-16 |
| WO2017109514A1 (en) | 2017-06-29 |
| JP6920304B2 (ja) | 2021-08-18 |
| GB2558332A (en) | 2018-07-11 |
Similar Documents
| Publication | Publication Date | Title |
|---|---|---|
| KR102694306B1 (ko) | 가솔린 미립자 필터 | |
| JP6970662B2 (ja) | ガソリン・パティキュレート・フィルタ | |
| CN104254387B (zh) | 包含三元催化剂的过滤器基底 | |
| JP6687666B2 (ja) | 車両ポジティブ点火内燃機関用排気システム | |
| RU2668191C2 (ru) | Двигатель с принудительным воспламенением топлива и выхлопной системой, содержащей катализируемую фильтрующую подложку с покрытыми зонами | |
| RU2504431C2 (ru) | УДЕРЖИВАЮЩИЕ NOx МАТЕРИАЛЫ И ЛОВУШКИ, УСТОЙЧИВЫЕ К ТЕРМИЧЕСКОМУ СТАРЕНИЮ | |
| KR102102695B1 (ko) | 삼원 촉매 필터를 포함하는 포지티브 점화 엔진 및 배기 시스템 | |
| RU2641814C2 (ru) | Каталитический сажевый фильтр | |
| KR101975627B1 (ko) | 디젤 산화 촉매, 처리 시스템 및 방법 | |
| KR20150140727A (ko) | 삼원 촉매를 포함하는 필터 기재 | |
| KR102890659B1 (ko) | 미세 입자를 여과하기 위한 촉매 물품 및 이의 용도 |
Legal Events
| Date | Code | Title | Description |
|---|---|---|---|
| PA0105 | International application |
Patent event date: 20180723 Patent event code: PA01051R01D Comment text: International Patent Application |
|
| PG1501 | Laying open of application | ||
| A201 | Request for examination | ||
| PA0201 | Request for examination |
Patent event code: PA02012R01D Patent event date: 20211221 Comment text: Request for Examination of Application |
|
| E902 | Notification of reason for refusal | ||
| PE0902 | Notice of grounds for rejection |
Comment text: Notification of reason for refusal Patent event date: 20231031 Patent event code: PE09021S01D |
|
| E701 | Decision to grant or registration of patent right | ||
| PE0701 | Decision of registration |
Patent event code: PE07011S01D Comment text: Decision to Grant Registration Patent event date: 20240730 |
|
| GRNT | Written decision to grant | ||
| PR0701 | Registration of establishment |
Comment text: Registration of Establishment Patent event date: 20240807 Patent event code: PR07011E01D |
|
| PR1002 | Payment of registration fee |
Payment date: 20240808 End annual number: 3 Start annual number: 1 |
|
| PG1601 | Publication of registration |





