KR20180098321A - 음료 용기 내의 음료를 제조하기 위한 방법 및 장치, 및 음료 물품 - Google Patents

음료 용기 내의 음료를 제조하기 위한 방법 및 장치, 및 음료 물품 Download PDF

Info

Publication number
KR20180098321A
KR20180098321A KR1020187020987A KR20187020987A KR20180098321A KR 20180098321 A KR20180098321 A KR 20180098321A KR 1020187020987 A KR1020187020987 A KR 1020187020987A KR 20187020987 A KR20187020987 A KR 20187020987A KR 20180098321 A KR20180098321 A KR 20180098321A
Authority
KR
South Korea
Prior art keywords
beverage
container
ice
beverage container
liquid
Prior art date
Legal status (The legal status is an assumption and is not a legal conclusion. Google has not performed a legal analysis and makes no representation as to the accuracy of the status listed.)
Granted
Application number
KR1020187020987A
Other languages
English (en)
Other versions
KR102257951B1 (ko
Inventor
요제프 클렘
자이프 하메드
Original Assignee
쿠키 게엠베하
Priority date (The priority date is an assumption and is not a legal conclusion. Google has not performed a legal analysis and makes no representation as to the accuracy of the date listed.)
Filing date
Publication date
Application filed by 쿠키 게엠베하 filed Critical 쿠키 게엠베하
Publication of KR20180098321A publication Critical patent/KR20180098321A/ko
Application granted granted Critical
Publication of KR102257951B1 publication Critical patent/KR102257951B1/ko
Active legal-status Critical Current
Anticipated expiration legal-status Critical

Links

Images

Classifications

    • BPERFORMING OPERATIONS; TRANSPORTING
    • B67OPENING, CLOSING OR CLEANING BOTTLES, JARS OR SIMILAR CONTAINERS; LIQUID HANDLING
    • B67CCLEANING, FILLING WITH LIQUIDS OR SEMILIQUIDS, OR EMPTYING, OF BOTTLES, JARS, CANS, CASKS, BARRELS, OR SIMILAR CONTAINERS, NOT OTHERWISE PROVIDED FOR; FUNNELS
    • B67C3/00Bottling liquids or semiliquids; Filling jars or cans with liquids or semiliquids using bottling or like apparatus; Filling casks or barrels with liquids or semiliquids
    • B67C3/02Bottling liquids or semiliquids; Filling jars or cans with liquids or semiliquids using bottling or like apparatus
    • B67C3/22Details
    • B67C3/26Filling-heads; Means for engaging filling-heads with bottle necks
    • AHUMAN NECESSITIES
    • A23FOODS OR FOODSTUFFS; TREATMENT THEREOF, NOT COVERED BY OTHER CLASSES
    • A23GCOCOA; COCOA PRODUCTS, e.g. CHOCOLATE; SUBSTITUTES FOR COCOA OR COCOA PRODUCTS; CONFECTIONERY; CHEWING GUM; ICE-CREAM; PREPARATION THEREOF
    • A23G9/00Frozen sweets, e.g. ice confectionery, ice-cream; Mixtures therefor
    • A23G9/04Production of frozen sweets, e.g. ice-cream
    • A23G9/045Production of frozen sweets, e.g. ice-cream of slush-ice, e.g. semi-frozen beverage
    • AHUMAN NECESSITIES
    • A23FOODS OR FOODSTUFFS; TREATMENT THEREOF, NOT COVERED BY OTHER CLASSES
    • A23GCOCOA; COCOA PRODUCTS, e.g. CHOCOLATE; SUBSTITUTES FOR COCOA OR COCOA PRODUCTS; CONFECTIONERY; CHEWING GUM; ICE-CREAM; PREPARATION THEREOF
    • A23G9/00Frozen sweets, e.g. ice confectionery, ice-cream; Mixtures therefor
    • A23G9/52Liquid products; Solid products in the form of powders, flakes or granules for making liquid products ; Finished or semi-finished solid products, frozen granules
    • AHUMAN NECESSITIES
    • A23FOODS OR FOODSTUFFS; TREATMENT THEREOF, NOT COVERED BY OTHER CLASSES
    • A23LFOODS, FOODSTUFFS OR NON-ALCOHOLIC BEVERAGES, NOT OTHERWISE PROVIDED FOR; PREPARATION OR TREATMENT THEREOF
    • A23L2/00Non-alcoholic beverages; Dry compositions or concentrates therefor; Preparation or treatment thereof
    • A23L2/52Adding ingredients
    • BPERFORMING OPERATIONS; TRANSPORTING
    • B67OPENING, CLOSING OR CLEANING BOTTLES, JARS OR SIMILAR CONTAINERS; LIQUID HANDLING
    • B67CCLEANING, FILLING WITH LIQUIDS OR SEMILIQUIDS, OR EMPTYING, OF BOTTLES, JARS, CANS, CASKS, BARRELS, OR SIMILAR CONTAINERS, NOT OTHERWISE PROVIDED FOR; FUNNELS
    • B67C3/00Bottling liquids or semiliquids; Filling jars or cans with liquids or semiliquids using bottling or like apparatus; Filling casks or barrels with liquids or semiliquids
    • B67C3/02Bottling liquids or semiliquids; Filling jars or cans with liquids or semiliquids using bottling or like apparatus
    • B67C3/22Details
    • BPERFORMING OPERATIONS; TRANSPORTING
    • B67OPENING, CLOSING OR CLEANING BOTTLES, JARS OR SIMILAR CONTAINERS; LIQUID HANDLING
    • B67CCLEANING, FILLING WITH LIQUIDS OR SEMILIQUIDS, OR EMPTYING, OF BOTTLES, JARS, CANS, CASKS, BARRELS, OR SIMILAR CONTAINERS, NOT OTHERWISE PROVIDED FOR; FUNNELS
    • B67C7/00Concurrent cleaning, filling, and closing of bottles; Processes or devices for at least two of these operations
    • B67C7/0006Conveying; Synchronising
    • CCHEMISTRY; METALLURGY
    • C12BIOCHEMISTRY; BEER; SPIRITS; WINE; VINEGAR; MICROBIOLOGY; ENZYMOLOGY; MUTATION OR GENETIC ENGINEERING
    • C12GWINE; PREPARATION THEREOF; ALCOHOLIC BEVERAGES; PREPARATION OF ALCOHOLIC BEVERAGES NOT PROVIDED FOR IN SUBCLASSES C12C OR C12H
    • C12G3/00Preparation of other alcoholic beverages
    • CCHEMISTRY; METALLURGY
    • C12BIOCHEMISTRY; BEER; SPIRITS; WINE; VINEGAR; MICROBIOLOGY; ENZYMOLOGY; MUTATION OR GENETIC ENGINEERING
    • C12GWINE; PREPARATION THEREOF; ALCOHOLIC BEVERAGES; PREPARATION OF ALCOHOLIC BEVERAGES NOT PROVIDED FOR IN SUBCLASSES C12C OR C12H
    • C12G3/00Preparation of other alcoholic beverages
    • C12G3/04Preparation of other alcoholic beverages by mixing, e.g. for preparation of liqueurs
    • FMECHANICAL ENGINEERING; LIGHTING; HEATING; WEAPONS; BLASTING
    • F25REFRIGERATION OR COOLING; COMBINED HEATING AND REFRIGERATION SYSTEMS; HEAT PUMP SYSTEMS; MANUFACTURE OR STORAGE OF ICE; LIQUEFACTION SOLIDIFICATION OF GASES
    • F25CPRODUCING, WORKING OR HANDLING ICE
    • F25C5/00Working or handling ice
    • F25C5/20Distributing ice
    • BPERFORMING OPERATIONS; TRANSPORTING
    • B67OPENING, CLOSING OR CLEANING BOTTLES, JARS OR SIMILAR CONTAINERS; LIQUID HANDLING
    • B67CCLEANING, FILLING WITH LIQUIDS OR SEMILIQUIDS, OR EMPTYING, OF BOTTLES, JARS, CANS, CASKS, BARRELS, OR SIMILAR CONTAINERS, NOT OTHERWISE PROVIDED FOR; FUNNELS
    • B67C7/00Concurrent cleaning, filling, and closing of bottles; Processes or devices for at least two of these operations
    • B67C7/0006Conveying; Synchronising
    • B67C2007/006Devices particularly adapted for container filling
    • BPERFORMING OPERATIONS; TRANSPORTING
    • B67OPENING, CLOSING OR CLEANING BOTTLES, JARS OR SIMILAR CONTAINERS; LIQUID HANDLING
    • B67CCLEANING, FILLING WITH LIQUIDS OR SEMILIQUIDS, OR EMPTYING, OF BOTTLES, JARS, CANS, CASKS, BARRELS, OR SIMILAR CONTAINERS, NOT OTHERWISE PROVIDED FOR; FUNNELS
    • B67C7/00Concurrent cleaning, filling, and closing of bottles; Processes or devices for at least two of these operations
    • B67C7/0006Conveying; Synchronising
    • B67C2007/0066Devices particularly adapted for container closing

Landscapes

  • Chemical & Material Sciences (AREA)
  • Engineering & Computer Science (AREA)
  • Life Sciences & Earth Sciences (AREA)
  • Organic Chemistry (AREA)
  • Polymers & Plastics (AREA)
  • Food Science & Technology (AREA)
  • Health & Medical Sciences (AREA)
  • General Engineering & Computer Science (AREA)
  • Genetics & Genomics (AREA)
  • General Health & Medical Sciences (AREA)
  • Wood Science & Technology (AREA)
  • Zoology (AREA)
  • Bioinformatics & Cheminformatics (AREA)
  • Biochemistry (AREA)
  • Nutrition Science (AREA)
  • Mechanical Engineering (AREA)
  • Physics & Mathematics (AREA)
  • Thermal Sciences (AREA)
  • Non-Alcoholic Beverages (AREA)
  • Devices For Dispensing Beverages (AREA)
  • Confectionery (AREA)
  • Packages (AREA)
  • Distillation Of Fermentation Liquor, Processing Of Alcohols, Vinegar And Beer (AREA)
  • Beverage Vending Machines With Cups, And Gas Or Electricity Vending Machines (AREA)

Abstract

본 개시내용은 음료 용기 내의 음료를 제조하기 위한 방법을 설명하고, 방법은: 충전될 음료 용기(11; 31)를 제공하는 단계; 냉각제를 용기 개구를 통해 음료 용기(11; 31)에 도입하는 단계 ― 냉각제는 적어도 하나의 얼음 몰딩(15; 35)을 가짐 ―; 용기 개구를 통해 음료 용기(11; 31)에 음료 액체(12; 32)를 충전하는 단계; 1회용 마개로 용기 개구를 폐쇄하는 단계 및 충전된 음료 용기(11; 31)를 냉각된 환경에 보관하는 단계를 가진다. 본 개시내용은 또한 음료 용기 내에 음료를 생성하기 위한 장치뿐 아니라 음료를 포함하는 음료 물품을 커버한다.

Description

음료 용기 내의 음료를 제조하기 위한 방법 및 장치, 및 음료 물품
본 발명은 음료 용기 내의 음료를 제조하기 위한 방법 및 장치 그리고 음료를 포함하는 음료 물품에 관한 것이다.
현재, 음료들은 단지 액체 형태로 병입(bottle)되고 적용가능하면 외부 냉각에 의해 전체적으로 고체로 동결된다. 얼음 조각(cube)들의 부가는 운송 베슬(vessel)에 병입된 동안 이루어지지 않지만, 단지 이후에 음료가 서빙 베슬에 다시 충전될 때 이루어진다.
공간 문제들(기차 레스토랑들)로 인해 또는 전기 전원의 부족(해변 바들)으로 인해, 각각 서빙 또는 소비 위치에서 냉각 디바이스들 내에 얼음 조각들을 보관하기 위해 냉각 디바이스들을 동작시키는 것이 빈번하게 가능하지 않다.
이어서, 음료는 그런 위치들에서 얼음 조각들 없이 단순히 빈번하게 소비되지만, 이는 즐거움과 맛에 악영향을 준다. 특히 칵테일들은 얼음을 필요로 한다.
본 발명의 목적은 알코올 및 비-알코올 음료들에 대한 확장된 형태들의 제시를 제공하는 새로운 기술들을 특정하는 것이다. 특히, 음료 용기 내에 음료를 생성하기 위한 방법 및 음료를 포함하는 음료 물품이 생성될 것이다.
그 목적은 제1 항 및 제12 항에 따른 음료 용기 내의 음료를 제조하기 위한 방법 및 장치에 의해 해결된다. 제13 항에 따른 음료를 포함하는 음료 물품이 또한 생성된다. 대안적인 실시예들은 종속항들의 청구 대상이다.
일 양상에 따라, 음료 용기 내의 음료를 제조하기 위한 방법이 생성된다. 이는 다음 단계들을 가진다: 충전될 음료 용기를 제공하는 단계; 냉각제를 용기 개구를 통해 음료 용기에 도입하는 단계 ― 냉각제는 적어도 하나의 물 얼음 몰딩(water ice molding)을 가짐 ―; 용기 개구를 통해 음료 용기에 음료 액체를 충전하는 단계; 1회용 마개에 의해 용기 개구를 폐쇄하는 단계; 및 충전된 음료 용기를 냉각 보관하는 단계.
추가 양상에 따라, 음료 용기 내의 음료를 제조하기 위한 장치가 생성된다. 장치는: 충전될 음료 용기를 제공하고; 냉각제를 삽입 장치를 경유하여 용기 개구를 통해 음료 용기에 도입하고 ― 냉각제는 적어도 하나의 물 얼음 몰딩을 가지며 삽입 장치는 안내 디바이스 및 포지셔닝 디바이스로 형성되고, 이에 의해 안내 디바이스의 출구는 용기 개구에 관해 포지셔닝됨 ―; 용기 개구를 통해 음료 용기에 음료 액체를 충전하고; 그리고 1회용 마개에 의해 용기 개구를 폐쇄하도록 셋업된다.
추가 양상에 따라, 음료를 포함하는 음료 물품이 생성된다. 음료 물품은 음료 액체로 충전되는 음료 용기를 가진다. 적어도 하나의 물 얼음 몰딩을 가지며 음료 액체에 수용되는 냉각제는 추가로 음료 용기에 도입된다. 음료 용기의 용기 개구는 1회용 마개에 의해 폐쇄되고, 용기 개구를 통해 적어도 하나의 물 얼음 몰딩을 포함하는 냉각제 및 음료 액체가 음료 용기에 도입된다.
개방 이후, 1회용 마개는 다시 폐쇄될 수 있을 수 있다. 대안적으로, 1회용 마개의 실시예가 제공될 수 있고, 예컨대 최초 개방 동안 1회용 마개의 파괴의 결과로서, 재폐쇄가 가능하지 않게 된다. 본원에 사용된 의미에서 1회용 마개라는 용어는 또한 반복적으로 재폐쇄될 수 있는 마개들을 포함하고, 이에 의해 신선도 또는 마개 밀봉은 충전 프로세스 이후 최초 개방 동안 파괴될 수 있다. 이것은 예컨대, 음료 용기의 충전 이후, 최초 개방 동안 찢어지고, 그리고 이런 방식으로 파괴되는 밀봉부, 예컨대 종이 밀봉부가 제공되는 예컨대, 클립, 나사 또는 플러그 마개일 수 있다.
음료 용기는 1회용이거나 재사용가능 용기, 예컨대 1회용 또는 재사용가능 병일 수 있다.
냉각제는, 음료 용기로의 음료 액체의 충전 동안 그리고/또는 충전 이후, 또한 요컨대 얼음 몰딩으로서 식별될 수 있는 적어도 하나의 물 얼음 몰딩으로 도입될 수 있다.
충전된 음료 용기는 음료 액체의 동결(freezing) 점보다 더 높은 냉각 온도에서 보관될 수 있다. 그러나, 선택적으로 단단하게 동결시키기 위해 음료 액체의 부분 동결은 냉각된 저장소의 상황에서 제공될 수 있다.
용기 개구는 다음 그룹, 즉 왕관 코르크 마개, 코르크, 나사 마개, 비틀어 여는 마개, 클립 마개, 고온 밀봉 마개들로부터의 1회용 마개에 의해 폐쇄될 수 있다.
음료 용기는 용기 개구를 향해 테이퍼링(taper)되는 용기 섹션을 가질 수 있고, 적어도 하나의 물 얼음 몰딩을 포함하는 냉각제 및 음료 액체는 용기 개구를 통과한 이후 테이퍼링 용기 섹션을 통해 도입될 수 있다. 이는 음료 병일 수 있고, 이 경우 테이퍼링 섹션은 병목으로 형성된다.
적어도 하나의 물 얼음 몰딩은 하나의 공간 치수에 있어서 용기 개구의 직경보다 더 클 수 있다.
퍼센티지의 에탄올을 포함하는 알코올 음료 액체, 및/또는 퍼센티지의 글리세린을 포함하는 비-알코올 음료 액체가 충전될 수 있다.
냉각제를 도입하기 전에 그리고/또는 음료 액체로 충전하기 전에, 음료 용기는 음료 액체의 동결 점과 0℃ 사이의 온도로 냉각될 수 있다.
적어도 하나의 물 얼음 몰딩을 포함하는 냉각제를 도입할 때, 음료 용기의 하나의 베슬 바닥을 커버하는 양의 액체 물이 부가적으로 음료 용기에 충전될 수 있다.
냉각 저장 동안, 충전된 음료 용기는 음료 액체의 용융 온도보다 더 낮은 냉각 온도로 냉각될 수 있다.
적어도 하나의 물 얼음 몰딩은 안내 디바이스를 통해 용기 개구로 공급될 수 있고, 안내 디바이스는 포지셔닝 디바이스에 의해 용기 개구에 관해 포지셔닝된다. 이에 의해, 포지셔닝 디바이스는 음료 용기와 직접 결합될 수 있고, 예컨대 용기 개구의 영역 및/또는 테이퍼링된 용기 섹션에서 그 자체를 지지할 수 있다. 포지셔닝 디바이스는 부분적으로 또는 완전히 용기 개구를 에워쌀 수 있다. 얼음 몰딩들을 위한 안내 디바이스는 포지셔닝 디바이스에 의해 용기 개구를 향해 지향되는 단부-측 출구를 가진다. 안내 디바이스 및 포지셔닝 디바이스를 도입하기 위한 장치는 본원에 설명된 방법의 경우 또는 대안적으로, 또한 얼음 몰딩의 삽입을 제공하는 다른 방법들의 경우에 사용될 수 있다.
추가 대안적인 실시예들이 아래에서 설명될 것이다.
음료 용기를 충전할 때 다음이 제공될 수 있다. 처음에, 적어도 하나의 물 얼음 몰딩은 음료 용기 내로 부가될 수 있고, 이어서 0℃보다 더 낮은 동결 점(G)을 가진 액체 음료 액체가 음료 용기로 부가되고 이어서 1회용 마개에 의해 음료 용기가 폐쇄되고, 그리고 이어서 음료는 G<T≤0℃를 갖는 온도(T)로 냉각되도록 보관된다. 대안적으로, 액체 음료 액체는 처음에 섭씨 0도보다 더 낮은 동결 점(G)을 가진 음료 용기에 부가되고, 이어서 적어도 하나의 물 얼음 몰딩은 음료 용기에 부가되고, 그리고 음료는, 음료 용기의 폐쇄 이후 G<T≤0℃를 가진 온도(T)로 보관된다.
음료 용기 또는 베슬은 0℃ 아래로 냉각되도록 음료들의 저장 및 운송에 적절한 베슬이다.
얼음 몰딩들은 동결된 물일 수 있고, 따라서 생성에 대한 응답의 형상이 되었을 수 있는 물 얼음일 수 있다. 형상은 임의적일 수 있다. 그러나, 이 성질은, 얼음 몰딩들이 음료 용기의 개구를 통해 도입될 수 있도록 한다. 얼음 몰딩들은 예컨대 세장형 원통들 또는 원뿔들 또는 정육면체들의 형상을 가질 수 있다.
음료 액체는 예컨대 알코올 또는 비-알코올 물-기반 음용가능 액체, 예컨대 상이한 주스(juice)들 및/또는 알코올 물질들을 가진 칵테일 혼합물이다. 알코올 물질들은 0℃ 아래로 용융 점(음료 액체의 동결 점)을 낮추는 것을 초래한다. 비-알코올 음료의 경우에는 부동액, 예컨대 글리세린을 포함한다. 이는, 얼음 조각들이 이후에 완전히 충전되는 음료 용기의 음료 액체에서 느슨하게 스위밍(swim)하든 또는 바닥에 고정되어 동결되든, 병입 프로세스에 대한 응답으로 시퀀스를 통해 영향을 받는다.
음료 액체에서, 알코올은 적어도 에탄올 및/또는 글리세린에 의해 형성될 수 있다. 구어체로, 알코올을 가지는 칵테일과 알코올이 없는 칵테일 사이에 종종 구별이 이루어진다. 원칙적으로, "알코올을 가진" 칵테일들은 인간을 취하게 하는 효과를 가진 에탄올을 포함한다. 원칙적으로, "알코올이 없는" 칵테일들은 어떠한 알코올도 포함하지 않는다. 그러나, 화학적 양상으로부터, 에탄올 및 글리세린 둘 모두는 알코올들이다. 구어체적으로 지칭되는 "알코올을 가진 칵테일"이 이제 베슬 내에 병입되면, 에탄올을 음료 액체에 부가하는 것만이 이루어질 수 있다. 반대로, 구어체적으로 지칭되는 "알코올이 없는 칵테일"이 음료 용기에 병입되면, 인간을 취하게 하는 효과를 가지지 않는 글리세린이 부가될 수 있다. 글리세린은 많은 음식들에서 발견될 수 있고 무해하다. 따라서, 음료들, 예컨대 알코올을 가진 그리고 알코올이 없는 그리고 하나 또는 그 초과의 얼음 몰딩들을 포함하는 칵테일들은 설명된 방법에 의해 생성될 수 있다.
처음에 하나의 얼음 몰딩 그리고 이어서 음료 액체가 < 0℃의 온도에서 음료 용기에 부가되면, 얼음 몰딩들은 베슬의 바닥에 부착될 수 있고 음료 액체가 부가될 때 최상부로 스위밍하지 않는다. 얼음 몰딩을 음료 용기에 부가하는 것에 대한 응답으로, 상기 얼음 몰딩은 베슬의 바닥으로 떨어져 바닥을 터치한다. 원칙적으로, 음료 용기의 바닥은 0℃보다 더 높은 온도, 예컨대 실온을 가지며, 따라서 외측 상의 얼음 몰딩을 약간 용융시킨다. 얼음 몰딩은 거의 0℃의 용융 온도를 가진다. 표면상의 용융에 대한 응답으로, 얼음 몰딩과 더 따뜻한 바닥 사이에 수막이 생성된다. 이어서, 액체 음료 액체는 < 0℃의 온도에서 음료 용기에 부가된다. 0℃보다 더 차가운 온도에도 불구하고, 물-기반 음료 액체는 액체인데, 그 이유는 알코올 함량이 음료 액체의 동결 점을 낮추기 때문이다. 동결 점은 예컨대 7℃이다. 차가운 액체는 얼음 몰딩과 베슬 바닥 사이에 이미 생성된 수막뿐 아니라 용융된 얼음 몰딩의 표면을 다시 동결시킨다. 이에 의해, 얼음 몰딩은 베슬 바닥과 연결부를 형성하여, 상기 얼음 몰딩은 바닥에 부착된다. 이어서, 음료 용기 및 이에 따른 병입된 음료는 음료 액체의 동결 점과 얼음 몰딩의 동결 점 사이의 온도, 따라서 예컨대 0과 -7℃ 사이의 온도에서 유지될 수 있다. 음료 액체는 액체로 음용될 준비가 되어 있고; 얼음 몰딩은 동결되고 베슬 바닥에 단단히 부착된 채로 있는다.
반대로, 음료 액체가 처음에 < 0℃의 온도에서 음료 용기에 부가되고 이어서 적어도 하나의 얼음 몰딩이 음료 용기에 도입되면, 얼음 몰딩들은 서로 그리고 또한 베슬 바닥에 부착되지 않고, 음료 액체에서 자유롭게 스위밍한다. 음료 용기에 부가된 음료 액체는 또한 여기서 그 자신의 동결 점 위이고 0℃ 아래의 온도를 가질 수 있다. 이어서, 물 얼음 몰딩들은 그 자신의 동결 점보다 더 차가운 액체에 부가된다. 얼음 몰딩들의 표면은 용융되지 않는다. 얼음 몰딩은 완전히 동결된 채로 있고 수막은 또한 그 자신의 표면상에 형성될 수 없다. 결과로서, 얼음 몰딩은 수막을 통해 음료 용기의 다른 얼음 몰딩 또는 벽 또는 바닥에 각각 간접적으로 또는 직접적으로 연결될 기회를 가지지 못한다. 모든 부가된 얼음 몰딩은 음료 액체 내에서 분리되어 있을 수 있고 그 내부에서 자유롭게 스위밍할 수 있다. 이런 대안적인 실시예의 경우에, 동결 점 차이는 또한 부착들을 효과적으로 회피하기 위해 크다. 음료 용기의 폐쇄 이후, 음료 용기 및 따라서 병입된 음료는 음료 액체의 동결 점과 얼음 몰딩의 동결 점 사이의 온도에서 유지될 수 있다. 이어서, 음료 액체는 액체로 있고 음용될 준비가 되어 있다. 따라서, 얼음 몰딩들은 동결된 상태에서 고체인 채로 있는다.
0℃ 위의 온도, 즉 물 얼음의 동결 점에서 액체 음료 액체를 충전하는 것이 또한 가능하다. 예컨대, 액체 음료 액체가 0℃ 이하로 냉각될 때까지 최대 30%의 얼음 조각들이 용융되면, 이는 여전히 허용가능하다. 이어서, 물로 변환되는 이런 액체는 액체 음료 액체를 희석하지만, 액체 음료 액체는 대응하는 더 높은 농도로 미리 병입될 수 있다.
충전 전에, 빈 음료 용기는 처음에 음료 액체의 동결 점(G)과 0℃ 사이의 온도(T)로 냉각될 수 있다. 음료 액체가 먼저 음료 용기에 부가되면, 처음에는 아마도 베슬 벽을 통해 0℃ 위로 가열될 수 없고, 이는 얼음 몰딩이 부가되는 포인트에서 회피될 수 있어서, 얼음 몰딩은 용융되지 않는다. 얼음 몰딩을 부가하는 것에 대한 응답으로, 음료 액체는 0℃ 이하의 온도를 가져야 한다. 이것은 특히, 음료 액체로 충전하기 전에 빈 베슬이 처음에 음료 액체의 동결 점(G)과 0℃ 사이의 온도(T), 다른 말로 따라서 물의 동결 점 아래로 냉각되는 지지 방식으로 회피될 수 있다.
음료 용기는 또한 동결 점(G)보다 더 차갑게 냉각될 수 있다. 이어서, 음료 액체는 또한 베슬 벽에 동결된다. 병이 그의 특정 열 용량의 결과로서 음료 액체로부터 에너지를 제거할 수 있기 때문에, 최대로 많은 액체가 동결될 수 있다. 반대로, 얼음 몰딩이 먼저 음료 용기에 부가되면, 상기 얼음 몰딩은 0℃보다 더 차가운 용기 바닥으로 떨어진다.
얼음 몰딩들을 부가할 때, 액체 물의 양은 음료 용기의 바닥을 커버하는 T > 0℃의 온도에서 부가될 수 있다. 얼음 몰딩의 동결 점 아래로 0℃ 아래로 냉각된 베슬 바닥과 조합하여, 음료 용기의 바닥에 얼음 몰딩을 연결하기 위한 빠르고 신뢰성 있는 옵션이 설정된다. 차가운 용기 바닥은 그 위에 부가된 물이 동결하는 것을 허용하고 또한 거기에 부가된 얼음 몰딩들을 동결시킨다. 결과로서, 얼음 몰딩들은 부가된 동결된 물 층을 통해 베슬 바닥에 견고하게 간접적으로 연결된다.
액체 음료 액체를 부가하기 전에, 적어도 하나의 얼음 몰딩으로 충전된 음료 용기는 처음에 음료 액체의 동결 점(G)과 0℃ 사이의 온도(T)로 냉각될 수 있다. 얼음 몰딩들과 베슬 사이의 연결은 2개의 동결 점들 사이의 온도로 이런 냉각에 의해 희석되고 안정화된다. 연결은 냉각되고 경도를 획득한다. 이어서, 음료 액체는 단지 이 단단한 연결에 부가된다.
얼음 몰딩들 및 음료 액체로 충전되고 그리고 폐쇄되는 음료 용기는 얼음 몰딩들의 용융 점(0℃)과 음료 액체의 용융 점(G) 아래의 온도로 냉각될 수 있다. 이후, 특히 소비를 위한 준비 바로 전에, 음료 용기는 음료 액체의 동결 점(G)과 0℃ 사이의 온도(T)로 가열될 수 있다.
더 긴 저장 수명 또는 운송 루트의 부분들을 위해, 음료는 음료 액체의 동결 점(G0 아래의 온도들로 고체로 동결될 수 있다. 이런 단단하게 동결된 상태에서, 음료 액체 및 얼음 몰딩들 둘 모두는 동결된 고체 상태에 있다. 이후, 예컨대 소비를 위해 제공되기 바로 전 위치에서, 음료는 음료 액체의 2개의 동결 점들(G)과 0℃ 사이의 저장 온도로 보관될 수 있다. 이어서, 음료 액체는 다시 용융되고 액체로 된다. 이어서, 약간의 시간 이후, 음료 액체의 온도는 동결 점(G)과 0℃ 사이일 것이다. 그러나, 0℃ 아래, 즉 얼음 몰딩들의 동결 점의 이런 온도에서, 얼음 몰딩들은 동결된 상태인 채로 있고 또한 서빙될 때 얼음 몰딩들로 인식된다. 바닥에 동결된 얼음 몰딩들을 포함하는 음료, 및 스위밍하는 얼음 몰딩들을 포함하는 음료 둘 모두는 완전 동결에 적절하다.
본원에 설명된 실시예에서 음료 용기 내의 음료를 제조하기 위한 방법의 경우 또는 다른 실시예들의 경우, 특히 테이퍼링 용기 개구를 가진 음료 용기의 실시예의 경우 음료 용기에 적어도 하나의 얼음 몰딩을 삽입하기 위한 장치가 사용될 수 있고, 상기 장치는 단부-측 출구를 포함하는 얼음 몰딩들을 위한 적어도 하나의 안내 디바이스 및 안내 디바이스의 출구 및 용기 개구를 서로에 관해 배향시키는 포지셔닝 디바이스를 가진다. 따라서, 대안적인 실시예들에서 상이한 방법 설계들로 충전하는데 사용될 수 있는 적어도 하나의 얼음 몰딩을 삽입하기 위한 장치가 생성된다. 일 실시예에서, 음료 용기를 포함하는 어레인지먼트 및 하나의 음료 용기에 적어도 하나의 얼음 몰딩을 삽입하기 위해 할당된 장치가 생성된다.
용기 개구를 수용할 수 있고 이를 정의된 포지션에 고정할 수 있는 포지셔닝 디바이스는 깔때기를 가질 수 있다. 진동 디바이스는 안내 디바이스 및/또는 포지셔닝 디바이스 상에 제공될 수 있다. 안내 디바이스는 관류(through flow) 냉각기 원리의 얼음-제조 디바이스로서 성형화될 수 있고 적어도 하나의 전단 엘리먼트를 포함하는 분리 디바이스를 가질 수 있으며, 전단 엘리먼트는 얼음-제조 디바이스의 출구에서 안내된다. 전단 엘리먼트는 얼음-제조 디바이스의 출구에 직접 인접하게 안내될 수 있다. 다음 얼음 몰딩이 얼음의 출구 얼음 스트랜드(strand)로부터 편향되기 전의 대기 시간에 따라, 얼음 몰딩의 길이가 가변될 수 있다. 얼음 스트랜드로부터 얼음 몰딩의 분리는 분리 디바이스에 의해 수행된다. 이 목적을 위해, 분리 디바이스는 전단 엘리먼트를 가지며, 전단 엘리먼트는 분리 디바이스의 출구 상으로 안내된다. 전단 엘리먼트는 얼음 스트랜드를 전단시키도록 구현되고 ― 따라서 상응하여 각각 포인팅(point)되거나 날카로운-에지형으로 성형화된다. 따라서, 전단 엘리먼트가 분리 디바이스의 출구 상으로 안내될 때, 분리된 얼음 몰딩의 포지션 및 배향이 전단력들에 의해 거의 영향을 받지 않고 용기 개구로 삽입될 때 얼음 몰딩이 거의 캔팅(cant)되지 않는 것이 보장될 수 있다.
안내 디바이스는 관류 냉각기 원리를 가진 얼음-제조 디바이스로서 구현될 수 있고 적어도 하나의 전단 엘리먼트를 포함하는 분리 디바이스를 가질 수 있으며, 전단 엘리먼트는 용기 개구 상으로 안내된다. 얼음 몰딩은, 용기 개구로 이미 약간 삽입된 이후, 이 경우 용기 개구의 부근에서 얼음의 스트랜드로부터 전단될 수 있다. 용기 개구에 삽입된 얼음 몰딩은 이미 용기 개구의 벽에 의해 안내되고 용기 개구 바로 위에서 전단될 때 캔팅될 가능성이 거의 없다.
전단 엘리먼트는 얼음-제조 디바이스를 떠나는 얼음 스트랜드에 미리결정된 절단 점의 높이에서 안내될 수 있다. 제2 전단 엘리먼트가 제1 전단 엘리먼트에 대향하여 위치되는 것이 이루어질 수 있다.
얼음-제조 디바이스는 냉각 실린더를 가질 수 있고, 여기서 얼음의 스트랜드가 생성되고, 냉각 실린더는 물을 충전하기 위한 입구 및 얼음 스트랜드를 배출하기 위한 출구를 가진다. 냉각 실린더를 통한 얼음 스트랜드의 정의된 공급은 한편으로 그런 얼음-제조 디바이스에 의해 보장될 수 있고, 다른 한편으로 떠나는 얼음의 스트랜드는 그 방향과 출구 속도와 관련하여 안내된다. 냉각 실린더의 출구는 떠나는 얼음 스트랜드를 중심에 맞추기 위해, 예컨대 용기 개구를 중심에 맞추기 위해 용기 개구에 관하여 포지셔닝될 수 있다.
안내 디바이스는 복수의 분리된 또는 분할된 얼음 몰딩 챔버들을 포함하는 매거진(magazine)으로 구현될 수 있다. 그런 매거진은 예컨대 복수의 얼음 몰딩 챔버들을 가질 수 있고, 복수의 얼음 몰딩 챔버들은 서로 분리되고 그 내부에서 개별 얼음 몰딩들이 동결된다. 이어서, 각각의 얼음 몰딩 챔버는 동결되어 형성된 얼음 몰딩을 포함한다. 얼음 몰딩은 그 챔버에서 안내된다.
미리결정된 절단 점에서 전단은 실질적으로 편평한 절단 또는 전단 표면을 제공할 수 있다. 편평한 절단 표면은 용기 개구로 다음에 삽입되고, 더 작은 콘택 표면을 가진 뒤따르는 얼음 몰딩을 제공하고 따라서 또한 뒤따르는 얼음 몰딩의 캔팅 가능성을 감소시킨다. 뒤따르는 얼음 몰딩은 제1 얼음 몰딩을 잡을 수 없다.
안내 디바이스는 슈트(chute)를 가질 수 있고, 얼음 몰딩은 경사진 슈트를 따라 용기 개구로 슬라이딩할 수 있다. 그런 실시예의 경우에, 개별 얼음 몰딩들은 입구 측 상의 슈트 상으로 전달될 수 있고, 이어서 개별 얼음 몰딩들은 정의된 방향으로 정의된 속도로 슈트 상으로 안내되고 그리고 슈트의 출구 측 상에서, 정의된 임펄스를 가지며, 이 임펄스는, 그 위치에서 캔팅 없이 얼음 몰딩이 용기 개구로 자유롭게 삽입될 수 있는 방식으로 용기 개구의 포지셔닝에 대응한다. 따라서, 다른 말로, 슈트는, 얼음 몰딩이, 용기 개구 내부에서 캔팅하지 않을 것 같은 방향으로 안내되는 예비 방식을 보장한다.
안내 디바이스는 깔때기를 가질 수 있고, 깔때기에서 얼음 몰딩은 용기 개구를 향해 안내된다. 깔때기는 병목을 잡고 그리고 병을 깔때기에 밀어 넣을 때 정의된 방식으로 깔때기 출구 상에서 원뿔형 테이퍼링 벽들을 따라 병목을 중심에 맞추도록 하는 것을 가능하게 한다. 깔때기로 밀려진 이후, 각각의 병은 깔때기 출구에 관해 동일한 포지션을 가진다. 이 실시예의 경우에, 깔때기는 슈트에 관해 설명된 바와 같이, 움직임 방향 및 움직임 속도에 관해 얼음 몰딩을 배향시키는 기능을 가질 수 있어서, 용기 개구로 자유롭게 슬라이딩할 수 있다. 깔때기를 사용함으로써, 이것은, 깔때기 출구가 용기 개구 위 또는 심지어 부분적으로 내부에 배열된다는 점에서 구현될 수 있다.
얼음 몰딩의 캔팅 없이 용기 개구로 신뢰성 있는 삽입은 적어도 하나의 얼음 몰딩을 테이퍼링 용기 개구를 포함하는 음료 용기들에 삽입하기 위한 장치에 의해 달성될 수 있다. 원칙적으로, 얼음 몰딩의 실시예는 임의적이다. 한편으로, 얼음 몰딩은 얼음 조각들일 수 있지만, 다른 한편으로 얼음 몰딩은 종종 또한 원통형 세장형 얼음 몰딩들일 수 있다. 이들 원통형 얼음 몰딩들의 길이는 이에 의해 가변할 수 있다. 얼음은 예컨대 물을 기반하여 만들어진다.
이들 얼음 몰딩들 중 하나 또는 그 초과는 테이퍼링된 용기 개구를 통해 음료 용기로 삽입된다. 음료 용기는 예컨대 0℃보다 더 차가운 음료 액체들을 수용하기에 적절한 병 또는 통, 이를테면 요크루트 통들 또는 피클 통들일 수 있다.
얼음 몰딩을 위한 안내 디바이스는 특히, 얼음 몰딩이 캔팅 없이 용기 개구 내로 삽입될 수 있도록, 음료 용기의 외측 테이퍼링된 용기 개구를 향하는 방향으로 물 얼음 몰딩을 안내하는 목적을 서빙한다. 일 실시예에서, 안내 디바이스 단부-측 출구를 가진다. 얼음 몰딩은 이 출구에서, 즉 정의된 포지션 및 정의된 임펄스(이에 따라 방향 및 속도 성분)로 안내 디바이스로부터 떠난다. 다른 말로, 안내 디바이스는, 그 단부-측 출구에서 얼음 몰딩이 정의된 속도에서 정의된 방향으로 떨어지도록 방출되는 것을 보장할 것이다. 따라서, 포지셔닝 디바이스와 관련하여, 테이퍼링된 용기 개구로 얼음 몰딩의 캔팅-없는 삽입이 보장될 수 있다. 포지셔닝 디바이스는, 안내 디바이스 및/또는 용기 개구가 예컨대 서로의 전면 중심에 위치할 때까지 서로를 향해 이동된다는 점에서, 안내 디바이스의 출구와 용기 개구 사이에 상대적 포지셔닝을 생성할 수 있다.
진동 디바이스는 안내 디바이스 또는 이의 출구 또는 포지셔닝 디바이스를 각각 진동들로 세팅할 수 있다. 얼음 몰딩이 테이퍼링된 용기 개구에 삽입되는 것에 대한 응답으로 캔팅하면, 얼음 몰딩은 진동들에 의해 안내 디바이스 및/또는 포지셔닝 디바이스를 통해 진동 디바이스로부터의 진동들에 의해 흔들려짐으로써 자유롭게 될 수 있고 이어서 오퍼레이터에 의한 수동 업무를 요구함이 없이 여전히 용기 개구로 이동할 수 있다.
얼음-제조 디바이스가 용기 개구를 가진 포지셔닝 디바이스에 의해 안내 디바이스로서 배향된 이후에, 얼음-제조 디바이스로부터 떠나는 얼음의 스트랜드는 천천히 용기 개구로 이동한다. 따라서, 얼음 몰딩이 얼음 스트랜드로부터 전단될 때, 얼음 몰딩은 이미 테이퍼링된 용기 개구 약간 내부에 위치되고 용기 개구의 벽과의 콘택의 결과로서 캔팅에 대해 특정 안정성을 가진다. 얼음-제조 디바이스의 출구 상으로 전단 엘리먼트를 안내함으로써, 분리된 얼음 몰딩에 작용하는 전단력은 감소될 수 있다.
추가 예시적인 실시예들은 도시된 도면들을 참조하여 아래에서 더 상세히 설명될 것이다.
도 1은 베슬 바닥이 단단히 부착된 얼음 몰딩들을 포함하는 병입된 음료를 도시한다.
도 2는 얼음 몰딩들을 베슬 바닥에 부착하기 위한 방법을 도시한다.
도 3은 자유롭게 스위밍하는 얼음 몰딩들을 포함하는 병입된 음료를 도시한다.
도 4는 자유롭게 스위밍하는 방식으로 얼음 몰딩들을 도입하기 위한 방법을 도시한다.
도 5는 관류 냉각기 원리의 얼음 제조 디바이스를 포함하는 음료 용기에 물 얼음 몰딩들을 도입하기 위한 장치의 개략적인 예시를 단면으로 도시한다.
도 6은 복수의 얼음 몰딩 챔버들을 포함하는 선형으로 시프트가능 매거진을 포함하는 음료 용기에 물 얼음 몰딩들을 도입하기 위한 추가 장치의 개략적인 예시를 단면으로 도시한다.
도 7은 경사진 슈트를 포함하는 음료 용기에 물 얼음 몰딩들을 도입하기 위한 다른 장치의 개략적인 예시를 단면으로 도시한다.
도 8은 깔때기를 포함하는 음료 용기에 물 얼음 몰딩들을 도입하기 위한 또 다른 장치의 개략적인 예시를 단면으로 도시한다.
도 1은 음료를 운송하기 위해 폐쇄가능 병으로서 여기에서 구현된 음료 용기 또는 베슬(11)을 도시한다. 충전 레벨(13)까지 음료 용기(11) 내로 충전되는 액체 알코올 또는 비-알코올 음료 액체(12)는 음료 용기(11) 내에 위치된다.
물을 사용한 생성의 결과로서, 또한 물 얼음 몰딩들로서 식별될 수 있는 얼음 몰딩들(15)은 베슬 또는 용기 바닥(14)에 부착된다. 얼음 몰딩들(15)은 여기서 원통형 얼음 조각들로서 구현되고, 얼음 조각들은 병목에 맞추어진다. 얼음 몰딩들(15)은 베슬 바닥(14)에 부착될뿐 아니라, 서로 부착된다. 따라서, 다른 말로, 고체 얼음 덩어리 형성물이 베슬 바닥(14)에 생성되고, 고체 얼음 덩어리 형성물은 예컨대 음료 용기(11)가 뒤집어지더라도 베슬 바닥(14)에 부착된다.
도 2는 도 1에 따른 음료를 생성하기 위한 방법에 대한 개략적인 예시를 도시한다. 먼저, 단계(21)에서 충전될 베슬이 준비된다. 원칙적으로, 이것은 T > 0℃의 온도들, 특히 실온에서 발생한다.
이 다음, 단계(23)에서 얼음 몰딩들은 음료 용기로 도입된다. 물의 얼음 몰딩들이 동결된다는 사실로 인해, 얼음 몰딩들은 동결 점 = 0℃의 용융 점을 가진다. 얼음 몰딩들의 표면상에서, 얼음 몰딩들이 더 따뜻한 베슬의 결과로서 용융될 것이다. 얼음 몰딩들과 베슬(11) 사이에 수막이 생성된다. 충전되는 것에 대한 응답으로, 얼음 몰딩들은 또한 이미 자신의 표면 상에 수막을 가질 수 있다.
이후에, 단계(25)에서 음료 용기는 음료 액체의 동결 점(G)과 0℃ 사이의 온도(T)로 냉각될 수 있다. 이에 의해 이미 생성된 수막은 동결되고 얼음 몰딩들은 베슬에 동결된다.
이런 애플리케이션의 범위들의 임계 값들(여기서 G 및 섭씨 0도)도 또한 각각의 경우에 도달될 수 있다.
음료 용기(11)는 또한 동결 점(G)보다 더 차갑게 냉각될 수 있다. 이어서, 음료 액체는 또한 베슬 벽에 동결된다. 병이 그의 특정 열 용량의 결과로서 음료 액체로부터 에너지를 제거할 수 있기 때문에, 최대로 많은 액체가 동결될 수 있다.
단계(26)의 대기 시간 이후, 단계(27)에서 음료 액체는 음료 용기에 부가된다. 부가된 음료 액체의 온도는 이의 동결 점(G)과 0℃ 사이에 놓인다.
결과로서, 이것은, 음료 액체가 0℃의 동결 점을 가진 얼음 몰딩들을 계속 냉각하고, 이들을 동결된 채로 유지하는 것을 의미한다. 더 차가운 음료 액체는, 얼음 몰딩들이 자신의 표면에서 용융을 시작되는 것을 방지한다.
계속적인 냉각을 달성하기 위해, 단계(28)에서 2개의 동결 점들 사이의 온도에서 또는 2개의 동결 점들과 동일한 온도에서 저장 냉각이 수행된다.
선택적인 단계(24)에서 베슬 바닥을 커버하는 상당한 양의 액체 물은 > 0℃ 온도에서 부가된다.
물 부가의 시점은 얼음 몰딩들의 부가와 가깝다. 물의 액체 양의 부가는 얼음 몰딩들의 부가와 동시에 발생할 수 있지만, 또한 얼음 몰딩들의 부가 직전 또는 직후에 발생할 수 있다.
얼음 몰딩들이 부가되기 전에 물의 액체 양이 동결되지 않는 것이 필수적이다. 이것은, 이어서 전체 단위가 < 0℃의 온도로 냉각될 때, 물의 액체 양이 얼음 몰딩들을 실제로 바인더(binder)로서 베슬에 동결시키기 때문에, 그러하다.
단계(22)에서 음료 용기가 먼저 선택적으로 음료 액체의 동결 점(G)과 0℃ 사이의 온도(T)로 사전 냉각될 때, 단계(24)에서 부가된 물의 액체 양은, 단계(25)에서와 같이, 다운스트림 냉각을 요구하지 않고, 얼음 몰딩들과 베슬 사이에서 비교적 빠르게 동결된다. 그러나, 그렇지 않더라도 단계(25)에서의 이런 다운스트림 냉각은 또한 여전히 수행될 수 있다.
음료 용기는 또한 동결 점(G)보다 더 차갑게 냉각될 수 있다. 이어서, 음료 액체는 또한 베슬 벽에 동결된다. 병이 그의 특정 열 용량의 결과로서 음료 액체로부터 에너지를 제거할 수 있기 때문에, 최대로 많은 액체가 동결될 수 있다.
그러나, 사전 냉각이 단계(22)에서 발생되었다면, 단계(24)로부터 단계(26)로 대기 단계를 직접 스킵할 수 있다.
도 3은 내부에서 스위밍하는 2개의 얼음 몰딩들을 포함하는 병입된 음료를 도시한다. 음료 용기(31)는 운송되기에 적절한 폐쇄가능 방식, 예컨대 병으로 구현된다. 액체 음료 액체(32)는 상태 레벨(33)까지 베슬(31) 내에 위치된다. 얼음 몰딩들(35)은 여기서 액체 음료 액체(32)에서 자유롭게 스위밍한다. 얼음 몰딩들(35)은 베슬 바닥에 연결되지 않고 또한 서로 동결되지 않는다. 얼음 몰딩들(35)은 음료 액체(32)에서 완전히 자유롭게 스위밍한다.
도 4는 도 3에 따른 음료를 생성하기 위한 방법에 대한 개략적인 예시를 도시한다.
먼저, 단계(41)에서 음료 용기는 T > 0℃의 온도에서 충전되도록 준비된다. 원칙적으로, 병입은 실온에서 발생한다. 단계(42)에서, 음료 용기는 단계(42)에서 음료 액체의 동결 점(G)과 0℃ 사이의 온도로 선택적으로 사전 냉각될 수 있다.
음료 용기(31)는 또한 동결 점(G)보다 더 차갑게 냉각될 수 있다. 이어서, 음료 액체는 또한 베슬 벽에 동결된다. 병이 그의 특정 열 용량의 결과로서 음료 액체로부터 에너지를 제거할 수 있기 때문에, 최대로 많은 액체가 동결될 수 있다. 그러나, 이것은 선택적이다. 또한 단계(41)로부터 단계(43)로 직접 스킵할 수 있다. 단계(43)에서 음료 액체는 자신의 동결 점(G)과 0℃ 사이의 온도(T)에서 충전된다.
이어서, 단계(44)에서, 얼음 몰딩들은 음료 용기에 부가되고, 음료 용기 내에서 음료 액체는 이미 < 0℃의 온도(얼음 몰딩들의 동결 점)에 위치된다.
냉각 조건들을 확보하기 위해 계속적인 냉각을 보장하도록, 단계(45)에서 2개의 동결 점들 사이의 온도에서 또는 2개의 동결 점들과 동일한 온도에서 저장 냉각이 수행된다.
냉각 조건들에 따라, 음료 액체가 실온-따뜻한 베슬에 의해 > 0℃의 온도로 가열되는 것을 회피하기 위해, 선택적인 사전 냉각 단계(42)를 삽입하는 것이 편리할 수 있다. 이것은, 얼음 몰딩들의 표면에서 얼음 몰딩들의 용융을 회피하기 위해 가능하다면 회피되어야 한다. 얼음 몰딩들이 부가된 시간에 베슬에 이미 위치된 0℃보다 더 차가운 온도를 가진 음료 액체는, 얼음 몰딩들의 표면이 용융되는 것을 효과적으로 방지한다. 따라서, 얼음 몰딩들은 서로 또는 베슬 벽에 동결될 기회를 가지지 못한다. 결과로서, 얼음 몰딩들은 이런 대안적인 실시예의 경우에 음료 액체 내에서 서로 분리되어 자유롭게 스위밍하도록 분리된 채로 있는다.
도 5는 물 얼음 몰딩들(51)을 테이퍼링 용기 개구(53)를 포함하는 음료 용기(52)에 도입하기 위한 장치(50)의 개략적인 예시를 도시한다. 관류 냉각기 원리(54)의 얼음-제조 디바이스는 물 얼음 몰딩들(51)에 대한 안내 디바이스로서 역할을 한다. 액체 물은 얼음-제조 디바이스(54)의 입구(55)에 도입되고 얼음-제조 디바이스(54) 내에서 동결 점 아래의 온도로 냉각되어, 얼음의 스트랜드가 출구(56)에서 떠난다. 얼음 몰딩(2)은 여기서 얼음 스트랜드로부터 분리된다.
얼음 스트랜드로부터 얼음 몰딩(51)의 분리는 2개의 대향 전단 엘리먼트들(57, 58)에 의해 발생하고, 2개의 대향 전단 엘리먼트들(57, 58)은 양 측들에서 얼음 스트랜드로부터 얼음 몰딩(51)을 분리시킨다. 전단 엘리먼트들(57, 58)은 화살표 방향으로 얼음의 스트랜드에 대해 수직으로 이동하고 이에 반경 방향으로 수직 분리력을 가한다. 이들은 실제로 플라이어(plier)들처럼 작용하고 얼음의 스트랜드를 쥐어짠다. 서로 대향하는 전단 엘리먼트들(57, 58)의 어레인지먼트의 결과로서, 2개의 압력 점들 사이에 중간에 편평한 절단 표면이 생성된다. 이것은 위에서-설명된 캔팅 보호를 제공한다.
여기서 얼음-제조 디바이스 형태의 안내 디바이스는 포지셔닝 디바이스(59)에 연결된다. 포지셔닝 디바이스(59)는 여기서 단면으로 예시되고 깔때기로서 구현된다. 내부에는 깔때기 헤드를 가지며, 깔때기 헤드는 충전될 음료 용기(52)의 방향으로 개방된다. 충전에 대한 응답으로, 여기서 병 형태의 음료 용기(52)는 이 예에서 아래로부터 포지셔닝 디바이스(59)에 대해 밀려지고, 여기서 병목 형태의 테이퍼링된 용기 개구(53)는 아래로부터 포지셔닝 디바이스(59)의 깔때기 헤드로 밀려지고, 따라서 테이퍼링된 용기 개구(53)의 축은 깔때기 축과 중심이 맞춰진다.
따라서, 얼음-제조 디바이스(54)의 출구(56)가 또한 포지셔닝 디바이스(59)의 깔때기 축에 중심이 맞춰지도록 배열된다는 사실로 인해, 얼음-제조 디바이스(54)의 출구(56)의 축은 테이퍼링된 용기 개구(53)의 축과 중심이 맞추어지고, 이에 의해 포지셔닝 디바이스(59)는 얼음-제조 디바이스(54)의 출구(55)와 테이퍼링된 용기 개구(53)를 서로에 관해 배향시키는 임무를 수행한다. 결과로서, 이어서, 얼음-제조 디바이스(54)의 출구(56)로부터 나오는 얼음의 스트랜드는 일종의 경사진 전단력 및 이에 따른 캔팅을 경험하지 않고 테이퍼링된 용기 개구(53)로 정확하게 이동한다. 전단 엘리먼트들(57, 58)은 얼음 몰딩(51)을 얼음의 스트랜드로부터 전단하고, 이어서 얼음 몰딩은 음료 용기(52)로 자유롭게 떨어질 수 있다. 이어서, 테이퍼링된 용기 개구(53)는 다시 다음 얼음 몰딩에 대해 자유롭다.
도 6은, 안내 디바이스가 복수의 분리된 얼음 몰딩 챔버들(61)을 포함하는 매거진(60)으로 구현되는 경우에, 물 얼음 몰딩들(51)을 음료 용기(52)에 도입하기 위한 추가 장치의 개략적인 예시를 도시한다. 배출 메커니즘에 의해 얼음 몰딩 챔버들(61)으로 밖으로 운반될 수 있는 동결된 얼음 몰딩들은 얼음 몰딩 챔버들(61) 내부에 위치된다.
얼음 몰딩들(51)이 캔팅 없이 테이퍼링된 용기 개구(53)로 슬라이딩할 수 있도록, 여기서 깔때기 형태의 포지셔닝 디바이스(59)는 얼음 몰딩 챔버(61)로의 테이퍼링된 용기 개구(53)의 배향을 보장하고, 이로부터 얼음 몰딩은 전달되고 음료 용기(52)로 전달될 것이다.
깔때기-형상 포지셔닝 디바이스(59)는 이 목적을 위해, 위에서 설명된 바와 같은 여기서 병목 형태의 테이퍼링된 용기 개구(53)를 포지셔닝할 수 있다. 이어서, 얼음 몰딩 챔버들(61)을 포함하는 매거진(60)은, 얼음 몰딩 챔버의 축이 포지셔닝 디바이스(59)의 깔때기의 축에 또는 테이퍼링된 용기 개구(53)와 각각 대응하는 방식으로 포지셔닝 디바이스(59)에 관해 포지셔닝된다. 이어서, 얼음 몰딩이 중심이 맞춰진 얼음 몰딩 챔버(61)로부터 전달되면, 얼음 몰딩은 캔팅 없이 테이퍼링된 용기 개구(53)로 슬라이딩할 수 있다.
이어서, 매거진(60)은, 자신의 중심 축을 가진 다음 인접한 얼음 몰딩 챔버(61)가 다시 테이퍼링된 용기 개구(53)의 중심 축에 대응할 때까지 화살표 방향(H)을 따라 수평으로 시프트된다. 이제 중심이 맞춰진 이런 얼음 몰딩 챔버(61) 내에 위치된 얼음 몰딩은, 한편으로는 포지셔닝 디바이스(59) 아래에 여전히 포지셔닝된 음료 용기(52) 내로 삽입될 수 있다. 그러나, 다른 한편으로, 포지셔닝 디바이스(59) 아래에 포지셔닝된 음료 용기(52)는 중간에 교환될 수 있고, 이어서 얼음 몰딩 챔버(61) 내에 위치된 얼음 몰딩은 새로운 음료 용기 영역(52)에 삽입된다.
이어서, 매거진(60)은, 다음 얼음 몰딩 챔버(61)의 중심 축이 테이퍼링된 용기 개구(53)의 중심 축에 관하여 중심이 맞추어질 때까지, 화살표 방향(H)을 따라 하나의 얼음 몰딩 챔버(61)까지 추가로 이동된다. 개별 얼음 몰딩 챔버들(61)은 이 예시적인 실시예에서 매거진(60)에 의해 결합되고, 그리고 각각 포지셔닝 디바이스(10)를 지나 또는 용기 개구(53)를 지나 안내된다. 그러나, 용기 개구(53)를 지나 개별 얼음 몰딩 챔버들(61)의 안내는 또한, 개별 얼음 몰딩 챔버들이 체결되는 예컨대 순환 체인에 의해 발생할 수 있다.
도시된 매트릭스-형 매거진(11) 대신, 원형 리볼버(revolver)가 또한 예컨대 사용될 수 있다. 이어서, 상기 리볼버는 매거진(11) 같이, 병진 방식으로 배향되는 것이 아니고, 회전 배향을 경험하여야 할 것이다.
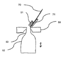
도 7은 음료 용기(52)에 물 얼음 몰딩들(51)을 도입하기 위한 다른 장치의 개략적인 예시를 도시하고, 안내 디바이스는 슈트(70)로 형성된다. 슈트(70)는 깔때기-형상 포지셔닝 디바이스(59)에 연결된다. 깔때기-형상 포지셔닝 디바이스(59)는 위에서 설명된 바와 같이, 음료 용기(52)의 테이퍼링된 용기 개구(53)를 포지셔닝할 수 있다. 깔때기-형상 포지셔닝 디바이스(59)에 연결된 슈트(70)는, 슈트(70) 상에 위치된 얼음 몰딩(51)이 정의된 움직임 방향 및 움직임 속도를 수용하는 것을 보장한다. 슈트(70) 및 포지셔닝 디바이스(59)의 연결은, 슈트(70)의 출구가 포지셔닝 디바이스(59)의 깔때기로 인도되어, 슈트(70) 아래로 슬라이딩하는 얼음 몰딩(51)이 슈트(70)의 출구에서 포지셔닝 디바이스(59)의 깔때기-형상 리세스로 슬라이딩하는 방식으로 구현된다.
이것은, 이어서 얼음 몰딩(51)이 그 아래에 포지셔닝되는 테이퍼링된 용기 개구(53)로 삽입될 수 있는 결과를 가진다. 그 위에 위치된 슈트(70)가 얼음 몰딩(51)에 대해 정의된 움직임 방향 및 움직임 속도를 이미 유발하였다는 사실로 인해, 얼음 몰딩은 캔팅 없이 테이퍼링된 용기 개구(53)로 그리고 테이퍼링된 용기 개구(53)를 통해 음료 용기(52)로 슬라이딩한다.
슈트(70)를 진동들로 세팅할 수 있는 진동 디바이스(71)는 슈트(70) 상에 배열된다. 차례로, 슈트(70)의 진동들은 슈트(70) 상에 위치된 얼음 몰딩(51)으로 추가로 전달된다. 진동들은, 슈트(70)에 얼음 몰딩들(51)의 부착이 감소될 수 있고, 그럼에도 불구하고 얼음 몰딩(51)이 테이퍼링된 용기 개구(53)에 도입되는 것에 대한 응답으로 캔팅되면, 이 캔팅을 해제한다는 장점을 가진다.
도 8은 음료 용기(52)에 물 얼음 몰딩들(51)을 도입하기 위한 또 다른 장치의 개략적인 예시를 도시하고, 안내 디바이스는 깔때기(80)를 가진다. 깔때기(80)는, 깔때기(80)의 테이퍼링된 깔때기 출구의 중심 축이 포지셔닝 디바이스(59)의 깔때기-형상 리세스의 중심 축에 대응하고, 따라서 또한 아래로부터 포지셔닝 디바이스(59)로 밀려지는 테이퍼링된 용기 개구(54)의 중심 축에 대응하는 방식으로 테이퍼링된 깔때기 출구에 의해 포지셔닝 디바이스(59)에 체결된다.
깔때기(80)에 배치된 얼음 몰딩(51)은 깔때기(80)에 의해 정의된 움직임 속도에서 정의된 움직임 방향으로 편향된다. 얼음 몰딩(51)은, 깔때기(80)의 출구를 통해 수직으로 슬라이딩하도록 배향될 것이다.
이어서, 깔때기(80)의 설명된 어레인지먼트로 인해, 얼음 몰딩(51)은 움직임 상태로 되고, 여기서 자유롭게 그리고 캔팅 없이 테이퍼링된 용기 개구(53)로 슬라이딩할 수 있다. 깔때기(80)를 진동들로 세팅할 수 있는 진동 디바이스(71)는 깔때기(80) 주위에 배열된다(여기서 단면으로 예시됨). 이들 진동들은 깔때기(80)에 인접하게 위치된 얼음 몰딩으로 추가로 전달되고 위에서 설명된 바와 같이, 얼음 몰딩(51)의 부착력들을 감소시킬 수 있거나 또는 각각 깔때기(80)의 출구, 또는 각각 테이퍼링된 용기 개구(53)에서의 캔팅을 해제할 수 있다.
위의 상세한 설명, 청구항들뿐 아니라 도면들에 개시된 특징들은 단독으로 그리고 임의의 조합으로 다양한 실시예들의 구현에 관련될 수 있다.
11, 31, 52 음료 용기
12, 32 액체 음료 액체
13, 33 충전 레벨
14, 34 바닥
15, 35, 51 얼음 몰딩
50 장치
53 테이퍼링된 용기 개구
54 관류 냉각기 원리의 얼음-제조 디바이스
55 입구
56 출구
57, 58 전단 엘리먼트들
59 포지셔닝 디바이스
60 매거진
61 얼음 몰딩 챔버
70 슈트
71 진동 디바이스
80 깔때기

Claims (13)

  1. 음료 용기 내의 음료를 제조하기 위한 방법으로서,
    - 충전될 음료 용기(11; 31)를 제공하는 단계;
    - 용기 개구를 통해 상기 음료 용기(11; 31)에 냉각제를 도입하는 단계 ― 상기 냉각제는 적어도 하나의 물 얼음 몰딩(water ice molding)(15; 35)을 포함함 ―;
    - 상기 용기 개구를 통해 상기 음료 용기(11; 31)에 음료 액체(12; 32)를 충전하는 단계;
    - 1회용 마개에 의해 상기 용기 개구를 폐쇄하는 단계; 및
    - 상기 충전된 음료 용기(11; 31)를 냉각 보관하는 단계
    를 포함하는,
    음료 용기 내의 음료를 제조하기 위한 방법.
  2. 제1 항에 있어서,
    상기 적어도 하나의 물 얼음 몰딩(15; 35)을 포함하는 상기 냉각제는 상기 음료 용기(11; 31)로의 상기 음료 액체(12; 32)의 충전 동안 및/또는 충전 이후 도입되는,
    음료 용기 내의 음료를 제조하기 위한 방법.
  3. 제1 항 또는 제2 항에 있어서,
    상기 충전된 음료 용기(11; 31)는 상기 음료 액체(12; 32)의 동결 점(freezing point)보다 더 높은 냉각 온도로 보관되는,
    음료 용기 내의 음료를 제조하기 위한 방법.
  4. 제1 항 내지 제3 항 중 어느 한 항에 있어서,
    상기 용기 개구는 왕관 코르크(cork), 코르크, 나사 마개, 비틀어 여는(twist-off) 마개, 클립 마개, 및 고온 밀봉 마개들로부터의 1회용 마개에 의해 폐쇄되는,
    음료 용기 내의 음료를 제조하기 위한 방법.
  5. 제1 항 내지 제4 항 중 어느 한 항에 있어서,
    상기 음료 용기(11; 31)는 상기 음료 개구를 향해 테이퍼링(taper)되는 용기 섹션을 가지며, 상기 적어도 하나의 물 얼음 몰딩(15; 35)을 포함하는 냉각제 및 상기 음료 액체(12; 32)는 상기 용기 개구를 통과한 이후 테이퍼링 용기 섹션을 통해 도입되는,
    음료 용기 내의 음료를 제조하기 위한 방법.
  6. 제1 항 내지 제5 항 중 어느 한 항에 있어서,
    상기 적어도 하나의 물 얼음 몰딩(15; 35)은 하나의 공간 치수에 있어서 상기 용기 개구의 직경보다 더 큰,
    음료 용기 내의 음료를 제조하기 위한 방법.
  7. 제1 항 내지 제6 항 중 어느 한 항에 있어서,
    퍼센티지의 에탄올을 포함하는 알코올 음료 액체(12; 32), 및/또는 퍼센티지의 글리세린을 포함하는 비-알코올 음료 액체(12; 32)가 충전되는,
    음료 용기 내의 음료를 제조하기 위한 방법.
  8. 제1 항 내지 제7 항 중 어느 한 항에 있어서,
    상기 냉각제를 도입하는 단계 전에 그리고/또는 상기 음료 액체(12; 32)로 충전하는 단계 전에, 상기 음료 용기(11; 31)는 상기 음료 용기(12; 32)의 동결 점과 섭씨 0도 사이의 온도로 냉각되는,
    음료 용기 내의 음료를 제조하기 위한 방법.
  9. 제1 항 내지 제8 항 중 어느 한 항에 있어서,
    상기 적어도 하나의 물 얼음 몰딩(15; 35)을 포함하는 상기 냉각제를 도입하는 단계의 경우에, 상기 음료 용기(11; 31)의 하나의 베슬(vessel) 바닥(14; 34)을 커버하는 양의 액체 물이 부가적으로 상기 음료 용기(11; 31)에 충전되는,
    음료 용기 내의 음료를 제조하기 위한 방법.
  10. 제1 항 내지 제9 항 중 어느 한 항에 있어서,
    상기 냉각 보관 동안, 상기 충전된 음료 용기(11; 31)는 상기 음료 액체(12; 32)의 용융 온도보다 더 낮은 냉각 온도로 냉각되는,
    음료 용기 내의 음료를 제조하기 위한 방법.
  11. 제1 항 내지 제10 항 중 어느 한 항에 있어서,
    상기 적어도 하나의 물 얼음 몰딩(15; 35; 51)은 안내 디바이스를 통해 상기 용기 개구로 공급되고, 상기 안내 디바이스는 포지셔닝 디바이스(59)에 의해 상기 용기 개구에 관하여 포지셔닝되는,
    음료 용기 내의 음료를 제조하기 위한 방법.
  12. 음료 용기 내의 음료를 제조하기 위한 디바이스로서,
    상기 디바이스는:
    - 충전될 음료 용기(11; 31)를 제공하고;
    - 삽입 장치를 경유하여 용기 개구를 통해 상기 음료 용기(11; 31)에 냉각제를 도입하고 ― 상기 냉각제는 적어도 하나의 물 얼음 몰딩(15; 35)을 포함하고 삽입 장치는 안내 디바이스와 포지셔닝 디바이스(59)로 형성되고, 이에 의해 상기 안내 디바이스의 출구는 상기 용기 개구에 관해 포지셔닝됨 ―;
    - 상기 용기 개구를 통해 상기 음료 용기(11; 31)에 음료 액체(12; 32)를 충전하고; 그리고
    - 1회용 마개에 의해 상기 용기 개구를 폐쇄
    하도록 셋업되는,
    음료 용기 내의 음료를 제조하기 위한 디바이스.
  13. 음료를 포함하는 음료 물품으로서,
    - 음료 용기(11; 31);
    - 상기 음료 용기(11; 31)를 충전하는 음료 액체(12; 32);
    - 적어도 하나의 물 얼음 몰딩(15; 35)을 포함하고 상기 음료 액체(12; 32)에 수용되는 냉각제; 및
    - 1회용 마개
    를 포함하고,
    상기 음료 용기(11; 31)의 용기 개구는 상기 1회용 마개에 의해 폐쇄되고, 그리고 상기 용기 개구를 통해, 상기 적어도 하나의 물 얼음 몰딩(15; 35)을 포함하는 냉각제 및 상기 음료 액체(12; 32)가 상기 음료 용기(11; 31)에 도입되는,
    음료를 포함하는 음료 물품.
KR1020187020987A 2015-12-22 2016-04-08 음료 용기 내의 음료를 제조하기 위한 방법 및 장치, 및 음료 물품 Active KR102257951B1 (ko)

Applications Claiming Priority (3)

Application Number Priority Date Filing Date Title
DE102015122610.3 2015-12-22
DE102015122610.3A DE102015122610B4 (de) 2015-12-22 2015-12-22 Verfahren zur Abfüllung eines Getränkes mit Eisformlingen in ein Gefäß
PCT/DE2016/100165 WO2017108020A1 (de) 2015-12-22 2016-04-08 Verfahren und vorrichtung zum herstellen eines getränks in einem getränkebehälter sowie getränkeartikel

Publications (2)

Publication Number Publication Date
KR20180098321A true KR20180098321A (ko) 2018-09-03
KR102257951B1 KR102257951B1 (ko) 2021-05-27

Family

ID=55966957

Family Applications (1)

Application Number Title Priority Date Filing Date
KR1020187020987A Active KR102257951B1 (ko) 2015-12-22 2016-04-08 음료 용기 내의 음료를 제조하기 위한 방법 및 장치, 및 음료 물품

Country Status (13)

Country Link
US (1) US20190000107A1 (ko)
EP (1) EP3393272B1 (ko)
JP (1) JP6964078B2 (ko)
KR (1) KR102257951B1 (ko)
CN (2) CN108463119B (ko)
DE (1) DE102015122610B4 (ko)
ES (1) ES2996058T3 (ko)
HR (1) HRP20241607T1 (ko)
HU (1) HUE069418T2 (ko)
PL (1) PL3393272T3 (ko)
RS (1) RS66262B1 (ko)
SM (1) SMT202400494T1 (ko)
WO (1) WO2017108020A1 (ko)

Families Citing this family (1)

* Cited by examiner, † Cited by third party
Publication number Priority date Publication date Assignee Title
USD878707S1 (en) * 2016-03-23 2020-03-24 Kukki Gmbh Partially frozen drink

Citations (11)

* Cited by examiner, † Cited by third party
Publication number Priority date Publication date Assignee Title
JPS6158563A (ja) * 1984-08-31 1986-03-25 Shiyugaa Redei:Kk 凍結食品の製造法
US4916921A (en) * 1987-09-10 1990-04-17 Fletcher Charles J Ice maker with vertical cooling member
KR960018426A (ko) * 1994-11-30 1996-06-17 정몽원 직접냉각방식의 음료 냉각장치
KR20010032895A (ko) * 1997-12-08 2001-04-25 트리븐 에이. 카미클로우 안치형 냉각제 및 액체챔버를 갖는 자체 냉각형 액체용기
WO2001036582A1 (en) * 1999-11-17 2001-05-25 Bass Public Limited Company A beverage
US20010007345A1 (en) * 1998-06-02 2001-07-12 Pamela R. Moore Shaped ice article and article for making same
JP2002515237A (ja) * 1998-05-15 2002-05-28 ブランドブルー・ソシエテ・アノニム 飲 料
JP2005295950A (ja) * 2004-04-15 2005-10-27 Tetsuya Ito ボトル飲料冷却用アイス
US20090226574A1 (en) * 2008-03-04 2009-09-10 Johnson Thomas R Apparatus and method for a microwaveable frozen beverage
EP2801261A1 (en) * 2013-05-10 2014-11-12 ALI S.p.A. - CARPIGIANI GROUP Method and system for making ice cream on a stick and machine for making and dispensing a liquid or semiliquid product for making ice cream on a stick
US20140335242A1 (en) * 2013-05-13 2014-11-13 Hsiang-Chi Huang Automatic cocktail machine and method

Family Cites Families (12)

* Cited by examiner, † Cited by third party
Publication number Priority date Publication date Assignee Title
US3181739A (en) * 1963-03-29 1965-05-04 Dye Sheet Metal Products Inc Ice dispenser
US3987824A (en) * 1975-01-27 1976-10-26 Zehnder Fred W Water glass filler
US4184523A (en) * 1976-06-25 1980-01-22 David Carrigan And Associates, Inc. Apparatus for dispensing, filling and capping a plurality of cups
US4972886A (en) * 1988-04-22 1990-11-27 Bernstein David T Ice distribution system
JP2003106729A (ja) * 2001-09-28 2003-04-09 Noboru Ishii 蓋付容器入り飲料の販売方法及び冷却ケース
WO2003078907A1 (en) * 2002-03-15 2003-09-25 Pam Moore Shaped ice article and method for making same
DE10341488A1 (de) * 2003-09-09 2005-03-31 Thomas Tremml Servierfähig lagerbares gefrostetes alkoholisches Mixgetränk
DE102007025845A1 (de) * 2007-06-02 2008-12-04 Engel, vertr. durch ihre Mutter Corinna Engel, Michèle Verfahren zum Herstellen eines vorgefertigten Kaltgetränks
GB2457424B (en) * 2007-11-16 2012-08-01 David Derek Grant Spratley A device for retaining beverage cooling means within a vessel
DE202011103152U1 (de) * 2011-07-14 2011-11-23 Joanna Kowalczyk Tiefgekühltes Getränk
US9010388B2 (en) * 2011-09-16 2015-04-21 David Sanchez Ice-channeling tray for use with a multiple receptacle carrier
CN202717090U (zh) * 2012-08-10 2013-02-06 李锋 多功能饮料瓶

Patent Citations (12)

* Cited by examiner, † Cited by third party
Publication number Priority date Publication date Assignee Title
JPS6158563A (ja) * 1984-08-31 1986-03-25 Shiyugaa Redei:Kk 凍結食品の製造法
US4916921A (en) * 1987-09-10 1990-04-17 Fletcher Charles J Ice maker with vertical cooling member
KR960018426A (ko) * 1994-11-30 1996-06-17 정몽원 직접냉각방식의 음료 냉각장치
KR20010032895A (ko) * 1997-12-08 2001-04-25 트리븐 에이. 카미클로우 안치형 냉각제 및 액체챔버를 갖는 자체 냉각형 액체용기
JP2002515237A (ja) * 1998-05-15 2002-05-28 ブランドブルー・ソシエテ・アノニム 飲 料
US20010007345A1 (en) * 1998-06-02 2001-07-12 Pamela R. Moore Shaped ice article and article for making same
WO2001036582A1 (en) * 1999-11-17 2001-05-25 Bass Public Limited Company A beverage
JP2003514553A (ja) * 1999-11-17 2003-04-22 バス・パブリック・リミテッド・カンパニー 飲 料
JP2005295950A (ja) * 2004-04-15 2005-10-27 Tetsuya Ito ボトル飲料冷却用アイス
US20090226574A1 (en) * 2008-03-04 2009-09-10 Johnson Thomas R Apparatus and method for a microwaveable frozen beverage
EP2801261A1 (en) * 2013-05-10 2014-11-12 ALI S.p.A. - CARPIGIANI GROUP Method and system for making ice cream on a stick and machine for making and dispensing a liquid or semiliquid product for making ice cream on a stick
US20140335242A1 (en) * 2013-05-13 2014-11-13 Hsiang-Chi Huang Automatic cocktail machine and method

Also Published As

Publication number Publication date
PL3393272T3 (pl) 2025-01-20
EP3393272A1 (de) 2018-10-31
DE102015122610B4 (de) 2020-04-09
ES2996058T3 (en) 2025-02-12
JP2019508024A (ja) 2019-03-28
DE102015122610A1 (de) 2017-06-22
HUE069418T2 (hu) 2025-03-28
CN108463119B (zh) 2024-08-13
RS66262B1 (sr) 2024-12-31
EP3393272B1 (de) 2024-10-09
HRP20241607T1 (hr) 2025-01-31
US20190000107A1 (en) 2019-01-03
EP3393272C0 (de) 2024-10-09
KR102257951B1 (ko) 2021-05-27
SMT202400494T1 (it) 2025-01-14
CN108463119A (zh) 2018-08-28
CN118684173A (zh) 2024-09-24
WO2017108020A1 (de) 2017-06-29
JP6964078B2 (ja) 2021-11-10

Similar Documents

Publication Publication Date Title
US20150360926A1 (en) Apparatus for dispensing a fluid from a container and regulating a temperature thereof
US20140048510A1 (en) Carafe with cooling element
US7669726B2 (en) Beverage container and a method of using same
GB2092880A (en) Freezing a liquid
US20180296010A1 (en) Insert for a cup
KR102257951B1 (ko) 음료 용기 내의 음료를 제조하기 위한 방법 및 장치, 및 음료 물품
CN101905884A (zh) 将干冰封装在塑料膜中的设备和方法
US20200037823A1 (en) Device and method for precise temperature control of beverages
EA023787B1 (ru) Самоохлаждающийся контейнер и охлаждающее устройство
HK40112794A (zh) 饮料制品及一种在饮料容器中生产饮料的方法和装置
GB2476834A (en) Cooling device for cooling a predetermined part of a container
HK1263234A1 (en) Method for producing a beverage in a beverage container
US20150233632A1 (en) Beverage chiller and method
HK1263234B (en) Method for producing a beverage in a beverage container
US20160177242A1 (en) System and Method for Making a Popsicle Including a Liquid Container
US8033132B1 (en) Self-cooling beverage container
US20110042549A1 (en) Metallic Cylinder Core Ice Mold Beverage Cooler
US20180195795A1 (en) Temperature-regulating apparatus for liquids
EP3343136B1 (en) Beverage chiller
US20160050955A1 (en) Method and apparatus for forming a hollow frozen vessel
KR101590815B1 (ko) 음료 냉매 기능을 하는 나무모양 기구
EP2906497B1 (en) Carbon dioxide dosing apparatus
CN204137515U (zh) 快速降温瓶塞
JP2006304850A (ja) 保温または保冷用の食器
CN105346836A (zh) 一种快速降温瓶塞

Legal Events

Date Code Title Description
PA0105 International application

Patent event date: 20180720

Patent event code: PA01051R01D

Comment text: International Patent Application

AMND Amendment
PG1501 Laying open of application
AMND Amendment
PA0201 Request for examination

Patent event code: PA02012R01D

Patent event date: 20190322

Comment text: Request for Examination of Application

E902 Notification of reason for refusal
PE0902 Notice of grounds for rejection

Comment text: Notification of reason for refusal

Patent event date: 20200701

Patent event code: PE09021S01D

AMND Amendment
E601 Decision to refuse application
PE0601 Decision on rejection of patent

Patent event date: 20210127

Comment text: Decision to Refuse Application

Patent event code: PE06012S01D

Patent event date: 20200701

Comment text: Notification of reason for refusal

Patent event code: PE06011S01I

X091 Application refused [patent]
AMND Amendment
PX0901 Re-examination

Patent event code: PX09011S01I

Patent event date: 20210127

Comment text: Decision to Refuse Application

Patent event code: PX09012R01I

Patent event date: 20200901

Comment text: Amendment to Specification, etc.

Patent event code: PX09012R01I

Patent event date: 20190322

Comment text: Amendment to Specification, etc.

Patent event code: PX09012R01I

Patent event date: 20180723

Comment text: Amendment to Specification, etc.

PX0701 Decision of registration after re-examination

Patent event date: 20210401

Comment text: Decision to Grant Registration

Patent event code: PX07013S01D

Patent event date: 20210324

Comment text: Amendment to Specification, etc.

Patent event code: PX07012R01I

Patent event date: 20210127

Comment text: Decision to Refuse Application

Patent event code: PX07011S01I

Patent event date: 20200901

Comment text: Amendment to Specification, etc.

Patent event code: PX07012R01I

Patent event date: 20190322

Comment text: Amendment to Specification, etc.

Patent event code: PX07012R01I

Patent event date: 20180723

Comment text: Amendment to Specification, etc.

Patent event code: PX07012R01I

X701 Decision to grant (after re-examination)
GRNT Written decision to grant
PR0701 Registration of establishment

Comment text: Registration of Establishment

Patent event date: 20210524

Patent event code: PR07011E01D

PR1002 Payment of registration fee

Payment date: 20210524

End annual number: 3

Start annual number: 1

PG1601 Publication of registration
PR1001 Payment of annual fee

Payment date: 20240507

Start annual number: 4

End annual number: 4