KR20160107331A - 로딩 위치를 조절하기 위한 차량 시트 및 방법 - Google Patents
로딩 위치를 조절하기 위한 차량 시트 및 방법 Download PDFInfo
- Publication number
- KR20160107331A KR20160107331A KR1020167022434A KR20167022434A KR20160107331A KR 20160107331 A KR20160107331 A KR 20160107331A KR 1020167022434 A KR1020167022434 A KR 1020167022434A KR 20167022434 A KR20167022434 A KR 20167022434A KR 20160107331 A KR20160107331 A KR 20160107331A
- Authority
- KR
- South Korea
- Prior art keywords
- vehicle seat
- seat
- rear fitting
- fitting portion
- vehicle
- Prior art date
- Legal status (The legal status is an assumption and is not a legal conclusion. Google has not performed a legal analysis and makes no representation as to the accuracy of the status listed.)
- Withdrawn
Links
- 238000000034 method Methods 0.000 title claims description 34
- 230000008878 coupling Effects 0.000 claims description 18
- 238000010168 coupling process Methods 0.000 claims description 18
- 238000005859 coupling reaction Methods 0.000 claims description 18
- 238000009434 installation Methods 0.000 description 3
- 208000027418 Wounds and injury Diseases 0.000 description 1
- 230000033228 biological regulation Effects 0.000 description 1
- 230000006378 damage Effects 0.000 description 1
- 230000001419 dependent effect Effects 0.000 description 1
- 230000000694 effects Effects 0.000 description 1
- 208000014674 injury Diseases 0.000 description 1
- 230000014759 maintenance of location Effects 0.000 description 1
- 230000007246 mechanism Effects 0.000 description 1
- 230000001960 triggered effect Effects 0.000 description 1
Images
Classifications
-
- B—PERFORMING OPERATIONS; TRANSPORTING
- B60—VEHICLES IN GENERAL
- B60N—SEATS SPECIALLY ADAPTED FOR VEHICLES; VEHICLE PASSENGER ACCOMMODATION NOT OTHERWISE PROVIDED FOR
- B60N2/00—Seats specially adapted for vehicles; Arrangement or mounting of seats in vehicles
- B60N2/24—Seats specially adapted for vehicles; Arrangement or mounting of seats in vehicles for particular purposes or particular vehicles
- B60N2/30—Non-dismountable or dismountable seats storable in a non-use position, e.g. foldable spare seats
- B60N2/3088—Non-dismountable or dismountable seats storable in a non-use position, e.g. foldable spare seats characterised by the mechanical link
- B60N2/3093—Non-dismountable or dismountable seats storable in a non-use position, e.g. foldable spare seats characterised by the mechanical link slides
-
- B—PERFORMING OPERATIONS; TRANSPORTING
- B60—VEHICLES IN GENERAL
- B60N—SEATS SPECIALLY ADAPTED FOR VEHICLES; VEHICLE PASSENGER ACCOMMODATION NOT OTHERWISE PROVIDED FOR
- B60N2/00—Seats specially adapted for vehicles; Arrangement or mounting of seats in vehicles
- B60N2/24—Seats specially adapted for vehicles; Arrangement or mounting of seats in vehicles for particular purposes or particular vehicles
- B60N2/30—Non-dismountable or dismountable seats storable in a non-use position, e.g. foldable spare seats
- B60N2/3002—Non-dismountable or dismountable seats storable in a non-use position, e.g. foldable spare seats back-rest movements
- B60N2/302—Non-dismountable or dismountable seats storable in a non-use position, e.g. foldable spare seats back-rest movements by translation only
- B60N2/3022—Non-dismountable or dismountable seats storable in a non-use position, e.g. foldable spare seats back-rest movements by translation only along longitudinal axis
-
- B—PERFORMING OPERATIONS; TRANSPORTING
- B60—VEHICLES IN GENERAL
- B60N—SEATS SPECIALLY ADAPTED FOR VEHICLES; VEHICLE PASSENGER ACCOMMODATION NOT OTHERWISE PROVIDED FOR
- B60N2/00—Seats specially adapted for vehicles; Arrangement or mounting of seats in vehicles
- B60N2/02—Seats specially adapted for vehicles; Arrangement or mounting of seats in vehicles the seat or part thereof being movable, e.g. adjustable
- B60N2/0224—Non-manual adjustments, e.g. with electrical operation
-
- B—PERFORMING OPERATIONS; TRANSPORTING
- B60—VEHICLES IN GENERAL
- B60N—SEATS SPECIALLY ADAPTED FOR VEHICLES; VEHICLE PASSENGER ACCOMMODATION NOT OTHERWISE PROVIDED FOR
- B60N2/00—Seats specially adapted for vehicles; Arrangement or mounting of seats in vehicles
- B60N2/02—Seats specially adapted for vehicles; Arrangement or mounting of seats in vehicles the seat or part thereof being movable, e.g. adjustable
- B60N2/0224—Non-manual adjustments, e.g. with electrical operation
- B60N2/02246—Electric motors therefor
-
- B60N2/0232—
-
- B—PERFORMING OPERATIONS; TRANSPORTING
- B60—VEHICLES IN GENERAL
- B60N—SEATS SPECIALLY ADAPTED FOR VEHICLES; VEHICLE PASSENGER ACCOMMODATION NOT OTHERWISE PROVIDED FOR
- B60N2/00—Seats specially adapted for vehicles; Arrangement or mounting of seats in vehicles
- B60N2/02—Seats specially adapted for vehicles; Arrangement or mounting of seats in vehicles the seat or part thereof being movable, e.g. adjustable
- B60N2/04—Seats specially adapted for vehicles; Arrangement or mounting of seats in vehicles the seat or part thereof being movable, e.g. adjustable the whole seat being movable
- B60N2/06—Seats specially adapted for vehicles; Arrangement or mounting of seats in vehicles the seat or part thereof being movable, e.g. adjustable the whole seat being movable slidable
-
- B—PERFORMING OPERATIONS; TRANSPORTING
- B60—VEHICLES IN GENERAL
- B60N—SEATS SPECIALLY ADAPTED FOR VEHICLES; VEHICLE PASSENGER ACCOMMODATION NOT OTHERWISE PROVIDED FOR
- B60N2/00—Seats specially adapted for vehicles; Arrangement or mounting of seats in vehicles
- B60N2/24—Seats specially adapted for vehicles; Arrangement or mounting of seats in vehicles for particular purposes or particular vehicles
- B60N2/30—Non-dismountable or dismountable seats storable in a non-use position, e.g. foldable spare seats
- B60N2/3002—Non-dismountable or dismountable seats storable in a non-use position, e.g. foldable spare seats back-rest movements
- B60N2/3004—Non-dismountable or dismountable seats storable in a non-use position, e.g. foldable spare seats back-rest movements by rotation only
- B60N2/3009—Non-dismountable or dismountable seats storable in a non-use position, e.g. foldable spare seats back-rest movements by rotation only about transversal axis
-
- B—PERFORMING OPERATIONS; TRANSPORTING
- B60—VEHICLES IN GENERAL
- B60N—SEATS SPECIALLY ADAPTED FOR VEHICLES; VEHICLE PASSENGER ACCOMMODATION NOT OTHERWISE PROVIDED FOR
- B60N2/00—Seats specially adapted for vehicles; Arrangement or mounting of seats in vehicles
- B60N2/24—Seats specially adapted for vehicles; Arrangement or mounting of seats in vehicles for particular purposes or particular vehicles
- B60N2/30—Non-dismountable or dismountable seats storable in a non-use position, e.g. foldable spare seats
- B60N2/3038—Cushion movements
- B60N2/304—Cushion movements by rotation only
- B60N2/3045—Cushion movements by rotation only about transversal axis
-
- B—PERFORMING OPERATIONS; TRANSPORTING
- B60—VEHICLES IN GENERAL
- B60N—SEATS SPECIALLY ADAPTED FOR VEHICLES; VEHICLE PASSENGER ACCOMMODATION NOT OTHERWISE PROVIDED FOR
- B60N2/00—Seats specially adapted for vehicles; Arrangement or mounting of seats in vehicles
- B60N2/24—Seats specially adapted for vehicles; Arrangement or mounting of seats in vehicles for particular purposes or particular vehicles
- B60N2/30—Non-dismountable or dismountable seats storable in a non-use position, e.g. foldable spare seats
- B60N2/3038—Cushion movements
- B60N2/304—Cushion movements by rotation only
- B60N2/3045—Cushion movements by rotation only about transversal axis
- B60N2/305—Cushion movements by rotation only about transversal axis the cushion being hinged on the vehicle frame
-
- B—PERFORMING OPERATIONS; TRANSPORTING
- B60—VEHICLES IN GENERAL
- B60N—SEATS SPECIALLY ADAPTED FOR VEHICLES; VEHICLE PASSENGER ACCOMMODATION NOT OTHERWISE PROVIDED FOR
- B60N2/00—Seats specially adapted for vehicles; Arrangement or mounting of seats in vehicles
- B60N2/24—Seats specially adapted for vehicles; Arrangement or mounting of seats in vehicles for particular purposes or particular vehicles
- B60N2/32—Seats specially adapted for vehicles; Arrangement or mounting of seats in vehicles for particular purposes or particular vehicles convertible for other use
- B60N2/36—Seats specially adapted for vehicles; Arrangement or mounting of seats in vehicles for particular purposes or particular vehicles convertible for other use into a loading platform
-
- B—PERFORMING OPERATIONS; TRANSPORTING
- B60—VEHICLES IN GENERAL
- B60N—SEATS SPECIALLY ADAPTED FOR VEHICLES; VEHICLE PASSENGER ACCOMMODATION NOT OTHERWISE PROVIDED FOR
- B60N2/00—Seats specially adapted for vehicles; Arrangement or mounting of seats in vehicles
- B60N2/90—Details or parts not otherwise provided for
- B60N2/919—Positioning and locking mechanisms
- B60N2/933—Positioning and locking mechanisms rotatable
- B60N2/938—Positioning and locking mechanisms rotatable and provided with braking systems
Landscapes
- Engineering & Computer Science (AREA)
- Aviation & Aerospace Engineering (AREA)
- Transportation (AREA)
- Mechanical Engineering (AREA)
- Seats For Vehicles (AREA)
Abstract
본 발명은 시트 부품(2) 및 등받이(3)를 가지는 차량 시트(1)에 관한 것이다. 상기 차량 시트는 등받이에 연결되는 후방 피팅 부품(5) 및 시트 부품에 연결되는 전방 피팅 부품(4)을 포함한다. 후방 피팅 부품은 전방 피팅 부품에 커플링된다.
Description
본 발명은 좌석 부품 및 등받이를 가지는 차량 시트(여기서 차량 시트는 등받이에 연결되는 후방 피팅부, 및 좌석 부품에 연결되는 전방 피팅부를 가짐), 및 차량 시트를 로딩 위치로 조절하기 위한 방법에 관한 것이다.
이러한 유형의 차량 시트들은, 이미, 예를 들어, 종래 기술의 자동차 시트들로부터 공지되어 있다. 차량을 로딩하기 위해 이용가능한 체적을 증가시키기 위해, 차량 시트를 로딩 위치로 조절하는 공지되어 있는 기능(practice)이 존재한다. 공지되어 있는 해결책들을 갖는 단점은, 복잡한 기구가 종종 사용자에 의해 수동으로 활성화되어야 하며, 그리고 이는 부상의 상당한 위험을 포함한다는 점이다. 이에 반해, 보다 간단한 구조의 기구들은 이용가능한 설치 공간을 불충분하게(poorly) 사용하고, 그리고, 이용가능한 로딩 체적을 단지 약간 증가시킨다.
따라서, 본 발명의 목적은 종래 기술의 단점들을 제거하는, 차량 시트 및 로딩 위치로 차량 시트를 조절하기 위한 방법을 제공하는 것이다. 특히, 본 발명은 차량의 후방 시트 벤치(rear seat bench)에 대한 보다 용이한 접근을 허용하고 그리고, 동시에, 설치 공간에 대해 가능한 한 콤팩트하도록(compact) 설계되는 차량 시트를 제공하는 것이다.
본 발명은 좌석 부품 및 등받이를 가지는 차량 시트(여기서 차량 시트는 등받이에 연결되는 후방 피팅부, 및 좌석 부품에 연결되는 전방 피팅부를 가짐)에 의해 달성되며, 여기서 후방 피팅부는 전방 피팅부에 커플링된다.
본 발명의 이러한 요지에 관하여 이루어진 진술들은 본 발명의 다른 요지에 동일하게 적용되며, 그리고 그 반대의 경우도 마찬가지이다(vice versa). 본 발명의 유리한 실시예들 및 개량예들은 종속항들 내에서 그리고 도면들을 참조로 하는 설명 내에서 발견될 수 있다.
본 발명은 좌석 부품 및 등받이를 가지는 차량 시트(여기서 차량 시트는 등받이에 연결되는 후방 피팅부, 및 좌석 부품에 연결되는 전방 피팅부를 가짐)에 관한 것이다. 이러한 유형의 차량 시트는, 예를 들어, 자동차 시트, 특히, 승객용 시트 및/또는 후방 시트이다. 좌석 부품은, 등받이와 같이, 일반적으로 덮개가 씌워진다(upholstered). 특히, 차량 시트는 수직으로 그리고/또는 길이 방향으로 조절가능한 방식으로 제공된다. 등받이는, 게다가, 바람직하게는, 사용자에게 편안한 시트 위치를 허용하기 위해, 미리결정된 각도의 범위에 걸쳐 사용 위치로 피봇팅가능한 방식으로 제공된다.
당업자는, 사용 위치가, 사용자가 차량 시트를 점유할 수 있는 방식으로 제공되는 것을 이해한다.
본 발명에 따른 차량 시트는, 그 후, 사용 위치로부터 로딩 위치로 조절될 수 있으며, 여기서, 사용 위치에서보다 이용가능한 더 많은 자유 체적이, 특히 시트 뒤에 그리고/또는 시트 위에 존재한다.
전방 피팅부에 대한 후방 피팅부의 커플링부는 간단한 방식으로 로딩 위치로의 조절을 가능하게 한다. 커플링부는 자동으로 그리고 수동 양자 모두로 조절을 수행하는 것을 가능하게 하며, 이에 따라, 본 발명에 따른 차량 시트의 작동의 편의성(convenience)을 개선시킨다.
커플링부는, 바람직하게는, 전방 피팅부에 대한 그리고/또는 차량 본체에 대한 후방 피팅부의 길이 방향의 조절을 허용한다.
커플링부는, 바람직하게는, 슬롯형 안내부(slotted guide) 및 이 슬롯형 안내부 내에서 안내되는 핀(pin)을 포함한다. 특히, 전방 피팅부는 슬롯형 안내부를 가지며, 그리고 후방 피팅부는 핀을 가진다. 당업자는, 이것이 또한 반대의 경우일 수 있는 것을 이해할 것이다.
본 발명의 다른 실시예에 따라, 로딩 위치에서 다른 일 내측으로 이동되는 전방 피팅부 및 후방 피팅부에 대한 제공이 이루어진다. 특히, 이러한 경우에, 로딩 위치에서 전방 피팅부에 인접하게 적어도 부분적으로, 바람직하게는 완전히 배열되는 후방 피팅부(이 후방 피팅부는 사용 위치에서 전방 피팅부 뒤에 배열됨)에 대한 제공이 이루어진다. 이러한 목적을 위하여, 전방 및 후방 피팅부들은 서로에 대해 측 방향으로 오프셋되는 방식으로 차량 시트 상에 배열되거나 또는 장착된다. 서로에 인접하게 이들을 배열함으로써, 로딩 위치에서 매우 더 많은 설치 공간을 절약하는 것은 유리하게 가능하다.
본 발명의 다른 실시예에 따라, 로딩 위치에서 그리고 사용 위치 양자 모두에서, 차량 플로어에 그리고/또는, 특히, 레일 시스템에 커플링되거나 또는 커플링되는 상태를 유지하는 전방 피팅부 및 후방 피팅부에 대한 제공이 이루어진다. 로딩 위치에서의 차량 시트의 안정성은, 이에 의해, 차량 시트의 후방 피팅부가 로딩 위치에서 레일 시스템으로부터 해제되는, 차량 시트들에 비해 증가된다. 특히, 후방 피팅부는 레일 시스템에, 바람직하게는, 상부 레일에 영구적으로 부착된다.
본 발명의 다른 실시예에 따라, 차량 시트가 사용 위치로부터 로딩 위치로 이동될 때, 전방 피팅부와 후방 피팅부 사이의 거리가 감소되는 방식으로 구성되는 전방 및 후방 피팅부들에 대한 제공이 이루어진다.
본 발명의 다른 실시예에 따라, 예컨대, 폴(pawl) 또는 스탭 로크(snap lock)의 형태의 유지 요소(retention element)(이 유지 요소의 보조에 의해, 후방 피팅부는 로딩 위치에서 전방 피팅부에 대해 고정됨)를 가지는 전방 피팅부에 대한 제공이 이루어진다.
후방 피팅부는, 이에 의해, 차량 시트가 로딩 위치일 때, 이의 위치를 우발적으로(accidentally) 떠나는 것이 유리하게 방지된다.
본 발명의 다른 실시예에 따라, 조절가능한 길이를 가지는 슬롯형 안내부에 대한 제공이 이루어진다. 이에 의해, 예를 들어, 차량 탑승자의 포함에 의해, 후방 피팅부가 로딩 위치에서 전방으로 얼마나 멀리 이동될 수 있는지를 결정하는 것은 유리하게 가능하다.
차량 시트는, 바람직하게는, 잠금 수단을 가진다. 잠금 수단에 의해, 후방 피팅부의 의도치 않은 조절, 특히 길이 방향의 조절은 방지된다. 특히 바람직한 옵션(option)으로서, 잠금 수단은 후방 피팅부에 대해 고정된 위치에 배열되는 핀 및 후방 피팅부 상에 배열되는 잠금 폴(locking pawl)을 포함한다. 특히, 잠금 폴은 잠금 상태에서 핀 둘레에 맞물린다. 매우 특히 바람직한 옵션으로서, 잠금 폴은 제 3 회전 축선을 중심으로 피봇팅가능한 방식으로 제공된다.
등받이는, 바람직하게는, 상기 후방 피팅부 둘레에서 제 1 회전 축선을 중심으로 피봇팅가능한 방식으로 제공되며, 그리고/또는, 이 좌석 부품은 전방 피팅부 둘레에서 제 2 회전 축선을 중심으로 피봇팅가능한 방식으로 제공된다. 로딩 위치에서 이용가능한 체적은, 이에 의해, 유리하게 더 증가된다. 특히 바람직한 옵션으로서, 제 2 회전 축선은 후방 피팅부로부터 멀리있는 전방 피팅부의 단부에 제공된다.
좌석 부품은, 바람직하게는, 사용 위치에서 후방 피팅부에 포지티브하게(positively) 그리고/또는 논포지티브하게(nonpositively) 연결된다. 특히 바람직한 옵션으로서, 좌석 부품은 후방 피팅부 상에, 특히 후방 피팅부 상에 배열되는 정지 요소(stop element) 상에 놓인다. 매우 특히 바람직한 옵션으로서, 상기 좌석 부품은 사용 위치에서 후방 피팅부에 해제가능하게 연결된다.
좌석 부품은, 바람직하게는, 특히 커플링 요소를 통해, 후방 피팅부에 커플링된다. 특히 바람직한 옵션으로서, 커플링 요소는 좌석 부품 상에 그리고 후방 피팅부 상에 회전가능하게 배열된다. 매우 특히 바람직한 옵션으로서, 커플링 요소는, 특히 슬롯형 안내부에 의해, 길이 방향으로 조절가능한 방식으로, 좌석 부품에 배열된다. 여기서, 길이 방향의 조절은, 특히 좌석 부품 및/또는 차량 본체에 대한 후방 피팅부의 길이 방향의 조절에 대해 평행하게 수행된다. 후방 피팅부에 대한 좌석 부품의 커플링은, 좌석 부품이, 로딩 위치로의 후방 피팅부의 조절 동안, 제 2 회전 축선을 중심으로 자동으로 피봇팅되는 것을 유리하게 가능하게 한다. 대안적으로 또는 부가적으로, 좌석 부품이 후방 피팅부와 무관하게 피봇팅가능한 방식으로 제공된다. 당업자는, 좌석 부품이, 특히, 후방 피팅부가 좌석 부품의 방향으로 조절되기 전에, 오직 피봇팅가능하다는 것을 이해할 것이다.
차량 시트는, 바람직하게는, 차량 본체에 대해 길이 방향으로 그리고/또는 수직으로 조절가능한 방식으로 제공된다. 특히 바람직한 옵션으로서, 차량 시트는, 차량 본체에 고정된 방식으로 연결되는 저부 레일 상에 길이 방향으로 이동가능하고 그리고 바람직하게는 잠금가능한 상부 레일을 가진다. 매우 특히 바람직한 옵션으로서, 전방 피팅부는 상부 레일 상에 고정된 방식으로 배열되며, 그리고/또는 후방 피팅부는 이 상부 레일에 대해 길이 방향으로 조절가능한 방식으로 상부 레일 상에 배열된다.
수동식 및/또는 자동식, 특히, 전기식, 공압식 및/또는 유압식 구동부(이 구동부는 차량 시트를 로딩 위치로 조절하도록 구성됨)가, 바람직하게는, 제공된다.
게다가, 본 발명은 차량 시트, 특히 본 발명에 따른 차량 시트를 로딩 위치로 조절하기 위한 방법에 관한 것이며, 여기서 후방 피팅부는 전방 피팅부에 대해 조절된다.
본 발명의 이러한 요지에 관하여 이루어진 진술들은 본 발명의 다른 요지에 동일하게 적용되며, 그리고 그 반대의 경우도 마찬가지이다(vice versa).
후방 피팅부는, 바람직하게는, 상부 레일, 차량 본체 및/또는 전방 피팅부에 대해 길이 방향으로 조절된다.
등받이는, 바람직하게는, 제 1 회전 축선을 중심으로 피봇팅된다. 특히 바람직한 옵션으로서, 등받이는, 실질적으로 수직한 위치를 벗어나, 좌석 부품의 방향으로, 전방으로 피봇팅된다.
좌석 부품은, 바람직하게는, 제 2 회전 축선을 중심으로 피봇팅된다. 특히 바람직한 옵션으로서, 좌석 부품은, 후방 피팅부의 조절에 의해, 동시에, 특히, 자동으로 피봇팅된다. 매우 특히 바람직한 옵션으로서, 좌석 부품은 실질적으로 수직한 위치로 피봇팅된다.
이에 의해, 특히 유리한 방식으로, 로딩을 위해 사용될 수 있는, 가능한 한 큰 체적이 이용가능하게 만들어지는 로딩 위치로의 간단한 조절을 달성하는(effect) 것이 가능하다.
후방 피팅부는, 바람직하게는, 조절 전에 우선적으로 잠금해제된다. 특히 바람직한 옵션으로서, 좌석 부품은, 부가적으로 또는 대안적으로 잠금해제된다.
본 발명의 추가적인 상세들, 특징들 및 장점들이 도면들로부터 그리고 도면들을 참조로 하는 바람직한 실시예의 다음의 설명으로부터 자명하게 될 것이다. 여기서, 도면들은, 단지, 본 발명의 본질적인 개념을 제한하지 않는, 본 발명의 예시적인 실시예들을 도시한다.
본 발명들은 도 1 내지 도 7을 참조로 하여 아래에 설명된다. 이러한 설명들은 단지 예시적인 것이고, 그리고 본 발명의 전반적인 개념을 제한하지 않는다. 설명들은 본 발명의 모든 요지에 동일하게 적용된다.
도 1은 본 발명에 따른 차량 시트의 예시적인 제 1 실시예를 도시한다.
도 2는 본 발명에 따른 차량 시트의 예시적인 제 2 실시예를 도시한다.
도 3은 제 2 실시예에 따른 차량 시트를 로딩 위치로 조절하기 위한 방법의 예시적인 실시예를 도시한다.
도 4는, 중간 위치에서, 제 2 실시예에 따른 차량 시트를 로딩 위치로 조절하기 위한 방법의 실시예를 도시한다.
도 5는 제 2 실시예에 따른 차량 시트를 로딩 위치로 조절하기 위한 방법의 실시예를 도시한다.
도 6은 제 1 실시예에 따른 차량 시트를 로딩 위치로 조절하기 위한 방법의 예시적인 실시예를 도시한다.
도 7은 제 2 실시예에 따른 차량 시트를 로딩 위치로 조절하기 위한 방법의 실시예를 도시한다.
도 1은 본 발명에 따른 차량 시트의 예시적인 제 1 실시예를 도시한다.
도 2는 본 발명에 따른 차량 시트의 예시적인 제 2 실시예를 도시한다.
도 3은 제 2 실시예에 따른 차량 시트를 로딩 위치로 조절하기 위한 방법의 예시적인 실시예를 도시한다.
도 4는, 중간 위치에서, 제 2 실시예에 따른 차량 시트를 로딩 위치로 조절하기 위한 방법의 실시예를 도시한다.
도 5는 제 2 실시예에 따른 차량 시트를 로딩 위치로 조절하기 위한 방법의 실시예를 도시한다.
도 6은 제 1 실시예에 따른 차량 시트를 로딩 위치로 조절하기 위한 방법의 예시적인 실시예를 도시한다.
도 7은 제 2 실시예에 따른 차량 시트를 로딩 위치로 조절하기 위한 방법의 실시예를 도시한다.
다양한 도면들에서, 동일한 부품들에는, 모든 경우들에서, 동일한 도면 부호들이 제공되며, 그리고, 따라서, 동일한 부품들은 또한 일반적으로 각각의 경우에 오직 한번만 불리거나 언급된다.
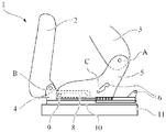
도 1은 본 발명에 따른 차량 시트(1)의 예시적인 제 1 실시예를 도시한다. 차량 시트(1)는 좌석 부품(2) 및 등받이(3)를 가진다. 좌석 부품(2)은, 제 2 회전 축선(B)을 중심으로 피봇팅가능하도록, 이러한 방식으로 전방 피팅부(4) 상에 배열되며, 그리고 등받이(3)는 제 1 회전 축선(A)을 중심으로 피봇팅가능하도록 이러한 방식으로 후방 피팅부(5) 상에 배열된다.
차량 시트(1)의 사용 위치에서, 등받이(3)는 실질적으로 수직으로 배열된다. 사용 위치에서, 예를 들어, 등받이(3)는 +/-10°의 각도 범위에서 수직 위치를 중심으로 피봇가능하다. 로딩 포지션에서, 등받이(3)는, 바람직하게는, 좌석 부품(2)의 방향으로 전방으로 피봇팅된다.
차량 시트(1)는 차량 본체에 대해 길이 방향으로 이동가능하도록 이러한 방식으로 배열된다. 이러한 경우에서, 길이 방향의 이동이 저부 레일(차량 본체에 고정되는 방식으로 연결됨), 및 상부 레일(11)(저부 레일에 의해 이동가능하게 그리고 특히 잠금가능하게 지지됨)을 가지는 레일 시스템에 의해 달성된다. 당업자는 이러한 길이 방향의 이동성이 필수적이지 않다는 것을 이해할 것이다. 대안예로서, 상부 레일(11)은 차량 본체에 고정된 방식으로 연결될 수 있다.
전방 피팅부(4)는 상부 레일(11)에 고정된 방식으로 연결되는 반면에, 후방 피팅부(5)는 상부 레일(11) 상에 이동가능하게 지지된다. 전방 피팅부(4) 상에 배열되는 슬롯형 안내부(slotted guide)(8)에 의해(이 안내부는 후방 피팅부(5) 상에 배열되는 핀(9)과 상호작용함), 후방 피팅부(5)는 전방 피팅부(4)에 대해 길이 방향으로 이동가능하도록 이러한 방식으로 지지된다.
의도치 않은 조절을 방지하기 위해, 잠금 요소(6)가 제공된다. 여기서, 후방 피팅부(5)는 잠금 폴(locking pawl)을 가지며, 이 잠금 폴은 제 3 회전 축선(C)을 중심으로 피봇가능하고, 그리고 상부 레일(11)에 대해 고정된 위치에서 배열되는 핀과 상호작용한다. 잠금 요소(6)가 잠금 위치에 있는 한, 후방 피팅부(5)는 전방 피팅부(4)에 대해 고정된 위치 내에서 지지된다.
잠금 요소(6)의 잠금해제 위치에서, 후방 피팅부(5)는 전방 피팅부(4)의 방향으로 길이 방향으로 그리고 이 전방 피팅부에 대해 이동될 수 있다.
여기서, 좌석 부품(2)은 단지 후방 피팅부 상에, 즉, 정지 요소 및/또는 횡 방향 스트럿(strut) 상에 놓인다. 대안적으로, 좌석 부품(2) 및 잠금 요소(6)가 잠금해제될 때, 후방 피팅부(5)의 상대적인 이동이 오직 가능한 결과에 의해, 좌석 부품(2)은 후방 피팅부(5)에 포지티브하게(positively) 그리고/또는 논포지티브하게(nonpositively) 또한 연결될 수 있다.
좌석 부품(2)은 커플링 요소(coupling element)(7), 이러한 경우에, 로드(rod)에 의해 후방 피팅부(5)에 커플링된다. 특히, 커플링 요소(7)는 좌석 부품(2) 상에 그리고 후방 피팅부(5) 상에 회전가능하게 배열된다.
여기서, 커플링 요소(7)가 좌석 부품(2) 상에서 회전가능하게 그리고 길이 방향으로 이동가능한 방식으로 지지되는 결과에 의해, 좌석 부품(2)은, 추가적으로 슬롯형 안내부(8')를 가지며, 이 슬롯형 안내부는 커플링 요소(7)의 핀(9')과 상호작용한다.
도 2는 본 발명에 따른 차량 시트(1)의 예시적인 제 2 실시예를 도시한다. 이러한 경우에, 제 2 실시예는 전술된 제 1 실시예에 실질적으로 상응한다. 제 1 실시예와는 대조적으로, 차량 시트(1)는, 여기서, 커플링 요소(7)를 가지지 않는다.
도 3은 제 2 실시예에 따른 차량 시트(1)를 로딩 위치로 조절하기 위한 방법의 예시적인 실시예를 도시한다. 차량 시트(1)를 로딩 위치로 조절하기 위해, 잠금 요소(6)는 우선적으로 여기서 잠금해제된다. 후방 피팅부(5)는, 그 후, 슬롯형 안내부(8) 내에서 전방 피팅부(4)에 대해 이동되며, 그리고 등받이(3)는 좌석 부품(2)의 방향으로, 즉 전방으로 피봇팅된다. 여기서, 전방 피팅부에 대한 후방 피팅부(5)의 조절 전에, 그 동안, 또는 그 후에, 등받이(3)의 피봇팅이 수행될 수 있다.
여기서, 조절이 사용자에 의해 수동으로 유발된다. 그러나, 대안적으로 또는 부가적으로, 구동부(drive), 예를 들어, 전기식, 공압식 및/또는 유압식 구동부에 의해, 조절이 또한 가능한다. 본 방법의 이러한 실시예에 따라, 좌석 부품은 조절 동안 이동되지 않으며, 그리고, 따라서, 등받이(3)는 로딩 위치에서 좌석 부품(2) 위에 위치된다.
도 4는, 중간 위치에서, 제 2 실시예에 따른 차량 시트(1)를 로딩 위치로 조절하기 위한 방법의 실시예를 도시한다. 비록 실질적으로 수직한 위치로의 제 2 회전 축선(B)을 중심으로한 좌석 부품(2)의 피봇팅이 먼저 수행되지만, 이러한 경우에, 본 발명에 따른 방법의 이러한 실시예는 도 3과 관련되어 설명되는 실시예에 실질적으로 상응하다.
도 5는 제 2 실시예에 따른 차량 시트(1)를 로딩 위치로 조절하기 위한 방법의 실시예를 도시한다. 전술된 바와 같이, 잠금해제 위치로의 잠금 요소(6)의 수동 및/또는 자동의 이동, 제 1 회전 축선(A)을 중심으로한 등받이(3)의 피봇팅 그리고 좌석 부품(2)의 방향으로 전방 피팅부(4)에 대한 후방 피팅부(5)의 이동에 의해, 도 4와 관련하여 설명되는 바와 같은 실질적으로 수직한 위치로의 좌석 부품(2)의 피봇팅이 후속된다.
도 6은 제 1 실시예에 따른 차량 시트(1)를 로딩 위치로 조절하기 위한 방법의 예시적인 실시예를 도시한다. 도 6은 실질적으로 도 1에 상응한다. 따라서, 이에 관련하는 진술들에 대한 주의가 요구된다(drawn).
도 7은 제 2 실시예에 따른 차량 시트를 로딩 위치로 조절하기 위한 방법의 실시예를 도시한다. 도 6에서 도시되는 바와 같이, 사용 위치로부터 시작하면, 잠금 요소(6)가 잠금해제되며, 즉, 제 3 회전 축선(C)을 중심으로 피봇팅되며, 등받이(3)는 제 1 회전 축선(A)을 중심으로 피봇팅되며, 그리고 후방 피팅부(5)는, 슬롯형 안내부(8) 및 핀(9)을 거쳐(by way of) 전방 피팅부(4)에 대해 좌석 부품(2)을 또는 전방 피팅부(4)를 향하여 이동된다. 커플링 요소(7)로 인해, 후방 피팅부(5)의 이동은 제 2 회전 축선(B)을 중심으로 실질적으로 수직한 위치로 좌석 부품(2)을 자동으로 피봇팅시킨다. 그 결과, 조절이 자동으로 특히 간단한 방식으로 유리하게 수행된다. 이러한 맥락에서, 조절은, 예를 들어, 전기식, 공압식 및/또는 유압식 구동부에 의해 수동으로 그리고/또는 자동으로 수행될 수 있다.
1
차량 시트
2 좌석 부품
3 등받이
4 전방 피팅부
5 후방 피팅부
6 잠금 요소
7 커플링 요소
8, 8' 슬롯형 안내부
9, 9' 핀
10 상부 레일
11 본체, 저부 레일
A 제 1 회전 축선
B 제 2 회전 축선
C 제 3 회전 축선
2 좌석 부품
3 등받이
4 전방 피팅부
5 후방 피팅부
6 잠금 요소
7 커플링 요소
8, 8' 슬롯형 안내부
9, 9' 핀
10 상부 레일
11 본체, 저부 레일
A 제 1 회전 축선
B 제 2 회전 축선
C 제 3 회전 축선
Claims (14)
- 좌석 부품(seating part)(2) 및 등받이(backrest)(3)를 가지는 차량 시트(vehicle seat)(1)로서,
상기 차량 시트(1)는 상기 등받이(3)에 연결되는 후방 피팅부(5) 및 상기 좌석 부품(2)에 연결되는 전방 피팅부(4)를 가지며, 상기 후방 피팅부(5)는 상기 전방 피팅부(4)에 커플링되며(coupled), 상기 커플링부(coupling)는 슬롯형 안내부(slotted guide)(8, 8') 및 상기 슬롯형 안내부(8) 내에서 안내되는 핀(pin)(9)을 포함하며, 특히, 상기 전방 피팅부(4)는 슬롯형 안내부(8)를 가지며, 그리고, 상기 후방 피팅부(5)는 상기 핀(9)을 가지는,
차량 시트. - 제 1 항에 있어서,
상기 차량 시트(1)는 상기 후방 피팅부(5)의 의도치 않은 조절, 특히 길이 방향의 조절을 방지하기 위한 잠금 수단(6)을 가지는,
차량 시트. - 제 2 항에 있어서,
상기 잠금 수단(6)은 상기 후방 피팅부(5)에 대해 고정된 위치에서 배열되는 핀을 가지고, 그리고 상기 후방 피팅부(5) 상에 배열되는 잠금 폴(locking pawl)을 포함하며, 상기 잠금 폴은 잠금 상태에서 상기 핀 둘레에 맞물리며, 그리고 상기 잠금 폴은 제 3 회전 축선(C)을 중심으로 피봇팅가능한 방식으로 제공되는,
차량 시트. - 제 1 항 내지 제 3 항 중 어느 한 항에 있어서,
상기 등받이(3)는 상기 후방 피팅부(5) 둘레에서 제 1 회전 축선(A)을 중심으로 피봇팅가능한 방식으로 제공되며, 그리고/또는, 상기 좌석 부품(2)은 상기 전방 피팅부(4) 둘레에서 제 2 회전 축선(B)을 중심으로 피봇팅가능한 방식으로 제공되는,
차량 시트. - 제 1 항 내지 제 4 항 중 어느 한 항에 있어서,
상기 좌석 부품(2)은 사용 위치에서 상기 후방 피팅부(5)에 포지티브하게(positively) 그리고/또는 논포지티브하게(nonpositively) 연결되는,
차량 시트. - 제 1 항 내지 제 5 항 중 어느 한 항에 있어서,
상기 좌석 부품(2)은 상기 후방 피팅부(5) 상에 그리고 상기 후방 피팅부(5) 상에 배열되는 정지 요소(stop element) 상에 놓이며, 상기 좌석 부품(2)은, 바람직하게는, 사용 위치에서 후방 피팅부(5)에 해제가능하게 연결되는,
차량 시트. - 제 1 항 내지 제 6 항 중 어느 한 항에 있어서,
상기 좌석 부품(2)은, 특히, 커플링 요소(7)를 통해, 상기 후방 피팅부(5)에 커플링되며, 상기 커플링 요소(7)는, 바람직하게는, 상기 좌석 부품(2) 그리고 상기 후방 피팅부 상에 회전가능하게 배열되며, 그리고 상기 커플링 요소(7)는, 특히 바람직하게는, 특히 슬롯형 안내부(8')에 의해, 길이 방향으로 조절가능한 방식으로 상기 좌석 부품(2) 상에 배열되는,
차량 시트. - 제 1 항 내지 제 7 항 중 어느 한 항에 있어서,
상기 차량 시트(1)는 차량 본체에 대해 길이 방향으로 그리고/또는 수직으로 조절가능하도록 설계되며, 상기 차량 시트(1)는, 바람직하게는, 저부 레일(bottom rail)(11) 및 상부 레일(top rail)(10)을 가지며, 상기 저부 레일(11)은 상기 차량 본체에 고정된 방식으로 연결되며, 그리고 상기 상부 레일(10)은, 길이 방향으로 이동가능하고 그리고 바람직하게는 잠금가능한 방식으로, 상기 저부 레일(11) 상에 배열되며, 상기 전방 피팅부(4)는 상기 상부 레일(10) 상에 고착되며, 그리고/또는 상기 후방 피팅부(5)는 상기 상부 레일(10)에 대해 길이 방향으로 조절가능한 방식으로 상기 상부 레일(10) 상에 고착되는,
차량 시트. - 제 1 항 내지 제 8 항 중 어느 한 항에 있어서,
상기 차량 시트(1)는 수동식 및/또는 자동식 구동부(drive), 특히 전기식, 공압식, 및/또는 유압식 구동부를 가지며, 이 구동부는 상기 차량 시트(1)를 상기 로딩 위치로 조절하도록 구성되는,
차량 시트. - 차량 시트, 특히 제 1 항 내지 제 9 항에 따른 차량 시트(1)를 사용 위치로부터 로딩(loading) 위치로 조절하기 위한 방법으로서,
상기 차량 시트(1)의 등받이(3)에 연결되는 후방 피팅부(5)가 상기 차량 시트(1)의 좌석 부품(2)에 연결되는 전방 피팅부(4)에 대해 조절되는,
차량 시트를 조절하기 위한 방법. - 제 10 항에 있어서,
상기 후방 피팅부(5)는 상부 레일(10), 차량 본체(11) 및/또는 전방 피팅부(4)에 대해 길이 방향으로 조절되는,
차량 시트를 조절하기 위한 방법. - 제 10 항 또는 제 11 항에 있어서,
상기 차량 시트(1)의 등받이(3)는 제 1 회전 축선(A)을 중심으로 피봇팅되며, 그리고 상기 등받이(3)는, 바람직하게는, 실질적으로 수직한 위치에서 벗어나, 상기 좌석 부품(2)의 방향으로 전방으로 피봇팅되는,
차량 시트를 조절하기 위한 방법. - 제 10 항 내지 제 12 항 중 어느 한 항에 있어서,
상기 좌석 부품(2)은 제 2 회전 축선(B)을 중심으로 피봇팅되며, 그리고 상기 좌석 부품(2)은, 바람직하게는, 상기 후방 피팅부(5)의 조절과 함께 동시에, 특히 자동으로 피봇팅되며, 그리고 상기 좌석 부품(2)은, 특히 바람직하게는, 실질적으로 수직한 위치로 피봇팅되는,
차량 시트를 조절하기 위한 방법. - 제 10 항 내지 제 13 항 중 어느 한 항에 있어서,
상기 후방 피팅부(5)는, 조절 전에, 우선적으로 잠금해제되며, 그리고 상기 좌석 부품(2)은, 바람직하게는, 부가적으로 또는 대안적으로, 잠금해제되는,
차량 시트를 조절하기 위한 방법.
Applications Claiming Priority (5)
| Application Number | Priority Date | Filing Date | Title |
|---|---|---|---|
| DE102014200940.5 | 2014-01-20 | ||
| DE102014200940 | 2014-01-20 | ||
| DE102014209167.5 | 2014-05-15 | ||
| DE102014209167.5A DE102014209167A1 (de) | 2014-01-20 | 2014-05-15 | Fahrzeugsitz und Verfahren zur Einstellung einer Ladestellung |
| PCT/EP2015/050980 WO2015107213A1 (de) | 2014-01-20 | 2015-01-20 | Fahrzeugsitz und verfahren zur einstellung einer ladestellung |
Publications (1)
| Publication Number | Publication Date |
|---|---|
| KR20160107331A true KR20160107331A (ko) | 2016-09-13 |
Family
ID=52440647
Family Applications (1)
| Application Number | Title | Priority Date | Filing Date |
|---|---|---|---|
| KR1020167022434A Withdrawn KR20160107331A (ko) | 2014-01-20 | 2015-01-20 | 로딩 위치를 조절하기 위한 차량 시트 및 방법 |
Country Status (7)
| Country | Link |
|---|---|
| US (1) | US20160339813A1 (ko) |
| EP (1) | EP3096976A1 (ko) |
| JP (1) | JP2017503718A (ko) |
| KR (1) | KR20160107331A (ko) |
| CN (1) | CN106414160A (ko) |
| DE (1) | DE102014209167A1 (ko) |
| WO (1) | WO2015107213A1 (ko) |
Families Citing this family (7)
| Publication number | Priority date | Publication date | Assignee | Title |
|---|---|---|---|---|
| DE102014209168B4 (de) * | 2014-01-20 | 2021-03-25 | Adient Luxembourg Holding S.À R.L. | Fahrzeugsitz |
| DE102015222133A1 (de) | 2015-11-10 | 2017-05-11 | Sitech Sitztechnik Gmbh | Sitzverstellmechanismus eines Sitzes mit einer Schwenk-Schubeinheit |
| EP3393848B1 (en) * | 2015-12-23 | 2022-02-23 | Adient Luxembourg Holding S.à r.l. | A latching device and a slouch seat including the latching device |
| CN108657035B (zh) * | 2017-03-28 | 2021-04-20 | 诺博汽车系统有限公司 | 座椅和车辆 |
| US10596927B2 (en) * | 2017-10-05 | 2020-03-24 | Ford Global Technologies, Llc | Vehicle seating assembly |
| CN114056194B (zh) * | 2020-07-31 | 2023-05-09 | 比亚迪股份有限公司 | 座椅及座椅控制方法 |
| JP7053107B1 (ja) * | 2020-11-24 | 2022-04-12 | 日本発條株式会社 | 車両用シート |
Family Cites Families (14)
| Publication number | Priority date | Publication date | Assignee | Title |
|---|---|---|---|---|
| JPS54131221A (en) * | 1978-03-31 | 1979-10-12 | Nissan Motor Co Ltd | Automobile seat having front side turning hinge mechanism |
| DE3507894C2 (de) * | 1984-03-21 | 1986-11-06 | Daimler-Benz Ag, 7000 Stuttgart | Kraftwagensitz mit einer aus der Gebrauchslage nach vorn klappbaren Rückenlehne |
| US5626391A (en) * | 1995-05-25 | 1997-05-06 | Bertrand Faure Ltd. | Uptiltable rear vehicle seat assembly |
| US5707112A (en) * | 1996-05-03 | 1998-01-13 | Magna Lomason Corporation | Linear recliner with memory seatback dump mechanism |
| DE19964143C2 (de) * | 1999-09-11 | 2001-07-12 | Keiper Gmbh & Co | Fahrzeugsitz mit Packagestellung |
| EP1397269B1 (en) * | 2001-05-29 | 2006-03-01 | Intier Automotive Inc. | Easy entry seat with seat back mounted floor latch |
| DE10139538C1 (de) * | 2001-08-10 | 2003-03-20 | Faurecia Autositze Gmbh & Co | Fondsitz für Kraftfahrzeuge |
| US6817646B2 (en) * | 2002-08-26 | 2004-11-16 | Honda Giken Kogyo Kabushiki Kaisha | Vehicle seat |
| DE102005038802B4 (de) * | 2005-08-17 | 2008-05-08 | Faurecia Autositze Gmbh | Fondsitz |
| CA2582892A1 (en) * | 2006-03-28 | 2007-09-28 | Intier Automotive Inc. | Rising pivot seat |
| DE102009022568A1 (de) * | 2009-05-20 | 2010-11-25 | Keiper Gmbh & Co. Kg | Fahrzeugsitz, insbesondere Kraftfahrzeugsitz |
| DE102009037816B3 (de) * | 2009-08-12 | 2010-10-28 | Keiper Gmbh & Co. Kg | Fahrzeugsitz, insbesondere Kraftfahrzeugsitz |
| DE102012008533B4 (de) * | 2012-04-07 | 2014-08-14 | Faurecia Autositze Gmbh | Fahrzeugsitz |
| US8931844B2 (en) * | 2012-07-02 | 2015-01-13 | Ford Global Technologies, Llc | Easy slim fold seat |
-
2014
- 2014-05-15 DE DE102014209167.5A patent/DE102014209167A1/de not_active Ceased
-
2015
- 2015-01-20 KR KR1020167022434A patent/KR20160107331A/ko not_active Withdrawn
- 2015-01-20 EP EP15701949.8A patent/EP3096976A1/de not_active Withdrawn
- 2015-01-20 US US15/112,866 patent/US20160339813A1/en not_active Abandoned
- 2015-01-20 WO PCT/EP2015/050980 patent/WO2015107213A1/de not_active Ceased
- 2015-01-20 CN CN201580005113.3A patent/CN106414160A/zh active Pending
- 2015-01-20 JP JP2016564411A patent/JP2017503718A/ja not_active Withdrawn
Also Published As
| Publication number | Publication date |
|---|---|
| DE102014209167A1 (de) | 2015-08-06 |
| JP2017503718A (ja) | 2017-02-02 |
| CN106414160A (zh) | 2017-02-15 |
| US20160339813A1 (en) | 2016-11-24 |
| EP3096976A1 (de) | 2016-11-30 |
| WO2015107213A1 (de) | 2015-07-23 |
Similar Documents
| Publication | Publication Date | Title |
|---|---|---|
| KR20160107331A (ko) | 로딩 위치를 조절하기 위한 차량 시트 및 방법 | |
| DE102016111974B4 (de) | Vorrichtung zum Öffnen und Schließen einer verschiebbaren Armlehnenkonsole | |
| DE60319278T2 (de) | Herunterklappbare, im Boden verstaubare Kraftfahrzeugsitzanordnung | |
| US10065536B2 (en) | Reclining seat for a vehicle | |
| US10029587B2 (en) | Vehicle seat | |
| KR101658788B1 (ko) | 조절가능식 차량 시트 | |
| KR101475213B1 (ko) | 두 개의 윙 엘리먼트를 가지고 있는 헤드 레스트 | |
| US7758123B2 (en) | Vehicle seat | |
| EP3395608B1 (en) | Automobile seat | |
| US8496290B2 (en) | Motor vehicle seat with preloaded wing-rest and seat arrangement with such a motor vehicle seat | |
| US20160339810A1 (en) | Vehicle seat | |
| JP5093683B2 (ja) | 車両座席 | |
| US20160039316A1 (en) | Easy-entry system for a vehicle seat, and vehicle seat | |
| KR101864253B1 (ko) | 차량용 시트의 워크인 및 폴딩 장치 | |
| CN107161048A (zh) | 儿童安全座椅 | |
| CN106458069A (zh) | 用于头枕的调节机构 | |
| CN105365621A (zh) | 用于车辆座椅的头枕 | |
| JP2016539046A (ja) | 車両シート用前方旋回機構、及び車両シート | |
| US8613480B1 (en) | Child restraint system | |
| US20130328370A1 (en) | Adjusting device for a vehicle seat, vehicle seat, row of seats,vehicle seat and method for this | |
| RU2689073C2 (ru) | Подголовник для сиденья транспортного средства и сиденье транспортного средства | |
| US10093214B2 (en) | Mechanical manual leg tilt | |
| US20070284919A1 (en) | Vehicle Seat With Pivotable Flap | |
| US11752905B2 (en) | Device for providing fatigue-reducing position of vehicle seat | |
| DE102014209889B3 (de) | Kopfstütze für einen Fahrzeugsitz |
Legal Events
| Date | Code | Title | Description |
|---|---|---|---|
| A201 | Request for examination | ||
| PA0105 | International application |
Patent event date: 20160817 Patent event code: PA01051R01D Comment text: International Patent Application |
|
| PA0201 | Request for examination | ||
| PG1501 | Laying open of application | ||
| PC1202 | Submission of document of withdrawal before decision of registration |
Comment text: [Withdrawal of Procedure relating to Patent, etc.] Withdrawal (Abandonment) Patent event code: PC12021R01D Patent event date: 20170731 |