KR20100040887A - 막 및 회전 가능한 보호 캡을 갖는 클로저 - Google Patents

막 및 회전 가능한 보호 캡을 갖는 클로저 Download PDF

Info

Publication number
KR20100040887A
KR20100040887A KR1020107001876A KR20107001876A KR20100040887A KR 20100040887 A KR20100040887 A KR 20100040887A KR 1020107001876 A KR1020107001876 A KR 1020107001876A KR 20107001876 A KR20107001876 A KR 20107001876A KR 20100040887 A KR20100040887 A KR 20100040887A
Authority
KR
South Korea
Prior art keywords
closure
cap
protective cap
container
removal
Prior art date
Legal status (The legal status is an assumption and is not a legal conclusion. Google has not performed a legal analysis and makes no representation as to the accuracy of the status listed.)
Granted
Application number
KR1020107001876A
Other languages
English (en)
Other versions
KR101603348B1 (ko
Inventor
로타르 그루네르트
안드레아스 므라스
페터 뮐러
케말 이라이
토르슈텐 하젠찰
클라우스 오스발트
Original Assignee
메르크 파텐트 게엠베하
Priority date (The priority date is an assumption and is not a legal conclusion. Google has not performed a legal analysis and makes no representation as to the accuracy of the date listed.)
Filing date
Publication date
Application filed by 메르크 파텐트 게엠베하 filed Critical 메르크 파텐트 게엠베하
Publication of KR20100040887A publication Critical patent/KR20100040887A/ko
Application granted granted Critical
Publication of KR101603348B1 publication Critical patent/KR101603348B1/ko
Expired - Fee Related legal-status Critical Current
Anticipated expiration legal-status Critical

Links

Images

Classifications

    • BPERFORMING OPERATIONS; TRANSPORTING
    • B65CONVEYING; PACKING; STORING; HANDLING THIN OR FILAMENTARY MATERIAL
    • B65DCONTAINERS FOR STORAGE OR TRANSPORT OF ARTICLES OR MATERIALS, e.g. BAGS, BARRELS, BOTTLES, BOXES, CANS, CARTONS, CRATES, DRUMS, JARS, TANKS, HOPPERS, FORWARDING CONTAINERS; ACCESSORIES, CLOSURES, OR FITTINGS THEREFOR; PACKAGING ELEMENTS; PACKAGES
    • B65D47/00Closures with filling and discharging, or with discharging, devices
    • B65D47/04Closures with discharging devices other than pumps
    • B65D47/20Closures with discharging devices other than pumps comprising hand-operated members for controlling discharge
    • B65D47/26Closures with discharging devices other than pumps comprising hand-operated members for controlling discharge with slide valves, i.e. valves that open and close a passageway by sliding over a port, e.g. formed with slidable spouts
    • B65D47/261Closures with discharging devices other than pumps comprising hand-operated members for controlling discharge with slide valves, i.e. valves that open and close a passageway by sliding over a port, e.g. formed with slidable spouts having a rotational or helicoidal movement
    • B65D47/265Closures with discharging devices other than pumps comprising hand-operated members for controlling discharge with slide valves, i.e. valves that open and close a passageway by sliding over a port, e.g. formed with slidable spouts having a rotational or helicoidal movement between planar parts
    • BPERFORMING OPERATIONS; TRANSPORTING
    • B65CONVEYING; PACKING; STORING; HANDLING THIN OR FILAMENTARY MATERIAL
    • B65DCONTAINERS FOR STORAGE OR TRANSPORT OF ARTICLES OR MATERIALS, e.g. BAGS, BARRELS, BOTTLES, BOXES, CANS, CARTONS, CRATES, DRUMS, JARS, TANKS, HOPPERS, FORWARDING CONTAINERS; ACCESSORIES, CLOSURES, OR FITTINGS THEREFOR; PACKAGING ELEMENTS; PACKAGES
    • B65D41/00Caps, e.g. crown caps or crown seals, i.e. members having parts arranged for engagement with the external periphery of a neck or wall defining a pouring opening or discharge aperture; Protective cap-like covers for closure members, e.g. decorative covers of metal foil or paper
    • B65D41/32Caps or cap-like covers with lines of weakness, tearing-strips, tags, or like opening or removal devices, e.g. to facilitate formation of pouring openings
    • B65D41/34Threaded or like caps or cap-like covers provided with tamper elements formed in, or attached to, the closure skirt
    • B65D41/3404Threaded or like caps or cap-like covers provided with tamper elements formed in, or attached to, the closure skirt with ratchet-and-pawl mechanism between the container and the closure skirt or the tamper element
    • BPERFORMING OPERATIONS; TRANSPORTING
    • B65CONVEYING; PACKING; STORING; HANDLING THIN OR FILAMENTARY MATERIAL
    • B65DCONTAINERS FOR STORAGE OR TRANSPORT OF ARTICLES OR MATERIALS, e.g. BAGS, BARRELS, BOTTLES, BOXES, CANS, CARTONS, CRATES, DRUMS, JARS, TANKS, HOPPERS, FORWARDING CONTAINERS; ACCESSORIES, CLOSURES, OR FITTINGS THEREFOR; PACKAGING ELEMENTS; PACKAGES
    • B65D51/00Closures not otherwise provided for
    • B65D51/002Closures to be pierced by an extracting-device for the contents and fixed on the container by separate retaining means
    • BPERFORMING OPERATIONS; TRANSPORTING
    • B65CONVEYING; PACKING; STORING; HANDLING THIN OR FILAMENTARY MATERIAL
    • B65DCONTAINERS FOR STORAGE OR TRANSPORT OF ARTICLES OR MATERIALS, e.g. BAGS, BARRELS, BOTTLES, BOXES, CANS, CARTONS, CRATES, DRUMS, JARS, TANKS, HOPPERS, FORWARDING CONTAINERS; ACCESSORIES, CLOSURES, OR FITTINGS THEREFOR; PACKAGING ELEMENTS; PACKAGES
    • B65D2401/00Tamper-indicating means
    • B65D2401/15Tearable part of the closure

Landscapes

  • Engineering & Computer Science (AREA)
  • Mechanical Engineering (AREA)
  • Closures For Containers (AREA)
  • Pens And Brushes (AREA)
  • Professional, Industrial, Or Sporting Protective Garments (AREA)
  • Joints Allowing Movement (AREA)

Abstract

무균의 또는 수분 민감성 매질의 보관 및 제거를 위한 용기 (1) 의 개구의 밀봉을 위한 클로저 (2) 는 액밀식으로 용기에 연결될 수 있는 클로저 캡 (3) 과 액밀식으로 클로저 캡 (3) 의 적어도 하나의 제거 개구 (7) 를 밀봉하는 관통 가능한 자기 밀봉 격막 (self-sealing septum) (20) 을 가질 수 있고, 이 클로저 (2) 는 컷 아웃 (5) 을 갖는 회전 가능하게 장착된 보호 캡 (4) 을 갖는다. 컷 아웃 (5) 은 보호 캡 (4) 에 중심에서 벗어나서 배치되고, 클로저 캡 (4) 은 적어도 하나의 제거 개구 (7) 에 의해 둘러싸이지 않고 보호 캡 (4) 의 컷 아웃 (5) 보다 더 큰 중심에서 벗어난 클로저 영역 (9) 을 갖는다. 클로저 (2) 는 래치 메카니즘을 가지며, 이 메카니즘은 보호 캡 (4) 의 컷 아웃 (5) 이 클로저 캡 (3) 의 제거 개구 (7) 와 동일한 높이 또는 대안적으로는 제거 개구 (7) 로부터 어떠한 간격이 되도록 클로저 캡 (3) 에 대한 보호 캡 (4) 의 배치에 적절하다. 클로저 (2) 는 적어도 하나의 쉽게 조작할 수 없는 보호 수단을 갖는다.

Description

막 및 회전 가능한 보호 캡을 갖는 클로저{CLOSURE WITH MEMBRANE AND ROTATABLE PROTECTIVE CAP}
본 발명은 무균 또는 수분 민감성 매질의 보관 및 제거를 위한 용기의 개구의 밀봉을 위한 클로저에 관한 것이며 이 클로저는 액밀식으로 용기에 연결될 수 있는 클로저 캡과 액밀식으로 클로저 캡의 적어도 하나의 제거 개구를 밀봉하는 관통 가능한 자기 밀봉 격막 (self-sealing septum) 을 가질 수 있다.
조사 및 또한 산업적 분석 및 생산 공정과 관련하여, 무균 또는 수분 민감성 매질에 대한 요구가 종종 있는데, 이러한 매질은 장기간에 걸쳐 보관되고 때때로의 사용 또는 본질적으로는 소량의 매질의 연속적인 제거를 위하여 준비되어야 한다. 필요한 양의 매질의 제거는 아직 요구되지 않은 매질의 오염이 가능한한 배제되도록 간단한 방식으로 가능해야 한다.
이를 위해, 예컨대 유리 또는 플라스틱으로 만들어진 병과 같은 적절한 용기를 제거 개구를 갖는 클로저를 통하여 밀봉하는 것이 공지되어 있으며, 이 제거 개구는 격막을 통하여 액밀식으로 밀봉된다. 이러한 용기를 위한 이런 종류의 공지된 클로저는 이를 위해 하나 이상의 제거 개구를 갖고, 이 제거 개구는 용기의 내부를 향하는 측이 하나 이상의 제거 개구를 커버하는 격막에 의해 액밀식으로 커버 또는 밀봉된다.
용기에 있는 매질을 제거할 수 있게 하기 위해, 격막은 카눌라 (cannular) 를 통하여 관통되고, 필요한 양의 매질이 제거된다. 격막은 유리하게는 용기에 보관되는 매질에 대하여 불활성이고 (용기 재료와 같은 재료) 동시에 매질의 제거 이후 액밀식으로 자동적으로 재밀봉하기 위해 용이하게 관통될 수 있는 재료로 이루어진다.
각각의 경우에 사용되는 재료와 상관없이, 격막의 각각의 관통은 재료에 손상을 남기며, 이는 종종 볼 수 있고, 따라서, 특히 다수의 제거 조작 이후, 반복적으로 관통된 격막에 의한 용기의 액밀 또는 무균 밀봉은 더 이상 신뢰할 수 있게 보장될 수 없다.
동일한 지점의 격막의 반복되는 관통은 격막이 이 영역에서 더 이상 완전히 신뢰할 수 있게 밀봉하지 못하는 것을 초래할 수 있다는 것이 실제로 발견되었고, 이는 용기에 있는 매질의 무균 및 건조 보관이 더 이상 보장되지 않는 것을 의미한다. 이러한 이유로, 통상적으로 격막의 동일한 영역을 반복적으로 관통하는 것을 회피하고 관통 영역을 용기에 있는 매질의 제거에 사용하는 것을 목적으로 한다.
몇몇 분야를 위해 필요한 무균성을 보장하기 위해 그리고 추가적으로 용기의 내부로의 원치않는 수분의 유입을 방지하기 위해, 추가적인 보호 캡을 갖는 이러한 종류의 클로저를 제공하는 것이 실제로부터 알려져 있다. 이러한 보호 캡은 통상적으로 클로저에 조여지거나 또는 눌리게 되고 하나 이상의 제거 개구를 완전히 커버한다. 용기에 있는 매질이 제거될 수 있기 전에, 보호 캡은 격막을 통하여 밀봉되는 제거 개구를 개방하기 위해 반드시 제거되어야 한다. 이러한 종류의 클로저의 취급은 추가적인 보호 캡에 의해 더 어렵게 된다.
본 발명의 목적은 따라서 용기에 있는 매질이 가능한한 신뢰할 수 있게 환경적 영향에 대하여 보호되고 동시에 신속하고 간단한 매질의 제거가 용이하게 되도록 서두에 나타낸 포괄적인 종류의 클로저를 디자인 하는 것이다.
이 목적은 클로저가 컷 아웃 (cut-out) 을 가지며 회전 가능하게 장착된 보호 캡을 갖는 본 발명에 따라 달성된다. 회전 가능하게 장착된 보호 캡은 클로저 캡에 배치된 제거 개구를 개방시키기 위해 클로저 또는 클로저 캡으로부터 분리될 필요는 없다. 보호 캡은 단지 보호 캡의 컷 아웃이 지금까지 보호 캡에 의해 커버되었던 영역 내의 클로저 캡의 제거 개구를 개방시켜 매질의 제거를 위해 접근할 수 있을 때까지 회전되어야 한다. 하지만, 단지 회전 가능하게 장착된 보호 캡이 제거 개구의 새로운, 지금까지 사용되지 않은 영역을 나타내는 마킹 (marking) 을 갖고 이러한 마킹은 제거 개구와 보호 캡의 회전에 의한 제거 개구에 대하여 재위치되는 것으로 충분할 수 있다.
클로저에 회전 가능하게 장착되는 보호 캡은 이 보호 캡이 클로저로부터 완전히 분리될 필요가 없다는 이점을 추가적으로 가지며, 이는 무균 또는 고순도 작업 조건의 유지를 더 어렵게 할 수 있는 어떠한 묶여있지 않은 개별 부품을 취급할 필요가 없는 것을 의미한다. 회전 가능하게 장착된 보호 캡은 또한 예컨대 격막이 다른 손에 의해 관통되고 용기에 있는 매질이 제거될 수 있도록 한 손으로 또는 손으로 용기를 잡는 간단한 방식으로 신뢰할 수 있게 작동될 수 있다.
독창적인 아이디어의 특히 유리한 실시형태에 따르면, 클로저 캡의 적어도 하나의 제거 개구와 보호 캡의 컷 아웃은 각각 중심에서 벗어나서 배치되고 클로저 캡은 중심에서 벗어나며 적어도 하나의 제거 개구에 의해 둘러싸이지 않고 보호 캡의 컷 아웃보다 더 큰 영역을 갖는 것이 제공된다. 긴 기간동안 그리고 특히 용기의 처음 사용 이전에 어떠한 매질도 용기로부터 제거되지 않는다면, 보호 캡은 보호 캡의 컷 아웃이 제거 개구를 갖지 않는 클로저 캡의 영역 위에 놓이도록 클로저 캡에 대하여 회전 또는 위치될 수 있고, 따라서, 이들 아래에 배치되는 격막은 클로저 캡 또는 보호 캡에 의해 완전히 커버되고 외부 주위 영향에 대하여 보호된다. 단지 보호 캡의 컷 아웃이 적어도 부분적으로는 클로저 캡의 제거 개구의 위에 멈추도록 보호 캡이 클로저 캡에 대하여 회전될 때, 상기 영역은 외부로부터 접근 가능한 격막의 대응 영역이고 용기에 있는 매질의 제거를 위해 관통될 수 있다.
클로저 캡은 중심에서 벗어나서 배치되는 다수의 제거 개구를 갖고 보호 캡의 컷 아웃은 제거 개구의 치수에 매치되는 것이 바람직하게는 제공된다. 클로저 캡은, 예컨대 3, 5, 또는 그 이상의 제거 개구를 가질 수 있고, 바람직하게는 원형 또는 아크 부분의 형상을 가질 수 있다. 다수의 제거 개구는 각각 격막에 의해 밀봉된다. 여기서 격막은 하나의 부품이며 본질적으로 용기의 전체 개구 및 따라서 모든 제거 개구를 또한 커버하도록 디자인되거나, 또는 대안적으로는, 각각 할당된 제거 개구를 커버하는, 다수의 격막이 제공될 수 있다.
보호 캡의 컷 아웃은 유리하게는 제거 개구의 치수에 매치되고 유리하게는 다수의 제거 개구의 균일한 형상과 형상 및 치수가 대응한다. 하지만, 보호 캡의 컷 아웃이 개별 제거 개구의 치수보다 현저히 더 작은 것도 또한 있을 수 있으며, 따라서 보호 캡의 컷 아웃은 각각의 경우 보호 캡의 컷 아웃이 새로운 제거 개구 위에 위치되기 전에 지금까지 사용되지 않은 격막의 영역을 개방시키도록 제거 개구 내에서 다회 재위치될 수 있다.
독창적인 아이디어의 실시형태에 따르면, 보호 캡은 클로저 캡으로부터 보호 캡의 최초의 분리가 분명하도록 클로저 캡에 연결될 수 있다는 것이 제공된다. 특정 분야에서, 용기에 있는 매질이 다수의 제거 개구로부터 동시에 제거되는 것이 가능한 것이 그 분야에 있어서 유리할 수 있다. 다른 제거 개구를 통하여 용기에 있는 매질의 제거를 지지하기 위해 공기 또는 적절한 변위 매질이 제거 개구를 통하여 용기 안으로 유입되는 것이 또한 있을 수 있다. 단일 제거 개구의 영역을 더 크게 하기 위해 또는 대안적으로는 다수의 제거 개구가 동시에 접근 가능하게 하기 위해, 보호 캡은 클로저 캡으로부터 분리될 수 있다. 하지만, 클로저는 쉽게 조작할 수 없는 보호 수단을 갖고, 최초의 클로저 캡으로부터 보호 캡의 분리를 분명히 알 수 있고 해당 용기의 나중의 사용시 이를 고려할 수 있게 한다.
보호 캡은 필요한 경우, 예컨대 사용 동안 대응하는 요구의 경우 보호 캡의 간단하고 신속한 제거를 용이하게 하기 위해 분리 가능한 방식으로 클로저 캡에 연결될 수 있는 것이 또한 있을 수 있다. 이를 위해, 보호 캡은 클로저 캡에 래치식으로 또는 스냅 클로저에 의해 회전 가능하게 장착될 수 있다. 적절한 부착 장치가 이 경우 보호 캡의 회전 축선의 영역에서 중심에 가깝게 또는 보호 캡의 둘레를 따라 배치 또는 디자인될 수 있다.
클로저 캡은 용기로부터 클로저 캡의 최초의 분리가 분명하도록 분리 가능한 방식으로 용기에 또한 연결될 수 있는 것이 바람직하게는 제공된다. 특히 용기에 있는 다량의 매질을 신속하게 제거하기 위해, 클로저 캡은 용기로부터 완전히 분리되는 것이 유리할 수 있으며, 따라서 용기의 개구는 개방되고 용기에 있는 매질은 제거되거나 또는, 예컨대 쏟아진다. 클로저 캡 없이 일시적으로 사용되고 그 후 클로저 캡을 통하여 재밀봉되는 용기의 나중의 사용에서 이후의 시간에 이를 다시 성립될 수 있게 하고, 적절하다면 이를 고려할 수 있게 하기 위해, 클로저 캡은 쉽게 조작할 수 없는 보호 수단을 갖는다.
클로저의 취급을 간소화하기 위해 그리고 또한 보호 캡의 한 손 작동 또는 카눌라를 통한 관통을 위한 격막의 개방 및 용기에 있는 매질의 제거를 용이하게 하기 위해, 보호 캡은 측면으로 돌출하는 적어도 하나의 형상부를 갖는 것이 제공된다. 보호 캡은, 예컨대 8각 또는 12각 단면적의 다각형상을 가질 수 있으며, 따라서, 용기의 한 손 파지 동안 용기 또는 보호 캡의 특별한 배열과 상관없이, 보호 캡은 용기를 파지하는 손의 엄지 또는 검지에 의해 신뢰할 수 있게 작동 및 회전될 수 있다.
독창적인 아이디어의 예시적인 실시형태가 아래에 더욱 상세하게 설명되고 이들은 도면에 나타나 있다.
도 1 은 본 발명에 따른 클로저를 통하여 밀봉되는 용기의 경사도를 나타낸다.
도 2 는 다수의 제거 개구를 갖는 클로저 캡의 경사도를 나타낸다.
도 3 은 보호 캡의 확대 평면도를 나타낸다.
도 4 는 도 3 에 나타낸 보호 캡의 라인 (Ⅳ-Ⅳ) 을 따른 단면도를 나타낸다.
도 5 는 도 3 에 나타낸 보호 캡의 확대 단면 상세도 (Ⅴ) 를 나타낸다.
도 6 은 도 3 에 나타낸 보호 캡의 확대 상세도 (Ⅵ) 를 나타낸다.
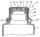
도 7 은 클로저를 갖는 도 1 에 나타낸 용기의 라인 (Ⅶ-Ⅶ) 을 따른 부분 단면도이다.
도 8 은 도 2 에 나타낸 클로저 캡의 저면도이다.
도 1 에 나타낸 용기 (1) 는 이 도면에는 보이지 않지만 클로저 (2) 에 의해 밀봉되는 개구를 갖는다. 클로저 (2) 는 클로저 캡 (3) 및 이 클로저 캡 (3) 에 회전 가능하게 배치된 보호 캡 (4) 을 갖는다. 보호 캡 (4) 은 컷 아웃 (5) 을 가지며, 이 컷 아웃은 완전히 채워진 용기 (1) 의 전달 상태에서 안전 커버 (6) 에 의해 완전하게 커버된다. 용기 (1) 에 있는 무균의 또는 수분 민감성 매질을 최초로 제거할 수 있게 하기 위해, 안전 커버 (6) 는 보호 캡 (4) 으로부터 분리되어야만 하며, 따라서 이 보호 캡 아래에 있는 컷 아웃 (5) 은 외부로부터 접근할 수 있게 되고 매질의 제거를 용이하게 한다.
이를 위해, 도 2 에 개별적으로 나타낸 클로저 캡 (3) 은 다수의 제거 개구 (7) 를 갖는다. 도면에 나타낸 예시적인 실시형태에서, 5 개의 원형 제거 개구 (7) 가 서로로부터 그리고 클로저 캡 (3) 의 회전 축선 (8) 으로부터 어떠한 간격으로 배치된다. 제거 개구 (7) 에 둘러싸이지 않고 그 치수가 각각의 제거 개구 (7) 의 치수보다 더 큰 구역 (9) 이 두 인접한 제거 개구 (7) 사이에 배치된다. 이 구역 (9) 에서, 클로저 캡 (3) 은, 보호 캡 (4) 의 특정 배열과 상관없이, 기본적으로는 용기 (1) 의 개구의 할당 영역을 커버한다.
예시를 위해, 도 3 및 도 4 는 보호 캡 (4) 의 확대도를 나타낸다. 보호 캡 (4) 의 컷 아웃 (5) 은 안전 커버 (6) 에 의해 대부분 커버되어 있고, 안전 커버는 보호 캡 (4) 위에 일체로 형성되고 좁은 웹 (web) 을 통해 보호 캡 (4) 에 연결된다. 이러한 방법으로 디자인 된 보호 캡 (4) 은 예컨대 폴리에틸렌 (PE) 과 같은 적절한 재료로부터, 표준 사출 성형 공정을 사용하여 간단하고 저렴하게 생산될 수 있다.
보호 캡 (4) 은 본질적으로는 원통형 내면 (10) 및 보호 캡 (4) 의 둘레를 따라 12 개의 편평한 면 (12) 으로 나누어지는 외면 (11) 을 갖는다. 편평한 면 (12) 은 각각 인접한 편평한 면 (12) 에 대해 30°의 각을 갖는다. 이러한 방법으로 형성된 에지 (13) 는 보호 캡 (4) 이 간단하게 파지되고 회전될 수 있게 하는, 간단한 한 손 조작 (one-handed operation) 을 가능하게 한다.
보호 캡 (4) 은 그의 중심에 두 개의 래치 요소 (14) 를 가지며, 이들은 클로저 캡 (3) 의 할당 개구 안으로 유입될 수 있고 보호 캡 (4) 을 클로저 캡 (3) 에 영구적으로 연결시킬 수 있다. 보호 캡 (4) 이 클로저 캡 (3) 으로부터 분리되어야 한다면, 두 개의 래치 요소 (14) 중 적어도 하나는 이를 위해 구부러지거나 또는 벌어져야만 하며, 이는 최초의 클로저 캡 (3) 으로부터 보호 캡 (4) 의 완전한 분리가 어느 때에도 분명히 알 수 있다는 것을 의미한다. 이는 또한 쉽게 조작할 수 없는 보호 수단을 나타낸다. 예시적인 실시형태에서 실현되는, 래치 요소 (14) 의 하나의 가능한 디자인은 도 6 에 더 확대되어 나타나 있다.
클로저 캡 (3) 에 대하여 보호 캡 (4) 의 배열을 간소화 또는 명시하기 위해, 보호 캡 (4) 은 내면 (10) 에 다수의, 나타낸 예시적인 실시형태에는 12 개인, 내부로 돌출하는 비드형 래치 요소 (15) 를 갖는다. 래치 요소 (15) 는 각각 편평한 면 (12) 에 할당될 수 있다. 클로저 캡 (3) 은 래치 요소 (15) 의 형상에 매치되고 둘레 방향으로 수직으로 배열되는 홈 (16) 을 갖고, 이 홈 안에 래치 요소 (15) 가 각각 결합될 수 있다. 홈 (16) 은, 예컨대 도 2 에 나타나 있다.
래치 요소 (15) 의 형상은, 한편 보호 캡 (4) 의 회전이 과도하게 방지되지 않도록 하면서, 다른 한편, 클로저 캡 (3) 의 홈 (16) 에 결합되는 래치 요소 (15) 에 의한 보호 캡 (4) 의 위치 지정이 바람직하게 되는 형상이다. 따라서 사용자가 보호 캡 (4) 의 회전에서, 래치 요소 (15) 에 의해 명시되는 보호 캡 (4) 의 위치 및 클로저 캡 (3) 에 대한 컷 아웃 (5) 의 위치를 감지 또는 느낄 수 있다.
래치 요소 (15) 의 가능한 디자인이 도 5 의 확대 상세도에 예시되어 있다.
도 7 은 용기 (1) 의 단면도를 나타내며, 이 용기는 그의 전달 상태에서, 클로저 (2) 를 통하여 밀봉된다. 클로저 (2) 의 클로저 캡 (3) 은 나사산 (17) 을 통하여 용기 (1) 에 조여진다. 격막 (20) 이 용기의 상부 에지 (18) 와 클로저 캡 (3) 의 내측 (19) 사이에 배치된다. 격막 (20) 은 바람직하게는 용기 (1) 의 내부를 향하는 면이, 예컨대 PTFE 와 같은 불활성 재료로 코팅된 실리콘으로 이루어진다.
격막 (20) 을 향하는 내측 (19) 에서, 클로저 캡 (3) 은 외부 에지로부터 어떠한 간격으로 배치되고, 용기의 내부의 방향으로 돌출하는 형상부 (21) 를 갖는다. 클로저 캡 (3) 이 용기 (1) 에 단단하게 조여질 때, 내부로 돌출하는 형상부 (21) 는 용기 (1) 의 상부 에지 (18) 내측의 격막 (20) 위에 눌리고 격막의 미세한 변형을 발생시키며, 따라서 격막 (20) 의 재료는 장력을 받고 재료의 자기 밀봉 특성은 증가된다.
용기 (1) 에 대한 클로저 캡 (3) 의 조임 클로저에는 또한 쉽게 조작할 수 없는 보호 수단이 제공된다. 이를 위해, 방사상으로 내부로 배열되지 않지만, 대신 각각 약 50°의 각을 갖는 다수의 층상 (lamellar) 형상부 (23) 가 용기 (1) 를 향하는 클로저 캡 (3) 의 단부 영역 (22) 에 형성된다. 용기 (1) 는 어떠한 각도로 돌출하는 매치되는 형상부를 갖고, 이는 클로저 캡 (3) 이 용기 (1) 에 조여질 때 형상부 (23) 가 용기 (1) 의 형상에 걸쳐 사실상 제약을 받지 않고 미끄러지도록 디자인되고, 반면 클로저 캡 (3) 을 해제하기 위하여 클로저 캡 (3) 이 풀리고 증가된 작용력에 의해 구부러져야 할 때 형상부 (23) 는 용기 (1) 의 관련 형상부와 결합된다. 이러한 방법으로, 필요하다면 또는 개별적인 경우에 요구된다면 용기 개구를 완전히 개방시키기 위해 클로저 (2) 는 용기 (1) 로부터 완전히 제거될 수 있다. 하지만, 이러한 방식으로 용기 (1) 를 개방하는 것은 이후 어느 때에도 분명히 알 수 있는 층상 형상부 (23) 의 영구적인 변형을 야기하며, 또한 쉽게 조작할 수 없는 보호 수단을 제공한다.
클로저 (2) 는 어떠한 사출 성형 가능한 폴리머를 사용하여 생산될 수 있지만, 이러한 폴리머는 바람직하게는 공격성 용매 (aggressive solvent) 에 대하여 불활성이며, 또한 침출 (leaching) 에 대해서도 불활성이다.
클로저 캡 (3) 에 대한 보호 캡 (4) 의 한 방향의 회전이 미리 명시되는 것이 또한 있을 수 있다. 이를 위해, 비교 가능한 층상 형상부 (23) 는 예를 들어, 보호 캡 (4) 또는 클로저 캡 (3) 에 제공될 수 있고 이 형상부는 예컨대 보호 캡 (4) 의 한 방향의 회전만이 가능하게 하고 반대 방향의 회전을 막는다. 이러한 방법으로, 보호 캡 (4) 이 상이한 방향으로 다회 회전되는 것과 컷 아웃 (5) 이 매질의 제거를 위해 이미 사용된 제거 개구 (7) 에 걸쳐 반복적으로 위치되는 것을 방지하는 것이 가능하다. 이러한 종류의 조치를 통하여, 용기 (1) 에 있는 매질의 무균성은 또한 다수의 제거 조작에 대하여 실질적으로 보장될 수 있다.
도면에 나타낸 예시적인 실시형태는 단지 예시를 위한 것이며 당업자에게 이용될 수 있는 지식의 범위 내에서 다양한 변경이 가능하다. 하지만, 설명된 발명의 원리의 일반적 유효성 때문에, 실시예로서 나타낸 예시적인 실시형태는 본 출원의 보호 범위를 이 실시형태로 줄이는 것은 적절하지 않다.
본 발명에 본질적인 특징으로서 특별히 나타내지 않는다면, 도면에 나타낸 또는 설명된 치수 또는 상대 크기 비율은 단지 각각의 경우 본 발명의 원리의 가능한 실시형태를 예시하기 위한 것임은 당업자에게 말할 필요도 없으며, 따라서 이러한 치수 또는 크기 비율에 구속되지 않는다.

Claims (8)

  1. 무균의 또는 수분 민감성 매질의 보관 및 제거를 위한 용기의 개구의 밀봉을 위한 클로저로서, 상기 클로저는 액밀식으로 용기에 연결될 수 있는 클로저 캡과 액밀식으로 클로저 캡의 적어도 하나의 제거 개구를 밀봉하는 관통 가능한 자기 밀봉 격막 (self-sealing septum) 을 갖는 클로저에 있어서, 상기 클로저 (2) 는 컷 아웃 (5) 을 갖는 회전 가능하게 장착된 보호 캡 (4) 을 갖는 것을 특징으로 하는 클로저.
  2. 제 1 항에 있어서, 상기 클로저 캡 (3) 의 적어도 하나의 제거 개구 (7) 및 보호 캡 (4) 의 컷 아웃 (5) 은 각각 중심에서 벗어나서 배치되고, 상기 클로저 캡 (4) 은 중심에서 벗어난 클로저 영역 (9) 을 갖고, 이 영역은 적어도 하나의 제거 개구 (7) 에 의해 둘러싸이지 않고 보호 캡 (4) 의 컷 아웃 (5) 보다 더 큰 것을 특징으로 하는 클로저.
  3. 제 1 항 또는 제 2 항에 있어서, 상기 클로저 캡 (3) 은 중심에서 벗어나서 배치되는 다수의 제거 개구 (7) 를 갖고 보호 캡 (4) 의 컷 아웃 (5) 은 제거 개구 (7) 의 치수와 매치되는 것을 특징으로 하는 클로저.
  4. 제 1 항 내지 제 3 항 중 1 이상의 항에 있어서, 상기 클로저 (2) 는 래치 메카니즘을 가지며, 이 래치 메카니즘은 보호 캡 (4) 의 컷 아웃 (5) 이 클로저 캡 (3) 의 제거 개구 (7) 와 동일한 높이 또는 대안적으로는 제거 개구 (7) 로부터 어떠한 간격으로 배열되도록 클로저 캡 (3) 에 대하여 보호 캡 (4) 을 배치하기에 적절한 것을 특징으로 하는 클로저.
  5. 제 1 항 내지 제 4 항 중 1 이상의 항에 있어서, 상기 클로저 (2) 는 잠금 메카니즘을 갖고, 이 메카니즘은 보호 캡 (4) 이 미리 명시된 회전 방향에 반하여 회전되는 것을 방지하는 것을 특징으로 하는 클로저.
  6. 제 1 항 내지 제 5 항 중 1 이상의 항에 있어서, 상기 보호 캡 (4) 은 클로저 캡 (3) 으로부터의 최초의 보호 캡 (4) 의 분리를 분명히 알 수 있도록 분리 가능한 방식으로 클로저 캡 (3) 에 연결될 수 있는 것을 특징으로 하는 클로저.
  7. 제 1 항 내지 제 6 항 중 1 이상의 항에 있어서, 상기 클로저 캡 (3) 은 용기 (1) 로부터의 최초의 클로저 캡 (3) 의 분리를 분명히 알 수 있도록 분리 가능한 방식으로 용기 (1) 에 연결될 수 있는 것을 특징으로 하는 클로저.
  8. 제 1 항 내지 제 7 항 중 1 이상의 항에 있어서, 상기 호보 캡 (4) 은 측면으로 돌출하는 적어도 하나의 형상부를 갖는 것을 특징으로 하는 클로저.
KR1020107001876A 2007-06-29 2008-06-02 막 및 회전 가능한 보호 캡을 갖는 클로저 Expired - Fee Related KR101603348B1 (ko)

Applications Claiming Priority (4)

Application Number Priority Date Filing Date Title
DE102007030352 2007-06-29
DE102007030352.3 2007-06-29
DE102007058349.6 2007-12-03
DE102007058349A DE102007058349A1 (de) 2007-06-29 2007-12-03 Verschluss

Related Child Applications (1)

Application Number Title Priority Date Filing Date
KR20157005258A Division KR20150034810A (ko) 2007-06-29 2008-06-02 막 및 회전 가능한 보호 캡을 갖는 클로저

Publications (2)

Publication Number Publication Date
KR20100040887A true KR20100040887A (ko) 2010-04-21
KR101603348B1 KR101603348B1 (ko) 2016-03-14

Family

ID=40076110

Family Applications (2)

Application Number Title Priority Date Filing Date
KR20157005258A Ceased KR20150034810A (ko) 2007-06-29 2008-06-02 막 및 회전 가능한 보호 캡을 갖는 클로저
KR1020107001876A Expired - Fee Related KR101603348B1 (ko) 2007-06-29 2008-06-02 막 및 회전 가능한 보호 캡을 갖는 클로저

Family Applications Before (1)

Application Number Title Priority Date Filing Date
KR20157005258A Ceased KR20150034810A (ko) 2007-06-29 2008-06-02 막 및 회전 가능한 보호 캡을 갖는 클로저

Country Status (12)

Country Link
US (1) US10160576B2 (ko)
EP (1) EP2160337B1 (ko)
JP (1) JP5319669B2 (ko)
KR (2) KR20150034810A (ko)
CN (1) CN101687581B (ko)
AT (1) ATE526249T1 (ko)
AU (1) AU2008271686B2 (ko)
BR (1) BRPI0813466B1 (ko)
DE (1) DE102007058349A1 (ko)
ES (1) ES2373868T3 (ko)
NZ (1) NZ582880A (ko)
WO (1) WO2009003563A1 (ko)

Families Citing this family (17)

* Cited by examiner, † Cited by third party
Publication number Priority date Publication date Assignee Title
DE102007058349A1 (de) 2007-06-29 2009-01-02 Merck Patent Gmbh Verschluss
US20090166311A1 (en) * 2007-12-27 2009-07-02 Helvoet Pharma Belgium N.V. Pharmaceutical closure with a laser-applied marking
SG192310A1 (en) 2012-02-02 2013-08-30 Becton Dickinson Holdings Pte Ltd Adaptor for coupling to a medical container
WO2013115728A1 (en) 2012-02-02 2013-08-08 Becton Dickinson Holdings Pte. Ltd. Adaptor for coupling with a medical container
SG192312A1 (en) * 2012-02-02 2013-08-30 Becton Dickinson Holdings Pte Ltd Adaptor for coupling to a medical container
EP2735300A1 (en) * 2012-11-26 2014-05-28 Becton Dickinson France Adaptor for multidose medical container
CN103057830B (zh) * 2013-01-21 2015-04-15 浙江欧诗漫集团有限公司 化妆品软管
JP1526207S (ko) 2013-08-05 2015-06-15
DE202013012012U1 (de) 2013-12-20 2014-12-22 Leica Biosystems Nussloch Gmbh Selbstdichtendes Verbindungssystem und Verbindungselement
WO2019121424A1 (en) * 2017-12-21 2019-06-27 Ge Healthcare Bio-Sciences Corp. A fluid port
GB2615435B (en) * 2018-11-17 2024-01-31 Ceres Chill Co Vessel for breast milk collection, preservation, transportation, and delivery
USD920803S1 (en) 2019-10-23 2021-06-01 S. C. Johnson & Son, Inc. Dispenser
US12397975B2 (en) 2021-01-27 2025-08-26 Gill, Llc Multi-component sample container cap
DE102021106715A1 (de) 2021-03-18 2022-09-22 G.A.S. Gesellschaft für analytische Sensorsysteme m.b.H. Verschlussaufsatz
USD980074S1 (en) 2021-07-13 2023-03-07 S. C. Johnson & Son, Inc. Container
US11975895B2 (en) * 2021-10-06 2024-05-07 Sysler Corporation Multi-purpose container
EP4504613A1 (en) * 2022-04-01 2025-02-12 Gill, LLC Locking sample cap

Citations (2)

* Cited by examiner, † Cited by third party
Publication number Priority date Publication date Assignee Title
US1189465A (en) * 1916-01-24 1916-07-04 Abbott Lab Container for hypodermic solutions.
US6988642B2 (en) * 2002-10-29 2006-01-24 Johnson & Johnson Consumer Companies Tamper-evident dispenser bottle

Family Cites Families (33)

* Cited by examiner, † Cited by third party
Publication number Priority date Publication date Assignee Title
DE220068C (ko) *
US2183585A (en) * 1939-12-19 Container
US2142278A (en) * 1938-07-23 1939-01-03 Ralph W Mendelson Medicinal carrying tube
US2459304A (en) * 1946-08-28 1949-01-18 Blank Frederick Medical vial stopper for insuring sterile needle punctures
US2608972A (en) * 1948-02-23 1952-09-02 Chrigstrom Knut Vilhelm Guide for hypodermic syringes
US2629379A (en) * 1951-02-21 1953-02-24 Abbott Lab Puncture indicating closure for multiple dose vials
US3209964A (en) * 1963-09-30 1965-10-05 Johnson & Johnson Dispenser-container
NL275977A (ko) * 1963-11-22
US3260422A (en) * 1964-07-27 1966-07-12 Owens Illinois Glass Co Shaker or sifter-type dispensers
US3260423A (en) * 1964-07-27 1966-07-12 Owens Illinois Inc Shaker or sifter-type dispensers
US3260426A (en) * 1964-10-13 1966-07-12 Wheaton Plastics Company Container closure comprising a stationary apertured cap and a rotary apertured cap
US3325066A (en) * 1965-10-22 1967-06-13 Continental Can Co Dispensing container having a rotary closure cap
US3424329A (en) * 1967-06-21 1969-01-28 Schering Corp Sealed injection vial
US3855997A (en) * 1973-07-11 1974-12-24 Cinco Medical Health Supply Co Sterile specimen trap
US4076152A (en) * 1977-05-23 1978-02-28 Owens-Illinois, Inc. Fitment-retaining closure
US4254884A (en) * 1978-10-20 1981-03-10 Toppan Printing Co., Ltd. Plug body for a container
FR2460261A1 (fr) * 1979-07-04 1981-01-23 Tournus Sa Moulage Bouchon verseur de securite
US4437593A (en) * 1982-07-12 1984-03-20 Three Sisters Ranch Enterprises Overcap for spice canister
US4613063A (en) * 1985-01-07 1986-09-23 Sunbeam Plastics Corporation Dispensing package
US4934546A (en) * 1989-01-30 1990-06-19 Cap Snap Co. Tamper evident cap having lift tab on bottom edge
US4984700A (en) * 1989-11-17 1991-01-15 Calmar, Inc. Tamper indicating closure assembly
US5183171A (en) * 1991-08-23 1993-02-02 J. L. Clark, Inc. Closure with dispensing fitment and screw-on cap
US5269432A (en) * 1993-04-19 1993-12-14 Beckertgis Nicholas G Insect-proof and tamper-evident cover for beverage container
US5388731A (en) * 1993-05-04 1995-02-14 Continental Plastics, Inc. Cap and dispensing fitment combination wherein the cap has retaining means engaging the fitment
US5680968A (en) * 1995-05-03 1997-10-28 Phoenix Closures, Inc. Container closure system
IT1287402B1 (it) * 1996-02-29 1998-08-06 Bormioli Metalplast Spa Capsula per la chiusura di sicurezza di contenitori
US5992660A (en) * 1997-10-15 1999-11-30 Taisei Kako Company, Limited Closure for vial container
CN2387054Y (zh) * 1999-08-19 2000-07-12 徐明堂 金属罐
DE10138191B4 (de) * 2001-08-03 2004-02-26 Helvoet Pharma Belgium N.V. Verschluss für Infusions- oder Transfusionsflaschen
US7438204B2 (en) * 2005-10-13 2008-10-21 S. C. Johnson & Son, Inc. Apparatus for dispensing a granular product from a container
US7766197B2 (en) * 2006-02-28 2010-08-03 Silgan Plastics Corporation Closure with selectable dispensing orifices
US7513399B2 (en) * 2006-02-28 2009-04-07 Silgan Plastics Corporation Closure with selectable dispensing orifices
DE102007058349A1 (de) * 2007-06-29 2009-01-02 Merck Patent Gmbh Verschluss

Patent Citations (2)

* Cited by examiner, † Cited by third party
Publication number Priority date Publication date Assignee Title
US1189465A (en) * 1916-01-24 1916-07-04 Abbott Lab Container for hypodermic solutions.
US6988642B2 (en) * 2002-10-29 2006-01-24 Johnson & Johnson Consumer Companies Tamper-evident dispenser bottle

Also Published As

Publication number Publication date
BRPI0813466A2 (pt) 2015-01-06
ES2373868T3 (es) 2012-02-09
CN101687581B (zh) 2012-02-22
NZ582880A (en) 2011-08-26
US10160576B2 (en) 2018-12-25
AU2008271686B2 (en) 2013-09-12
JP2010531781A (ja) 2010-09-30
BRPI0813466B1 (pt) 2018-04-03
JP5319669B2 (ja) 2013-10-16
WO2009003563A1 (de) 2009-01-08
US20100176080A1 (en) 2010-07-15
EP2160337B1 (de) 2011-09-28
CN101687581A (zh) 2010-03-31
AU2008271686A1 (en) 2009-01-08
KR20150034810A (ko) 2015-04-03
DE102007058349A1 (de) 2009-01-02
ATE526249T1 (de) 2011-10-15
EP2160337A1 (de) 2010-03-10
KR101603348B1 (ko) 2016-03-14

Similar Documents

Publication Publication Date Title
KR20100040887A (ko) 막 및 회전 가능한 보호 캡을 갖는 클로저
US3871545A (en) Closure devices for containers
US8678222B2 (en) Airtight compact
US7690525B2 (en) Screw cap
EP1435254B1 (en) Tube closure with removable septum
WO2004096658A1 (en) Flip top container with built in desiccant
WO2018230307A1 (ja) 揮散容器
KR102074579B1 (ko) 마스크 팩 케이스
CN103298710A (zh) 复式容器
CA1058566A (en) Specimen container
US20190127132A1 (en) Container with a Receiving Area and Method for Removing a Substance from the Receiving Area of a Container
JP2004359251A (ja) ヒンジキャップ
CN210192258U (zh) 一种儿童锁盒子
SE509830C2 (sv) Behållare för förvaring av tabletter
JP2000226054A (ja) バージンシール付き密閉容器
CN210794195U (zh) 一种便于启闭的药瓶
US11655079B1 (en) Anti-theft plastic bottle cap
KR100626872B1 (ko) 탄력버팀대에 붙박이 지지되는 용기의 마개구조
KR102616502B1 (ko) 기밀성 및 결합성이 강화된 밀폐 용기 어셈블리
KR101262072B1 (ko) 콘택트 렌즈용 스크류 캡 패키지
CA2240928C (en) Container for storing tablets
KR200221814Y1 (ko) 용기용 캡
KR200340196Y1 (ko) 실리카팩킹을 구비한 용기마개
JP2005178867A (ja) 不正開封防止機能付きのヒンジキャップ
JP2005096862A (ja) 離脱部材を有するキャップ及び薬剤収容容器

Legal Events

Date Code Title Description
PA0105 International application

St.27 status event code: A-0-1-A10-A15-nap-PA0105

P11-X000 Amendment of application requested

St.27 status event code: A-2-2-P10-P11-nap-X000

P13-X000 Application amended

St.27 status event code: A-2-2-P10-P13-nap-X000

PG1501 Laying open of application

St.27 status event code: A-1-1-Q10-Q12-nap-PG1501

A201 Request for examination
P11-X000 Amendment of application requested

St.27 status event code: A-2-2-P10-P11-nap-X000

P13-X000 Application amended

St.27 status event code: A-2-2-P10-P13-nap-X000

PA0201 Request for examination

St.27 status event code: A-1-2-D10-D11-exm-PA0201

E902 Notification of reason for refusal
PE0902 Notice of grounds for rejection

St.27 status event code: A-1-2-D10-D21-exm-PE0902

P11-X000 Amendment of application requested

St.27 status event code: A-2-2-P10-P11-nap-X000

P13-X000 Application amended

St.27 status event code: A-2-2-P10-P13-nap-X000

E601 Decision to refuse application
PE0601 Decision on rejection of patent

St.27 status event code: N-2-6-B10-B15-exm-PE0601

PJ0201 Trial against decision of rejection

St.27 status event code: A-3-3-V10-V11-apl-PJ0201

A107 Divisional application of patent
PA0104 Divisional application for international application

St.27 status event code: A-0-1-A10-A18-div-PA0104

St.27 status event code: A-0-1-A10-A16-div-PA0104

J301 Trial decision

Free format text: TRIAL DECISION FOR APPEAL AGAINST DECISION TO DECLINE REFUSAL REQUESTED 20150128

Effective date: 20151123

PJ1301 Trial decision

St.27 status event code: A-3-3-V10-V15-crt-PJ1301

Decision date: 20151123

Appeal event data comment text: Appeal Kind Category : Appeal against decision to decline refusal, Appeal Ground Text : 2010 7001876

Appeal request date: 20150128

Appellate body name: Patent Examination Board

Decision authority category: Office appeal board

Decision identifier: 2015101000451

PS0901 Examination by remand of revocation

St.27 status event code: A-6-3-E10-E12-rex-PS0901

S901 Examination by remand of revocation
GRNO Decision to grant (after opposition)
PS0701 Decision of registration after remand of revocation

St.27 status event code: A-3-4-F10-F13-rex-PS0701

GRNT Written decision to grant
PR0701 Registration of establishment

St.27 status event code: A-2-4-F10-F11-exm-PR0701

PR1002 Payment of registration fee

St.27 status event code: A-2-2-U10-U12-oth-PR1002

Fee payment year number: 1

PG1601 Publication of registration

St.27 status event code: A-4-4-Q10-Q13-nap-PG1601

FPAY Annual fee payment

Payment date: 20190218

Year of fee payment: 4

PR1001 Payment of annual fee

St.27 status event code: A-4-4-U10-U11-oth-PR1001

Fee payment year number: 4

FPAY Annual fee payment

Payment date: 20200218

Year of fee payment: 5

PR1001 Payment of annual fee

St.27 status event code: A-4-4-U10-U11-oth-PR1001

Fee payment year number: 5

PR1001 Payment of annual fee

St.27 status event code: A-4-4-U10-U11-oth-PR1001

Fee payment year number: 6

R18-X000 Changes to party contact information recorded

St.27 status event code: A-5-5-R10-R18-oth-X000

PR1001 Payment of annual fee

St.27 status event code: A-4-4-U10-U11-oth-PR1001

Fee payment year number: 7

PR1001 Payment of annual fee

St.27 status event code: A-4-4-U10-U11-oth-PR1001

Fee payment year number: 8

PR1001 Payment of annual fee

St.27 status event code: A-4-4-U10-U11-oth-PR1001

Fee payment year number: 9

PC1903 Unpaid annual fee

St.27 status event code: A-4-4-U10-U13-oth-PC1903

Not in force date: 20250309

Payment event data comment text: Termination Category : DEFAULT_OF_REGISTRATION_FEE

H13 Ip right lapsed

Free format text: ST27 STATUS EVENT CODE: N-4-6-H10-H13-OTH-PC1903 (AS PROVIDED BY THE NATIONAL OFFICE); TERMINATION CATEGORY : DEFAULT_OF_REGISTRATION_FEE

Effective date: 20250309

PC1903 Unpaid annual fee

St.27 status event code: N-4-6-H10-H13-oth-PC1903

Ip right cessation event data comment text: Termination Category : DEFAULT_OF_REGISTRATION_FEE

Not in force date: 20250309