JP7676366B2 - 治療装置 - Google Patents

治療装置 Download PDF

Info

Publication number
JP7676366B2
JP7676366B2 JP2022511741A JP2022511741A JP7676366B2 JP 7676366 B2 JP7676366 B2 JP 7676366B2 JP 2022511741 A JP2022511741 A JP 2022511741A JP 2022511741 A JP2022511741 A JP 2022511741A JP 7676366 B2 JP7676366 B2 JP 7676366B2
Authority
JP
Japan
Prior art keywords
shaft
irradiation
distal
tip
light
Prior art date
Legal status (The legal status is an assumption and is not a legal conclusion. Google has not performed a legal analysis and makes no representation as to the accuracy of the status listed.)
Active
Application number
JP2022511741A
Other languages
English (en)
Other versions
JPWO2021199976A1 (ja
Inventor
達 末原
まゆ 秦
Current Assignee (The listed assignees may be inaccurate. Google has not performed a legal analysis and makes no representation or warranty as to the accuracy of the list.)
Terumo Corp
Original Assignee
Terumo Corp
Priority date (The priority date is an assumption and is not a legal conclusion. Google has not performed a legal analysis and makes no representation as to the accuracy of the date listed.)
Filing date
Publication date
Application filed by Terumo Corp filed Critical Terumo Corp
Publication of JPWO2021199976A1 publication Critical patent/JPWO2021199976A1/ja
Application granted granted Critical
Publication of JP7676366B2 publication Critical patent/JP7676366B2/ja
Active legal-status Critical Current
Anticipated expiration legal-status Critical

Links

Images

Classifications

    • AHUMAN NECESSITIES
    • A61MEDICAL OR VETERINARY SCIENCE; HYGIENE
    • A61NELECTROTHERAPY; MAGNETOTHERAPY; RADIATION THERAPY; ULTRASOUND THERAPY
    • A61N5/00Radiation therapy
    • A61N5/06Radiation therapy using light
    • A61N5/0613Apparatus adapted for a specific treatment
    • A61N5/062Photodynamic therapy, i.e. excitation of an agent
    • AHUMAN NECESSITIES
    • A61MEDICAL OR VETERINARY SCIENCE; HYGIENE
    • A61NELECTROTHERAPY; MAGNETOTHERAPY; RADIATION THERAPY; ULTRASOUND THERAPY
    • A61N5/00Radiation therapy
    • A61N5/06Radiation therapy using light
    • A61N5/0601Apparatus for use inside the body
    • AHUMAN NECESSITIES
    • A61MEDICAL OR VETERINARY SCIENCE; HYGIENE
    • A61BDIAGNOSIS; SURGERY; IDENTIFICATION
    • A61B17/00Surgical instruments, devices or methods
    • A61B17/42Gynaecological or obstetrical instruments or methods
    • AHUMAN NECESSITIES
    • A61MEDICAL OR VETERINARY SCIENCE; HYGIENE
    • A61NELECTROTHERAPY; MAGNETOTHERAPY; RADIATION THERAPY; ULTRASOUND THERAPY
    • A61N5/00Radiation therapy
    • A61N5/06Radiation therapy using light
    • A61N5/0601Apparatus for use inside the body
    • A61N5/0603Apparatus for use inside the body for treatment of body cavities
    • AHUMAN NECESSITIES
    • A61MEDICAL OR VETERINARY SCIENCE; HYGIENE
    • A61NELECTROTHERAPY; MAGNETOTHERAPY; RADIATION THERAPY; ULTRASOUND THERAPY
    • A61N5/00Radiation therapy
    • A61N5/06Radiation therapy using light
    • A61N5/0601Apparatus for use inside the body
    • A61N5/0603Apparatus for use inside the body for treatment of body cavities
    • A61N2005/0611Vagina
    • AHUMAN NECESSITIES
    • A61MEDICAL OR VETERINARY SCIENCE; HYGIENE
    • A61NELECTROTHERAPY; MAGNETOTHERAPY; RADIATION THERAPY; ULTRASOUND THERAPY
    • A61N5/00Radiation therapy
    • A61N5/06Radiation therapy using light
    • A61N2005/0626Monitoring, verifying, controlling systems and methods
    • AHUMAN NECESSITIES
    • A61MEDICAL OR VETERINARY SCIENCE; HYGIENE
    • A61NELECTROTHERAPY; MAGNETOTHERAPY; RADIATION THERAPY; ULTRASOUND THERAPY
    • A61N5/00Radiation therapy
    • A61N5/06Radiation therapy using light
    • A61N2005/063Radiation therapy using light comprising light transmitting means, e.g. optical fibres
    • AHUMAN NECESSITIES
    • A61MEDICAL OR VETERINARY SCIENCE; HYGIENE
    • A61NELECTROTHERAPY; MAGNETOTHERAPY; RADIATION THERAPY; ULTRASOUND THERAPY
    • A61N5/00Radiation therapy
    • A61N5/06Radiation therapy using light
    • A61N2005/0632Constructional aspects of the apparatus
    • AHUMAN NECESSITIES
    • A61MEDICAL OR VETERINARY SCIENCE; HYGIENE
    • A61NELECTROTHERAPY; MAGNETOTHERAPY; RADIATION THERAPY; ULTRASOUND THERAPY
    • A61N5/00Radiation therapy
    • A61N5/06Radiation therapy using light
    • A61N2005/0658Radiation therapy using light characterised by the wavelength of light used
    • A61N2005/0659Radiation therapy using light characterised by the wavelength of light used infrared

Landscapes

  • Health & Medical Sciences (AREA)
  • Engineering & Computer Science (AREA)
  • Biomedical Technology (AREA)
  • Life Sciences & Earth Sciences (AREA)
  • Public Health (AREA)
  • Veterinary Medicine (AREA)
  • Nuclear Medicine, Radiotherapy & Molecular Imaging (AREA)
  • Animal Behavior & Ethology (AREA)
  • General Health & Medical Sciences (AREA)
  • Radiology & Medical Imaging (AREA)
  • Pathology (AREA)
  • Surgery (AREA)
  • Gynecology & Obstetrics (AREA)
  • Pregnancy & Childbirth (AREA)
  • Reproductive Health (AREA)
  • Heart & Thoracic Surgery (AREA)
  • Medical Informatics (AREA)
  • Molecular Biology (AREA)
  • Biophysics (AREA)
  • Radiation-Therapy Devices (AREA)
  • Surgical Instruments (AREA)

Description

本発明は、子宮頸がんおよび膣がんの治療装置に関する。
子宮頸がん患者は増加傾向にあり、特に20~30歳代の若い女性の患者数が増加している。現在の子宮頸がんの治療は、早期ステージ(ステージI)から子宮を全部摘出することが標準治療とされているが、若い患者にとっては、妊孕性を維持するために子宮を温存できるような局所治療が求められている。また、進行ステージ(ステージIII以降)では、がんは周辺組織へ広がっているため手術による切除は難しいことから、放射線療法と化学療法を組み合わせた治療が標準治療とされている。しかし、5年生存率はステージIIIでは50%、ステージIVでは20%と低く、より効果的な治療が求められている。がんの局所治療として、光反応物質を用いた治療法が知られている(例えば、特許文献1を参照)。なかでも、抗体-光感受性物質(親水性フタロシアニン)を用いた治療法は、腫瘍に集積した抗体-光感受性物質に対して励起光(例えば、近赤外線)を照射することで、正常細胞などの非標的細胞を破壊せずに、標的細胞を特異的に破壊することができ、副作用を軽減しながら高い治療効果が得られることが期待されている。
米国特許出願公開第2018-0113246号明細書
一方、抗体-光感受性物質の高い治療効果を得るためには、腫瘍に集積した抗体-光感受性物質に対して、確実に近赤外線を照射することが必要となる。しかしながら、光は生体組織の影響により急激に減衰するため、近赤外線の深達度は浅く、非侵襲的に体表面から固形がんに治療に必要なエネルギーの光を照射することは非常に困難である。そのため、侵襲性を極力抑えながら体内の腫瘍に確実に光を照射する手段が必要となる。子宮頸がんの場合は、子宮頸管の広範囲にがんが広がっている場合が多く、広範囲のがんに対して極力近くから光を照射する手段が求められる。
本発明は、上述した課題を解決するためになされたものであり、子宮頸部の少なくとも一部を含む範囲のがんを効果的に治療できる治療装置を提供することを目的とする。
上記目的を達成する本発明に係る治療装置は、子宮頸がんの腫瘍細胞に結合した抗体-光感受性物質へ励起光を照射する治療装置であって、先端部および基端部を有する本体シャフトと、前記本体シャフトの先端側に配置され、流体が流入することで拡張可能な拡張部と、前記拡張部から先端側へ突出する先端シャフトと、前記先端シャフトおよび前記拡張部から前記抗体-光感受性物質の励起光を発光可能とする少なくとも1つの照射部と、を有し、前記拡張部の内部および前記先端シャフトの内部を連通し、前記照射部を移動可能に収容する照射ルーメンが形成されていることを特徴とする。
上記目的を達成する本発明に係る治療装置の他の態様は、子宮頸がんの腫瘍細胞に結合した抗体-光感受性物質へ励起光を照射する治療装置であって、先端部および基端部を有する本体シャフトと、前記本体シャフトの先端側に配置され、流体が流入することで拡張可能な拡張部と、前記拡張部から先端側へ突出する先端シャフトと、前記先端シャフトおよび前記拡張部から前記抗体-光感受性物質の励起光を発光可能とする少なくとも1つの照射部と、を有し、前記拡張部の先端側に配置されて前記先端シャフトの基端部を囲む環状の補強部を有することを特徴とする。
上記のように構成した治療装置は、先端シャフトを子宮頸管に挿入するとともに、拡張部を膣内で広く拡張させた状態で、子宮頸部を含む広い範囲の腫瘍細胞に結合した抗体-光感受性物質へ、励起光を効果的に照射できる。このため、本治療装置は、子宮頸部を含む広い範囲におけるがんの治療効果を向上できる。
前記先端シャフトは、前記励起光を当該先端シャフトの軸心に対して略垂直方向へ照射し、前記拡張部は、前記励起光を略先端方向へ照射してもよい。これにより、子宮頸部の腫瘍細胞へ先端シャフトおよび拡張部の両方から励起光を照射できるため、治療効果を向上できる。
治療装置は、前記拡張部の内部および前記先端シャフトの内部を連通し、前記照射部を移動可能に収容する照射ルーメンが形成されてもよい。これにより、照射部が1つの場合であっても、先端シャフトおよび拡張部から励起光を照射できるため、治療装置の構成を単純化して、操作性を向上できる。また、照射部を移動させることで、励起光を照射する位置を適切に調節できるため、治療効果を向上できる。なお、照射部の数は、1つの場合に限定されない。
前記拡張部は、拡張状態において先端側へ向く突き当て面を有し、前記突き当て面の前記先端シャフトの軸心から離れた部位の一部が、先端側へ突出してもよい。これにより、拡張部を子宮膣部へ突き当てることで、突き当て面の先端側へ突出する部位を、膣円蓋に近づけることができる。したがって、光が到達しにくい膣円蓋の近傍へ励起光を効果的に照射でき、治療効果を向上できる。
前記治療装置は、前記拡張部の先端側に配置されて前記先端シャフトの基端部を囲む環状の補強部を有してもよい。これにより、先端シャフトを子宮頸管へ挿入し、補強部を子宮膣部へ突き当てることで、先端シャフトおよび拡張部を、適切な位置に位置決めできる。このため、先端シャフトおよび拡張部から、望ましい位置へ励起光を照射できるため、治療効果を向上できる。
前記治療装置は、前記抗体-光感受性物質が発する蛍光を検出する検出部を有してもよい。これにより、励起光の照射による腫瘍細胞の破壊の程度を、検出部により検出する蛍光の変化によって確認できる。
前記治療装置は、前記先端シャフトを摺動可能に収容する管状の内側シャフトと、前記先端シャフトを含む照射用シャフトと、前記本体シャフトの基端部が固定された移動操作部と、前記移動操作部を摺動可能に保持するケーシングと、をさらに有し、前記内側シャフトは、前記本体シャフトに固定され、前記拡張部の先端部は、前記内側シャフトに固着され、前記照射用シャフトは、前記ケーシングに固定され、前記移動操作部が前記ケーシングに対して移動すると、前記照射用シャフトは移動せずに、前記本体シャフト、前記内側シャフトおよび前記拡張部が、前記ケーシングに対して前記本体シャフトの軸心方向に移動してもよい。これにより、拡張部を本体シャフトに対して基端側へ後退させて視野を確保した状態で、先端シャフトを子宮頸管へ挿入できる。そして、先端シャフトを子宮頸管の適切な位置に維持した状態で、拡張部を移動させて適切な位置に配置できる。このため、先端シャフトおよび拡張部の両方を、子宮頸管および膣の適切な位置に正確かつ容易に配置できる。したがって、先端シャフトおよび拡張部から、望ましい位置へ励起光を照射できるため、治療効果を向上できる。
上記目的を達成する本発明に係る治療方法は、子宮頸がんの治療方法であって、抗体-光感受性物質を静脈内投与するステップと、前記静脈内投与から12~36時間経過後に、拡張可能な拡張部および前記拡張部から突出する先端シャフトを有して前記抗体-光感受性物質の励起光を照射可能な治療装置を膣内に挿入するステップと、前記先端シャフトを子宮頸管へ挿入するステップと、前記拡張部を膣内で拡張させるステップと、前記先端シャフトから周辺組織へ励起光を照射するステップと、前記拡張部から周辺組織へ励起光を照射するステップと、前記拡張部を収縮させるステップと、を有することを特徴とする。
上記のように構成した治療方法は、拡張部を収縮させて視野を確保した状態で、目視で確認しつつ先端シャフトを外子宮口から子宮頸管へ挿入できるとともに、拡張部を膣内で広く拡張させることができる。このため、先端シャフトおよび拡張部から抗体-光感受性物質の励起光を発光することで、子宮頸部を含む広い範囲の腫瘍細胞に結合した抗体-光感受性物質へ、励起光を効果的に照射できる。このため、本治療方法は、子宮頸部を含む広い範囲におけるがんの治療効果を向上できる。
前記先端シャフトから励起光を照射するステップにおいて、前記励起光を照射可能な照射部を前記先端シャフトの内部に配置して当該照射部から前記励起光を照射し、前記拡張部から励起光を照射するステップにおいて、前記照射部を前記拡張部の内部に配置して当該照射部から前記励起光を照射し、前記先端シャフトから励起光を照射するステップおよび前記拡張部から励起光を照射するステップの間で、前記照射部を前記先端シャフトおよび前記拡張部の間で移動させてもよい。これにより、照射部が1つの場合であっても、先端シャフトおよび拡張部から励起光を照射できるため、治療装置の構成を単純化して、操作性を向上できる。また、照射部を移動させることで、励起光を照射する位置を適切に調節できるため、治療効果を向上できる。なお、励起光を照射する順番は、限定されない。したがって、先端シャフトで先に励起光を照射してもよく、拡張部で先に励起光を照射してもよい。なお、照射部の数は、1つの場合に限定されない。
前記先端シャフトから励起光を照射するステップと、前記拡張部から励起光を照射するステップと、を同時に行ってもよい。これにより、本治療方法は、多様な位置および方向から励起光を同時に照射できるため、治療効果を向上できるとともに、短時間で効率的に治療を行うことができる。
前記先端シャフトを子宮頸管へ挿入するステップにおいて、前記先端シャフトの基端側に配置されるとともに前記先端シャフトが導出されて先端側を向く突き当て面を、子宮膣部に突き当ててもよい。これにより、先端シャフトおよび拡張部を、適切な位置に位置決めできる。このため、先端シャフトおよび拡張部から、望ましい位置へ励起光を照射でき、治療効果を向上できる。
前記治療方法は、前記抗体-光感受性物質が発する蛍光を検出して当該蛍光の強度を確認するステップを有してもよい。これにより、本治療方法は、励起光の照射による腫瘍細胞の破壊の程度を、蛍光を検出することにより確認できる。
前記蛍光の強度を確認するステップは、前記励起光を照射するステップと並行して行われてもよい。これにより、本治療方法は、励起光の照射による腫瘍細胞の破壊の程度を、蛍光を検出することにより確認しつつ治療でき、治療効果を向上できる。
前記蛍光の強度を確認するステップは、前記励起光を照射するステップの後に行われてもよい。これにより、本治療方法は、励起光の照射による腫瘍細胞の破壊の結果を、蛍光を検出することにより正確に確認できる。
実施形態に係る治療装置を示す平面図である。 膣および子宮を示す概略図であり、(A)は患者を前から見た状態、(B)は患者を左側から見た状態を示す。 実施形態に係る治療装置の先端部を示す図であり、(A)は断面図、(B)は図3(A)のA-A線に沿う断面図である。 先端シャフトの変形例を示す平面図であり、(A)は第1の変形例、(B)は第2の変形例を示す。 第3の変形例を示す平面図である。 拡張部の変形例を示す断面図であり、(A)は第4の変形例、(B)は第5の変形例、(C)は第6の変形例、(D)は第7の変形例、(E)は第8の変形例を示す。 拡張部の変形例を示す断面図であり、(A)は第9の変形例、(B)は第10の変形例、(C)は第11の変形例を示す。 拡張部の変形例を示す平面図であり、(A)は第12の変形例、(B)は第13の変形例、(C)は第14の変形例、(D)は第15の変形例、(E)は第16の変形例、(F)は第17の変形例を示す。 補強部の変形例を示す斜視図であり、(A)は第17の変形例、(B)は第18の変形例、(C)は第19の変形例を示す。 突き当て面の変形例を示す平面図であり、(A)は第20の変形例、(B)は第21の変形例を示す。 照射部の変形例を示す平面図であり、(A)は本実施形態、(B)は第22の変形例、(C)は第23の変形例を示す。 治療装置の第24の変形例を示す平面図である。 治療装置の第24の変形例の先端部を示す図であり、(A)は断面図、(B)は図13(A)のA-A線に沿う断面図である。 実施形態に係る治療装置の先端シャフトを子宮頸管に挿入した状態を示す概略図である。 子宮頸管に挿入した先端シャフトから近赤外線を腫瘍細胞へ照射している状態を示す概略図である。 膣内の拡張部から近赤外線を腫瘍細胞へ照射している状態を示す概略図である。 治療装置の第25の変形例を示す平面図である。 治療装置の第26の変形例を示す平面図である。
以下、図面を参照して、本発明の実施の形態を説明する。なお、図面の寸法は、説明の都合上、誇張されて実際の寸法とは異なる場合がある。また、本明細書及び図面において、実質的に同一の機能構成を有する構成要素については、同一の符号を付することにより重複説明を省略する。本明細書において、デバイスの生体管腔に挿入する側を「先端側」、操作する側を「基端側」と称することとする。
本実施形態に係る治療装置10は、子宮頸がんの治療方法に使用される。治療装置10および治療方法は、子宮頸がんおよび膣がんの両方を同時に治療するために使用することもできる。本治療方法は、標的細胞の細胞膜に結合させた抗体-光感受性物質に、抗体-光感受性物質の励起光である近赤外線を照射して、標的細胞を破壊する光免疫療法に用いられる。標的細胞は、がん細胞等の腫瘍細胞である。この治療方法では、腫瘍細胞の表面にある特有の抗原のみに特異的に結合する抗体と、その抗体と対になる光感受性物質とを結合させた抗体-光感受性物質を、薬剤として使用する。抗体は、特に限定されないが、例えば、パニツムバブ、トラスツズマブ、HuJ591、ペルツズマブ、ラパチニブ、パルボシクリブ、オラパリブ等である。光感受性物質は、例えば、約700nmの波長の近赤外線に反応する物質(IR700)である親水性フタロシアニンであるが、これに限定されない。IR700は、約660~740nmの波長の近赤外線を受けると、水溶性を担保している官能基のリガンドが切れ、水溶性から疎水性へ構造変化を生じる。この構造変化によって膜たんぱく質が引き抜かれ、細胞膜に穴が開いて細胞内に水が入り込むことで、がん細胞を破裂させて破壊することができる。また、IR700は、近赤外線を受けて励起され、励起波長と異なる波長の蛍光を発する。例えば、IR700は、689nmの波長の近赤外線を受けて励起されると、704nmの波長の蛍光を発する。IR700は、光反応により蛍光を発しつつ構造変化し、腫瘍細胞を破壊して薬剤としての役割を果たすと、蛍光を発しなくなる。
図1に示す治療装置10は、図2、14、15および16に示す子宮頸部U、外子宮口O、外子宮口Oの周辺の子宮膣部UV、膣円蓋VF、および膣Vの膣円蓋VFよりも膣口側の膣円蓋VFに近い部位までの広い範囲Aにおける子宮頸がんおよび膣がんを、1つのデバイスで治療できる。治療装置10は、子宮頸部Uから膣Vまでの広い範囲の腫瘍細胞Cに結合した抗体-光感受性物質に、励起光を照射できる。
子宮は、膣Vの奥にあり、子宮の上部は左右の卵管につながり、子宮の下部にある外子宮口Oは、膣Vにつながっている。子宮は、大きく子宮体部と子宮頸部Uに分けられ、子宮頸部Uには、外子宮口Oにつながる子宮頸管CCが設けられる。膣Vは、外子宮口Oを囲むように広がる膣円蓋VFを有する。膣円蓋VFは、膣Vの前部に位置する前膣円蓋AVよりも、膣Vの後部に位置する後膣円蓋RVで、深くなっている。
まず、本実施形態に係る治療装置10について説明する。
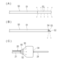
治療装置10は、図1および3に示すように、先端部および基端部を有する長尺なシャフト部20と、シャフト部20の先端部に設けられるバルーンである拡張部30と、シャフト部20の基端部に連結された操作部60と、光を照射する長尺な照射部50とを有している。治療装置10は、光出力装置80に接続して使用される。
シャフト部20は、操作部60から先端方向へ延在する管状体である本体シャフト21と、照射部50を収容する照射用シャフト22と、拡張部30を拡張させるための気体や液体のような流体が流通する流路用シャフト23とを備えている。
本体シャフト21は、拡張部30を支持する管体である。本体シャフト21は、照射用シャフト22および流路用シャフト23を内腔に収容している。本体シャフト21は、直線状に延在する円管であるが、曲がっていてもよく、円管でなくてもよい。本体シャフト21の基端部は、操作部60に固定されている。本体シャフト21の先端部は、拡張部30の基端部に固定されている。本体シャフト21の先端部の内部には、本体シャフト21の内部と拡張部30の内部とを隔絶する封止部材45が配置されている。封止部材45は、拡張部30の内部から本体シャフト21の内腔に、流体が流入することを防止する。
本体シャフト21は、術者が操作部60を把持して目的の位置まで押し込むことができるように、ある程度の剛性を有することが好ましい。本体シャフト21の構成材料は、特に限定されないが、例えばステンレス鋼、アルミニウム、チタン合金、錫、マグネシウム合金等に代表される金属、ポリエーテルエーテルケトン(PEEK)、ポリアミド、アクリロニトリル・ブタジエン・スチレン(ABS)、ポリカーボネート、ポリアセタール、ポリイミド等に代表される樹脂等である。本体シャフト21の軸心方向の長さは、特に限定されないが、例えば100~400mmである。
照射用シャフト22は、内部に照射部50を収容できる管状の部材であり、照射部50からの光を外部へ透過できる。照射用シャフト22の一部は、本体シャフト21および拡張部30の内部に配置される。照射用シャフト22の先端部は、本体シャフト21および拡張部30よりも先端側へ延在している。照射用シャフト22の拡張部30よりも先端側へ突出する部位は、先端シャフト24である。先端シャフト24は、子宮頸管CCの内部から子宮頸部Uへ光を照射するために、外子宮口Oから子宮頸管CCへ挿入される部位である(図14を参照)。照射用シャフト22の基端部は、本体シャフト21および操作部60よりも基端側へ延在している。照射用シャフト22の内側には、照射部50が移動可能な照射ルーメン25が形成されている。照射ルーメン25は、照射用シャフト22の最先端で閉じており、照射用シャフト22の最基端で開いている。照射用シャフト22の基端側には、照射ルーメン25に照射部50を受け入れる挿入口28が配置されている。
照射用シャフト22は、内部に収容した照射部50が発する波長の光を透過させることができる透明または半透明の材料により形成される。照射用シャフト22の構成材料は、特に限定されないが、例えば、ポリメチルメタクリレート、ポリエチレンテレフタレート、ポリカーボネート、ポリテトラフルオロエチレン等に代表される樹脂、ガラス等である。先端シャフト24の材料は弾性を有し、子宮頸管に挿入された後、子宮頸管に沿ってたわみながら変形することができる物性であることがより好ましい。これにより子宮頸管形状の個体差へ対応することができ、子宮頸管内面への負担を軽減すると共に子宮頸管内面への密着性をより高めることができる。照射用シャフト22(先端シャフト24)の外径は、特に限定されないが、例えば0.5~6mmである。先端シャフト24の軸心方向の長さは、特に限定されないが、例えば10~50mmである。先端シャフト24は、光を拡散させる機能を有してもよい。そのために、先端シャフト24は、後に詳述する拡張部30と同様に、構成材料の少なくとも一部に散乱体を含有したり、内面や外面に多数の凹凸が形成されたり、屈折率の異なる材料を多数の凹凸が形成された面で接合した多層構造であってもよい。先端シャフト24は、剛直、実質的に剛直、または柔軟に形成される。
先端シャフト24の形状は、特に限定されない。例えば、図4(A)に示す第1の変形例のように、先端シャフト24は、軸心方向に並ぶ凹凸構造24Aを有してもよい。これにより、術者は、先端シャフト24を外子宮口Oから子宮頸管CCへ挿入する際に、凹凸構造24Aを目視で確認することで、先端シャフト24のどこまでを子宮頸管CCに挿入したかを容易に把握できる。また、術者は、凹凸構造24Aを外子宮口Oから子宮頸管CCへ挿入する際に、操作部60を把持する手に受ける感覚の変化から、先端シャフト24のどこまでを子宮頸管CCに挿入したかを容易に把握できる。なお、先端シャフト24は、目視で確認しやすい構造として、目盛となる線や切り欠き等を有してもよい。また、術者が先端シャフト24を外子宮口Oから子宮頸管CCへ挿入する際に術者の手に受ける感覚が変化するように、先端シャフト24は、軸心方向に沿って変化する物性を有してもよい。例えば、先端シャフト24は、先端方向へ向かって剛性が減少してもよく、または剛性の高い部位と低い部位が交互に配置されてもよい。
また、図4(B)に示す第2の変形例のように、先端シャフト24は、先端部に、外径の大きい大径部24Bを1つ備えてもよい。これにより、術者は、先端シャフト24を外子宮口Oから子宮頸管CCへ挿入した後、大径部24Bが内子宮口Iを超えて子宮腔UCへ到達したことを、操作部60を把持する手に受ける感覚の変化から容易に把握できる。例えば、術者は、大径部24Bが内子宮口Iを超えた後に、操作部60を後退させて、大径部24Bを内子宮口Iに接触させることができる。したがって、大径部24Bを有する先端シャフト24は、先端シャフト24の先端部を、内子宮口Iに対して正確に位置決めしたい場合や、確実に内子宮口Iを通過させたい場合に有効である。なお、大径部24Bの位置は、先端シャフト24の最先端に限定されない。
また、図5に示す第3の変形例のように、先端シャフト24は、先端部に、柔軟に変形可能な袋状の第1バルーン24Cを有してもよい。第1バルーン24Cは、操作部60に配置される袋状の第2バルーン24Dとチューブ24Eによって連通している。第1バルーン24C、第2バルーン24Dおよびチューブ24Eには、気体や液体のような流体が密封されている。これにより、先端シャフト24が外子宮口Oから子宮頸管CCに入ると、第1バルーン24Cが潰れて第1バルーン24Cの内部の流体が第2バルーン24Dへ向かって移動し、第2バルーン24Dが大きく拡張する。これにより、術者は、第2バルーン24Dを見ることで、第1バルーン24Cを備える先端シャフト24が子宮頸管CCに入ったことを容易に把握できる。また、第1バルーン24Cが内子宮口Iを超えると、第1バルーン24Cが自己の復元力により拡張し、第2バルーン24Dの内部の流体が第1バルーン24Cへ向かって移動して、第2バルーン24Dが小さくなる。これにより、術者は、第2バルーン24Dを見ることで、第1バルーン24Cを備える先端シャフト24が内子宮口Iを超えたことを容易に把握できる。
なお、術者は、先端シャフト24の内部に配置される照射部50を発光させた状態で、先端シャフト24を外子宮口Oから子宮頸管CCへ挿入してもよい。先端シャフト24の子宮頸管CCへ挿入された部位からの発光は、術者から見えなくなる。このため、術者は、目視によって、先端シャフト24のどこまでを子宮頸管CCに挿入したかを容易に把握できる。この場合、先端シャフト24に凹凸構造24Aや大径部24Bが設けられなくても、術者は、目視によって、先端シャフト24のどこまでを子宮頸管CCに挿入したかを把握できる。
流路用シャフト23は、図1および3に示すように、本体シャフト21の内部に配置される。流路用シャフト23の先端部は、本体シャフト21の先端部の近傍に位置している。流路用シャフト23の基端部は、本体シャフト21および操作部60よりも基端側へ延在している。流路用シャフト23の内側には、拡張部30を拡張するための拡張用流体が流通する拡張ルーメン26が形成されている。拡張ルーメン26は、拡張部30の内部と連通している。流路用シャフト23の基端部には、拡張用流体を供給するシリンジやインデフレータを接続可能なポート27が配置される。
拡張部30は、子宮頸管CCに挿入される先端シャフト24の基端側に配置されて膣V内で拡張し、膣Vの広い範囲に光を照射可能とする部材である。拡張部30は、拡張部30の内部を通る照射ルーメン25に配置された照射部50から発せられる光を、外部へ透過できる。このために、拡張部30は、照射部50が発する波長の光を透過できる透明または半透明の材料により形成される。
拡張部30は、先端側が照射用シャフト22に接着され、基端側が本体シャフト21に接着されている。拡張部30の内部は、拡張ルーメン26に連通している。拡張部30は、内部に流体が流入することで変形し、拡張可能である。
拡張部30は、先端側の先端拡張部31と、基端側の基端拡張部32と、基端拡張部32と先端拡張部31の間に配置される中間拡張部33とを備えている。先端拡張部31は、照射用シャフト22の外周面に固着されている。拡張部30の拡張状態において、先端拡張部31は、先端側を向く平面状の突き当て面34を形成する。突き当て面34は、シャフト部20の軸心と略垂直であり、外子宮口Oの周囲の子宮膣部UVに突き当たる面である。なお、突き当て面34の形状は、拡張部30の内圧によって変化してもよい。例えば、拡張部30の内圧が高い場合には、突き当て面34は、照射用シャフト22から径方向へ近い位置よりも、照射用シャフト22から径方向へ離れた位置において、先端側へ突出する形状となってもよい。中間拡張部33は、基端拡張部32と先端拡張部31の間で、軸心方向へ略一定の外径を有する円筒形状である。なお、中間拡張部33は、略一定の外径で形成されなくてもよい。
基端拡張部32の基端部は、本体シャフト21の外周面に固着されている。拡張状態において、基端拡張部32の外径は、先端側へ向かってテーパ状に増加する。基端拡張部32の先端部は、中間拡張部33の基端部に連結される。テーパ形状の基端拡張部32は、先端拡張部31が子宮膣部UVに突き当たって基端方向の反力を受ける際に、拡張部30が基端側へ押されて変形することを抑制する。なお、基端拡張部32は、テーパ状に形成されなくてもよい。
拡張部30の構成材料は、ある程度の可撓性を有し、かつ照射部50から発せられる波長の光を透過できれば、特に限定されないが、例えばシリコーン、ポリアミド、ポリエチレンテレフタレート、ウレタン等である。拡張時の拡張部30の最大外径は、特に限定されないが、例えば5~40mmである。拡張時の拡張部30の軸心方向(長尺方向)の長さは、特に限定されないが、例えば10~60mmである。
拡張部30は、拡張部30の内部の照射部50から受ける光を散乱させる構造を備えてもよい。これにより、拡張部30自体が、照射部50から受けた光によって発光する。このため、照射部50から直接的に光が届く範囲以外へも、拡張部30を介して、広い範囲へ光を照射できる。
拡張部30は、内面側に、光を散乱させる構造を備えてもよい。例えば、拡張部30は、図6(A)に示す第4の変形例のように、内面に散乱体35を含む散乱体コート36を有する。散乱体35は、公知のものを利用でき、例えば酸化チタン、スチレン、シリコーン等の微小な粒子である。散乱体コート36は、散乱体35を、散乱体35と異なる屈折率を有するコート基材に混合して被覆される。また、拡張部30は、図6(B)に示す第5の変形例のように、光を散乱させる構造として、内面に微小な多数の凹凸部37を有してもよい。また、拡張部30は、図6(C)に示す第6の変形例のように、光を散乱させる構造として、外面に微小な多数の凹凸部37を有してもよい。拡張部30の外面の凹凸部37は、子宮膣部UVや膣V等の生体(臓器)に接触すると、拡張部30の内部から照射される光が、凹凸部37で反射せずに生体内へ透過しやすくなり、拡張部30の内部の光量が減少する。このため、拡張部30の内部の光量を検出できる検出部90(図16を参照)を設けることで、拡張部30が生体に密着したことを判別できる。拡張部30の凹凸部37が、生体に接触する際に光を生体へ透過しやすくするために、拡張部30の屈折率は、空気の屈折率よりも大きく、生体の屈折率以下であることが好ましく、例えば1.0超~1.5程度である。
また、拡張部30は、拡張部30の材料の内部に、光を散乱させる構造を備えてもよい。例えば、拡張部30は、図6(D)に示す第7の変形例のように、拡張部30の材料の内部に散乱体35が含まれてもよい。また、拡張部30は、図6(E)に示す第8の変形例のように、屈折率の異なる第1層38Aおよび第2層38Bを、凹凸を有する面で接合した構造を有してもよい。
また、拡張部30の内部に供給する拡張用流体に、散乱体35を混合してもよい。この場合、拡張部30自体は、光を散乱させる構造を備えても、備えなくてもよい。
また、拡張部30は、特定の方向への照射強度を向上させる構造を備えてもよい。拡張部30は、例えば、基端方向へは照射せず、径方向および先端方向へ光を照射することが好ましい。これにより、拡張部30から子宮頸部Uまたは子宮頸部Uに近い膣Vの腫瘍細胞Cへ照射できる光の強度を向上できる。特定の方向への照射強度を向上させる構造は、例えば、拡張部30の基端側から外部へ光を漏れにくくする構造である。例えば、拡張部30は、図7(A)に示す第9の変形例のように、基端拡張部32の内面に、光を反射する反射体で形成された反射体コート39を有してもよい。なお、反射体は、拡張部30の材料の内部や、拡張部30の外面に配置されてもよい。また、図7(B)に示す第10の変形例のように、拡張部30の材料の内部に散乱体35を含有させ、基端拡張部32における散乱体35の濃度を、先端拡張部31および中間拡張部33における散乱体35の濃度よりも高くしてもよい。また、図7(C)に示す第11の変形例のように、拡張部30の材料の内部に散乱体35を含有させ、基端拡張部32の厚さを、先端拡張部31および中間拡張部33の厚さよりも厚くしてもよい。
また、拡張部30は、様々な形状で形成され得る。拡張部30は、患者の子宮膣部UV、膣円蓋VFや膣Vの形状に応じて、適宜選択できることが好ましい。
図8(A)に示す第12の変形例のように、拡張状態において、突き当て面34は、シャフト部20の軸心と垂直な面に対して90°未満の角度で傾斜してもよい。これにより、例えば、突き当て面34の先端側へ突出する部位を後膣円蓋RV側に配置し、その反対側の部位を前膣円蓋AV側に配置しやすい。これにより、後膣円蓋RVおよび前膣円蓋AVを含む光が到達しにくい範囲に、光を効果的に照射できる。
また、図8(B)に示す第13の変形例のように、拡張状態において、突き当て面34の中央部(先端シャフト24に近い部位)が、基端側へ窪んで形成されてもよい。これにより、突き当て面34の窪んだ部位に外子宮口Oを受け入れて、突き当て面34の先端シャフト24から径方向に離れた部位(円周方向外側の部位)を、膣円蓋VFへ効果的に近づけることができる。このため、光が到達しにくい膣円蓋VFへ光を効果的に照射できる。
また、図8(C)に示す第14の変形例のように、拡張状態において、突き当て面34の中央部(先端シャフト24に近い部位)から径方向に離れた部位の一部が、先端側へ突出し、他の部位が、シャフト部20の軸心と垂直であってもよい。これにより、突き当て面34の突出する部位を、膣円蓋VFへ効果的に近づけることができる。このため、光が到達しにくい膣円蓋VFへ光を効果的に照射できる。
また、図8(D)に示す第15の変形例のように、拡張状態において、突き当て面34の中央部(先端シャフト24に近い部位)がシャフト部20の軸心と垂直であり、垂直な部位の周囲が、シャフト部20の軸心を通る断面において円弧状となるように、径方向の外側へ滑らかに突出してもよい。
また、図8(E)に示す第16の変形例のように、拡張状態において、突き当て面34の中央部(先端シャフト24に近い部位)がシャフト部20の軸心と垂直であり、垂直な部位を挟む両側の各々に、先端側へ突出する突出部40が形成されてもよい。2つの突出部40は、拡張部30の材料よりも硬く、かつ光を透過する材料により形成される。2つの突出部40は、外子宮口Oを挟む膣円蓋VFの2箇所(例えば、後膣円蓋RVおよび前膣円蓋AV)の両方に近づき、光が到達しにくい膣円蓋VFへ光を効果的に伝搬できる。材料の硬さ(柔らかさ)は、例えばロックウェル硬さ、ブリンネル硬さ、ビッカース硬さ、ショア硬さ、デュロメータ硬さ等により特定できる。
また、図8(F)に示す第17の変形例のように、拡張状態において、拡張部30は、先端部の軸心が、基端部の軸心に対して90°未満の角度で曲がるように第1屈曲部41を有してもよい。拡張状態において、突き当て面34の中央部(先端シャフト24に近い部位)は、基端側へ窪んで形成される。また、先端シャフト24は、先端部の軸心が、基端部の軸心に対して90°未満の角度で曲がるように第2屈曲部29を有してもよい。これにより、先端シャフト24の先端をシャフト部20の軸心からずらすことができ、先端シャフト24の先端を視認下で子宮口に挿入する際、より良好な視野を確保することができる。また先端シャフト24の曲がる側は、拡張部30の曲がる側と略一致していてもよい。これにより、例えば、膣Vの延在方向に対して傾斜して延在する子宮頸管CCへ、先端シャフト24を挿入しやすくなる。また、拡張部30の曲がる方向側の突き当て面34の、窪んだ部位からの高さL1は、その反対側の突き当て面34の、窪んだ部位からの高さL2よりも短い。このため、曲がる方向側の突き当て面34を前膣円蓋AV側に配置し、その反対側の突き当て面34を後膣円蓋RV側に配置することで、前膣円蓋AVおよび後膣円蓋RVを含む膣円蓋VFの全体に、突き当て面34を近づけることができる。このため、後膣円蓋RVおよび前膣円蓋AVを含む、光が到達しにくい範囲に、光を効果的に照射できる。拡張部30の曲がる方向側の突き当て面34の、窪んだ部位からの高さL1は、例えば5~20mmである。拡張部30の曲がる方向の反対側の突き当て面34の、窪んだ部位からの高さL2は、例えば10~30mmである。突き当て面34の窪んだ部位には、後に詳述する補強部70が配置されてもよいが、配置されなくてもよい。
治療装置10は、図8(F)、図9(A)に示す第17の変形例のように、先端シャフト24の基端部を囲むように、環状の補強部70を有してもよい。なお、先端シャフト24の基端部とは、先端シャフト24の、拡張部30の先端部が接合されている部位の場合も含んでいる。補強部70は、貫通孔71を備えた環状であり、一定の内径および外径で形成される。補強部70の構成材料は、拡張部30よりも硬質であり、かつ照射部50から発せられる波長の光を透過できれば、特に限定されないが、例えばポリメチルメタクリレート、ポリエチレンテレフタレート、ポリカーボネート、ポリテトラフルオロエチレン等に代表される樹脂、ガラス等である。更に、散乱体もしくは光を散乱させる構造を付与しているとより好ましい。
補強部70は、拡張部30の突き当て面34に接触または近接して配置される。補強部70の先端側には、第2突き当て面72(突き当て面)が形成される。第2突き当て面72は、拡張部30の突き当て面34とともに、子宮膣部UVに突き当たることができる。なお、治療装置10に補強部70が設けられる場合、拡張部30の突き当て面34は、補強部70に突き当たり、子宮膣部UVに突き当たらないこともあり得る。補強部70は、拡張部30よりも硬質であるため、変形しにくい。このため、補強部70を子宮膣部UVに突き当てることで、拡張部30と先端シャフト24を、子宮頸部Uおよび膣Vに対して正確に位置決めできる。補強部70は、先端シャフト24に固定されてもよいが、先端シャフト24に沿って摺動可能であってもよい。
また、図9(B)に示す第18の変形例のように、環状の補強部70は、径方向の外側へ滑らかな凸部を形成する外周面を有してもよい。また、図9(C)に示す第19の変形例のように、環状の補強部70は、貫通孔71の周囲に、先端側へ突出する筒状凸部73を有してもよい。これにより、第2突き当て面72は、段差を有して形成される。突き当て面34を子宮膣部UVに突き当てると、筒状凸部73の少なくとも一部が、外子宮口Oに入り込みやすい。このため、筒状凸部73を有する補強部70を、外子宮口Oが形成された子宮膣部UVに突き当てることで、拡張部30と先端シャフト24を、子宮頸部Uおよび膣Vに対して正確に位置決めできる。
また、図10(A)に示す第20の変形例のように、照射用シャフト22は、先端シャフト24の基端部に外径が段差的に大きくなる段差部を有し、この段差部に、先端側を向く第3突き当て面22A(突き当て面)が形成されてもよい。
また、図10(B)に示す第21の変形例のように、補強部70は、拡張部30とともに変形可能に先端拡張部31の先端側の面に固着され、光を透過する部材であってもよい。
照射部50は、図1および3に示すように、長尺であり、光を伝搬する少なくとも1本の光ファイバ51を備えている。照射部50は、先端部に、光を外部へ照射する発光部52を備えている。照射部50の基端部は、光を出力する光出力装置80に接続可能である。照射部50は、光出力装置80から近赤外線を受け、近赤外線を発光部52へ伝搬し、発光部52から照射することができる。なお、照射部50は、光ファイバ以外の光導波路により形成されてもよい。
発光部52は、図11(A)に示すように、光ファイバ51の切断された断端に接続されて、光ファイバ51から受ける光を拡散または散乱させる円柱状のディフューザーである。発光部52は、光ファイバ51の表面や内部を加工することで、一体に形成されていてもよく、光ファイバ51の切断された断端であってもよい。この場合は、光を広い照射角で照射するために、複数の光ファイバ51が設けられることが好ましい。また、発光部52は、図11(B)に示す第22の変形例のように、光ファイバ51の切断された断端に配置されるミラー53および/またはレンズ54によって形成されてもよい。発光部52は、ミラー53および/またはレンズ54によって形成されることで、光の照射角を広げることができる。光ファイバ51を回転させることで、発光部52は、さらに広い範囲へ光を照射できる。
なお、発光部52は、拡張部30へ光を伝搬する方法として、シャフト部20の内部に配置されなくてもよく、または拡張部30の内部に配置されなくてもよい。例えば、図11(C)に示す第23の変形例のように、照射部50は、拡張部30の基端側のシャフト部20を囲む照射補助部55を有し、照射補助部55に、発光部52が配置されてもよい。発光部52は、拡張時の基端拡張部32の基端側の面の一部を覆うように、先端方向へ向かって広がる内周面を有している。発光部52は、この内周面に配置される。発光部52は、光ファイバの断端、ディフューザー、ミラー、レンズ、または電力により光を発するLED等である。照射補助部55の発光部52が発光すると、拡張部30の基端側から拡張部30の内部へ光が照射される。これにより、拡張部30は、照射補助部55の発光部52から光を受けて、略全体で発光できる。照射補助部55に設けられる発光部52は、照射ルーメン25に設けられる照射部50と一緒に使用されてよい。
操作部60は、図1に示すように、術者が把持して操作する部位である。操作部60は、本体シャフト21の基端部が固定されている。操作部60の基端部からは、照射用シャフト22および流路用シャフト23が導出されている。なお照射用シャフト22および流路用シャフト23は操作部60の基端部で固定されていてもよい。拡張部30および先端シャフト24を膣口から挿入する際に、膣V内における術者の視野を確保しやすいように、操作部60は、先端部から基端部へ向かって曲がって形成される。なお、操作部60の構成は、特に限定されない。
光出力装置80は、照射部50の光ファイバ51へ、任意の波長の光を任意の強度(パワー)やエネルギーで出力できる。光出力装置80は、例えば660~740nmの波長の近赤外線を、例えば1mW~5Wの強度(パワー)で、例えば1~50Jcm-2のエネルギーで光を照射できるように、光ファイバ51へ出力を行う。
図12および13に示す第24の変形例のように、拡張部30は、先端シャフト24に対して軸心方向へ移動可能であってもよい。拡張部30の先端部は、先端シャフト24ではなく、先端シャフト24を摺動可能に収容する管状の内側シャフト21Aに固着されている。内側シャフト21Aは、封止部材45によって、本体シャフト21に固定されている。本体シャフト21の基端部は、操作部60のケーシング61に摺動可能であり、かつ移動操作部62に固定される。移動操作部62は、ケーシング61に対して摺動可能に保持されている。先端シャフト24を含む照射用シャフト22は、ケーシング61に固定される。移動操作部62がケーシング61に対して移動すると、照射用シャフト22は移動せずに、本体シャフト21、流路用シャフト23、内側シャフト21Aおよび拡張部30がケーシング61に対して移動する。治療装置10に補強部70が設けられる場合には、補強部70も、移動操作部62の移動に伴って拡張部30と共に移動する。したがって、術者は、先端シャフト24を子宮頸管CCに対して望ましい位置に配置した後、先端シャフト24を子宮頸管CCに対して移動させずに、移動操作部62を操作して、拡張部30を望ましい位置へ移動させることができる。または、先端シャフト24の突出長を個体差に合わせて適切な長さになるように拡張部30を移動して調整してから使用することができる。
次に、実施形態に係る治療装置10を用いた治療方法を説明する。
始めに、抗体-光感受性物質を、静脈内投与する。静脈内投与から約12~36時間経過後に、術者は、図14に示すように、膣鏡100を用いて膣口を開き、拡張部30を収縮させた状態の治療装置10を、膣口から膣V内へ挿入する。このとき、術者は、治療装置10を、先端シャフト24側から挿入する。次に、術者は、先端シャフト24の先端部を目視で確認しつつ、外子宮口Oから子宮頸管CCへ挿入する。このとき、拡張部30が拡張されていないため、術者は、先端シャフト24を子宮頸管CCへ容易に挿入できる。
次に、術者は、図15に示すように、ポート27に、空気や生理食塩液等の流体を収容したシリンジやインデフレータを接続し、拡張ルーメン26を介して、拡張部30内へ拡張用流体を供給する。これにより、拡張部30は、膣V内で拡張する。なお、拡張部30の拡張は、膣V内で拡張部30を移動できる程度に行われることが好ましい。次に、術者は、操作部60を押し込み、膨らんだ拡張部30の突き当て面34を、子宮膣部UVに押し当てる。子宮膣部UVは、子宮頸部Uの膣V側の部位であり、外子宮口Oが形成されている。拡張部30が、子宮膣部UVに密着すると、先端シャフト24が子宮頸管CC内で位置決めされ、かつ拡張部30が膣V内で位置決めされる。次に、術者は、拡張部30をさらに拡張させる。これにより、拡張部30が子宮膣部UVに密着した状態で拡張する。拡張部30は、臓器の形状に追従して拡張する。その結果、拡張部30の径方向外側の部位は、膣円蓋VFに近づく。このため、拡張部30の径方向外側の部位は、膣口から近い前膣円蓋AVだけでなく、膣口から遠い後膣円蓋RVへも近づくことができる。なお、拡張部30の拡張は、1回のみ行われてもよく、または3回以上に分けて行われてもよい。
次に、術者は、照射部50の発光部52を先端シャフト24の内部に配置する。この後、術者は、光出力装置80を操作し、照射部50へ近赤外線を供給する。これにより、先端シャフト24の内部の発光部52は、子宮頸部Uに位置する腫瘍細胞Cへ、近赤外線を効果的に照射できる。発光部52からの近赤外線の照射方向は、先端シャフト24の軸心と略垂直な方向を含んでいる。このため、発光部52は、子宮頸管CCから子宮頸部Uに位置する腫瘍細胞Cへ、近赤外線を効果的に照射できる。術者は、先端シャフト24の内部で発光部52を移動させつつ、近赤外線を照射させてもよい。
近赤外線を照射すると、子宮頸部Uの腫瘍細胞Cに結合した抗体-光感受性物質に、近赤外線が到達する。これにより、励起光である近赤外線を受けた抗体-光感受性物質に化学変化が生じ、さらに抗体-光感受性物質の構造変化が起こることで細胞膜に穴が開く。これにより、近赤外線を照射された腫瘍細胞Cが破壊される。
術者は、腫瘍細胞Cの破壊が十分に行われたと判断する場合や、所定時間が経過した場合に、近赤外線の照射を停止する。
次に、術者は、図16に示すように、先端シャフト24および拡張部30を保持した状態で、照射部50を引き、発光部52を拡張部30の内部に移動させる。次に、術者は、光出力装置80を操作し、照射部50へ近赤外線を供給する。これにより、発光部52から光を受けた拡張部30の全体が発光する。すなわち、拡張部30に到達した近赤外線の一部が、拡張部30を透過するとともに、拡張部30に到達した近赤外線の一部が、拡張部30によって散乱または反射されて、広い範囲へ照射される。拡張部30が、先端方向への照射強度を向上させる構造(図7を参照)を備える場合には、近赤外線は、照射用シャフト22の軸心と略垂直な方向および先端方向へ照射される。このため、発光部52および拡張部30は、主に、外子宮口O、子宮膣部UV、膣円蓋VF、膣Vの膣円蓋VFよりも膣口側であって膣円蓋VFに近い部位に位置する腫瘍細胞Cへ、近赤外線を効果的に照射できる。また、膣Vの膣円蓋VFよりも膣口側の膣壁には多数の襞があるが、拡張部30を子宮膣部UVの近くで拡張させることで、近赤外線の膣壁への入射角が小さくなる。このため、光の反射をできるだけ抑えて、腫瘍細胞Cへ、近赤外線を効果的に照射できる。なお、術者は、拡張部30の内部で発光部52を移動させつつ、近赤外線を照射させてもよい。また、術者は、拡張部30および先端シャフト24の内部で発光部52を交互に移動させつつ、近赤外線を照射させてもよい。発光部52が軸心方向へ長く、先端シャフト24および拡張部30の両方から同時に発光できる場合には、術者は、発光部52を、先端シャフト24および拡張部30の間で移動させなくてもよい。
近赤外線を照射すると、主に、外子宮口O、子宮膣部UV、膣円蓋VF、膣Vの膣円蓋VFよりも膣口側であって膣円蓋VFに近い部位の腫瘍細胞Cに結合した抗体-光感受性物質に、近赤外線が到達する。これにより、励起光である近赤外線を受けた抗体-光感受性物質に化学変化が生じ、さらに抗体-光感受性物質の構造変化が起こることで細胞膜に穴が開く。これにより、近赤外線を照射された腫瘍細胞Cが破壊される。
術者は、腫瘍細胞Cの破壊が十分に行われたと判断する場合や、所定時間が経過した場合に、近赤外線の照射を停止する。この後、術者は、拡張部30を収縮させ、治療装置10を子宮頸管CCおよび膣Vから引き抜く。これにより、本治療方法が終了する。
以上のように、本実施形態に係る治療装置10は、子宮頸がんの治療装置10であって、先端部および基端部を有する本体シャフト21と、本体シャフト21の先端側に配置され、流体が流入することで拡張可能な拡張部30と、拡張部30から先端側へ突出する先端シャフト24と、先端シャフト24および拡張部30から抗体-光感受性物質の励起光を発光可能とする少なくとも1つの照射部50と、を有する。
上記のように構成した治療装置10は、先端シャフト24を子宮頸管CCに挿入するとともに、拡張部30を膣V内で広く拡張させた状態で、子宮頸部Uから膣Vまでの広い範囲の腫瘍細胞Cに結合した抗体-光感受性物質へ、励起光を効果的に照射できる。このため、本治療方法は、子宮頸部U、外子宮口O、外子宮口Oの周辺の子宮膣部UV、膣円蓋VF、および膣Vの膣円蓋VFよりも膣口側の膣円蓋VFに近い部位を含む広い範囲におけるがんの治療効果を向上できる。
また、先端シャフト24は、励起光を当該先端シャフト24の軸心に対して略垂直方向へ照射し、拡張部30は、励起光を略先端方向へ照射する。これにより、子宮頸部Uの腫瘍細胞Cへ先端シャフト24および拡張部30の両方から励起光を照射できるため、治療効果を向上できる。
また、治療装置10は、拡張部30の内部および先端シャフト24の内部を連通し、照射部50を移動可能に収容する照射ルーメン25が形成される。これにより、1つの照射部50により、先端シャフト24および拡張部30から励起光を照射できるため、治療装置10の構成を単純化して、操作性を向上できる。また、照射部50を移動させることで、励起光を照射する位置を適切に調節できるため、治療効果を向上できる。
また、拡張部30は、拡張状態において先端側へ向く突き当て面34を有し、突き当て面34の先端シャフト24の軸心から離れた部位の一部が、先端側へ突出してもよい。これにより、拡張部30を子宮膣部UVへ突き当てることで、突き当て面34の先端側へ突出する部位を、膣円蓋VFに近づけることができる。したがって、光が到達しにくい膣円蓋VFの近傍へ励起光を効果的に照射でき、治療効果を向上できる。
また、治療装置10は、拡張部30の先端側に配置されて先端シャフト24の基端部を囲む環状の補強部70を有してもよい。これにより、先端シャフト24を子宮頸管CCへ挿入し、補強部70を子宮膣部UVへ突き当てることで、先端シャフト24および拡張部30を、適切な位置に位置決めできる。このため、先端シャフト24および拡張部30から、望ましい位置へ励起光を照射できるため、治療効果を向上できる。
また、拡張部30は、本体シャフト21に対して当該本体シャフト21の軸心方向へ移動可能であってもよい。これにより、拡張部30を本体シャフト21に対して基端側へ後退させて視野を確保した状態で、先端シャフト24を子宮頸管CCへ挿入できる。そして、先端シャフト24を子宮頸管CCの適切な位置に維持した状態で、拡張部30を移動させて適切な位置に配置できる。このため、先端シャフト24および拡張部30の両方を、子宮頸管CCおよび膣Vの適切な位置に正確かつ容易に配置できる。したがって、先端シャフト24および拡張部30から、望ましい位置へ励起光を照射できるため、治療効果を向上できる。
また、本実施形態における治療方法は、子宮頸がんの治療方法であって、抗体-光感受性物質を静脈内投与するステップと、静脈内投与から12~36時間経過後に、拡張可能な拡張部30および拡張部30から突出する先端シャフト24を有して抗体-光感受性物質の励起光を照射可能な治療装置10を膣V内に挿入するステップと、先端シャフト24を子宮頸管CCへ挿入するステップと、拡張部30を膣V内で拡張させるステップと、先端シャフト24から周辺組織へ励起光を照射するステップと、拡張部30から周辺組織へ励起光を照射するステップと、拡張部30を収縮させるステップと、を有する。
上記のように構成した治療方法は、拡張部30を収縮させて視野を確保した状態で、目視で確認しつつ先端シャフト24を外子宮口Oから子宮頸管CCへ挿入できるとともに、拡張部30を膣V内で広く拡張させることができる。このため、先端シャフト24および拡張部30から抗体-光感受性物質の励起光を発光することで、子宮頸部Uから膣Vまでの広い範囲の腫瘍細胞Cに結合した抗体-光感受性物質へ、励起光を効果的に照射できる。このため、本治療方法は、子宮頸部Uから膣Vまでの広い範囲におけるがんの治療効果を向上できる。
また、先端シャフト24から励起光を照射するステップにおいて、励起光を照射可能な照射部50を先端シャフト24の内部に配置して当該照射部50から励起光を照射し、拡張部30から励起光を照射するステップにおいて、照射部50を拡張部30の内部に配置して当該照射部50から励起光を照射し、先端シャフト24から励起光を照射するステップおよび拡張部30から励起光を照射するステップの間で、照射部50を先端シャフト24および拡張部30の間で移動させてもよい。これにより、照射部50が1つの場合であっても、先端シャフト24および拡張部30から励起光を照射できるため、治療装置10の構成を単純化して、操作性を向上できる。また、照射部50を移動させることで、励起光を照射する位置を適切に調節できるため、治療効果を向上できる。なお、励起光を照射する順番は、限定されない。したがって、先端シャフト24で先に励起光を照射してもよく、拡張部30で先に励起光を照射してもよい。
また、先端シャフト24から励起光を照射するステップと、拡張部30から励起光を照射するステップと、を同時に行ってもよい。これにより、本治療方法は、多様な位置および方向から励起光を同時に照射できるため、治療効果を向上できるとともに、短時間で効率的に治療を行うことができる。
また、先端シャフト24を子宮頸管CCへ挿入するステップにおいて、先端シャフト24の基端側に配置されるとともに先端シャフト24が導出されて先端側を向く突き当て面34を、子宮膣部UVに突き当ててもよい。これにより、先端シャフト24および拡張部30を、適切な位置に位置決めできる。このため、先端シャフト24および拡張部30から、望ましい位置へ励起光を照射でき、治療効果を向上できる。
なお、本発明は、上述した実施形態のみに限定されるものではなく、本発明の技術的思想内において当業者により種々変更が可能である。
例えば、治療装置10は、図17に示すように、発光部52から近赤外線を照射されて励起された抗体-光感受性物質が発する、照射光の波長(例えば689nm)とは異なる波長の蛍光(例えば704nm)を検出する検出部90を有してもよい。検出部90は、例えば、照射部50と同様に照射ルーメン25に配置されて光を受ける光ファイバ等の光導波路91と、光量を検出できる光センサ92とを備えている。検出部90は、受光する位置に、光を感じて電気信号に変えるCMOSイメージセンサ等の半導体センサを有してもよい。
腫瘍細胞Cに結合した抗体-光感受性物質に近赤外線が照射されると、抗体-光感受性物質が光反応を生じて蛍光を発するとともに、腫瘍細胞Cを破壊する。なお、抗体-光感受性物質は、腫瘍細胞Cを破壊した後には、蛍光を発しない。このため、検出される蛍光の強度の変化を光センサ92により測定することで、励起光の照射による腫瘍細胞Cの破壊の程度を確認できる。したがって、腫瘍細胞Cを破壊する光反応の進行状態を確認できる。
なお、検出部90は、近赤外線を受けて励起された抗体-光感受性物質が発する蛍光を検出できれば、前述の照射部50を備える治療装置10とは異なる装置であってもよい。検出部90は、膣V、子宮、直腸、膀胱、尿道、腹腔、血管、尿管等に挿入されて、蛍光を検出してもよい。検出部90による蛍光の検出は、治療装置10による近赤外線の照射と並行して行われてもよく、または、治療装置10による近赤外線の照射が完了した後に行われてもよい。治療装置10が、子宮頸管CCおよび膣Vから引き抜かれた後に、検出部90が、膣Vまたは子宮頸管CCに挿入されてもよい。または、検出部90は、治療装置10による近赤外線の照射と並行して、または近赤外線の照射の後に、体外の体表面から蛍光を検出してもよい。
なお、検出部90は、術者が治療装置10を膣Vや子宮頸管CCに挿入する際に、どこまで挿入したかを確認するために使用されてもよい。例えば、CMOSイメージセンサから得られる画像や、光ファイバ等の光導波路91から得られる光の強度や色の変化から、治療装置10の位置を確認することができる。
また、図18に示すように、拡張部30は、基端拡張部32と突き当て面34の間に、膣壁と略平行に接触する部位がなくてもよい。突き当て面34の内面には散乱体コート36が被覆され、基端側に向かって外径が漸減している基端拡張部32には反射体コート39が被覆される。これにより、拡張部30の内部で発光部52が発光して、拡張部30から照射される励起光は、先端方向(拡張部30に対して外子宮口Oや子宮膣部UVがある方向)へのみ、反射および拡散して照射される。これにより、光エネルギーを効率的に先端方向へ照射することができ、外子宮口Oや子宮膣部UVにおける治療効果を向上できる。なお、発光部52の全体が、拡張部30の軸心方向(長軸方向)の長さの範囲内に位置することが好ましい。これにより、発光部52から照射される光は、無駄なく拡張部30内に入力できる。
なお、本出願は、2020年3月30日に出願された日本特許出願2020-060400号に基づいており、それらの開示内容は、参照され、全体として、組み入れられている。
10 治療装置
20 シャフト部
21 本体シャフト
22 照射用シャフト
22A 第3突き当て面(突き当て面)
23 流路用シャフト
24 先端シャフト
25 照射ルーメン
26 拡張ルーメン
30 拡張部
34 突き当て面
40 突出部
50 照射部
51 光ファイバ
52 発光部
70 補強部
72 第2突き当て面(突き当て面)
80 光出力装置
90 検出部
C 腫瘍細胞
CC 子宮頸管
I 内子宮口
O 外子宮口
U 子宮頸部
UC 子宮腔
UV 子宮膣部
V 膣
VF 膣円蓋
AV 前膣円蓋
RV 後膣円蓋

Claims (7)

  1. 子宮頸がんの腫瘍細胞に結合した抗体-光感受性物質へ励起光を照射する治療装置であって、
    先端部および基端部を有する本体シャフトと、
    前記本体シャフトの先端側に配置され、流体が流入することで拡張可能な拡張部と、
    前記拡張部から先端側へ突出する先端シャフトと、
    前記先端シャフトおよび前記拡張部から前記抗体-光感受性物質の励起光を発光可能とする少なくとも1つの照射部と、を有し、
    前記拡張部の内部および前記先端シャフトの内部を連通し、前記照射部を移動可能に収容する照射ルーメンが形成されていることを特徴とする治療装置。
  2. 子宮頸がんの腫瘍細胞に結合した抗体-光感受性物質へ励起光を照射する治療装置であって、
    先端部および基端部を有する本体シャフトと、
    前記本体シャフトの先端側に配置され、流体が流入することで拡張可能な拡張部と、
    前記拡張部から先端側へ突出する先端シャフトと、
    前記先端シャフトおよび前記拡張部から前記抗体-光感受性物質の励起光を発光可能とする少なくとも1つの照射部と、を有し、
    前記拡張部の先端側に配置されて前記先端シャフトの基端部を囲む環状の補強部を有することを特徴とする治療装置。
  3. 前記先端シャフトは、前記励起光を当該先端シャフトの軸心に対して略垂直方向へ照射し、
    前記拡張部は、前記励起光を略先端方向へ照射することを特徴とする請求項1または2に記載の治療装置。
  4. 前記拡張部は、拡張状態において先端側へ向く突き当て面を有し、前記突き当て面の前記先端シャフトの軸心から離れた部位の一部が、先端側へ突出することを特徴とする請求項1~3のいずれか1項に記載の治療装置。
  5. 前記拡張部の先端側に配置されて前記先端シャフトの基端部を囲む環状の補強部を有することを特徴とする請求項1に記載の治療装置。
  6. 前記抗体-光感受性物質が発する蛍光を検出する検出部を有することを特徴とする請求項1~5のいずれか1項に記載の治療装置。
  7. 前記先端シャフトを摺動可能に収容する管状の内側シャフトと、
    前記先端シャフトを含む照射用シャフトと、
    前記本体シャフトの基端部が固定された移動操作部と、
    前記移動操作部を摺動可能に保持するケーシングと、をさらに有し、
    前記内側シャフトは、前記本体シャフトに固定され、
    前記拡張部の先端部は、前記内側シャフトに固着され、
    前記照射用シャフトは、前記ケーシングに固定され、
    前記移動操作部が前記ケーシングに対して移動すると、前記照射用シャフトは移動せずに、前記本体シャフト、前記内側シャフトおよび前記拡張部が、前記ケーシングに対して前記本体シャフトの軸心方向に移動することを特徴とする請求項1~6のいずれか1項に記載の治療装置。
JP2022511741A 2020-03-30 2021-03-10 治療装置 Active JP7676366B2 (ja)

Applications Claiming Priority (3)

Application Number Priority Date Filing Date Title
JP2020060400 2020-03-30
JP2020060400 2020-03-30
PCT/JP2021/009428 WO2021199976A1 (ja) 2020-03-30 2021-03-10 治療装置および治療方法

Publications (2)

Publication Number Publication Date
JPWO2021199976A1 JPWO2021199976A1 (ja) 2021-10-07
JP7676366B2 true JP7676366B2 (ja) 2025-05-14

Family

ID=77927181

Family Applications (1)

Application Number Title Priority Date Filing Date
JP2022511741A Active JP7676366B2 (ja) 2020-03-30 2021-03-10 治療装置

Country Status (4)

Country Link
US (1) US20230001226A1 (ja)
JP (1) JP7676366B2 (ja)
CN (1) CN115397506A (ja)
WO (1) WO2021199976A1 (ja)

Families Citing this family (4)

* Cited by examiner, † Cited by third party
Publication number Priority date Publication date Assignee Title
JP2023144738A (ja) * 2022-03-28 2023-10-11 テルモ株式会社 膣内挿入デバイス、医療器具及び治療方法
CN116115173A (zh) * 2022-12-19 2023-05-16 青岛镭视光电科技有限公司 用于治疗宫颈癌的内窥镜探头
CN116251302B (zh) * 2023-03-11 2025-07-25 青岛镭视光电科技有限公司 治疗宫颈癌前病变的光动力治疗仪探头以及光动力治疗仪
CN119236318A (zh) * 2024-08-30 2025-01-03 北京英发光动技术有限公司 一种具有散热通道的光照治疗装置

Citations (2)

* Cited by examiner, † Cited by third party
Publication number Priority date Publication date Assignee Title
US5947958A (en) 1995-09-14 1999-09-07 Conceptus, Inc. Radiation-transmitting sheath and methods for its use
JP2018538077A (ja) 2015-12-18 2018-12-27 フォトキュア エイエスエイ 光線力学的治療用装置

Family Cites Families (6)

* Cited by examiner, † Cited by third party
Publication number Priority date Publication date Assignee Title
US6572609B1 (en) * 1999-07-14 2003-06-03 Cardiofocus, Inc. Phototherapeutic waveguide apparatus
US20030114434A1 (en) * 1999-08-31 2003-06-19 James Chen Extended duration light activated cancer therapy
JP2009535116A (ja) * 2006-04-25 2009-10-01 ルーメックス, インク. 光ワンドおよびバルーンカテーテル
WO2015160064A1 (ko) * 2014-04-18 2015-10-22 부경대학교산학협력단 산광형 광섬유를 포함하는 프로브, 그 제조 방법 및 응용
CN106794248B (zh) * 2014-08-27 2020-01-14 富士胶片株式会社 光线力学疗法用组合物、杀菌方法、杀菌系统及杀菌系统的工作方法
PT3432983T (pt) * 2016-03-25 2024-06-17 Inst Nat Sante Rech Med Sistema para tratamento de uma cavidade do corpo de um paciente por terapia fotodinâmica e método de preparação de tal sistema

Patent Citations (2)

* Cited by examiner, † Cited by third party
Publication number Priority date Publication date Assignee Title
US5947958A (en) 1995-09-14 1999-09-07 Conceptus, Inc. Radiation-transmitting sheath and methods for its use
JP2018538077A (ja) 2015-12-18 2018-12-27 フォトキュア エイエスエイ 光線力学的治療用装置

Also Published As

Publication number Publication date
US20230001226A1 (en) 2023-01-05
JPWO2021199976A1 (ja) 2021-10-07
WO2021199976A1 (ja) 2021-10-07
CN115397506A (zh) 2022-11-25

Similar Documents

Publication Publication Date Title
JP7676366B2 (ja) 治療装置
US5997571A (en) Non-occluding phototherapy probe stabilizers
US9113785B2 (en) Fluid media for bio-sensitive applications
JP3648555B2 (ja) カラム状環境を照射する改良された光線治療用装置
EP2361549A2 (en) System for analysis and treatment of a body lumen
US11874455B2 (en) Light irradiation device and light irradiation system
US20230021096A1 (en) Treatment apparatus and treatment method
US20220047885A1 (en) Light irradiation system, catheter, and light irradiation device
US20220161046A1 (en) Catheter and light irradiation system
JP7735256B2 (ja) 治療装置
US20230008437A1 (en) Treatment Method and Treatment System
JP7624650B2 (ja) 光照射デバイス、及び、光照射システム
JPWO2020138138A1 (ja) 自然口拡張アプリケータ
JP7735131B2 (ja) 治療装置
JP7741622B2 (ja) 光照射デバイス、及び、光照射システム
WO2021066012A1 (ja) 照射デバイスおよび治療方法
CN107213554A (zh) 一种介入用的液态光传导装置
JP2024017698A (ja) 医療デバイス、医療システム並びに、診断および治療方法
WO2023181811A1 (ja) 医療デバイス
JP2023048292A (ja) 光照射システム
JP2021166563A (ja) 光学的治療装置及び光学的治療方法
JP2023140728A (ja) 医療デバイス
JP2023140729A (ja) 医療デバイス
WO2025070413A1 (ja) 光照射デバイス
HK1161065A (en) System for analysis and treatment of a body lumen

Legal Events

Date Code Title Description
A621 Written request for application examination

Free format text: JAPANESE INTERMEDIATE CODE: A621

Effective date: 20231013

A131 Notification of reasons for refusal

Free format text: JAPANESE INTERMEDIATE CODE: A131

Effective date: 20240827

A601 Written request for extension of time

Free format text: JAPANESE INTERMEDIATE CODE: A601

Effective date: 20241028

A521 Request for written amendment filed

Free format text: JAPANESE INTERMEDIATE CODE: A523

Effective date: 20241226

TRDD Decision of grant or rejection written
A01 Written decision to grant a patent or to grant a registration (utility model)

Free format text: JAPANESE INTERMEDIATE CODE: A01

Effective date: 20250408

A61 First payment of annual fees (during grant procedure)

Free format text: JAPANESE INTERMEDIATE CODE: A61

Effective date: 20250430

R150 Certificate of patent or registration of utility model

Ref document number: 7676366

Country of ref document: JP

Free format text: JAPANESE INTERMEDIATE CODE: R150