JP7582017B2 - ブランク材、紙製容器および蓋材付き紙製容器 - Google Patents
ブランク材、紙製容器および蓋材付き紙製容器 Download PDFInfo
- Publication number
- JP7582017B2 JP7582017B2 JP2021055813A JP2021055813A JP7582017B2 JP 7582017 B2 JP7582017 B2 JP 7582017B2 JP 2021055813 A JP2021055813 A JP 2021055813A JP 2021055813 A JP2021055813 A JP 2021055813A JP 7582017 B2 JP7582017 B2 JP 7582017B2
- Authority
- JP
- Japan
- Prior art keywords
- paper container
- line
- break
- fold line
- push
- Prior art date
- Legal status (The legal status is an assumption and is not a legal conclusion. Google has not performed a legal analysis and makes no representation as to the accuracy of the status listed.)
- Active
Links
Images
Landscapes
- Cartons (AREA)
Description
図1に示すように、本実施の形態による蓋材付き紙製容器1は、紙製容器10と、紙製容器10を密封する蓋材50とを備えている。ここでは、まず、紙製容器10について説明する。
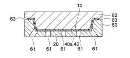
図1乃至図4に示すように、紙製容器10は、紙容器20と、紙容器20の表面に積層された成形フィルム40とを備えている。このうち紙容器20は、後述するブランク材30を組み立てることにより作製されるものである。
紙容器20は、底部21と、底部21に第1折れ線22を介して連結された複数の側部23と、各々の側部23にそれぞれ第2折れ線24を介して連結された複数のフランジ片25とを有している。
(1)一の部材の一部のみが他の部材に対して接触した状態で、一の部材と他の部材とが互いに隣り合っていること。
(2)一の部材と他の部材とが互いに接触していない状態で、一の部材と他の部材とが互いに隣り合っている場合に、一の部材と他の部材との間の隙間の少なくとも一部が、一の部材および他の部材に対して成形フィルム40を接着する際に、成形フィルム40(後述するフィルム40a)が入り込むことができない程度の隙間であること。
次に、紙容器20を作製するためのブランク材30について説明する。図5に示すように、ブランク材30は、底部パネル31と、底部パネル31に第1折れ線32を介して連結された複数の側部パネル33と、各々の側部パネル33にそれぞれ第2折れ線34を介して連結された複数のフランジ片パネル35とを備えている。ブランク材30の底部パネル31、第1折れ線32、側部パネル33、第2折れ線34およびフランジ片パネル35は、それぞれ紙容器20の底部21、第1折れ線22、側部23、第2折れ線24およびフランジ片25に対応するものである。図示された例においては、ブランク材30は、側部パネル33およびフランジ片パネル35を4つずつ備えている。
次に、図1乃至図3により、成形フィルム40について説明する。この成形フィルム40は、紙容器20を保護する役割を果たす。また、成形フィルム40は、容器形状をもっており、紙容器20の表面の全面を覆っている。これにより、紙製容器10に充填された内容物が、紙製容器10から漏れ出すことを抑制している。成形フィルム40は、例えばヒートシール(熱溶着)により、紙容器20に接着されている。
(外側)ポリエチレン(40μm)/アイオノマー(40μm)/ポリエチレン(40μm)(内側)
(外側)ポリプロピレン(30μm)/接着層(10μm)/アイオノマー(40μm)/接着層(10μm)/ポリプロピレン(30μm)(内側)
(外側)ポリエチレン(20μm)/アイオノマー(30μm)/接着層(10μm)/エチレン-ビニルアルコール共重合体(10μm)/接着層(10μm)/アイオノマー(15μm)/エチレン・酢酸ビニル共重合体(20μm)(内側)
次に、蓋材50について説明する。蓋材50は、紙製容器10の成形フィルム40のうち、フランジ片25に対応する領域に全周にわたってシールされている。
(外側)透明蒸着層付きポリエチレンテレフタレートフィルム(12μm)/ナイロンフィルム(15μm)/ポリエチレンフィルム(40μm)(内側)
まず、ブランク材30を準備する。この際、まず、紙材料を準備し、次に、紙材料に対して打ち抜き加工等を施すことによって、ブランク材30が得られる。この際、ブランク材30の底部パネル31には、破断可能な底部破断線37aで少なくとも一部が囲まれた押し込み部37が形成される。
次に、図12乃至図17により、本実施の形態による紙容器20およびブランク材30の変形例について説明する。図12乃至図17において、図1乃至図11に示す実施の形態と同一部分には同一の符号を付して詳細な説明は省略する。
図12は、第1変形例による紙容器20を示し、図13は、第1変形例によるブランク材30を示している。図12において、側部23に、第1折れ線22を破断する際に、第1折れ線22の破断の進行方向を案内する破断補助線27bが形成されている。
図14は、第2変形例による紙容器20を示し、図15は、第2変形例によるブランク材30を示している。図14において、側部23に、ミシン目状に形成されているか、あるいはハーフカット線である側部破断線27cが形成されている。
図16は、第3変形例による紙容器20を示し、図17は、第3変形例によるブランク材30を示している。図16において、側部破断線27cが、互いに離間して配置された複数の貫通部270を有し、各々の貫通部270が、それぞれ、第1部分271と、第1部分271とは異なる方向に延びる第2部分272とを含んでいる。
(1)内容物取り出し性評価試験
まず、内容物取り出し性評価試験を行った。この際、まず、図5に示すブランク材30を作製した。この場合、紙容器20の材料として、坪量が260g/m2であるコート紙を準備した。そして、紙材を所定の形状に打ち抜き、ブランク材30を作製した。
PE(40μm)/アイオノマー(40μm)/PE(40μm)
次に、紙容器20の表面にフィルムを積層することにより、紙製容器10を作製した。
次に、剥離性評価試験を行った。この際、押し込み部27を摘まんで引っ張ることにより、内容物Cを取り出した後の紙製容器10の成形フィルム40から紙容器20を剥離した。そして、紙容器20の剥がしやすさを評価した。
図13に示すブランク材30を作製したこと、以外は実施例1と同様にして、内容物取り出し性評価試験および剥離性評価試験を行った。
図15に示すブランク材30を作製したこと、以外は実施例1と同様にして、内容物取り出し性評価試験および剥離性評価試験を行った。
図17に示すブランク材30を作製したこと、以外は実施例1と同様にして、内容物取り出し性評価試験および剥離性評価試験を行った。
図18に示すように、押し込み部37が形成されていない底部パネル31を備えるブランク材30Aを作製したこと、以外は実施例1と同様にして、内容物取り出し性評価試験および剥離性評価試験を行った。
10 紙製容器
20 紙容器
21 底部
22 第1折れ線
23 側部
24 第2折れ線
25 フランジ片
27 押し込み部
27a 底部破断線
27b 破断補助線
27c 側部破断線
270 貫通部
271 第1部分
272 第2部分
30 ブランク材
31 底部パネル
32 第1折れ線
33 側部パネル
34 第2折れ線
35 フランジ片パネル
37 押し込み部
37a 底部破断線
37b 破断補助線
37c 側部破断線
370 貫通部
371 第1部分
372 第2部分
40 成形フィルム
50 蓋材
Claims (14)
- 底部パネルと、
前記底部パネルに第1折れ線を介して連結された複数の側部パネルと、
各々の側部パネルにそれぞれ第2折れ線を介して連結された複数のフランジ片パネルとを備え、
前記側部パネル同士の間に隙間が形成されており、
前記底部パネルに、底部破断線で少なくとも一部が囲まれた押し込み部が形成されており、
前記押し込み部は、前記第1折れ線をヒンジ部として折り曲げ可能であり、
前記第1折れ線は、ミシン目状に形成されている、ブランク材。 - 前記底部破断線は、ミシン目状に形成されているか、あるいはハーフカット線である、請求項1に記載のブランク材。
- 前記底部破断線の少なくとも一部は、円弧形状をもつ、請求項1または2に記載のブランク材。
- 前記側部パネルに、前記第1折れ線を破断する際に、前記第1折れ線の破断の進行方向を案内する破断補助線が形成されている、請求項1乃至3のいずれか一項に記載のブランク材。
- 前記側部パネルに、ミシン目状に形成されているか、あるいはハーフカット線である側部破断線が形成されている、請求項1乃至4のいずれか一項に記載のブランク材。
- 前記側部破断線は、互いに離間して配置された複数の貫通部を有し、各々の前記貫通部は、それぞれ、第1部分と、前記第1部分とは異なる方向に延びる第2部分とを含む、請求項5に記載のブランク材。
- 請求項1乃至6のいずれか一項に記載の前記ブランク材を組み立てることにより作製された紙容器と、
前記紙容器の表面に積層された成形フィルムとを備える、紙製容器。 - 底部と、前記底部に第1折れ線を介して連結された複数の側部と、各々の側部にそれぞれ第2折れ線を介して連結された複数のフランジ片とを有する紙容器と、
前記紙容器の表面に積層された成形フィルムとを備え、
前記側部同士は、互いに連続することなく隣り合っており、
前記底部に、底部破断線で少なくとも一部が囲まれた押し込み部が形成されており、
前記押し込み部は、前記第1折れ線をヒンジ部として折り曲げ可能であり、
前記第1折れ線は、ミシン目状に形成されている、紙製容器。 - 前記底部破断線は、ミシン目状に形成されているか、あるいはハーフカット線である、請求項8に記載の紙製容器。
- 前記底部破断線の少なくとも一部は、円弧形状をもつ、請求項8または9に記載の紙製容器。
- 前記側部に、前記第1折れ線を破断する際に、前記第1折れ線の破断の進行方向を案内する破断補助線が形成されている、請求項8乃至10のいずれか一項に記載の紙製容器。
- 前記側部に、ミシン目状に形成されているか、あるいはハーフカット線である側部破断線が形成されている、請求項8乃至11のいずれか一項に記載の紙製容器。
- 前記側部破断線は、互いに離間して配置された複数の貫通部を有し、各々の前記貫通部は、それぞれ、第1部分と、前記第1部分とは異なる方向に延びる第2部分とを含む、請求項12に記載の紙製容器。
- 請求項7乃至13のいずれか一項に記載の前記紙製容器と、
前記紙製容器を密封する蓋材とを備える、蓋材付き紙製容器。
Priority Applications (1)
| Application Number | Priority Date | Filing Date | Title |
|---|---|---|---|
| JP2021055813A JP7582017B2 (ja) | 2021-03-29 | 2021-03-29 | ブランク材、紙製容器および蓋材付き紙製容器 |
Applications Claiming Priority (1)
| Application Number | Priority Date | Filing Date | Title |
|---|---|---|---|
| JP2021055813A JP7582017B2 (ja) | 2021-03-29 | 2021-03-29 | ブランク材、紙製容器および蓋材付き紙製容器 |
Publications (2)
| Publication Number | Publication Date |
|---|---|
| JP2022152878A JP2022152878A (ja) | 2022-10-12 |
| JP7582017B2 true JP7582017B2 (ja) | 2024-11-13 |
Family
ID=83555786
Family Applications (1)
| Application Number | Title | Priority Date | Filing Date |
|---|---|---|---|
| JP2021055813A Active JP7582017B2 (ja) | 2021-03-29 | 2021-03-29 | ブランク材、紙製容器および蓋材付き紙製容器 |
Country Status (1)
| Country | Link |
|---|---|
| JP (1) | JP7582017B2 (ja) |
Citations (2)
| Publication number | Priority date | Publication date | Assignee | Title |
|---|---|---|---|---|
| JP2007302269A (ja) | 2006-05-09 | 2007-11-22 | Shuei:Kk | 食品包装用紙容器 |
| JP2013545675A (ja) | 2010-10-14 | 2013-12-26 | パッカブル・ベスローテン・フェンノートシャップ | 調整雰囲気包装のための包装体 |
Family Cites Families (1)
| Publication number | Priority date | Publication date | Assignee | Title |
|---|---|---|---|---|
| US3104012A (en) * | 1960-02-12 | 1963-09-17 | Johnson & Johnson | Contamination proof package |
-
2021
- 2021-03-29 JP JP2021055813A patent/JP7582017B2/ja active Active
Patent Citations (2)
| Publication number | Priority date | Publication date | Assignee | Title |
|---|---|---|---|---|
| JP2007302269A (ja) | 2006-05-09 | 2007-11-22 | Shuei:Kk | 食品包装用紙容器 |
| JP2013545675A (ja) | 2010-10-14 | 2013-12-26 | パッカブル・ベスローテン・フェンノートシャップ | 調整雰囲気包装のための包装体 |
Also Published As
| Publication number | Publication date |
|---|---|
| JP2022152878A (ja) | 2022-10-12 |
Similar Documents
| Publication | Publication Date | Title |
|---|---|---|
| JP2013545675A (ja) | 調整雰囲気包装のための包装体 | |
| JP6137097B2 (ja) | 包装容器の解体方法 | |
| EP3962820B1 (en) | Container with paperboard outer layer and thin plastic foil inner layer | |
| JP2025170148A (ja) | ブランク材、紙製容器および蓋材付き紙製容器 | |
| CN108883855B (zh) | 包装容器及其解体方法 | |
| CN107206730A (zh) | 包装材料和由所述材料形成的包装容器 | |
| JP7582017B2 (ja) | ブランク材、紙製容器および蓋材付き紙製容器 | |
| JP2022152885A (ja) | ブランク材、紙製容器および蓋材付き紙製容器 | |
| JP6492697B2 (ja) | 紙製蓋、及びそれを融着した容器 | |
| JP7324431B1 (ja) | 蓋材付き紙製容器、ブランク材及び紙製容器 | |
| JP7593137B2 (ja) | 紙製容器および蓋材付き紙製容器 | |
| JP2025023716A (ja) | 蓋材付き紙製容器 | |
| JP4289554B2 (ja) | 円錐型包装体 | |
| JP7771594B2 (ja) | トレー容器用ブランク及びトレー容器 | |
| JP7655088B2 (ja) | 紙製容器、蓋材付き紙製容器およびブランク材 | |
| JP7293283B2 (ja) | 紙製容器および蓋材付き紙製容器 | |
| JP7360632B2 (ja) | ブランク材、紙製容器および蓋材付き紙製容器 | |
| JP7608943B2 (ja) | ブランク材、紙製容器および蓋材付き紙製容器 | |
| JP2023117968A (ja) | ブランク材、紙製容器及び蓋材付き紙製容器 | |
| JP2025023315A (ja) | 紙製容器、蓋材付き紙製容器およびブランク材 | |
| JP4957410B2 (ja) | 振出口付蓋材 | |
| JP2017202870A (ja) | 紙容器 | |
| JP2022172832A (ja) | 紙製容器、ブランク材、蓋材付き紙製容器および紙製容器の製造方法 | |
| JP2024121609A (ja) | 紙製容器、蓋材付き紙製容器及びブランク材 | |
| JP7024224B2 (ja) | 紙容器 |
Legal Events
| Date | Code | Title | Description |
|---|---|---|---|
| A621 | Written request for application examination |
Free format text: JAPANESE INTERMEDIATE CODE: A621 Effective date: 20240129 |
|
| A977 | Report on retrieval |
Free format text: JAPANESE INTERMEDIATE CODE: A971007 Effective date: 20240709 |
|
| A131 | Notification of reasons for refusal |
Free format text: JAPANESE INTERMEDIATE CODE: A131 Effective date: 20240712 |
|
| A521 | Request for written amendment filed |
Free format text: JAPANESE INTERMEDIATE CODE: A523 Effective date: 20240813 |
|
| TRDD | Decision of grant or rejection written | ||
| A01 | Written decision to grant a patent or to grant a registration (utility model) |
Free format text: JAPANESE INTERMEDIATE CODE: A01 Effective date: 20241001 |
|
| A61 | First payment of annual fees (during grant procedure) |
Free format text: JAPANESE INTERMEDIATE CODE: A61 Effective date: 20241014 |
|
| R150 | Certificate of patent or registration of utility model |
Ref document number: 7582017 Country of ref document: JP Free format text: JAPANESE INTERMEDIATE CODE: R150 |
