JP7359727B2 - 電線圧接コネクタ - Google Patents

電線圧接コネクタ Download PDF

Info

Publication number
JP7359727B2
JP7359727B2 JP2020050934A JP2020050934A JP7359727B2 JP 7359727 B2 JP7359727 B2 JP 7359727B2 JP 2020050934 A JP2020050934 A JP 2020050934A JP 2020050934 A JP2020050934 A JP 2020050934A JP 7359727 B2 JP7359727 B2 JP 7359727B2
Authority
JP
Japan
Prior art keywords
housing
electric wire
opposing
terminal
wire
Prior art date
Legal status (The legal status is an assumption and is not a legal conclusion. Google has not performed a legal analysis and makes no representation as to the accuracy of the status listed.)
Active
Application number
JP2020050934A
Other languages
English (en)
Other versions
JP2021150234A (ja
Inventor
晃一 池部
Current Assignee (The listed assignees may be inaccurate. Google has not performed a legal analysis and makes no representation or warranty as to the accuracy of the list.)
Yazaki Corp
Original Assignee
Yazaki Corp
Priority date (The priority date is an assumption and is not a legal conclusion. Google has not performed a legal analysis and makes no representation as to the accuracy of the date listed.)
Filing date
Publication date
Application filed by Yazaki Corp filed Critical Yazaki Corp
Priority to JP2020050934A priority Critical patent/JP7359727B2/ja
Publication of JP2021150234A publication Critical patent/JP2021150234A/ja
Application granted granted Critical
Publication of JP7359727B2 publication Critical patent/JP7359727B2/ja
Active legal-status Critical Current
Anticipated expiration legal-status Critical

Links

Images

Landscapes

  • Connections By Means Of Piercing Elements, Nuts, Or Screws (AREA)

Description

本発明は、電線圧接コネクタに関する。
従来の電線圧接コネクタの中には、導電性を有する金属材料によって形成された接続端子と、接続端子を収容する収容空間を有するハウジングとを備えるものがある(例えば、特許文献1参照)。接続端子は、先端側に、基端側よりも厚さが薄く、電線の被覆部に切れ込みを入れる刃部を有する。接続端子は、電線を挿入するスロットを有し、スロットを挟んで一対の刃面を配置する。
従来の接続端子を形成する場合には、作業者は、以下の作業を行う。先ず、作業者は、金属製の平板から電線を挿入するスロットを有する接続端子を打ち抜き加工によって形成した後、接続端子の先端側の部分をたたくことによって、先端側の厚さを基端側の厚さよりも薄い刃部を形成する。この際、作業者は、平板の板面に対して傾斜する方向へ工具でたたくことによって刃部を形成するから、スロット及び一対の刃部の寸法等に誤差が生じる。このため、作業者は、再度、打ち抜き加工することによって接続端子を形成していた。
特開2011-119065号公報
しかしながら、従来の電線圧接コネクタは、適正な寸法のスロット及び一対の刃部を形成するために、2度の打ち抜き加工を行って接続端子を形成しなければならないから、製造時間について改善の余地がある。
本発明は、上記の事情に鑑みてなされたものであって、製造時間を短縮することができる電線圧接コネクタを提供することを目的とする。
上記の課題を解決するため、本発明に係る電線圧接コネクタは、導電性の芯線を有する電線を挿入方向に沿って挿入可能な端子スロットを複数有し、導電性の金属材料によって形成され、各前記端子スロット内で前記芯線と接触することで前記電線と電気的に接続される接続端子と、前記挿入方向側が端子スロットに連通する一方、前記挿入方向に対する反対方向側が外部に連通する切り込みスロットを有し、前記端子スロットに対応してそれぞれ形成された切り込み部と、絶縁性の合成樹脂によって形成され、前記接続端子及び前記切り込み部を収容する収容空間を有するハウジングと、を備え、各前記切り込み部は、前記挿入方向に対して直交する厚さ方向における厚さが、前記反対方向側へ向けて先細りとなり、前記挿入方向及び前記厚さ方向に対して直交する対向方向において、前記切り込みスロットを挟んで形成される一対の刃部を有し、一対の前記刃部を構成する刃部構成部は、前記挿入方向側の端面が前記接続端子の前記反対方向側の端面に接触し、一対の前記刃部は、前記切り込みスロットに前記電線を挿入する際に前記電線の被覆部に切れ込みを入れて前記芯線を外部に露出するものであって、前記対向方向において互いの間隔が前記挿入方向に沿って徐々に小さくなるように絶縁性の合成樹脂によって形成されることを特徴とする。
また、上記電線圧接コネクタにおいて、前記切り込み部は、前記ハウジングと一体的に形成する、ことが好ましい。
また、上記電線圧接コネクタにおいて、前記ハウジングは、開口を有するハウジング本体部と、前記開口を閉塞するハウジング蓋部と有し、前記切り込み部を形成する合成樹脂は、前記ハウジング本体部を形成する合成樹脂と同一であり、前記ハウジング本体部を形成する合成樹脂は、前記ハウジング蓋部を形成する合成樹脂よりも高い剛性を有する、ことが好ましい。
また、上記電線圧接コネクタにおいて、前記切り込み部を形成する合成樹脂は、前記ハウジングを形成する合成樹脂の剛性よりも高い剛性を有する、ことが好ましい。
また、上記電線圧接コネクタにおいて、前記ハウジングは、開口を有するハウジング本体部と、前記開口を閉塞するハウジング蓋部と有し、前記ハウジング蓋部は、前記開口を閉塞する際に複数の前記電線を押圧することによって、前記電線の芯線を各前記切り込みスロットを介して各前記端子スロットに挿入する押圧部を有する、ことが好ましい。
本発明に係る電線圧接コネクタは、以下の構成を有する。本発明に係る電線圧接コネクタの一対の刃部は、対向方向において互いの間隔が挿入方向に沿って徐々に小さくなるように絶縁性の合成樹脂によって形成される。この結果、本発明に係る電線圧接コネクタは、2度の打ち抜き加工を行って接続端子を形成する必要がなく、1度の打ち抜き加工によって接続端子を形成することができるから、製造時間を短縮することができる。
図1は、第1実施形態に係る電線圧接コネクタにおいて、ハウジング本体部に対してハウジング蓋部を開いた状態を示す斜視図である。 図2は、第1実施形態に係る電線圧接コネクタにおいて、ハウジング本体部に対してハウジング蓋部を閉じた状態を示す斜視図である。 図3は、ハウジング本体部に対してハウジング蓋部を開いた状態における平面図である。 図4は、図3の矢視A-Aにおける断面図である。 図5は、図3の矢視B-Bにおける断面図である。 図6は、接続端子の斜視図である。 図7は、図3の矢視C-Cにおける断面の斜視図である。 図8は、第1実施形態に係る電線圧接コネクタを使用して、電線の被覆部に切れ込みを入れる際の説明図である。 図9は、第2実施形態に係る電線圧接コネクタの底面図である。 図10は、図9における矢視D-Dにおける断面図である。 図11は、第2実施形態に係る電線圧接コネクタの第1変形例を示す図7と同様の斜視図である。 図12は、第2実施形態に係る電線圧接コネクタの第2変形例を示す図7と同様の斜視図である。
以下に、本発明に係る実施形態を図面に基づいて詳細に説明する。なお、この実施形態によりこの発明が限定されるものではない。
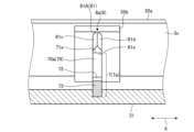
図1は、第1実施形態に係る電線圧接コネクタ1において、ハウジング本体部3に対してハウジング蓋部4を開いた状態を示す斜視図である。図2は、第1実施形態に係る電線圧接コネクタ1において、ハウジング本体部3に対してハウジング蓋部4を閉じた状態を示す斜視図である。図3は、ハウジング本体部3に対してハウジング蓋部4を開いた状態における平面図である。図4は、図3の矢視A-Aにおける断面図である。図5は、図3の矢視B-Bにおける断面図である。図6は、接続端子7の斜視図である。図7は、図3の矢視B-Bにおける断面の斜視図である。図8は、第1実施形態に係る電線圧接コネクタ1を使用して、電線Wの被覆部W2に切れ込みを入れる際の説明図である。各図のX方向は、一対の刃部81A、81Bの厚さ方向である。各図のY方向は、一対の刃部81A、81Bが対向する方向である。各図のZ1方向は、電線Wを端子スロット70に挿入する方向である。各図のZ2方向は、挿入方向Z1の反対方向である。各図の第3方向Zは、挿入方向Z1及び反対方向Z2を含む方向である。
[第1実施形態]
図1、図2に示す本実施形態の第1実施形態に係る電線圧接コネクタ1は、自動車等の車両に搭載されるワイヤハーネスWH1に組み込まれ、複数の電線Wにおける導電性を有する芯線W1どうしを電気的に接続するものである。ワイヤハーネスWH1は、例えば、車両に搭載される各機器間の接続のために、電源供給や信号通信に用いられる複数の電線Wを束にして集合部品とし、コネクタ等で複数の電線Wを各機器に接続するようにしたものである。ワイヤハーネスWH1は、複数の電線Wと、複数の電線Wにおける導電性を有する芯線W1どうしを電気的に接続する電線圧接コネクタ1とを備える。本実施形態の電線圧接コネクタ1は、例えば、一方の電線W11と、他方の電線W12とを備える。各電線Wは、図7に示すように、複数の導電性を有する金属素線からなる芯線W1の外側を、絶縁性を有する被覆部W2によって覆ったものである。本実施形態の芯線W1は、複数の金属素線によって略円柱状に形成され、かつ、横断面における芯線W1の直径R1が、後述する端子スロット70の対向方向Yの幅D1よりも大きい(図7参照)。以下、各図を参照して電線圧接コネクタ1の構成について詳細に説明する。なお、ワイヤハーネスWH1は、この他、さらに、電気接続箱、プロテクタ、グロメット、固定具、他のコネクタ等を含んで構成されてもよい。
電線圧接コネクタ1は、複数の電線Wの芯線W1どうしを電気的に接続するものであり、例えば中空の略直方体状に形成され、ハウジング2と、接続端子7と、切り込み部8とを備え、例えば各電線Wにおける延在方向の途中に設けられる。
ハウジング2は、開閉開口(開口)33を有するハウジング本体部3と、開閉開口33を閉塞するハウジング蓋部4とを備える。本実施形態のハウジング2は、ハウジング本体部3と、ハウジング蓋部4との間に、ハウジング本体部3とハウジング蓋部4とを連結するヒンジ5と、ハウジング蓋部4によって、ハウジング本体部3の開閉開口33が閉塞された状態を維持する係止機構6とを備える。
ハウジング本体部3は、開閉開口33をハウジング蓋部4によって閉塞された状態において、内部に複数の電線Wが挿通、配索される。本実施形態に係るハウジング本体部3は、厚さ方向Xの両端部が開口した樋形状に形成される。ハウジング本体部3は、厚さ方向Xに沿って電線Wが挿通される。
より詳細には、ハウジング本体部3は、底部31、本体側壁部32、端子配置部35、ガイド凸部36を有する。そして、ハウジング本体部3は、底部31、及び、本体側壁部32によって形成される収容空間3s、開閉開口33、及び、挿通開口34を含んで構成される。また、ハウジング本体部3は、底部31、及び、本体側壁部32が一体となって上述したように略直線状の桶形状に形成される。
底部31は、ハウジング本体部3の内部空間部として収容空間3sを形成するための底壁である。底部31は、第3方向Zが板厚方向となる略矩形板状に形成される。底部31は、厚さ方向Xに延在し、対向方向Yにおいて、例えば2本の電線Wを収容可能な所定の幅を有する。
本体側壁部32は、ハウジング本体部3の内部に位置する収容空間3sを形成するための側壁である。本体側壁部32は、底部31から反対方向Z2に沿って突出して形成され、互いに対向する一対の対向壁部32a、32bを有する。
一対の対向壁部32a、32bは、共に対向方向Yが板厚方向となる略矩形板状にそれぞれ形成される。各対向壁部32a、32bは、厚さ方向Xに沿って延在する。一対の対向壁部32a、32bは、対向方向Yに対して底部31を挟んで両側に設けられ、対向方向Yに間隔をあけて対向して位置する。本実施形態のハウジング2において、一対の対向壁部32a、32bは、底部31の対向方向Yの両縁にそれぞれ設けられ、厚さ方向Xに沿って底部31の一方の端部から他方の端部まで延在する。言い換えれば、底部31は、対向方向Yにおいて、一対の対向壁部32a、32bの間に位置し、対向方向Yの両端部がそれぞれ各対向壁部32a、32bと接続される。一対の対向壁部32a、32bは、底部31において、第3方向Zに対して同じ側に立設される。一対の対向壁部32a、32bにおいて、一方の対向壁部32aと他方の対向壁部32bとは、第3方向Zに沿った長さがそれぞれほぼ同じであり、一方の対向壁部32aと他方の対向壁部32bとは、厚さ方向Xに沿った長さがほぼ同じである。
上記のように構成されるハウジング本体部3は、底部31と本体側壁部32とによって、収容空間3s、開閉開口33、及び、複数の挿通開口34が形成される。収容空間3sは、厚さ方向Xに沿い、かつ、対向方向Yに沿って電線Wが配索される空間部である。収容空間3sは、底部31と本体側壁部32とによって囲われた内部空間部として形成される。開閉開口33は、図3に示すように、収容空間3sを外部に対して開放させる開口であり、ハウジング蓋部4によって閉塞される開口である。開閉開口33は、例えば、後述する一対の刃部81A、81Bに電線Wを接触させる際に開放され、一対の刃部81A、81Bに電線Wを接触させた後にハウジング蓋部4によって閉塞される。開閉開口33は、第3方向Zにおいて、各対向壁部32a、32bの底部31側とは反対側の端部によって形成される。開閉開口33は、各対向壁部32a、32bに対して第3方向Zに沿って一方側、すなわち、底部31側とは反対側に開口する。より具体的に説明すると、開閉開口33は、厚さ方向X、及び対向方向Yに沿って開口する。挿通開口34は、収容空間3sに電線Wを挿通させる開口である。挿通開口34は、一対の対向壁部32a、32b、及び、底部31によって厚さ方向Xの両端部に形成された第1挿通開口34a及び第2挿通開口34bを含む。第1挿通開口34a及び第2挿通開口34bは、図1に示すように、対向方向Y、及び、第3方向Zに沿って開口する。
端子配置部35は、後述する接続端子7を、ハウジング本体部3にインサート成型によって配置するための部分である。より具体的に説明すると、端子配置部35は、厚さ方向Xにおいて、ハウジング本体部3の中央に配置してあり、中央端子配置部35aと、一対の側方端子配置部35b、35cとを有する。中央端子配置部35aは、対向方向Yにおいて、ハウジング本体部3の中央に配置してあり、底部31に対して一体的であって略直方体状に形成される。一対の側方端子配置部35b、35cのうち、一方の側方端子配置部35bは、対向方向Yにおいて、ハウジング本体部3の一方の端部に配置してあり、一方の対向壁部32aに対して一体的であって略矩形平板状に形成される。一対の側方端子配置部35b、35cのうち、他方の側方端子配置部35cは、対向方向Yにおいて、ハウジング本体部3の他方の端部に配置してあり、他方の対向壁部32bに対して一体的であって略矩形平板状に形成される。
ガイド凸部36は、個々の電線Wを厚さ方向Xに沿った直線状にガイドする部分であり、第1ガイド凸部36aと、第2ガイド凸部36bとを有する。第1ガイド凸部36aは、厚さ方向Xに延在する直線状に形成してあって、中央部と第1挿通開口34aとの間において、底部31に対して一体的であって厚さ方向Xに延在する直線状に形成される。第2ガイド凸部36bは、厚さ方向Xに延在する直線状に形成してあって、中央部と第2挿通開口34bとの間において、底部31に対して一体的であって厚さ方向Xに延在する直線状に形成される。
ハウジング蓋部4は、ハウジング本体部3に組み付けられ、当該ハウジング本体部3に形成された開閉開口33を閉塞するものである。ハウジング蓋部4は、図1、図2に示すように、天部41、蓋側壁部42、及び、押圧部4343を有する。ハウジング蓋部4は、天部41、蓋側壁部42及び、押圧部4343が一体となって、ハウジング本体部3の形状に対応した略直線状の樋形状に形成される。
天部41は、ハウジング本体部3の開閉開口33を塞ぎ、収容空間3sを形成するための天壁である。天部41は、第3方向Zが板厚方向となる略板状に形成される。また、天部41は、厚さ方向Xに延在するとともに、収容空間3sを閉塞可能とするために対向方向Yに所定の幅を有する。本実施形態の天部41は、ハウジング2本体の開閉開口33を閉塞した状態において、第3方向Zにおいて底部31に対向する。
蓋側壁部42は、厚さ方向Xにおいて、互いに対向する一対の対向蓋側壁部42a、42b、及び、一方の対向蓋側壁部42aにおける対向方向Yの一方の端部と、他方の対向蓋側壁部42bにおける対向方向Yの一方の端部とを連結する連結蓋側壁部42cを有する。連結蓋側壁部42cは、ハウジング本体部3の開閉開口33をハウジング蓋部4が閉塞した状態において、対向方向Yにおいて、ハウジング本体部3の他方の対向壁部32bに対向する。一方の対向蓋側壁部42a、他方の対向蓋側壁部42b、及び、連結蓋側壁部42cは、天部41から第3方向Zに沿って突出して形成される。一方の対向蓋側壁部42a、他方の対向蓋側壁部42b、及び、連結蓋側壁部42cは、天部41に対して第3方向Zに対して同じ側に立設される。一方の対向蓋側壁部42a、他方の対向蓋側壁部42b、及び連結蓋側壁部42cは、ハウジング本体部3の開閉開口33をハウジング蓋部4が閉塞した状態において、天部41から第3方向Zに沿ってハウジング本体部3側に向けて突出して形成される。一方の対向蓋側壁部42a、他方の対向蓋側壁部42b、及び連結蓋側壁部42cは、第3方向Zに沿った長さがそれぞれほぼ同一である。
一方の対向蓋側壁部42a、及び、他方の対向蓋側壁部42bは、共に厚さ方向Xが板厚方向となる略矩形板状に形成され、対向方向Yに沿って延在する。一方の対向蓋側壁部42a、及び、他方の対向蓋側壁部42bは、対向方向Yにおいて、天部41を挟んで両側に設けられ、厚さ方向Xにおいて、間隔をあけて対向して位置する。本実施形態では、一方の対向蓋側壁部42a、及び、他方の対向蓋側壁部42bは、天部41の厚さ方向Xの両縁にそれぞれ設けられ、対向方向Yに沿って天部41の一方の端部から他方の端部まで延在する。言い換えれば、天部41は、対向方向Yにおいて、一方の対向蓋側壁部42a、及び、他方の対向蓋側壁部42bの間に位置し、対向方向Yの両端部がそれぞれ一方の対向蓋側壁部42a、及び、他方の対向蓋側壁部42bと接続される。一方の対向蓋側壁部42a、及び、他方の対向蓋側壁部42bは、対向方向Yに沿った長さがそれぞれほぼ同一である。
連結蓋側壁部42cは、対向方向Yが板厚方向となる略板状に形成され、厚さ方向Xに沿って延在する。また、連結蓋側壁部42cは、天部41の対向方向Yの一方の側縁に設けられ、厚さ方向Xに沿って延在する。本実施形態におけるハウジング蓋部4は、連結蓋側壁部42cにおける厚さ方向Xの中央に係止機構6の係止孔部61を設け、当該係止孔部61が配置された部分には連結蓋側壁部42cを設けていない。このような連結蓋側壁部42cは、対向方向Yにおいて、天部41を挟んでヒンジ5の反対側に設けられる。言い換えれば、天部41は、対向方向Yにおいて、連結蓋側壁部42cとヒンジ5との間に位置し、対向方向Yの一方の端部が連結蓋側壁部42cと接続される一方、対向方向Yの他方の端部がヒンジ5を介してハウジング本体部3と接続される。
一対の対向蓋側壁部42a、42bのうち、一方の対向蓋側壁部42aは、電線Wが挿入され、かつ、挿入された電線Wの被覆部W2が接触する対向第1蓋挿入溝42a1を複数有する。対向第1蓋挿入溝42a1は、一方の電線W11を挿入する第1対向蓋挿入溝42a11と、他方の電線W12を挿入する第2対向蓋挿入溝42a12とを含む。つまり、一方の対向蓋側壁部42aには、後述する端子スロット70に対応して2つの対向蓋挿入溝42a11、42a12が形成される。各対向蓋挿入溝42a11、42a12は、ハウジング本体部3の開閉開口33をハウジング蓋部4によって閉塞した状態において、一方の対向蓋側壁部42aの挿入方向Z1側の端部から反対方向Z2へ向けて凹み、第3方向Zに沿って直線状に延在する。
一対の対向蓋側壁部42a、42bのうち、他方の対向蓋側壁部42bは、電線Wが挿入され、かつ、挿入された電線Wの被覆部W2が接触する対向第2蓋挿入溝42b1を複数有する。対向第2蓋挿入溝42b1は、一方の電線W11を挿入する第3対向蓋挿入溝42b11と、他方の電線W12を挿入する第4対向蓋挿入溝42b12とを含む。つまり、他方の対向蓋側壁部42bには、端子スロット70に対応して2つの対向蓋挿入溝42b11、42b12が形成される。各対向蓋挿入溝42b11、42b12は、ハウジング本体部3の開閉開口33をハウジング蓋部4によって閉塞した状態において、他方の対向蓋側壁部42bの挿入方向Z1側の端部から反対方向Z2へ向けて凹み、第3方向Zに沿って直線状に延在する。
押圧部43は、開閉開口33をハウジング蓋部4によって閉塞する際に複数の電線W(本実施形態では2本の電線W)を押圧することによって、電線Wの芯線W1を各切り込みスロット80を介して各端子スロット70に挿入するものである。言い換えると、押圧部43は、開閉開口33をハウジング蓋部4によって閉塞する際に複数の電線を一括して押圧することによって芯線W1を各端子スロット70に挿入するものである。このような押圧部43は、天部41と一体的に形成してある。より具体的に説明すると、押圧部43は、ハウジング本体部3の開閉開口33を蓋部によって閉塞した状態において、収容空間3sの内部に位置する一方、天部41は収容空間3sの外部に位置する。このような押圧部43は、押圧中央部43a、及び、一対の押圧側部43b、43cを有する。
押圧中央部43aは、ハウジング蓋部4の厚さ方向Xにおける中央に位置する一方、一対の押圧側部43b、43cは、厚さ方向Xにおける両側に位置する。つまり、一対の押圧側部43b、43cは、厚さ方向Xにおいて、押圧中央部43aを挟んで位置する。ハウジング本体部3の開閉開口33をハウジング蓋部4が閉塞した状態において、押圧中央部43aは、切り込み部8の反対方向Z2側に対向する一方、押圧側部43b、43cは、切り込み部8から外れた底部31の反対方向Z2側に対向する。押圧中央部43aは、略矩形平板状に形成してある一方、一対の押圧側部43b、43cは、略直方体状に形成してある。また、一対の押圧側部43b、43cの第3方向Zの厚さは、押圧中央部43aの第3方向Zの厚さよりも厚く、一対の押圧側部43b、43cの挿入方向Z1側の端部は、押圧中央部43aの挿入方向Z1側の端部よりも挿入方向Z1側に突出する。
一対の押圧側部43b、43cのうち、一方の押圧側部43bは、電線Wの被覆部W2が嵌る押圧第1凹部43b1を複数有する。押圧第1凹部43b1は、一方の電線W11が嵌る第1押圧凹部43b11と、他方の電線W12が嵌る第2押圧凹部43b12と含む。つまり、一方の押圧側部43bには、後述する端子スロット70に対応して2つの押圧凹部43b11、43b12が形成される。各押圧凹部43b11、43b12は、ハウジング本体部3の開閉開口33をハウジング蓋部4によって閉塞した状態において、押圧側部43bの挿入方向Z1側の端部から反対方向Z2側へ向けて凹む。第1押圧凹部43b11の周面と、第1対向蓋挿入溝42a11における第3方向Zの他方側の端部に位置する周面は、厚さ方向Xに沿って同一の曲面を構成する。第2押圧凹部43b12の周面と、第2対向蓋挿入溝42a12における第3方向Zの他方側の端部に位置する周面は、厚さ方向Xに沿って同一の曲面を構成する。
一対の押圧側部43b、43cのうち、他方の押圧側部43cは、電線Wの被覆部W2が嵌る押圧第2凹部43c1を複数有する。押圧第2凹部43c1は、一方の電線W11が嵌る第3押圧凹部43c11と、他方の電線W12が嵌る第4押圧凹部43c12と含む。つまり、他方の押圧側部43cには、後述する端子スロット70に対応して2つの押圧凹部43c11、43c12が形成される。各押圧凹部43c11、43c12は、ハウジング本体部3の開閉開口33をハウジング蓋部4によって閉塞した状態において、押圧側部43cの挿入方向Z1側の端部から反対方向Z2側へ向けて凹む。第3押圧凹部43c11の周面と、第3対向蓋挿入溝42b11における第3方向Zの他方側の端部に位置する周面は、厚さ方向Xに沿って同一の曲面を構成する。第4押圧凹部43c12の周面と、第4対向蓋挿入溝42b12における第3方向Zの他方側の端部に位置する周面は、厚さ方向Xに沿って同一の曲面を構成する。
また、本実施形態に係る電線圧接コネクタ1は、図2に示すように、一対の押圧側部43b、43cの第3方向Zにおける一方側の端部は、押圧中央部43aの第3方向Zにおける一方側の端部よりも突出するように形成される。このため、一対の押圧側部43b、43cは、後述するように、押圧部43により電線Wを押圧する初期において、押圧中央部43aが電線Wに接触するよりも早く電線Wに接触し、その後、押圧中央部43aは、電線Wに接触することによって、電線Wを後述する一対の刃部81A、81Bに押圧し、一対の刃部81A、81Bによって電線Wの被覆部W2に切れ込みを入れる。
ヒンジ5は、図1、図4に示すように、ハウジング本体部3とハウジング蓋部4との間に設けられ、ハウジング本体部3とハウジング蓋部4とを連結するものである。つまり、図4に示すように、ヒンジ5の一方の端部51は、ハウジング本体部3に連結される一方、ヒンジ5の他方の端部52は、ハウジング蓋部4に連結される。より具体的に説明すると、ヒンジ5は、ハウジング本体部3の一方の対向壁部32aと、ハウジング蓋部4の天部41との間に設けられる。ヒンジ5は、例えば、絶縁性の合成樹脂によって、ハウジング本体部3及びハウジング蓋部4と一体的に設けられる。
係止機構6は、図1に示すように、ハウジング蓋部4が開閉開口33を塞ぐ(閉塞する)正規位置でハウジング本体部3とハウジング蓋部4とを係止する機構である。係止機構6は、図7に示すように、係止孔部61と、係止爪部62とを備える。本実施形態の係止機構6は、ハウジング蓋部4に係止孔部61を設ける一方、ハウジング本体部3に係止爪部62を設ける。また、電線圧接コネクタ1は、例えば、1つの係止機構6を有する。
係止孔部61は、ハウジング本体部3に対してハウジング蓋部4が正規位置にある状態で、係止爪部62と係止するものであり、弾性変形可能にハウジング蓋部4と一体的に形成される。係止孔部61は、図2に示すように、厚さ方向Xにおいて間隔をあけて配置される一対の棒状部61a、61bと、各棒状部61a、61bにおける第3方向Zの端部を連結する連結部61cとを有する。そして、係止孔部61は、一対の棒状部61a、61bと、連結部61cとによって、対向方向Yの両側に開口する。
係止爪部62は、ハウジング本体部3とハウジング蓋部4とが正規位置にある閉塞状態で、係止孔部61に係止されるものであり、ハウジング本体部3と一体的に形成される。係止爪部62は、図4、図5に示すように、ハウジング本体部3における収容空間3sの外部に位置するように、一方の対向壁部32bと一体的に設けられる。より具体的に説明すると、係止爪部62は、ハウジング本体部3に対してハウジング蓋部4が正規位置に配置された状態で、連結蓋側壁部42cにおける対向壁部32bに対向する面に設けられる。係止爪部62は、対向壁部32bにおける厚さ方向Xの中央に位置する。本実施形態の係止爪部62は、図4に示すように、対向方向Yにおいて、対向壁部32bから突出するように形成される。より具体的に説明すると、係止爪部62は、対向方向Yと第3方向Zとを含む平面における断面形状が台形であり、対向壁部32bの外面と平行な平行面62aを有するとともに、第3方向Zにおいて対向する直交面62b及び傾斜面62cとを有する。直交面62bは、平行面62aに対して直交する。傾斜面62cは、平行面62aに対して対向方向Y及び第3方向Zにおいて傾斜して交差する。より具体的に説明すると、傾斜面62cは、ハウジング本体部3の開閉開口33をハウジング蓋部4によって閉塞した状態において、対向壁部32bに対する反対方向Z2側への突出量が小さく、挿入方向Z1側へ行くに従って、対向壁部32bに対する反対方向Z2側への突出量が大きくなる。傾斜面62cは、ハウジング本体部3の開閉開口33をハウジング蓋部4によって閉塞した状態において、平行面62aに対して反対方向Z2側に位置する。直交面62bは、ハウジング本体部3の開閉開口33をハウジング蓋部4によって閉塞した状態において、平行面62aに対して挿入方向Z1側に位置する。
ハウジング蓋部4が正規位置に配置された状態では、ハウジング蓋部4における天部41がハウジング本体部3の開閉開口33を塞ぎ、一方の対向壁部32bと連結蓋側壁部42cとが対向方向Yにおいて対向して重なる。より詳細に説明すると、ハウジング蓋部4が正規位置に配置された状態では、連結蓋側壁部42cは、対向壁部32bの外側、すなわち、収容空間3s側とは反対側において一方の対向壁部32bと対向して位置する。また、図7において仮想線で示すハウジング蓋部4が正規位置に配置された状態では、接続端子7によって、一方の電線W11の芯線W1と他方の電線W12の芯線W1とが電気的に接続される。
接続端子7は、導電性を有する金属材料によって、厚さ方向Xが板厚方向となる矩形板状に形成される。また、接続端子7は、厚さ方向Xにおいて収容空間3sを2つに区画する面積を有する。本実施形態の接続端子7は、例えば、インサート成形によって、ハウジング本体部3と一体的に形成される。接続端子7は、第1端面(端面)71aと、第2端面71bと、第3端面71cと、第4端面71dと、複数の端子スロット70とを有する。第1端面71a及び第2端面71bは、第3方向Zにおいて対向する。そして、第1端面71aは、反対方向Z2側に位置する一方、第2端面71bは、挿入方向Z1側に位置する。第3端面71c及び第4端面71dは、対向方向Yにおいて対向する。そして、第3端面71cは、対向方向Yにおける一方側(対向壁部32a及びヒンジ5が配置される側)に位置する一方、第4端面71dは、対向方向Yにおける他方側(対向壁部32bが配置される側)に位置する。各端子スロット70は、導電性の芯線W1を有する電線Wを挿入方向Z1に沿って挿入可能である。接続端子7は、各端子スロット70内で芯線W1と接触することで電線Wと電気的に接続される。本実施形態の接続端子7は、例えば、2つの端子スロット70を備える。端子スロット70は、例えば、第1端子スロット70aと第2端子スロット70bとを有する。本実施形態の接続端子7は、第1端子スロット70aの構成と、第2端子スロット70bの構成とが同一であり、説明の便宜のため、第1端子スロット70aの構成について以下に説明し、第2端子スロット70bの構成についての説明を省略する。第1端子スロット70aは、対向方向Yにおける幅が、第3方向Zにおいて一定である。また、第1端子スロット70aは、第3方向Zにおいて、第1端面71aから、第1端面71aと第2端面71bとの間に位置するスロット端部72まで挿入方向Z1へ延在する。さらに、接続端子7は、端子スロット70を配置したスロット配置部73と、端子スロット70を配置していないスロット非配置部74とを有する。本実施形態の接続端子7は、2つのスロット配置部73と、3つのスロット非配置部74とを有する。スロット配置部73における第3方向Zの幅は、スロット非配置部74における第3方向Zの幅よりも狭い。換言すれば、スロット非配置部74における第3方向Zの幅は、スロット配置部73における第3方向Zの幅よりも広い。また、3つのスロット非配置部74のうち、対向方向Yにおいて、2つのスロット配置部73の間に位置する中央スロット非配置部74aが、複数の電線Wの芯線W1どうしを電気的に接続する。中央スロット非配置部74aの一部は、中央端子配置部35aの内部に埋設される。また、3つのスロット非配置部74のうち、対向方向Yの両側に位置する側方スロット非配置部74b、74cの一部は、側方端子配置部35b、35cの内部にそれぞれ埋設される。
切り込み部8は、ハウジング2と一体的に形成される。例えば、本実施形態の切り込み部8は、二色成形によってハウジング2と一体的に形成される。二色成形によって切り込み部8をハウジング2と一体的に形成する場合には、ハウジング2は、絶縁性の合成樹脂によって形成され、切り込み部8は、ガラス入りの絶縁性の合成樹脂によって形成され、切り込み部8は、ハウジング2の剛性よりも高い剛性を有する。つまり、切り込み部8を形成する合成樹脂は、ハウジング2を形成する合成樹脂の剛性よりも高い剛性を有する。また、切り込み部8は、各端子スロット70に対応して形成される。すなわち、本実施形態の切り込み部8は、第1端子スロット70aに対応する第1切り込み部8aと、第2端子スロット70bに対応する第2切り込み部8bとがハウジング本体部3に形成される。より具体的に説明すると、第1切り込み部8aは、対向方向Yにおいて、中央端子配置部35aと、一方の側方端子配置部35bとの間に配置され、第2切り込み部8bは、対向方向Yにおいて、中央端子配置部35aと、他方の側方端子配置部35cとの間に配置される。本実施形態の電線圧接コネクタ1は、第1切り込み部8aの構成と、第2切り込み部8bの構成とが同一であり、説明の便宜のため、第1切り込み部8aの構成について以下に説明し、第2切り込み部8bの構成についての説明を省略する。第1切り込み部8aは、切り込みスロット80を有し、厚さ方向Xが板厚方向となる板状に形成される。本実施形態の第1切り込み部8aは、挿入方向Z1側における厚さ方向Xの厚さが、接続端子7における厚さ方向Xの厚さと同一である。そして、第1切り込み部8の厚さ方向Xにおける一方の平面と、接続端子7の厚さ方向Xにおける一方の平面とが、同一の平坦面を構成し、かつ、第1切り込み部8の厚さ方向Xにおける他方の平面と、接続端子7の厚さ方向Xにおける他方の平面とが、同一の平坦面を構成する。各切り込みスロット80は、挿入方向Z1側が端子スロット70に連通する一方、反対方向Z2側が外部に連通する。各切り込みスロット80は、対向方向Yにおける幅が、第3方向Zにおいて一定である。第1切り込み部8aは、厚さ方向Xにおける厚さが、反対方向Z2側へ向けて先細りとなり、対向方向Yにおいて、切り込みスロット80を挟んで形成される一対の刃部81A、81Bを有する。一対の刃部81A、81Bは、切り込みスロット80に電線Wを挿入する際に電線Wの被覆部W2に切れ込みを入れて芯線W1を外部に露出するものであって、対向方向Yにおいて互いの間隔が挿入方向Z1に沿って徐々に小さくなるように絶縁性の合成樹脂によって形成される。一対の刃部81A、81Bを構成する刃部構成部81の反対方向Z2側は、図6に示すように、厚さ方向Xにおける一方側に第1刃面81cを有する一方、厚さ方向Xにおける他方側に第2刃面81dをそれぞれ有する。第1刃面81c及び第2刃面81dは、それぞれ第3方向Z及び厚さ方向Xに対して傾斜し、かつ、厚さ方向Xにおいて対向し、刃部構成部81の厚さ方向Xの中央に位置する仮想中心線に対して線対称である。一対の刃部81A、81Bにおける第1刃面81c及び第2刃面81dの挿入方向Z1側の部分は、厚さ方向Xにおける厚さが一定である。刃部構成部81は、挿入方向Z1側の端面81eが接続端子7の反対方向Z2側の第1端面(端面)71aに接触する。
上記のように構成される電線圧接コネクタ1は、以下、図4、図7に示すように、作業員がハウジング本体部3に対してハウジング蓋部4を組み付け、一対の刃部81A、81Bによって電線Wの被覆部W2に切れ込みを入れて芯線W1を外部に露出させ、かつ、接続端子7を介して、一方の電線W11の芯線W1と他方の電線W12の芯線W1とを電気的に接続する。
先ず、作業者は、図4に示すように、ハウジング本体部3に対してハウジング蓋部4を開き、その後、各切れ込み部の一対の刃部81A、81Bの上に、一方の電線W11と他方の電線W12をそれぞれ載せる。
次に、作業者は、図7に示すように、ハウジング本体部3に対してヒンジ5を中心としてハウジング蓋部4を旋回させる。作業員の旋回動作によって、ハウジング本体部3に対してハウジング蓋部4が挿入方向Z1側へ移動すると、一方の電線W11が、第1対向蓋挿入溝42a11、及び、第3対向蓋挿入溝42b11に挿入され、一方の電線W11の被覆部W2の周面が、第1対向蓋挿入溝42a11における第3方向Zの他方側の端部に位置する周面に接触するとともに、第3対向蓋挿入溝42b11における第3方向Zの他方側の端部に位置する周面に接触する。また、これと同時に、他方の電線W12が、第2対向蓋挿入溝42a12、及び、第4対向蓋挿入溝42b12に挿入され、他方の電線W12の被覆部W2の周面が、第2対向蓋挿入溝42a12における第3方向Zの他方側の端部に位置する周面に接触するとともに、第4対向蓋挿入溝42b12における第3方向Zの他方側の端部に位置する周面に接触する。
その後、作業員が旋回動作を継続すると、一方の電線W11が、第1押圧凹部43b11に嵌るとともに、第3押圧凹部43c11に嵌り、かつ、一方の電線W11の被覆部W2の周面が、第1押圧凹部43b11の周面に接触するとともに、第3押圧凹部43c11の周面に接触する。また、これと同時に、他方の電線W12が、第2押圧凹部43b12に嵌るとともに、第4押圧凹部43c12に嵌り、かつ、他方の電線W12の被覆部W2の周面が、第2押圧凹部43b12の周面に接触するとともに、第4押圧凹部43c12の周面に接触する。
一対の刃部81A、81Bは、図7に示すように、対向方向Yにおいて互いの間隔が挿入方向Z1に沿って徐々に小さくなるように形成されている。このため、一対の刃部81A、81Bのうちいずれか一方に電線Wの被覆部W2が接触した状態でハウジング蓋部4が挿入方向Z1側へ移動すると、一対の刃部81A、81Bにおける反対方向Z2側の先端部のいずれにも接触するように電線Wが移動する。
この状態において、ハウジング蓋部4がさらに挿入方向Z1側へ移動すると、切り込みスロット80に電線Wが挿入されるとともに、一対の刃部81A、81Bによって被覆部W2に切れ込みを入れて芯線W1が外部に露出される。
その後、ハウジング蓋部4がさらに挿入方向Z1側へ移動すると、電線Wは、切り込みスロット80を介して端子スロット70に移動する。
また、上述したハウジング本体部3に対するハウジング蓋部4の移動によって、図7に示すように、係止孔部61が係止爪部62の傾斜面62cに接触することによって、係止孔部61が弾性変形する。そして、ハウジング蓋部4の移動によって、係止孔部61の連結部61cが、係止爪部62の平行面62aを乗り越えると、係止爪部62と係止孔部61とが係止し、ハウジング本体部3に対してハウジング蓋部4が正規位置で組み付けられ、ハウジング本体部3に対してハウジング蓋部4が反対方向Z2側へ移動することが規制される。
以上で説明した本実施形態に係る電線圧接コネクタ1は、以下の構成を有する。本実施形態に係る電線圧接コネクタ1の一対の刃部81A、81Bは、対向方向Yにおいて互いの間隔が挿入方向Z1に沿って徐々に小さくなるように絶縁性の合成樹脂によって形成される。そのため、本発明に係る電線圧接コネクタ1は、絶縁性の合成樹脂によって形成された一対の刃部81A、81Bを有するため、金属材料によって形成する接続端子7に一対の刃部81A、81Bを設ける必要がない。この結果、本実施形態に係る電線圧接コネクタ1は、2度の打ち抜き加工を行って接続端子7を形成する必要がなく、1度の打ち抜き加工によって接続端子7を形成することができるから、製造時間を短縮することができる。
本実施形態に係る電線圧接コネクタ1は以下の構成を有する。切り込み部8は、ハウジング2と一体的に形成する。このため、本実施形態に係る電線圧接コネクタ1は、ハウジング2に切り込み部8を取り付ける必要がない。従って、本実施形態の電線圧接コネクタ1は、切り込み部8とハウジング2とを個別に形成する場合と比較して容易に製造することができる。
本実施形態に係る電線圧接コネクタ1は以下の構成を有する。切り込み部8は、ハウジング2の剛性よりも高い剛性を有する。そのため、本実施形態に係る電線圧接コネクタ1は、ハウジング2と切り込み部8とを同一の合成樹脂によって形成した電線圧接コネクタ1と比較して、電線Wの被覆部W2に一対の刃部81A、81Bによって確実に切れ込みを入れることができる。
本実施形態に係る電線圧接コネクタ1は以下の構成を有する。ハウジング蓋部4は、開口を閉塞する際に複数の電線Wを押圧することによって、電線Wの芯線W1を各切り込みスロット80を介して各端子スロット70に挿入する押圧部43を有する。従って、本実施形態の電線圧接コネクタ1は、複数の電線Wの芯線W1を個別に端子スロット70に挿入する場合と比較して、端子スロット70に芯線W1を挿入する挿入作業を容易にすることができる。
[第2実施形態]
次に、第2実施形態に係る電線圧接コネクタ1Aについて説明する。図9は、第2実施形態に係る電線圧接コネクタ1Aの平面図であり、図10は、図9におけるD-D線断面図である。上述したように、第1実施形態に係る電線圧接コネクタ1の接続端子7は、インサート成形によって、ハウジング本体部3と一体的に形成されるものを説明した。一方、第2実施形態に係る電線圧接コネクタ1Aは、ハウジング本体部103と、接続端子107と、を別々に形成した後、ハウジング本体部103に接続端子107を組み付ける。このため、第2実施形態に係る電線圧接コネクタ1Aのハウジング本体部103の構成は、第1実施形態に係る電線圧接コネクタ1のハウジング本体部3の構成と異なる。一方、第2実施形態に係る電線圧接コネクタ1Aの他の構成は、第1実施形態に係る電線圧接コネクタ1の他の構成と同一である。そこで、第2実施形態に係る電線圧接コネクタ1Aの構成において、第1実施形態に係る電線圧接コネクタ1の構成と同一である部分には、同一の符号を付して説明を省略する。また、第1実施形態に係る電線圧接コネクタ1の構成に対して、第2実施形態に係る電線圧接コネクタ1Aの異なる構成について以下に説明する。
ハウジング本体部103は、厚さ方向Xの中央に、端子挿入孔137と、一対の端子係止爪部138a、138bと、一対の弾性変形許容空間139a、139bとを有する。本実施形態のハウジング本体部103は、端子挿入孔137と、一対の端子係止爪部138a、138bと、一対の弾性変形許容空間139a、139bとを、絶縁性の合成樹脂によって一体的に形成する。
端子挿入孔137は、対向方向Yの中央に形成された孔であり、第3方向Zにおいてハウジング本体部103を貫通し、接続端子107を挿入可能である。
一対の端子係止爪部138a、138bは、対向方向Yにおいて、端子挿入孔137の両側に位置する。つまり、端子挿入孔137は、対向方向Yにおいて、一対の端子係止爪部138a、138bの間に位置する。一対の端子係止爪部138a、138bのそれぞれは、反対方向Z2側に爪基端部138c、138dを有し、挿入方向Z1側に爪先端部138e、138fを有し、爪基端部138c、138dと爪先端部138e、138fとの間に爪先中間部138g、138hを有する。一対の端子係止爪部138a、138bにおける各爪先端部138e、138fには、対向方向Yにおいて、互いに近接するように突出する爪部138i、138jを有する。また、一対の端子係止爪部138a、138bは、対向方向Yにおいて、爪部138i、138jが互いに離隔する方向へ弾性変形可能に形成される。さらに、爪基端部138c、138d及び爪先中間部138g、138hは、第3方向Zに延在するように形成される。
一対の弾性変形許容空間139a、139bは、対向方向Yにおいて、一対の端子係止爪部138a、138bの外側(収容空間3sに対する外側)にそれぞれ位置する。一対の弾性変形許容空間139a、139bは、一対の端子係止爪部138a、138bにおける爪部138i、138jが互いに離隔する方向へ変形することを許容する空間である。
ハウジング本体部103に接続端子107を組み付ける場合、先ず、作業者は、爪部138i、138jが互いに離隔するように、一対の端子係止爪部138a、138bに力を加えて弾性変形させる。
次に、作業者は、ハウジング本体部103の端子挿入孔137に接続端子107を挿入し、接続端子107の第1端面71aを、刃部構成部81の挿入方向Z1側の端面81eに接触させ、その状態で、一対の端子係止爪部138a、138bに加えた力を取り除く。
すると、一対の端子係止爪部138a、138bは、弾性復元力によって、爪部138i、138jが互いに近接するように復帰し、一方の爪先中間部138g、138hが接続端子107の第3端面71cに接触し、他方の爪先中間部138g、138hが接続端子107の第4端面71dに接触し、かつ、各爪部138i、138jが接続端子107の第2端面71bにそれぞれ接触して、接続端子107がハウジング本体部103に組み付けられる。
第2実施形態に係る電線圧接コネクタ1Aによれば、ハウジング本体部103と接続端子107とを別体で形成し、ハウジング本体部103に設けた一対の端子係止爪部138a、138bによって接続端子107を保持する。このため、本実施形態に係る電線圧接コネクタ1Aは、接続端子107をハウジング本体部103にインサート成形する必要がない。このため、ハウジング本体部103を形成する金型が複雑になることを抑制することができ、電線圧接コネクタ1Aが高価になりことを抑制することができる。
[第2実施形態の第1変形例]
次に、第2実施形態に係る電線圧接コネクタ1Aに対する第1変形例の電線圧接コネクタ1Bについて説明する。図11は、第1変形例の電線圧接コネクタ1Bを示す図7と同様の斜視図である。第1変形例に係る電線圧接コネクタ1Bの切り込み部208の構成は、第2実施形態に係る電線圧接コネクタ1Aの切り込み部108の構成と異なる。一方、第1変形例に係る電線圧接コネクタ1Bの他の構成は、第2実施形態に係る電線圧接コネクタ1Aの他の構成と同一である。そこで、第1変形例に係る電線圧接コネクタ1Bの構成において、第2実施形態に係る電線圧接コネクタ1Aの構成と同一である部分には、同一の符号を付して説明を省略する。そして、以下に第1変形例に係る電線圧接コネクタ1Bの切り込み部208について説明する。
切り込み部208は、厚さ方向Xにおける厚さが、反対方向Z2側へ向けて先細りとなり、対向方向Yにおいて、切り込みスロット80を挟んで形成される一対の刃部281A、281Bを有する。
一対の刃部281A、281Bは、刃部構成部281によってそれぞれ構成される。刃部構成部281の反対方向Z2側は、厚さ方向Xにおける一方側に第1刃面281cを有する一方、厚さ方向Xにおける他方側に第2刃面281dを有する。第1刃面281cは、第3方向Z及び厚さ方向Xを含む平面に対して平行である。第2刃面281dは、第3方向Z及び厚さ方向Xに対して傾斜する平面である。
本変形例の切り込み部208は、挿入方向Z1側における厚さ方向Xの厚さが、接続端子207における厚さ方向Xの厚さと同一である。そして、切り込み部208の厚さ方向Xにおける一方の平面と、接続端子207の厚さ方向Xにおける一方の平面とが、同一の平坦面を構成し、これらの平面は、第3方向Z及び厚さ方向Xを含む平面に対して平行である。つまり、本変形例の切り込み部208及び接続端子207は、厚さ方向Xの一方側において、第3方向Z及び厚さ方向Xを含む平面に対して平行である。
[第2実施形態の第2変形例]
次に、第2実施形態に係る電線圧接コネクタ1Aに対する第2変形例の電線圧接コネクタ1Cについて説明する。図11は、第2変形例の電線圧接コネクタ1Cを示す図7と同様の斜視図である。第2変形例に係る電線圧接コネクタ1Cの切り込み部308の構成は、第2実施形態に係る電線圧接コネクタ1Aの切り込み部108の構成と異なる。一方、第2変形例に係る電線圧接コネクタ1Cの他の構成は、第2実施形態に係る電線圧接コネクタ1Aの他の構成と同一である。そこで、第2変形例に係る電線圧接コネクタ1Cの構成において、第2実施形態に係る電線圧接コネクタ1Aの構成と同一である部分には、同一の符号を付して説明を省略する。そして、以下に第2変形例に係る電線圧接コネクタ1Cの切り込み部308について説明する。
切り込み部308は、厚さ方向Xにおける厚さが、反対方向Z2側へ向けて先細りとなり、対向方向Yにおいて、切り込みスロット80を挟んで形成される一対の刃部381A、381Bを有する。
一対の刃部381A、381Bは、刃部構成部381によってそれぞれ構成される。刃部構成部381の反対方向Z2側は、厚さ方向Xにおける一方側に第1刃面381cを有する一方、厚さ方向Xにおける他方側に第2刃面381dを有する。第1刃面381cは、第3方向Z及び厚さ方向Xに対して傾斜する平面である。第2刃面381dは、第3方向Z及び厚さ方向Xを含む平面に対して平行である。
本変形例の切り込み部308は、挿入方向Z1側における厚さ方向Xの厚さが、接続端子207における厚さ方向Xの厚さと同一である。そして、切り込み部208の厚さ方向Xにおける他方の平面と、接続端子207の厚さ方向Xにおける他方の平面とが、同一の平坦面を構成し、これらの平面は、第3方向Z及び厚さ方向Xを含む平面に対して平行である。つまり、本変形例の切り込み部208及び接続端子207は、厚さ方向Xの他方側において、第3方向Z及び厚さ方向Xを含む平面に対して平行である。
なお、上述した実施形態に係る電線圧接コネクタ1、1A、1B、1Cは、接続端子7、107が2つの端子スロット70を有するものを説明した。しかし、本実施形態の電線圧接コネクタ1、1A、1B、1Cは、それに限られず、接続端子7、107が3つ以上の複数の端子スロット70を有してもよい。また、接続端子7、107が3つ以上の端子スロット70を有する場合には、3つの端子スロット70のそれぞれに電線Wを挿入する必要はなく、少なくとも2つの端子スロット70に電線Wを挿入すればよい。
また、上述した実施形態に係る電線圧接コネクタ1、1A、1B、1Cの切り込み部8、108、208、308は、ハウジング2と一体的に形成するものを説明した。しかし、本実施形態に係る電線圧接コネクタ1、1A、1B、1Cの切り込み部8、108、208、308は、それに限られず、ハウジング2と別体に形成してもよい。
さらに、上述した実施形態の電線圧接コネクタ1の切り込み部8、108、208、308は、二色成形によって、ハウジング2の剛性よりも高い剛性を有するものを説明した。しかし、本実施形態に係る電線圧接コネクタ1の切り込み部8、108、208、308は、それに限られず、ハウジング2と同一の樹脂材料によって形成してもよい。また、切り込み部8を含むハウジング本体部3を形成する合成樹脂は、ハウジング蓋部4を形成する合成樹脂の剛性よりも高い剛性を有してもよい。つまり、切り込み部8を形成する合成樹脂は、ハウジング本体部3を形成する合成樹脂と同一である。また、切り込み部8を含むハウジング本体部3は、ハウジング蓋部4の剛性よりも高い剛性を有する。
また、上述した実施形態の電線圧接コネクタ1の係止機構6は、ハウジング蓋部4に係止孔部61を設ける一方、ハウジング本体部3に係止爪部62を設けるものを説明した。しかし、この発明はそれに限られず、ハウジング蓋部4の係止爪を設ける一方、ハウジング本体部3に係止孔部61を設けてもよい。
さらに、上述した実施形態の電線圧接コネクタ1は、厚さ方向Xにおいて、接続端子7、107が1つの刃部構成部81を有するものを説明した。しかし、この発明は、それに限られず、接続端子7、107が厚さ方向Xにおいて2つの刃部構成を有してもよい。この場合には、1枚の板状の接続端子7、107を折り曲げることによって、厚さ方向Xにおいて2つの刃部構成部を形成することが好ましい。
1、1A、1B、1C 電線圧接コネクタ
2 ハウジング
3 ハウジング本体部
3s 収容空間
33 開閉開口(開口)
4 ハウジング蓋部
43 押圧部
5 ヒンジ
7 接続端子
70、70a、70b 端子スロット
71a 第1端面(端面)
8 切り込み部
80 切り込みスロット
81 刃部構成部
81A、81B 一対の刃部
W 電線
W11 一方の電線
W12 他方の電線
W1 芯線
W2 被覆部
X 厚さ方向
Y 対向方向
Z1 挿入方向
Z2 反対方向

Claims (5)

  1. 導電性の芯線を有する電線を挿入方向に沿って挿入可能な端子スロットを複数有し、導電性の金属材料によって形成され、各前記端子スロット内で前記芯線と接触することで前記電線と電気的に接続される接続端子と、
    前記挿入方向側が端子スロットに連通する一方、前記挿入方向に対する反対方向側が外部に連通する切り込みスロットを有し、前記端子スロットに対応してそれぞれ形成された切り込み部と、
    絶縁性の合成樹脂によって形成され、前記接続端子及び前記切り込み部を収容する収容空間を有するハウジングと、
    を備え、
    各前記切り込み部は、前記挿入方向に対して直交する厚さ方向における厚さが、前記反対方向側へ向けて先細りとなり、前記挿入方向及び前記厚さ方向に対して直交する対向方向において、前記切り込みスロットを挟んで形成される一対の刃部を有し、
    一対の前記刃部を構成する刃部構成部は、前記挿入方向側の端面が前記接続端子の前記反対方向側の端面に接触し、
    一対の前記刃部は、前記切り込みスロットに前記電線を挿入する際に前記電線の被覆部に切れ込みを入れて前記芯線を外部に露出するものであって、前記対向方向において互いの間隔が前記挿入方向に沿って徐々に小さくなるように絶縁性の合成樹脂によって形成されることを特徴とする、
    電線圧接コネクタ。
  2. 前記切り込み部は、前記ハウジングと一体的に形成する、
    請求項1に記載の電線圧接コネクタ。
  3. 前記ハウジングは、開口を有するハウジング本体部と、前記開口を閉塞するハウジング蓋部と有し、
    前記切り込み部を形成する合成樹脂は、前記ハウジング本体部を形成する合成樹脂と同一であり、
    前記ハウジング本体部を形成する合成樹脂は、前記ハウジング蓋部を形成する合成樹脂よりも高い剛性を有する、
    請求項1又は2に記載の電線圧接コネクタ。
  4. 前記切り込み部を形成する合成樹脂は、前記ハウジングを形成する合成樹脂よりも高い剛性を有する、
    請求項1又は2に記載の電線圧接コネクタ。
  5. 前記ハウジングは、開口を有するハウジング本体部と、前記開口を閉塞するハウジング蓋部と有し、
    前記ハウジング蓋部は、前記開口を閉塞する際に複数の前記電線を押圧することによって、前記電線の芯線を各前記切り込みスロットを介して各前記端子スロットに挿入する押圧部を有する、
    請求項1~3のいずれか一項に記載の電線圧接コネクタ。
JP2020050934A 2020-03-23 2020-03-23 電線圧接コネクタ Active JP7359727B2 (ja)

Priority Applications (1)

Application Number Priority Date Filing Date Title
JP2020050934A JP7359727B2 (ja) 2020-03-23 2020-03-23 電線圧接コネクタ

Applications Claiming Priority (1)

Application Number Priority Date Filing Date Title
JP2020050934A JP7359727B2 (ja) 2020-03-23 2020-03-23 電線圧接コネクタ

Publications (2)

Publication Number Publication Date
JP2021150234A JP2021150234A (ja) 2021-09-27
JP7359727B2 true JP7359727B2 (ja) 2023-10-11

Family

ID=77851335

Family Applications (1)

Application Number Title Priority Date Filing Date
JP2020050934A Active JP7359727B2 (ja) 2020-03-23 2020-03-23 電線圧接コネクタ

Country Status (1)

Country Link
JP (1) JP7359727B2 (ja)

Citations (2)

* Cited by examiner, † Cited by third party
Publication number Priority date Publication date Assignee Title
JP2002101524A (ja) 2000-09-25 2002-04-05 Sumitomo Wiring Syst Ltd 電線用接続ボックス
US20040102097A1 (en) 2002-11-22 2004-05-27 Clark Gordon P. Telecommunications jack assembly

Family Cites Families (4)

* Cited by examiner, † Cited by third party
Publication number Priority date Publication date Assignee Title
JPS61126569U (ja) * 1985-01-25 1986-08-08
JPH02230669A (ja) * 1989-03-02 1990-09-13 Shintaro Oba 導体接続用接触片
JP3193286B2 (ja) * 1996-02-13 2001-07-30 矢崎総業株式会社 スイッチ装置及びスイッチ装置への電線接続方法
US5924896A (en) * 1997-08-01 1999-07-20 Lucent Technologies Inc. High frequency communication jack

Patent Citations (2)

* Cited by examiner, † Cited by third party
Publication number Priority date Publication date Assignee Title
JP2002101524A (ja) 2000-09-25 2002-04-05 Sumitomo Wiring Syst Ltd 電線用接続ボックス
US20040102097A1 (en) 2002-11-22 2004-05-27 Clark Gordon P. Telecommunications jack assembly

Also Published As

Publication number Publication date
JP2021150234A (ja) 2021-09-27

Similar Documents

Publication Publication Date Title
JP3889983B2 (ja) コネクタ
JP6112795B2 (ja) ワイヤ接続器
KR100987622B1 (ko) 와이어 정렬 기능을 가지며 크기를 감소시킬 수 있는 전기커넥터
JP3998203B2 (ja) コネクタ
JP7359727B2 (ja) 電線圧接コネクタ
EP4117123B1 (en) Connector fitting structure
KR101111595B1 (ko) 커넥터 하우징 조립체 및 전기 커넥터 조립체
JP4151568B2 (ja) 自動車用の電気接続箱
US12548946B2 (en) Cable holding member and cable connector device including cable holding member
JP7311309B2 (ja) コネクタ
CN104112915A (zh) 压接连接器及其所使用的壳体
US20230378664A1 (en) Cable holding member, cable holding device including cable holding member, and cable connector device including cable holding device
JP7418305B2 (ja) 電線圧接構造
JP7451046B2 (ja) 電線圧接構造
JP2024179774A (ja) コネクタ、コネクタ製造方法及びワイヤハーネス
JP7098678B2 (ja) プロテクタおよびワイヤハーネス
US11133608B2 (en) Contact member for an IDC terminal, contact member assembly, set of contact members and housing comprising a contact member
JP3854453B2 (ja) プレートコネクタ用圧接端子
US11784420B2 (en) Cable holding member and cable connector device including cable holding member
JP7041114B2 (ja) コネクタ、及び、ワイヤハーネス
JP7631821B2 (ja) 端子台
JP6147841B1 (ja) コンタクトモジュールの製造方法、及び、コネクタ
JP7587473B2 (ja) コネクタ及びコネクタ付き電線
JP7726751B2 (ja) 端子、電気接続装置及び電気接続箱
JP7274007B2 (ja) ケーブル保持部材、及びケーブル保持部材を有するケーブルコネクタ装置

Legal Events

Date Code Title Description
A621 Written request for application examination

Free format text: JAPANESE INTERMEDIATE CODE: A621

Effective date: 20230216

TRDD Decision of grant or rejection written
A977 Report on retrieval

Free format text: JAPANESE INTERMEDIATE CODE: A971007

Effective date: 20230919

A01 Written decision to grant a patent or to grant a registration (utility model)

Free format text: JAPANESE INTERMEDIATE CODE: A01

Effective date: 20230926

A61 First payment of annual fees (during grant procedure)

Free format text: JAPANESE INTERMEDIATE CODE: A61

Effective date: 20230928

R150 Certificate of patent or registration of utility model

Ref document number: 7359727

Country of ref document: JP

Free format text: JAPANESE INTERMEDIATE CODE: R150