JP7201633B2 - 電気自動車用の熱管理システム - Google Patents

電気自動車用の熱管理システム Download PDF

Info

Publication number
JP7201633B2
JP7201633B2 JP2020050189A JP2020050189A JP7201633B2 JP 7201633 B2 JP7201633 B2 JP 7201633B2 JP 2020050189 A JP2020050189 A JP 2020050189A JP 2020050189 A JP2020050189 A JP 2020050189A JP 7201633 B2 JP7201633 B2 JP 7201633B2
Authority
JP
Japan
Prior art keywords
heat
temperature
oil
heat medium
flow path
Prior art date
Legal status (The legal status is an assumption and is not a legal conclusion. Google has not performed a legal analysis and makes no representation as to the accuracy of the status listed.)
Active
Application number
JP2020050189A
Other languages
English (en)
Other versions
JP2021146948A (ja
Inventor
博信 坂本
義弘 石原
Current Assignee (The listed assignees may be inaccurate. Google has not performed a legal analysis and makes no representation or warranty as to the accuracy of the list.)
Subaru Corp
Original Assignee
Subaru Corp
Priority date (The priority date is an assumption and is not a legal conclusion. Google has not performed a legal analysis and makes no representation as to the accuracy of the date listed.)
Filing date
Publication date
Application filed by Subaru Corp filed Critical Subaru Corp
Priority to JP2020050189A priority Critical patent/JP7201633B2/ja
Priority to US17/178,007 priority patent/US11575296B2/en
Priority to CN202110288411.5A priority patent/CN113492643B/zh
Publication of JP2021146948A publication Critical patent/JP2021146948A/ja
Application granted granted Critical
Publication of JP7201633B2 publication Critical patent/JP7201633B2/ja
Active legal-status Critical Current
Anticipated expiration legal-status Critical

Links

Images

Classifications

    • HELECTRICITY
    • H02GENERATION; CONVERSION OR DISTRIBUTION OF ELECTRIC POWER
    • H02KDYNAMO-ELECTRIC MACHINES
    • H02K9/00Arrangements for cooling or ventilating
    • H02K9/19Arrangements for cooling or ventilating for machines with closed casing and closed-circuit cooling using a liquid cooling medium, e.g. oil
    • BPERFORMING OPERATIONS; TRANSPORTING
    • B60VEHICLES IN GENERAL
    • B60HARRANGEMENTS OF HEATING, COOLING, VENTILATING OR OTHER AIR-TREATING DEVICES SPECIALLY ADAPTED FOR PASSENGER OR GOODS SPACES OF VEHICLES
    • B60H1/00Heating, cooling or ventilating [HVAC] devices
    • B60H1/00642Control systems or circuits; Control members or indication devices for heating, cooling or ventilating devices
    • B60H1/00814Control systems or circuits characterised by their output, for controlling particular components of the heating, cooling or ventilating installation
    • B60H1/00878Control systems or circuits characterised by their output, for controlling particular components of the heating, cooling or ventilating installation the components being temperature regulating devices
    • B60H1/00899Controlling the flow of liquid in a heat pump system
    • BPERFORMING OPERATIONS; TRANSPORTING
    • B60VEHICLES IN GENERAL
    • B60HARRANGEMENTS OF HEATING, COOLING, VENTILATING OR OTHER AIR-TREATING DEVICES SPECIALLY ADAPTED FOR PASSENGER OR GOODS SPACES OF VEHICLES
    • B60H1/00Heating, cooling or ventilating [HVAC] devices
    • B60H1/00271HVAC devices specially adapted for particular vehicle parts or components and being connected to the vehicle HVAC unit
    • B60H1/00278HVAC devices specially adapted for particular vehicle parts or components and being connected to the vehicle HVAC unit for the battery
    • BPERFORMING OPERATIONS; TRANSPORTING
    • B60VEHICLES IN GENERAL
    • B60HARRANGEMENTS OF HEATING, COOLING, VENTILATING OR OTHER AIR-TREATING DEVICES SPECIALLY ADAPTED FOR PASSENGER OR GOODS SPACES OF VEHICLES
    • B60H1/00Heating, cooling or ventilating [HVAC] devices
    • B60H1/00357Air-conditioning arrangements specially adapted for particular vehicles
    • B60H1/00385Air-conditioning arrangements specially adapted for particular vehicles for vehicles having an electrical drive, e.g. hybrid or fuel cell
    • BPERFORMING OPERATIONS; TRANSPORTING
    • B60VEHICLES IN GENERAL
    • B60HARRANGEMENTS OF HEATING, COOLING, VENTILATING OR OTHER AIR-TREATING DEVICES SPECIALLY ADAPTED FOR PASSENGER OR GOODS SPACES OF VEHICLES
    • B60H1/00Heating, cooling or ventilating [HVAC] devices
    • B60H1/00357Air-conditioning arrangements specially adapted for particular vehicles
    • B60H1/00385Air-conditioning arrangements specially adapted for particular vehicles for vehicles having an electrical drive, e.g. hybrid or fuel cell
    • B60H1/00392Air-conditioning arrangements specially adapted for particular vehicles for vehicles having an electrical drive, e.g. hybrid or fuel cell for electric vehicles having only electric drive means
    • BPERFORMING OPERATIONS; TRANSPORTING
    • B60VEHICLES IN GENERAL
    • B60HARRANGEMENTS OF HEATING, COOLING, VENTILATING OR OTHER AIR-TREATING DEVICES SPECIALLY ADAPTED FOR PASSENGER OR GOODS SPACES OF VEHICLES
    • B60H1/00Heating, cooling or ventilating [HVAC] devices
    • B60H1/00357Air-conditioning arrangements specially adapted for particular vehicles
    • B60H1/00385Air-conditioning arrangements specially adapted for particular vehicles for vehicles having an electrical drive, e.g. hybrid or fuel cell
    • B60H1/004Air-conditioning arrangements specially adapted for particular vehicles for vehicles having an electrical drive, e.g. hybrid or fuel cell for vehicles having a combustion engine and electric drive means, e.g. hybrid electric vehicles
    • BPERFORMING OPERATIONS; TRANSPORTING
    • B60VEHICLES IN GENERAL
    • B60HARRANGEMENTS OF HEATING, COOLING, VENTILATING OR OTHER AIR-TREATING DEVICES SPECIALLY ADAPTED FOR PASSENGER OR GOODS SPACES OF VEHICLES
    • B60H1/00Heating, cooling or ventilating [HVAC] devices
    • B60H1/00642Control systems or circuits; Control members or indication devices for heating, cooling or ventilating devices
    • B60H1/00814Control systems or circuits characterised by their output, for controlling particular components of the heating, cooling or ventilating installation
    • B60H1/00878Control systems or circuits characterised by their output, for controlling particular components of the heating, cooling or ventilating installation the components being temperature regulating devices
    • B60H1/00885Controlling the flow of heating or cooling liquid, e.g. valves or pumps
    • BPERFORMING OPERATIONS; TRANSPORTING
    • B60VEHICLES IN GENERAL
    • B60HARRANGEMENTS OF HEATING, COOLING, VENTILATING OR OTHER AIR-TREATING DEVICES SPECIALLY ADAPTED FOR PASSENGER OR GOODS SPACES OF VEHICLES
    • B60H1/00Heating, cooling or ventilating [HVAC] devices
    • B60H1/32Cooling devices
    • B60H1/3204Cooling devices using compression
    • B60H1/3228Cooling devices using compression characterised by refrigerant circuit configurations
    • B60H1/32284Cooling devices using compression characterised by refrigerant circuit configurations comprising two or more secondary circuits, e.g. at evaporator and condenser side
    • BPERFORMING OPERATIONS; TRANSPORTING
    • B60VEHICLES IN GENERAL
    • B60KARRANGEMENT OR MOUNTING OF PROPULSION UNITS OR OF TRANSMISSIONS IN VEHICLES; ARRANGEMENT OR MOUNTING OF PLURAL DIVERSE PRIME-MOVERS IN VEHICLES; AUXILIARY DRIVES FOR VEHICLES; INSTRUMENTATION OR DASHBOARDS FOR VEHICLES; ARRANGEMENTS IN CONNECTION WITH COOLING, AIR INTAKE, GAS EXHAUST OR FUEL SUPPLY OF PROPULSION UNITS IN VEHICLES
    • B60K1/00Arrangement or mounting of electrical propulsion units
    • BPERFORMING OPERATIONS; TRANSPORTING
    • B60VEHICLES IN GENERAL
    • B60KARRANGEMENT OR MOUNTING OF PROPULSION UNITS OR OF TRANSMISSIONS IN VEHICLES; ARRANGEMENT OR MOUNTING OF PLURAL DIVERSE PRIME-MOVERS IN VEHICLES; AUXILIARY DRIVES FOR VEHICLES; INSTRUMENTATION OR DASHBOARDS FOR VEHICLES; ARRANGEMENTS IN CONNECTION WITH COOLING, AIR INTAKE, GAS EXHAUST OR FUEL SUPPLY OF PROPULSION UNITS IN VEHICLES
    • B60K11/00Arrangement in connection with cooling of propulsion units
    • B60K11/02Arrangement in connection with cooling of propulsion units with liquid cooling
    • BPERFORMING OPERATIONS; TRANSPORTING
    • B60VEHICLES IN GENERAL
    • B60KARRANGEMENT OR MOUNTING OF PROPULSION UNITS OR OF TRANSMISSIONS IN VEHICLES; ARRANGEMENT OR MOUNTING OF PLURAL DIVERSE PRIME-MOVERS IN VEHICLES; AUXILIARY DRIVES FOR VEHICLES; INSTRUMENTATION OR DASHBOARDS FOR VEHICLES; ARRANGEMENTS IN CONNECTION WITH COOLING, AIR INTAKE, GAS EXHAUST OR FUEL SUPPLY OF PROPULSION UNITS IN VEHICLES
    • B60K11/00Arrangement in connection with cooling of propulsion units
    • B60K11/02Arrangement in connection with cooling of propulsion units with liquid cooling
    • B60K11/04Arrangement or mounting of radiators, radiator shutters, or radiator blinds
    • BPERFORMING OPERATIONS; TRANSPORTING
    • B60VEHICLES IN GENERAL
    • B60LPROPULSION OF ELECTRICALLY-PROPELLED VEHICLES; SUPPLYING ELECTRIC POWER FOR AUXILIARY EQUIPMENT OF ELECTRICALLY-PROPELLED VEHICLES; ELECTRODYNAMIC BRAKE SYSTEMS FOR VEHICLES IN GENERAL; MAGNETIC SUSPENSION OR LEVITATION FOR VEHICLES; MONITORING OPERATING VARIABLES OF ELECTRICALLY-PROPELLED VEHICLES; ELECTRIC SAFETY DEVICES FOR ELECTRICALLY-PROPELLED VEHICLES
    • B60L58/00Methods or circuit arrangements for monitoring or controlling batteries or fuel cells, specially adapted for electric vehicles
    • B60L58/10Methods or circuit arrangements for monitoring or controlling batteries or fuel cells, specially adapted for electric vehicles for monitoring or controlling batteries
    • B60L58/24Methods or circuit arrangements for monitoring or controlling batteries or fuel cells, specially adapted for electric vehicles for monitoring or controlling batteries for controlling the temperature of batteries
    • B60L58/26Methods or circuit arrangements for monitoring or controlling batteries or fuel cells, specially adapted for electric vehicles for monitoring or controlling batteries for controlling the temperature of batteries by cooling
    • BPERFORMING OPERATIONS; TRANSPORTING
    • B60VEHICLES IN GENERAL
    • B60LPROPULSION OF ELECTRICALLY-PROPELLED VEHICLES; SUPPLYING ELECTRIC POWER FOR AUXILIARY EQUIPMENT OF ELECTRICALLY-PROPELLED VEHICLES; ELECTRODYNAMIC BRAKE SYSTEMS FOR VEHICLES IN GENERAL; MAGNETIC SUSPENSION OR LEVITATION FOR VEHICLES; MONITORING OPERATING VARIABLES OF ELECTRICALLY-PROPELLED VEHICLES; ELECTRIC SAFETY DEVICES FOR ELECTRICALLY-PROPELLED VEHICLES
    • B60L58/00Methods or circuit arrangements for monitoring or controlling batteries or fuel cells, specially adapted for electric vehicles
    • B60L58/10Methods or circuit arrangements for monitoring or controlling batteries or fuel cells, specially adapted for electric vehicles for monitoring or controlling batteries
    • B60L58/24Methods or circuit arrangements for monitoring or controlling batteries or fuel cells, specially adapted for electric vehicles for monitoring or controlling batteries for controlling the temperature of batteries
    • B60L58/27Methods or circuit arrangements for monitoring or controlling batteries or fuel cells, specially adapted for electric vehicles for monitoring or controlling batteries for controlling the temperature of batteries by heating
    • HELECTRICITY
    • H01ELECTRIC ELEMENTS
    • H01MPROCESSES OR MEANS, e.g. BATTERIES, FOR THE DIRECT CONVERSION OF CHEMICAL ENERGY INTO ELECTRICAL ENERGY
    • H01M10/00Secondary cells; Manufacture thereof
    • H01M10/60Heating or cooling; Temperature control
    • H01M10/61Types of temperature control
    • H01M10/615Heating or keeping warm
    • HELECTRICITY
    • H01ELECTRIC ELEMENTS
    • H01MPROCESSES OR MEANS, e.g. BATTERIES, FOR THE DIRECT CONVERSION OF CHEMICAL ENERGY INTO ELECTRICAL ENERGY
    • H01M10/00Secondary cells; Manufacture thereof
    • H01M10/60Heating or cooling; Temperature control
    • H01M10/62Heating or cooling; Temperature control specially adapted for specific applications
    • H01M10/625Vehicles
    • HELECTRICITY
    • H01ELECTRIC ELEMENTS
    • H01MPROCESSES OR MEANS, e.g. BATTERIES, FOR THE DIRECT CONVERSION OF CHEMICAL ENERGY INTO ELECTRICAL ENERGY
    • H01M10/00Secondary cells; Manufacture thereof
    • H01M10/60Heating or cooling; Temperature control
    • H01M10/63Control systems
    • H01M10/633Control systems characterised by algorithms, flow charts, software details or the like
    • HELECTRICITY
    • H01ELECTRIC ELEMENTS
    • H01MPROCESSES OR MEANS, e.g. BATTERIES, FOR THE DIRECT CONVERSION OF CHEMICAL ENERGY INTO ELECTRICAL ENERGY
    • H01M10/00Secondary cells; Manufacture thereof
    • H01M10/60Heating or cooling; Temperature control
    • H01M10/63Control systems
    • H01M10/635Control systems based on ambient temperature
    • HELECTRICITY
    • H01ELECTRIC ELEMENTS
    • H01MPROCESSES OR MEANS, e.g. BATTERIES, FOR THE DIRECT CONVERSION OF CHEMICAL ENERGY INTO ELECTRICAL ENERGY
    • H01M10/00Secondary cells; Manufacture thereof
    • H01M10/60Heating or cooling; Temperature control
    • H01M10/65Means for temperature control structurally associated with the cells
    • H01M10/656Means for temperature control structurally associated with the cells characterised by the type of heat-exchange fluid
    • H01M10/6567Liquids
    • H01M10/6568Liquids characterised by flow circuits, e.g. loops, located externally to the cells or cell casings
    • HELECTRICITY
    • H05ELECTRIC TECHNIQUES NOT OTHERWISE PROVIDED FOR
    • H05KPRINTED CIRCUITS; CASINGS OR CONSTRUCTIONAL DETAILS OF ELECTRIC APPARATUS; MANUFACTURE OF ASSEMBLAGES OF ELECTRICAL COMPONENTS
    • H05K7/00Constructional details common to different types of electric apparatus
    • H05K7/20Modifications to facilitate cooling, ventilating, or heating
    • H05K7/20845Modifications to facilitate cooling, ventilating, or heating for automotive electronic casings
    • H05K7/20872Liquid coolant without phase change
    • HELECTRICITY
    • H05ELECTRIC TECHNIQUES NOT OTHERWISE PROVIDED FOR
    • H05KPRINTED CIRCUITS; CASINGS OR CONSTRUCTIONAL DETAILS OF ELECTRIC APPARATUS; MANUFACTURE OF ASSEMBLAGES OF ELECTRICAL COMPONENTS
    • H05K7/00Constructional details common to different types of electric apparatus
    • H05K7/20Modifications to facilitate cooling, ventilating, or heating
    • H05K7/2089Modifications to facilitate cooling, ventilating, or heating for power electronics, e.g. for inverters for controlling motor
    • H05K7/20927Liquid coolant without phase change
    • BPERFORMING OPERATIONS; TRANSPORTING
    • B60VEHICLES IN GENERAL
    • B60HARRANGEMENTS OF HEATING, COOLING, VENTILATING OR OTHER AIR-TREATING DEVICES SPECIALLY ADAPTED FOR PASSENGER OR GOODS SPACES OF VEHICLES
    • B60H1/00Heating, cooling or ventilating [HVAC] devices
    • B60H1/32Cooling devices
    • B60H2001/3286Constructional features
    • B60H2001/3288Additional heat source
    • BPERFORMING OPERATIONS; TRANSPORTING
    • B60VEHICLES IN GENERAL
    • B60KARRANGEMENT OR MOUNTING OF PROPULSION UNITS OR OF TRANSMISSIONS IN VEHICLES; ARRANGEMENT OR MOUNTING OF PLURAL DIVERSE PRIME-MOVERS IN VEHICLES; AUXILIARY DRIVES FOR VEHICLES; INSTRUMENTATION OR DASHBOARDS FOR VEHICLES; ARRANGEMENTS IN CONNECTION WITH COOLING, AIR INTAKE, GAS EXHAUST OR FUEL SUPPLY OF PROPULSION UNITS IN VEHICLES
    • B60K1/00Arrangement or mounting of electrical propulsion units
    • B60K2001/003Arrangement or mounting of electrical propulsion units with means for cooling the electrical propulsion units
    • BPERFORMING OPERATIONS; TRANSPORTING
    • B60VEHICLES IN GENERAL
    • B60KARRANGEMENT OR MOUNTING OF PROPULSION UNITS OR OF TRANSMISSIONS IN VEHICLES; ARRANGEMENT OR MOUNTING OF PLURAL DIVERSE PRIME-MOVERS IN VEHICLES; AUXILIARY DRIVES FOR VEHICLES; INSTRUMENTATION OR DASHBOARDS FOR VEHICLES; ARRANGEMENTS IN CONNECTION WITH COOLING, AIR INTAKE, GAS EXHAUST OR FUEL SUPPLY OF PROPULSION UNITS IN VEHICLES
    • B60K1/00Arrangement or mounting of electrical propulsion units
    • B60K2001/003Arrangement or mounting of electrical propulsion units with means for cooling the electrical propulsion units
    • B60K2001/005Arrangement or mounting of electrical propulsion units with means for cooling the electrical propulsion units the electric storage means
    • BPERFORMING OPERATIONS; TRANSPORTING
    • B60VEHICLES IN GENERAL
    • B60KARRANGEMENT OR MOUNTING OF PROPULSION UNITS OR OF TRANSMISSIONS IN VEHICLES; ARRANGEMENT OR MOUNTING OF PLURAL DIVERSE PRIME-MOVERS IN VEHICLES; AUXILIARY DRIVES FOR VEHICLES; INSTRUMENTATION OR DASHBOARDS FOR VEHICLES; ARRANGEMENTS IN CONNECTION WITH COOLING, AIR INTAKE, GAS EXHAUST OR FUEL SUPPLY OF PROPULSION UNITS IN VEHICLES
    • B60K1/00Arrangement or mounting of electrical propulsion units
    • B60K2001/003Arrangement or mounting of electrical propulsion units with means for cooling the electrical propulsion units
    • B60K2001/006Arrangement or mounting of electrical propulsion units with means for cooling the electrical propulsion units the electric motors
    • BPERFORMING OPERATIONS; TRANSPORTING
    • B60VEHICLES IN GENERAL
    • B60KARRANGEMENT OR MOUNTING OF PROPULSION UNITS OR OF TRANSMISSIONS IN VEHICLES; ARRANGEMENT OR MOUNTING OF PLURAL DIVERSE PRIME-MOVERS IN VEHICLES; AUXILIARY DRIVES FOR VEHICLES; INSTRUMENTATION OR DASHBOARDS FOR VEHICLES; ARRANGEMENTS IN CONNECTION WITH COOLING, AIR INTAKE, GAS EXHAUST OR FUEL SUPPLY OF PROPULSION UNITS IN VEHICLES
    • B60K1/00Arrangement or mounting of electrical propulsion units
    • B60K2001/008Arrangement or mounting of electrical propulsion units with means for heating the electrical propulsion units
    • YGENERAL TAGGING OF NEW TECHNOLOGICAL DEVELOPMENTS; GENERAL TAGGING OF CROSS-SECTIONAL TECHNOLOGIES SPANNING OVER SEVERAL SECTIONS OF THE IPC; TECHNICAL SUBJECTS COVERED BY FORMER USPC CROSS-REFERENCE ART COLLECTIONS [XRACs] AND DIGESTS
    • Y02TECHNOLOGIES OR APPLICATIONS FOR MITIGATION OR ADAPTATION AGAINST CLIMATE CHANGE
    • Y02EREDUCTION OF GREENHOUSE GAS [GHG] EMISSIONS, RELATED TO ENERGY GENERATION, TRANSMISSION OR DISTRIBUTION
    • Y02E60/00Enabling technologies; Technologies with a potential or indirect contribution to GHG emissions mitigation
    • Y02E60/10Energy storage using batteries
    • YGENERAL TAGGING OF NEW TECHNOLOGICAL DEVELOPMENTS; GENERAL TAGGING OF CROSS-SECTIONAL TECHNOLOGIES SPANNING OVER SEVERAL SECTIONS OF THE IPC; TECHNICAL SUBJECTS COVERED BY FORMER USPC CROSS-REFERENCE ART COLLECTIONS [XRACs] AND DIGESTS
    • Y02TECHNOLOGIES OR APPLICATIONS FOR MITIGATION OR ADAPTATION AGAINST CLIMATE CHANGE
    • Y02TCLIMATE CHANGE MITIGATION TECHNOLOGIES RELATED TO TRANSPORTATION
    • Y02T10/00Road transport of goods or passengers
    • Y02T10/60Other road transportation technologies with climate change mitigation effect
    • Y02T10/70Energy storage systems for electromobility, e.g. batteries

Landscapes

  • Engineering & Computer Science (AREA)
  • Mechanical Engineering (AREA)
  • Chemical & Material Sciences (AREA)
  • Physics & Mathematics (AREA)
  • Thermal Sciences (AREA)
  • Transportation (AREA)
  • Combustion & Propulsion (AREA)
  • Sustainable Energy (AREA)
  • General Chemical & Material Sciences (AREA)
  • Sustainable Development (AREA)
  • Life Sciences & Earth Sciences (AREA)
  • Manufacturing & Machinery (AREA)
  • Chemical Kinetics & Catalysis (AREA)
  • Electrochemistry (AREA)
  • Microelectronics & Electronic Packaging (AREA)
  • Power Engineering (AREA)
  • Automation & Control Theory (AREA)
  • Air-Conditioning For Vehicles (AREA)
  • Cooling, Air Intake And Gas Exhaust, And Fuel Tank Arrangements In Propulsion Units (AREA)
  • Arrangement Or Mounting Of Propulsion Units For Vehicles (AREA)
  • Electric Propulsion And Braking For Vehicles (AREA)

Description

本明細書が開示する技術は、電気自動車用の熱管理システムに関する。本明細書における「電気自動車」には、ハイブリッド車、および、燃料電池車が含まれる。
電気自動車では、走行用のモータの熱と外気の熱を適切に利用し、温度調整のための電気機器の消費電力を抑えることが航続距離の増加につながる。特許文献1、2には、外気の熱、モータとインバータとバッテリの熱を総合的に管理して電気自動車の各部の熱を適切に利用する熱管理システムが提案されている。
特許文献1の熱管理システムは、第1温度調整回路と第2温度調整回路を備える。第1温度調整回路は、走行用のモータと、モータに電力を供給する電力変換器を冷却する。第2温度調整回路は車室の温度を調整する。第1温度調整回路では、オイルクーラと、変換器冷却器と、ラジエータを第1熱媒が循環する。オイルクーラは、モータを冷却するオイルを第1熱媒で冷却する。第2温度調整回路では、車室空調用のチラーと空調室外機の間で第2熱媒が循環する。ラジエータと空調室外機が隣接配置されており、第1熱媒と第2熱媒との間でも熱が交換される。
特開2019-213337号公報 特開2019-119369号公報
特許文献1の熱管理システムでは、第1温度調整回路(モータと電力変換器の温度調整回路)のラジエータと第2温度調整回路(車室の温度調整回路)の空調室外機の間で熱を交換可能である。発明者らは、モータと電力変換器の熱の排出に用いるラジエータ(以下では第1熱交換器と称する)を、車室の温度調整に積極的に利用することを検討した。すなわち、第1温度調整回路の第1熱媒と第2温度調整回路の第2熱媒との間で熱交換する第2熱交換器と、第2流路と、流路弁を熱管理システムに組み込む。なお、オイルクーラと変換器冷却器と第1熱交換器をつなぐ流路を以下では第1流路と称する。
第2流路は、第2熱交換器を通過するとともに、第1熱交換器の入口と出口に接続される。第1流路も第1熱交換器の入口と出口に接続されている。第1熱交換器は第1流路の循環系と第2流路の循環系で共用される。流路弁は、第1流路を第1熱交換器に接続するとともに第2流路から第1熱交換器への第1熱媒の流れを遮断する第1弁位置と、第2流路を第1熱交換器に接続するとともに第1流路から第1熱交換器への熱媒の流れを遮断する第2弁位置を選択可能である。
第1弁位置が選択されているとき、オイルクーラと変換器冷却器を通った熱媒は第1熱交換器にて外気と熱交換ができるが、第2熱交換器を通る第1熱媒は外気と熱交換できない。第2弁位置が選択されているとき、第2熱交換器を通った第1熱媒は第1熱交換器にて外気と熱交換ができるが、オイルクーラと変換器冷却器を通った第1熱媒は外気と熱交換できない。
電力変換器の温度上昇に起因して第1熱媒の温度が上昇すると、流路弁が第1弁位置を選択し、電力変換器の熱が第1熱交換器で放出される。モータ(オイル)の温度が上昇に起因して熱媒の温度が上昇したときも、流路弁は第1弁位置を選択し、モータ(オイル)の熱が第1熱交換器で放出される。モータと第1熱媒はオイルを介して熱を交換する。それゆえ、電力変換器の温度上昇により第1熱媒の温度が上昇するタイミングと、モータの温度上昇により第1熱媒の温度が上昇するタイミングが相違する。電力変換器の温度上昇とモータの温度上昇のそれぞれに起因して第1弁位置が頻繁に選択されると、第2熱交換器と第1熱交換器の間で第1熱媒を循環させる機会が減る。本明細書が開示する技術は、上記の課題を解決する。特に、外気の熱を、第1熱媒を介して第2熱媒へ移すヒートポンプモードを実行可能な場合に、第2熱交換器と第1熱交換器の間で第1熱媒を循環させる機会を減らさない技術を提供する。
本明細書が開示する熱管理システムは、電気自動車に用いられる。熱管理システムは、オイルクーラ、オイルポンプ、変換器冷却器、第1熱交換器、第2熱交換器、第1流路、第2流路、流路弁、バイパス流路、コントローラを備える。
オイルクーラは、走行用のモータを冷却するオイルを第1熱媒で冷却する。オイルポンプは、オイルクーラとモータの間でオイルを循環させる。変換器冷却器は、モータに電力を供給する電力変換器を第1熱媒で冷却する。第1熱交換器は、第1熱媒と外気の間で熱を交換する。第2熱交換器は、車室空調器の第2熱媒と第1熱媒との間で熱を交換する。第1流路は、オイルクーラと変換器冷却器を通過し、第1熱交換器の入口と出口に接続している。第2流路は、第2熱交換器を通過し、第1熱交換器の入口と出口に接続している。
流路弁は、第1弁位置と第2弁位置を選択可能である。第1弁位置では、流路弁は、第1流路を第1熱交換器に接続するとともに第2流路から第1熱交換器への第1熱媒の流れを遮断する。第2弁位置では、流路弁は、第2流路を第1熱交換器に接続するとともに第1流路から第1熱交換器への第1熱媒の流れを遮断する。バイパス流路は、第2弁位置が選択されているときに第1熱交換器をバイパスしてオイルクーラと変換器冷却器の間で第1熱媒を循環させる。コントローラは、流路弁に第2弁位置を選択させ、第1熱交換器にて外気から第1熱媒へ伝熱し、第2熱交換器で第1熱媒から第2熱媒へ伝熱するヒートポンプモードを実行可能である。
コントローラは、ヒートポンプモードを実行中に、所定の周期で流路弁を第2弁位置から第1弁位置に切り替えるとともにオイルポンプを作動させ、所定の保持時間が経過したら流路弁を第1弁位置から第2弁位置に切り替えるとともにオイルポンプを停止する。
本明細書が開示する熱管理システムでは、コントローラが所定の周期で流路弁を第2弁位置から第1弁位置に切り替えるとともにオイルポンプを作動させる。所定の周期でオイルの熱が第1熱媒へ伝達されるとともに第1熱媒の熱が第1熱交換器で外気に放出される。第1熱媒とオイルの温度がともに下がる。所定の周期が経過する前に、モータの温度上昇に起因して第1弁位置が選択される頻度が低下する。上述した熱管理システムによれば、第2熱交換器と第1熱交換器の間で第1熱媒を循環させる機会が減少することを抑制することができる。
本明細書が開示する技術の詳細とさらなる改良は以下の「発明を実施するための形態」にて説明する。
実施例の熱管理システムを示す図である。 第2弁位置における第1熱媒の流れを示す回路図である。 第1弁位置における第1熱媒の流れを示す回路図である。 第1実施例の熱管理システムにおける各値の変化を示すタイミングチャートである。 第2実施例の熱管理システムにおける各値の変化を示すタイミングチャートである。
本明細書が開示する熱管理装置の技術要素を、以下に列記する。なお、以下の各技術要素は、それぞれ独立して有用なものである。
ヒートポンプモードでは、コントローラは、流路弁に第2弁位置を選択させ、外気の温度よりも低い温度の第1熱媒を第1熱交換器へ送り、外気から吸熱した第1熱媒の温度よりも低い温度の第2熱媒を第2熱交換器へ送る。本明細書が開示する熱管理システムは、ヒートポンプモードを実行中であって流路弁を第2弁位置に保持しているときにオイルの温度が第1流路内の第1熱媒の温度よりも高くなった場合にオイルポンプを作動させてもよい。例えば電気自動車の作動初期においては、モータの発熱よりも電力変換器の発熱の方が大きいことがある。この場合、オイルの温度よりも第1熱媒の温度の方が高い。この状態でオイルポンプを作動させると、第1熱媒はオイルを加熱することとなる。オイルの温度が第1流路内の第1熱媒の温度よりも高くなった場合にオイルポンプを作動させることで、オイルは第1熱媒により冷却される。流路弁が第1弁位置を選択する際、既にオイルが第1熱媒により冷却されている。その結果、所定の保持時間が経過して再び流路弁が第2弁位置を選択する際、オイルの温度が低くなる。これにより、オイル(モータ)の温度上昇を抑制することができる。また、第1熱交換器に霜が付くと、第1熱交換器の熱交換効率が低下する。所定の周期の経過した時点で既に電力変換器とモータ(オイル)の熱で温まった第1熱媒を第1熱交換器へ送ることで、霜を早期に除去することができる。
コントローラは、ヒートポンプモードを実行中であって流路弁を第2弁位置に保持しているときに第1流路内の第1熱媒の温度が所定の上限温度を超えた場合、所定の周期に関わらずに、流路弁を第2弁位置から第1弁位置に切り替えるとともにオイルポンプを作動させてもよい。第1熱媒が所定の上限温度を超えた第1熱媒は、電力変換器や、オイルクーラを冷却できない。この場合に、流路弁を第2弁位置から第1弁位置に切り替えるとともにオイルポンプを作動させることで、第1熱媒とオイルを冷却する。
コントローラは、保持時間が経過する前にオイルポンプの出力を徐々に低下させ、保持時間が経過したときにオイルポンプを停止してもよい。オイルポンプの出力が高いと、オイルと第1熱媒の熱交換が促進され、第1熱媒の温度が急上昇する。コントローラは、オイルポンプの出力を徐々に低下させることで、所定の周期を経過する前に第1熱媒の温度が急上昇することを抑制することができる。
コントローラは、ヒートポンプモードを実行していないときにはオイルの温度(オイル温度)が第1下限値を下回ったらオイルポンプを停止し、ヒートポンプモードを実行中はオイル温度が第1下限値よりも低い第2下限値を下回ったらオイルポンプを停止してもよい。ヒートポンプモードの際にはできるだけ第2流路と第1熱交換器が接続される時間を長くするのがよい。ヒートポンプのときのオイル温度の下限値を低くすることで、モータ(オイル)の温度が次に上限値に達するまでの時間を長くすることができる。その結果、第2流路と第1熱交換器が接続される時間が長くなる。
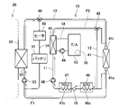
(第1実施例)図面を参照して第1実施例の熱管理システム100を説明する。図1に、熱管理システム100の回路図を示す。熱管理システム100は、電気自動車に搭載され、車載の機器と車室の温度を調整する。熱管理システム100は、走行用のモータ55、モータ55のための電力を蓄えるバッテリ51、モータ55に電力を供給するSPU(Smart Power Unit)46とPCU(Power Control Unit)47の温度を調整する。
バッテリ51の出力は、200ボルトを超える。バッテリ51が大きな電力を出力するとき、バッテリ51は発熱する。SPU46は、バッテリ51の電力を、PCU47を含むいくつかの機器に分配する。SPU46にはDCDCコンバータが内蔵されており、バッテリ51の電力を降圧して補機(車載の小電力機器)に供給する。PCU47は、バッテリ51の直流電力を交流電力に変換し、モータ55に供給する。SPU46とPCU47も、動作中に発熱する。SPU46のPCU47の主な発熱源は電力変換用のスイッチング素子である。
熱管理システム100は、モータ55、バッテリ51、SPU46、PCU47を冷却することが主要な機能であるが、寒冷地を走行する際にはそれらのデバイスを温めることもある。
熱管理システム100は、第1熱回路10、第2熱回路20、および、第3熱回路30を有している。第1熱回路10、第2熱回路20、および、第3熱回路30のそれぞれの内部に、熱媒が流れる。第1熱回路10、第2熱回路20、および、第3熱回路30の間で、熱媒の流路が独立している。第1熱回路10、第2熱回路20、および、第3熱回路30内の熱媒の材料は、同じであってもよいし、異なっていてもよい。例えば、熱媒として、ハイドロフルオロカーボンを用いることができる。本明細書では、第1熱回路10内を流れる熱媒を第1熱媒と称する。第2熱回路20内を流れる熱媒を第2熱媒とし、第3熱回路30内を流れる熱媒を第3熱媒と称する。
第1熱回路10が、車載の機器の温度を調整する。第2熱回路20と第3熱回路30が車室の温度を調整する。車載の機器を冷却する場合、第1熱回路10は、第1熱媒の熱を外気に放出する。車室の暖房スイッチが入れられた場合、第1熱回路10は、外気の熱を利用して第2熱媒を温めることがある。本明細書では、車室を暖房しつつ機器を冷却する場合に着目する。本実施例では、機器の昇温と、車室の冷房についての説明は割愛する。
第1熱回路10は、第1流路11、第2流路12、バイパス流路13、バッテリ流路14を有している。先に述べたように、第1熱回路10は、SPU46、PCU47、モータ55、バッテリ51を冷却する。モータ55は、オイルを介して第1熱媒で冷却される。
第1流路11は、SPU46、PCU47、オイルクーラ45を通過し、一端が低温ラジエータ41の入口41iに接続し、他端が低温ラジエータ41の出口41oに接続している。第1流路11にはポンプ48が設置されている。ポンプ48が、第1流路11内の第1熱媒を圧送する。ポンプ48を始点として、オイルクーラ45、低温ラジエータ41、SPU46、PCU47の順に第1熱媒が流れる。
SPU46の内部にSPU冷却器46cが備えられており、PCU47の内部にPCU冷却器47cが備えられている。第1流路11にSPU冷却器46cとPCU冷却器47cが接続されている。第1熱媒は、SPU冷却器46cとPCU冷却器47cを通り、SPU46とPCU47を冷却する。
オイルクーラ45には、オイル循環路18が接続されている。オイル循環路18は、トランスアクスル43の内部を通過する。トランスアクスル43はモータ55を内蔵している。オイル循環路18の一部は、モータ55の摺動部(すなわち、軸受部)を通過している。すなわち、オイル循環路18内のオイルは、モータ55の潤滑油を兼ねている。オイル循環路18には、オイルポンプ44が設置されている。オイルポンプ44は、オイル循環路18内のオイルを循環させる。モータ55を冷却したオイルはオイルクーラ45にて第1熱媒で冷却される。
SPU46、PCU47、モータ55(オイルクーラ45のオイル)を冷却した第1熱媒は、低温ラジエータ41を通る。第1熱媒の熱は、低温ラジエータ41にて外気に放出される。低温ラジエータ41は、第1熱媒と外気の間で熱を交換する。
第1流路11にはバイパス流路13が接続されている。バイパス流路13の一端は、三方弁42を介して第1流路11の下流側に接続されており、他端は第1流路11の上流側に接続されている。
第1流路11は、三方弁42により、低温ラジエータ41とバイパス流路13の一方に接続される。三方弁42は、第1弁位置と第2弁位置を切り替え可能である。第1弁位置では、三方弁42は、第1流路11を低温ラジエータ41に接続するとともに、第1流路11をバイパス流路13から遮断する。第2弁位置では、三方弁42は、第1流路11をバイパス流路13に接続するとともに、第1流路11を低温ラジエータ41から遮断する。三方弁42が第1流路11を低温ラジエータ41に接続している状態(すなわち第1弁位置)でポンプ48が作動すると、第1熱媒は、SPU46、PCU47、オイルクーラ45、低温ラジエータ41を循環する。SPU46、PCU47、モータ55(オイル)の熱が、第1熱媒を介して外気に放出される。
三方弁42が第1流路11をバイパス流路13に接続している状態(すなわち、第2弁位置)でポンプ48が作動すると、第1熱媒は、低温ラジエータ41をバイパスしつつ、SPU46、PCU47、オイルクーラ45を循環する。SPU46、PCU47、モータ55(オイル)の熱により第1熱媒の温度が上昇する。三方弁42は、コントローラ80によって制御される。三方弁42の制御ついては後述する。
第2流路12は、チラー52を通過し、一端が低温ラジエータ41の入口41iに接続し、他端が低温ラジエータ41の出口41oに接続している。低温ラジエータ41は、第1流路11と第2流路12で共用される。第2流路12にはポンプ53が設置されている。ポンプ53が、第2流路12内の第1熱媒を圧送する。チラー52には、第2熱回路20の循環路22が通っている。チラー52は、第1熱媒の熱を第2熱媒へ移す。すなわち、チラー52は、第1熱媒と第2熱媒の間で熱を交換する。チラーの役割については後述する。
第2流路には、バッテリ流路14が接続されている。バッテリ流路14はバッテリ51を通過している。バッテリ流路14の一端は、チラー52の下流にて三方弁49を介して第2流路12に接続されている。バッテリ流路14の他端は、ポンプ53の上流にて第2流路12に接続されている。
三方弁49により、チラー52は低温ラジエータ41とバッテリ流路14の一方と接続される。三方弁49は、第1弁位置と第2弁位置を切り替え可能である。第1弁位置では、三方弁49は、チラー52をバッテリ流路14に接続するとともに、チラー52を低温ラジエータ41から遮断する。第2弁位置では、三方弁49は、チラー52を低温ラジエータ41に接続するとともに、チラー52をバッテリ流路14から遮断する。三方弁49がチラー52をバッテリ流路14に接続している状態(すなわち、第1弁位置)でポンプ53が作動すると、第1熱媒は、チラー52とバッテリ51の間を循環する。第1熱媒はバッテリ51を冷却し、温度が高くなった第1熱媒はチラー52にて第2熱媒で冷却される。三方弁49がチラー52を低温ラジエータ41に接続している状態(すなわち、第2弁位置)でポンプ53が作動すると、第1熱媒は、第2流路12を流れ、チラー52と低温ラジエータ41の間で循環する。第1熱媒がチラー52と低温ラジエータ41の間で循環するのは後述するヒートポンプモードのときである。ヒートポンプモードについては後述する。
バッテリ流路14のバッテリ51よりも上流側にヒータ50が備えられている。寒冷地などでバッテリ51の温度が下がったときにはヒータ50で第1熱媒を温め、温度が高くなった第1熱媒でバッテリ51を温める。
先に述べたように、第2熱回路20と第3熱回路30は車室の温度を調整する。第2熱回路20は主に車室の空気を冷却するのに用いられる。第2熱回路20は、循環路22、エバポレータ63、コンプレッサ66、エバポレータプレッシャレギュレータ62(EPR62)、コンデンサ67、モジュレータ68を備えている。
循環路22には三方弁65が備えられている。三方弁65は、第1弁位置と第2弁位置を切り替え可能である。第1弁位置のとき、三方弁65は、コンデンサ67とエバポレータ63を接続する。第2弁位置のとき、三方弁65は、コンデンサ67とチラー52を接続する。
車室を冷却するときには三方弁65は第1弁位置を選択する。コンプレッサ66で圧縮され、高温になった気体の第2熱媒は、コンデンサ67で冷却され、液体に変化する。モジュレータ68にて液体の第2熱媒のみが三方弁65へ流れる。液体の第2熱媒は膨張弁64とエバポレータ63を通り、気化するとともに急激に温度が下がる。温度の下がった第2熱媒により車室の空気が冷やされる。第2熱媒はEPR62を通過し、再びコンプレッサ66で圧縮される。
三方弁65は、ヒートポンプモードのときに第2弁位置に切り替えられ、コンデンサ67とチラー52を接続する。詳しくは後述するが、ヒートポンプモードは車室暖房のときに選択される。ヒートポンプモードのとき、コンプレッサ66で圧縮され、高温になった気体の第2熱媒は、コンデンサ67にて第3熱媒へ熱を放出し、液体に変化する。モジュレータ68にて液体の第2熱媒のみが三方弁65へ流れる。液体の第2熱媒は膨張弁61とチラー52を通り、気化するとともに急激に温度が下がる。温度の下がった第2熱媒は、チラー52を通過する第1熱媒から熱を吸収する。温度の上がった第2熱媒はコンプレッサ66で圧縮され、さらに温度が上昇する。温度が高くなった第2熱媒がコンデンサ67にて第3熱媒へ熱を放出する。
第3熱回路30は、主に車室の空気を温めるのに用いられる。第3熱回路30は、循環路32、電気ヒータ71、ヒータコア74、ポンプ72、高温ラジエータ75、三方弁73を備える。ヒータコア74を流れる高温の第3熱媒によって、車室の空気が温められる。
車室の空気を温める場合、三方弁73によって、コンデンサ67と電気ヒータ71とヒータコア74が接続される。先に述べたように、ヒートポンプモードのとき、コンデンサ67にて、高温の第2熱媒によって第3熱媒が温められる。温められた第3熱媒がヒータコア74を通過するときに車室の空気が温められる。第3熱媒の熱が不足するときには電気ヒータ71が第3熱媒を加熱する。
熱管理システム100で熱が余る場合には、三方弁73がコンデンサ67と高温ラジエータ75を接続する。コンデンサ67を介して第2熱媒から第3熱媒へ移された熱は、高温ラジエータ75にて外気へ放出される。
熱管理システム100において車室暖房モードが選択されると、先に述べたように、ヒータコア74を通過する第3熱媒によって車室の空気が温められる。車室暖房モードのときには外気の熱あるいはバッテリ51の熱も利用される。外気の熱あるいはバッテリ51の熱で第1熱回路10の第1熱媒が温められる。チラー52にて、高温の第1熱媒によって第2熱媒が温められる。チラー52を通過した第2熱媒はコンプレッサ66で圧縮され、さらに温度が上がる。高温の第2熱媒は、コンデンサ67にて第3熱媒を温める。第3熱媒はヒータコア74にて車室内の空気を温める。外気の熱を利用する場合をヒートポンプモードと称する。
ヒートポンプモードについて説明する。ヒートポンプモードでは、低温ラジエータ41にて外気の熱で第1熱媒が温められ、高温の第1熱媒がチラー52にて第2熱媒を温める。第2熱媒の熱が車室の空気を温める過程は上述した通りである。本明細書では、外気の熱を車室空調用の第2熱媒へ移すまでの過程を説明する。なお、ヒートポンプモードは、チラー52で冷却される第1熱媒の温度が外気の温度よりも低いときに実施される。
ヒートポンプモードは、コントローラ80によって実行される。ヒートポンプモードが選択されると、コントローラ80は、三方弁42、49を第2弁位置に保持する。このときの熱媒の流れを図2に示す。図2では、第2熱回路20の循環路22の一部を示し、第2熱回路20の他の構成、および、第3熱回路30の図示は省略した。
ヒートポンプモードでは、コントローラ80は、三方弁42、49を同期して制御する。ヒートポンプモードのとき、コントローラ80は、三方弁42、49を共に第2位置に保持する。このときの第1熱媒の流れを図2に示す。図2では、第2熱回路20の一部(循環路22)のみを示してあり、第2熱回路20の残りと第3熱回路30は図示を省略した。
ヒートポンプモードのとき、コントローラ80は、三方弁42、49を第2弁位置に保持し、第2流路12を低温ラジエータ41に接続し、第1流路11から低温ラジエータ41への第1熱媒の流れを遮断する。第1熱媒は、図2の破線矢印F1で示すように、チラー52と低温ラジエータ41の間を循環する。このとき、第1流路11内の第1熱媒は低温ラジエータ41をバイパスし、SPU46とPCU47とオイルクーラ45を循環する。
先に、第2流路12を流れる第1熱媒について説明する。チラー52で冷却された第1熱媒は、低温ラジエータ41に流入する。第1熱媒は、低温ラジエータ41を通過する間に、外気によって温められる。外気で温められた第1熱媒は、チラー52にて第2熱媒を温める。前述したように、第2熱媒の熱によって車室の空気が温められる。すなわち、ヒートポンプモードでは、外気の熱が車室の暖房に活用される。チラー52にて第1熱媒の温度が下がる。温度の下がった第1熱媒は低温ラジエータ41に戻り、再び外気から熱を吸収する。
ヒートポンプモードでは、図2にて破線矢印F2が示すように、第1流路11内の第1熱媒は低温ラジエータ41を通らない。第1流路11を流れる第1熱媒の温度は、上昇を続ける。第1流路11を流れる第1熱媒の温度が高くなりすぎるとSPU46、PCU47、モータ55を冷却できなくなる。第1熱回路10には、SPU46とPCU47の間に温度センサ15が備えられており、コントローラ80は、SPU冷却器46cを通過した第1熱媒の温度をモニタしている。SPU46を通過した第1熱媒の温度(温度センサ15の計測値)が温度上限値を超えた場合、コントローラ80は、三方弁42、49を第1弁位置に切り替える。
三方弁42、49が第1弁位置に切り替えられたときの第1熱媒の流れを図3に示す。三方弁42、49が第1弁位置に切り替えられると、第1流路11と低温ラジエータ41が接続され、第2流路12は低温ラジエータ41から遮断される。コントローラ80は、ポンプ48の作動を継続する。その結果、図3の破線矢印F3に示されるように、第1流路11内で温度上限値を超えた第1熱媒が低温ラジエータ41に流入する。低温ラジエータ41に流入する第1熱媒の温度は、外気の温度よりも高い。このため、低温ラジエータ41を通過する第1熱媒は外気に熱を放出する。外気に熱を放出して温度が下がった第1熱媒がSPU46とPCU47を冷却する。
コントローラ80は、第1流路11の三方弁42を第1弁位置に切り替える際、第2流路12の三方弁49も第1弁位置に切り替える。三方弁49が第1弁位置に切り替えられると、チラー52が低温ラジエータ41から遮断される。すなわち、第2流路12が低温ラジエータ41から遮断される。先に述べたように、ヒートポンプモードでは、第2流路12を流れる第1熱媒の温度は外気の温度よりも低く、第1流路11を流れる第1熱媒の温度は外気の温度よりも高い。第1流路11と第2流路12を流れる第1熱媒が合流すると、第2流路12を流れる第1熱媒の温度が上昇する。コントローラ80は、第1流路11が低温ラジエータ41と接続して、外気温よりも高温の第1熱媒と低温ラジエータ41が熱交換を行っている間、第2流路12と低温ラジエータ41を遮断する。これにより、第1流路11と第2流路12を流れる第1熱媒が合流することを防止する。
三方弁42、49を第1弁位置に切り替えると、チラー52が低温ラジエータ41から遮断される。チラー52を通過した第1熱媒は低温ラジエータ41を通らない。三方弁42が第1弁位置を保持している間、ヒートポンプモードは中断される。
コントローラ80は、ヒートポンプモードにおいて、三方弁42、49を第1弁位置に切り替えるとともにオイルポンプ44を作動させる。オイルポンプ44を作動させることで、モータ55の熱がオイルを介して第1熱媒に移る。SPU46とPCU47の熱を吸収し、さらにモータ55の熱を吸収した第1熱媒が低温ラジエータ41に流れ、放熱する。
コントローラ80は、オイルの温度が所定の上限値を超えた場合にオイルポンプを作動させる。しかし、ヒートポンプモードのとき、コントローラ80は、三方弁42を第1弁位置に切り替えるとともに、オイルの温度が上限値に達してなくてもオイルポンプ44を動作させる。そのような制御により、モータ55の熱が低温ラジエータ41にて放出される。
ヒートポンプモードにおいて、三方弁42を第1弁位置に切り替えるとともにオイルポンプ44を動作させる利点を、図4を参照して説明する。
図4(A)は、温度センサ15(図1参照)が測定する第1熱媒の温度変化を示している。図4(B)は、オイル循環路18を循環するオイルの温度変化を示している。図4(C)は、オイルポンプのオンオフのタイミングを示している。なお、図4(A)~(C)では、ヒートポンプモードのときの各値の変化を実線で示しており、ヒートポンプモード以外のときの各値の変化を破線で示している。
図2を参照して説明したように、ヒートポンプモードでは、コントローラ80は、三方弁42、49を第2弁位置に保持する。SPU46とPCU47とモータ55の発熱により、図4(A)に示されるように、第1流路11内の第1熱媒の温度は、徐々に上昇する。第1熱媒の温度が上限温度huを超えたとき(時刻t1)に、コントローラ80は、三方弁42、49を第2弁位置から第1弁位置に切り替える。第1流路11が低温ラジエータ41に接続され、SPU46などから熱を吸収した第1熱媒が低温ラジエータ41に流れる。第1流路11内の第1熱媒は、低温ラジエータ41によって冷却されてその温度が徐々に低下する。このとき、第2流路12は低温ラジエータ41から遮断され、ヒートポンプモードは中断する。
図4(B)に示されるように、オイルの温度は、モータ55の作動により、徐々に上昇する。最初に、ヒートポンプモード以外のときのオイルの温度変化について説明する。コントローラ80は、第1熱媒の温度が上限温度huを超えた場合(時刻t1)に、三方弁42、49を第1弁位置に切り替える。時刻t1以降、第1熱媒の温度は低下する。
モータ55の主な発熱源はコイルであり、SPU46とPCU47の主な発熱源はスイッチング素子である。モータ55の熱容量はSPU46とPCU47のスイッチング素子の熱容量よりも大きい。モータ55の熱容量が大きいので、オイルの温度は緩やかに上昇する。時刻t1にてオイルの温度が適正範囲の上限値ouを超えていなければ、コントローラ80はオイルポンプ44を動作させない。その結果、図4(B)の破線グラフに示されるように、時刻t1を過ぎてもオイルの温度は上昇する。
時刻t2にて、コントローラ80は、三方弁42、49を第2弁位置から第1弁位置に戻す。第1流路11は低温ラジエータ41から遮断される。第1流路11内の第1熱媒の温度は再び上昇する。一方、時刻t2以降、第2流路12が再び低温ラジエータ41に接続され、ヒートポンプモードが再開する。
時刻to1にて、オイルの温度が上限値ouを超える。オイルの温度が上限値ouを超えたので、コントローラ80は、オイルポンプ44を作動させる(図4(C)参照)。その結果、オイルは第1熱媒で冷却され、温度が低下する。コントローラ80は、オイルの温度が第1下限値od1を下回った場合(時刻to2)に、オイルポンプ44を停止する(図4(C)参照)。その結果、オイルクーラ45におけるオイルと第1熱媒の熱交換が終了し、オイルの温度は再度徐々に上昇する。コントローラ80は、オイルの温度が上限値ouを超える毎に、オイルポンプ44を作動させる(時刻to3、to5)。コントローラ80は、オイルの温度が第1下限値od1を下回ると、オイルポンプ44を停止する(時刻to4、to6)。
オイルポンプ44が動作している間、オイルの熱が第1熱媒に移り、第1熱媒の温度が上昇する(時刻to1からto2、時刻to3からto4、時刻to5からto6)。
第1熱媒の温度は時刻t1、to2、to4、to6で上限温度huに達する。第1熱媒の温度が上限温度huに達する毎にコントローラ80は三方弁42、49を第2弁位置から第1弁位置へ切り替える。三方弁42、49は高い頻度で切り替えられることになる。三方弁42、49を第1弁位置に切り替える毎にヒートポンプモードが中断され、外気の熱の活用が中断される。暖房モードのときにヒートポンプモードが頻繁に中断されると、熱量を補うためにコントローラ80は電気ヒータ71(図1参照)を動作させる。電気ヒータ71で熱を発生させるために電力が消費される。
上記の現象は、PCU47(SPU46)とモータ55の熱容量の違いにより、SPU46とPCU47が熱量を発生するタイミングよりも遅れてオイルの温度が上昇することに起因する。実施例の熱管理システム100では、コントローラ80は、ヒートポンプモードの際に、三方弁42、49が第1弁位置に切り替わる頻度を抑えるように、オイルポンプを制御する。
次に、本実施例においてヒートポンプモードのときのコントローラ80の制御について説明する。
実施例のコントローラ80は、ヒートポンプモードにおいて、三方弁42、49を第2弁位置から第1弁位置に切り替えると同時にオイルポンプ44を動作させる。ヒートポンプモードでは、コントローラ80は、第1熱媒の温度が上限温度huを超えたとき(時刻t1)、三方弁42、49の第1弁位置への切り替えに同期してオイルポンプ44を作動させる。その結果、オイルクーラ45を介してオイルの熱(モータ55の熱)が第1熱媒へ移る。SPU46とPCU47の熱とともにオイルの熱(モータ55の熱)を吸収した第1熱媒が低温ラジエータ41に流れ、それらの熱が外気へ放出される。第1熱媒を介してオイルの熱(モータ55の熱)も同時に外気へ放出される。
コントローラ80は、オイルの温度が第2下限値оd2を下回った場合(時刻t2)に、オイルポンプ44を停止するとともに、三方弁42、49の双方を第2弁位置に切り替える。以後、第1熱媒の温度が上限温度huを超える毎にコントローラ80は三方弁42、49を第1弁位置に切り替えるとともにオイルポンプ44を動作させる(時刻t3)。オイルの温度が第2下限値оd2を下回ると、コントローラ80は、オイルポンプ44を停止するとともに、三方弁42、49の双方を第2弁位置に切り替える(時刻t4)。三方弁42、49が第2弁位置に切り替えられると、ヒートポンプモードが再開し、外気の熱が車室の暖房に利用される。
以上説明したように、コントローラ80は、ヒートポンプモードにおいて、三方弁42、49を第2弁位置から第1弁位置に切り替えるとともにオイルポンプ44を作動させる。そのような制御により、三方弁42、49を切り替える頻度が低下する。外気を効率よく車室暖房に活用することができる。
暖房モードが選択される状況では外気温が低い場合がある。外気温が低く、さらに外気温よりも温度が低い第1熱媒が低温ラジエータ41に流れると、霜が着くおそれがある。低温ラジエータ41に霜が着くと、低温ラジエータ41の熱交換効率が低下する。外気の熱の車室暖房への利用効率が低下する。着霜による熱交換効率の低下は、低温ラジエータ41の入口41iと出口41oにおける第1熱媒の温度の差に表れる。コントローラ80は、上述した制御に加え、低温ラジエータ41の入口41iと出口41oにおける第1熱媒の温度差が所定の温度差閾値を下回ったときに、三方弁42、49の双方を第1弁位置に切り替えるとともに、オイルポンプ44を作動させてもよい。オイルの熱を利用して低温ラジエータ41に付着した霜を溶かすことができる。
(第2実施例)第2実施例の熱管理システムを説明する。第2実施例の熱管理システムの構造は第1実施例の熱管理システム(図1)と同じであるが、コントローラ80が実行する制御が第1実施例の場合と異なる。
コントローラ80は、ヒートポンプモードを実行中に、低温ラジエータ41への着霜を避けるため、定期的に三方弁42、49を切り替える。ヒートポンプモードを実行中、コントローラ80は、所定の周期で三方弁42、49を第2弁位置から第1弁位置に切り替えるとともにオイルポンプ44を作動させる。コントローラ80は、所定の保持時間が経過したら三方弁42、49を第1弁位置から第2弁位置に切り替えるとともにオイルポンプを停止する。オイルから熱を得た高温の第1熱媒を所定の周期で低温ラジエータ41へ送ることで、着霜を防ぐことができる。
また、コントローラ80は、三方弁42、49を第1弁位置へ切り替える前、オイルの温度が第1熱媒の温度よりも高い場合にはオイルポンプ44を作動させ、オイルの熱で第1熱媒の温度を高める。三方弁42、49を第1弁位置に切り替えたときに高温の第1熱媒が低温ラジエータ41に流れる。より一層の除霜効果が期待できる。
図5を参照して、コントローラ80の処理の一例を具体的に説明する。図5(A)は、温度センサ15(図1参照)が測定する第1熱媒の温度変化を示している。図5(B)は、オイル循環路18を循環するオイルの温度変化を示している。図5(C)は、オイルポンプ44の出力変化を示している。図5(C)は、オイルポンプ44の出力を百分率で示してある。
コントローラ80は、ヒートポンプモード実行中、三方弁42、49の双方を第2弁位置に保持し、外気の熱を利用して車室内を暖房する。コントローラ80は、ヒートポンプモードを実行中に、周期s1で三方弁42、49の双方を第1弁位置に切り替え、保持時間dsが経過したら、三方弁42、49の双方を第2弁位置に戻す。
図2を参照して説明したように、ヒートポンプモードでは、コントローラ80は、三方弁42、49を第2弁位置に保持する。図5(A)に示されるように、第1流路11内の第1熱媒の温度は、SPU46およびPCU47の熱により徐々に上昇する。モータ55も発熱し、オイルの温度が上昇する。図5の時刻t5に、オイルの温度が第1熱媒の温度よりも高くなる。オイルの温度が第1熱媒の温度を超えると、コントローラ80は、オイルポンプ44を動作させる。オイルクーラ45でオイルから第1熱媒に熱が伝達される。このとき(時刻t5以降)、コントローラ80は、図5(C)に示されるように、オイルポンプ44の出力Opを、最大(100%)に設定する。その結果、図5(A)の時刻t5から時刻t6の間に示されているように、第1熱媒の温度が急激に上昇する。一方、図5(B)に示されるように、時刻t5から時刻t6の間でオイルの温度上昇率は小さくなる。
第2実施形態の熱管理システム100のコントローラ80は、三方弁42、49を第1弁位置へ切り替える前にオイルポンプ44を作動し、オイルの熱で第1熱媒を加熱する。コントローラ80が三方弁42、49を第1弁位置へ切り替えると、オイルの熱を吸収した第1熱媒が低温ラジエータ41に流れる。第2実施形態の熱管理システム100は、オイルの熱も利用して低温ラジエータ41を除霜することができる。同時に、オイルの熱も外気に放熱される。
また、コントローラ80は、図5(C)に示されるように、時刻t6から、オイルポンプ44の出力を徐々に低下させる。その結果、オイル循環路18におけるオイルの流量が減少する。オイルクーラ45にてオイルから第1熱媒に伝達される熱量が減少する。このため、図5(B)に示されるように、オイルの温度上昇率は時刻t6から再度高くなる。一方、時刻t6以降は、第1熱媒がオイルから吸熱する熱量が減少するため、第1熱媒の温度上昇率は、時刻t5から時刻t6までの間に比して低くなる。その結果、第1熱媒の温度が上限温度huを超えるタイミングが遅くなる。図5の例では、周期s1が経過しても第1熱媒の温度は上限温度huに達しない。コントローラ80は、周期s1に関わらず、第1熱媒の温度が上限温度huを超えたら三方弁42、49を第1弁位置に切り替え、第1熱媒の熱を低温ラジエータ41で放出しなければならない。オイルポンプ44の出力を徐々に下げることで、第1熱媒の温度上昇率が下がり、周期s1の途中で三方弁42、49を切り替える必要がなくなる。すなわち、三方弁42、49の切り替え頻度が高くならない。
なお、オイルの温度が上限値оuを超えている場合や、モータ55の温度が閾値を超えている場合等、オイルの冷却を優先すべき場合には、コントローラ80は、オイルポンプ44の出力を下げないでよい。
周期s1が経過すると(時刻ts)、コントローラ80は、三方弁42、49を第1弁位置に切り替える。三方弁の切り替えにより、第1流路11の第1熱媒が低温ラジエータ41に流入し、第1熱媒の熱が外気に放出される。その結果、図5(A)に示されるように、時刻ts以降は第1熱媒の温度が低下する。第1熱媒の温度が下がるので、図5(B)に示されるように、オイルの温度も低下する。コントローラ80は、その後、保持時間dsが経過すると(時刻t7)、三方弁42、49を第2弁位置に戻すとともに、オイルポンプ44を停止する。時刻t7以降、第1流路11内の第1熱媒とオイルの温度が再び上昇する。コントローラ80は、周期s1ごとに三方弁42、49を第2弁位置から第1弁位置に切り替える。
時刻t8で再びオイルの温度が第1熱媒の温度を超える。時刻t5から時刻t7における処理が、時刻t8から時刻t10でも繰り返される。第1流路11の第1熱媒が低温ラジエータ41に周期s1で繰り返し流れ、着霜が防止される。
なお、コントローラ80は、保持時間dsが経過する前にオイルの温度が第2下限値を下回った場合は、オイルポンプ44を停止してもよい。オイルの温度が低下しすぎるのを防止することができる。また、周期s1および保持時間dsは、ポンプ48およびオイルポンプ44の能力、オイルおよび第1流路11の第1熱媒の設定温度等の条件によって異なる。例えば、モータ55の温度がオイルの温度に対して明らかに高い場合には、周期s1を短くして第1弁位置への切り替え頻度を上げることで、オイルポンプの出力を下げてもよい。
実施例で説明した技術に関する留意点を述べる。SPU36、PCU47が「電力変換器」の一例であり、SPU冷却器46cとPCU冷却器47cが「変換器冷却器」の一例である。低温ラジエータ41が「第1熱交換器」の一例であり、チラー52が「第2熱交換器」の一例である。上述の実施形態では、三方弁42、49が「流路弁」を構成する。
上述した実施例の変形例を以下に列挙する。
(第1変形例)上述した第1実施例では、ヒートポンプモードを実行している場合のコントローラ80の制御について記載しているが、熱管理システム100は、図1の構成に限られない。例えば、第2熱交換器は、第2熱媒から第1熱媒へ伝熱するデバイスであってもよい。コントローラ80は、三方弁42、49を第2弁位置に保持し、第2流路12を低温ラジエータ41に接続し、第2熱媒の熱を第1熱媒を介して低温ラジエータ41から放出する。コントローラ80は、三方弁42、49を第1弁位置に切り替えるとともにオイルポンプ44を駆動する。オイルの熱を吸収した第1熱媒が低温ラジエータ41で冷却される。オイルの熱が効果的に外気へ放出される。
(第2変形例)第1実施例では、コントローラ80は、第1熱媒の低温ラジエータ41の入口41iと出口41oの温度差が温度差閾値を下回った場合に、低温ラジエータ41に着霜のリスクがあると判定する。コントローラ80は、着霜のリスクがあると判定した場合に、三方弁42、49を第2弁位置から第1弁位置に切り替えるとともにオイルポンプ44を作動させる。第2変形例では、コントローラ80は、例えば、低温ラジエータ41を通過する外気の風速によって着霜を判定してもよい。
(第3変形例)上述した実施例では、コントローラ80は、ヒートポンプモードのときに第2下限値оd2を下回ったらオイルポンプ44の作動を停止する。第3変形例では、これに代えて、第1熱媒の温度が下限値を下回ったときにオイルポンプ44の作動を停止してもよい。
(第4変形例)上述した実施例では、2個の三方弁42、49を用いて第1熱媒の流れを制御しているが、これに限定されない。例えば、バッテリ流路14を備えていない熱管理システムでは、三方弁49に代えて、第2流路12を低温ラジエータ41から遮断する止め弁が設けられてもよい。
以上、本発明の具体例を詳細に説明したが、これらは例示に過ぎず、特許請求の範囲を限定するものではない。特許請求の範囲に記載の技術には、以上に例示した具体例を様々に変形、変更したものが含まれる。本明細書または図面に説明した技術要素は、単独であるいは各種の組合せによって技術的有用性を発揮するものであり、出願時請求項記載の組合せに限定されるものではない。また、本明細書または図面に例示した技術は複数目的を同時に達成し得るものであり、そのうちの一つの目的を達成すること自体で技術的有用性を持つものである。
10 :第1熱回路
11 :第1流路
12 :第2流路
13 :バイパス流路
14 :バッテリ流路
15 :温度センサ
20 :第2熱回路
22、32:循環路
30 :第3熱回路
41 :低温ラジエータ
41i :入口
41о :出口
42、49、65、73:三方弁
43 :トランスアクスル
44 :オイルポンプ
45 :オイルクーラ
46 :SPU
46c :SPU冷却器
47 :PCU
47c :PCU冷却器
48、53、72:ポンプ
50 :ヒータ
51 :バッテリ
52 :チラー
55 :モータ
61、64:膨張弁
63 :エバポレータ
66 :コンプレッサ
67 :コンデンサ
68 :モジュレータ
71 :電気ヒータ
74 :ヒータコア
75 :高温ラジエータ
80 :コントローラ
100 :熱管理システム

Claims (5)

  1. 電気自動車用の熱管理システムであり、
    走行用のモータを冷却するオイルを第1熱媒で冷却するオイルクーラと、
    前記オイルクーラと前記モータの間でオイルを循環させるオイルポンプと、
    前記モータに電力を供給する電力変換器を前記第1熱媒で冷却する変換器冷却器と、
    前記第1熱媒と外気の間で熱を交換する第1熱交換器と、
    車室空調器の第2熱媒と前記第1熱媒との間で熱を交換する第2熱交換器と、
    前記第1熱媒が流れる流路であって、前記オイルクーラと前記変換器冷却器を通過しているとともに、前記第1熱交換器の入口と出口に接続している第1流路と、
    前記第1熱媒が流れる流路であって、前記第2熱交換器を通過しているとともに、前記第1熱交換器の前記入口と前記出口に接続している第2流路と、
    前記第1流路を前記第1熱交換器に接続するとともに前記第2流路から前記第1熱交換器への前記第1熱媒の流れを遮断する第1弁位置と、前記第2流路を前記第1熱交換器に接続するとともに前記第1流路から前記第1熱交換器への前記第1熱媒の流れを遮断する第2弁位置を選択可能な流路弁と、
    前記第2弁位置が選択されているときに前記第1熱交換器をバイパスして前記オイルクーラと前記変換器冷却器の間で前記第1熱媒を循環させるバイパス流路と、
    前記流路弁と前記オイルポンプを制御するコントローラと、
    を備えており、
    前記コントローラは、
    前記流路弁に前記第2弁位置を選択させ、前記第1熱交換器にて前記外気から前記第1熱媒へ伝熱し、前記第2熱交換器で前記第1熱媒から前記第2熱媒へ伝熱するヒートポンプモードを実行可能であり、
    前記ヒートポンプモードを実行中に、所定の周期で前記流路弁を前記第2弁位置から前記第1弁位置に切り替えるとともに前記オイルポンプを作動させ、所定の保持時間が経過したら前記流路弁を前記第1弁位置から前記第2弁位置に切り替えるとともに前記オイルポンプを停止する、熱管理システム。
  2. 前記コントローラは、前記ヒートポンプモードを実行中であって前記流路弁を前記第2弁位置に保持しているときに前記オイルの温度が前記第1流路内の前記第1熱媒の温度よりも高くなった場合に前記オイルポンプを作動させる、請求項1に記載の熱管理システム。
  3. 前記コントローラは、前記ヒートポンプモードを実行中であって前記流路弁を前記第2弁位置に保持しているときに前記第1流路内の前記第1熱媒の温度が所定の上限温度を超えた場合、前記所定の周期に関わらずに、前記流路弁を前記第2弁位置から前記第1弁位置に切り替えるとともに前記オイルポンプを作動させる、請求項1または2に記載の熱管理システム。
  4. 前記コントローラは、前記保持時間が経過する前に前記オイルポンプの出力を徐々に低下させ、前記保持時間が経過したときに前記オイルポンプを停止する、請求項1から3のいずれか1項に記載の熱管理システム。
  5. 前記コントローラは、
    前記ヒートポンプモードを実行していないときには前記オイルの温度(オイル温度)が第1下限値を下回ったら前記オイルポンプを停止し、
    前記ヒートポンプモードを実行中は前記オイル温度が前記第1下限値よりも低い第2下限値を下回ったら前記オイルポンプを停止する、請求項1から4のいずれか1項に記載の熱管理システム。
JP2020050189A 2020-03-19 2020-03-19 電気自動車用の熱管理システム Active JP7201633B2 (ja)

Priority Applications (3)

Application Number Priority Date Filing Date Title
JP2020050189A JP7201633B2 (ja) 2020-03-19 2020-03-19 電気自動車用の熱管理システム
US17/178,007 US11575296B2 (en) 2020-03-19 2021-02-17 Heat management system for electric vehicle
CN202110288411.5A CN113492643B (zh) 2020-03-19 2021-03-18 电动汽车用的热管理系统

Applications Claiming Priority (1)

Application Number Priority Date Filing Date Title
JP2020050189A JP7201633B2 (ja) 2020-03-19 2020-03-19 電気自動車用の熱管理システム

Publications (2)

Publication Number Publication Date
JP2021146948A JP2021146948A (ja) 2021-09-27
JP7201633B2 true JP7201633B2 (ja) 2023-01-10

Family

ID=77746748

Family Applications (1)

Application Number Title Priority Date Filing Date
JP2020050189A Active JP7201633B2 (ja) 2020-03-19 2020-03-19 電気自動車用の熱管理システム

Country Status (3)

Country Link
US (1) US11575296B2 (ja)
JP (1) JP7201633B2 (ja)
CN (1) CN113492643B (ja)

Families Citing this family (6)

* Cited by examiner, † Cited by third party
Publication number Priority date Publication date Assignee Title
US11506306B2 (en) * 2019-09-17 2022-11-22 Ford Global Technologies, Llc Thermal management system for electrified vehicle
JP7529615B2 (ja) * 2021-05-24 2024-08-06 トヨタ自動車株式会社 電気自動車用の熱管理システム
US20240123868A1 (en) * 2022-10-17 2024-04-18 Ford Global Technologies, Llc Thermal management system for electrified vehicle that provides battery and cabin heating off plug
JP2024127446A (ja) * 2023-03-09 2024-09-20 トヨタ自動車株式会社 熱管理システム
JP2024127449A (ja) * 2023-03-09 2024-09-20 トヨタ自動車株式会社 熱管理システム
DE102024113517A1 (de) 2024-05-15 2025-11-20 Bayerische Motoren Werke Aktiengesellschaft Verfahren zum Betreiben einer Antriebseinrichtung eines Kraftfahrzeugs sowie Kraftfahrzeug

Citations (5)

* Cited by examiner, † Cited by third party
Publication number Priority date Publication date Assignee Title
US20130175022A1 (en) 2010-09-23 2013-07-11 Jonathan King Thermal management system for battery electric vehicle
JP2013256222A (ja) 2012-06-13 2013-12-26 Toyota Motor Corp 車両用熱交換システム
JP2019047548A (ja) 2017-08-30 2019-03-22 ダイムラー・アクチェンゲゼルシャフトDaimler AG 車両用温度管理装置
JP2019189083A (ja) 2018-04-26 2019-10-31 株式会社デンソー 冷却装置
JP2019213337A (ja) 2018-06-04 2019-12-12 株式会社デンソー 冷却システム

Family Cites Families (16)

* Cited by examiner, † Cited by third party
Publication number Priority date Publication date Assignee Title
JP6060797B2 (ja) * 2012-05-24 2017-01-18 株式会社デンソー 車両用熱管理システム
CN203372029U (zh) * 2012-07-02 2014-01-01 福特环球技术公司 电动车用加热和冷却循环系统
JP6065481B2 (ja) * 2012-09-14 2017-01-25 日産自動車株式会社 車両用空調装置
CN102941791B (zh) * 2012-11-08 2014-12-03 上海汽车集团股份有限公司 电动车综合热循环系统
JP5962556B2 (ja) * 2013-03-19 2016-08-03 株式会社デンソー 車両用熱管理システム
JP2015186989A (ja) * 2014-03-12 2015-10-29 カルソニックカンセイ株式会社 車載温調装置、車両用空調装置及びバッテリ温調装置
US9731578B2 (en) * 2014-10-21 2017-08-15 Atieva, Inc. EV multi-mode thermal management system
JP6311622B2 (ja) * 2015-02-04 2018-04-18 トヨタ自動車株式会社 車両の熱管理システム
DE102015220623B4 (de) * 2015-10-22 2022-01-27 Bayerische Motoren Werke Aktiengesellschaft Wärmesystem für ein Elektro- oder Hybridfahrzeug
JP6558353B2 (ja) * 2016-12-06 2019-08-14 トヨタ自動車株式会社 車両
US10486494B2 (en) * 2017-04-27 2019-11-26 Ford Global Technologies, Llc Vehicle heating and cooling system and control method
JP6838527B2 (ja) * 2017-08-31 2021-03-03 株式会社デンソー 車両用空調装置
KR102496797B1 (ko) * 2017-12-11 2023-02-06 현대자동차 주식회사 차량용 히트 펌프 시스템
JP7024413B2 (ja) 2018-01-09 2022-02-24 株式会社デンソー 熱管理システム
US11072259B2 (en) * 2018-03-29 2021-07-27 GM Global Technology Operations LLC Vehicle thermal systems low to high quality energy management, storage, recovery, and optimization
CN209126464U (zh) * 2018-08-02 2019-07-19 威马智慧出行科技(上海)有限公司 集成式电动汽车热泵空调系统

Patent Citations (5)

* Cited by examiner, † Cited by third party
Publication number Priority date Publication date Assignee Title
US20130175022A1 (en) 2010-09-23 2013-07-11 Jonathan King Thermal management system for battery electric vehicle
JP2013256222A (ja) 2012-06-13 2013-12-26 Toyota Motor Corp 車両用熱交換システム
JP2019047548A (ja) 2017-08-30 2019-03-22 ダイムラー・アクチェンゲゼルシャフトDaimler AG 車両用温度管理装置
JP2019189083A (ja) 2018-04-26 2019-10-31 株式会社デンソー 冷却装置
JP2019213337A (ja) 2018-06-04 2019-12-12 株式会社デンソー 冷却システム

Also Published As

Publication number Publication date
CN113492643A (zh) 2021-10-12
JP2021146948A (ja) 2021-09-27
US20210296964A1 (en) 2021-09-23
US11575296B2 (en) 2023-02-07
CN113492643B (zh) 2024-03-01

Similar Documents

Publication Publication Date Title
JP7201633B2 (ja) 電気自動車用の熱管理システム
JP7239517B2 (ja) 電気自動車用の熱管理システム
CN111716987B (zh) 热系统、电动或混合动力车辆及用于运行热系统的方法
JP5403766B2 (ja) 車両冷却システム
CN108284725B (zh) 新能源汽车分布式驱动智能化热管理系统
CN204987545U (zh) 三环路温度控制系统
CN107323285B (zh) 电动车辆热管理系统
US10589596B2 (en) Thermal management for an electric or hybrid vehicle and a method for air-conditioning the interior of such a motor vehicle
JP7115452B2 (ja) 冷却システム
CN107848364A (zh) 用于对车辆进行空气调节的控制系统
US11745561B2 (en) Heat management device
CN103582580A (zh) 车辆热控制装置
JP7543980B2 (ja) 車載温調システム
KR20160135333A (ko) 거리-연장형 전기버스의 순환 시스템
JP2009291008A (ja) 電気駆動自動車の熱管理システム
JP2022180155A (ja) 電気自動車の熱管理システム
US11607925B2 (en) Method for a thermal management of a motor vehicle
US11897315B2 (en) Thermal management system for battery electric vehicle
EP3350004B1 (en) A cooling arrangement for an electric power unit in a vehicle
CN116691293A (zh) 汽车热管理系统及汽车
WO2025017810A1 (ja) 熱管理システム
KR101250278B1 (ko) 자동차의 보조 냉난방 장치용 열전소자 모듈장치
CN118528716A (zh) 热管理系统和车辆

Legal Events

Date Code Title Description
A621 Written request for application examination

Free format text: JAPANESE INTERMEDIATE CODE: A621

Effective date: 20220303

A977 Report on retrieval

Free format text: JAPANESE INTERMEDIATE CODE: A971007

Effective date: 20221031

TRDD Decision of grant or rejection written
A01 Written decision to grant a patent or to grant a registration (utility model)

Free format text: JAPANESE INTERMEDIATE CODE: A01

Effective date: 20221206

A61 First payment of annual fees (during grant procedure)

Free format text: JAPANESE INTERMEDIATE CODE: A61

Effective date: 20221222

R151 Written notification of patent or utility model registration

Ref document number: 7201633

Country of ref document: JP

Free format text: JAPANESE INTERMEDIATE CODE: R151

R250 Receipt of annual fees

Free format text: JAPANESE INTERMEDIATE CODE: R250