JP7119140B2 - 家具用金具 - Google Patents

家具用金具 Download PDF

Info

Publication number
JP7119140B2
JP7119140B2 JP2020573189A JP2020573189A JP7119140B2 JP 7119140 B2 JP7119140 B2 JP 7119140B2 JP 2020573189 A JP2020573189 A JP 2020573189A JP 2020573189 A JP2020573189 A JP 2020573189A JP 7119140 B2 JP7119140 B2 JP 7119140B2
Authority
JP
Japan
Prior art keywords
furniture
fitting
plate
assembly
mounting
Prior art date
Legal status (The legal status is an assumption and is not a legal conclusion. Google has not performed a legal analysis and makes no representation as to the accuracy of the status listed.)
Active
Application number
JP2020573189A
Other languages
English (en)
Other versions
JP2021529274A (ja
Inventor
フォーリエ トーマス
デュア シュテファン
Current Assignee (The listed assignees may be inaccurate. Google has not performed a legal analysis and makes no representation or warranty as to the accuracy of the list.)
Julius Blum GmbH
Original Assignee
Julius Blum GmbH
Priority date (The priority date is an assumption and is not a legal conclusion. Google has not performed a legal analysis and makes no representation as to the accuracy of the date listed.)
Filing date
Publication date
Application filed by Julius Blum GmbH filed Critical Julius Blum GmbH
Publication of JP2021529274A publication Critical patent/JP2021529274A/ja
Application granted granted Critical
Publication of JP7119140B2 publication Critical patent/JP7119140B2/ja
Active legal-status Critical Current
Anticipated expiration legal-status Critical

Links

Images

Classifications

    • EFIXED CONSTRUCTIONS
    • E05LOCKS; KEYS; WINDOW OR DOOR FITTINGS; SAFES
    • E05FDEVICES FOR MOVING WINGS INTO OPEN OR CLOSED POSITION; CHECKS FOR WINGS; WING FITTINGS NOT OTHERWISE PROVIDED FOR, CONCERNED WITH THE FUNCTIONING OF THE WING
    • E05F5/00Braking devices, e.g. checks; Stops; Buffers
    • E05F5/006Braking devices, e.g. checks; Stops; Buffers for hinges having a cup-shaped fixing part, e.g. for attachment to cabinets or furniture
    • EFIXED CONSTRUCTIONS
    • E05LOCKS; KEYS; WINDOW OR DOOR FITTINGS; SAFES
    • E05DHINGES OR SUSPENSION DEVICES FOR DOORS, WINDOWS OR WINGS
    • E05D7/00Hinges or pivots of special construction
    • E05D7/12Hinges or pivots of special construction to allow easy detachment of the hinge from the wing or the frame
    • E05D7/123Hinges or pivots of special construction to allow easy detachment of the hinge from the wing or the frame specially adapted for cabinets or furniture
    • EFIXED CONSTRUCTIONS
    • E05LOCKS; KEYS; WINDOW OR DOOR FITTINGS; SAFES
    • E05DHINGES OR SUSPENSION DEVICES FOR DOORS, WINDOWS OR WINGS
    • E05D3/00Hinges with pins
    • E05D3/06Hinges with pins with two or more pins
    • E05D3/14Hinges with pins with two or more pins with four parallel pins and two arms
    • EFIXED CONSTRUCTIONS
    • E05LOCKS; KEYS; WINDOW OR DOOR FITTINGS; SAFES
    • E05DHINGES OR SUSPENSION DEVICES FOR DOORS, WINDOWS OR WINGS
    • E05D3/00Hinges with pins
    • E05D3/06Hinges with pins with two or more pins
    • E05D3/14Hinges with pins with two or more pins with four parallel pins and two arms
    • E05D3/142Hinges with pins with two or more pins with four parallel pins and two arms with at least one of the hinge parts having a cup-shaped fixing part, e.g. for attachment to cabinets or furniture
    • EFIXED CONSTRUCTIONS
    • E05LOCKS; KEYS; WINDOW OR DOOR FITTINGS; SAFES
    • E05DHINGES OR SUSPENSION DEVICES FOR DOORS, WINDOWS OR WINGS
    • E05D7/00Hinges or pivots of special construction
    • E05D7/12Hinges or pivots of special construction to allow easy detachment of the hinge from the wing or the frame
    • E05D7/123Hinges or pivots of special construction to allow easy detachment of the hinge from the wing or the frame specially adapted for cabinets or furniture
    • E05D7/125Hinges or pivots of special construction to allow easy detachment of the hinge from the wing or the frame specially adapted for cabinets or furniture the hinge having two or more pins
    • EFIXED CONSTRUCTIONS
    • E05LOCKS; KEYS; WINDOW OR DOOR FITTINGS; SAFES
    • E05FDEVICES FOR MOVING WINGS INTO OPEN OR CLOSED POSITION; CHECKS FOR WINGS; WING FITTINGS NOT OTHERWISE PROVIDED FOR, CONCERNED WITH THE FUNCTIONING OF THE WING
    • E05F1/00Closers or openers for wings, not otherwise provided for in this subclass
    • E05F1/08Closers or openers for wings, not otherwise provided for in this subclass spring-actuated, e.g. for horizontally sliding wings
    • E05F1/10Closers or openers for wings, not otherwise provided for in this subclass spring-actuated, e.g. for horizontally sliding wings for swinging wings, e.g. counterbalance
    • E05F1/12Mechanisms in the shape of hinges or pivots, operated by springs
    • EFIXED CONSTRUCTIONS
    • E05LOCKS; KEYS; WINDOW OR DOOR FITTINGS; SAFES
    • E05FDEVICES FOR MOVING WINGS INTO OPEN OR CLOSED POSITION; CHECKS FOR WINGS; WING FITTINGS NOT OTHERWISE PROVIDED FOR, CONCERNED WITH THE FUNCTIONING OF THE WING
    • E05F1/00Closers or openers for wings, not otherwise provided for in this subclass
    • E05F1/08Closers or openers for wings, not otherwise provided for in this subclass spring-actuated, e.g. for horizontally sliding wings
    • E05F1/10Closers or openers for wings, not otherwise provided for in this subclass spring-actuated, e.g. for horizontally sliding wings for swinging wings, e.g. counterbalance
    • E05F1/12Mechanisms in the shape of hinges or pivots, operated by springs
    • E05F1/1246Mechanisms in the shape of hinges or pivots, operated by springs with a coil spring perpendicular to the pivot axis
    • E05F1/1253Mechanisms in the shape of hinges or pivots, operated by springs with a coil spring perpendicular to the pivot axis with a compression spring
    • EFIXED CONSTRUCTIONS
    • E05LOCKS; KEYS; WINDOW OR DOOR FITTINGS; SAFES
    • E05FDEVICES FOR MOVING WINGS INTO OPEN OR CLOSED POSITION; CHECKS FOR WINGS; WING FITTINGS NOT OTHERWISE PROVIDED FOR, CONCERNED WITH THE FUNCTIONING OF THE WING
    • E05F3/00Closers or openers with braking devices, e.g. checks; Construction of pneumatic or liquid braking devices
    • E05F3/20Closers or openers with braking devices, e.g. checks; Construction of pneumatic or liquid braking devices in hinges
    • EFIXED CONSTRUCTIONS
    • E05LOCKS; KEYS; WINDOW OR DOOR FITTINGS; SAFES
    • E05FDEVICES FOR MOVING WINGS INTO OPEN OR CLOSED POSITION; CHECKS FOR WINGS; WING FITTINGS NOT OTHERWISE PROVIDED FOR, CONCERNED WITH THE FUNCTIONING OF THE WING
    • E05F5/00Braking devices, e.g. checks; Stops; Buffers
    • E05F5/06Buffers or stops limiting opening of swinging wings, e.g. floor or wall stops
    • E05F5/10Buffers or stops limiting opening of swinging wings, e.g. floor or wall stops with piston brakes
    • EFIXED CONSTRUCTIONS
    • E05LOCKS; KEYS; WINDOW OR DOOR FITTINGS; SAFES
    • E05YINDEXING SCHEME ASSOCIATED WITH SUBCLASSES E05D AND E05F, RELATING TO CONSTRUCTION ELEMENTS, ELECTRIC CONTROL, POWER SUPPLY, POWER SIGNAL OR TRANSMISSION, USER INTERFACES, MOUNTING OR COUPLING, DETAILS, ACCESSORIES, AUXILIARY OPERATIONS NOT OTHERWISE PROVIDED FOR, APPLICATION THEREOF
    • E05Y2201/00Constructional elements; Accessories therefor
    • E05Y2201/60Suspension or transmission members; Accessories therefor
    • E05Y2201/622Suspension or transmission members elements
    • E05Y2201/624Arms
    • E05Y2201/626Levers
    • EFIXED CONSTRUCTIONS
    • E05LOCKS; KEYS; WINDOW OR DOOR FITTINGS; SAFES
    • E05YINDEXING SCHEME ASSOCIATED WITH SUBCLASSES E05D AND E05F, RELATING TO CONSTRUCTION ELEMENTS, ELECTRIC CONTROL, POWER SUPPLY, POWER SIGNAL OR TRANSMISSION, USER INTERFACES, MOUNTING OR COUPLING, DETAILS, ACCESSORIES, AUXILIARY OPERATIONS NOT OTHERWISE PROVIDED FOR, APPLICATION THEREOF
    • E05Y2600/00Mounting or coupling arrangements for elements provided for in this subclass
    • E05Y2600/10Adjustable
    • E05Y2600/12Adjustable by manual operation
    • EFIXED CONSTRUCTIONS
    • E05LOCKS; KEYS; WINDOW OR DOOR FITTINGS; SAFES
    • E05YINDEXING SCHEME ASSOCIATED WITH SUBCLASSES E05D AND E05F, RELATING TO CONSTRUCTION ELEMENTS, ELECTRIC CONTROL, POWER SUPPLY, POWER SIGNAL OR TRANSMISSION, USER INTERFACES, MOUNTING OR COUPLING, DETAILS, ACCESSORIES, AUXILIARY OPERATIONS NOT OTHERWISE PROVIDED FOR, APPLICATION THEREOF
    • E05Y2600/00Mounting or coupling arrangements for elements provided for in this subclass
    • E05Y2600/10Adjustable
    • E05Y2600/14Adjustable with position retaining means
    • EFIXED CONSTRUCTIONS
    • E05LOCKS; KEYS; WINDOW OR DOOR FITTINGS; SAFES
    • E05YINDEXING SCHEME ASSOCIATED WITH SUBCLASSES E05D AND E05F, RELATING TO CONSTRUCTION ELEMENTS, ELECTRIC CONTROL, POWER SUPPLY, POWER SIGNAL OR TRANSMISSION, USER INTERFACES, MOUNTING OR COUPLING, DETAILS, ACCESSORIES, AUXILIARY OPERATIONS NOT OTHERWISE PROVIDED FOR, APPLICATION THEREOF
    • E05Y2600/00Mounting or coupling arrangements for elements provided for in this subclass
    • E05Y2600/40Mounting location; Visibility of the elements
    • E05Y2600/41Concealed
    • EFIXED CONSTRUCTIONS
    • E05LOCKS; KEYS; WINDOW OR DOOR FITTINGS; SAFES
    • E05YINDEXING SCHEME ASSOCIATED WITH SUBCLASSES E05D AND E05F, RELATING TO CONSTRUCTION ELEMENTS, ELECTRIC CONTROL, POWER SUPPLY, POWER SIGNAL OR TRANSMISSION, USER INTERFACES, MOUNTING OR COUPLING, DETAILS, ACCESSORIES, AUXILIARY OPERATIONS NOT OTHERWISE PROVIDED FOR, APPLICATION THEREOF
    • E05Y2600/00Mounting or coupling arrangements for elements provided for in this subclass
    • E05Y2600/50Mounting methods; Positioning
    • E05Y2600/52Toolless
    • E05Y2600/528Hooking, e.g. using bayonets; Locking
    • EFIXED CONSTRUCTIONS
    • E05LOCKS; KEYS; WINDOW OR DOOR FITTINGS; SAFES
    • E05YINDEXING SCHEME ASSOCIATED WITH SUBCLASSES E05D AND E05F, RELATING TO CONSTRUCTION ELEMENTS, ELECTRIC CONTROL, POWER SUPPLY, POWER SIGNAL OR TRANSMISSION, USER INTERFACES, MOUNTING OR COUPLING, DETAILS, ACCESSORIES, AUXILIARY OPERATIONS NOT OTHERWISE PROVIDED FOR, APPLICATION THEREOF
    • E05Y2600/00Mounting or coupling arrangements for elements provided for in this subclass
    • E05Y2600/50Mounting methods; Positioning
    • E05Y2600/52Toolless
    • E05Y2600/53Snapping
    • EFIXED CONSTRUCTIONS
    • E05LOCKS; KEYS; WINDOW OR DOOR FITTINGS; SAFES
    • E05YINDEXING SCHEME ASSOCIATED WITH SUBCLASSES E05D AND E05F, RELATING TO CONSTRUCTION ELEMENTS, ELECTRIC CONTROL, POWER SUPPLY, POWER SIGNAL OR TRANSMISSION, USER INTERFACES, MOUNTING OR COUPLING, DETAILS, ACCESSORIES, AUXILIARY OPERATIONS NOT OTHERWISE PROVIDED FOR, APPLICATION THEREOF
    • E05Y2900/00Application of doors, windows, wings or fittings thereof
    • E05Y2900/20Application of doors, windows, wings or fittings thereof for furniture, e.g. cabinets

Landscapes

  • Engineering & Computer Science (AREA)
  • Mechanical Engineering (AREA)
  • Hinges (AREA)
  • Closing And Opening Devices For Wings, And Checks For Wings (AREA)
  • Supports Or Holders For Household Use (AREA)

Description

本発明は、家具本体に対して相対的に可動に支持される家具部分を可動に支持するための家具用金具に関し、この家具用金具は、
・好適には実質的に水平方向に配向される、家具本体の家具プレートに固定されるように構成されている第1の金具部分と、
・可動に支持される家具部分に固定するための第2の金具部分であって、旋回可能に第1の金具部分に結合されている第2の金具部分と、を有し、
・第1の金具部分は、少なくとも1つの固定装置を備えた組付け部分を有し、この固定装置により、組付け部分は、家具プレートに組み付け可能であり、第1の金具部分は、第2の金具部分に枢着結合される少なくとも1つの連結部分を有し、この連結部分は、着脱可能に組付け部分に結合可能であり、
・第1の金具部分の組付け部分は、好適にはポケット状のハウジングを有し、連結部分は、組付け部分との結合状態において大部分が、組付け部分のハウジング内に収容されている。
本発明はさらに、家具本体と可動の家具部分とを有する家具に関し、この家具部分は、ここで説明される形式の少なくとも1つの家具用金具によって家具本体に対して相対的に旋回可能に支持されている。
国際公開第2の016/174071号には図9に、ドアを旋回可能に支持する家具ヒンジが示されており、家具ヒンジの第1の金具部分は、家具本体の家具プレートの、長孔形状の切欠きに埋め込まれている。家具ヒンジの第2の金具部分も同様に、可動の家具部分の長孔形状の切欠きに収容されている。
欧州特許出願公開第0881348号明細書には、ヒンジ金具が示されており、このヒンジ金具は、ドアに固定するためのドア側の当接部分と、この当接部分に枢着結合されておりかつ家具本体に固定するための本体側の当接部分とを有する。ドア側の当接部分は、家具本体に固定される支持部分を有し、この支持部分は、ねじ止めによってヒンジ金具の連結部分に着脱可能に結合可能である。
国際公開第2の016/090391号には、本体側の当接部分を有する家具ヒンジが示されており、この当接部分は、ばね付勢されるラッチレバーにより、家具本体に事前に組み付けられた(しかしながら図示されていない)組付けプレートに着脱可能に係止可能である。
可動の家具部分を家具本体に組み付ける際には、家具用金具は一般にまず、可動の家具部分に事前に組み付けられ、引き続いて、可動の家具部分と、これに事前に組み付けられた家具用金具とが家具本体に近づけられ、設けられている家具プレートの切欠きへの第1の金具部分の挿入が試みられる。この点において、組み付けの際にさまざまな困難が発生する。というのは、可動の家具部分は、実施に応じてかなりの重量を有し得るからであり、かつ家具プレートの切欠きは、第1の金具部分の形状および大きさに正確に調整されていなければならないからである。すなわち、家具プレートの切欠きへの第1の金具部分の挿入には、時間的なコストと、骨の折れる手動の作業プロセスとが大いに結び付いている。
特開2008-25270号公報には、第1の組付けステップにおいて家具部分に固定されるヒンジハウジングを備えた家具ヒンジが示されている。後続の組付けステップでは、調整ブロックが、事前に組み付けられたヒンジハウジングの中空室に挿入され、ねじ止めによってヒンジハウジングに結合される。
本発明の課題は、上で論じた欠点を回避して、冒頭に述べた形式の家具用金具を提供することである。
この課題は、本発明により、請求項1の特徴的構成によって解決される。本発明の別の有利な実施形態は、従属請求項に示されている。
本発明によれば、連結部分は、少なくとも1つのロック装置により、組付け部分に着脱可能に結合可能であり、少なくとも1つのロック装置は、連結部分を着脱可能にロックするために、可動に支持されておりかつ少なくとも1つの蓄力器によって付勢される少なくとも1つのロック要素を有するように構成される。
ロック装置の特徴的構成は、特開2008-25270号公報によって想到可能な手段でもない。というのは、当業者にとっては、家具部分に埋め込まれるヒンジハウジングにおいて、連結部分との着脱可能なロックのためのロック要素をどこに配置しなければならないかがまったく不明であるからである。
家具用金具の本体側の第1の金具部分は、少なくとも2つの部分で構成されておりかつ組付け部分を有し、この組付け部分は、第1の組付けステップにおいて、少なくとも1つの固定装置により、好適には実質的に水平方向に延在する、家具本体の家具プレートに、またはこの家具プレート内に固定可能である。さらに、第2の金具部分に枢着結合される連結部分が設けられており、この連結部分は、第2の組付けステップにおいて、(組付け部分とは独立してかつ別個に)可動の家具部分に固定可能である。組付け部分および連結部分を事前に組み付けた後、これらは、第3の組付けステップにおいて、ロック装置によって互いに着脱可能に結合することができ、すなわち自動で互いにロックされる。
本発明によれば、第1の金具部分の組付け部分は、家具プレートの切欠きに挿入可能であり、これにより、この組付け部分が、家具プレートに組み付けられた状態において、大部分が、好適には実質的に完全に家具プレートの切欠き内に収容されるように構成される。これにより、コンパクトかつ視覚的に目立たない、家具本体における組付け部分の配置が行われる。
本発明による家具は、この家具が、好適には実質的に水平方向に配向されている家具プレート(例えば底部プレート、天井プレート、底部プレートと天井プレートとの間に配置される仕切りプレート)、または垂直方向に延在する側壁を備えた家具本体を有することによって特徴づけられており、組付け部分は、家具プレートに支持されており、好適には、組付け部分は、組付け状態において大部分が、家具プレートの切欠き内に収容されているように構成されている。
家具本体の家具プレートは、一般に、あらかじめ設定された材料厚さ(例えば16mmまたは19mm)を有する。第1の金具部分の組付け部分は、好ましい一実施形態において、あらかじめ定められた家具プレートの材料厚さ内に収容可能である。この組付け部分は、高さ方向延在長さおよび長手方向延在長さを有することができ、組付け部分の長手方向延在長さは、組付け部分の高さ方向延在長さの少なくとも3倍、好適には少なくとも6倍大きい。
家具用金具は、例えば、家具ヒンジとして構成されていてよい。しかしながら、家具本体における組付け状態において、水平方向に延在する軸線の周りに旋回可能に支持されている家具フラップ用の家具駆動部として家具用金具を構成することも可能である。
図面に示した実施例に基づき、本発明のさらなる詳細および利点を説明する。
図1aおよび図1bは、家具および(組付け部分を有しない)家具用金具を示す斜視図である。 図2a~図2cは、家具本体における可動の家具部分の組み付けを示す概略平面図である。 図3a~図3cは、組付け部分における連結部分の組み付けの時間的な順序を種々異なる断面図で示す図である。 図4aおよび図4bは、組付け部分における連結部分の組み付けの、図3に続く時間的な順序を種々異なる断面図で示す図である。
図1aには、部分的にのみ示された家具本体2を有する家具1の斜視図が示されており、ここでは、好適にはドアまたは家具フラップの形態の可動の家具部分3が、家具用金具4により、家具本体2に対して相対的に、好適には組付け状態において垂直方向に延在する軸線14の周りに旋回可能に支持されている。家具本体2は、垂直方向に延在する側壁2aと、水平方向に延在する家具プレート2b(好適には天井プレート、底部プレート、または天井プレートと底部プレートとの間に配置される仕切りプレート)とを有し、家具用金具4の第1の金具部分5は、家具プレート2bに、または家具プレート2b内に支持されている。当然のことながら、垂直方向に延在する側壁2aに家具用金具4を固定して、これにより、可動の家具部分3が、組付け状態において、家具本体2に対して相対的に、水平方向に延在する軸線14の周りに旋回可能に支持されることも可能である。
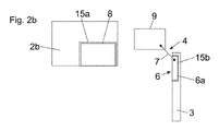
図示された実施例では、第1の金具部分5が、家具プレート2bの第1の切欠き15a(図2a)内に実質的に完全に収容されるのに対し、家具用金具4の第2の金具部分6は、可動の家具部分3の第2の切欠き15b(図2b)内に実質的に完全に収容されるように構成されている。
図1bには、(組付け部分8を有しない)家具用金具4が斜視図で示されている。第1の金具部分5は、少なくとも2つの部分から構成されておりかつ家具プレート2bに、または家具プレート2b内に事前に組み付け可能な組付け部分8(図3a)を有し、組付け部分8は、連結部分9を少なくとも部分的に収容するために、好適にはポケット状に構成されたハウジング8aを備えており、組付け部分8と連結部分9とは着脱可能に互いに結合可能である。組付け部分8は、第1の組付けステップにおいて、家具プレート2bに、または家具プレート2b内に組み付けられる。連結部分9は、少なくとも1つのジョイントレバー7を介して第2の金具部分6に旋回可能に結合されており、第2の金具部分6は、第2の組付けステップにおいて、好適には長手方向に延在するハウジング6aを介して、可動の家具部分3に固定可能である。組付け部分8を家具プレート2bに、かつ第2の金具部分6を可動の家具部分3に固定した後、組付け部分8と連結部分9とは合体させることによって互いに結合可能である。組付け部分8と連結部分9とは、少なくとも1つのロック装置20(図3a)により、自動的に互いにロック可能である。
少なくとも1つの調整装置13a、13b、13cにより、組付け部分8と連結部分9との結合状態において、組付け部分8に対して相対的に、好適には3次元的に、連結部分9の位置を調整可能である。ばね装置10の力により、第1の金具部分5に対して相対的に、完全に閉鎖された終端位置および/または完全に開放された終端位置に第2の金具部分6を動かすことができる。
これは、例えば、ばね装置10によって付勢される押圧ローラ12を介して行うことができ、押圧ローラ12は、ジョイントレバー7が移動する際に調整輪郭部24(図3a)に沿って移動可能に支持されている。好適には液圧式ピストン・シリンダユニットを備えた緩衝装置11により、第1の金具部分5に対して相対的に、第2の金具部分6の運動を減速若しくは緩衝可能である。これにより、完全に閉鎖された終端位置および/または完全に開放された終端位置への第2の金具部分6の移動を制動可能である。
図2a~図2cには、家具本体2の家具プレート2bにおける可動の家具部分3の組み付けが概略平面図で示されている。家具プレート2bには、家具用金具4の第1の金具部分5を収容する第1の切欠き15aが形成されているのに対し、可動の家具部分3には、家具用金具4の第2の金具部分6を収容する第2の切欠き15bが配置されている。第1の金具部分5は、少なくとも2つの部分から構成されており、第1の切欠き15aに配置される組付け部分8と、組付け部分8に結合される連結部分9とを有する。第1の金具部分5と、第2の金具部分6とは、少なくとも1つのジョイントレバー7によって互いに旋回可能に接続されている。
第1の組付けステップ(図2b)では、組付け部分8が、家具プレート2bの第1の切欠き15aに固定されるのに対し、第2の金具部分6は、可動の家具部分3に固定される。好適には、第2の金具部分6の長手方向に延在するハウジング6aは、可動の家具部分3の第2の切欠き15bに実質的に完全に埋め込み可能であるように構成されている。第3の組付けステップ(図2c)では、組付け部分8と連結部分9とが互いに結合され、これにより、可動の家具部分3が家具本体2に取り付け可能になる。
図3a~図3cには、組付け部分8における連結部分9の組み付けが種々異なる組付けステップで示されている。連結部分9は、少なくとも1つのジョイントレバー7を介して第2の金具部分6に結合されており、ジョイントレバー7は、第1のジョイント軸17aの周りで旋回可能に連結部分9に支持されており、かつ第2のジョイント軸17bの周りで旋回可能に第2の金具部分6に支持されている。ジョイントレバー7には調整輪郭部24が配置されており、第1のジョイント軸17aの周りでジョイントレバー7が移動する際には、ばね装置10によって付勢される押圧ローラ12が、調整輪郭部24に沿って移動可能である。ジョイントレバー7は、第1のレバー端部および第2のレバー端部を備えたダブルアームのレバーとして構成されており、ジョイントレバー7の第1のレバー端部は、第2のジョイント軸17bを介して第2の金具部分6に枢着結合されている。緩衝装置11は、ジョイントレバー7の第2のレバー端部を介して押圧可能となっており、ジョイントレバー7の第2のレバー端部は、緩衝行程を実行するために、直接に、または少なくとも1つの別の構成部材(例えば中間レバー)を介して緩衝装置11に押圧作用を及ぼす。第1の組付けステップでは、組付け部分8が、少なくとも1つの固定装置16(固定装置16は、例えば、ねじを収容する孔として構成されている)により、家具プレート2bに、または家具プレート2b内に組み付けられる。
組付け部分8は、ねじを収容する孔として構成されている2つ以上の固定装置16を有することも可能である。固定装置16が、可動に支持されている固定要素を有することも可能であり、ここではこの固定要素を操作することにより、少なくとも1つのロック部分が可動であり、このロック部分により、組付け部分8は、家具プレート2bに、または家具プレート2b内に力結合(摩擦結合)により固定可能である。
後続の組付けステップでは、組付け部分8のポケット状のハウジング8aに連結部分9を斜めに挿入する。さらに、組付け部分8と連結部分9との間でセンタリングを行うセンタリング装置18が設けられており、センタリング装置18は、組付け部分8および/または連結部分9に配置されるかまたは構成されかつ連結部分9をガイドする少なくとも1つの斜面18a、18bを有する。
連結部分9と組付け部分8との間の着脱可能なロックのために、少なくとも1つのロック装置20が設けられている。ロック装置20は、可動に支持されておりかつ(好適には圧縮ばねとして構成されている)蓄力器21aによって付勢可能な、連結部分9を着脱可能にロックするための少なくとも1つのロック要素25aを有する。ロック要素25aには、連結部分9の係止部分23aを収容する切欠き22aが備え付けられている。図示された実施例では、第2の蓄力器21bが設けられており、第2の蓄力器21bは、組付け部分8の第2の切欠き22bの方向に、第2の係止部分23bを備えた第2のロック要素25bを押圧する。図3bおよび図3cから明らかなように、連結部分9は、側方から旋回して組付け部分8に挿入され、連結部分9は、センタリング装置18の斜面18a、18bにより、組付け部分8に対して相対的にガイド可能である。
図4aには、図3cに続く、組付け部分8に対して相対的な連結部分9の旋回移動が示されている。ロック要素25aは、係止部分23aと、ロック要素25aの斜面との協働により、蓄力器21aの力に抗して矢印26の方向に押圧され、これにより、係止部分23aは、ロック要素25aの切欠き22aに入ることができ、第2の係止部分23bは、第2の蓄力器21bの力により、組付け部分8の切欠き22bに押圧されて入る。
図4bには、組付け部分8と連結部分9との間のロック位置が示されている。ロック解除装置19により、組付け部分8と連結部分9との間のロックを元のように解除可能である。ロック解除装置19は、可動に支持される、好適には直線的に移動可能な解除要素19aを有し、X方向に解除要素19aに力を作用させることにより、組付け部分8と連結部分9との間のロックが解除可能である。家具用金具4の組付け状態において解除要素19aには、工具を用いた操作により、直接にアクセス可能である。
図示された実施例において、ロック解除装置19は、軸27の周りに旋回可能に支持されているダブルアームのロック解除レバー30を有する。ダブルアームのロック解除レバー30の2つのレバー端部には、長孔29aおよび長孔29bが設けられており、これらは、ピン28a、28bを収容するために設けられている。第1のピン28aは、ロック要素25aに配置されているのに対し、第2のピン28bは、解除要素19aに結合されている。解除要素19aが、工具、好適にはねじ回しによって矢印Xの方向に押し込まれると、ロック要素25aは、ロック解除レバー30により、蓄力器21aの力に抗し、組付け部分8と連結部分9との間のロックが解除可能な解除位置に移動させられる。

Claims (19)

  1. 家具本体(2)に対して相対的に可動に支持される家具部分(3)を可動に支持するための家具用金具(4)であって、前記家具用金具(4)は、
    ・前記家具本体(2)の家具プレート(2b)に固定されるように構成されている第1の金具部分(5)と、
    ・可動に支持される前記家具部分(3)に固定するための第2の金具部分(6)であって、旋回可能に前記第1の金具部分(5)に結合されている第2の金具部分(6)と、を有し、
    ・前記第1の金具部分(5)は、少なくとも1つの固定装置(16)を備えた組付け部分(8)を有し、前記固定装置(16)により、前記組付け部分(8)が前記家具プレート(2b)に組み付け可能であり、前記第1の金具部分(5)は、前記第2の金具部分(6)に枢着結合される少なくとも1つの連結部分(9)を有し、前記連結部分(9)は、着脱可能に前記組付け部分(8)に結合可能であり
    ・前記連結部分(9)は、少なくとも1つのロック装置(20)により、前記組付け部分(8)に着脱可能に結合可能であり、少なくとも1つの前記ロック装置(20)は、前記連結部分(9)を着脱可能にロックするために、可動に支持されておりかつ少なくとも1つの蓄力器(21a、21b)によって付勢される少なくとも1つのロック要素(25a、25b)を有し、
    ・前記第1の金具部分(5)の前記組付け部分(8)は、ポケット状のハウジング(8a)を有し、前記連結部分(9)は、前記組付け部分(8)との結合状態において大部分が、前記組付け部分(8)の前記ハウジング(8a)内に収容されており、前記組付け部分(8)は、高さ方向延在長さおよび長手方向延在長さを有し、前記組付け部分(8)の前記長手方向延在長さは、前記組付け部分(8)の前記高さ方向延在長さの少なくとも3倍大きい、家具用金具(4)において、
    ・前記家具用金具(4)は、可動の前記家具部分(3)を動かすための、旋回可能に支持されている少なくとも1つのジョイントレバー(7)を有し、
    ・前記家具用金具(4)は、少なくとも1つの前記ジョイントレバー(7)に力を付勢するばね装置(10)を有し、
    ・前記家具用金具(4)は、前記第1の金具部分(5)と前記第2の金具部分(6)との間の相対運動を緩衝するための少なくとも1つの緩衝装置(11)を有し、
    ・前記ばね装置(10)および前記緩衝装置(11)は、前記連結部分(9)に配置されている、ことを特徴とする、家具用金具(4)。
  2. 前記第1の金具部分(5)の前記組付け部分(8)は、前記家具プレート(2b)の切欠き(15a)に挿入可能であることを特徴とする、請求項1記載の家具用金具(4)
  3. 前記組付け部分(8)と前記連結部分(9)との間でセンタリングを行うセンタリング装置(18)が設けられており、前記センタリング装置(18)は、前記組付け部分(8)および/または前記連結部分(9)に配置されるかまたは構成された、前記連結部分(9)をガイドするための少なくとも1つの斜面(18a、18b)を有することを特徴とする、請求項1または2記載の家具用金具(4)
  4. 前記家具用金具(4)は、前記組付け部分(8)と前記連結部分(9)との間の結合を解除するためのロック解除装置(19)を有することを特徴とする、請求項1から3までのいずれか1項記載の家具用金具(4)
  5. 前記ロック解除装置(19)は、可動に支持される解除要素(19a)を有し、前記解除要素(19a)に力を作用させることにより、前記組付け部分(8)と前記連結部分(9)との間のロックが解除可能であることを特徴とする、請求項4記載の家具用金具(4)
  6. 前記解除要素(19a)は、直線的に移動可能に支持されていることを特徴とする、請求項5記載の家具用金具(4)
  7. 前記ばね装置(10)によって付勢される押圧ローラ(12)が設けられており、前記押圧ローラ(12)は、前記ジョイントレバー(7)の移動の際に、調整輪郭部(24)に沿って移動可能であることを特徴とする、請求項1から6までのいずれか1項記載の家具用金具(4)
  8. 前記ジョイントレバー(7)は、第1のレバー端部および第2のレバー端部を備えたダブルアームレバーとして構成されており、前記ジョイントレバー(7)の前記第1のレバー端部は、前記第2の金具部分(6)に枢着結合されており、前記緩衝装置(11)は、前記ジョイントレバー(7)の前記第2のレバー端部を介して押圧可能となっていることを特徴とする、請求項1から7までのいずれか1項記載の家具用金具(4)
  9. 前記家具用金具(4)は、家具ヒンジとして構成されていることを特徴とする、請求項1からまでのいずれか1項記載の家具用金具(4)
  10. 前記第1の金具部分(5)は、実質的に水平方向に配向される、前記家具プレート(2b)に固定されるように構成されている、請求項1から9までのいずれか1項記載の家具用金具(4)。
  11. 前記組付け部分(8)の前記長手方向延在長さは、前記組付け部分(8)の前記高さ方向延在長さの少なくとも6倍大きい、請求項1から10までのいずれか1項記載の家具用金具(4)。
  12. 前記調整輪郭部(24)は、前記ジョイントレバー(7)に配置されている、請求項7記載の家具用金具(4)。
  13. 前記少なくとも1つの緩衝装置(11)は、ピストン・シリンダユニットである、請求項1から12までのいずれか1項記載の家具用金具(4)。
  14. 家具本体(2)と、前記家具本体(2)に対して相対的に可動に支持される家具部分(3)と、請求項1から13までのいずれか1項記載の家具用金具(4)とを有する家具(1)であって、前記家具用金具(4)により、前記家具部分(3)が、軸線(14)の周りに、前記家具本体(2)に対して相対的に旋回可能に支持されている、家具(1)。
  15. 前記家具本体(2)は、家具プレート(2b)または側壁(2a)を有し、前記組付け部分(8)は、前記家具プレート(2b)に支持されている、請求項14記載の家具(1)
  16. 前記軸線(14)は、組付け状態において実質的に垂直方向に延在する、請求項14または15記載の家具(1)。
  17. 前記家具プレート(2b)は、実質的に水平方向に配向されている、請求項14から16までのいずれか1項記載の家具(1)。
  18. 前記家具プレート(2b)は、底部プレート、天井プレート、前記底部プレートと前記天井プレートとの間に配置される仕切り板である、請求項14から17までのいずれか1項記載の家具(1)。
  19. 前記組付け部分(8)は、組付け状態において大部分が、前記家具プレート(2b)の切欠き(15a)内に収容されるように構成されていることを特徴とする、請求項14から18までのいずれか1項記載の家具(1)。
JP2020573189A 2018-07-03 2019-06-13 家具用金具 Active JP7119140B2 (ja)

Applications Claiming Priority (3)

Application Number Priority Date Filing Date Title
ATA50576/2018A AT521436B1 (de) 2018-07-03 2018-07-03 Möbelbeschlag
ATA50576/2018 2018-07-03
PCT/AT2019/060195 WO2020006588A1 (de) 2018-07-03 2019-06-13 Möbelbeschlag

Publications (2)

Publication Number Publication Date
JP2021529274A JP2021529274A (ja) 2021-10-28
JP7119140B2 true JP7119140B2 (ja) 2022-08-16

Family

ID=67001501

Family Applications (1)

Application Number Title Priority Date Filing Date
JP2020573189A Active JP7119140B2 (ja) 2018-07-03 2019-06-13 家具用金具

Country Status (10)

Country Link
US (1) US11306527B2 (ja)
EP (1) EP3818224B1 (ja)
JP (1) JP7119140B2 (ja)
KR (1) KR102422578B1 (ja)
CN (1) CN112384673B (ja)
AT (1) AT521436B1 (ja)
ES (1) ES2939466T3 (ja)
MY (1) MY205590A (ja)
SI (1) SI3818224T1 (ja)
WO (1) WO2020006588A1 (ja)

Families Citing this family (11)

* Cited by examiner, † Cited by third party
Publication number Priority date Publication date Assignee Title
AT521170B1 (de) * 2018-07-03 2019-11-15 Blum Gmbh Julius Möbelbeschlag
DE102018119539A1 (de) * 2018-08-10 2020-02-13 ambigence GmbH & Co. KG Wand für ein Möbel, Verfahren zur Herstellung einer solchen Wand und Möbelkorpus oder Möbel mit einer solchen Wand
IT201900005758A1 (it) * 2019-04-15 2020-10-15 Effegi Brevetti Srl Cerniera per l’apertura e la chiusura di ante a battente di mobili
AT524025B1 (de) * 2020-09-14 2022-02-15 Blum Gmbh Julius Wand für einen Möbelkorpus und Verfahren zu deren Herstellung
IT202000027933A1 (it) 2020-11-20 2022-05-20 Salice Arturo Spa Cerniera per mobili con comando per un dispositivo di controllo del movimento
IT202000027939A1 (it) * 2020-11-20 2022-05-20 Salice Arturo Spa Cerniera per mobili
USD1040636S1 (en) * 2021-04-30 2024-09-03 Julius Blum Gmbh Furniture fitting
AT525709A1 (de) * 2021-11-26 2023-06-15 Blum Gmbh Julius Beschlag zur bewegbaren Lagerung eines Schwenkelements
AT525172B1 (de) 2021-11-26 2023-01-15 Blum Gmbh Julius Beschlag zur bewegbaren Lagerung eines Schwenkelementes relativ zu einem stationären Träger
JP1749539S (ja) 2022-07-25 2023-07-27 家具用部品
USD1056697S1 (en) * 2022-07-25 2025-01-07 Julius Blum Gmbh Furniture fitting

Citations (3)

* Cited by examiner, † Cited by third party
Publication number Priority date Publication date Assignee Title
WO2005108726A1 (de) 2004-05-07 2005-11-17 Julius Blum Gmbh Scharnier insbesondere für möbelteile
US20130239363A1 (en) 2010-10-14 2013-09-19 Ertaç Çapur Slow-Down Mechanism Placed in Furniture Hinge
JP2018514670A (ja) 2015-04-30 2018-06-07 アルトゥーロ・サリチェ・ソチエタ・ペル・アツィオーニArturo Salice S.P.A. 家具用の減速ヒンジ

Family Cites Families (26)

* Cited by examiner, † Cited by third party
Publication number Priority date Publication date Assignee Title
AT368239B (de) * 1975-11-07 1982-09-27 Grass Alfred Metallwaren Tuerscharnier mit schliessdruckvorrichtung
DE2608142A1 (de) * 1974-12-20 1977-05-18 Grass Alfred Metallwaren Tuerscharnier mit schliessdruckvorrichtung
FR2297980A1 (fr) * 1975-01-20 1976-08-13 Salice France Sarl Charniere a fermeture automatique
PT65899B (de) 1975-12-02 1978-05-18 Heinze Fa R Mobelscharnier
DE2554130C2 (de) * 1975-12-02 1987-03-26 Richard Heinze Kunststoff-Spritzgießwerke GmbH & Co, 4900 Herford Möbelscharnier
AT391344B (de) * 1987-08-31 1990-09-25 Blum Gmbh Julius Scharnier
AT1214U1 (de) * 1995-12-18 1996-12-27 Blum Gmbh Julius Scharnier
IT1292005B1 (it) * 1997-05-27 1999-01-25 Aldo Mignani Dispositivo di collegamento a cerniera in particolare per ante di armadi
IT1312290B1 (it) * 1999-05-04 2002-04-10 System Holz Spa Cerniera per ante di mobili destinati in particolare ma nonesclisivamente,ad uso ufficio e simili
AT502938A1 (de) * 2004-11-18 2007-06-15 Blum Gmbh Julius Stellantrieb zum bewegen einer klappe eines möbels
AT502620B1 (de) * 2005-10-12 2011-11-15 Blum Gmbh Julius Klappenbeschlag
US20070193572A1 (en) * 2006-02-21 2007-08-23 Ming-Tsung Lee Removable door for an oven
JP4832972B2 (ja) * 2006-07-24 2011-12-07 パナソニック電工株式会社 隠し蝶番の構造と隠し蝶番の取付方法
DE102007020730A1 (de) * 2007-05-03 2008-11-06 Wolfgang Melz Pendeltür mit Selbstschließscharnier
DE102007034295A1 (de) * 2007-07-24 2009-01-29 BSH Bosch und Siemens Hausgeräte GmbH Kältegerät
DE102008005463A1 (de) * 2008-01-21 2009-07-23 Huwil-Werke Gmbh Möbelschloss- Und Beschlagfabriken Halteelement zum Verstellen eines Deckels eines Möbels
DE102013101040A1 (de) * 2013-02-01 2014-08-07 Hettich-Oni Gmbh & Co. Kg Mehrgelenkscharnier mit Dämpfung
AT515135B1 (de) * 2013-11-15 2017-05-15 Blum Gmbh Julius Scharnier, insbesondere für ein Möbelstück
US9169681B2 (en) * 2014-01-31 2015-10-27 Hardware Resources, Inc. Low profile adjustable soft close hinge apparatus
CN203856311U (zh) * 2014-05-13 2014-10-01 广东泰明金属制品有限公司 用于家具门体的大开合铰链
AT516587B1 (de) 2014-12-09 2023-06-15 Blum Gmbh Julius Möbelscharnier
WO2016156514A1 (en) * 2015-04-02 2016-10-06 Effegi Brevetti S.R.L. Hinge for furniture doors
CN105781291B (zh) * 2016-03-04 2017-08-25 佛山市天斯五金有限公司 具有缓冲功能的门铰链
EP3252255B1 (en) * 2016-05-31 2020-11-11 VKR Holding A/S A hinge for a window, a window including a set of such hinges, and a method of installing such a window
DE202017102814U1 (de) * 2017-05-10 2018-08-13 Grass Gmbh & Co. Kg Vorrichtung zur Bewegung eines Möbelteils und Möbel
IT201700062317A1 (it) * 2017-06-07 2018-12-07 Effegi Brevetti Srl Cerniera per mobili con dispositivo di regolazione della forza di chiusura

Patent Citations (3)

* Cited by examiner, † Cited by third party
Publication number Priority date Publication date Assignee Title
WO2005108726A1 (de) 2004-05-07 2005-11-17 Julius Blum Gmbh Scharnier insbesondere für möbelteile
US20130239363A1 (en) 2010-10-14 2013-09-19 Ertaç Çapur Slow-Down Mechanism Placed in Furniture Hinge
JP2018514670A (ja) 2015-04-30 2018-06-07 アルトゥーロ・サリチェ・ソチエタ・ペル・アツィオーニArturo Salice S.P.A. 家具用の減速ヒンジ

Also Published As

Publication number Publication date
US20210087867A1 (en) 2021-03-25
JP2021529274A (ja) 2021-10-28
AT521436A1 (de) 2020-01-15
CN112384673B (zh) 2022-04-26
KR20210013602A (ko) 2021-02-04
ES2939466T3 (es) 2023-04-24
SI3818224T1 (sl) 2023-04-28
EP3818224A1 (de) 2021-05-12
KR102422578B1 (ko) 2022-07-18
AT521436B1 (de) 2025-07-15
MY205590A (en) 2024-10-28
US11306527B2 (en) 2022-04-19
WO2020006588A1 (de) 2020-01-09
EP3818224B1 (de) 2022-12-21
CN112384673A (zh) 2021-02-19

Similar Documents

Publication Publication Date Title
JP7119140B2 (ja) 家具用金具
CN111344471B (zh) 用于家具的翻板配件、家具主体的侧壁以及具有侧壁的家具
JP7191991B2 (ja) 家具用金具
TWI853063B (zh) 用於家具或類似物之門的鉸鏈或具有此類鉸鏈的家具類物品
JP7362779B2 (ja) 家具用金具
US11988030B2 (en) Hinge assembly
US11168502B2 (en) Door device
JP7124225B2 (ja) 家具駆動装置
JP7204010B2 (ja) 家具用金具
JP7721810B2 (ja) 旋回エレメントを定置の支持体に対して相対的に可動に支持するための金具
US11111711B2 (en) Simply fitted furniture hinge
CN101861109A (zh) 门闩锁
CN115151703B (zh) 铰链组件
JP7003270B2 (ja) 引出用のレールストラット
JP6931087B2 (ja) 家具ヒンジ
JP7250926B2 (ja) 家具部分を移動可能に支承するガイドキャリッジ
TW202100853A (zh) 用於控制家具部件移動的控制曲線配置
JP7721811B2 (ja) 旋回エレメントを定置の支持体に対して相対的に可動に支持するための金具
JP7453381B2 (ja) 少なくとも1つの可動の家具部分をガイドするためのガイドアセンブリおよび家具
CN108835958B (zh) 枪托装置及枪柜
KR101225917B1 (ko) 가구용 아웃도어의 걸림링크 간격조정장치
JP3031839B2 (ja) ウィング付き収納ボックスとそのオートロック装置及び地震時ロック方法
JPH05302462A (ja) 左右選択開式扉の支持装置
JP2007255053A (ja) 突出し窓用開閉装置

Legal Events

Date Code Title Description
A621 Written request for application examination

Free format text: JAPANESE INTERMEDIATE CODE: A621

Effective date: 20210127

A131 Notification of reasons for refusal

Free format text: JAPANESE INTERMEDIATE CODE: A131

Effective date: 20220131

A521 Request for written amendment filed

Free format text: JAPANESE INTERMEDIATE CODE: A523

Effective date: 20220419

TRDD Decision of grant or rejection written
A01 Written decision to grant a patent or to grant a registration (utility model)

Free format text: JAPANESE INTERMEDIATE CODE: A01

Effective date: 20220726

A61 First payment of annual fees (during grant procedure)

Free format text: JAPANESE INTERMEDIATE CODE: A61

Effective date: 20220803

R150 Certificate of patent or registration of utility model

Ref document number: 7119140

Country of ref document: JP

Free format text: JAPANESE INTERMEDIATE CODE: R150

R250 Receipt of annual fees

Free format text: JAPANESE INTERMEDIATE CODE: R250