JP7117136B2 - 発光素子及び発光装置 - Google Patents

発光素子及び発光装置 Download PDF

Info

Publication number
JP7117136B2
JP7117136B2 JP2018081721A JP2018081721A JP7117136B2 JP 7117136 B2 JP7117136 B2 JP 7117136B2 JP 2018081721 A JP2018081721 A JP 2018081721A JP 2018081721 A JP2018081721 A JP 2018081721A JP 7117136 B2 JP7117136 B2 JP 7117136B2
Authority
JP
Japan
Prior art keywords
light
translucent
substrate
emitting device
covering member
Prior art date
Legal status (The legal status is an assumption and is not a legal conclusion. Google has not performed a legal analysis and makes no representation as to the accuracy of the status listed.)
Active
Application number
JP2018081721A
Other languages
English (en)
Other versions
JP2019192716A (ja
Inventor
恭太郎 小池
紀子 二瓶
俊哉 井出
吉鎬 梁
Current Assignee (The listed assignees may be inaccurate. Google has not performed a legal analysis and makes no representation or warranty as to the accuracy of the list.)
Stanley Electric Co Ltd
Original Assignee
Stanley Electric Co Ltd
Priority date (The priority date is an assumption and is not a legal conclusion. Google has not performed a legal analysis and makes no representation as to the accuracy of the date listed.)
Filing date
Publication date
Application filed by Stanley Electric Co Ltd filed Critical Stanley Electric Co Ltd
Priority to JP2018081721A priority Critical patent/JP7117136B2/ja
Priority to US16/389,455 priority patent/US10978627B2/en
Publication of JP2019192716A publication Critical patent/JP2019192716A/ja
Application granted granted Critical
Publication of JP7117136B2 publication Critical patent/JP7117136B2/ja
Active legal-status Critical Current
Anticipated expiration legal-status Critical

Links

Images

Classifications

    • HELECTRICITY
    • H10SEMICONDUCTOR DEVICES; ELECTRIC SOLID-STATE DEVICES NOT OTHERWISE PROVIDED FOR
    • H10HINORGANIC LIGHT-EMITTING SEMICONDUCTOR DEVICES HAVING POTENTIAL BARRIERS
    • H10H20/00Individual inorganic light-emitting semiconductor devices having potential barriers, e.g. light-emitting diodes [LED]
    • H10H20/80Constructional details
    • H10H20/85Packages
    • H10H20/855Optical field-shaping means, e.g. lenses
    • H10H20/856Reflecting means
    • HELECTRICITY
    • H01ELECTRIC ELEMENTS
    • H01LSEMICONDUCTOR DEVICES NOT COVERED BY CLASS H10
    • H01L25/00Assemblies consisting of a plurality of semiconductor or other solid state devices
    • H01L25/03Assemblies consisting of a plurality of semiconductor or other solid state devices all the devices being of a type provided for in a single subclass of subclasses H10B, H10D, H10F, H10H, H10K or H10N, e.g. assemblies of rectifier diodes
    • H01L25/04Assemblies consisting of a plurality of semiconductor or other solid state devices all the devices being of a type provided for in a single subclass of subclasses H10B, H10D, H10F, H10H, H10K or H10N, e.g. assemblies of rectifier diodes the devices not having separate containers
    • H01L25/075Assemblies consisting of a plurality of semiconductor or other solid state devices all the devices being of a type provided for in a single subclass of subclasses H10B, H10D, H10F, H10H, H10K or H10N, e.g. assemblies of rectifier diodes the devices not having separate containers the devices being of a type provided for in group H10H20/00
    • H01L25/0753Assemblies consisting of a plurality of semiconductor or other solid state devices all the devices being of a type provided for in a single subclass of subclasses H10B, H10D, H10F, H10H, H10K or H10N, e.g. assemblies of rectifier diodes the devices not having separate containers the devices being of a type provided for in group H10H20/00 the devices being arranged next to each other
    • HELECTRICITY
    • H10SEMICONDUCTOR DEVICES; ELECTRIC SOLID-STATE DEVICES NOT OTHERWISE PROVIDED FOR
    • H10HINORGANIC LIGHT-EMITTING SEMICONDUCTOR DEVICES HAVING POTENTIAL BARRIERS
    • H10H20/00Individual inorganic light-emitting semiconductor devices having potential barriers, e.g. light-emitting diodes [LED]
    • H10H20/80Constructional details
    • H10H20/81Bodies
    • H10H20/819Bodies characterised by their shape, e.g. curved or truncated substrates
    • H10H20/82Roughened surfaces, e.g. at the interface between epitaxial layers
    • HELECTRICITY
    • H10SEMICONDUCTOR DEVICES; ELECTRIC SOLID-STATE DEVICES NOT OTHERWISE PROVIDED FOR
    • H10HINORGANIC LIGHT-EMITTING SEMICONDUCTOR DEVICES HAVING POTENTIAL BARRIERS
    • H10H20/00Individual inorganic light-emitting semiconductor devices having potential barriers, e.g. light-emitting diodes [LED]
    • H10H20/80Constructional details
    • H10H20/85Packages
    • H10H20/851Wavelength conversion means
    • H10H20/8514Wavelength conversion means characterised by their shape, e.g. plate or foil
    • HELECTRICITY
    • H10SEMICONDUCTOR DEVICES; ELECTRIC SOLID-STATE DEVICES NOT OTHERWISE PROVIDED FOR
    • H10HINORGANIC LIGHT-EMITTING SEMICONDUCTOR DEVICES HAVING POTENTIAL BARRIERS
    • H10H20/00Individual inorganic light-emitting semiconductor devices having potential barriers, e.g. light-emitting diodes [LED]
    • H10H20/80Constructional details
    • H10H20/85Packages
    • H10H20/852Encapsulations
    • HELECTRICITY
    • H10SEMICONDUCTOR DEVICES; ELECTRIC SOLID-STATE DEVICES NOT OTHERWISE PROVIDED FOR
    • H10HINORGANIC LIGHT-EMITTING SEMICONDUCTOR DEVICES HAVING POTENTIAL BARRIERS
    • H10H20/00Individual inorganic light-emitting semiconductor devices having potential barriers, e.g. light-emitting diodes [LED]
    • H10H20/80Constructional details
    • H10H20/84Coatings, e.g. passivation layers or antireflective coatings
    • HELECTRICITY
    • H10SEMICONDUCTOR DEVICES; ELECTRIC SOLID-STATE DEVICES NOT OTHERWISE PROVIDED FOR
    • H10HINORGANIC LIGHT-EMITTING SEMICONDUCTOR DEVICES HAVING POTENTIAL BARRIERS
    • H10H20/00Individual inorganic light-emitting semiconductor devices having potential barriers, e.g. light-emitting diodes [LED]
    • H10H20/80Constructional details
    • H10H20/85Packages
    • H10H20/851Wavelength conversion means
    • HELECTRICITY
    • H10SEMICONDUCTOR DEVICES; ELECTRIC SOLID-STATE DEVICES NOT OTHERWISE PROVIDED FOR
    • H10HINORGANIC LIGHT-EMITTING SEMICONDUCTOR DEVICES HAVING POTENTIAL BARRIERS
    • H10H20/00Individual inorganic light-emitting semiconductor devices having potential barriers, e.g. light-emitting diodes [LED]
    • H10H20/80Constructional details
    • H10H20/85Packages
    • H10H20/851Wavelength conversion means
    • H10H20/8511Wavelength conversion means characterised by their material, e.g. binder
    • H10H20/8512Wavelength conversion materials
    • HELECTRICITY
    • H10SEMICONDUCTOR DEVICES; ELECTRIC SOLID-STATE DEVICES NOT OTHERWISE PROVIDED FOR
    • H10HINORGANIC LIGHT-EMITTING SEMICONDUCTOR DEVICES HAVING POTENTIAL BARRIERS
    • H10H20/00Individual inorganic light-emitting semiconductor devices having potential barriers, e.g. light-emitting diodes [LED]
    • H10H20/80Constructional details
    • H10H20/882Scattering means

Landscapes

  • Engineering & Computer Science (AREA)
  • Power Engineering (AREA)
  • Microelectronics & Electronic Packaging (AREA)
  • Physics & Mathematics (AREA)
  • Condensed Matter Physics & Semiconductors (AREA)
  • General Physics & Mathematics (AREA)
  • Computer Hardware Design (AREA)
  • Led Device Packages (AREA)

Description

本発明は、発光ダイオード(LED)等の発光素子及び当該発光素子を用いた発光装置に関する。
透光性の基板上に、発光層を含む半導体構造層が積層され、上下反転されて実装面上に実装されるフリップチップ型の発光素子が知られている。フリップチップ型の発光素子を用いた発光装置では、半導体構造層から出射された光は、透光性の基板を介して取り出される。
例えば、特許文献1には、透光性絶縁基板に形成された窒化物半導体の同一平面側に正と負の電極が設けられ、該電極表面の露出部を除いて窒化物半導体層表面を被覆した保護膜を有するフリップチップ型光半導体素子が開示されている。
特開2004-80050
上記のようなフリップチップ型の光半導体素子を用いて発光装置とした場合に、透光性の基板を介して光を取り出す際に、当該透光性の基板の側面で光の損失が生じ、輝度の低下が生じる場合があることが課題となっていた。
本発明は上記した点に鑑みてなされたものであり、光の損失が少なく、高輝度かつ光取り出し効率の高い発光素子及び発光装置を提供することを目的としている。
本発明の発光装置は、発光層を有する半導体構造層と、前記半導体構造層上に設けられた透光性基板と、前記透光性基板上に配された波長変換層と、前記透光性基板の側面の少なくとも一部を被覆し、かつ、前記発光層からの光に対する透過性を有する透光性被覆部材と、前記透光性被覆部材の表面を含み、前記半導体構造層の側面、前記透光性基板の側面及び前記波長変換層の側面からなる面を全体に亘って覆うように形成された遮光部材と、を有する。
実施例1に係る発光装置の上面図である。 実施例1に係る発光装置の断面図である。 実施例1に係る発光装置の部分拡大断面図である。 実施例1に係る発光装置の部分拡大断面図である。 実施例1に係る発光装置の部分拡大図である。 実施例1に係る発光装置の部分拡大断面図である。 実施例2に係る発光装置の断面図である。 実施例3に係る発光装置の断面図である。 実施例4に係る発光装置の断面図である。 実施例4の変形例に係る発光装置の断面図である。 本発明に係る発光素子の製造工程の一例を示す断面図である。 本発明に係る発光素子の製造工程の一例を示す断面図である。 本発明に係る発光素子の製造工程の一例を示す断面図である。 本発明に係る発光素子の製造工程の一例を示す断面図である。 本発明に係る発光素子の製造工程の一例を示す断面図である。 実施例及び比較例の発光強度を示すグラフである。
以下に本発明の実施例を詳細に説明する。なお、以下の説明及び添付図面においては、実質的に同一又は等価な部分には同一の参照符号を付している。
図1A~図1Fを参照しつつ、実施例1に係る発光装置10の構成について説明する。図1Aは、発光装置10の上面図である。
基板11は、図1Aに示すように、上面視において矩形の形状を有する平板状の基板である。基板11は、一方の主面において、電極及び配線(図示せず)が設けられてLED等の素子が実装され得る実装面を有している。基板11は、例えば、AlNなどのセラミック基板である。
発光素子12は、基板11の実装面上に実装されている。以下、発光素子12の構成について説明する。
図1Bは、図1Aの1B-1B線に沿った断面図である。半導体構造層13は、基板11の実装面上に配されている。半導体構造層13は、発光層を含む複数の半導体層を有し、光を出射する。
p電極14A及びn電極14Bは、基板11と半導体構造層13との間に設けられて半導体構造層13及び基板11と電気的に接続されている。
図1Cは、図1Bの半導体構造層13、p電極14A及びn電極14Bの拡大断面図である(なお、透光性基板15等はこの図においては省略している)。図1Cに示すように、半導体構造層13は、p型半導体層13A、発光層13B及びn型半導体層13Cがこの順に積層されて構成されている。半導体構造層13は、半導体構造層13の上面であり、発光層13Bからの光が出射する光出射面13Sを有している。半導体構造層13は、発光層13Bが基板11と平行になるように配置されている。
半導体構造層13のp型半導体層13Aは、p電極14Aと電気的に接続されている。また、半導体構造層13のn型半導体層13Cは、n電極14Bと電気的に接続されている。例えば、n電極14Bは、絶縁体からなる側壁SWを有する貫通孔を介して、p型半導体層13A及び発光層13Bを貫通してn型半導体層13Cに接続されている。
p電極14Aは、基板11側のp側配線(図示せず)と電気的に接続されている。n電極14Bは、基板11側のn側配線(図示せず)と電気的に接続されている。
再び図1Bを参照すると、透光性基板15は、半導体構造層13の光出射面13S上に設けられている。透光性基板15は、半導体構造層13からの光に対して透過性を有するサファイア基板等の透光性の基板である。
波長変換層17は、透光性基板15上に配されている。波長変換層17は、例えば蛍光体粒子等の波長変換材料を含む部材である。例えば、波長変換層17は、YAG:Ce蛍光体等の蛍光体を含む樹脂であってもよい。あるいは、波長変換層17は、ガラス支持体及び蛍光体薄膜を含んでいてもよい。従って、波長変換層17は、半導体構造層13から出射されて透光性基板15を透過した光の波長を変換する。
透光性被覆部材19は、半導体構造層13の側面、透光性基板15の側面及び波長変換層17の側面からなる面を全体に亘って被覆する部材である。透光性被覆部材19は、発光層13Bから出射される光に対する透過性を有している。また、本実施例において、透光性被覆部材19は、透光性基板15よりも低い屈折率を有している。例えば、透光性被覆部材19として、シリコーン樹脂等の樹脂を用いることができる。
遮光部材21は、透光性被覆部材19に被覆された半導体構造層13、透光性基板15及び波長変換層17の側面を覆うように設けられた部材である。より詳細には、遮光部材21は、透光性被覆部材19の表面を含み、半導体構造層13の側面、透光性基板15の側面及び波長変換層17の側面からなる面を全体に亘って覆うように形成されている。
遮光部材21は、光を遮蔽する部材であり、例えば、光を反射する材料を含む樹脂である。例えば、遮光部材21は、シリコーン樹脂等の樹脂材中に光散乱材を分散させたいわゆる白樹脂と称される材料によって形成される。
図1Dは、図1Bの破線で囲まれた部分Aの拡大図である。図1Dは、透光性基板15と透光性被覆部材19との界面15B及び透光性被覆部材19と遮光部材21との界面19Bを模式的に示している。また、図D中の矢印は、発光層13Bから出射されて透光性基板15内に導波された光の進行方向を模式的に示している。
図1Dに示すように、界面15Bは、凹凸を有している。これは、透光性基板15の側面15Wが凹凸を有していることに起因する。より詳細には、透光性基板15の側面15Wは、数10nm~数ミクロン程度の凹凸を有している。特に、側面15Wは、100nm~数100nm(サブミクロンオーダ)の錘状の凹凸(以下、単に錐状凹凸とも称する)が分布する領域を有している。
本実施例の場合、図1Dに示すように、透光性基板15から透光性被覆部材19を透過した光は、遮光部材21との間の界面19Bによって反射される。界面19Bによって反射された光は界面15Bを経て透光性基板15側に戻る(図1D中、矢印a)。
また、本実施例において、透光性被覆部材19は透光性基板15よりも低い屈折率を有している。界面15Bに臨界角以上の角度で入射した光は、界面15Bで全反射され、殆ど減衰せずに透光性基板15側に戻る(図1D中、矢印b)。
なお、透光性被覆部材19が設けられていない場合、透光性基板15から側面15Wに向かった光は透光性基板15と遮光部材21との界面によって反射されて多重反射を起こし、吸収されて光損失となる。
従って、本実施例において、界面における多重反射を防ぐことができ、透光性基板15から界面15Bに向かった光は吸収されることなく透光性基板15側に戻る。すなわち、光損失による輝度の低下を抑制することができる。
さらに、透光性基板15と透光性被覆部材19との屈折率差がより大きくなるように材料を選択することで、透光性基板15から界面15Bに入射した光が界面15Bによって全反射されやすくなり、より効率良く当該光を透光性基板15側に戻すことができる。
図1Eは、透光性基板15の側面15Wにおける錐状凹凸の分布の一例を模式的に示す図である。説明のため、側面15Wの一部の領域にハッチングを施して示している。
図1Eに示す長方形の側面15Wの長辺は、透光性基板15の基板面に対して平行な辺である。図1E中の領域15RSは、サブミクロンオーダの錐状凹凸が広がって分布し、表面粗さが大きい粗面領域を示している。粗面領域15RSは、透光性基板15の基板面に平行な方向に沿って錘状凹凸が密集している帯状領域15DSを含んでいる。
このようなサブミクロンオーダの錐状凹凸及びその特徴的な分布が形成された。具体的には、レーザによって基板を切断するダイシング技術であるステルスダイシング(登録商標)によって切断された切断面に、当該錘状凹凸が形成された。
本実施例において、透光性被覆部材19が設けられていることで、透光性基板15の側面に錐状凹凸が存在しても、上記したような多重反射及びこれに伴う光の損失は生じない。錘状凹凸が密集した帯状領域15DSが存在しても光損失による輝度の低下を抑制することができる。
図1Fは、図1Dと同様に図1Bの破線で囲まれた部分Aの拡大図である。図1Fは、本実施例において、透光性被覆部材19が錘状凹凸の凹部に気泡19Vを含んでいる場合の例について示している。透光性基板15と透光性被覆部材19との界面15Bの一部は、気泡19Vに接している。すなわち、界面15Bの一部は、透光性基板15と気泡19Vとの間の界面となっている。
通常、透光性被覆部材19の屈折率は空気の屈折率1よりも大きい。従って、透光性基板15と気泡19Vとの間の屈折率の差(屈折率差)は、透光性基板15と透光性被覆部材19との間の屈折率差よりも大きい。よって、当該気泡19Vとの界面において、透光性基板15側から当該界面に向かって進んだ光は、より一層全反射され易くなる。
例えば、透光性基板15がサファイア基板である場合、その屈折率は約1.75であり、透光性被覆部材19がシリコーン樹脂である場合、その屈折率は約1.45である。従って、透光性基板15と透光性被覆部材19との屈折率差は約0.30となる。この場合、透光性基板15と気泡19Vとの屈折率差は約0.75であり、透光性基板15と透光性被覆部材19との屈折率差よりも大きくなる。
気泡19Vを含む透光性被覆部材19は、例えば、発光素子12の製造時において、透光性被覆部材19となる樹脂材を透光性基板15の側面15Wに塗布する際に、当該樹脂材に気泡を混合させるか又は当該塗布後に通常行われる脱泡の工程を行わないことで、形成することができる。また、例えば、気泡を混合させるのに適した粘度の樹脂材を選択したり、当該樹脂を加熱により硬化させる場合には、より低温で硬化する樹脂を選択したりすることで、気泡19Vを透光性被覆部材19中に保持することができる。
なお、本実施例において、透光性被覆部材19に用いることができる樹脂としてシリコーン樹脂を例に挙げたが、他にエポキシ系樹脂、アクリル系樹脂等の様々な材料を用いることができる。
また、遮光部材21が光散乱材を含む例について説明したが、これに加えて、遮光部材21には、カーボンブラック等の光吸収材が添加されていてもよい。
なお、発光装置10は、複数の発光素子12を有していてもよく、複数の発光素子12が基板11の実装面上に並置されて配列されていてもよい。
以上、詳細に説明したように、本実施例の発光素子12は、半導体構造層13の側面、透光性基板15の側面及び波長変換層17の側面からなる面を全体に亘って被覆する透光性被覆部材19を有している。透光性基板15の側面15Wは、サブミクロンオーダの錐状凹凸を有している。
そして、透光性基板15の側面15Wは、透光性基板15よりも屈折率が低い透光性被覆部材19によって被覆されている。透光性基板15から透光性被覆部材19を透過した光は、遮光部材21との界面19Bによって反射され、透光性基板15から界面15Bに臨界角以上の角度で入射した光は、透光性被覆部材19との界面15Bで全反射されて、いずれも透光性基板15側に戻される。つまり、透光性基板15から界面15Bに向かった光は、界面15Bで吸収されることなく透光性基板15側に戻される。
従って、本実施例によれば、光の損失が少なく、高輝度かつ光取り出し効率の高い発光素子及び発光装置を提供することができる。
図2は、実施例2に係る発光装置30Aの断面を示す断面図である。発光装置30Aは、発光素子32Aを有している。発光装置30Aは、発光素子32Aが、透光性被覆部材19の代わりに透光性被覆部材33を有している点において実施例1の発光装置10と異なり、その余の点については同様に構成されている。
透光性被覆部材33は、波長変換層17の側面を被覆せずに、半導体構造層13の側面及び透光性基板15の側面を全体に亘って一体的に被覆するように形成されている。換言すれば、透光性被覆部材33は、波長変換層17の側面と透光性基板15の側面との境界から半導体構造層13の側面の下端に亘って一体的に被覆している。透光性被覆部材33として、透光性被覆部材19と同様に、シリコーン樹脂等の樹脂を用いることができる。
発光装置30Aにおいて、発光層13Bから出射されて透光性基板15の側面15Wに向かった光は、実施例1の場合と同様に、透光性基板15と透光性被覆部材33との間の界面15Bか又は透光性被覆部材33と遮光部材21との界面によって反射されて透光性基板15に戻される。当該戻された光は、透光性基板15内を導波されて波長変換層17に入射し、波長変換されて波長変換層17の上面から出射される。
透光性被覆部材33は波長変換層17を被覆しないように設けられている。すなわち、遮光部材21が波長変換層17の側面に直接接触している。従って、透光性被覆部材33内を導波された光が、波長変換層17を経ずに発光素子32Aから出射されることがない。従って、波長変換されていない光が波長変換層17の外周部付近から出射されることを防ぎ、発光素子32Aから出射される光の色ムラを抑制することができる。
従って、本実施例において、透光性基板15の側面15Wが透光性被覆部材33によって被覆されていることで、透光性基板15の側面15Wにおける光の損失を防ぎつつ、色ムラも抑制することができる。
従って、本実施例によれば、光の損失が少なく、高効率で高輝度の光が得られ、かつ、色ムラの少ない発光素子及び発光装置を提供することができる。
なお、本実施例において、透光性被覆部材33は、波長変換層17の側面を被覆していない場合について説明したが、透光性被覆部材33は、波長変換層17の側面と透光性基板15の側面との境界の近傍において、波長変換層17の側面を被覆していてもよい。この場合、透光性被覆部材33は、波長変換層17の上面まで到達していなければよい。
図3は、実施例3に係る発光装置30Bの断面を示す断面図である。発光装置30Bは、発光素子32Bを有している。発光装置30Bは、発光素子32Bが、透光性被覆部材19の代わりに透光性被覆部材35を有している点において実施例1の発光装置10と異なり、その余の点については同様に構成されている。
透光性被覆部材35は、波長変換層17及び半導体構造層13の側面を被覆せずに、透光性基板15の側面を被覆している。より詳細には、透光性被覆部材35は、波長変換層17の側面と透光性基板15の側面との境界から、半導体構造層13の側面の下端に至らない位置にかけて、透光性基板15の側面を被覆している。透光性被覆部材35として、透光性被覆部材19と同様に、シリコーン樹脂等の樹脂を用いることができる。
本実施例において、透光性被覆部材35は、透光性基板15の側面のうち、錐状凹凸が帯状に分布し、表面粗さが大きい粗面領域15RSを被覆している(図1E参照)。従って、透光性被覆部材35は、粗面領域15RSに含まれ錘状凹凸が密集している帯状領域15DS(図1E参照)を被覆している。
発光装置30Bにおいて、発光層13Bから出射されて透光性基板15の側面と透光性被覆部材35との境界に向かった光は、実施例1の場合と同様に、透光性基板15と透光性被覆部材35との間の界面15Bか又は透光性被覆部材35と遮光部材21との界面によって反射されて透光性基板15に戻される。
当該戻された光は、透光性基板15内を導波されて波長変換層17に入射し、波長変換されて波長変換層17の上面から出射される。従って、透光性被覆部材35が形成されていることで、粗面領域15RSに分布している錐状凹凸に起因する光の損失を抑制することができる。
また、本実施例において、半導体構造層13の側面は、透光性被覆部材35によって被覆されず、遮光部材21によって被覆されている。これによって、半導体構造層13の側面における遮光部材21の厚みを十分に確保することができる。半導体構造層13の発光層13Bから出射された光は、遮光部材21に含まれる光散乱材によって反射され、半導体構造層13の側面からの光漏れが抑制される。
さらに、実施例2の場合と同様に、透光性被覆部材35が波長変換層17の側面を被覆してないことで、透光性被覆部材35内を導波された光が、波長変換層17を経ずに発光素子32Bから出射されることがない。従って、波長変換されていない光が波長変換層17の外周部付近から出射されることを防ぎ、発光素子32Bから出射される光の色ムラを抑制することができる。
従って、本実施例によれば、透光性基板15の側面の粗面領域に多く存在する錘状凹凸に起因する光の損失を防ぎつつ、半導体構造層13の側面からの光漏れ及び波長変換層17の外周部付近の色ムラの発生を抑制することができる。従って、光の損失が少なく、高効率で高輝度の光が得られ、色ムラの少ない発光素子及び発光装置を提供することができる。
なお、本実施例において、透光性被覆部材35は、波長変換層17の側面を被覆していない場合について説明したが、透光性被覆部材35は、波長変換層17の側面と透光性基板15の側面との境界の近傍において、波長変換層17の側面を被覆していてもよい。この場合、透光性被覆部材35は、波長変換層17の上面まで到達していなければよい。
図4Aは、実施例4に係る発光装置40の断面を示す断面図である。発光装置40は、発光素子42を有している。発光装置40は、発光素子42が、遮光部材21の代わりに、遮光部材としての反射膜43を有している点において実施例1の発光装置10と異なり、その余の点については同様に構成されている。
反射膜43は、透光性被覆部材19を覆うように形成されている。反射膜43は、例えばPt、Ag、又はAl等の金属からなる金属膜である。反射膜43は、透光性被覆部材19に入射された光を反射する。
発光装置40において、実施例1の場合と同様に、透光性基板15から界面15Bに臨界角以上の角度で入射した光は、界面15Bで全反射され、殆ど減衰せずに透光性基板15側に戻る。
一方、透光性基板15から透光性被覆部材19を透過した光は、透光性被覆部材19と反射膜43との界面19Mによって反射されて界面15Bを経て透光性基板15側に戻る。
従って、本実施例によれば、透光性基板15の側面に錐状凹凸が存在しても、透光性基板15から界面15Bに向かった光は吸収されることなく透光性基板15側に戻り、光損失による輝度の低下を抑制することができる。
また、本実施例において、反射膜43の基板11に平行な方向の厚みは、遮光部材21の厚みと比較して小さくすることができる。従って、発光素子42のサイズを小さくすることができ、発光素子42を実装する際のパッケージサイズを小さくすることができる。
[変形例]
図4Bは、実施例4の変形例である発光装置50の断面を示す断面図である。発光装置50は、発光素子52を有している。発光装置50は、発光素子52が反射膜43の代わりに金属膜を含む部材として、遮光部材21及び反射膜53を有している点において実施例4の発光装置40と異なり、その余の点については同様に構成されている。
遮光部材21は、実施例1の場合と同様に、半導体構造層13、透光性基板15及び波長変換層17の側面を被覆する透光性被覆部材19の表面を被覆するように形成されている。
反射膜53は、遮光部材21を覆うように形成されている。このように、遮光部材21及び反射膜53の両方を設けることで、半導体構造層13の側面、透光性基板15の側面及び波長変換層17の側面からの光漏れを確実に抑制することができる。
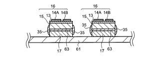
図5A乃至図5Eを参照しつつ、本発明の発光素子の製造工程の例として、発光素子52の製造工程の一例について説明する。図5Aは、UVシート61上に配置された波長変換層17及び波長変換層17上に配されたLEDチップ16を示す断面図である。図5Aの工程では、半導体構造層13、p電極14A、n電極14B及び透光性基板15からなるLEDチップ16が、接着剤63によって波長変換層17に接着される。
図5Bは、図5Aの工程後に形成された透光性被覆部材35を示す断面図である。図5Bの工程では、透光性基板15の側面及び波長変換層17の側面に透光性被覆部材35の原料となる樹脂材が塗布される。図5Bにおいて、透光性基板15の側面のうち上端部分を含まない領域及び波長変換層17の下端部分を含まない領域を覆うように、当該樹脂材が塗布されている。すなわち、図3に示したような透光性被覆部材35が形成されている。
透光性被覆部材35の厚み及び形状は、図5Bの工程で塗布する樹脂材を粘度等の性質に応じて適宜選択することで調整が可能である。例えば、より粘度の高い樹脂材を選択することで、厚みが大きく丸みを帯びた形状の透光性被覆部材35を形成することができる。また、例えば、より粘度の低い樹脂材を選択することで、薄く平坦な形状の透光性被覆部材35を形成することができる。
なお、透光性被覆部材35は、図5Aの工程において接着剤63が押し出されて透光性基板15の側面及び波長変換層17の側面に広がることによって形成されてもよい。例えば、図5Aの工程において、半導体構造層13の上面に、接着剤63としてシリコーン系の接着剤が適量塗布されて、波長変換層17の下面によって押し出され、表面張力によって透光性基板15の側面及び波長変換層17の側面に広がり、透光性被覆部材35が形成される。
図5Cは、図Bの工程の後、UVシート61上に充填された、遮光部材21を形成する樹脂材21Mを示す断面図である。図5Cに示すように、樹脂材21Mは、UVシート61上に配置された、波長変換層17、LEDチップ16及び透光性被覆部材35を有する素子間に充填されている。例えば、樹脂材21Mは、当該素子間に流し込まれた後に、加熱等により硬化される。
図5Dは、素子間の樹脂材21Mが切断されて形成された遮光部材21を示す断面図である。図5Eは、遮光部材21の側面に形成された反射膜53を示す断面図である。例えば、図5Eの工程において、蒸着法又はスパッタリング法によってPt等の金属の薄膜が形成される。
例えば、図5Eの工程において、反射膜53を形成しない箇所をUVシート等のマスクによって保護することで、遮光部材21の側面のみに選択的に反射膜53を形成する。このようにして、透光性被覆部材35、遮光部材21及び反射膜53を有する発光素子52を作製することができる。
図6は、実施例4に係る発光素子42を有する発光装置40について、発光強度を測定した結果について示すグラフである。図6のグラフには、発光装置40の発光強度が「実施例」として示されている。また、図6のグラフには、比較例として、透光性被覆部材19を有していない点を除いては発光装置40と同様に構成された発光装置の発光強度が「比較例」として示されている。
従って、比較例の発光装置は、半導体構造層13の側面、透光性基板15の側面及び波長変換層17の側面に、反射膜43が形成されている。比較例及び実施例のいずれの場合にも、反射膜43としてPt膜を形成した。
図6に示すように、実施例及び比較例のそれぞれについて、5つのサンプルの発光強度を測定した。図6のグラフの横軸はサンプル番号、縦軸は発光強度[μW]を示している。5つのサンプルの発光強度の平均値は、比較例では95.7μW、実施例では102.1μWであり、比較例に対して実施例の方が約6.7%高いという結果が得られた。
透光性基板15の側面と、反射膜43との間に透光性被覆部材19を設けることで、透光性基板15の側面における光の損失を低減できたといえる。
なお、上記の実施例及び変形例において示した構成は例示に過ぎず、用途等に応じて選択、組み合わせ及び変更が可能である。また、本発明の発光装置は、本発明の発光素子の複数が実装面上に並置されて配列されて構成されていてもよい。
以上、説明したように、本発明の発光素子及び発光装置によれば、透光性基板の側面の少なくとも一部を被覆する透光性被覆部材を設けることで、透光性基板の側面における光吸収による光損失を抑制することができる。特に、透光性基板の側面に、錘状凹凸が多数存在する粗面領域が存在する場合に、当該粗面領域における光吸収が、透光性被覆部材によって大きく低減される。従って、高輝度かつ高効率の発光素子及び発光装置を提供することができる。
10、30A、30B、40、50 発光装置
11 実装基板
12、32A、32B、42、52 発光素子
13 半導体構造層
13B 発光層
15 透光性基板
17 波長変換層
19、33、35 透光性被覆部材
21 遮光部材
43、53 反射膜

Claims (11)

  1. 発光層を有する半導体構造層と、
    前記半導体構造層上に設けられた透光性基板と、
    前記透光性基板上に配された波長変換層と、
    前記透光性基板の側面の少なくとも一部を被覆し、かつ、前記発光層からの光に対する透過性を有する透光性被覆部材と、
    前記透光性被覆部材の表面を含み、前記半導体構造層の側面、前記透光性基板の側面及び前記波長変換層の側面からなる面を全体に亘って覆うように形成された遮光部材と、を有し、
    前記透光性基板の前記側面は、サブミクロンオーダの錐状凹凸が広がって分布した粗面領域を有する発光素子。
  2. 前記粗面領域は、前記透光性基板の基板面に平行な方向に沿って前記錐状凹凸が密集している帯状領域を有する請求項1に記載の発光素子。
  3. 前記透光性被覆部材は、少なくとも前記波長変換層の側面と前記透光性基板の側面との境界から、前記半導体構造層の側面の下端に亘って一体的に被覆している請求項1又は2に記載の発光素子。
  4. 前記透光性被覆部材は、少なくとも前記波長変換層の側面と前記透光性基板の側面との境界から、前記透光性基板の下端に至らない位置にかけて、前記透光性基板の側面を被覆している請求項1乃至3のいずれか1つに記載の発光素子。
  5. 前記透光性被覆部材は、前記透光性基板の側面の前記粗面領域を被覆している請求項1又は2に記載の発光素子。
  6. 前記透光性被覆部材は、前記透光性基板の側面の前記帯状領域を被覆している請求項2に記載の発光素子。
  7. 前記透光性被覆部材は、前記透光性基板の側面の前記錐状凹凸の凹部に気泡を含む請求項1乃至6のいずれか1つに記載の発光素子。
  8. 前記遮光部材は光散乱材を含む請求項1乃至7のいずれか1つに記載の発光素子。
  9. 前記遮光部材は金属膜である請求項1乃至8のいずれか1つに記載の発光素子。
  10. 前記遮光部材は金属膜を含む部材である請求項1乃至9のいずれか1つに記載の発光素子。
  11. 実装面と、
    前記実装面上に並置されて配列された請求項1に記載の発光素子の複数と、
    を含む発光装置。
JP2018081721A 2018-04-20 2018-04-20 発光素子及び発光装置 Active JP7117136B2 (ja)

Priority Applications (2)

Application Number Priority Date Filing Date Title
JP2018081721A JP7117136B2 (ja) 2018-04-20 2018-04-20 発光素子及び発光装置
US16/389,455 US10978627B2 (en) 2018-04-20 2019-04-19 Light-emitting element and light-emitting device

Applications Claiming Priority (1)

Application Number Priority Date Filing Date Title
JP2018081721A JP7117136B2 (ja) 2018-04-20 2018-04-20 発光素子及び発光装置

Publications (2)

Publication Number Publication Date
JP2019192716A JP2019192716A (ja) 2019-10-31
JP7117136B2 true JP7117136B2 (ja) 2022-08-12

Family

ID=68238193

Family Applications (1)

Application Number Title Priority Date Filing Date
JP2018081721A Active JP7117136B2 (ja) 2018-04-20 2018-04-20 発光素子及び発光装置

Country Status (2)

Country Link
US (1) US10978627B2 (ja)
JP (1) JP7117136B2 (ja)

Families Citing this family (5)

* Cited by examiner, † Cited by third party
Publication number Priority date Publication date Assignee Title
TWI838548B (zh) * 2020-06-24 2024-04-11 方略電子股份有限公司 發光裝置
CN114178710B (zh) * 2020-08-24 2024-11-26 奥特斯(中国)有限公司 部件承载件及其制造方法
JP7570863B2 (ja) * 2020-09-24 2024-10-22 スタンレー電気株式会社 半導体発光装置及び半導体発光モジュール
JP7621783B2 (ja) 2020-12-10 2025-01-27 スタンレー電気株式会社 半導体発光装置及び半導体発光素子の支持基板
JP7513907B2 (ja) 2021-12-24 2024-07-10 日亜化学工業株式会社 発光装置

Citations (5)

* Cited by examiner, † Cited by third party
Publication number Priority date Publication date Assignee Title
WO2014034131A1 (ja) 2012-08-31 2014-03-06 パナソニック株式会社 発光装置
JP2015023162A (ja) 2013-07-19 2015-02-02 日亜化学工業株式会社 発光装置
US20170005245A1 (en) 2015-07-02 2017-01-05 Xiamen Sanan Optoelectronics Technology Co., Ltd. Light Emitting Diode Package Structure and Fabrication Method
JP2017033967A (ja) 2015-07-28 2017-02-09 日亜化学工業株式会社 発光装置及びその製造方法
JP2017157723A (ja) 2016-03-02 2017-09-07 日亜化学工業株式会社 発光装置及びその製造方法

Family Cites Families (7)

* Cited by examiner, † Cited by third party
Publication number Priority date Publication date Assignee Title
JP4474892B2 (ja) 2003-10-14 2010-06-09 日亜化学工業株式会社 フリップチップ型led
US10043946B2 (en) * 2009-08-25 2018-08-07 Soraa, Inc. Methods and devices for light extraction from a group III-nitride volumetric LED using surface and sidewall roughening
KR101047639B1 (ko) * 2010-04-19 2011-07-07 엘지이노텍 주식회사 반도체 발광소자, 발광 소자 패키지 및 반도체 발광 소자 제조방법
TWI543395B (zh) * 2013-04-01 2016-07-21 中國砂輪企業股份有限公司 圖案化光電基板及其製作方法
KR20150112237A (ko) * 2014-03-27 2015-10-07 서울바이오시스 주식회사 발광 소자의 제조 방법 및 그것에 의해 제조된 발광 소자
JP6288009B2 (ja) * 2015-08-31 2018-03-07 日亜化学工業株式会社 発光装置の製造方法
CN111525008B (zh) * 2017-02-17 2023-07-25 首尔伟傲世有限公司 具有侧面反射层的发光二极管

Patent Citations (5)

* Cited by examiner, † Cited by third party
Publication number Priority date Publication date Assignee Title
WO2014034131A1 (ja) 2012-08-31 2014-03-06 パナソニック株式会社 発光装置
JP2015023162A (ja) 2013-07-19 2015-02-02 日亜化学工業株式会社 発光装置
US20170005245A1 (en) 2015-07-02 2017-01-05 Xiamen Sanan Optoelectronics Technology Co., Ltd. Light Emitting Diode Package Structure and Fabrication Method
JP2017033967A (ja) 2015-07-28 2017-02-09 日亜化学工業株式会社 発光装置及びその製造方法
JP2017157723A (ja) 2016-03-02 2017-09-07 日亜化学工業株式会社 発光装置及びその製造方法

Also Published As

Publication number Publication date
JP2019192716A (ja) 2019-10-31
US10978627B2 (en) 2021-04-13
US20190326491A1 (en) 2019-10-24

Similar Documents

Publication Publication Date Title
US10074786B2 (en) LED with scattering features in substrate
JP7117136B2 (ja) 発光素子及び発光装置
JP6724933B2 (ja) 発光装置の製造方法
US10429011B2 (en) Method of manufacturing light emitting device
JP5915483B2 (ja) 発光装置及びその製造方法
JP6213582B2 (ja) 発光装置
JP2016219743A5 (ja)
JP2016219743A (ja) 発光装置
TW201611339A (zh) 半導體發光裝置
WO2016093325A1 (ja) 発光装置
JP7117127B2 (ja) 発光装置
KR101364720B1 (ko) 분포 브래그 반사기를 갖는 발광 다이오드
CN110190169A (zh) 发光装置
JP5970215B2 (ja) 発光装置およびその製造方法
US20160079487A1 (en) Semiconductor light-emitting device
JP2013258119A (ja) 発光装置、および表示装置
KR102519814B1 (ko) 높은 근거리 콘트라스트 비를 갖는 led 모듈
CN104779336A (zh) 发光装置
JP2019012860A (ja) 発光装置
JP7484075B2 (ja) 発光モジュールの製造方法
JP4861474B2 (ja) 発光装置
JP2010153595A (ja) 発光装置

Legal Events

Date Code Title Description
A621 Written request for application examination

Free format text: JAPANESE INTERMEDIATE CODE: A621

Effective date: 20210316

A131 Notification of reasons for refusal

Free format text: JAPANESE INTERMEDIATE CODE: A131

Effective date: 20220222

A977 Report on retrieval

Free format text: JAPANESE INTERMEDIATE CODE: A971007

Effective date: 20220222

A521 Request for written amendment filed

Free format text: JAPANESE INTERMEDIATE CODE: A523

Effective date: 20220420

A131 Notification of reasons for refusal

Free format text: JAPANESE INTERMEDIATE CODE: A131

Effective date: 20220614

A521 Request for written amendment filed

Free format text: JAPANESE INTERMEDIATE CODE: A523

Effective date: 20220628

TRDD Decision of grant or rejection written
A01 Written decision to grant a patent or to grant a registration (utility model)

Free format text: JAPANESE INTERMEDIATE CODE: A01

Effective date: 20220705

A61 First payment of annual fees (during grant procedure)

Free format text: JAPANESE INTERMEDIATE CODE: A61

Effective date: 20220801

R150 Certificate of patent or registration of utility model

Ref document number: 7117136

Country of ref document: JP

Free format text: JAPANESE INTERMEDIATE CODE: R150

R250 Receipt of annual fees

Free format text: JAPANESE INTERMEDIATE CODE: R250