JP7075673B2 - 浸出液を準備するためのデバイス - Google Patents

浸出液を準備するためのデバイス Download PDF

Info

Publication number
JP7075673B2
JP7075673B2 JP2019552231A JP2019552231A JP7075673B2 JP 7075673 B2 JP7075673 B2 JP 7075673B2 JP 2019552231 A JP2019552231 A JP 2019552231A JP 2019552231 A JP2019552231 A JP 2019552231A JP 7075673 B2 JP7075673 B2 JP 7075673B2
Authority
JP
Japan
Prior art keywords
tank
cover
leachate
upper tank
view
Prior art date
Legal status (The legal status is an assumption and is not a legal conclusion. Google has not performed a legal analysis and makes no representation as to the accuracy of the status listed.)
Active
Application number
JP2019552231A
Other languages
English (en)
Other versions
JP2020515317A (ja
Inventor
サンチェス,ミゲル オゾリオ
ローダス,エクトル ポヤトス
Original Assignee
イノベーション クラフト カンパニー,エス.エル
Priority date (The priority date is an assumption and is not a legal conclusion. Google has not performed a legal analysis and makes no representation as to the accuracy of the date listed.)
Filing date
Publication date
Application filed by イノベーション クラフト カンパニー,エス.エル filed Critical イノベーション クラフト カンパニー,エス.エル
Publication of JP2020515317A publication Critical patent/JP2020515317A/ja
Application granted granted Critical
Publication of JP7075673B2 publication Critical patent/JP7075673B2/ja
Active legal-status Critical Current
Anticipated expiration legal-status Critical

Links

Images

Classifications

    • AHUMAN NECESSITIES
    • A47FURNITURE; DOMESTIC ARTICLES OR APPLIANCES; COFFEE MILLS; SPICE MILLS; SUCTION CLEANERS IN GENERAL
    • A47JKITCHEN EQUIPMENT; COFFEE MILLS; SPICE MILLS; APPARATUS FOR MAKING BEVERAGES
    • A47J31/00Apparatus for making beverages
    • A47J31/14Coffee or tea-making apparatus with filters placed in or behind pouring spouts
    • AHUMAN NECESSITIES
    • A23FOODS OR FOODSTUFFS; TREATMENT THEREOF, NOT COVERED BY OTHER CLASSES
    • A23FCOFFEE; TEA; THEIR SUBSTITUTES; MANUFACTURE, PREPARATION, OR INFUSION THEREOF
    • A23F5/00Coffee; Coffee substitutes; Preparations thereof
    • A23F5/24Extraction of coffee; Coffee extracts; Making instant coffee
    • A23F5/26Extraction of water soluble constituents
    • AHUMAN NECESSITIES
    • A47FURNITURE; DOMESTIC ARTICLES OR APPLIANCES; COFFEE MILLS; SPICE MILLS; SUCTION CLEANERS IN GENERAL
    • A47JKITCHEN EQUIPMENT; COFFEE MILLS; SPICE MILLS; APPARATUS FOR MAKING BEVERAGES
    • A47J31/00Apparatus for making beverages
    • AHUMAN NECESSITIES
    • A47FURNITURE; DOMESTIC ARTICLES OR APPLIANCES; COFFEE MILLS; SPICE MILLS; SUCTION CLEANERS IN GENERAL
    • A47JKITCHEN EQUIPMENT; COFFEE MILLS; SPICE MILLS; APPARATUS FOR MAKING BEVERAGES
    • A47J31/00Apparatus for making beverages
    • A47J31/06Filters or strainers for coffee or tea makers ; Holders therefor
    • AHUMAN NECESSITIES
    • A47FURNITURE; DOMESTIC ARTICLES OR APPLIANCES; COFFEE MILLS; SPICE MILLS; SUCTION CLEANERS IN GENERAL
    • A47JKITCHEN EQUIPMENT; COFFEE MILLS; SPICE MILLS; APPARATUS FOR MAKING BEVERAGES
    • A47J31/00Apparatus for making beverages
    • A47J31/24Coffee-making apparatus in which hot water is passed through the filter under pressure, i.e. in which the coffee grounds are extracted under pressure
    • A47J31/30Coffee-making apparatus in which hot water is passed through the filter under pressure, i.e. in which the coffee grounds are extracted under pressure with hot water under steam pressure
    • A47J31/303Coffee-making apparatus in which hot water is passed through the filter under pressure, i.e. in which the coffee grounds are extracted under pressure with hot water under steam pressure classical type of espresso apparatus, e.g. to put on a stove, i.e. in which the water is heated in a lower, sealed boiling vessel, raised by the steam pressure through a rising pipe and an extraction chamber and subsequently is collected in a beverage container on top of the water boiling vessel
    • AHUMAN NECESSITIES
    • A47FURNITURE; DOMESTIC ARTICLES OR APPLIANCES; COFFEE MILLS; SPICE MILLS; SUCTION CLEANERS IN GENERAL
    • A47JKITCHEN EQUIPMENT; COFFEE MILLS; SPICE MILLS; APPARATUS FOR MAKING BEVERAGES
    • A47J31/00Apparatus for making beverages
    • A47J31/44Parts or details or accessories of beverage-making apparatus
    • AHUMAN NECESSITIES
    • A47FURNITURE; DOMESTIC ARTICLES OR APPLIANCES; COFFEE MILLS; SPICE MILLS; SUCTION CLEANERS IN GENERAL
    • A47JKITCHEN EQUIPMENT; COFFEE MILLS; SPICE MILLS; APPARATUS FOR MAKING BEVERAGES
    • A47J31/00Apparatus for making beverages
    • A47J31/44Parts or details or accessories of beverage-making apparatus
    • A47J31/54Water boiling vessels in beverage making machines
    • A47J31/547Water boiling vessels in beverage making machines using microwave energy for heating the water
    • AHUMAN NECESSITIES
    • A47FURNITURE; DOMESTIC ARTICLES OR APPLIANCES; COFFEE MILLS; SPICE MILLS; SUCTION CLEANERS IN GENERAL
    • A47JKITCHEN EQUIPMENT; COFFEE MILLS; SPICE MILLS; APPARATUS FOR MAKING BEVERAGES
    • A47J36/00Parts, details or accessories of cooking-vessels
    • A47J36/02Selection of specific materials, e.g. heavy bottoms with copper inlay or with insulating inlay
    • A47J36/027Cooking- or baking-vessels specially adapted for use in microwave ovens; Accessories therefor

Landscapes

  • Engineering & Computer Science (AREA)
  • Food Science & Technology (AREA)
  • Life Sciences & Earth Sciences (AREA)
  • Chemical & Material Sciences (AREA)
  • Polymers & Plastics (AREA)
  • Apparatus For Making Beverages (AREA)
  • Extraction Or Liquid Replacement (AREA)
  • Tea And Coffee (AREA)
  • Medical Preparation Storing Or Oral Administration Devices (AREA)
  • Infusion, Injection, And Reservoir Apparatuses (AREA)
  • Constitution Of High-Frequency Heating (AREA)

Description

本発明は、上昇管により浸出液を準備するためのデバイスを述べる。このデバイスは、電磁波を反射するシールドを含むことを特徴とする。本発明で述べるデバイスは、電子レンジ内での浸出液の準備に適している。
浸出液の準備は、抽出すべき固形物(コーヒー、茶、マテ、カモミール、芳香性ハーブなど)の気液抽出によって行われることが知られている。抽出液流体(液体または蒸気)の流れは、抽出すべき固形物の層を含む抽出領域に浸透し、浸出液を貯蔵する凝縮タンクに流入する。
抽出プロセスでは、最大の抽出性能を発揮し、固形物からのすべての化合物、特に浸出液の芳香を司る揮発性化合物を抽出できるように、流体温度が抽出液の沸点に近いことが必要である。一方、流体の圧力が高いほど、揮発性化合物の抽出が良くなる。さらに、揮発性化合物が劣化するので、凝縮タンク内の浸出液の温度が高くないことが必要である。さらに、抽出領域での高温により、抽出すべき物質が炭化される。最後に、一度準備した浸出液は約40℃の温度にすることが推奨される。
従来技術では、浸出液を準備するための様々な方法が述べられている:
-上昇管によるもの。上昇管を通して、抽出すべき固形物が位置される上側容器に高温の抽出流体が取り込まれる。
-圧力下での液体の流れによるもの。この流れは、抽出すべき固形物を含むカプセルを穿孔して通過する。
-抽出すべき固形物を単一の容器内で含浸することによるもの。
液体の流れによる抽出は、揮発性化合物を抽出するために6~15barの圧力で行われるが、開いた容器内に浸出液が落ち、浸出液が急速に冷却するという欠点がある。浸出液を得るためのこの手順には、カプセルの種類ごとに特定のデバイスが必要である。さらに、抽出すべき固形物の層にチャネルが形成されることを避けるべきである。他方、不十分な洗浄により、シールに真菌及び酵母が成長することがよくある。
上昇管による抽出に使用されるデバイスは、金属製の下側タンクを有し、下側タンクに、沸騰温度まで加熱した抽出流体が導入される。流体が沸騰温度に達すると、抽出すべき固形物の炭化と揮発性化合物の分解とを防ぐために、エネルギー源を切断しなければならない。しかし、得られた浸出液は急速に冷却され、浸出液を注ぐために補助容器が必要とされる。これらのデバイスは、1~1.2barの圧力下で動作する。準備された浸出液は、60~80℃の温度である。浸出液を、飲めるように冷却しなければならない。
従来技術では、タンクを接続するためのいくつかのフィルタを備えるデバイスが述べられているが、上記フィルタは、圧力を上昇させる。特許文献1には、電磁放射を反射するシールドを備える、浸出液を準備するための装置が述べられているが、作業圧が50~60psi(3.4~4.1bar)である。
本発明に最も近い文献は、電磁放射に対して透明な材料で作られた、電子レンジ内で浸出液を準備するのに適したデバイスを述べているが、得られる浸出液は過熱されて、浸出液の芳香を司る揮発性成分を失い、不快な味がするため、浸出液は低品質である。
特許文献2には、浸出液を準備するためのデバイスであって:
-弁を有する、電磁放射に対して透明な下側タンク、
-下側タンクにねじ接続される上側タンク、
-タンクを接続する漏斗、及び
-濾過手段を有する、抽出すべき物質を含む抽出領域
を備えるデバイスが述べられている。
しかし、上記デバイスは、漏斗の表面にある8つの穿孔、及びフィルタを備え、それによって液体が流れるが、上記穿孔は閉塞し得て、圧力、したがって温度を上昇させる。
米国特許第5884551号明細書 スペイン国発明特許第1141483号明細書
本発明によって解決される問題は、揮発性成分の劣化を防ぐ、電子レンジ内で浸出液を準備するための適切なデバイスを見つけることである。すなわち、本発明は、浸出液の風味及び芳香を改善することを可能にする。
本発明者らが発見した解決策は、上側タンクまたは凝縮器の温度及び抽出領域内の温度を上昇させることなく、1.5barを超える抽出流体の圧力を得ることを可能にする漏れ止めデバイスである。本願で記載するデバイスは、抽出領域及び凝縮タンク内の電磁放射を反射するシールドを備え、このようにして、電磁放射のエネルギーは、下側タンクまたはボイラのみに伝達される。
本発明によって解決される別の問題は、上側タンクが加熱されないので、別の容器を使用せずに浸出液をデバイスから直接飲むことができることである。
本願で述べるデバイスは、茶、カモミール、マテ、バニラ、コーヒーなどの任意の固形物を抽出するのに適している。抽出すべき物質は抽出領域内にあり、フィルタまたはカプセル内で調整することができる。
好ましい形態では、デバイスは、カバー、抽出領域、及び上側凝縮タンクに熱シールドを備える。熱シールドは、浸出液の冷却を防止する。
好ましい形態では、本願で述べるデバイスは、カプセル内で調整された固形物を抽出するのに適している。この実施形態では、抽出領域は、下側タンクを封止するシールを備え、シールを通してカプセルが挿入され、抽出領域はさらに、カプセル及び濾過手段をパンチ及びプレスするための手段を備える。
より好ましい形態では、カプセルをパンチ及びプレスするための手段は、タンクと、先端で終端する少なくとも3本の脚を有する円形部片とを接続する漏斗の上部にある針である。この実施形態は、幾何形状及び製造業者に関係なく、市場に出ているほとんどのカプセルに本デバイスを使用することを可能にする。
別の実施形態では、デバイスは、得られた浸出液量を知ることを可能にする浮きを備えたねじキャップを備える。
本発明で述べる抽出デバイスは、安全弁(3)を有する、電磁放射(1.4)に対して透明な下側タンク(1)、下側タンク(1)にねじ接続される上側タンク(8)、上側タンクと下側タンクとを接続する漏斗(5)、濾過手段を有する、抽出すべき物質を含む抽出領域、カバー(14)、及びデバイスを漏れ止めするための手段によって形成される。さらに、上側タンク(8)、抽出領域、及びカバー(14)は、電磁放射を反射するシールド1.2及び13を含む。
下側タンク(1)は水で満たされ、下側タンク(1)が連通している抽出領域に、抽出すべき物質(37)(コーヒー、紅茶、カモミール、芳香性ハーブなど)が入れられる。デバイスは、液密カバーで閉じられる。デバイスは、浸出液(27)を準備するために電子レンジ(38)内に配置される。
図3に示されるように、シールド1.2及び13は、電子レンジによって発生された電磁放射(1.4)を反射する。再び反射された波(1.4)は、ここで電子レンジの内壁で反射され、最終的に、放射を吸収して水を加熱する下側タンク(1)に衝突する。このようにして、水は、抽出領域または上側タンク(8)で加熱を引き起こすことなく、従来技術で引用された文献よりも迅速に加熱する。
電磁放射を遮蔽するための手段は、フェライト、鋼、アルミニウムなど、0.2~1ミリメートルの厚さを有する金属シートである。好ましい形態では、シールドは、0.5mmの鋼板である。
電磁放射に対する透明な材料は、当業者に知られており、セラミック、ガラス、テフロン(登録商標)、ポリアミドでよい。好ましい形態では、下側タンク(1)は、テフロン(登録商標)で作られる。
下側タンク(1)内で到達する圧力は、2.4~2.8barである。90~95℃の温度での水蒸気は、抽出領域から固形物を抽出し、漏斗(5)を通過して、上側タンク(8)に貯蔵される。準備される浸出液(27)の温度は40~50℃であり、この温度は、浸出液(27)を直接飲めるようにする。
好ましい実施形態では、デバイスは、カバー及び上側タンク(1.1)に熱シールド(12)を含む。熱シールドにより、火傷することなくデバイスを取り、浸出液を約40℃の温度に維持できるようにする。
好ましい実施形態では、抽出領域は、シール(33)を備え、シール(33)は上側タンク(8)を封止し、シール(33)を通してカプセル(6)が導入され、抽出領域はさらに、カプセル(6)及びフィルタ(6.1)をパンチ及びプレスするための手段を備える。より好ましい形態では、カプセル(6)をパンチ及びプレスするための手段は、タンクと、先端で終端する少なくとも3本の脚(6.3)を有する円形部片(6.2)とを接続する漏斗の上部にある針(32)である。この実施形態は、幾何形状及び製造業者に関係なく、市場に出ているほとんどのカプセルに本デバイスを使用することを可能にする。
好ましい形態では、カバー(14)は浮き(40)を含み、浮き(40)は、デバイスが動作中の電子レンジ(38)内部にあるとき、準備された浸出液(27)の体積をリアルタイムで検出する。
組み立てられた状態での、分解されていない本発明の斜視図である。 本発明によるデバイスの一実施形態の分解斜視図である。 電子レンジ内部に挿入された、組み立てられた状態での、図1の本発明の長手方向切断斜視図である。 水タンクのシールド及び熱シールの斜視図である。 図4のシールド及び熱シールの長手方向切断斜視図である。 図4のシールド及び熱シールの上面図である。 水タンクの底部シールの斜視図である。 図5の底部シールの長手方向切断斜視図である。 図5の底部シールの上面図である。 水タンクの斜視図である。 図6の水タンクの長手方向切断斜視図である。 図6の水タンクの上面図である。 図8の漏斗の底部シールの斜視図である。 図8の漏斗の図7の底部シールの長手方向切断斜視図である。 図8の漏斗の図7の底部シールの上面図である。 漏斗の斜視図である。 図8の漏斗の長手方向切断斜視図である。 図8の漏斗の上面図である。 図8の漏斗の上側シールの斜視図である。 図8の漏斗の図9の上側シールの長手方向切断斜視図である。 図8の漏斗の図9の上側シールの上面図である。 図7の底部シール及び図9の上側シールを備えた図8の漏斗の斜視図である。 図14の上側タンクの底部シールの斜視図である。 図14の上側タンクの図11の底部シールの長手方向切断斜視図である。 図14の上側タンクの図11の底部シールの側面図である。 図14の上側タンクの図11の底部シールの上面図である。 図24のカプセルをプレス及びパンチする円形部片の斜視図である。 図24のカプセルをプレス及びパンチする円形部片の長手方向切断斜視図である。 図24のカプセルをプレス及びパンチする円形部片の上面図である。 図24のカプセルをプレス及びパンチする円形部片の底面斜視図である。 図14の上側タンクのフィルタの斜視図である。 図14の上側タンクのフィルタの長手方向切断斜視図である。 図14の上側タンクのフィルタの上面図である。 上側タンクの斜視図である。 図14の上側タンクの長手方向切断斜視図である。 図14の上側タンクの上面図である。 図14の上側タンクのカバーの斜視図である。 図14の上側タンクの図15のカバーの長手方向切断斜視図である。 図14の上側タンクの図15のカバーの上面図である。 図15のカバーの浮きの斜視図である。 図15のカバーの浮きの長手方向切断斜視図である。 図15のカバーの浮きの上面図である。 図15のカバーのOリングの斜視図である。 図15のカバーの図17のOリングの側面図である。 図15のカバーのシールドの斜視図である。 図15のカバーの図18のシールドの長手方向切断斜視図である。 図15のカバーの図18のシールドの上面図である。 図15のカバーの熱シールの斜視図である。 図15のカバーの図19の熱シールの長手方向切断斜視図である。 図15のカバーの図19の熱シールの上面図である。 図15のカバーの閉鎖カバーの斜視図である。 図15のカバーの図20の閉鎖カバーの長手方向切断斜視図である。 図15のカバーの図20の閉鎖カバーの上面図である。 図15のカバーのプラグの斜視図である。 図15のカバーの図21のプラグの長手方向切断斜視図である。 図15のカバーの図21のプラグの上面図である。 図15のカバーの図21のプラグの側面図である。 図21のプラグの閉鎖カバーの斜視図である。 図21のプラグの図22の閉鎖カバーの長手方向切断斜視図である。 図21のプラグの図22の閉鎖カバーの上面図である。 図15のカバーの安全キャップの斜視図である。 図15のカバーの図23の安全キャップの長手方向切断斜視図である。 図15のカバーの図23の安全キャップの上面図である。 コーヒーまたは紅茶カプセルの斜視図である。 図24のコーヒーまたは紅茶カプセルの長手方向切断側面図である。 図24のコーヒーまたは紅茶カプセルの上面図である。 図24のコーヒーまたは紅茶カプセルの底面図である。
図1~3に本発明を示し、本発明によるデバイスの一実施形態を表す。
これらの図から理解されるように、本発明は、水(16)の下側タンク(1)を有し、下側タンク(1)内に水(16)が入れられ、この水(16)は電子レンジ(38)によって加熱されなければならず、下側タンク(1)には、使用後にタンクを手及び口で掴んだときに火傷しないように構成された熱シールド(1.1)が設けられ、下側タンク(1)にはさらに、水タンク(1)の内部を電磁波(1.4)から保護するために配置されたシールド(1.2)が設けられ、下側領域(1.3)は保護されずに残り、下側領域(1.3)で電磁波(1.4)が水(16)を加熱し、下側タンク(1)にはさらに、安全弁(3)が設けられ、安全弁(3)は、ステム(17)、ばね(18)、中空ねじ(19)、及びカバー(20)からなり、下側タンク(1)内部の圧力が特定の最大値を超えないように構成され、水(16)のタンク(1)の内部で特定の最大圧を超えた場合、タンク(1)内部の圧力は、弁(3)のばね(18)によって及ぼされる力よりも大きい力をステムヘッド(21)に対して生成し、ステム(17)を安全弁(3)の外方向に移動させ、蒸気がねじ(19)に入り、最後の穴を通って出てカバー(20)に向かって進み、タンク(1)内部の圧力が通常レベルに下がるまでデバイスの外部に圧力を解放し、安全弁(3)のばね力(18)がタンク(1)の内部の圧力よりも大きくなると、ステムヘッド(21)をねじ(19)内に移動させ、蒸気出口を阻止し、水(16)のタンク(1)の圧力を調整し、タンク(1)には浸出液のタンク(8)がねじ接続され、タンク(8)内にはコーヒー浸出液(27)が蓄積される。
両タンク(1、8)は、漏斗(5)によって分離され、漏斗(5)は、ねじ山(2)の穴の入口部から導入され、ねじ山(2)は、下側タンク(1)にある狭窄部(44)の上部に取り付けられ、狭窄部(44)は凹部(45)を有し、凹部(45)は、凸部(4.3)を有するシール(4)の下部に完全に適合し、凹部(4.4)を有するシール(4)の上部に完全に適合するようにシール(4.1)が下側凸形状(4.1.1)を有し、凹部(4.1.2)を有するシール(4.1)の上部に完全に適合するように漏斗(5)の下部が凸部(46)を有し、漏斗(5)の上部は凹部(47)を有し、凸部(4.2.1)を有するシール(4.2)の下部に完全に適合し、シール(4.2)は、固定及び封止部(41)と共に下側タンク(1)を封止する。
コーヒーポッドまたはカプセル(6)は、浸出液の上側タンク(8)のねじ(9)の内側にあるシール(33)に適合され、上部(4.2.2)を有するシール(4.2)が、下部(33.1)を有するシール(33)と完全に適合し、詳細には、上記シール(33)は、ポッド(6)の測定部と完全に適合し、ポッド(6)の上部(34)をタンク(8)の出口管(35)に向けて適合し、フィルタ(6.1)が針(6.3)と共に作用し、入口部(36)にあるカプセル(6)の下部(31)を、上側タンク(8)のシール(33)内に残す。
浸出液の上側タンク(8)のねじ(9)をタンク(1)のねじ山(2)とねじ接続することにより、タンク(8)の領域(8.1)の下側領域と漏斗(5)の上側領域(51)との間に力が発生し、穿孔(50)を有する針(32)によって上側領域(51)をカプセル(6)内に導入し、ポッド(6)の下部(31)を封止し、同時に、漏斗(5)のシール(4.2)が、浸出液(27)の上側タンク(8)を封止する凸形下部(36)を有するシール(33)と完全に適合することによって、タンク(1)の内部狭窄部(44)の上側領域(45)と漏斗(5)の上部(51)との間の圧縮が生じる。
漏斗(5)は、開いた下側入口(28)により形成され、下側入口(28)は、タンク(1)の水(16)をダクト(29)に接続し、ダクト(29)は、水(16)を針(32)に伝達し、上記流れが、コーヒーカプセル(6)の内部で、その下部(31)において、穿孔(50)を有する針(32)によって分散され、針(32)は、漏斗の上部(51)の中心点にあり、穿孔(50)を有する針(32)は、水(16)を、部分(31)を通してコーヒーカプセル(6)内部に排出し、コーヒーカプセル(6)の内部に含まれる物質(37)を濡らし、出口管(35)にあるフィルタ(6.1)及び針(6.3)を有するリング(6.2)が、タンク(8)にあるシール(33)に挿入されたカプセル(6)に応じてパンチ、プレス、及び濾過して、内部に浸出液(27)を生成し、上記浸出液(27)が、カプセル(6)の上部(34)を通って出て、貯蔵部(8)の出口管(35)に向かい、浸出液(27)を、端部穴(12)を通してタンク(8)の内部(15)に排出する。
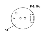
上側タンク(8)は、上部にカバー(14)を有し、カバー(14)は、タンク(8)の上側ねじ山(8.2)とカバー(14)のねじ(14.1)とによって接続され、カバー(14)はスプーン(14.2)を有し、スプーン(14.2)の配置は、カバー(14)の下側領域(49)に位置されて、浸出液(27)を、上側タンク(8)に追加される別の物質と混合し、カバー(14)はさらにボタン(10)を有し、ボタン(10)は浸出液計(39)を起動し、浸出液計(39)は、カバーの下部(49)に配置され、スプーン(14.2)内部にある浮き(40)によって形成され、また、カバー(14)はボタン(11)も有し、ボタン(11)は穴(42)を開放し、穴(42)は、浸出液(27)を外に通して、デバイスから直接飲めるようにする助けとなり、カバー(14)は内部に熱シール(12)を有し、熱シール(12)は、使用後に唇を火傷せずにデバイスから直接飲めるようにし、カバー(14)の内部(43)に位置し、カバー(14)はさらにシールド(13)を有し、シールド(13)は、上側タンク(8)の内部を電磁波から保護し、カバー(14)の内部(43)に位置し、安全キャップ(52)への接続によって接続され、安全キャップ(52)は、直立姿勢で部片に対して横方向に位置し、浸出液のタンクの内部の圧力が高すぎる場合に上方向に上昇し、穴(53)を開けたままにして圧力を解放し、同じ穴(53)に導入されるときにプラグ(52)が再び作動して、固定されて封止される。部分(57)にあるOリング(56)は、閉鎖カバー(58)がクリップ(59)によってカバー(14)の領域(60)内に埋め込まれるとき、カバー(14)を内部から封止し、カバーを固定して水密にする。閉鎖カバー(61)は、穴(63)を用いてクリップ(62)によって埋め込まれ、インジケータ(39)のボタン(10)と飲用ボタン(11)との両方を固定させる。閉鎖カバー(61)の上側陥凹部(64)は、その余剰部(65)によってインジケータ(39)のボタン(10)及び飲用ボタン(11)を保持する助けとなる。
コーヒーまたは他の物質の浸出液(27)を準備するために、適切な量の水(16)が、上側タンク(8)の領域(54)を超えないように上側タンク(8)内に入り、その量の水(16)を上側領域(55)を通してタンク(1)内部に注ぎ、液位は弁(3)よりも下であり、漏斗(5)が、底部シール(4.1)、上部シール(4.2)、及びシール(4)と共に、水タンク(1)(16)内部に挿入され、上側浸出液タンク(8)のシール(33)にコーヒーカプセル(6)が埋め込まれ、浸出液タンク(8)のねじ(9)がタンク(1)のねじ山(2)にねじ接続され、本発明を封止し、次いで、浸出液レベル(27)のインジケータ(39)のボタン(10)及び飲用ボタン(11)を押し、余剰部(65)をカバー(14)の閉鎖カバー(61)の上部陥凹部(64)に固定し、本発明を電子レンジ(38)内部に入れ、中程度の熱または中高程度の熱を加える。
タンク(1)からの水(16)が加熱され、圧力を上昇させ、この圧力が、水(16)の一部をタンク(1)から漏斗(5)の下側入口(28)を通して上方に押し、流れ(16)が内部ダクト(29)に流入し、ダクト(29)は、水(16)を針(32)に向けて方向付け、穿孔(50)を有する針(32)によってコーヒーカプセル(6)内部で水(16)を分散し、最終的に、水(16)は、コーヒー(37)または他の物質と接触して含浸して、カプセル(6)の上部(34)にあるリング(6.2)によって浸出液(27)を抽出し、浸出液(27)をフィルタ(6.1)によって濾過し、上側タンク(8)の出口管(35)に向けて導き、端部穴(12)を通して浸出液タンク(8)の内部(15)に浸出液(27)を導き、浮き(40)のマスト(66)は、スプーン(14.2)の底部にある入口(67)を通して浸出液(27)に入り、生成されている浸出液の量及び質をリアルタイムでタンク(8)内で得ることによって、浸出液(27)の質と量を報告する。
熱の影響により、したがってタンク(1)内部の圧力と温度の上昇により、タンク(1)にある熱シールド(1.1)及びカバー(14)内の熱シールド(12)が示され、一定の時間間隔の後、電子レンジからの本発明の取出しを可能にし、上側タンク(8)のカバー(14)のボタン(11)により、コーヒー浸出液(27)を、電子レンジ(38)による固液蒸気抽出によって直接飲めるようにする。
抽出段階では、カプセル(6)内部で生成された浸出液(27)の流れは、カプセル(6)の上部(34)を通して、リング(6.2)を通して濾過され、フィルタ(6.1)によって浸出液(27)を濾過し、浸出液(27)を上側タンク(8)の出口管路(35)に向けて導き、端部穴(12)を通してタンク(8)の内部(15)に浸出液(27)を導く。
このようにして、固液蒸気抽出によって得られた飲料画分が、上記プロセス中に不純物と混合されることが回避され、また、熱シールド1.1及び12ならびにタンク(1)のシールド(1.2)及びカバー(14)のシールド(13)は、本発明の内部を電磁波(1.4)及び高温から保護し、高品質のコーヒーまたは他の物質の浸出液を得て、同じデバイスから飲めるようにする。
本発明及び実際に実施される方法を十分に述べてきたが、添付図面に示して上述した規定は、その基本原理を変えない限り、詳細に修正を施されることに留意されたい。
110mlの水を下側タンクに入れ、出力350Wの電子レンジ内にデバイスを配置した。70秒後、水は漏斗を通って上昇し始めた。下側タンクで到達した圧力は2.67barであり、温度は95℃であった。下側タンクで使用した材料はテフロン(登録商標)であり、電磁放射線に対するシールド材料は、厚さ0.5mmの鋼板であった。
以下に詳述される特許請求の範囲に詳述されるすべての実施形態が本明細書の一部である。

Claims (6)

  1. 浸出液を準備するためのデバイスであって、
    弁(3)を有する、電磁放射(1.4)に対して透明な下側タンク(1)、
    前記下側タンク(1)のねじ山(2)とねじ(9)によってねじ接続される上側タンク(8)、
    前記上側タンク(8)と下側タンク(1)とを接続する漏斗(5)、
    抽出領域であって
    抽出すべき物質を備えるカプセル(6)、
    前記上側タンク(8)を封止する上側タンク(8)の底部シール(33)であって、前記カプセル(6)が挿入される前記上側タンク(8)の底部シール(33)、
    フィルタ(6.1)、
    先端(6.3)で終端する少なくとも3本の脚を有する円形部片(6.2)、
    カバー(14)、及び
    前記デバイスを漏れ止めするのに適した下側タンク(1)の底部シール(4)、を有する抽出領域
    を備え、
    前記抽出領域及び前記上側タンク(8)内の電磁波(1.4)に対するシールド(1.2)、ならびに
    前記カバー(14)内に電磁波に対するシールド(13)を含み、
    前記漏斗(5)が、
    前記上側タンク(8)内部と接する円形形状の上側部分(51)、
    前記漏斗(5)の中心に位置し、前記上側部分(51)を通り、前記上側タンク(8)と前記下側タンク(1)と連通するダクト(29)であって、前記下側タンク側に開いた下側入口(28)を有し、前記下側入口(28)から前記下側タンク(1)の水(16)を前記ダクト(29)内に通過させる、前記ダクト(29)
    前記カプセル(6)をパンチ及びプレスするのに適した、前記抽出領域に位置する中空の針(32)であって、前記上側部分(51)側に位置し、前記ダクト(29)と連通し、前記針(32)の先端部は閉じている、前記針(32)、及び、
    前記上側部分(51)側に位置する前記ダクト(29)にあり、前記針(32)の閉じた先端部よりも下側に位置する穿孔(50)、
    によって形成されることを特徴とするデバイス。
  2. 前記カバー(14)及び上側タンク(8)が熱シールド(12.1.1)を備えることを特徴とする請求項1に記載のデバイス。
  3. 前記上側タンク(8)にねじ接続されたカバー(14)を含み、前記カバーが浮き(40)を有することを特徴とする請求項に記載のデバイス。
  4. 電磁放射(1.4)に対する前記シールドが、0.2~1mmの厚さを有する鋼板であることを特徴とする請求項に記載のデバイス。
  5. 電磁放射に対して透明な材料がテフロン(登録商標)であることを特徴とする請求項に記載のデバイス。
  6. 電子レンジ内で浸出液を準備するための、請求項1からに記載のデバイスの使用。
JP2019552231A 2017-03-28 2017-08-02 浸出液を準備するためのデバイス Active JP7075673B2 (ja)

Applications Claiming Priority (3)

Application Number Priority Date Filing Date Title
ES201730354U ES1182359Y (es) 2017-03-28 2017-03-28 Aparato para la preparación de infusiones
ESU201730354 2017-03-28
PCT/ES2017/070566 WO2018178412A1 (es) 2017-03-28 2017-08-02 Aparato para la preparacion de infusiones

Publications (2)

Publication Number Publication Date
JP2020515317A JP2020515317A (ja) 2020-05-28
JP7075673B2 true JP7075673B2 (ja) 2022-05-26

Family

ID=58645418

Family Applications (1)

Application Number Title Priority Date Filing Date
JP2019552231A Active JP7075673B2 (ja) 2017-03-28 2017-08-02 浸出液を準備するためのデバイス

Country Status (15)

Country Link
US (1) US11553816B2 (ja)
EP (1) EP3603461B1 (ja)
JP (1) JP7075673B2 (ja)
KR (1) KR102378352B1 (ja)
CN (1) CN110662465B (ja)
AU (1) AU2017406005B2 (ja)
BR (1) BR112019020234B1 (ja)
CO (1) CO2019011421A2 (ja)
EA (1) EA201900498A1 (ja)
ES (1) ES1182359Y (ja)
IL (1) IL269408B2 (ja)
MX (1) MX2019011495A (ja)
MY (1) MY196934A (ja)
WO (1) WO2018178412A1 (ja)
ZA (1) ZA201906771B (ja)

Family Cites Families (27)

* Cited by examiner, † Cited by third party
Publication number Priority date Publication date Assignee Title
US4386109A (en) 1981-02-25 1983-05-31 Raytheon Company Microwave expresso coffee maker and process
US4900886A (en) * 1988-03-21 1990-02-13 Aladdin Industries, Inc. Microwave beverage maker
IL93150A0 (en) * 1989-02-13 1990-11-05 Farberware Inc Microwave drip coffee maker
US5028753A (en) 1990-01-24 1991-07-02 Aziz Shariat Microwaveable coffee maker
JPH0617636U (ja) * 1992-08-10 1994-03-08 実 行重 コーヒードリッパー
AU1513995A (en) * 1994-01-03 1995-08-01 Rudy Avramovich Microwave coffee and espresso beverages maker
US5884551A (en) * 1997-03-18 1999-03-23 Micro Lungo, Inc. Microwavable beverage maker
BR0104121A (pt) * 2001-02-01 2003-05-13 Helio Vieira Alves Aparelho multifervedor de microondas
US6655260B2 (en) * 2001-04-11 2003-12-02 Keurig, Incorporated Beverage filter cartridge holder
EP1418830A1 (de) * 2001-08-24 2004-05-19 Lacrex S.A. Vorrichtung zum bereiten heisser getränke in microwellengeräten
ITTO20020481A1 (it) * 2002-06-07 2003-12-09 Sgl Italia Srl Metodo e dispositivo di foratura di una capsula sigillata in una macchina da caffe'.
HK1052109A2 (en) * 2002-06-26 2003-08-15 陈永坚 Beverage making apparatus
EP1510158A1 (fr) * 2003-08-25 2005-03-02 Nestec S.A. Dispositif et méthode pour la préparation d'une boisson à partir d'une substance alimentaire contenue dans une capsule
WO2005089424A2 (en) * 2004-03-19 2005-09-29 Micro Lungo, Inc. Microwavable beverage maker
ITMO20070323A1 (it) * 2007-10-22 2009-04-23 Illycaffe Spa Contenitore
ATE476123T1 (de) * 2008-01-18 2010-08-15 Nestec Sa Getränkeautomat und durchbohrungsteil für eine öffnungsvorrichtung eines getränkeautomaten
US20110274922A1 (en) * 2008-11-14 2011-11-10 Jfe Steel Corporation Colored and laminated metal plate for container
EP2306871B2 (en) * 2009-06-17 2015-11-18 Koninklijke Douwe Egberts B.V. System, capsule and method for preparing a beverage
ITVR20120043A1 (it) * 2012-03-14 2013-09-15 Coffee Star S A Sistema per la produzione di bevande
CN203106806U (zh) * 2012-12-10 2013-08-07 广东新宝电器股份有限公司 咖啡机
US9521923B2 (en) * 2013-12-24 2016-12-20 Pangaea Labs Ltd. Brewable beverage making cup adaptor for cartridge type coffee making machines and cartridge type coffee making machine
PT2904951T (pt) * 2014-02-06 2017-02-21 Qbo Coffee Gmbh Sistema para a preparação de um produto de infusão
CN103829808B (zh) * 2014-03-14 2017-01-11 宁波凯波集团有限公司 胶囊饮料固定刺破装置
CN104095545B (zh) * 2014-06-20 2016-05-18 沁园集团股份有限公司 一种胶囊冲饮机
CN106185065B (zh) * 2015-05-04 2019-02-22 宁波金阳光电热科技有限公司 内刺破式饮品胶囊
ES1141483Y (es) * 2015-06-19 2015-10-07 Sanchez Miguel Osorio Aparato para la preparación de infusiones de café, u otra sustancia, mediante vaina o capsula de una dosis, por microondas
CN204909064U (zh) * 2015-07-08 2015-12-30 佛山市顺德区倍尔帝奇电子科技有限公司 一种全自动咖啡胶囊刺穿结构

Non-Patent Citations (1)

* Cited by examiner, † Cited by third party
Title
OSORIO SANCHEZ MIGUEL,Apparatus for the preparation of infusions of coffe, or another substance, by pod or capsule of a dose, by microwave,ES 1141483 U,ES,2015年07月16日

Also Published As

Publication number Publication date
AU2017406005B2 (en) 2023-12-21
IL269408B2 (en) 2024-07-01
MY196934A (en) 2023-05-11
EA201900498A1 (ru) 2020-02-10
US11553816B2 (en) 2023-01-17
EP3603461C0 (en) 2025-10-08
WO2018178412A1 (es) 2018-10-04
MX2019011495A (es) 2019-11-01
EP3603461B1 (en) 2025-10-08
BR112019020234B1 (pt) 2023-02-14
JP2020515317A (ja) 2020-05-28
US20200008612A1 (en) 2020-01-09
KR20190133722A (ko) 2019-12-03
IL269408B1 (en) 2024-03-01
ES1182359Y (es) 2017-07-31
IL269408A (en) 2020-02-27
ZA201906771B (en) 2020-09-30
CN110662465B (zh) 2022-08-23
EP3603461A4 (en) 2020-12-23
BR112019020234A2 (pt) 2020-06-16
CA3057945A1 (en) 2018-10-04
CN110662465A (zh) 2020-01-07
AU2017406005A1 (en) 2019-10-31
ES1182359U (es) 2017-05-09
EP3603461A1 (en) 2020-02-05
KR102378352B1 (ko) 2022-03-23
CO2019011421A2 (es) 2019-10-31
ES1182359U8 (es) 2017-07-20

Similar Documents

Publication Publication Date Title
US9179798B2 (en) Method and apparatus for brewing coffee and the like
JP2012503503A (ja) 携帯型多機能コーヒー抽出装置及びその応用
US5012059A (en) Appliance for heating water by microwave power
NO343161B1 (no) Kaffebrygger
US5325764A (en) Coffee extractor
JP7075673B2 (ja) 浸出液を準備するためのデバイス
JP5449763B2 (ja) 電子レンジ用のコーヒー等の濾過器
ITMO20060030A1 (it) Metodi e apparati per ottenere bevande
CA3057945C (en) Device for preparing infusions
HK40019783A (en) Device for preparing infusions
HK40019783B (en) Device for preparing infusions
US8127665B2 (en) Apparatus for preparing a coffee beverage
KR900012574A (ko) 음료 끓이는 장치
US627885A (en) Coffee-pot.
EA041679B1 (ru) Устройство для приготовления экстрактов
CN105744866B (zh) 配备有蒸汽回收装置的浸泡饮料的生产设备
WO2005079640A1 (en) Coffee-maker suitable for use in microwave ovens
US1619967A (en) Coffeepot
KR102027651B1 (ko) 건강보조식품용 농축기
CN221307954U (zh) 一种咖啡壶
KR200223000Y1 (ko) 다목적 추출기
JP4055840B2 (ja) 飲料抽出装置
JPH0440676Y2 (ja)
CZ2014128A3 (cs) Zařízení pro přípravu filtrované kávy
WO2006018860A1 (en) Filter for making infusions and the like, and device for the use thereof

Legal Events

Date Code Title Description
A521 Request for written amendment filed

Free format text: JAPANESE INTERMEDIATE CODE: A523

Effective date: 20191129

A621 Written request for application examination

Free format text: JAPANESE INTERMEDIATE CODE: A621

Effective date: 20200617

A977 Report on retrieval

Free format text: JAPANESE INTERMEDIATE CODE: A971007

Effective date: 20210616

A131 Notification of reasons for refusal

Free format text: JAPANESE INTERMEDIATE CODE: A131

Effective date: 20210713

A601 Written request for extension of time

Free format text: JAPANESE INTERMEDIATE CODE: A601

Effective date: 20211004

A601 Written request for extension of time

Free format text: JAPANESE INTERMEDIATE CODE: A601

Effective date: 20211213

A521 Request for written amendment filed

Free format text: JAPANESE INTERMEDIATE CODE: A523

Effective date: 20220107

TRDD Decision of grant or rejection written
A01 Written decision to grant a patent or to grant a registration (utility model)

Free format text: JAPANESE INTERMEDIATE CODE: A01

Effective date: 20220419

A61 First payment of annual fees (during grant procedure)

Free format text: JAPANESE INTERMEDIATE CODE: A61

Effective date: 20220509

R150 Certificate of patent or registration of utility model

Ref document number: 7075673

Country of ref document: JP

Free format text: JAPANESE INTERMEDIATE CODE: R150

R250 Receipt of annual fees

Free format text: JAPANESE INTERMEDIATE CODE: R250