JP6977596B2 - 金属板の打ち抜き加工方法 - Google Patents

金属板の打ち抜き加工方法 Download PDF

Info

Publication number
JP6977596B2
JP6977596B2 JP2018020543A JP2018020543A JP6977596B2 JP 6977596 B2 JP6977596 B2 JP 6977596B2 JP 2018020543 A JP2018020543 A JP 2018020543A JP 2018020543 A JP2018020543 A JP 2018020543A JP 6977596 B2 JP6977596 B2 JP 6977596B2
Authority
JP
Japan
Prior art keywords
bridge portion
bridge
beet
substrate
support bridge
Prior art date
Legal status (The legal status is an assumption and is not a legal conclusion. Google has not performed a legal analysis and makes no representation as to the accuracy of the status listed.)
Active
Application number
JP2018020543A
Other languages
English (en)
Other versions
JP2019136724A (ja
Inventor
淳 新田
隆 安富
靖典 澤
亮 田畑
Current Assignee (The listed assignees may be inaccurate. Google has not performed a legal analysis and makes no representation or warranty as to the accuracy of the list.)
Nippon Steel Corp
Original Assignee
Nippon Steel Corp
Priority date (The priority date is an assumption and is not a legal conclusion. Google has not performed a legal analysis and makes no representation as to the accuracy of the date listed.)
Filing date
Publication date
Application filed by Nippon Steel Corp filed Critical Nippon Steel Corp
Priority to JP2018020543A priority Critical patent/JP6977596B2/ja
Publication of JP2019136724A publication Critical patent/JP2019136724A/ja
Application granted granted Critical
Publication of JP6977596B2 publication Critical patent/JP6977596B2/ja
Active legal-status Critical Current
Anticipated expiration legal-status Critical

Links

Images

Landscapes

  • Punching Or Piercing (AREA)

Description

本発明は、金属板の打ち抜き加工方法に関する。
自動車部品等に供される薄鋼板は、打ち抜きにより所定の形状に剪断された後、プレス成形等の工程を経て実部品として用いられる。例えば、打ち抜きにより薄鋼板に穴や凹部などを設けた場合に生じる打ち抜き端面は、打ち抜き工程の影響で加工硬化しており、端面の延性が低い。そのため、その後の成形工程で、打ち抜いた端面をその延長方向に伸ばす「打ち抜き広げ成形」が加わった場合に端面から破断を生じる場合がある。近年自動車軽量化のニーズにより高強度鋼板が用いられているが、高強度鋼板は延性が比較的低い特性を持つために、打ち抜き端面の延性の劣化による破断等の成形不良の問題が顕著になりつつある。
打ち抜いた端面の破断を防止する技術として、特許文献1〜5に記載の技術が知られている。
特許文献1には、突起付きパンチとダイを用いて鋼板の外形を所定の形状に成形する際に、ダイ切刃部の曲率半径を所定の範囲とし、パンチ切刃から突起肩に引いた接線とパンチ移動方向と直角方向のなす角度が所定の角度になるようにした鋼板の打ち抜き方法が記載されている。
特許文献2には、突起付きポンチとダイを用いて鋼板の外形を所定の形状に成形する際に、ポンチ移動方向の直角方向とポンチ切刃から突起に引いた接線とのなす角度が所定の角度であり、ポンチ切刃から突起に引いた接線と突起の接点との距離が所定の範囲になるようにした鋼板打ち抜き方法が記載されている。
特許文献3は、外周面縁が切断刃となる底面と、外周縁から所定方向に平行な方向に伸びる外周面を有し、外周縁は平面視において凸状または凹状に湾曲する湾曲部を含み、底面は、平面部とこの平面部から所定方向に凹みかつ平面視において湾曲部を含むように設けられる切り欠き部を有するパンチと、ダイとを用いて金属板をせん断加工する方法が記載されている。
特許文献4は、予め、被加工材のせん断加工面にて伸びフランジ割れが生じやすい部位を特定し、せん断加工の際、特定した部位を含む領域に対向するパンチの刃先に、側面部と底面部で形成され、かつ、底面部のパンチ底面からの深さが被加工材の板厚の10〜70%である凹部を設け、凹部を有するパンチを用いてせん断加工を行うせん断加工方法が記載されている。
特許文献5には、フランジ加工時に割れの危険性があるせん断加工端部の所定位置を伸びフランジ割れ危険部として特定し、せん断加工後に剪断加工端部を伸びフランジ加工するために凹状の湾曲形状に形成されるように、かつ、伸びフランジ割れ危険部となる部位に所定の引っ張り応力が加わるように、金属板にビードを付与し、そのまま金属板をせん断するせん断加工成形方法が記載されている。
特許文献1に記載された方法では、ダイ切り刃部の曲率半径を所定の範囲とすることで、せん断中にダイ切刃で生じる塑性ひずみが分散されることで打ち抜き端面の塑性ひずみを低減し、打ち抜き穴広げ性を改善しているが、塑性ひずみの低減が打ち抜き端面全体に分散されるため、改善効果が小さい問題がある。
特許文献2に記載された方法では、ポンチに特定形状の突起を付けて鋼板に張力を与えた上でせん断を行うことにより、打ち抜き端面の加工硬化とバリ発生を抑制するものであるが、この方法では、同文献の図7に示されるように、ポンチに付けた突起によって材料が大きく撓んだ状態でせん断が行われるため、鋼板に与えられる張力が十分ではなく、打ち抜き端面の加工硬化の抑制が不十分であった。
特許文献3に記載された方法では、平面部によって切断された部分に比べて、切り欠き部によって切断された部分において破断面の板厚方向の長さを大きくすることで、伸びフランジ割れを防止しているが、パンチに平面部と切り欠け部を設ける際の設計上の制約から、破断面の板厚方向の長さを十分に大きくできない場合がある。また、打ち抜き形状が変更された場合には、パンチに設ける平面部と切り欠き部の形状の再設計が必要になり、設計変更に膨大な時間を要する場合がある。
特許文献4に記載された方法では、伸びフランジ割れが生じやすい部位に対して、パンチの刃先に凹部を設けてせん断加工することにより、せん断加工時の塑性変形を小さくして伸びフランジ割れを防止するが、パンチに凹部を設ける際の設計上の制約から、せん断加工時の塑性変形を十分に小さくできない場合がある。また、打ち抜き形状が変更された場合には、パンチに設ける凹部の形状の再設計が必要になり、設計変更に膨大な時間を要する場合がある。
特許文献5に記載された方法では、金属板にビードを付与してせん断加工を行うことでビード形成時にせん断加工方向と直交する方向に引っ張り応力を発生させて、伸びフランジ割れ危険部となる部位の歪みを小さくして当該部位の変形能を増加させるが、十分な効果を発揮させるためには、ビードの位置、サイズ、形状を最適化する必要があり、必ずしも十分な効果が得られない場合があった。
更に、特許文献1〜5に記載された加工方法では、金属板、鋼板等の被加工材の板厚、強度等が変更されたり、せん断後の打ち抜き形状が変更されたりするなどの設計変更が生じると、複数のパラメータを再調整して最適な範囲に設定し直す必要があり、設計変更に膨大な手間と時間を要していた。
国際公開第2015/072465号 特開2006−224121号公報 国際公開第2016/092657号 特許第5821898号公報 特許第5386991号公報
本発明は上記事情に鑑みてなされたものであり、打ち抜き端面の延性の劣化による破断等の成形不良を容易に回避可能な、金属板の打ち抜き加工方法を提供することを課題とする。
[1] 凹状の湾曲形状の端部を有する基板部、前記湾曲形状の端部を迂回するように両端が前記基板部に接続されたサポートブリッジ部、及び、一端が前記湾曲形状の端部に接続されるとともに他端が前記サポートブリッジ部に接続された1または2以上のテンサイルブリッジ部を備えた金属板からなるブランクと、
底面部及び側面部を有し、前記底面部と前記側面部とが接する角部がパンチ刃とされ、更に前記底面部に突起部が設けられてなるパンチと、
ダイとを用意し、
前記基板部を拘束し、前記パンチの突起部を前記テンサイルブリッジ部及び前記サポートブリッジ部の一方または両方に押し当てつつ、前記パンチ刃と前記ダイによって前記テンサイルブリッジ部及び前記サポートブリッジ部を前記基板部からせん断加工により切り離す、金属板の打ち抜き加工方法。
[2] 前記サポートブリッジ部が直線状に形成されている、[1]に記載の金属板の打ち抜き加工方法。
[3] 前記サポートブリッジ部が前記湾曲状の端部に沿って湾曲した形状に形成されている、[1]に記載の金属板の打ち抜き加工方法。
[4] 前記サポートブリッジ部が複数である、[1]乃至[3]の何れか一項に記載の金属板の打ち抜き加工方法。
[5] 前記テンサイルブリッジ部の前記他端側が幅方向に分割され、前記サポートブリッジ部に対して2箇所で接続されている、[1]に記載の金属板の打ち抜き加工方法。
[6] 前記ブランクを挟んで前記パンチと対向する位置に補助パッドを配置し、前記補助パッドには、前記突起部の押し当て箇所よりも前記基板部側で前記テンサイルブリッジ部に接する補助突起部が備えられ、前記突起部に押された前記ブリッジ部を前記補助突起部で支持しつつ、前記せん断加工を行う、[1]乃至[5]の何れか一項に記載の金属板の打ち抜き加工方法。
本発明の金属板の打ち抜き加工方法においては、サポートブリッジ部の両端が基板部に接続されているため、基板部の拘束によってサポートブリッジ部の変形が制限され、これにより、サポートブリッジ部に接続されたテンサイルブリッジ部の他端の変位が制限される。また、テンサイルブリッジ部の一端が基板部に接続されているため、基板部の拘束によってテンサイルブリッジ部の一端も変位が制限される。この状態で、テンサイルブリッジ部またはサポートブリッジ部にパンチの突起部が押し当てられると、突起部の押し当て箇所が基板部よりも沈んでテンサイルブリッジ部が弾性変形し、テンサイルブリッジ部と基板部の端部との接続部分に引張応力が集中する。パンチとダイが更に相互に接近するに従ってテンサイルブリッジ部と基板部との間の引張応力が更に増大する。そして、引張応力が印加された状態で、パンチ刃とダイによってテンサイルブリッジ部と基板部の端部との接続箇所がせん断され、ブランクからテンサイルブリッジ部が除去される。同時にサポートブリッジ部もブランクから除去される。せん断時のテンサイルブリッジ部と基板部の端部との接続部分に引張応力が集中していたため、基板部側のせん断箇所では加工硬化が著しく小さくなる。このように、基板部の端部におけるせん断に伴う加工硬化を部分的に小さくできるので、湾曲形状の端部をその延長方向に伸ばす加工を施した場合に、端部の割れを抑制することができる。
これにより例えば、湾曲形状の端部をその延長方向に伸ばす加工を行う際に、当該加工のブランク材として本発明の金属板の打ち抜き加工方法によって得られた金属板を適用することで、当該加工時の端部の割れを防止できるようになる。
また、本発明の金属板の打ち抜き加工方法では、サポートブリッジ部が直線状に形成されているため、テンサイルブリッジ部の拘束力を強めることができ、テンサイルブリッジ部と基板部との間の引張応力を高めることができる。
更に、本発明の金属板の打ち抜き加工方法では、サポートブリッジ部が湾曲状の端部に沿って湾曲した形状に形成されているため、サポートブリッジ部が直線状である場合に比べてテンサイルブリッジ部の一端と他端の距離を短くすることができ、これによりテンサイルブリッジ部と基板部との間の引張応力を高める調整が可能になる。また、サポートブリッジ部が湾曲することで、サポートブリッジ部と基板部との間にも引張応力を発生させることができ、サポートブリッジ部の基板部側のせん断箇所での加工硬化を小さくすることができる。これにより、加工硬化が小さくなる箇所を複数箇所に形成できるようになり、端部をその延長方向に伸ばす加工を施した場合に、端部の割れをより効果的に抑制できる。
更にまた、本発明の金属板の打ち抜き加工方法では、サポートブリッジ部が複数あるので、テンサイルブリッジ部の剛性を高めることができ、テンサイルブリッジ部と基板部との間の引張応力を調整できる。
また、本発明の金属板の打ち抜き加工方法では、テンサイルブリッジ部の他端側が幅方向に分割され、サポートブリッジ部に対して2箇所で接続されているため、テンサイルブリッジ部とサポートブリッジ部の接続部分の剛性が高くなっており、サポートブリッジ部がテンサイルブリッジ部の機能を兼ねるようになる。これにより、テンサイルブリッジ部のみならず、サポートブリッジ部と基板部との間にも引張応力を発生させることができ、サポートブリッジ部の基板部側のせん断箇所での加工硬化を小さくすることができる。これにより、加工硬化が小さくなる箇所を複数箇所に形成できるようになり、端部をその延長方向に伸ばす加工を施した場合に、端部の割れをより効果的に抑制できる。
更にまた、本発明の金属板の打ち抜き加工方法では、ブランクを挟んでパンチと対向する位置に補助パッドを配置し、補助パッドには、突起部の押し当て箇所よりも基板部側でテンサイルブリッジ部に接する補助突起部が備えられており、突起部に押されたテンサイルブリッジ部を補助突起部で支持しつつ、せん断加工を行う。これにより、突起部をテンサイルブリッジ部に押し込んだ際に、枝部と基板部との接続箇所が塑性変形して、引っ張り張力が低減するおそれがあるところ、補助パッドによって突起部の押し当て箇所よりも基板部側でテンサイルブリッジ部を支持することで、枝部と基板部との接続箇所における塑性変形が抑制され、当該接続箇所に十分な引っ張り応力を印加することができるようになる。
以上のように、本発明によれば、打ち抜き端面の延性の劣化による破断等の成形不良を容易に回避することができる。
本発明の第1の実施形態である金属板の打ち抜き加工方法を説明する模式図。 本発明の第1の実施形態である金属板の打ち抜き加工方法を説明する側面模式図。 本発明の第1の実施形態である金属板の打ち抜き加工方法を説明する側面模式図。 本発明の第1の実施形態である金属板の打ち抜き加工方法におけるブランクの要部を示す図であって、(a)が加工前の斜視図であり、(b)が加工後の斜視図。 本発明の第1の実施形態である金属板の打ち抜き加工方法に用いるブランクの変形例を示す平面模式図。 本発明の第2の実施形態である金属板の打ち抜き加工方法に用いるブランクを示す平面模式図。 本発明の第2の実施形態である金属板の打ち抜き加工方法に用いるブランクの変形例を示す平面模式図。 本発明の第3の実施形態である金属板の打ち抜き加工方法に用いるブランクを示す平面模式図。 本発明の第3の実施形態である金属板の打ち抜き加工方法に用いるブランクの変形例を示す平面模式図。 本発明の第4の実施形態である金属板の打ち抜き加工方法に用いるブランクを示す平面模式図。 本発明の第5の実施形態である金属板の打ち抜き加工方法を説明する側面模式図。 本発明の第5の実施形態である金属板の打ち抜き加工方法を説明する側面模式図。 本発明の第6の実施形態である金属板の打ち抜き加工方法を説明する図であって、自動車用のセンターピラーを示す模式図。 本発明の第6の実施形態である金属板の打ち抜き加工方法を説明する図であって、自動車用のセンターピラーをプレス成形する際に用いるブランクの平面模式図。 本発明の第6の実施形態である金属板の打ち抜き加工方法を説明する図であって、自動車用のセンターピラー用のブランクにサポートブリッジ部及びテンサイルブリッジ部を設けた状態を示す平面模式図。 図15に示すブランクの部分拡大図。 図15に示すブランクの部分拡大図。 せん断加工後のブランクを示す平面模式図。 図18に示すブランクをプレス成形することにより製造されたセンターピラーを示す模式図。
従前より、金属板を成形する手段として打ち抜き加工が知られている。打ち抜き加工は、パンチとダイと拘束パッドを用意し、ダイと拘束パッドによって金属板を拘束した状態で、金属板の厚み方向に沿ってパンチをダイに接近させて、パンチとダイによって金属板をせん断することで、金属板を所定の形状に成形している。金属板がせん断加工を受けることにより金属板にはせん断面が形成されるが、せん断面には加工硬化が生じている。すなわち、成形後の金属板を区画する端部全体が加工硬化された状態になる。この状態で、成形後の金属板の端部に対して、端部をその延在方向に沿って伸ばす加工を行うと、加工硬化された端部においてき裂が発生するおそれがある。
そこで、本発明者らが鋭意検討したところ、湾曲形状の端部を有する金属板からなるブランクをせん断加工法によって成形する際に、サポートブリッジ部及びテンサイルブリッジ部を備えたブランクを用意しておき、次いで、サポートブリッジ部及びテンサイルブリッジ部を打ち抜くことで成形を完了させる2段階の工程を基本とし、テンサイルブリッジ部を打ち抜く際にテンサイルブリッジ部に引張応力を生じさせながら打ち抜くことで、テンサイルブリッジ部を除去した後のせん断面の加工硬化を抑制できることを見出し、本発明を完成させた。
すなわち、本発明は、凹状の湾曲形状の端部を有する基板部、湾曲形状の端部を迂回するように両端が基板部に接続されたサポートブリッジ部、及び、一端が湾曲形状の端部に接続されるとともに他端がサポートブリッジ部に接続された1または2以上のテンサイルブリッジ部を備えた金属板からなるブランクと、底面部及び側面部を有し、底面部と側面部とが接する角部がパンチ刃とされ、更に前記底面部に突起部が設けられてなるパンチと、ダイとを用意し、基板部を拘束し、パンチの突起部をテンサイルブリッジ部及びサポートブリッジ部の一方または両方に押し当てつつ、パンチ刃とダイによってテンサイルブリッジ部及びサポートブリッジ部を基板部からせん断加工により切り離す、金属板の打ち抜き加工方法である。
突起部を当接させる位置は、基板部の端部の形状、テンサイルブリッジ部及びサポートブリッジ部の形状、金属板の強度や材質等を勘案して最適な位置に調整すればよい。
テンサイルブリッジ部は、パンチの突起部に押されて弾性変形することで、基板部とテンサイルブリッジ部との接続箇所においてせん断直前まで引張応力を生じさせ、せん断箇所の加工硬化を低減させる。一方、サポートブリッジ部は、テンサイルブリッジ部の一端を支持して、テンサイルブリッジ部と基板部との間で十分な引張応力を生じさせる。
テンサイルブリッジ部のせん断箇所における加工硬化を小さくするために、せん断直前のテンサイルブリッジ部と基板部との間の引張応力が、サポートブリッジ部と基板部との間の引張応力よりも大きくなるように、テンサイルブリッジ部及びサポートブリッジ部の形状を調整することが好ましい。
サポートブリッジ部は、直線状に形成されていてもよいし、湾曲状の端部に沿って湾曲した形状に形成されていてもよい。
また、サポートブリッジ部は、単数であってもよいし、複数あってもよい。サポートブリッジ部が複数ある場合は、各サポートブリッジ部がテンサイルブリッジ部に接続されていてもよい。また、一部のサポートブリッジ部がテンサイル部に接続され、この一部のサポートブリッジ部に残りのサポートブリッジ部が接続されていてもよい。
更に、テンサイルブリッジ部は、サポートブリッジ部側の他端が幅方向に分割され、サポートブリッジ部に対して2箇所で接続されていてもよい。
更に、ブランクを挟んでパンチと対向する位置に補助パッドを配置し、補助パッドには、突起部の押し当て箇所よりも基板部側でテンサイルブリッジ部に接する補助突起部が備えられ、突起部に押されたブリッジ部を補助突起部で支持しつつ、せん断加工を行うようにしてもよい。
以下、本発明の実施形態について説明する。
(第1の実施形態)
本発明の第1の実施形態である金属板の打ち抜き加工方法は、図1に示すように、基板部11、サポートブリッジ部12及びテンサイルブリッジ部13を有する金属板14からなるブランク1を用意し、テンサイルブリッジ部13と基板部11との接続部分に引っ張り応力を付与させながら、テンサイルブリッジ部13と基板部11を接続箇所においてせん断することにより、凹状の湾曲形状の端部2を有する金属板15を得る打ち抜き加工方法である。なお、金属板15には、凹状の湾曲形状の端部2のほかに、直線状の端部3も有している。金属板15の外形は、凹状の湾曲形状の端部2と直線状の端部3とによって区画されている。
まず、本実施形態において用いるブランク1について説明する。図1(a)に示すように、ブランク1は、基板部11、サポートブリッジ部12及びテンサイルブリッジ部13を有する金属板14からなる。基板部11は金属材料から構成されている。また、金属板14には、基板部11、サポートブリッジ部12及びテンサイルブリッジ部13によって囲まれた開口部22が設けられている。図1(a)に示す金属板14には、サポートブリッジ部12及びテンサイルブリッジ部13がそれぞれ2つずつ設けられている。
基板部11は、本実施形態の打ち抜き加工方法によって形成される金属板15とほぼ同じ形状とされている。すなわち、凹状の湾曲形状の端部2と、直線状の端部3とによってその外形が区画されている。
サポートブリッジ部12及びテンサイルブリッジ部13は、基板部11を構成する材料と同様に、金属材料からなる。また、サポートブリッジ部12及びテンサイルブリッジ部13の厚みは基板部11と同じ厚みになっている。
サポートブリッジ部12は、帯状に形成された直線状の部材であり、湾曲形状の端部2を迂回するようにその両端12aが基板部11に接続されている。直線状のサポートブリッジ部12が湾曲形状の端部2を迂回するように基板部11に接続されることで、サポートブリッジ部12と基板部11の端部2との間に開口部22が設けられる。
テンサイルブリッジ部13は、帯状に形成された部材であり、一端13aが湾曲形状の端部2に接続され、他端13bがサポートブリッジ部12に接続されている。他端13bは、サポートブリッジ部12の延在方向の中央に接続されている。なお、サポートブリッジ部12の一方の端部12aから他方の端部12aに向く方向をサポートブリッジ部12の延在方向とする。
また、テンサイルブリッジ部13の一端部13aから他端部13bに向く方向をテンサイルブリッジ部13の延在方向としたとき、サポートブリッジ部12の延在方向とテンサイルブリッジ部13の延在方向はほぼ直角に交わっている。また、テンサイルブリッジ部13の延在方向に直交する幅13wは、サポートブリッジ部12の延在方向に直交する幅12wよりも大きくなっている。ただし、テンサイルブリッジ部13の幅13wとサポートブリッジ部12の幅12wは同じでもよく、テンサイルブリッジ部13の幅13wがサポートブリッジ部12の幅12wより狭くてもよい。
図1に示すブランク1は、金属板14に開口部22を設けることにより製造される。開口部22の形成方法としては、せん断加工、切削加工、レーザー加工などの加工方法を用いればよい。せん断加工方法によって開口部22を形成すると、開口部22を区画する端部2に加工硬化が生じるが、後述するようにテンサイルブリッジ部13のせん断箇所では加工硬化が小さくなり、端部をその延在方向に伸ばす加工等においてき裂発生を抑制できるようになる。
ブランク1を準備したら、基板部11を拘束した状態で、ブランク1からサポートブリッジ部12とテンサイルブリッジ部13をせん断加工により取り除くことにより、湾曲状の端部2を有する金属板15を形成する。このとき、テンサイルブリッジ部13に引張応力を印加しながらせん断を行う。以下、図2及び図3を参照して説明する。
図2(a)は、ブランクの平面模式図であり、図2(b)〜(d)は、本実施形態の打ち抜き加工方法を説明する工程図であって、図2(a)のAA’線の位置での断面図である。また、図3(a)は、図2(a)と同様にブランクの平面模式図であり、図3(b)〜(d)は、図3(a)のBB’線の位置での断面図である。
まず、図2(b)及び図3(b)に示すように、パンチ3、ダイ4及び拘束パッド5を用意する。
パンチ3は、図2(b)及び図3(b)に示すように、パンチ本体3aと、パンチ本体3aの一端側に設けられた突起部3bとを有している。パンチ本体3aは、底面部3c及び側面部3dを有しており、底面部3cに突起部3bが設けられている。底面部3cと側面部3dとが接する角部3eが、パンチ刃3fとされている。パンチ刃3fは、少なくとも、サポートブリッジ部12と基板部11との接続箇所、およびテンサイルブリッジ部13と基板部11との接続箇所に対応する位置に設けられる。突起部3bの外周縁とパンチ刃3fとの間の領域が平坦面となっており、この平坦面が底面部3cとなっている。
突起部3bの外観は、パンチ本体3aの軸方向に向かって突出する球面形状となっている。突起部3bの外観は球面状に限らず、断面視三角形状や、断面視台形状でもよい。ただし、サポートブリッジ部12やテンサイルブリッジ部13を拘束するような形状を採用すると、パンチ3によってテンサイルブリッジ部13に引張応力を付与する際にテンサイルブリッジ部13を塑性変形させてしまい、その結果、引張応力が小さくなってしまうので、サポートブリッジ部12及びテンサイルブリッジ部13を拘束しにくい形状がよく、その例としては図2(b)に示す球面状がよい。
底面部3cと突起部3bの先端との高低差である突起部高さhは、本発明において重要なパラメータであり、突起部高さhを調整することで、テンサイルブリッジ部13に付与する引張応力の大きさを調整できる。突起部高さhが高いほど、テンサイルブリッジ部13に付与する引張応力を大きくできるが、突起部高さhが高過ぎるとテンサイルブリッジ部13をせん断する前にテンサイルブリッジ部13を塑性変形させてしまい、テンサイルブリッジ部13に十分な引張応力を付与できなくなる。従って突起部高さhは、テンサイルブリッジ部13やサポートブリッジ部12の寸法、金属板14の板厚、強度、ヤング率などを勘案して最適な値に設定するとよい。
サポートブリッジ部12及びテンサイルブリッジ部13をせん断する際には、図2(b)及び図3(b)に示すように、例えば下側から順に、ダイ4、拘束パッド5及びパンチ3の順に配置する。ブランク1は、ダイ4と拘束パッド5との間に配置するようにする。
そして、図2(b)及び図3(b)に示すように、ダイ4と拘束パッド5との間にブランク1を挟んでブランク1を拘束する。ダイ4と拘束パッド5によるブランク1の拘束領域は、図2(a)及び図3(a)の斜線部に示すように、基板部11の全面である。これにより、基板部11がブランク1の厚み方向及び厚み方向と直交する方向に拘束される。
一方、サポートブリッジ部12及びテンサイルブリッジ部13は、ブランク1の厚み方向には拘束されない状態となる。ただし、サポートブリッジ部12の両端12aが基板部11に接続されているため、基板部11の拘束によってサポートブリッジ部12の厚み方向への変位が制限される。これにより、サポートブリッジ部12に接続されたテンサイルブリッジ部13の他端13bの変位が制限される。また、テンサイルブリッジ部の一端13aが基板部11に接続されているため、テンサイルブリッジ部12の一端13aの変位も制限される。
次に、パンチ3をブランク1まで下降させて、突起部3bの先端をテンサイルブリッジ部13に当接させる。なお、突起部3bを当接させる位置は、テンサイルブリッジ部13に限らず、サポートブリッジ部12当接させてもよく、テンサイルブリッジ部13とサポートブリッジ部12との接続箇所に当接させてもよい。突起部3bを当接させる位置によってテンサイルブリッジ部13に印加する引張応力の大きさが調整可能である。従って、突起部3bを当接させる位置は、端部2の形状、テンサイルブリッジ部13及びサポートブリッジ部12の形状、金属板14の強度や材質等を勘案して最適な位置に調整すればよい。
次に、図2(c)及び図3(c)に示すように、パンチ3を更に下降させて突起部3bをテンサイルブリッジ部13に押し込み、テンサイルブリッジ部13を弾性変形させる。より詳細には、テンサイルブリッジ部13の一端13a及び他端13bは、基板部11及びサポートブリッジ部12によって厚み方向への変位が制限されているため、パンチ3の突起部3bに押されて下方向に突出するように弾性変形する。テンサイルブリッジ部13の弾性変形量は、パンチ3のパンチ刃3fがブランク1に接触する位置に来るまでの間、増加し続ける。すなわち、突起部高さhが高いほど、弾性変形量は大きくなる。ただし、上述したように、テンサイルブリッジ部13が塑性変形しない程度に突起部高さhを調整する必要がある。
パンチ3を下方に下降させてテンサイルブリッジ部13を弾性変形させることで、テンサイルブリッジ部13にはその延在方向に沿って引張応力が付与される。引張応力は、テンサイルブリッジ部13の一端13aと基板部11との接続部分に集中する。
そして、図2(d)に示すように、更にパンチ3を下降させると、テンサイルブリッジ部13と基板部11との接続箇所にパンチ刃3fが当たり、パンチ3によって与えられたせん断応力によって当該接続箇所が塑性変形し、ついにはテンサイルブリッジ部13が基板部11からせん断されて切り離される。せん断直前までテンサイルブリッジ部13は突起部3bに押されて弾性変形しているため、テンサイルブリッジ部13と基板部11との接続箇所に引張応力が付与された状態でせん断される。これにより、基板部11側のせん断箇所では加工硬化しにくくなる。
また、同時に、図3(d)に示すように、サポートブリッジ部12の両端12aと基板部11との接続箇所にもパンチ刃3fが当たり、サポートブリッジ部12が基板部11からせん断されて切り離される。テンサイルブリッジ部13とサポートブリッジ部12は一体のまません断される。サポートブリッジ部12と基板部11との間では引張応力がほとんど生じないため、従来のせん断加工と同様に、基板部11側のせん断箇所では加工硬化が生じる。
図1(b)には、打ち抜き加工後の金属板15の平面模式図を示す。また、図4(a)には、せん断加工前の金属板の要部の斜視図を示し、図4(b)には、せん断加工後の金属板の要部の斜視図を示す。サポートブリッジ部12及びテンサイルブリッジ部13が除去されることにより、基板部11には凹状の湾曲状の端部2が設けられる。端部2は、金属板15を平面視した場合に金属板15の一辺が凹状に成形された部分である。端部2には、開口部22の形成時に設けられた領域(以下、第1領域2aという)と、サポートブリッジ部12のせん断箇所に対応する領域(以下、第2領域2b)と、テンサイルブリッジ部13のせん断箇所に対応する領域(以下、第3領域2c)とが含まれる。
第2領域2bは、従来と同様のせん断加工を受けた部分であるため、加工硬化が生じている。一方、第3領域2cは、引張応力を受けながらせん断された領域であるため、加工硬化が生じているものの、第2領域2bに比べて加工硬化量が小さくなっている。また、第1領域2aについては、開口部22の形成が例えばせん断加工によってなされた場合は、第2領域2bと同程度の加工硬化が生じている。一方、開口部22の形成が例えばレーザー加工によってなされた場合は、第1領域2aには加工硬化がほとんど生じない。
このように、端部2の第3領域2cの加工硬化が小さいため、例えば、端部2をその延在方向に沿って伸ばす加工が加わる場合に、第3領域2cを起点とするき裂や破断が生じにくくなる。これにより例えば、端部を伸ばす加工において割れの位置が予測できる場合に、当該加工のブランク材として本実施形態の打ち抜き加工方法によって得られた金属板15を適用し、かつ、割れの予測位置に第3領域2cを位置させることで、加工時の成形不良を防止できるようになる。
以上説明したように、本実施形態の金属板14の打ち抜き加工方法では、サポートブリッジ部12の両端12aが基板部11に接続されているため、基板部11の拘束によってサポートブリッジ部12の変位が制限され、これにより、サポートブリッジ部12に接続されたテンサイルブリッジ部13の他端13aの変位が制限される。また、テンサイルブリッジ部13の一端13aが基板部11に接続されているため、基板部11の拘束によってテンサイルブリッジ部13の一端13aの変位も制限される。この状態で、テンサイルブリッジ部13にパンチ3の突起部3bが押し当てられると、突起部3bの押し当て箇所が基板部11よりも沈んでテンサイルブリッジ部13が弾性変形し、テンサイルブリッジ部13と基板部11の端部2との接続部分に引張応力が集中する。パンチ3とダイ4が更に相互に接近するに従ってテンサイルブリッジ部13と基板部11との間の引張応力が更に増大する。そして、引張応力が印加された状態で、パンチ刃3fとダイ4によってテンサイルブリッジ部13と基板部11の端部2との接続箇所がせん断され、ブランク1からテンサイルブリッジ部13が除去される。同時にサポートブリッジ部12もブランク1から除去される。せん断時のテンサイルブリッジ部13と基板部11の端部2との接続部分に引張応力が集中していたため、基板部11側のせん断箇所では加工硬化が著しく小さくなる。このように、基板部11の端部2におけるせん断に伴う加工硬化を部分的に小さくできるので、湾曲形状の端部2をその延長方向に伸ばす加工を施した場合に、端部2の割れを抑制することができる。
これにより例えば、湾曲形状の端部2をその延長方向に伸ばす加工を行う際に、当該加工のブランク材として本実施形態の金属板の打ち抜き加工方法によって得られた金属板14を適用することで、当該加工時の端部の割れを防止できるようになる。
また、サポートブリッジ部12が直線状に形成されているため、テンサイルブリッジ部13に対する拘束力を強めることができ、テンサイルブリッジ部13と基板部11との間の引張応力を高めることができる。
なお、図1では、テンサイルブリッジ部13の幅13wが、サポートブリッジ部12の幅12wよりも大きなブランク1について説明したが、本実施形態はこれに限らず、テンサイルブリッジ部13の幅13wが、サポートブリッジ部12の幅12wとが同一であるブランクを用いてもよい。図5に示すブランク101は、テンサイルブリッジ部13の幅13wが、サポートブリッジ部12の幅12wとが同一になっている。この例によれば、テンサイルブリッジ部13と基板部11との間の単位面積あたりの引張応力を、図1に示したブランク1の場合よりも大きくすることができ、テンサイルブリッジ部13のせん断箇所における加工硬化をより小さくすることができる。
(第2の実施形態)
以下、図6を参照して、本発明の第2の実施形態を説明する。図6は、本実施形態で用いるブランクの平面模式図である。本実施形態と、先に説明した第1の実施形態とを対比すると、基板部とテンサイルブリッジ部との接続箇所をせん断してブランクからテンサイルブリッジ部を除去する方法は共通するが、サポートブリッジ部及びテンサイルブリッジ部の形状が異なっている。以下の説明では、本実施形態のブランクの形状について主に説明する。
図6に示すブランクの構成要素のうち、図1及び図2に示した構成要素と同一の構成要素には同一の符号を付してその説明を省略する。図6に示す本実施形態のブランク201は、基板部11、サポートブリッジ部212及びテンサイルブリッジ部213を有する金属板214からなる。金属板214には、基板部11、サポートブリッジ部212及びテンサイルブリッジ部213によって囲まれた開口部222が設けられている。
本実施形態に係るサポートブリッジ部212は、帯状に形成された部材であり、湾曲形状の端部2を迂回するようにその両端212aが基板部11に接続されている。また、サポートブリッジ部212は、基板部11の端部2に沿って湾曲した形状となっている。すなわち、サポートブリッジ部212は、基板部11の端部2の形状に合わせて、その途中において曲げられており、平面視で略V字形状になっている。サポートブリッジ部212が曲げられた箇所は、端部212a、212aの間の中間位置212bである。この中間位置212bにおいてサポートブリッジ部212はテンサイルブリッジ213に接続している。サポートブリッジ部212が湾曲形状の端部2を迂回するように基板部11に接続されることで、サポートブリッジ部212と基板部11の端部2との間に開口部222が設けられる。また、サポートブリッジ部212と端部2との間隔は、開口部222を挟んで、サポートブリッジ部212のどの位置においてもほぼ一定になっている。
テンサイルブリッジ部213は、帯状に形成された部材であり、一端213aが湾曲形状の端部2に接続され、他端213bがサポートブリッジ部212に接続されている。他端213bは、サポートブリッジ部212の中間位置212bに接続されている。サポートブリッジ部212が中間位置212bにて曲げられて端部2に近寄っているため、テンサイルブリッジ部213の延在方向の長さは、第1の実施形態の場合に比べて短くなっている。
また、テンサイルブリッジ部213の一端部213aから他端部213bに向く方向をテンサイルブリッジ部213の延在方向とし、サポートブリッジ部212の中間位置212bから両端部212aにそれぞれ向く方向をサポートブリッジ部212の延在方向としたとき、サポートブリッジ部212の延在方向に対し、テンサイルブリッジ部13の延在方向は90°を超える角度で交わっている。更に、テンサイルブリッジ部213の幅213wは、サポートブリッジ部212の幅212wよりも大きくなっている。ただし、テンサイルブリッジ部213の幅213wとサポートブリッジ部212の幅212wは同じでもよく、テンサイルブリッジ部213の幅213wがサポートブリッジ部212の幅212wより狭くてもよい。
図6に示すブランク201は、金属板214に開口部222を設けることにより製造される。開口部222の形成方法は、第1の実施形態に例示した方法と同様である。
ブランク201を準備したら、基板部11を拘束した状態で、ブランク201からサポートブリッジ部212とテンサイルブリッジ部213をせん断加工により取り除くことにより、湾曲状の端部2を有する金属板を形成する。このとき、第1の実施形態と同様にして、テンサイルブリッジ部213に引っ張り応力を印加しながらせん断を行う。
本実施形態では、第1の実施形態と同様にして、基板部11を拘束したまま、パンチの突起部をテンサイルブリッジ部213に押し当てることにより、テンサイルブリッジ部213を弾性変形させる。ここで、本実施形態ではサポートブリッジ部212が湾曲した形状であるため、第1の実施形態のようにサポートブリッジ部12が直線状である場合に比べて、テンサイルブリッジ部213の一端213aと他端213bとの距離が短くなっている。
これによりテンサイルブリッジ部213と基板部11との間の引張応力が、第1の実施形態よりも高められる。
また、サポートブリッジ部212が湾曲しているため、サポートブリッジ部212の延在方向とテンサイルブリッジ部213の延在方向とのなす角度が90°を超える。このため、テンサイルブリッジ部213と基板部11との間においてテンサイルブリッジ部213の延在方向に沿って生じる引張応力の一部が、サポートブリッジ部212にも作用する。これにより、サポートブリッジ部212と基板部11との間にも引張応力が発生する。
その後、第1の実施形態と同様にして、パンチを更に下降させることにより、テンサイルブリッジ部213及びサポートブリッジ部212を一体のまま基板部11からせん断する。テンサイルブリッジ部213と基板部11との接続箇所に引張応力が付与された状態でせん断されるため、基板部11側のテンサイルブリッジ部213のせん断箇所では加工硬化が小さくなる。また、サポートブリッジ部212と基板部11との間にも引張応力が作用するため、基板部11側のサポートブリッジ部212のせん断箇所でも加工硬化が小さくなる。
以上説明したように、本実施形態によれば、第1の実施形態と同様な効果の他に、以下に述べる効果も得られる。すなわち、本実施形態によれば、サポートブリッジ部212が湾曲状の端部2に沿って湾曲した形状に形成されているため、サポートブリッジ部212が直線状である場合に比べてテンサイルブリッジ部213の一端213aと他端213bの距離を短くすることができ、これによりテンサイルブリッジ部213と基板部11との間の引張応力を高める調整が可能になる。また、サポートブリッジ部212が湾曲することで、サポートブリッジ部212と基板部11との間にも引張応力を発生させることができ、サポートブリッジ部212の基板部11側のせん断箇所での加工硬化を小さくすることができる。これにより、加工硬化が小さくなる箇所を複数箇所に形成できるようになり、端部2をその延長方向に伸ばす加工を施した場合に、端部の割れをより効果的に抑制できるようになる。
なお、図6では、サポートブリッジ部212が中間位置212bにおいて曲げられて、略V字形状になっている例を示したが、本実施形態はこれに限られるものではない。例えば、図7に示すブランク301では、サポートブリッジ部312が中間位置312bのみならず、テンサイルブリッジ部313に接している領域312cにおいて曲線状に曲げられている。サポートブリッジ部312を平面視すると、円弧状もしくは楕円弧状になっている。このようなブランク301であっても、本実施形態と同様の効果を奏することができる。
(第3の実施形態)
以下、図8を参照して、本発明の第3の実施形態を説明する。図8は、本実施形態で用いるブランクの平面模式図である。本実施形態と、先に説明した第1の実施形態とを対比すると、基板部とテンサイルブリッジ部との接続箇所をせん断してブランクからテンサイルブリッジ部を除去する方法は共通するが、サポートブリッジ部の数が異なっている。以下の説明では、本実施形態のブランクの形状について主に説明する。
図8に示すブランクの構成要素のうち、図1及び図2に示した構成要素と同一の構成要素には同一の符号を付してその説明を省略する。図8に示す本実施形態のブランク401は、基板部11、サポートブリッジ部412及びテンサイルブリッジ部413を有する金属板414からなる。本実施形態には、2つのサポートブリッジ部412A、412Bが備えられている。また、金属板414には、基板部11、サポートブリッジ部412A、412B及びテンサイルブリッジ部413によって囲まれた開口部422が設けられている。
本実施形態に係るサポートブリッジ部412A、412Bはいずれも、帯状に形成された直線状の部材であり、湾曲形状の端部2を迂回するようにそれぞれの両端412aが基板部11に接続されている。また、サポートブリッジ部412Aは、テンサイルブリッジ部413の他端413bに接続され、サポートブリッジ部412Bは、テンサイルブリッジ部413の一端413aと他端413bの間の位置に接続されている。また、サポートブリッジ部412A及び412Bは、所定の間隔を空けて相互に平行に配置されている。サポートブリッジ部412A及び412Bが湾曲形状の端部2を迂回するように基板部11に接続されることで、サポートブリッジ部412Bと基板部11の端部2との間に開口部422が設けられる。また、サポートブリッジ部412A及び412Bの間にも開口部422が設けられる。
テンサイルブリッジ部413は、帯状に形成された部材であり、一端413aが湾曲形状の端部2に接続され、他端413bがサポートブリッジ部412Aに接続されている。他端413bは、サポートブリッジ部412Aの延在方向の中央に接続されている。また、テンサイルブリッジ部413の一端413aと他端413bの間には、別のサポートブリッジ部412Bが接続されている。
また、テンサイルブリッジ部413の一端部413aから他端部413bに向く方向を延在方向としたとき、サポートブリッジ部412の延在方向とテンサイルブリッジ部413の延在方向はほぼ直角に交わっている。また、テンサイルブリッジ部413の延在方向に直交する幅413wは、サポートブリッジ部412A、412Bのそれぞれの幅412wよりも大きく、更にはサポートブリッジ部412A、412Bの合計幅よりも大きくなっている。
このように、テンサイルブリッジ部413に2つのサポートブリッジ部412A、412Bが接続されることで、テンサイルブリッジ部413の剛性が高められる。
図8に示すブランク401は、金属板414に開口部422を設けることにより製造される。開口部422の形成方法は、第1の実施形態に例示した方法と同様である。
ブランク401を準備したら、基板部11を拘束した状態で、ブランク401からサポートブリッジ部412A、412Bとテンサイルブリッジ部413をせん断加工により取り除くことにより、湾曲状の端部2を有する金属板を形成する。このとき、第1の実施形態と同様にして、テンサイルブリッジ部413に引っ張り応力を印加しながらせん断を行う。
本実施形態では、第1の実施形態と同様にして、基板部11を拘束したまま、パンチの突起部をテンサイルブリッジ部413に押し当てることにより、テンサイルブリッジ部413を弾性変形させる。本実施形態では、2つのサポートブリッジ部412A、412Bによってテンサイルブリッジ部413の剛性が高められている。これによりテンサイルブリッジ部413と基板部11との間の引張応力が、第1の実施形態よりも高められる。
その後、第1の実施形態と同様にして、パンチを更に下降させることにより、テンサイルブリッジ部413及びサポートブリッジ部412A、412Bを一体のまま基板部11からせん断する。テンサイルブリッジ部413と基板部11との接続箇所に引張応力が付与された状態でせん断されるため、テンサイルブリッジ部413のせん断箇所での加工硬化が小さくなる。
以上説明したように、本実施形態によれば、第1の実施形態と同様な効果の他に、以下に述べる効果も得られる。すなわち、本実施形態によれば、2つのサポートブリッジ部412A、412Bがテンサイルブリッジ部413に接続されているため、テンサイルブリッジ部413の剛性が高められ、これによりテンサイルブリッジ部413と基板部11との間の引張応力が、第1の実施形態よりも高められる。このため、テンサイルブリッジ部413のせん断箇所での加工硬化をより小さくすることができる。
なお、図8では、サポートブリッジ部412が直線状に形成された例を示したが、本実施形態はこれに限られず、サポートブリッジ部として、略V字形状に形成されたものを用いてもよい。例えば、図9に示すブランク501は、2つのV字状のサポートブリッジ部512A、512Bが備えられている。一方のサポートブリッジ部512Bはテンサイルブリッジ部513の他端513bに接続されている。もう一方のサポートブリッジ部512Aは接続ブリッジ部512cによってサポートブリッジ部512Bに接続されている。接続ブリッジ部512cは、サポートブリッジ部512A、512Bの両端と中央にそれぞれ配置されている。
図9に示すブランク501を用いることで、本実施形態によって得られる効果の他に、第2の実施形態で説明したような効果も得られる。すなわち、テンサイルブリッジ部513が短くなることでテンサイルブリッジ部513により大きな引張応力を印加できるようになる。また、サポートブリッジ部512A、512Bが湾曲することで、サポートブリッジ部512A、512Bと基板部11との間にも引張応力を発生させることができ、サポートブリッジ部512A、512Bのせん断箇所での加工硬化を小さくすることができる。
これにより、加工硬化が小さくなる箇所が複数形成され、端部2をその延長方向に伸ばす加工を施した場合に、端部の割れをより効果的に抑制できるようになる。
(第4の実施形態)
以下、図10を参照して、本発明の第4の実施形態を説明する。図10は、本実施形態で用いるブランクの平面模式図である。本実施形態と、先に説明した第1の実施形態とを対比すると、基板部とテンサイルブリッジ部との接続箇所をせん断してブランクからテンサイルブリッジ部を除去する方法は共通するが、テンサイルブリッジ部の形状が異なっている。
以下の説明では、本実施形態のブランクの形状について主に説明する。
図10に示すブランクの構成要素のうち、図1及び図2に示した構成要素と同一の構成要素には同一の符号を付してその説明を省略する。図10に示す本実施形態のブランク601は、基板部11、サポートブリッジ部612及びテンサイルブリッジ部613を有する金属板614からなる。本実施形態のテンサイルブリッジ部613は、サポートブリッジ部612側において幅方向に2つに分割されている。金属板614には、基板部11、サポートブリッジ部612及びテンサイルブリッジ部613によって囲まれた開口部622が設けられている。
サポートブリッジ部612は、帯状に形成された直線状の部材であり、湾曲形状の端部2を迂回するようにその両端612aが基板部11に接続されている。直線状のサポートブリッジ部612が湾曲形状の端部2を迂回するように基板部11に接続されることで、サポートブリッジ部612と基板部11の端部2との間に開口部622が設けられる。サポートブリッジ部612の両端部612aは、中央部分に比べて幅広になっている。これにより、サポートブリッジ部612の両端部612aの剛性が高まって両端部612aが弾性変形しにくくなり、サポートブリッジ部612と基板部11との間に生じる引張応力が小さくなる。
テンサイルブリッジ部613は、一端613aが湾曲形状の端部2に接続され、他端613bがサポートブリッジ部612に接続されている。本実施形態のテンサイルブリッジ部613は、一端613aから他端613bに向かう途中で幅方向に2つの枝部613cに分岐しており、各枝部613cがサポートブリッジ部612に接続されている。すなわち、テンサイルブリッジ部613は、一端613a側にある基端部613dと、他端613b側にある枝部613cとから構成されている。基端部613dの延在方向は、一端613aからサポートブリッジ部612に向けて最短距離をとる方向であり、サポートブリッジ部612の延在方向に対して直交する方向になっている。また、枝部613cの延在方向は、基端部613dの幅方向両側に広がる方向となっている。枝部613cの延在方向とサポートブリッジ部612の延在方向は、90°以下の角度で交わっている。枝部613cとサポートブリッジ部612とに囲まれた部分も開口部622となっている。テンサイルブリッジ部613が途中で2つに分岐することで、テンサイルブリッジ部613の剛性が部分的に低下し、パンチの突起部によって押された際に弾性変形しやすくなる。
図10に示すブランク601は、金属板614に開口部622を設けることにより製造される。開口部622の形成方法は、第1の実施形態に例示した方法と同様である。
ブランク601を準備したら、基板部11を拘束した状態で、ブランク601からサポートブリッジ部612とテンサイルブリッジ部613をせん断加工により取り除くことにより、湾曲状の端部2を有する金属板を形成する。このとき、第1の実施形態と同様にして、テンサイルブリッジ部613に引っ張り応力を印加しながらせん断を行う。
本実施形態では、第1の実施形態と同様にして、基板部11を拘束したまま、パンチの突起部をサポートブリッジ部に押し当てることにより、テンサイルブリッジ部613を弾性変形させて、テンサイルブリッジ部613の一端613aと基板部11との間で引張応力を生じさせる。ここで、テンサイルブリッジ部613には枝部613cが設けられることで剛性が低下し、弾性変形しやすくなっている。一方、サポートブリッジ部612はその両端部613aの剛性が高いため、弾性変形しにくくなっている。これにより、テンサイルブリッジ部がより弾性変形しやすくなり、テンサイルブリッジ部613の一端613aと基板部11との間に生じる引張応力がより高まるようになる。
その後、第1の実施形態と同様にして、パンチを更に下降させることにより、テンサイルブリッジ部613及びサポートブリッジ部612を一体のまま基板部11からせん断する。テンサイルブリッジ部613と基板部11との接続箇所に引張応力が付与された状態でせん断されるため、基板部11側のテンサイルブリッジ部613のせん断箇所では加工硬化が小さくなる。また、サポートブリッジ部612と基板部11との間にも引張応力が作用するため、基板部11側のサポートブリッジ部612のせん断箇所でも加工硬化が小さくなる。
以上説明したように、本実施形態によれば、第1の実施形態と同様な効果の他に、以下に述べる効果も得られる。すなわち、本実施形態によれば、テンサイルブリッジ部613の他端613b側が幅方向に分割されて枝部613cとなり、各枝部613cがサポートブリッジ部612に接続することで、テンサイルブリッジ部613とサポートブリッジ部612の接続部分の剛性が高くなり、サポートブリッジ部612がテンサイルブリッジ部613の機能を兼ねるようになる。これにより、テンサイルブリッジ部613のみならず、サポートブリッジ部612と基板部11との間にも引張応力を発生させることができ、サポートブリッジ部612の基板部11側のせん断箇所での加工硬化を小さくすることができる。
これにより、加工硬化が小さくなる箇所を複数箇所に形成できるようになり、端部2をその延長方向に伸ばす加工を施した場合に、端部2の割れをより効果的に抑制できる。
(第5の実施形態)
次に、第5の実施形態について、図11及び図12を参照して説明する。図11及び図12に示すように本実施形態では、打ち抜き加工時のブランク1の下側に、サポートブリッジ部12及びテンサイルブリッジ部13の塑性変形を防止するための補助パッド6を配置する。補助パッド6を用いること以外は、図1〜図3に示した第1実施形態の打ち抜き加工方法とほぼ同じであるので、図11及び図12に示す構成要素のうち、図1〜図3に示す構成要素と同一の構成要素には同一符号を付して説明を省略する。
図1〜図3に示す例では、パンチ3によってサポートブリッジ部12及びテンサイルブリッジ部13を押し下げた際に、サポートブリッジ部12及びテンサイルブリッジ部13の端部がダイ刃4fに強く押し当てられ、ダイ刃4fに当接した箇所において各ブリッジ部12,13が塑性変形する場合がある。そこで、本実施形態では、ブランク1を挟んでパンチ3と対向する位置に補助パッド6を配置し、突起部3bに押された各ブリッジ部12、13を補助パッド6の補助突起部6aで支持しつつ、せん断を行う。
図11(b)及び図12(b)に示すように、補助パッド6は、パッド本体6bと、パッド本体6bの上面部6cに設けられた補助突起部6aとを備えている。また、補助パッド6の下部には、図示略のばね等の弾性体が取り付けられている。
パッド本体6bは、上面部6cを有しており、上面部6cに補助突起部6aが設けられている。パッド本体6bの上面部6cの平面視形状は、パンチ本体3aの底面部3cの平面視形状とほぼ同じ形状とされている。
補助突起部6aは、平面視形状は直線状であり、断面視形状は半円状の突起である。図11(a)及び図12(a)に示すように、補助突起部6aの位置は、突起部3bによる各ブリッジ部12、13の押し当て箇所よりも基板部11側であるとよい。本実施形態では、突起部3bの押し当て箇所がサポートブリッジ部12とテンサイルブリッジ部13との接続箇所に近い場所であるため、補助突起部6aの位置は、各ブリッジ部12、13と基板部との接続箇所に近い位置にするとよい。
次に、図11及び図12を参照して、テンサイルブリッジ部13に張力を与えながらサポートブリッジ部12及びテンサイルブリッジ部13を打ち抜く方法について説明する。図11(a)は、ブランク1、突起部3b及び補助突起部6aの位置関係を示す平面図であり、図11(b)〜(d)は、図11(a)のAA’線に対応する断面図である。図12(a)は、図11(a)と同様にブランク1、突起部3b及び補助突起部6aの位置関係を示す平面図であり、図12(b)〜(d)は、図12(a)のBB’線に対応する断面図である。
図11(b)及び図12(b)に示すように、例えば下側から順に、補助パッド6、ダイ4、拘束パッド5及びパンチ3の順に配置する。ブランク1は、ダイ4と拘束パッド5の間に配置する。ダイ4と拘束パッド5によるブランク1の拘束領域は、第1の実施形態と同様に、基板部11の全面である。
次いで、パンチ3を下降させて、突起部3bの先端をブリッジ部12、13の上面に当接させる。更に、補助パッド6を上昇させて、補助突起部6aの先端を各ブリッジ部12、13の下面に当接させる。補助突起部6aは、各ブリッジ部12、13の基板部11寄りの位置に当接されるようになる。
次に、補助パッド6の上下方向の位置を固定したまま、パンチ3を下降させて突起部3bを各ブリッジ部12、13側に押し込み、各ブリッジ部12、13を弾性変形させる。各ブリッジ部12、13は、補助パッド6の補助突起部6aによって下側から支持されているため、パンチ3の下降に伴って各ブリッジ部12、13が弾性変形する範囲は、補助突起部6aを平面視した場合の突起部3b側の領域となる。一方、各ブリッジ部12、13が補助突起部6aに支持されるため、図11(c)及び図12(c)に示す段階では、各ブリッジ部12、13の基板部11寄りの端部12a、13aは弾性変形されない状態にある。各ブリッジ部12、13は、補助突起部6aによって実質的に拘束されるため、補助突起部6aの内側の領域において各ブリッジ部12、13がパンチ3の突起部3bに押されて下方向に弾性変形する。
補助突起部6aによって拘束されている各ブリッジ部12、13に対して、パンチ3が更に下方に下降させることで、各ブリッジ部12、13が弾性変形し、基板部11に対して引張応力が付与される。引張応力は、特にテンサイルブリッジ部13と基板部11との接続箇所に集中する。
そして、図11(d)に示すように、更にパンチ3を下降させると、テンサイルブリッジ部13と基板部11との接続箇所にパンチ刃3fが当たり、パンチ3によって与えられたせん断応力によって当該接続箇所が塑性変形し、ついにはテンサイルブリッジ部13が基板部11からせん断されて切り離される。せん断直前までテンサイルブリッジ部13は突起部3bに押されて弾性変形しているため、テンサイルブリッジ部13と基板部11との接続箇所に引張応力が付与された状態でせん断される。これにより、基板部11側のせん断箇所では加工硬化しにくくなる。
また、同時に、図12(d)に示すように、サポートブリッジ部12の両端12aと基板部11との接続箇所にもパンチ刃3fが当たり、サポートブリッジ部12が基板部11からせん断されて切り離される。テンサイルブリッジ部13とサポートブリッジ部12は一体のまません断される。サポートブリッジ部12と基板部11との間では引張応力がほとんど生じないため、従来のせん断加工と同様に、基板部11側のせん断箇所では加工硬化が生じる。
以上のように、本実施形態においては、ブランク1を挟んでパンチ3と対向する位置に補助パッド6を配置し、補助パッド6には、突起部3bの押し当て箇所よりも基板部11側で各ブリッジ部12、13に接する補助突起部6aが備えられており、突起部3bに押されたテンサイルブリッジ部13を補助突起部6aで支持しつつ、せん断加工を行う。これにより、突起部3bを各ブリッジ部12、13に押し込んだ際に、テンサイルブリッジ部13と基板部11との接続箇所が塑性変形して、引張張力が低減するおそれがあるところ、補助パッド6によって突起部3bの押し当て箇所よりも基板部11側でテンサイルブリッジ部13を支持することで、テンサイルブリッジ部13と基板部11との接続箇所における塑性変形が抑制され、当該接続箇所に十分な引張応力を印加できるようになる。
(第6の実施形態)
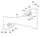
以上、本発明を各実施形態によって説明したが、本発明は、自動車部品の製造に適用可能である。以下、図13〜図19を参照して、自動車用のセンターピラーの製造方法について説明する。
図13は、自動車用のセンターピラー701であり、図中左側の長手方向一端701aにルーフパネルが接続されるようになっており、図中右側の他端701bにはサイドシルパネルが接続されるようになっている。このセンターピラー701は、ピラー本体702と、ピラー本体702の図中左側に設けられた第1接続部703と、ピラー本体702の図中右側に設けられた第2接続部704とからなる。第1接続部703にルーフパネルが接合され、第2接続部704にサイドシルパネルが接合される。第2接続部704は、ピラー本体702の長手方向に対して直交する方向に延在している。また、ピラー本体702、第1接続部703及び第2接続部704にはそれぞれ、幅方向両側または片側にフランジ部705がある。
ピラー本体702は、長手方向に直交する方向の断面形状がハット形形状となっている。すなわち、ピラー本体702は、ウエブ部702aと、ウエブ部702aの幅方向両側に接続された縦壁部702bと、縦壁部702bに接続されたフランジ部705とを備えている。ウエブ部702a、縦壁部702b及びフランジ部705は、第1接続部703及び第2接続部704まで延在している。
フランジ部705の形状について説明すると、ピラー本体702と第2接続部704との接続箇所近傍のフランジ部705は、90°に近い角度で曲げられており、この部分におけるフランジ部705の端部706は、凹状に湾曲した形状になっている。図13では、端部706を含む領域を領域Aとして示している。
同様に、ピラー本体702と第1接続部703との接続部分におけるフランジ部705は、90°に近い角度で曲げられており、この部分におけるフランジ部705の端部707は、凹状に湾曲した形状になっている。図13では、端部707を含む領域を領域Bとして示している。
図14には、センターピラー701のブランク800を示す。ブランク800は、高強度鋼板をせん断加工によって打ち抜いて成形されてなるものである。ブランク800は、その端面801の全部がせん断によって形成されており、端面801の全部に加工硬化が生じている。図13に示すセンターピラー701は、図14のブランク800をプレス成形することによって製造される。ここで、ブランク800の領域A及び領域Bにおける端面801は、プレス成形される際に、端面801の延在方向に沿って引張応力を受ける。ブランク800の端面801はせん断加工によって加工硬化が生じており、成形後のフランジ部705の端部706、707は、この加工硬化を受けた部位に対応する。このため、所定形状に形成したブランク800をセンターピラー701に加工するためにプレス成形を行うと、フランジ部705の端部706、707において割れが発生するおそれがある。フランジ部705の割れは、鋼板強度が高くなるほど顕著に発生する。
プレス成形後に割れが発生し得る箇所は、有限要素法などのシミュレーション技術によって予め予測可能である。そこで、割れが発生し得る箇所に対して、本発明の金属板の打ち抜き加工方法を適用するとよい。
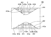
図15に、本発明の金属板の打ち抜き加工方法を適用したブランク900の形状を示す。このブランク900の領域A、領域Bの対応する箇所に、サポートブリッジ部及びテンサイルブリッジ部が備えられている。
図15及び図17に示すように、領域Aには、ブランク900を構成する基板部911に凹状の湾曲形状の端部902がある。この端部902には、湾曲形状の端部902を迂回するように両端が基板部911に接続されたサポートブリッジ部912と、一端が湾曲形状の端部902に接続されるとともに他端がサポートブリッジ部912に接続された1つのテンサイルブリッジ部913が備えられている。テンサイルブリッジ部913には、基板部902に向かう方向に沿って延在する3つのスリット913cが設けられている。サポートブリッジ部912は、直線部912aと接続部912bとからなり、平面視で屈曲した形状になっている。直線部912aの一端が基板部911に接続されており、直線部912aの他端は接続部912bに接続されており、接続部912bが基板部911に接続されている。領域Aにおけるテンサイルブリッジ部913は、比較的幅が広いため、スリット913cを設ける必要がある。スリットの要否判断は、例えば、有限要素法を利用したシミュレーションによって、テンサイルブリッジ部の弾性変形時の引張応力を予測し、引張応力の予測値があらかじめ設定された基準値を満たさない場合に、スリットを設けるようにするとよい。
図15及び図16に示すように、領域Bには、ブランク900を構成する基板部911に凹状の湾曲形状の端部952がある。この端部952には、湾曲形状の端部952を迂回するように両端が基板部911に接続されたサポートブリッジ部962と、一端が湾曲形状の端部952に接続されるとともに他端がサポートブリッジ部962に接続された1つのテンサイルブリッジ部963が備えられている。サポートブリッジ部962は、直線部962aと接続部962bとからなり、平面視で屈曲した形状になっている。直線部962aの一端が基板部911に接続されており、直線部962aの他端は接続部962bに接続されており、接続部962bが基板部911に接続されている。領域Bにおけるテンサイルブリッジ部963は、比較的幅が狭いため、スリットを設ける必要はない。スリットの要否判断は、領域Aの場合と同様に行い、引張応力の予測値があらかじめ設定された基準値を満たす場合に、スリットを設けないと判断するとよい。
そして、第1〜第5の実施形態と同様に、ダイとしわ押さえによって基板部911を拘束した状態で、サポートブリッジ部912,962及びテンサイルブリッジ部913、963と、基板部911との接続箇所を、突起部を有するパンチによってせん断する。このとき、パンチの突起部の押し当て箇所は、図16及び図17の符号pに示す位置とすることが好ましい。
パンチをブランクに接近させることによって、パンチの突起部がテンサイルブリッジ部913、963を押し下げ、テンサイルブリッジ部913、963と基板部911との間に引張応力が生じる。更に、パンチを押し下げることで、引張応力を印加させつつ、テンサイルブリッジ部913、963と基板部911との接続箇所がせん断されて切り離される。基板部911におけるせん断箇所では、加工硬化が小さくなる。図18に、せん断加工後のブランク900を示す。ブランク900の端面のうち、テンサイルブリッジ部913、963がせん断された箇所を符号a及びbで示す。このせん断箇所における加工硬化量は、他の箇所における加工硬化量に対して小さくなっている。
そして、加工硬化量が部分的に低減されたブランク900に対してプレス成形を行うことで、図19に示すセンターピラー901が得られる。センタ−ピラーの領域A及びBでは、割れが生じない。
以上説明したように、センターピラーのような自動車部品をプレス成形法により製造する際に、本発明の金属板の打ち抜き方法を適用して、ブランクのうち凹形状となる端部の加工硬化量を小さくさせることで、割れを生じさせずにプレス成形を行うことが可能になる。
1、101、201、301、401、501、601…ブランク、2…端部、3…パンチ、3b…突起部、3c…底面部、3d…側面部、3e…角部、3f…パンチ刃、4…ダイ、11…基板部、12、112、212、312、412、512、612…サポートブリッジ部、12a、212a、412a…両端、13、113、213、313、413、513、613…テンサイルブリッジ部、13a、213a、413a…一端、13b、213b、413b…他端、14、214、414、614…金属板。

Claims (6)

  1. 凹状の湾曲形状の端部を有する基板部、前記湾曲形状の端部を迂回するように両端が前記基板部に接続されたサポートブリッジ部、及び、一端が前記湾曲形状の端部に接続されるとともに他端が前記サポートブリッジ部に接続された1または2以上のテンサイルブリッジ部を備えた金属板からなるブランクと、
    底面部及び側面部を有し、前記底面部と前記側面部とが接する角部がパンチ刃とされ、更に前記底面部に突起部が設けられてなるパンチと、
    ダイとを用意し、
    前記基板部を拘束し、前記パンチの突起部を前記テンサイルブリッジ部及び前記サポートブリッジ部の一方または両方に押し当てつつ、前記パンチ刃と前記ダイによって前記テンサイルブリッジ部及び前記サポートブリッジ部を前記基板部からせん断加工により切り離す、金属板の打ち抜き加工方法。
  2. 前記サポートブリッジ部が直線状に形成されている、請求項1に記載の金属板の打ち抜き加工方法。
  3. 前記サポートブリッジ部が前記湾曲状の端部に沿って湾曲した形状に形成されている、請求項1に記載の金属板の打ち抜き加工方法。
  4. 前記サポートブリッジ部が複数である、請求項1乃至請求項3の何れか一項に記載の金属板の打ち抜き加工方法。
  5. 前記テンサイルブリッジ部の前記他端側が幅方向に分割され、前記サポートブリッジ部に対して2箇所で接続されている、請求項1に記載の金属板の打ち抜き加工方法。
  6. 前記ブランクを挟んで前記パンチと対向する位置に補助パッドを配置し、前記補助パッドには、前記突起部の押し当て箇所よりも前記基板部側で前記テンサイルブリッジ部に接する補助突起部が備えられ、前記突起部に押された前記テンサイルブリッジ部及び前記サポートブリッジ部の一方または両方を前記補助突起部で支持しつつ、前記せん断加工を行う、請求項1乃至請求項5の何れか一項に記載の金属板の打ち抜き加工方法。
JP2018020543A 2018-02-07 2018-02-07 金属板の打ち抜き加工方法 Active JP6977596B2 (ja)

Priority Applications (1)

Application Number Priority Date Filing Date Title
JP2018020543A JP6977596B2 (ja) 2018-02-07 2018-02-07 金属板の打ち抜き加工方法

Applications Claiming Priority (1)

Application Number Priority Date Filing Date Title
JP2018020543A JP6977596B2 (ja) 2018-02-07 2018-02-07 金属板の打ち抜き加工方法

Publications (2)

Publication Number Publication Date
JP2019136724A JP2019136724A (ja) 2019-08-22
JP6977596B2 true JP6977596B2 (ja) 2021-12-08

Family

ID=67692797

Family Applications (1)

Application Number Title Priority Date Filing Date
JP2018020543A Active JP6977596B2 (ja) 2018-02-07 2018-02-07 金属板の打ち抜き加工方法

Country Status (1)

Country Link
JP (1) JP6977596B2 (ja)

Families Citing this family (1)

* Cited by examiner, † Cited by third party
Publication number Priority date Publication date Assignee Title
JP7489951B2 (ja) * 2021-10-14 2024-05-24 ダイハツ工業株式会社 せん断加工方法及びせん断加工装置

Family Cites Families (6)

* Cited by examiner, † Cited by third party
Publication number Priority date Publication date Assignee Title
JP2006224121A (ja) * 2005-02-16 2006-08-31 Nippon Steel Corp 鋼板打ち抜き用工具及びそれを用いた打ち抜き方法
JP4846517B2 (ja) * 2006-10-20 2011-12-28 新日本製鐵株式会社 逆押さえをダイ上面より下げたせん断加工方法及び装置
JP5386991B2 (ja) * 2009-01-06 2014-01-15 新日鐵住金株式会社 せん断加工成形方法
JP5821898B2 (ja) * 2013-05-30 2015-11-24 新日鐵住金株式会社 せん断加工方法
KR101837873B1 (ko) * 2013-11-13 2018-03-12 신닛테츠스미킨 카부시키카이샤 강판의 펀칭용 공구 및 펀칭 방법
WO2016092657A1 (ja) * 2014-12-10 2016-06-16 新日鐵住金株式会社 ブランク、成形品、金型およびブランクの製造方法

Also Published As

Publication number Publication date
JP2019136724A (ja) 2019-08-22

Similar Documents

Publication Publication Date Title
CN110799278B (zh) 冲压成型方法
CN104870117B (zh) 冲压成型方法
TWI624315B (zh) 壓製成形品之製造方法、壓製成形品及壓製裝置
EP3441153B1 (en) Method for producing press-molded article and production line thereof
EP3760331A1 (en) Production method for pressed components, press molding device, and metal plate for press molding
EP3760332A1 (en) Production method for pressed components, press molding device, and metal plate for press molding
CN108698104B (zh) 冲压成型品的制造方法
WO2015155974A1 (ja) プレス成形品の製造方法、及び自動車用ロアアーム
JP2010158688A (ja) せん断加工成形方法
CN113365752B (zh) 冲压部件的制造方法以及坯料的制造方法
JP2010036195A (ja) 凹部を有するパンチによる打ち抜き加工方法
JP6977596B2 (ja) 金属板の打ち抜き加工方法
US20120131848A1 (en) Vineyard Stake
JP3546718B2 (ja) プレス成形方法
JP6988533B2 (ja) 金属板の打ち抜き加工方法
JP2020062664A (ja) プレス部品の製造方法
JP2006224121A (ja) 鋼板打ち抜き用工具及びそれを用いた打ち抜き方法
JP4987362B2 (ja) ハット型金属製部品とその製造方法
JPH0661581B2 (ja) 長フランジ製品の製造方法
JP6977595B2 (ja) 金属板の打ち抜き加工方法
JP7494883B2 (ja) プレス成形方法およびプレス成形品の製造方法
US12337898B2 (en) Body frame member and method for manufacturing body frame member
JP7617401B2 (ja) プレス装置、及びプレス成形品の製造方法
JP5145689B2 (ja) ハット型金属製部品のプレス成形用ブランク
JP6939619B2 (ja) 金属板の打ち抜き加工方法

Legal Events

Date Code Title Description
A621 Written request for application examination

Free format text: JAPANESE INTERMEDIATE CODE: A621

Effective date: 20201008

A977 Report on retrieval

Free format text: JAPANESE INTERMEDIATE CODE: A971007

Effective date: 20210610

A131 Notification of reasons for refusal

Free format text: JAPANESE INTERMEDIATE CODE: A131

Effective date: 20210803

A521 Written amendment

Free format text: JAPANESE INTERMEDIATE CODE: A523

Effective date: 20210914

TRDD Decision of grant or rejection written
A01 Written decision to grant a patent or to grant a registration (utility model)

Free format text: JAPANESE INTERMEDIATE CODE: A01

Effective date: 20211012

A61 First payment of annual fees (during grant procedure)

Free format text: JAPANESE INTERMEDIATE CODE: A61

Effective date: 20211025

R151 Written notification of patent or utility model registration

Ref document number: 6977596

Country of ref document: JP

Free format text: JAPANESE INTERMEDIATE CODE: R151