JP6957827B2 - 切削インサート - Google Patents

切削インサート Download PDF

Info

Publication number
JP6957827B2
JP6957827B2 JP2021509060A JP2021509060A JP6957827B2 JP 6957827 B2 JP6957827 B2 JP 6957827B2 JP 2021509060 A JP2021509060 A JP 2021509060A JP 2021509060 A JP2021509060 A JP 2021509060A JP 6957827 B2 JP6957827 B2 JP 6957827B2
Authority
JP
Japan
Prior art keywords
cutting edge
rake
cutting
angle
view
Prior art date
Legal status (The legal status is an assumption and is not a legal conclusion. Google has not performed a legal analysis and makes no representation as to the accuracy of the status listed.)
Active
Application number
JP2021509060A
Other languages
English (en)
Other versions
JPWO2020195976A1 (ja
Inventor
弘樹 松原
彰太 竹村
奉章 福山
翔太 辻本
松田 直樹
Current Assignee (The listed assignees may be inaccurate. Google has not performed a legal analysis and makes no representation or warranty as to the accuracy of the list.)
Sumitomo Electric Hardmetal Corp
Original Assignee
Sumitomo Electric Hardmetal Corp
Priority date (The priority date is an assumption and is not a legal conclusion. Google has not performed a legal analysis and makes no representation as to the accuracy of the date listed.)
Filing date
Publication date
Application filed by Sumitomo Electric Hardmetal Corp filed Critical Sumitomo Electric Hardmetal Corp
Publication of JPWO2020195976A1 publication Critical patent/JPWO2020195976A1/ja
Application granted granted Critical
Publication of JP6957827B2 publication Critical patent/JP6957827B2/ja
Active legal-status Critical Current
Anticipated expiration legal-status Critical

Links

Images

Classifications

    • BPERFORMING OPERATIONS; TRANSPORTING
    • B23MACHINE TOOLS; METAL-WORKING NOT OTHERWISE PROVIDED FOR
    • B23CMILLING
    • B23C5/00Milling-cutters
    • B23C5/16Milling-cutters characterised by physical features other than shape
    • B23C5/20Milling-cutters characterised by physical features other than shape with removable cutter bits or teeth or cutting inserts
    • B23C5/202Plate-like cutting inserts with special form
    • BPERFORMING OPERATIONS; TRANSPORTING
    • B23MACHINE TOOLS; METAL-WORKING NOT OTHERWISE PROVIDED FOR
    • B23CMILLING
    • B23C5/00Milling-cutters
    • B23C5/02Milling-cutters characterised by the shape of the cutter
    • B23C5/10Shank-type cutters, i.e. with an integral shaft
    • B23C5/109Shank-type cutters, i.e. with an integral shaft with removable cutting inserts
    • BPERFORMING OPERATIONS; TRANSPORTING
    • B23MACHINE TOOLS; METAL-WORKING NOT OTHERWISE PROVIDED FOR
    • B23CMILLING
    • B23C5/00Milling-cutters
    • B23C5/28Features relating to lubricating or cooling
    • B23C5/286Deflectors
    • B23C5/287Deflectors intersecting the rotational axis
    • BPERFORMING OPERATIONS; TRANSPORTING
    • B23MACHINE TOOLS; METAL-WORKING NOT OTHERWISE PROVIDED FOR
    • B23CMILLING
    • B23C2200/00Details of milling cutting inserts
    • B23C2200/04Overall shape
    • B23C2200/0416Irregular
    • BPERFORMING OPERATIONS; TRANSPORTING
    • B23MACHINE TOOLS; METAL-WORKING NOT OTHERWISE PROVIDED FOR
    • B23CMILLING
    • B23C2200/00Details of milling cutting inserts
    • B23C2200/04Overall shape
    • B23C2200/0494Rectangular
    • BPERFORMING OPERATIONS; TRANSPORTING
    • B23MACHINE TOOLS; METAL-WORKING NOT OTHERWISE PROVIDED FOR
    • B23CMILLING
    • B23C2200/00Details of milling cutting inserts
    • B23C2200/08Rake or top surfaces
    • B23C2200/085Rake or top surfaces discontinuous
    • BPERFORMING OPERATIONS; TRANSPORTING
    • B23MACHINE TOOLS; METAL-WORKING NOT OTHERWISE PROVIDED FOR
    • B23CMILLING
    • B23C2200/00Details of milling cutting inserts
    • B23C2200/20Top or side views of the cutting edge
    • B23C2200/208Wiper, i.e. an auxiliary cutting edge to improve surface finish
    • BPERFORMING OPERATIONS; TRANSPORTING
    • B23MACHINE TOOLS; METAL-WORKING NOT OTHERWISE PROVIDED FOR
    • B23CMILLING
    • B23C2200/00Details of milling cutting inserts
    • B23C2200/28Angles
    • B23C2200/287Positive rake angles
    • BPERFORMING OPERATIONS; TRANSPORTING
    • B23MACHINE TOOLS; METAL-WORKING NOT OTHERWISE PROVIDED FOR
    • B23CMILLING
    • B23C2200/00Details of milling cutting inserts
    • B23C2200/36Other features of the milling insert not covered by B23C2200/04 - B23C2200/32
    • B23C2200/365Lands, i.e. the outer peripheral section of rake faces

Landscapes

  • Engineering & Computer Science (AREA)
  • Mechanical Engineering (AREA)
  • Milling Processes (AREA)
  • Cutting Tools, Boring Holders, And Turrets (AREA)

Description

本開示は、切削インサートに関する。本出願は、2019年3月27日に出願した日本特許出願である特願2019−060279号に基づく優先権を主張する。当該日本特許出願に記載された全ての記載内容は、参照によって本明細書に援用される。
特許文献1(特開2007−44779号公報)には、スローアウェイチップが記載されている。特許文献1に記載のスローアウェイチップは、主切れ刃と、副切れ刃とを有している。
特許文献1に記載のスローアウェイチップを用いた切削加工は、主切れ刃をワークの側壁面に切り込ませるとともに、副切れ刃をワークの底壁面に切り込ませることにより行われる。
特開2007−44779号公報
本開示の切削インサートは、上面と、上面の反対面である底面と、上面及び底面に連なっている側面と、側面と上面との稜線に形成されているコーナ切れ刃、第1切れ刃、第2切れ刃及び第3切れ刃とを備える。コーナ切れ刃は、上面視において、第1端と、第1端の反対側の端である第2端とを有する。第1切れ刃は、上面視において、第1端から第1方向に沿って延在する。第2切れ刃は、上面視において、第2端から第1方向に交差する第2方向に沿って延在する。第3切れ刃は、上面視において、第2切れ刃から第2方向と鋭角をなす第3方向に沿って延在する。上面は、第1切れ刃に隣接して配置される第1すくい面と、第2切れ刃に隣接して配置される第2すくい面と、第3切れ刃に隣接して配置される第3すくい面とを有する。第1すくい面と底面に平行な基準面とがなす角度である第1すくい角は第3すくい面と基準面とがなす角度である第3すくい角よりも大きく、第3すくい角は第2すくい面と基準面とがなす角度である第2すくい角よりも大きい。
図1は、切削インサート10の斜視図である。 図2は、切削インサート10の上面図である。 図3は、図2のIII−IIIに沿う断面図である。 図4は、図2のIV−IVに沿う断面図である。 図5は、図2のV−Vに沿う断面図である。 図6は、図2のVI−VIに沿う断面図である。 図7は、第2方向DR2から見た切削インサート10の側面図である。 図8は、第1方向DR1から見た切削インサート10の側面図である。 図9は、切削インサート10を用いたランピング加工を示す模式図である。
[本開示が解決しようとする課題]
特許文献1に記載のスローアウェイチップにおいては、切れ刃から削り出される切り屑の流出方向の制御に関して、特段の開示がない。
本開示の目的は、切れ刃から削り出される切り屑の流出方向を適切に制御することが可能な切削インサートを提供することである。
[本開示の効果]
本開示の切削インサートによると、切れ刃から削り出される切り屑の流出方向を適切に制御することができる。
[本開示の実施形態の説明]
まず、本開示の実施形態を列記して説明する。
一実施形態に係る切削インサートは、上面と、上面の反対面である底面と、上面及び底面に連なる側面と、側面と上面との稜線に形成されたコーナ切れ刃と、第1切れ刃と、第2切れ刃と、第3切れ刃とを備える。コーナ切れ刃は、上面視において、第1端と、第1端の反対側の端である第2端とを有する。第1切れ刃は、上面視において、第1端から第1方向に沿って延在する。第2切れ刃は、上面視において、第2端から第1方向に交差する第2方向に沿って延在する。第3切れ刃は、上面視において、第2切れ刃から第2方向と鋭角をなす第3方向に沿って延在する。上面は、第1切れ刃に隣接して配置される第1すくい面と、第2切れ刃に隣接して配置される第2すくい面と、第3切れ刃に隣接して配置される第3すくい面とを有する。第1すくい面と底面に平行な基準面とがなす角度である第1すくい角は第3すくい面と基準面とがなす角度である第3すくい角よりも大きく、第3すくい角は第2すくい面と基準面とがなす角度である第2すくい角よりも大きい。
上記の切削インサートによると、切れ刃から削り出される切り屑の流出方向を適切に制御することができる。より具体的には、上記の切削インサートにおいては、第1すくい角が大きくなっているため、第1切れ刃から削り出された切り屑が、第1切れ刃による加工面とは反対側に流出しやすい。そのため、上記の切削インサートによると、第1切れ刃による加工面に噛み込まれにくくなる。また、上記の切削インサートにおいては、第3すくい角が第2すくい角よりも大きくなっているため、第3切れ刃から削り出された切り屑が第2すくい面を避ける方向に沿って流出しやすい。そのため、上記の切削インサートによると、第3切れ刃により削り出された切り屑が、他の切れ刃から削り出された切り屑と絡まりにくくなる。
上記の切削インサートにおいて、上面は、コーナ切れ刃に隣接する第4すくい面をさらに有していてもよい。
上記の切削インサートにおいて、第4すくい面は、第1すくい面に連なる第1面と、第1面及び第2すくい面に連なる第2面とを含んでいてもよい。第1切れ刃及び第2切れ刃を通る断面視において、第1面は、上面から底面に向かう方向に凹の曲線形状を有していてもよい。第1切れ刃及び第2切れ刃を通る断面視において、第2面は、底面から上面に向かう方向に凸の曲線形状を有していてもよい。この場合、第1切れ刃により削り出された切り屑は、第4すくい面を避ける方向に沿って流出しやすくなるため、第1切れ刃により削り出された切り屑が、他の切れ刃から削り出された切り屑と絡まりにくくなる。
上記の切削インサートにおいて、第2方向と第3方向とがなす角度は5°以上45°以下であってもよい。
上記の切削インサートにおいて、第2方向と第3方向とがなす角度は15°以上35°以下であってもよい。
上記の切削インサートにおいて、第1切れ刃は、第1端から離れるにしたがって底面に近づくように傾斜していてもよい。この場合、第1切れ刃により削り出された切り屑は、第4すくい面を避ける方向に流出しやすくなるため、第1切れ刃から削り出された切り屑は、他の切れ刃から削り出された切り屑とさらに絡まりにくくなる。
上記の切削インサートにおいて、第1切れ刃と基準面とがなす角度は、第2方向から見た側面視において、2°以上20°以下であってもよい。
上記の切削インサートにおいて、第1切れ刃と基準面とがなす角度は、第2方向から見た側面視において、5°以上15°以下であってもよい。
上記の切削インサートにおいて、第3切れ刃は、第2切れ刃から離れるにしたがって底面に近づくように傾斜していてもよい。この場合には、第3切れ刃から削り出された切り屑は、第2すくい面を避ける方向に沿ってさらに流出しやすくなる。そのため、第3切れ刃から削り出された切り屑が、他の切れ刃から削り出された切り屑とさらに絡まりにくくなる。
上記の切削インサートにおいて、第3切れ刃と基準面とがなす角度は、第1方向から見た側面視において10°以上40°以下であってもよい。
上記の切削インサートにおいて、第3切れ刃と基準面とがなす角度は、第1方向から見た側面視において15°以上30°以下であってもよい。
[本開示の実施形態の詳細]
次に、本開示の実施形態の詳細を、図面を参酌しながら説明する。以下の図面においては、同一又は相当する部分に同一の参照符号を付し、重複する説明は繰り返さない。
(実施形態に係る切削インサートの構成)
以下に、実施形態に係る切削インサート(以下においては、「切削インサート10」という)の構成を説明する。
図1は、切削インサート10の斜視図である。図1に示されるように、切削インサート10は、上面1と、底面2と、側面3とを有している。底面2は上面1の反対面である。側面3は、上面1及び底面2に連なっている。切削インサート10は、例えば超硬合金で形成されている。
切削インサート10は、コーナ切れ刃4と、第1切れ刃5(主切れ刃)と、第2切れ刃6(さらい刃)と、第3切れ刃7(副切れ刃)とを有している。コーナ切れ刃4、第1切れ刃5、第2切れ刃6及び第3切れ刃7は、上面1と側面3の稜線に形成されている。
図2は、切削インサート10の上面図である。図2に示されるように、コーナ切れ刃4は、上面視において、第1端4aと、第2端4bとを有している。第2端4bは、第1端4aの反対側の端である。コーナ切れ刃4は、上面視において曲線形状を有している。この曲線形状は、切削インサート10の外側に向かって凸形状になっている。このことを別の観点から言えば、第1端4aと第2端4bとを結んだ仮想直線は、切削インサート10(上面1)上を通過する。
第1切れ刃5は、上面視において、第1端4aから第1方向DR1に沿って延在している。第1方向DR1は、好ましくは、切削インサート10が取り付けられるボディ20(図1及び図2中において図示せず)の回転中心軸Aの方向に沿っている。第2切れ刃6は、上面視において、第2端4bから第2方向DR2に沿って延在している。第2方向DR2は、第1方向DR1に交差している。
第3切れ刃7は、上面視において、第2切れ刃6から第3方向DR3に沿って延在している。第3方向DR3は、第2方向DR2と鋭角をなす方向である。第2方向DR2と第3方向DR3とがなす角度である角度θ1は、好ましくは、5°以上45°以下である。角度θ1は、さらに好ましくは、15°以上35°以下である。
上面1は、第1すくい面11と、第2すくい面12と、第3すくい面13と、第4すくい面14とを有している。第1すくい面11は第1切れ刃5に隣接して配置されており、第2すくい面12は第2切れ刃6に隣接して配置されている。第3すくい面13は、第3切れ刃7に隣接して配置されている。第4すくい面14は、コーナ切れ刃4に隣接して配置されている。
このことを別の観点から言えば、第1切れ刃5は第1すくい面11と側面3との稜線に形成されており、第2切れ刃6は第2すくい面12と側面3との稜線に形成されており、第3切れ刃7は第3すくい面13と側面3との稜線に形成されており、コーナ切れ刃4は第4すくい面14と側面3の稜線に形成されている。
第2すくい面12は、第3すくい面13と第4すくい面14との間にあり、第3すくい面13及び第4すくい面14に連なっている。第4すくい面は、第1すくい面11と第2すくい面12との間にあり、第1すくい面11及び第2すくい面12に連なっている。
図3は、図2のIII−IIIに沿う断面図である。図3には、第1切れ刃5と直交している切削インサート10の断面図が示されている。図3に示されるように、第1すくい面11は、第1面11aと、第2面11bとを有している。第1面11aは、側面3に連なっている。第2面11bは、第1切れ刃5とは反対側において第1面11aに連なっている。
第1切れ刃5に直交する方向において、第1面11aの幅は、第2面11bの幅よりも狭い。すなわち、第1面11aは、ランドになっている。なお、第1すくい面11は、第1面11aを有していなくてもよい。第1すくい面11と底面2とは、角度θ2(第1すくい角)をなしている。角度θ2は、第2面11bと底面2に平行な基準面Pとがなす角度により決定される。
図4は、図2のIV−IVに沿う断面図である。図4には、第2切れ刃6と直交している切削インサート10の断面図が示されている。第2すくい面12は、図4に示されるように、第1面12aと、第2面12bとを有している。第1面12aは、側面3に連なっている。第2面12bは、第2切れ刃6とは反対側において、第1面12aに連なっている。
第2切れ刃6に直交する方向において、第1面12aの幅は、第2面12bの幅よりも狭い。すなわち、第1面12aは、ランドになっている。なお、第2すくい面12は、第1面12aを有していなくてもよい。第2すくい面12と底面2とは、角度θ3(第2すくい角)をなしている。角度θ3は、第2面12bと基準面Pとがなす角度により決定される。
図5は、図2のV−Vに沿う断面図である。図5には、第3切れ刃7に直交する切削インサート10の断面図が示されている。図5に示されるように、第3すくい面13は、第1面13aと、第2面13bとを有している。第1面13aは側面3に連なっており、第2面13bは第3切れ刃7とは反対側において第1面13aに連なっている。
第3切れ刃7に直交する方向において、第1面13aの幅は、第2面13bの幅よりも狭い。すなわち、第1面13aは、ランドになっている。なお、第3すくい面13は、第1面13aを有していなくてもよい。第3すくい面13と底面2とは、角度θ4(第3すくい角)をなしている。角度θ4は、第2面13bと基準面Pとがなす角度により決定される。
角度θ2は、角度θ4よりも大きい。角度θ4は、角度θ3よりも大きい。すなわち、角度θ2、角度θ3及び角度θ4は、角度θ2>角度θ4>角度θ3との関係を充足している。
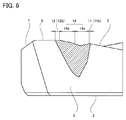
図6は、図2のVI−VIに沿う断面図である。図6には、第1切れ刃5及び第2切れ刃6を通る断面図が示されている。図6に示されるように、第4すくい面14は、第1面14aと、第2面14bとを有している。第1面14aは、第1すくい面11に連なっている。第2面14bは、第1面14aと第2すくい面12との間にあり、第1面14a及び第2すくい面12に連なっている。
第1面14aは、第1切れ刃5及び第2切れ刃6を通る断面視において、上面1から底面2に向かう方向に凹(図6中において、下に凸)の曲線形状になっている。第2面14bは、第1切れ刃5及び第2切れ刃6を通る断面視において、底面2から上面1に向かう方向に凸(図6中において、上に凸)の曲線形状になっている。このことを別の観点から言えば、第1面14aと第2面14bとの境界は、第1切れ刃5及び第2切れ刃6を通る断面視において、第4すくい面14の曲線形状の変曲点になっている。
第4すくい面14は、第1すくい面11側から第2すくい面12側に向かうにしたがって、一旦、底面2との間の距離が小さくなっている。第4すくい面14は、さらに第2すくい面側に向かうにしたがって、底面2との距離が大きくなっている。第1すくい面11側の端における第4すくい面14と底面2との間の距離は、第2すくい面12側の端における第4すくい面14と底面2との間の距離よりも小さくなっている。
図7は、第2方向DR2から見た切削インサート10の側面図である。図7に示されるように、第1切れ刃5は、第1端4aから離れるにつれて底面2に近づくように傾斜している。
第1切れ刃5と底面2(基準面P)とは、第2方向DR2から見た側面視において、角度θ5をなしている。角度θ5は、2°以上20°以下であることが好ましい。角度θ5は、5°以上15°以下であることがさらに好ましい。
図8は、第1方向DR1から見た切削インサート10の側面図である。図8に示されるように、第3切れ刃7は、第2切れ刃6から離れるにつれて底面2に近づくように傾斜している。
第3切れ刃7と底面2(基準面P)とは、第1方向DR1から見た側面視において、角度θ6をなしている。角度θ6は、10°以上40°以下であることが好ましい。角度θ6は、15°以上30°以下であることがさらに好ましい。
(実施形態に係る切削インサートを用いた切削加工)
以下に、切削インサート10を用いた切削加工を説明する。
図9は、切削インサート10を用いたランピング加工を示す模式図である。図9に示されるように、切削インサート10は、ボディ20に取り付けられる。工作機械により、ボディ20は、回転中心軸A周りに回転する。
切削インサート10を用いたランピング加工では、ボディ20は、回転中心軸A周りに回転している状態で、ワークWに対してボディ20の径方向(図9中における右方)及びボディ20の軸方向(図9中における下方)に送られる。これにより、第1切れ刃5がワークWの側壁面に切り込むとともに、第2切れ刃6及び第3切れ刃7がワークWの底壁面に切り込むことにより、ワークWに底壁面が傾斜した溝を形成するランピング加工が行われる。
(実施形態に係る切削インサートの効果)
以下に、切削インサート10の効果を説明する。
切削インサート10においては、第1切れ刃5のすくい角(角度θ2)が他の切れ刃のすくい角よりも大きくなっているため、第1切れ刃5から削り出された切り屑と第1すくい面11との間の接触抵抗は、相対的に小さくなっている。そのため、第1切れ刃5により削り出された切り屑は、第1切れ刃5による加工面とは反対側に流出しやすく、第1切れ刃5による加工面とボディ20との間に巻き込まれにくい。
切削インサート10においては第3切れ刃7のすくい角(角度θ4)が第2切れ刃6のすくい角(角度θ3)よりも大きくなっているため、第3切れ刃7から削り出された切り屑は、第2すくい面12上を通過する場合よりも第3すくい面上を通過する場合の方が、接触抵抗が小さくなる。そのため、第3切れ刃7から削り出された切り屑は、第2すくい面12を避ける方向に沿って流出しやすい。その結果、切削インサート10によると、第3切れ刃7から削り出された切り屑が、他の切れ刃から削り出された切り屑と絡まりにくくなる。
切削インサート10において、第1面14a及び第2面14bは、断面視において、それぞれ下に凸の曲線形状及び上に凸の曲線形状を有しているため、第4すくい面14は、第1すくい面11側から第2すくい面12側にかけて立ち上がった形状を有していることになる。そのため、第1切れ刃5から削り出された切り屑が第4すくい面14上を通過しようとすると、接触抵抗が大きくなる。その結果、第1切れ刃5から削り出された切り屑は、第4すくい面14を避ける方向に流出しやすくなり、他の切れ刃から削り出された切り屑と絡まりにくくなる。
第1切れ刃5が第1端4aから離れるにしたがって底面2に近づくように傾斜している場合、第1切れ刃5から削り出された切り屑は、当該傾斜の方向に沿って流出した方が、第1すくい面11との接触抵抗が低下する。そのため、この場合、第1切れ刃5から削り出された切り屑は、第4すくい面14を避ける方向にさらに流出しやすくなり、他の切れ刃から削り出された切り屑とさらに絡まりにくくなる。
第3切れ刃7が第2切れ刃6から離れるにしたがって底面2に近づくように傾斜している場合、第3切れ刃7から削り出された切り屑は、当該傾斜の方向に沿って流出した方が第3すくい面13との接触抵抗が低下する。そのため、この場合、第3切れ刃7から削り出された切り屑は、第2すくい面12を避ける方向にさらに流出しやすくなり、他の切れ刃から削り出された切り屑とさらに絡まりにくくなる。
今回開示された実施形態は全ての点で例示であって、制限的なものではないと考えられるべきである。本発明の範囲は、上記した実施形態ではなく、請求の範囲によって示され、請求の範囲と均等の意味及び範囲内での全ての変更が含まれることが意図される。
1 上面、2 底面、3 側面、4 コーナ切れ刃、4a 第1端、4b 第2端、5 第1切れ刃、6 第2切れ刃、7 第3切れ刃、10 切削インサート、11 第1すくい面、11a,12a,13a,14a 第1面、11b,12b,13b,14b 第2面、12 第2すくい面、13 第3すくい面、14 第4すくい面、20 ボディ、A 回転中心軸、DR1 第1方向、DR2 第2方向、DR3 第3方向、P 基準面、W ワーク、θ1 第2方向と第3方向とがなす角度、θ2 第1すくい角、θ3 第2すくい角、θ3 第3すくい角、θ5 第1切れ刃と底面(基準面)とがなす角度、θ6 第3切れ刃と底面(基準面)とがなす角度。

Claims (10)

  1. 上面と、
    前記上面の反対面である底面と、
    前記上面及び前記底面に連なる側面と、
    前記側面と前記上面との稜線に形成されたコーナ切れ刃、第1切れ刃、第2切れ刃及び第3切れ刃とを備え、
    前記コーナ切れ刃は、上面視において、第1端と、前記第1端の反対側の端である第2端とを有し、
    前記第1切れ刃は、上面視において、前記第1端から第1方向に沿って延在しており、
    前記第2切れ刃は、上面視において、前記第2端から前記第1方向に交差する第2方向に沿って延在しており、
    前記第3切れ刃は、上面視において、前記第2切れ刃から前記第2方向と鋭角をなす第3方向に沿って延在しており、
    前記上面は、前記第1切れ刃に隣接して配置される第1すくい面と、前記第2切れ刃に隣接して配置される第2すくい面と、前記第3切れ刃に隣接して配置される第3すくい面とを有し、
    前記第1すくい面と前記底面に平行な基準面とがなす角度である第1すくい角は、前記第3すくい面と前記基準面とがなす角度である第3すくい角よりも大きく、
    前記第3すくい角は、前記第2すくい面と前記基準面とがなす角度である第2すくい角よりも大きく、
    前記第1切れ刃は、前記第1端から離れるにしたがって前記底面に近づくように傾斜している、切削インサート。
  2. 前記上面は、前記コーナ切れ刃に隣接する第4すくい面をさらに有する、請求項1に記載の切削インサート。
  3. 前記第4すくい面は、前記第1すくい面に連なる第1面と、前記第1面及び前記第2すくい面に連なる第2面とを含み、
    前記第1面は、前記第1切れ刃及び前記第2切れ刃を通る断面視において、前記上面から前記底面に向かう方向に凹の曲線形状を有し、
    前記第2面は、前記第1切れ刃及び前記第2切れ刃を通る断面視において、前記底面から前記上面に向かう方向に凸の曲線形状を有する、請求項2に記載の切削インサート。
  4. 前記第2方向と前記第3方向とがなす角度は、5°以上45°以下である、請求項1から請求項3のいずれか1項に記載の切削インサート。
  5. 前記第2方向と前記第3方向とがなす角度は、15°以上35°以下である、請求項1から請求項4のいずれか1項に記載の切削インサート。
  6. 前記第2方向から見た側面視において、前記第1切れ刃と前記基準面とがなす角度は、2°以上20°以下である、請求項1に記載の切削インサート。
  7. 前記第2方向から見た側面視において、前記第1切れ刃と前記基準面とがなす角度は、5°以上15°以下である、請求項1に記載の切削インサート。
  8. 前記第3切れ刃は、前記第2切れ刃から離れるにしたがって前記底面に近づくように傾斜している、請求項1から請求項5、請求項7及び請求項8のいずれか1項に記載の切削インサート。
  9. 前記第1方向から見た側面視において、前記第3切れ刃と前記基準面とがなす角度は、10°以上40°以下である、請求項9に記載の切削インサート。
  10. 前記第1方向から見た側面視において、前記第3切れ刃と前記基準面とがなす角度は、15°以上30°以下である、請求項9に記載の切削インサート。
JP2021509060A 2019-03-27 2020-03-13 切削インサート Active JP6957827B2 (ja)

Applications Claiming Priority (3)

Application Number Priority Date Filing Date Title
JP2019060279 2019-03-27
JP2019060279 2019-03-27
PCT/JP2020/011203 WO2020195976A1 (ja) 2019-03-27 2020-03-13 切削インサート

Publications (2)

Publication Number Publication Date
JPWO2020195976A1 JPWO2020195976A1 (ja) 2021-10-21
JP6957827B2 true JP6957827B2 (ja) 2021-11-02

Family

ID=70469827

Family Applications (1)

Application Number Title Priority Date Filing Date
JP2021509060A Active JP6957827B2 (ja) 2019-03-27 2020-03-13 切削インサート

Country Status (4)

Country Link
US (1) US11980951B2 (ja)
JP (1) JP6957827B2 (ja)
DE (1) DE202020101585U1 (ja)
WO (1) WO2020195976A1 (ja)

Families Citing this family (5)

* Cited by examiner, † Cited by third party
Publication number Priority date Publication date Assignee Title
CN113573834B (zh) * 2019-03-27 2024-10-01 住友电工硬质合金株式会社 切削刀片
JP1716009S (ja) * 2021-09-22 2022-05-27 切削工具
JP1734037S (ja) * 2022-04-26 2023-01-10 切削工具
USD1078808S1 (en) * 2022-04-26 2025-06-10 Sumitomo Electric Hardmetal Corp. Cutting tool
JP7505634B1 (ja) 2023-12-28 2024-06-25 株式会社タンガロイ 切削インサート、及び当該切削インサートを備えた切削工具

Family Cites Families (22)

* Cited by examiner, † Cited by third party
Publication number Priority date Publication date Assignee Title
IL110785A (en) * 1994-08-25 1998-04-05 Iscar Ltd Cutting insert for a rotary milling cutter
SE514014C2 (sv) 1998-05-06 2000-12-11 Sandvik Ab Vändskär för roterande fräsverktyg
SE512040C2 (sv) * 1998-05-06 2000-01-17 Sandvik Ab Vändskär för pinnfräsar
SE514032C2 (sv) * 1998-09-08 2000-12-11 Seco Tools Ab Verktyg och skär för fräsning
US7004689B2 (en) * 2004-01-09 2006-02-28 Kennametal Inc. High-speed milling cutter and insert
US7070363B2 (en) * 2004-07-15 2006-07-04 Kennametal Inc. Cutting insert for high-speed milling cutter
US7040844B1 (en) * 2005-03-08 2006-05-09 Mitsubishi Materials Corporation Throwaway insert and throwaway-type rotary cutting tool
JP2007044779A (ja) 2005-08-08 2007-02-22 Sumitomo Electric Hardmetal Corp スローアウェイチップ及びそれを用いたミーリングカッタ
JP2007044782A (ja) * 2005-08-08 2007-02-22 Sumitomo Electric Hardmetal Corp スローアウェイチップ及びそれを用いたミーリングカッタ
JP5204927B2 (ja) * 2010-06-30 2013-06-05 京セラ株式会社 インサートおよび切削工具、並びにそれらを用いた切削加工物の製造方法
JP5525615B2 (ja) * 2010-08-11 2014-06-18 京セラ株式会社 切削インサートおよび切削工具、並びにそれらを用いた切削加工物の製造方法
CN102958634B (zh) * 2010-10-05 2015-08-26 京瓷株式会社 切削镶刀及切削工具、以及使用该切削工具的切削加工物的制造方法
EP3100811B1 (en) * 2014-01-28 2022-09-21 MOLDINO Tool Engineering, Ltd. Insert and indexable rotary cutting tool
US10350687B2 (en) * 2014-10-16 2019-07-16 Tungaloy Corporation Cutting insert having outwardly inclined side surface and inwardly inclined lower surface, and rotary cutting tool
EP3050655B1 (en) * 2015-01-30 2017-03-22 Sandvik Intellectual Property AB A milling insert and a milling tool
US11179785B2 (en) * 2016-12-09 2021-11-23 Moldino Tool Engineering, Ltd. Cutting insert and indexable edge rotary cutting tool
CN110997205B (zh) * 2017-08-23 2022-04-26 京瓷株式会社 刀片
US10525539B2 (en) * 2018-01-08 2020-01-07 Kennametal Inc. Compression milling cutter with indexable cutting inserts
CN113573834B (zh) * 2019-03-27 2024-10-01 住友电工硬质合金株式会社 切削刀片
JP7417713B2 (ja) * 2020-03-25 2024-01-18 京セラ株式会社 切削インサート、切削工具及び切削加工物の製造方法
US12370610B2 (en) * 2020-06-01 2025-07-29 Kyocera Corporation Cutting insert, cutting tool, and method for manufacturing machined product
EP3964314A1 (en) * 2020-09-02 2022-03-09 AB Sandvik Coromant Cutting insert and high feed milling tool

Also Published As

Publication number Publication date
WO2020195976A1 (ja) 2020-10-01
US20220168825A1 (en) 2022-06-02
JPWO2020195976A1 (ja) 2021-10-21
DE202020101585U1 (de) 2020-04-01
US11980951B2 (en) 2024-05-14

Similar Documents

Publication Publication Date Title
JP6957827B2 (ja) 切削インサート
JP5024483B2 (ja) 切削インサート
CN104640657B (zh) 切削刀片以及刀头更换式旋转切削工具
CN104114307B (zh) 切削刀片及刀头更换式切削工具
CN102958634B (zh) 切削镶刀及切削工具、以及使用该切削工具的切削加工物的制造方法
CN105792968B (zh) 钻头用刀片及可转位刀片式钻头
JP7069487B2 (ja) 切削インサート
EP3059037A1 (en) Double-sided high feed milling insert, high feed milling tool and method
JP6756082B2 (ja) 切削インサート
JPWO2011121780A1 (ja) カッティングインサートおよび切削工具
JP7055962B2 (ja) 切削インサート
WO2016147493A1 (ja) 切削インサート、切削インサート群および刃先交換式切削工具
JP7069488B2 (ja) 切削インサート
JP6052455B1 (ja) 切削インサートおよび切削工具
JP6799285B2 (ja) 切削インサートおよび内径切削用工具
CN105073316B (zh) 钻头用刀片及刀头可更换式钻头
JP2017193002A (ja) 切削インサートおよび切削工具
JP6648392B1 (ja) 切削インサート
JP2008254127A (ja) 切削インサート
JP7089171B2 (ja) エンドミル
JP7491104B2 (ja) ボールエンドミル
WO2015119259A1 (ja) 切削インサート
JP2016112663A (ja) エンドミル
JPWO2019220778A1 (ja) ドリル用切削インサートおよびドリル
JP7491105B2 (ja) ボールエンドミル

Legal Events

Date Code Title Description
A524 Written submission of copy of amendment under article 19 pct

Free format text: JAPANESE INTERMEDIATE CODE: A527

Effective date: 20210521

A621 Written request for application examination

Free format text: JAPANESE INTERMEDIATE CODE: A621

Effective date: 20210521

A80 Written request to apply exceptions to lack of novelty of invention

Free format text: JAPANESE INTERMEDIATE CODE: A801

Effective date: 20210521

A871 Explanation of circumstances concerning accelerated examination

Free format text: JAPANESE INTERMEDIATE CODE: A871

Effective date: 20210521

A80 Written request to apply exceptions to lack of novelty of invention

Free format text: JAPANESE INTERMEDIATE CODE: A80

Effective date: 20210521

TRDD Decision of grant or rejection written
A01 Written decision to grant a patent or to grant a registration (utility model)

Free format text: JAPANESE INTERMEDIATE CODE: A01

Effective date: 20210907

A61 First payment of annual fees (during grant procedure)

Free format text: JAPANESE INTERMEDIATE CODE: A61

Effective date: 20210915

R150 Certificate of patent or registration of utility model

Ref document number: 6957827

Country of ref document: JP

Free format text: JAPANESE INTERMEDIATE CODE: R150

R250 Receipt of annual fees

Free format text: JAPANESE INTERMEDIATE CODE: R250

R250 Receipt of annual fees

Free format text: JAPANESE INTERMEDIATE CODE: R250