JP6937725B2 - 作業車 - Google Patents

作業車 Download PDF

Info

Publication number
JP6937725B2
JP6937725B2 JP2018119982A JP2018119982A JP6937725B2 JP 6937725 B2 JP6937725 B2 JP 6937725B2 JP 2018119982 A JP2018119982 A JP 2018119982A JP 2018119982 A JP2018119982 A JP 2018119982A JP 6937725 B2 JP6937725 B2 JP 6937725B2
Authority
JP
Japan
Prior art keywords
link
vehicle body
hydraulic
base
posture
Prior art date
Legal status (The legal status is an assumption and is not a legal conclusion. Google has not performed a legal analysis and makes no representation as to the accuracy of the status listed.)
Active
Application number
JP2018119982A
Other languages
English (en)
Other versions
JP2020001444A (ja
Inventor
石川 淳一
石川  淳一
平岡 実
実 平岡
Current Assignee (The listed assignees may be inaccurate. Google has not performed a legal analysis and makes no representation or warranty as to the accuracy of the list.)
Kubota Corp
Original Assignee
Kubota Corp
Priority date (The priority date is an assumption and is not a legal conclusion. Google has not performed a legal analysis and makes no representation as to the accuracy of the date listed.)
Filing date
Publication date
Application filed by Kubota Corp filed Critical Kubota Corp
Priority to JP2018119982A priority Critical patent/JP6937725B2/ja
Priority to PCT/JP2019/023212 priority patent/WO2020004024A1/ja
Priority to EP19824511.0A priority patent/EP3812250A4/en
Priority to CN201980031218.4A priority patent/CN112119004B/zh
Priority to US17/047,807 priority patent/US11498632B2/en
Publication of JP2020001444A publication Critical patent/JP2020001444A/ja
Application granted granted Critical
Publication of JP6937725B2 publication Critical patent/JP6937725B2/ja
Active legal-status Critical Current
Anticipated expiration legal-status Critical

Links

Images

Landscapes

  • Vehicle Body Suspensions (AREA)

Description

本発明は、不整地を走行するのに適した作業車に関する。
従来では、4つの走行車輪を夫々、2つの関節を持ち屈伸操作可能に構成されたリンク機構を介して本体に支持し、リンク機構に電動モータと減速機構等が内装され、電動モータの駆動力によりリンク機構が屈伸駆動可能に構成されたものがあった(例えば、特許文献1参照)。
特開平9−142347号公報
上記従来構成における車輪支持構造は、走行路面に凹凸があってもリンク機構を屈伸させながら本体を適正な姿勢に維持して走行することを可能にしたものである。そこで、このような車輪支持構造を、例えば、圃場、果樹園、山間値等で走行する農用の作業車に適用することが考えられる。しかし、上記従来構成における車輪支持構造はこれらの作業車には採用し難いものとなっていた。
農用の作業車では、作業車の近傍において、走行に伴って発生する土埃や収穫作業に伴って作物から発生する浮遊塵等の細かな塵埃が多く発生することがあり、雨水や朝露等が原因で水分が付着することもある。上記従来構成では、走行車輪を支持するためのリンク機構が、内装された電動モータにより屈伸駆動されるものであるから、細かな塵埃や水分等がリンク機構の内部に侵入すると、電動モータや減速機構等に不具合が生じるおそれがある。
そこで、細かな塵埃や水分等が侵入するおそれが大きい作業環境において、凹凸の多い作業地であっても、車両本体が適正な姿勢を維持することが可能でありながら、しかも、低重心で安定した状態で移動走行することが可能な作業車が望まれていた。
本発明に係る作業車の特徴構成は、台を備えた車両本体と、前記車両本体の左右両側における前後夫々に位置する複数の走行車輪と、複数の前記走行車輪を各別に昇降自在に前記車両本体に支持する複数の屈折リンク機構と、複数の前記屈折リンク機構の姿勢を各別に変更可能な油圧操作式の姿勢変更操作手段と、前記姿勢変更操作手段に向けて作動油を送り出す油圧供給源と、が備えられ、前記油圧供給源が、前記車両本体における前記基台の下側に位置する状態で配備され、前記油圧供給源を支持する支持フレームが、前記基台の下側に位置して前記基台に連結される状態で備えられ、前記支持フレームは、前記油圧供給源を支持する状態で、車体横方向に沿って移動させることにより、前記基台に対して装着並びに取り外し可能である点にある。
本発明によれば、姿勢変更操作手段によって屈折リンク機構の姿勢を変更することにより、複数の走行車輪夫々の車両本体に対する高さを変更することができ、凹凸のある地面を走行するときであっても、複数の走行車輪により安定的に接地支持しながら、車両本体を適正な姿勢に維持した状態で走行することが可能である。
姿勢変更操作手段が油圧操作式であるから、電気式のものに比べて一般的に防水性や防塵性を備えている。このため、表面に水分や塵埃が付着しても、そのことによって悪影響を受けて動作不良等を起こすおそれは少ない。従って、細かな塵埃や水分等が侵入するおそれがある作業環境であっても、良好に姿勢変更操作を行うことができる。
油圧操作式の姿勢変更操作手段を備えるものでは、姿勢変更操作手段に作動油を供給するための油圧供給源が必要であり、油圧供給源は、エンジンや電動モータ等の駆動装置と、駆動装置により駆動される油圧ポンプ等を備えている。エンジンや電動モータ等の大型の装置を備える油圧供給源は、大型の装置であり、大きめの重量を有するものである。このように大型で重量の大きい油圧供給源は、車両本体における基台の下側に位置する状態で配備されている。
このように、大重量の装置である油圧供給源を基台の下側、すなわち、車両本体の下腹部に備えるので、車両本体の重心位置が低くなる。つまり、凹凸の多い作業地を走行する場合、車両本体の重心位置をできるだけ引く位置に下げて低重心で安定した状態で移動走行が可能である。
従って、細かな塵埃や水分等が侵入するおそれが大きい作業環境において、凹凸の多い作業地であっても、車両本体が適正な姿勢を維持することが可能でありながら、しかも、低重心で安定した状態で移動走行することが可能となった。
さらに、本発明によれば、基台に連結されて充分な支持強度を有する支持フレームにより油圧供給源を安定的に支持することができる。又、支持フレームが、車体横方向に沿って移動させることにより基台に対して装着並びに取り外し可能であるから、車両本体の下側の狭い領域で油圧供給源だけを着脱する構成に比べて、着脱させる作業が容易に行うことが可能であり、しかも、油圧供給源を車両本体から取り外して、作業し易い状態で点検修理等のメンテナンス作業を行うことができる。
本発明においては、前記支持フレームは、下端部が地面に接地した状態で車体全体を姿勢保持可能に構成されていると好適である。
本構成によれば、作業車を移動停止させた状態で位置保持させる場合には、複数の走行車輪が地面から浮上するように屈折リンク機構の姿勢を変更させておき、支持フレームを接地させることで、車体全体を姿勢保持しながら移動が阻止される状態で接地支持することができる。
本発明においては、前記油圧供給源が、エンジンと、前記エンジンにより駆動される油圧ポンプとを備えており、前記エンジン及び前記油圧ポンプが平面視で枠状の前記基台と重畳する領域において前記基台よりも下方で前記支持フレームに支持されていると好適である。
本構成によれば、エンジンの大きな動力によって油圧ポンプを駆動して、十分な量の作動油を姿勢変更操作手段に供給することができ、姿勢変更操作を円滑に且つ迅速に行うことができる。
本発明においては、前記屈折リンク機構に、一端部が前記基台に横軸芯周りで回動自在に支持された第一リンクと、一端部が前記第一リンクの他端部に横軸芯周りで回動自在に支持され且つ他端部に前記走行車輪が支持された第二リンクとが備えられ、前記姿勢変更操作手段に、前記基台に対する前記第一リンクの揺動姿勢を変更可能な第一油圧シリンダと、前記第一リンクに対する前記第二リンクの揺動姿勢を変更可能な第二油圧シリンダとが備えられていると好適である。
本構成によれば、第一リンクと第二リンクとが横軸芯周りで回動自在に連結されて屈折リンク機構が構成され、第一油圧シリンダによって車両本体に対する第一リンクの揺動姿勢を変更し、第二油圧シリンダによって第一リンクに対する第二リンクの揺動姿勢を変更することで、屈折リンク機構の姿勢が変更される。このように枢支連結された2つのリンクを2つの油圧シリンダにて各別に揺動姿勢を変更させる構成であるから、姿勢変更動作が円滑に行える。
作業車の全体側面図である。 作業車の全体平面図である。 屈折リンク機構の平面図である。 屈折リンク機構の側面図である。 旋回機構による左旋回状態を示す平面図である。 旋回機構による右旋回状態を示す平面図である。 制御ブロック図である。 支持フレームの側面図である。 支持フレームの平面図である。 支持フレームの正面図である。
以下、本発明に係る作業車の実施形態を図面に基づいて説明する。
図1,2に本発明に係る作業車が示されている。この実施形態で、車体の前後方向を定義するときは、車体進行方向に沿って定義し、車体の左右方向を定義するときは、機体進行方向視で見た状態で左右を定義する。すなわち、図1に符号(A)で示す方向が車体前後方向であり、図2に符号(B)で示す方向が車体左右方向である。
作業車には、車両全体を支持する平面視で略矩形状の車両本体1と、複数(具体的には4個)の走行車輪2と、複数の走行車輪2の夫々に対応して設けられた複数の補助車輪3と、複数の走行車輪2を各別に位置変更自在に車両本体1に支持する車体支持部としての屈折リンク機構4と、屈折リンク機構4を変更操作可能な油圧駆動式の姿勢変更操作手段5と、複数の走行車輪2を各別に駆動する複数の油圧モータ6とが備えられている。屈折リンク機構4、走行車輪2及び補助車輪3の夫々が、車両本体1の前後両側に夫々左右一対ずつ備えられている。
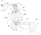
車両本体1には、全体を支持する矩形枠状の基台としての車体フレーム7と、姿勢変更操作手段5に向けて作動油を送り出す油圧供給源8と、油圧供給源8から姿勢変更操作手段5に供給される作動油を制御する弁機構9とが備えられている。油圧供給源8は、詳述はしないが、エンジンと、エンジンによって駆動される油圧ポンプとを備えて、それらが一体的に連結されている。油圧供給源8は、車体フレーム7の下側に連結された支持フレーム10により載置支持され、車両本体1の下腹部に位置する状態で備えられている。油圧供給源8は、エンジンにて駆動される油圧ポンプにより、弁機構9を介して姿勢変更操作手段5に作動油を送り出し供給する。
説明を加えると、支持フレーム10は、図8,9,10に示すように、丸パイプ材を側面視で略U字形に曲げた左右一対の底部受け部材10Aと、底部受け部材10Aの前後両側端部同士を連結するとともに、左右両側に延びる状態で設けられた丸パイプ材からなる前後一対の横向き支持部材10Bとが一体的に連結されて枠体が構成されている。左右の底部受け部材10Aにわたって前後一対のエンジン支持体10Cが載置されボルト連結されている。
前後一対の横向き支持部材10Bにおける左右両側端部の上部に、横向き開放型のチャンネル材からなる連結ブラケット10Dが連結されている。左右の連結ブラケット10Dは同じ方向に開放しており、車両本体1の車体フレーム7における左右両側の横側箇所に備えられた角筒状の前後向きフレーム体19に一方向から横向きに装着してボルトで連結する構成となっている。又、一対の底部受け部材10Aの下部には、地面に接地した状態で滑り止めした状態で支持する接地支持体10Eが備えられている。従って、支持フレーム10は、下端部が地面に接地した状態で車体全体を姿勢保持可能に構成されている。
油圧供給源8は、エンジンと油圧ポンプが一体的に連結して構成されており、油圧供給源8は、防振ゴムGを介して前後のエンジン支持体10Cによって載置支持されている。油圧供給源8は、車体フレーム7の下側に収納される状態で配備されている。
そして、油圧供給源8を支持している状態で支持フレーム10を車体フレーム7から取り外すことにより、油圧供給源8を車両本体1から横側方にスライドさせて取り外すことが可能であり、再度、支持フレーム10を車体フレーム7に取り付けることにより、横側方にスライドさせて装着することが可能である。
弁機構9は、車体フレーム7の上側に載置支持される状態で備えられ、姿勢変更操作手段5に対する作動油の給排あるいは流量の調節等を行う複数の油圧制御弁11を備えている。弁機構9の上方は収納ケース12によって覆われている。収納ケース12の上側には、弁機構9の作動を制御する制御装置13が備えられている。
車体フレーム7の上側には、例えば、車両本体1が転倒したような場合に、収納ケース12に収納される弁機構9や上方に備えられる制御装置13等を保護するための外装フレーム14が備えられている。外装フレーム14は、前後両側に備えられ、棒状体が平面視で略U字形に曲げられ、且つ、側面視で略L字形に曲げられた形状となっており、車体フレーム7の前端部と後端部とに左右両側端部が取り付け固定されている。前後の外装フレーム14は、上部側が互いに近接するように設けられ、弁機構9や制御装置13等の外周側を覆う形状となっている。
次に、走行車輪2を車両本体1に支持するための支持構造について説明する。
複数(具体的には4つ)の走行車輪2は、屈折リンク機構4を介して車両本体1に対して各別に昇降自在に支持されている。屈折リンク機構4は、旋回機構16を介して縦軸芯Y周りで回動自在に車体フレーム7に支持されている。
旋回機構16には、車体フレーム7に連結されるとともに、屈折リンク機構4を回動自在に支持する車体側支持部17(図3,4参照)と、屈折リンク機構4を旋回操作させる旋回用油圧シリンダ(以下、旋回シリンダと称する)18とが備えられている。
説明を加えると、図3,4に示すように、車体側支持部17は、車体フレーム7における横側箇所に備えられた角筒状の前後向きフレーム体19に対して、横側外方から挟み込む状態で嵌め合い係合するとともに、取外し可能にボルト連結される連結部材20と、連結部材20の車体前後方向外方側箇所に位置する外方側枢支ブラケット21と、連結部材20の車体前後方向の内方側箇所に位置する内方側枢支ブラケット22と、外方側枢支ブラケット21に支持される縦向きの回動支軸23とを備え、回動支軸23の軸芯Y周りで回動自在に屈折リンク機構4を支持している。
屈折リンク機構4には、上下方向の位置が固定された状態で且つ縦軸芯Y周りで回動自在に車体側支持部17に支持される基端部24と、一端部が基端部24の下部に横軸芯X1周りで回動自在に支持された第一リンク25と、一端部が第一リンク25の他端部に横軸芯X2周りで回動自在に支持され且つ他端部に走行車輪2が支持された第二リンク26とが備えられている。
説明を加えると、基端部24は、平面視で矩形枠状に設けられ、車体横幅方向内方側に偏倚した箇所において、回動支軸23を介して縦軸芯Y周りで回動自在に、車体側支持部17の外方側枢支ブラケット21に支持されている。旋回シリンダ18は、一端部が、内方側枢支ブラケット22に回動自在に連結され、他端部が、基端部24における回動支軸23に対して横方向に位置ずれした箇所に回動自在に連結されている。
基端部24の左右両側部に亘って第一リンク25の一端側に備えられた支持軸27が回動自在に架設支持され、第一リンク25は基端部24の下部に対して支持軸27の軸芯周りで回動自在に連結されている。
図4に示すように、第一リンク25は、基端側アーム部25bと他端側アーム部25aとを有している。第一リンク25の一端側箇所には、斜め上外方に向けて延びる基端側アーム部25bが一体的に形成されている。第一リンク25の他端側箇所には、斜め上外方に向けて延びる他端側アーム部25aが一体的に形成されている。
図3に示すように、第二リンク26は、左右一対の帯板状の板体26a,26bを備えて平面視で二股状に形成されている。第二リンク26の第一リンク25に対する連結箇所は一対の板体26a,26bが間隔をあけている。一対の板体26a,26bで挟まれた領域に、第一リンク25と連結するための連結支軸28が回動自在に支持されている。第二リンク26の第一リンク25に対する連結箇所とは反対側の揺動側端部には走行車輪2が支持されている。図4に示すように、第二リンク26の揺動側端部は車両本体1から離れる方向に略L字状に延びるL字状延設部26Aが形成され、L字状延設部26Aの延設側端部に走行車輪2が支持されている。
図2に示すように、走行車輪2は、屈折リンク機構4に対して左右方向の車体外方側に位置する状態で支持されている。具体的には、第二リンク26の揺動側端部において、左右方向の車体外方側に位置する状態で支持されている。油圧モータ6は、第二リンク26の揺動側端部において、左右方向の車体内方側(走行車輪2とは反対側)に位置する状態で支持されている。
複数の屈折リンク機構4の夫々に対応して、屈折リンク機構4の姿勢を各別に変更可能な姿勢変更操作手段5が備えられている。図3,4に示すように、姿勢変更操作手段5には、車両本体1に対する第一リンク25の揺動姿勢を変更可能な第一油圧シリンダ29と、第一リンク25に対する第二リンク26の揺動姿勢を変更可能な第二油圧シリンダ30とが備えられている。第一油圧シリンダ29及び第二油圧シリンダ30は、夫々、第一リンク25の近傍に集約して配置されている。
第一リンク25、第一油圧シリンダ29及び第二油圧シリンダ30が、平面視において、第二リンク26の一対の板体26a,26bの間に位置する状態で配備されている。第一油圧シリンダ29は、第一リンク25に対して車体前後方向内方側に位置して、第一リンク25の長手方向に沿うように設けられている。第一油圧シリンダ29の一端部が円弧状の第一連動部材31を介して基端部24の下部に連動連結されている。第一油圧シリンダ29の一端部は、別の第二連動部材32を介して第一リンク25の基端側箇所に連動連結されている。第一連動部材31及び第二連動部材32は、両側端部が夫々、相対回動可能に枢支連結されている。第一油圧シリンダ29の他端部は、第一リンク25に一体的に形成された他端側アーム部25aに連動連結されている。
第二油圧シリンダ30は、第一油圧シリンダ29とは反対側、すなわち、第一リンク25に対して車体前後方向外方側に位置して、第一リンク25の長手方向に略沿うように設けられている。第二油圧シリンダ30の一端部が第一リンク25の基端側に一体的に形成された基端側アーム部25bに連動連結されている。第二油圧シリンダ30の他端部は、第三連動部材34を介して第二リンク26の基端側箇所に一体的に形成されたアーム部35に連動連結されている。第二油圧シリンダ30の他端部は、別の第四連動部材36を介して第一リンク25の揺動端側箇所にも連動連結されている。第三連動部材34及び第四連動部材36は、両側端部が夫々、相対回動可能に枢支連結されている。
第二油圧シリンダ30の作動を停止した状態で第一油圧シリンダ29を伸縮操作すると、第一リンク25、第二リンク26及び走行車輪2の夫々が、相対姿勢を一定に維持したまま一体的に、基端部24に対する枢支連結箇所の横軸芯X1周りで揺動する。第一油圧シリンダ29の作動を停止した状態で第二油圧シリンダ30を伸縮操作すると、第一リンク25の姿勢が一定に維持されたまま、第二リンク26及び走行車輪2が、一体的に、第一リンク25と第二リンク26との連結箇所の横軸芯X2周りで揺動する。
複数の屈折リンク機構4夫々の中間屈折部に自由回転自在に補助車輪3が支持されている。補助車輪3は走行車輪2と略同じ外径の車輪にて構成されている。第一リンク25と第二リンク26とを枢支連結する連結支軸28が、第二リンク26よりも車体横幅方向外方側に突出するように延長形成されている。連結支軸28の延長突出箇所に補助車輪3が回動自在に支持されている。
図5,6に示すように、屈折リンク機構4、走行車輪2、補助車輪3、及び、姿勢変更操作手段5の夫々が、一体的に、回動支軸23の軸芯Y周りで回動自在に外方側枢支ブラケット21に支持されている。そして、旋回シリンダ18を伸縮させることにより、それらが一体的に回動操作される。走行車輪2が前後方向に向く直進状態から左旋回方向及び右旋回方向に夫々、約45度ずつ旋回操作させることができる。
尚、図示はしないが、前後向きフレーム体19に対する連結部材20のボルト連結を解除すると、旋回機構16、屈折リンク機構4、走行車輪2、補助車輪3、及び、姿勢変更操作手段5の夫々が、一体的に組付けられた状態で、車両本体1から取り外すことができる。又、前後向きフレーム体19に対して連結部材20をボルト連結することで、上記各装置が一体的に組付けられた状態で、車両本体1に取付けることができる。
油圧供給源8から弁機構9を介して複数の屈折リンク機構4夫々の第一油圧シリンダ29及び第二油圧シリンダ30に作動油が供給される。弁機構9では油圧制御弁11により作動油の給排が行われて、第一油圧シリンダ29及び第二油圧シリンダ30を伸縮操作させることができる。油圧制御弁11は制御装置13によって制御される。
又、油圧モータ6に対応する油圧制御弁11により作動油の流量調整が行われることで、油圧モータ6すなわち走行車輪2の回転速度を変更することができる。油圧制御弁11は、手動操作にて入力される制御情報あるいは予め設定記憶されている制御情報等に基づいて制御装置13によって制御される。
この作業車は種々のセンサを備える。具体的には、図1及び図7に示すように、4つの第二油圧シリンダ30の夫々について、ヘッド側圧力センサS1及びキャップ側圧力センサS2を備える。ヘッド側圧力センサS1は、第二油圧シリンダ30のヘッド側室の油圧を検出する。キャップ側圧力センサS2は、第二油圧シリンダ30のキャップ側室の油圧を検出する。各圧力センサS1,S2の検出結果は制御装置13に入力される。
図7に示すように、4つの第一油圧シリンダ29及び4つの第二油圧シリンダ30の夫々について、伸縮操作量を検出可能なストロークセンサS3が備えられている。各油圧シリンダ29,30の伸縮操作量は、操作対象である第一リンク25及び第二リンク26の揺動位置に対応する検出値であり、ストロークセンサS3は位置検出センサに相当する。各ストロークセンサS3の検出結果は制御装置13に入力される。
尚、各圧力センサS1,S2の取り付け位置は上記した位置に限られるものではない。各圧力センサS1,S2は、対応するキャップ側室又はヘッド側室の油圧を検出(推定)可能であればよく、弁機構9から対応するキャップ側室又はヘッド側室の間の配管に設けられてもよい。
これらのセンサS1、S2の検出結果に基づいて、車両本体1を支持するために必要な推力が算出され、その結果に基づいて、それぞれの第二油圧シリンダ30への作動油の供給が制御される。
図1,2に示すように、車両本体1には、例えば、三軸加速度センサ等からなる加速度センサS5が備えられている。加速度センサS5の検出結果に基づき、車両本体1の前後左右の傾きが検知され、その結果に基づいて車両本体1の姿勢が制御される。つまり、車両本体1の姿勢が目標の姿勢となるよう、それぞれの第一油圧シリンダ29及び第二油圧シリンダ30への作動油の供給が制御される。
図1に示すように、走行車輪2には、油圧モータ6により駆動される走行車輪2の回転速度を検出する回転センサS6が備えられている。回転センサS6にて検出された走行車輪2の回転速度に基づいて、走行車輪2の回転速度が目標の値となるように、油圧モータ6への作動油の供給が制御される。
上述したように、油圧駆動式の姿勢変更操作手段5としての油圧シリンダ29,30により、屈折リンク機構4の姿勢を変更操作する構成であり、しかも、走行駆動も油圧モータ6にて行う構成であるから、水分や細かな塵埃等による影響を受け難く、農作業に適したものになる。
この作業車は、図1に示すように、4個の走行車輪2が全て接地し且つ4個の補助車輪3が全て地面から浮上する4輪走行状態が通常の走行形態である。尚、詳述はしないが、走行形態としては、この形態以外に、屈折リンク機構4を姿勢変更することにより、種々の走行形態を採ることができる。
次に、4輪走行形態における車両本体1の姿勢変更制御について説明する。
図7に、制御ブロック図を示している。制御装置13は、例えば、マイクロコンピュータ等を備えており、制御プログラムに従って種々の制御を実行可能である。図示はしていないが、制御装置13は、複数の油圧モータ6に対する作動油の制御と、旋回シリンダ18に対する作動油の制御も行っている。
詳述はしないが、制御装置13は、手動操作にて入力される制御情報あるいは予め設定されて記憶されている制御情報等に基づいて、そのときの作業状況に応じて、車両本体1の姿勢を適切な状態にするように制御を実行する。
そして、作業車が走行停止している状態では、制御装置13は、4個の第一油圧シリンダ29及び4個の第二油圧シリンダ30について、各油圧シリンダ29,30に備えられているストロークセンサS3にて検出される伸縮操作量が目標とする姿勢に対応する検出値になるように、油圧制御弁11を切り換えて各油圧シリンダ29,30を操作させる位置制御を実行する。
作業車が凹凸の多い不整地を走行するときは、4個の第一油圧シリンダ29については、各油圧シリンダ29に備えられているストロークセンサS3にて検出される伸縮操作量が目標とする姿勢に対応する検出値になるように、各油圧シリンダ29を操作させるように油圧制御弁11を切り換える位置制御を実行する。
4個の第二油圧シリンダ30については、上記各圧力センサS1,S2の検出情報に基づいて、作動を制御する。具体的には、ヘッド側圧力センサS1の検出値とキャップ側圧力センサS2の検出値とに基づき、第二油圧シリンダ30の推力が算出される。そして、検出される推力が予め設定されて記憶されている目標値になるように、油圧制御弁11を切り換えて第二油圧シリンダ30の作動を制御するのである。
説明を加えると、地面に凹部が存在して走行車輪2が地面から浮き上がった状態になると、接地反力は小さくなり走行車輪2が空転する。このとき、第二油圧シリンダ30の推力は小さくなると想定される。一方、走行車輪2が地面の突起部に乗り上げると、接地反力は大きくなり、走行車輪2は回転が妨げられる。このとき、第二油圧シリンダ30の推力は大きくなると想定される。このような接地反力の変化は圧力センサS1、S2により検出され、圧力センサS1,S2の検出結果に基づいて検出された推力が目標値になるように第二油圧シリンダ30の作動が制御されることで、走行車輪2の接地反力が適正値に維持される。その結果、走行車輪2が地面の凹凸に追従しながら昇降して、複数の走行車輪2の夫々が空転したり、回転が妨げられたりすることなく、適切な接地状態を維持して車両本体1を支持しながら不整地を良好に走行することができる。
〔別実施形態〕
(1)上記実施形態では、支持フレーム10に、滑り止め状態で接地する接地支持体10Eを備える構成としたが、この構成に代えて、例えば、左右両側に前後夫々に位置する状態で複数のキャスター輪を備え、キャスター輪により接地支持する構成を採用してもよい。この場合、キャスター輪が自由回動する状態と、回動を規制する状態とに切り換え可能なストッパー部材を備えるとよい。
(2)上記実施形態では、油圧供給源8が、エンジンと、エンジンにより駆動される油圧ポンプとを備える構成としたが、エンジンに代えて、電動モータにより油圧ポンプを駆動する構成としてもよい。
(3)上記実施形態では、姿勢変更操作手段5が複数の油圧シリンダ29,30を備える構成としたが、この構成に代えて、リンク同士の枢支点に油圧モータを備えて姿勢を変更する構成としてもよい。
(4)上記実施形態では、走行車輪2が油圧モータ6にて駆動されるものを示したが、この構成に代えて、電動モータで駆動する構成、あるいは、エンジンの動力が無段階に変速可能な変速機構を介して走行車輪2に各別に伝達される構成とする等、種々の構成を用いるようにしてもよい。
本発明は、不整地を走行するのに適した作業車に適用できる。
1 車両本体
2 走行車輪
4 屈折リンク機構
5 姿勢変更操作手段
7 基台(車体フレーム)
8 油圧供給源
10 支持フレーム
25 第一リンク
26 第二リンク
29 第一油圧シリンダ
30 第二油圧シリンダ

Claims (4)

  1. 台を備えた車両本体と、
    前記車両本体の左右両側における前後夫々に位置する複数の走行車輪と、
    複数の前記走行車輪を各別に昇降自在に前記車両本体に支持する複数の屈折リンク機構と、
    複数の前記屈折リンク機構の姿勢を各別に変更可能な油圧操作式の姿勢変更操作手段と、
    前記姿勢変更操作手段に向けて作動油を送り出す油圧供給源と、が備えられ、
    前記油圧供給源が、前記車両本体における前記基台の下側に位置する状態で配備され、
    前記油圧供給源を支持する支持フレームが、前記基台の下側に位置して前記基台に連結される状態で備えられ、
    前記支持フレームは、前記油圧供給源を支持する状態で、車体横方向に沿って移動させることにより、前記基台に対して装着並びに取り外し可能である作業車。
  2. 前記支持フレームは、下端部が地面に接地した状態で車体全体を姿勢保持可能に構成されている請求項に記載の作業車。
  3. 前記油圧供給源が、エンジンと、前記エンジンにより駆動される油圧ポンプとを備えており、前記エンジン及び前記油圧ポンプが平面視で枠状の前記基台と重畳する領域において前記基台よりも下方で前記支持フレームに支持されている請求項1又は2に記載の作業車。
  4. 前記屈折リンク機構に、一端部が前記基台に横軸芯周りで回動自在に支持された第一リンクと、一端部が前記第一リンクの他端部に横軸芯周りで回動自在に支持され且つ他端部に前記走行車輪が支持された第二リンクと、が備えられ、
    前記姿勢変更操作手段に、前記基台に対する前記第一リンクの揺動姿勢を変更可能な第一油圧シリンダと、前記第一リンクに対する前記第二リンクの揺動姿勢を変更可能な第二油圧シリンダと、が備えられている請求項1からのいずれか1項に記載の作業車。
JP2018119982A 2018-06-25 2018-06-25 作業車 Active JP6937725B2 (ja)

Priority Applications (5)

Application Number Priority Date Filing Date Title
JP2018119982A JP6937725B2 (ja) 2018-06-25 2018-06-25 作業車
PCT/JP2019/023212 WO2020004024A1 (ja) 2018-06-25 2019-06-12 作業車
EP19824511.0A EP3812250A4 (en) 2018-06-25 2019-06-12 WORK VEHICLE
CN201980031218.4A CN112119004B (zh) 2018-06-25 2019-06-12 作业车
US17/047,807 US11498632B2 (en) 2018-06-25 2019-06-12 Work vehicle

Applications Claiming Priority (1)

Application Number Priority Date Filing Date Title
JP2018119982A JP6937725B2 (ja) 2018-06-25 2018-06-25 作業車

Publications (2)

Publication Number Publication Date
JP2020001444A JP2020001444A (ja) 2020-01-09
JP6937725B2 true JP6937725B2 (ja) 2021-09-22

Family

ID=69098228

Family Applications (1)

Application Number Title Priority Date Filing Date
JP2018119982A Active JP6937725B2 (ja) 2018-06-25 2018-06-25 作業車

Country Status (1)

Country Link
JP (1) JP6937725B2 (ja)

Families Citing this family (2)

* Cited by examiner, † Cited by third party
Publication number Priority date Publication date Assignee Title
JP7539308B2 (ja) * 2020-12-11 2024-08-23 株式会社クボタ 作業車
JP7450582B2 (ja) * 2021-06-18 2024-03-15 株式会社クボタ 作業車

Family Cites Families (3)

* Cited by examiner, † Cited by third party
Publication number Priority date Publication date Assignee Title
JPS55170182U (ja) * 1979-05-24 1980-12-06
PT101340B (pt) * 1993-08-19 2001-06-29 Fernando Jose Nery De Oliveira Sistema para veiculo de todo o terreno com meios de traccao montados em bracos articulados manobraveis
JP6482352B2 (ja) * 2015-03-30 2019-03-13 株式会社クボタ 作業機

Also Published As

Publication number Publication date
JP2020001444A (ja) 2020-01-09

Similar Documents

Publication Publication Date Title
CN112119004B (zh) 作业车
WO2018181459A1 (ja) 作業車
JP6899801B2 (ja) 作業車
CN111247057B (zh) 作业车
JP6758278B2 (ja) 作業車
JP6899799B2 (ja) 作業車
JP6934455B2 (ja) 作業車
WO2018181460A1 (ja) 作業車
JP7117989B2 (ja) 作業車
WO2018116642A1 (ja) 作業車
JP6745750B2 (ja) 作業車
JP6843040B2 (ja) 作業車
JP6937725B2 (ja) 作業車
JP6758277B2 (ja) 作業車
JP6765294B2 (ja) 油圧ロボット
JP6899800B2 (ja) 作業車
JP6832841B2 (ja) 作業車
JP2022093117A (ja) 作業車
JP6739387B2 (ja) 作業車
WO2019131573A1 (ja) 作業車
JP6701111B2 (ja) 作業車
US20230415829A1 (en) Work Vehicle
JP6745751B2 (ja) 作業車
JP6701112B2 (ja) 作業車
JP2022093121A (ja) 作業車

Legal Events

Date Code Title Description
A621 Written request for application examination

Free format text: JAPANESE INTERMEDIATE CODE: A621

Effective date: 20200624

A131 Notification of reasons for refusal

Free format text: JAPANESE INTERMEDIATE CODE: A131

Effective date: 20210216

A521 Written amendment

Free format text: JAPANESE INTERMEDIATE CODE: A523

Effective date: 20210413

A131 Notification of reasons for refusal

Free format text: JAPANESE INTERMEDIATE CODE: A131

Effective date: 20210518

A521 Written amendment

Free format text: JAPANESE INTERMEDIATE CODE: A523

Effective date: 20210712

TRDD Decision of grant or rejection written
A01 Written decision to grant a patent or to grant a registration (utility model)

Free format text: JAPANESE INTERMEDIATE CODE: A01

Effective date: 20210803

A61 First payment of annual fees (during grant procedure)

Free format text: JAPANESE INTERMEDIATE CODE: A61

Effective date: 20210831

R150 Certificate of patent or registration of utility model

Ref document number: 6937725

Country of ref document: JP

Free format text: JAPANESE INTERMEDIATE CODE: R150