JP6861436B2 - 足場用仮設扉 - Google Patents

足場用仮設扉 Download PDF

Info

Publication number
JP6861436B2
JP6861436B2 JP2018095936A JP2018095936A JP6861436B2 JP 6861436 B2 JP6861436 B2 JP 6861436B2 JP 2018095936 A JP2018095936 A JP 2018095936A JP 2018095936 A JP2018095936 A JP 2018095936A JP 6861436 B2 JP6861436 B2 JP 6861436B2
Authority
JP
Japan
Prior art keywords
pipe material
door
temporary door
vertical pipe
temporary
Prior art date
Legal status (The legal status is an assumption and is not a legal conclusion. Google has not performed a legal analysis and makes no representation as to the accuracy of the status listed.)
Active
Application number
JP2018095936A
Other languages
English (en)
Other versions
JP2019199772A (ja
Inventor
太一 白波瀬
太一 白波瀬
Original Assignee
株式会社国元商会
Priority date (The priority date is an assumption and is not a legal conclusion. Google has not performed a legal analysis and makes no representation as to the accuracy of the date listed.)
Filing date
Publication date
Application filed by 株式会社国元商会 filed Critical 株式会社国元商会
Priority to JP2018095936A priority Critical patent/JP6861436B2/ja
Publication of JP2019199772A publication Critical patent/JP2019199772A/ja
Application granted granted Critical
Publication of JP6861436B2 publication Critical patent/JP6861436B2/ja
Active legal-status Critical Current
Anticipated expiration legal-status Critical

Links

Images

Landscapes

  • Conveying And Assembling Of Building Elements In Situ (AREA)
  • Door And Window Frames Mounted To Openings (AREA)

Description

本発明は、建設現場に仮設される足場の作業者出入り口を開閉する足場用仮設扉に関するものである。
建設現場に仮設される足場に作業者出入り口(作業者出入り口として利用される開口部)が設けられる場合がある。このような作業者出入り口には、安全対策として仮設扉が併設される。この種の仮設扉は、特許文献を示すことは出来ないが、前記作業者出入り口の片側に位置するように足場に設けられた上下方向の扉支持用支柱材(一般的には鋼管)に仮設扉を、蝶番又はこれに代わる手段を介して開閉自在に支持させることによって構成される。
上記のような足場用仮設扉は、保守作業などのために取り外す場合があるため、取り外しと取付けが簡単容易に行えるものであることが望まれるが、現状、このような要望に応えられるような仮設扉は考えられていなかった。
本発明は、上記のような従来の問題点を解消することのできる足場用仮設扉を提案するものであって、本発明に係る足場用仮設扉は、後述する実施例との関係を理解し易くするために、当該実施例の説明において使用した参照符号を括弧付きで付して示すと、足場(2)に対する作業者出入り口(4)を開閉する仮設扉(1)には、前記作業者出入り口(4)の片側に配置されている上下方向の扉支持用支柱材(13)に当該扉支持用支柱材(13)と平行にクランプ(15a,15b)で固定される固定管材(12)、この固定管材(12)の上端部に下向きに挿入される上側垂直管材(10)、前記固定管材(12)の下端部に上向きに挿入される下側垂直管材(11)、及び前記固定管材(12)の下側で前記下側垂直管材(11)の下端部が着脱自在に外嵌固定される下側支柱部(9b)が設けられ、前記上側垂直管材(10)の下端には斜辺部(23)が設けられ、前記固定管材(12)の内側には、前記上側垂直管材(10)の下端斜辺部(23)の上端部を支持してこの仮設扉(1)を閉じ位置に保持する突起(17)が突設され、前記下側垂直管材(11)による前記下側支柱部(9b)と前記固定管材(12)との連結状態を解いた状態では、前記下側支柱部(9b)が前記固定管材(12)の真下位置から横側方に離れるように仮設扉(1)を斜めにした状態で当該仮設扉(1)を上動させることにより、前記上側垂直管材(10)を前記固定管材(12)の上端部から抜き取れるように構成されている。
上記本発明の構成によれば、仮設扉を開くときは、前記固定管材を回転中心軸としてこの仮設扉を開動させる。このとき、仮設扉側の前記上側垂直管材の下端斜辺部が固定管材側の前記突起に対して乗り上げることになり、仮設扉は開動しながら上昇することになる。このとき、この仮設扉側の前記上側垂直管材と前記下側垂直管材が前記固定管材に対して上昇する。開いた仮設扉は、前記上側垂直管材の下端斜辺部が固定管材側の前記突起に支持されているので、この仮設扉から手を放して当該仮設扉を降下自由な状態にすると、この仮設扉の全重量を受けて降下しようとする前記上側垂直管材の下端斜辺部と前記突起との当接により、この仮設扉を開動させたときとは反対向きの回転分力が前記上側垂直管材に作用し、開いていた仮設扉が自動的に閉動することになる、この仮設扉の閉動は、前記下端斜辺部の上端が前記突起に支持される状態で終了する。
上記のように本発明の構成によれば、開いた仮設扉から手を放してフリーな状態にするだけで開いた仮設扉が自動的に閉動するので、閉じ忘れによる事故などを未然に防止出来るのであるが、このような機能を備えたものでありながら、保守作業などのために仮設扉を取り外す必要が生じたときは、前記下側垂直管材による前記下側支柱部と前記固定管材との連結状態を解いた状態で、当該下側支柱部が前記固定管材の真下位置から横側方に離れるように仮設扉を斜めにし、続いて仮設扉を持ち上げ、前記上側垂直管材を前記固定管材の上端部から抜き取ることにより、仮設扉を取り外すことが出来る。逆に、取り外した仮設扉を元の位置に組み付けるときは、上記作業を逆の順序で行い、最後にて前記固定管材と仮設扉側の下側支柱部とを前記下側垂直管材を介して連結すれば良い。このように仮設扉の取り外しと取付け作業を簡単容易に行うことが出来る。
上記本発明を実施する場合、前記仮設扉(1)は、コの字形枠材(5)と、このコの字形枠材(5)の上側水平部材(5a)と下側水平部材(5b)とを連結する上下方向連結部材(6)を備えた構造とし、前記下側支柱部(9b)は、前記コの字形枠材(5)の下側水平部材(5b)の遊端部を上向きに折曲して構成し、前記上側垂直管材(10)は、前記コの字形枠材(5)の上側水平部材(5a)の遊端部を下向きに折曲して連設した上側支柱部(9a)に外嵌固定することが出来る。この構成によれば、仮設扉全体の構造をシンプルにして安価に実施することが出来る。
又、前記上側垂直管材(10)の下端斜辺部(23)は、前記突起(17)によって支持される上端部から下端部まで左右対称に伸びる左右一対の斜辺部(23a,23b)を備えたものとし、前記突起(17)は、前記上側垂直管材(10)の内側に半径方向に突出する軸部(20b)に回転自在に遊嵌されたベアリング(21)によって構成することが出来る。この構成によれば、上側垂直管材の下端を斜めに切断するだけで下端斜辺部を構成することが出来、しかも仮設扉の開閉、特に開動操作が軽く円滑に行えるだけでなく、仮設扉の閉動も確実且つ円滑に行わせることが出来る。
更に、前記扉支持用支柱材(13)に対し前記作業者出入り口(4)を挟んで反対側に、上下方向の扉受止め用支柱材(14)を配設し、前記仮設扉(1)には、この仮設扉(1)が閉じ位置にあるときに前記扉受止め用支柱材(14)に当接するストッパー板(16)を突設しておくことが出来る。この構成によれば、仮設扉が閉じ位置を超えて反対側に開動する恐れは無くなり、安全性が高められる。
尚、仮設扉(1)側の前記下側支柱部(9b)と前記固定管材(12)とは、前記下側垂直管材(11)によって連結されていることになり、仮設扉(1)の取り外しに際しては、前記下側支柱部(9b)と前記固定管材(12)との連結状態を解く必要があるが、このための具体的な手段としては、前記下側垂直管材(11)の下端部を、仮設扉(1)側の前記下側支柱部(9b)の上端部に外嵌する状態でボルトナット(24)により互いに結合し、このボルトナット(24)による結合を解かれた前記下側垂直管材(11)を前記下側支柱部(9b)に外嵌する状態で下降限まで降下させることにより、前記固定管材(12)内から前記下側垂直管材(11)が下方に外れて、前記固定管材(12)に対し前記下側垂直管材(11)及び前記下側支柱部(9b)を横側方へ移動させることが出来るように構成することが出来る。この構成によれば、仮設扉を取り外したとき、下側垂直管材が前記下側支柱部に外嵌する状態で仮設扉側に保持されることになり、仮設扉から取り外された下側垂直管材に対する特別な取り扱いが不要になる。
又、上記のように前記下側垂直管材(11)の下端部を仮設扉(1)側の前記下側支柱部(9b)の上端部に外嵌する状態でボルトナット(24)により互いに結合するが、このボルトナット(24)による結合を解かれた前記下側垂直管材(11)を前記固定管材(12)内に持ち上げて前記下側支柱部(9b)から上方に抜き取ることにより、前記下側支柱部(9b)を前記固定管材(12)の下側から横側方へ移動させることが出来るように構成することも出来る。この構成によれば、前記下側垂直管材を長くして前記固定管材内への挿入深さを深くしながら、仮設扉側の前記下側支柱部の長さを短くすることが出来る。
図1Aは、仮設扉が閉じている状態を示す正面図、図1Bは、その平面図である。 図2Aは、仮設扉が閉じている状態での要部の拡大縦断面図、図2Bは、図2Aの上側垂直管材の下端斜辺部と突起(ベアリング)とを示す正面図である。 図3Aは、仮設扉を取り外すときの下側垂直管材の状態を示す縦断面図、図3Bは、仮設扉を取り外すときの下側垂直管材の別の状態を示す縦断面図である。 図4は、固定管材側の突起(ベアリング)の取付け状態を説明する縦断面図である。 図5は、仮設扉を取り外すときの状態を説明する正面図である。 図6は、仮設扉を取り付けるときの状態を説明する正面図である。
以下、全体の概略を添付図に基いて説明すると、図1A及び図1Bに示すように、仮設扉1は、建設現場に仮設される枠組み足場2の足場板3上に対する作業者出入口4を開閉するものであって、コの字形枠材5、このコの字形枠材5の上側水平部材5aと下側水平部材5bとを連結する上下方向連結部材6、この上下方向連結部材6の中間高さとコの字形枠材5の上下方向部材5cの中間高さとを連結する水平連結部材7、及び補強板材8によって構成されている。コの字形枠材5の上側水平部材5aの遊端部は下向きに直角に折曲されて、上側支柱部9aが形成され、コの字形枠材5の下側水平部材5bの遊端部は上向きに直角に折曲されて、上側支柱部9aと同心状の下側支柱部9bが形成されている。前記上下方向連結部材6は、上側支柱部8aと下側支柱部8bの内側に隣り合う位置に設けられ、前記補強板材8は、上下方向部材5cの下端近傍部、下側水平部材5b、上下方向連結部材6の下端部、及び下側支柱部8bの下端近傍部に外側から当て付けられて溶接により固着されている。尚、補強板材8を除いて全ての構成部材は、適当な太さの鋼管によって構成されている。
仮設扉1の前記上側支柱部9aの下端には、上側垂直管材10が取り付けられ、前記下側支柱部9bの上端には、下側垂直管材11が取り付けられ、これら上下各垂直管材10,11に、固定管材12の上下両端部が外嵌している。前記作業者出入口4の左右両側には、枠組み足場2に組み込まれた、それぞれ適当な太さの鋼管から成る上下方向の扉支持用支柱材13と上下方向の扉受止め用支柱材14とが並設されている。前記固定管材12は、その上端側と下端側の2箇所が、前記扉支持用支柱材13に互いに平行に並列するように、パイプクランプ15a,15bによって取り付けられることにより、扉支持用支柱材13と扉受止め用支柱材14との間の作業者出入口4を仮設扉1が開閉出来るように構成されている。仮設扉1が図示のように作業者出入口4を閉じているとき、仮設扉1のコの字形枠材5における上下方向部材5cが扉受止め用支柱材14の内側に並列する状態にあって、当該上下方向部材5cの高さ方向のほぼ中央位置に外側に張り出すように固着されたストッパー板16が前記扉受止め用支柱材14の内側、即ち、足場板3のある側に当接し、仮設扉1が足場板3から遠ざかる外向きには開動しないように構成されている。
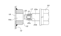
以下、要部の詳細を図2A〜図4に基いて説明すると、固定管材12の上端近傍位置には、突起17が内側に突出するように設けられている。具体的には、固定管材12には半径方向に貫通する貫通孔18が設けられると共に、この貫通孔18と同心状に固定管材12の外側面にナット19が溶接により固着され、このナット19と前記貫通孔18とによって半径方向に貫通する貫通ネジ孔19aが形成されている。この貫通ネジ孔19aに外側から螺合締結させたボルト20の螺軸部20aの先端から小径軸部20bが同心状に連設され、この小径軸部20bにニードルベアリング21が外嵌され、このニードルベアリング21の抜け止めのために、前記小径軸部20bに外端側から同心状に設けられた取付けネジ孔20cに、前記ニードルベアリング21よりも小径の小ボルト22を螺合締結している。
この構成によれば、前記ニードルベアリング21が、固定管材12の内側に突出する突起17を構成していることになるが、ニードルベアリング21と小ボルト22の外径をボ貫通ネジ孔19aの内径より小さくしておけば、図4に示すように、ボルト20の先端に上記のようにニードルベアリング21と小ボルト22を先に取り付けた状態で、ボルト20を貫通ネジ孔19aに螺合締結させることが出来る。勿論、ニードルベアリング21の外径を貫通ネジ孔19aの内径より大きくする場合は、ボルト20だけを貫通ネジ孔19aに螺合締結させ、固定管材12の内側に突出しているボルト20の小径軸部20bにニードルベアリング21を固定管材12の内側から外嵌させると共に、小ボルト22を取付けネジ孔20cに固定管材12の内側から螺合締結させなければならない。
図2A及び図2Bに示すように、仮設扉1の上側支柱部9aの下端には、前記上側垂直管材10の上端部が外嵌された状態で溶接により固着一体化されているが、上側支柱部9aと上側垂直管材10とをボルトナットにより互いに結合させても良い。而して、前記上側垂直管材10の下端には、下端斜辺部23が形成されている。この下端斜辺部23は、仮設扉1の上下方向部材5cのある側が最も高くなる向きに斜めに切断されて、上端部から下端部まで左右対称に伸びる左右一対の斜辺23a,23bを備えたものとなっている。一方、仮設扉1の下側支柱部9bは、その上端が固定管材12の下端より低いものであって、当該下側支柱部9bの上端には、固定管材12の下端から上向きに挿入された下側垂直管材11の下端部が外嵌された状態で、この両者が直径方向に貫通するボルトナット24によって着脱自在に結合されている。
上記の構成によれば、仮設扉1の上側垂直管材10と下側垂直管材11は、固定管材12に対して昇降自在且つ自転自在に遊嵌しているので、重力で降下しようとする仮設扉1は、上側垂直管材10の下端斜辺部23を介して、固定管材12側の突起17であるニードルベアリング21によって受け止められる。このとき、仮設扉1が固定管材12に対して足場板3のある側に開いた状態にあるときは、位置固定のニードルベアリング21が前記下端斜辺部23の斜辺23aの中間位置を受け止めることになるので、当該斜辺23aを介して上側垂直管材10(仮設扉1)には閉動方向の回転力が作用し、仮設扉1が閉動しながら降下することになる。そして位置固定のニードルベアリング21が前記下端斜辺部23の上端(左右一対の斜辺23a,23bの上端部間)に達したとき、仮設扉1の降下と閉動とが止まり、仮設扉1が作業者出入口4を閉じる閉じ位置で安定する。このとき、仮設扉1のストッパー板16が作業者出入口4脇の扉受止め用支柱材14に当接し、仮に仮設扉1に閉動方向の外力が作用していたとしても、当該仮設扉1が閉じ位置を超えて反対側に開くような危険は無い。
上記のように作業者出入口4を閉じている仮設扉1を開くときは、足場板3側からは仮設扉1を手前に引くことにより、反対側からは仮設扉1を足場板3側へ押すことになる。このときの仮設扉1の開動により、上側垂直管材10が固定管材12に対して回転することになるが、閉じるときとは反対に、上側垂直管材10の下端斜辺部23が位置固定のニードルベアリング21に対して乗り上げる方向になるので、仮設扉1は開動しながら上昇することになる。実際には、扉支持用支柱材13と固定管材12、及び扉受止め用支柱材14が同一仮想垂直面上にあるので、仮設扉1の開動限界位置は、この仮設扉1が扉支持用支柱材13に重なる角度(<180度)となるので、仮設扉1が開動限界位置まで開動したとしても、上側垂直管材10の下端斜辺部23の下端近傍位置にニードルベアリング21が位置する状態になる。即ち、仮設扉1に対する開動方向の操作力を断てば、仮設扉1に作用する重力によって仮設扉1には、上側垂直管材10の下端斜辺部23が位置固定のニードルベアリング21に対して下向きに圧接することにより閉動方向の回転力が作用しているので、仮設扉1は自動的に閉動を開始することになる。
尚、固定管材12の位置を、扉支持用支柱材13と扉受止め用支柱材14とを結ぶ仮想垂直面より足場板3側に入った位置とするなどして、閉じ位置にある仮設扉1を180度以上開動させることが出来るように構成すれば、仮設扉1が180度以上開動したとき、上側垂直管材10の下端斜辺部23を支持している固定管材12側のニードルベアリング21が、下端斜辺部23の一方の斜辺23aの下端を反対側に乗り越えて逆勾配の斜辺32bを支持する状態になるので、仮設扉1には、下向きの重力に伴って開動方向の回転力が働き、当該仮設扉1が180度を超えた開動限界位置まで自動的に開動して安定することになる。
上記のように作業者出入口4を開閉することが出来る仮設扉1を、何らかの保守作業を行うために取り外す必要が生じたときは、図2Aに示す実施例では、閉じ位置にある(下降限高さにある)仮設扉1の下側垂直管材11を固定しているボルトナット24を取り外して、当該下側垂直管材11を仮設扉1の下側支柱部9bに沿って下げ降ろす。この結果、図6に示すように、固定管材12の下端より下側垂直管材11の上端が低くなれば(下側支柱部9bの上端は固定管材12の下端より低い)、次に仮設扉1の下端側を固定管材12から引き離すように傾動させて、図3Aに示すように、仮設扉1の下側支柱部9bとこれに外嵌している状態の下側垂直管材11を、固定管材12の下側から横側方へ移動させる。このときの仮設扉1の傾動は、固定管材12と当該固定管材12に遊嵌している仮設扉1側の上側垂直管材10との間の遊び代を利用して行うことが出来る。このように仮設扉1を傾動させたならば、図5に示すように、仮設扉1を持ち上げて、上側垂直管材10を固定管材12から上方へ抜き取ることにより、仮設扉1の取り外しが完了する。
保守作業などの完了した仮設扉1を再び作業者出入口4の開閉位置にセットするときは、上記の取り外し作業とは逆の手順で取付け作業を行えば良い。即ち、仮設扉1の下側支柱部9bに下側垂直管材11が外嵌されている状態の仮設扉1を持ち上げ、図5に示すように上側垂直管材10を、斜めになっている下端斜辺部23から固定管材12の上端側に下向きに挿入し、図6に示すように仮設扉1の下側支柱部9bとこれに外嵌している下側垂直管材11を固定管材12の真下に位置させる。この状態で下側支柱部9bに対し下側垂直管材11を上昇させて、当該下側垂直管材11の上端側を固定管材12の下端から上向きに挿入し、最後に両者をボルトナット24にて締結一体化すれば、取付け作業の完了となる。
若し、下側垂直管材11の長さが長い、或いは下側垂直管材11を固定管材12より下方に降下させることが出来るほどの余裕が下側支柱部9b側に無いために、下側垂直管材11を固定管材12より下方に降下させることが出来ないときは、ボルトナット24を外した下側垂直管材11を持ち上げて、図3Bに示すように固定管材12内に下側垂直管材11を収容させる。この後、先に説明した要領で仮設扉1を取り外すことが出来る。この場合は、固定管材12内に収容させた下側垂直管材11は引き抜いて保管し、外した仮設扉1の取付け時に、下側垂直管材11を固定管材12内に収容させ、仮設扉1の下側支柱部9bを固定管材12の真下に位置させた段階で、固定管材12内から下側垂直管材11を降下させてその下端部を下側支柱部9bに外嵌させると共に、ボルトナット24により下側垂直管材11の下端部と下側支柱部9bの上端部とを結合一体化すれば良い。尚、このように下側垂直管材11を固定管材12内に一時収容させた状態で仮設扉1の取り外し取付け作業を行うときは、固定管材12の下端近傍位置に、この固定管材12内に挿入された下側垂直管材11を仮止めしておくための手段、例えば固定管材12の側壁に設けられた貫通ネジ孔と、この貫通ネジ孔に螺合する固定用ボルトを設けておくことが出来る。
尚、本発明を実施する場合、固定管材12側に設ける突起17としては、ニードルベアリング21に限らないが、仮設扉1側の上側垂直管材10の下端斜辺部23との摩擦抵抗が少ない方が好ましい。又、単に円形断面の上側垂直管材10の下端を斜めに切断しただけの下端斜辺部23であれば、この下端斜辺部23を形成する左右一対の斜辺23a,23b間の上端入隅部に突起17が嵌合した状態で、当該突起17が上側垂直管材10(仮設扉1)を支持することになるが、左右一対の斜辺23a,23b間の上端入隅部に突起17が噛み込む恐れがあるときは、左右一対の斜辺23a,23b間の上端に、水平面又は突起17(ニードルベアリング21)と面接触する円弧形凹入面を形成しても良い。勿論、上側垂直管材10の下端斜辺部23は、180度又は180度以下の仮設扉1の開閉運動範囲のみをカバーする周方向領域にのみ形成することも出来る。又、上記実施例においける各種管材としては、一般的には鋼管が使用出来る。
本発明の足場用仮設扉は、建設現場に仮設される足場の作業者出入り口を開閉する手段として活用出来る。
1 仮設扉
2 枠組み足場
3 足場板
4 作業者出入口
5 コの字形枠材
5a 上側水平部材
5b 下側水平部材
5c 上下方向部材
6 上下方向連結部材
7 水平連結部材
8 補強板材
9a 上側支柱部
9b 下側支柱部
10 上側垂直管材
11 下側垂直管材
12 固定管材
13 扉支持用支柱材
14 扉受止め用支柱材
15a,15b パイプクランプ
16 ストッパー板
17 突起
19a 貫通ネジ孔19a
20 ボルト
20b 小径軸部
20c 取付けネジ孔
21 ニードルベアリング
22 小ボルト
23 下端斜辺部
23a,23b 斜辺
24 ボルトナット

Claims (6)

  1. 足場に対する作業者出入り口を開閉する仮設扉には、前記作業者出入り口の片側に配置されている上下方向の扉支持用支柱材に当該扉支持用支柱材と平行にクランプで固定される固定管材、この固定管材の上端部に下向きに挿入される上側垂直管材、前記固定管材の下端部に上向きに挿入される下側垂直管材、及び前記固定管材の下側で前記下側垂直管材の下端部が着脱自在に外嵌固定される下側支柱部が設けられ、前記上側垂直管材の下端には斜辺部が設けられ、前記固定管材の内側には、前記上側垂直管材の下端斜辺部の上端部を支持してこの仮設扉を閉じ位置に保持する突起が突設され、前記下側垂直管材による前記下側支柱部と前記固定管材との連結状態を解いた状態では、前記下側支柱部が前記固定管材の真下位置から横側方に離れるように仮設扉を斜めにした状態で仮設扉を上動させることにより、前記上側垂直管材を前記固定管材の上端部から抜き取れるように構成されている、足場用仮設扉。
  2. 前記仮設扉は、コの字形枠材と、このコの字形枠材の上側水平部材と下側水平部材とを連結する上下方向連結部材を備え、前記下側支柱部は、前記コの字形枠材の下側水平部材の遊端から上向きに連設され、前記上側垂直管材は、前記コの字形枠材の上側水平部材の遊端から下向きに連設された上側支柱部に外嵌固定されている、請求項1に記載の足場用仮設扉。
  3. 前記上側垂直管材の下端斜辺部は、前記突起によって支持される上端部から下端部まで左右対称に伸びる左右一対の斜辺部を備えたものであり、前記突起は、前記上側垂直管材の内側に半径方向に突出する軸部に回転自在に遊嵌されたベアリングによって構成されている、請求項1又は2に記載の足場用仮設扉。
  4. 前記扉支持用支柱材に対し前記作業者出入り口を挟んで反対側に、上下方向の扉受止め用支柱材が配設され、前記仮設扉には、この仮設扉が閉じ位置にあるときに前記扉受止め用支柱材に当接するストッパー板が突設されている、請求項1〜3の何れか1項に記載の足場用仮設扉。
  5. 前記下側垂直管材の下端部は、仮設扉側の前記下側支柱部の上端部に外嵌する状態でボルトナットにより互いに結合され、このボルトナットによる結合を解かれた前記下側垂直管材を前記下側支柱部に外嵌する状態で下降限まで降下させることにより、前記固定管材に対し前記下側垂直管材及び前記下側支柱部を横側方へ移動させることが出来るように構成されている、請求項1〜4の何れか1項に記載の足場用仮設扉。
  6. 前記下側垂直管材の下端部は、仮設扉側の前記下側支柱部の上端部に外嵌する状態でボルトナットにより互いに結合され、このボルトナットによる結合を解かれた前記下側垂直管材を前記固定管材内に持ち上げて前記下側支柱部から上方に抜き取ることにより、前記下側支柱部を前記固定管材の下側から横側方へ移動させることが出来るように構成されている、請求項1〜4の何れか1項に記載の足場用仮設扉。
JP2018095936A 2018-05-18 2018-05-18 足場用仮設扉 Active JP6861436B2 (ja)

Priority Applications (1)

Application Number Priority Date Filing Date Title
JP2018095936A JP6861436B2 (ja) 2018-05-18 2018-05-18 足場用仮設扉

Applications Claiming Priority (1)

Application Number Priority Date Filing Date Title
JP2018095936A JP6861436B2 (ja) 2018-05-18 2018-05-18 足場用仮設扉

Publications (2)

Publication Number Publication Date
JP2019199772A JP2019199772A (ja) 2019-11-21
JP6861436B2 true JP6861436B2 (ja) 2021-04-21

Family

ID=68613057

Family Applications (1)

Application Number Title Priority Date Filing Date
JP2018095936A Active JP6861436B2 (ja) 2018-05-18 2018-05-18 足場用仮設扉

Country Status (1)

Country Link
JP (1) JP6861436B2 (ja)

Families Citing this family (2)

* Cited by examiner, † Cited by third party
Publication number Priority date Publication date Assignee Title
JP6975577B2 (ja) * 2017-08-07 2021-12-01 株式会社技研製作所 高架構造物及びその構築方法
KR200495534Y1 (ko) * 2020-08-24 2022-06-22 주식회사 잘만드네 회전부재 체결용 비계 클램프

Family Cites Families (7)

* Cited by examiner, † Cited by third party
Publication number Priority date Publication date Assignee Title
US2958090A (en) * 1958-03-07 1960-11-01 Slopa Robert Earl Self-closing door hinge
JPS5550319Y2 (ja) * 1976-04-28 1980-11-22
DE3310317C2 (de) * 1983-03-22 1985-08-08 Josef 7611 Steinach Maier Laufkonsole mit einer Tür
JPS6238359U (ja) * 1985-08-27 1987-03-06
JPH0725151U (ja) * 1993-10-01 1995-05-12 エイブル設備株式会社 高所作業部昇り口の転落事故防止装置
JP4364885B2 (ja) * 2006-06-12 2009-11-18 Krh株式会社 仮設足場用連結構造体
JP2011042947A (ja) * 2009-08-20 2011-03-03 Shinwa Kk 足場用扉

Also Published As

Publication number Publication date
JP2019199772A (ja) 2019-11-21

Similar Documents

Publication Publication Date Title
JP5086147B2 (ja) 養生装置付きゴンドラ
EP3258041B1 (en) Door hinge assembly
JP6861436B2 (ja) 足場用仮設扉
KR102614750B1 (ko) 건축용 슬라브 패널 빔 지지가이드
KR200491973Y1 (ko) 배관용 행거
KR101873394B1 (ko) 건축용 클라이밍 시스템의 고정슈
JPH09256658A (ja) ハッチ安全柵
JP5980387B2 (ja) 防波扉および防波扉設置方法
JP5077014B2 (ja) エレベータロープ振れ止め装置
JP4355630B2 (ja) 自然換気窓の施錠装置
KR102430549B1 (ko) 소음방지패널
JP5821193B2 (ja) 縦型定風量換気装置
KR200198526Y1 (ko) 건축 공사에 있어서 방진프레임 현수장치
JP4876813B2 (ja) 自然換気窓
JP4448152B2 (ja) 開口部の養生柵装置
JP2011042947A (ja) 足場用扉
KR100664481B1 (ko) 작업대용 브레이크 장치
JP6749158B2 (ja) ルーバー
JP3527159B2 (ja) 廃材等の収納箱
KR102331575B1 (ko) 갱폼 추락 방지 장치
US704746A (en) Automatic locking mechanism for sidewalk or other elevator doors.
JP3033217U (ja) 自閉式扉装置
JP2009121129A (ja) 墜落阻止装置用取付部材
JP3954370B2 (ja) 開閉足場板装置
IL297637A (en) System and method for scaffolding platform

Legal Events

Date Code Title Description
A621 Written request for application examination

Free format text: JAPANESE INTERMEDIATE CODE: A621

Effective date: 20191216

A977 Report on retrieval

Free format text: JAPANESE INTERMEDIATE CODE: A971007

Effective date: 20200918

A131 Notification of reasons for refusal

Free format text: JAPANESE INTERMEDIATE CODE: A131

Effective date: 20201020

A521 Request for written amendment filed

Free format text: JAPANESE INTERMEDIATE CODE: A523

Effective date: 20201026

TRDD Decision of grant or rejection written
A01 Written decision to grant a patent or to grant a registration (utility model)

Free format text: JAPANESE INTERMEDIATE CODE: A01

Effective date: 20210319

A61 First payment of annual fees (during grant procedure)

Free format text: JAPANESE INTERMEDIATE CODE: A61

Effective date: 20210323

R150 Certificate of patent or registration of utility model

Ref document number: 6861436

Country of ref document: JP

Free format text: JAPANESE INTERMEDIATE CODE: R150

R250 Receipt of annual fees

Free format text: JAPANESE INTERMEDIATE CODE: R250

R250 Receipt of annual fees

Free format text: JAPANESE INTERMEDIATE CODE: R250