JP6861416B2 - 二酸化塩素ガスの濃度測定器 - Google Patents
二酸化塩素ガスの濃度測定器 Download PDFInfo
- Publication number
- JP6861416B2 JP6861416B2 JP2017204641A JP2017204641A JP6861416B2 JP 6861416 B2 JP6861416 B2 JP 6861416B2 JP 2017204641 A JP2017204641 A JP 2017204641A JP 2017204641 A JP2017204641 A JP 2017204641A JP 6861416 B2 JP6861416 B2 JP 6861416B2
- Authority
- JP
- Japan
- Prior art keywords
- electrode
- gas
- chlorine dioxide
- electrolytic solution
- current
- Prior art date
- Legal status (The legal status is an assumption and is not a legal conclusion. Google has not performed a legal analysis and makes no representation as to the accuracy of the status listed.)
- Active
Links
Images
Landscapes
- Electrolytic Production Of Non-Metals, Compounds, Apparatuses Therefor (AREA)
Description
また、世界保健機関(WHO)も、0.1ppmが職場で二酸化塩素に暴露されている作業員の気道や眼の刺激を懸念する必要のない数値であるとしている。
しかし、上記2電極・定電圧方式は、制御回路を簡素化できる一方で、電位の基準となる参照電極を持たないため、結果として設定電位が一定しないという不可避的な問題がある。
このため、従来の濃度測定装置では、製造会社などの専門業者に預けて校正を行う必要があり、ユーザーが校正することができず、実用性に劣る。
そして、フィードバック回路が入ると微量電流の制御は困難となり、参照電極を用いる3電極式電解回路では、電位制御の限界がμAオーダーと高くなることから、ppbオーダーの極低濃度の二酸化塩素ガスと測定するには、大面積の作用極が必要となって装置が大型になる。
また、大面積の作用極を用いた電極定電位電解装置では、高濃度の二酸化塩素を測定する場合に複雑化・性能低下・高価格化などの大きな問題を生じる。
(1)ガス透過膜を有する容器内に、電解液と対極と作用電極とを備えるセンサヘッド部と、
上記作用電極の電位を規制する定電圧電源部と、
上記作用電極を流れる電流値を検出する電流検出部と、を備える2電極式定電位電解二酸化塩素濃度測定器であって、
上記電解液が、塩化物イオン(Cl−)を含み、
上記対極が、上記電解液との接触面積が上記作用電極と上記電解液との接触面積の100倍以上である参照電極を兼ねたAgCl/Ag系の電極であり、
上記作用電極の電位を二酸化塩素の限界拡散電流の範囲内で一定に保ち、定電位電解することを特徴とする2電極式・定電位電解二酸化塩素濃度測定器。
(2)さらに、校正用標準ガス発生器を備え、
上記校正用標準ガス発生器が、
ガス通過性を有するガス発生電極と、
上記ガス発生電極と逆極性の対電極と、
上記両電極間に直流電流を印加する定電流電源部と、
NaClO2およびNaClを含む電解液と、
上記電解液を貯留する電解液槽と、
上記電解液槽からの電解液を上記ガス発生電極に導く電解液導通部材と、を備えるものであり、
上記対電極が上記電解液に接触する一方で、上記ガス発生電極の一方の面が上記電解液導通部材に導かれた電解液に接触し他方の面が気相に部分的に露出しており、
上記直流電流と、発生した二酸化塩素ガスを運ぶキャリアガスの流量とで二酸化塩素の濃度を制御することを特徴とする上記(1)に記載の2電極式・定電位電解二酸化塩素濃度測定器。
(3)上記定電流電源部が、電流波形を変更可能なプログラマブル電流規制電源であり、
上記電流波形が、通電初期に大電流を流した後に級数的に減少させ、その後一定であることを特徴とする上記(2)に記載の2電極式・定電位電解二酸化塩素濃度測定器。
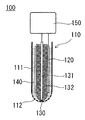
上記二酸化塩素濃度測定器100は、センサヘッド部110と電位規制部150とを備える2電極式の定電位電気化学式濃度測定器であり、必要に応じて、校正用標準ガス発生器を有して成る。
図1にセンサヘッド部の断面図を示す。
上記センサヘッド部110は、図1に示すように、ガス透過膜112を有する容器111内に、電解液140と対極120と作用電極130とを備え、対極と作用電極とが電解液中に浸された構造を有する。
そして、上記ガス透過膜112を介して電解液中に二酸化塩素を取り込み、上記対極120と上記作用電極130とが上記電解液を介して電子の授受を行う。
本発明においては、上記対極120としては、AgCl/Ag系の電極を用いる。
AgCl/Ag系の電極は、電極反応が非常に速く、後述する作用電極と電解液との接触面積に対して大きく、対極と電解液との接触面積が充分大きいことで、対極と電解液との界面が非分極界面であるとみなすことができ、参照電極を兼ねることができる。
なお、理論的には、AgCl/Ag系の電極に代えて、Br/(AgBr)や、I/(AgI)などの、難溶性でかつ電極反応が速い電極を用いることもできるが、ClO2−のAg側への流入を避ける工夫が必要となる。
また、センサヘッド部内の後述する電解液の量を少なくすることができ、電解液中の二酸化塩素濃度が短時間で平衡になり、測定時間を短縮することができる。
上記作用電極130は、ガス透過膜112の近傍で電極反応を行うものであり、図1に示すように、ガラスなどの絶縁体132によって絶縁された導線131の先端に設けられて、上記容器のガス透過膜の近傍に配置される。
作用電極の大きさが上記範囲であることで、センサヘッド部の大きさを長さ10cm程度にすることができ、2電極式・定電位電解二酸化塩素濃度測定器を小型化することができる。
上記電解液140は、塩化物イオン(Cl−)を含む。電解液が塩化物イオンを含むことで、上記対極との界面を非分極界面であるとみなすことができる。
上記ガスセンサの容器111は、少なくとも一部にガス透過膜112を有する。上記ガス透過膜112は、例えば、円筒形の容器の底部などの先端部に設けられ、二酸化塩素は上記ガス透過膜を透過して電解液に溶け込む。
また、上記ガス透過膜としては、ガスを通し、かつ電解液を通さないものを使用することができ、例えば、シリコン製のガス透過膜等を挙げることができる。
図2の形状から、ClO2/ClO2 −系の電極反応速度は非常に速く、かつ広い限界拡散電流領域を持つことがわかる。
なお、上記限界拡散電流が流れる電位の範囲外、およそ200mV以下の電位では酸素の還元が起こり易くなり、500mVを超える電位では電流値が電位依存的に急激に減少するので電流値とClO2濃度の比例関係が保証できなくなる。
上記電位規制部は、図示しない定電圧電源部と電流検出部とを備え、作用電極130の電位を、作用電極における電気化学反応が選択的に二酸化塩素の反応となる電位に規制すると共に、上記作用電極130に流れる電解電流を検出して二酸化塩素の濃度を測定するものである。
校正用標準ガス発生器は、二酸化塩素濃度測定器を校正する標準ガスを供給するものであり、電流値とキャリアガスの流量により発生する二酸化塩素ガスの濃度を制御できるものである。
図4は、NaClを支持電解質とし、NaClO2を含む電解液中での白金電極の電流−電位曲線(図4中のA〜B)と、NaClのみを含む電解液の電流−電位曲線(図4中のC〜D)である。
また、NaClだけを含む溶液に酸化電流を流すとCl2のみが発生(図4中のC)して、ClO2ガスを含まれないことがわかる。
なお、図4中、Dは、H2ガスの発生であり、ClO2−の電解還元ではH2が殆ど発生しないことを保証している。また0V付近より卑の電位で観測される還元電流は(大気に含まれる)酸素の還元電流を表わす。
そして、ClO2ガスを発生する電位とCl2ガスを発生する電位とは、1V以上離れているので、電解液中にNaClO2が含まれるかぎり、ClO2ガスとCl2ガスとが同時に発生することはなく、NaClO2とNaClを含む電解液中で定電流電解(図4中、P→Q)を行うと、電流効率がほぼ100%でClO2を発生させることができる。
また、上記二相が接触する部位で発生した二酸化塩素ガスは、理論上、電解液に溶解するが、ガス発生電極の上方には電解液(特に電解液の層)が存在しないので、実質的に遅延することなく二酸化塩素ガスが気相に放出される。
図5は、本発明の校正用標準ガス発生器の一例を示す断面図である。
上記校正用標準ガス発生器は、図5に示すように、ガス発生電極10と、ガス発生電極10とは極性が逆の対電極20と、この両極間に直流電流を印加する定電流電源部(図示せず)と、NaClO2およびNaClを含む電解液30と、電解液30を貯留する有底円筒状の電解液槽40と、電解液導通部材50を備えている。
なお、電解液30は、後述する電解液導通部材50を介してガス発生電極10に導かれるが、ガス発生室60には直接進入できない。このことは、電解液30の液面30fと液相蓋70の底部70bとの間に間隙を設けることにより、簡易に実現することができる。
上記ガス発生電極リード12は気相蓋71を貫通し、図示しない電流印加手段と電気接続されている。
すなわち、ガス発生電極10は、ガス発生電極網11の上面がガス発生室60に露出する一方で、下面が電解液導通部材50の保液部と接触するように、電解液導通部材50のジャンクションによって保液部に導かれた電解液と気相との界面に配置されている。
ガス発生電極は二酸化塩素ガスを発生させる電極であり、対電極は水素ガスを発生せずにClO2−のみを還元する電極である。
ガス発生電極陽極の材料としては、白金(Pt)、イリジウム(Ir)、ルテニウム(Ru)、及びチタン(Ti)にルテニウムメッキや白金メッキを施した材料などを挙げることができる。
なお、これらの電極は、不溶性電極(商品名DSA)として市場で入手することも可能である。
定電流電源部は、ガス発生電極と対電極との間に直流電流を供給できればよく、特に制限はないが、電流波形を任意に変更可能なプログラマブル電流規制電源であることが好ましい。
そして、飽和状態を維持したまま電流値を級数的に減少させることで、所望の濃度の二酸化塩素ガスを発生させるファラデーの法則から計算される理論電流値まで短時間で電流値を下げることができ、短時間で定常状態にすることができるため、早期に標準ガスによる校正を開始でき、その後、上記理論電流値で一定にすることで、放出する二酸化塩素ガスの濃度を長時間一定に保たれて安定した校正が可能になる。
電解液は、電気分解により二酸化塩素ガスを発生させるためのガス発生原料となる電解質と伝導度を増すための支持電解質を含んでいる水溶液であり、NaClO2およびNaClを含有する。
電解液槽としては、上記の電解液を貯留できればよく特に限定されるものではない。例えば、ガラス製、樹脂製、セラミックス製及び金属製などの各種容器を例示できる。
電解液導通部材としては、電解液をガス発生電極に導く機能を有するものであれば、特に限定されるものではない。
具体的には、親水性や含水性、保水性を有する材料から成るものがあり、例えば親水性繊維の織布や不織布、成形体などの繊維集合体が挙げられる。親水性材料としては、ガラス繊維、ろ紙、綿及びセラミックス多孔質体などを例示できる。
例えば、ガス通過性のガス発生電極が板状の電極を有する場合、電解液導通部材も当該電極を積層できる形状や、挟持できるような形状の部位を有することが好ましい。
電解液は電解液槽から供給すればよく、ポンプとしては、連続式又は必要に応じて一定量を所定回供給する回分式のいずれでもよい。
この場合、保持可能な電解液量が電解液導通部材に保持され、余剰の電解液は電解液導通部材から流出する。
本発明において、二酸化塩素ガスは気相中に放出されるが、放出されたガス二酸化塩素ガスをキャリアガスにより流通させて、上記センサヘッド部に送ることができる。
かかるキャリアガスとしては、エア(空気)や窒素ガス、不活性ガスを挙げることができる。
本発明の二酸化塩素濃度測定器は、上記校正用標準ガス発生器により二酸化塩素の標準ガスを発生させ、上記センサヘッド部に送ることで二酸化塩素濃度測定器の校正を行うことができる。
なお、校正用標準ガス発生器を稼動させてから発生する二酸化塩素の濃度が安定する(定常状態となる)までの時間を予め測定しておき、校正用標準ガス発生器を稼動させてから一定時間経過後に校正を行ってもよい。
図5に示す校正用標準ガス発生器を用いて、27℃の大気中で二酸化塩素ガスを発生させた。
電解液導通部材50としては、頂面52及び脚部51がガラス繊維製のものを用いた。
また、対電極20は、電極板21とリード22がチタン製で、両者を溶接した後に全面をルテニウムメッキしたものである。電極板21は20mm角の形状を有する。
上記校正用標準ガス発生器がファラデーの電気分解の法則を満たしているかどうかを確認するため、上記校正用標準ガス発生器で発生させた二酸化塩素ガスを0.01規定のヨウ化カリウム溶液100mlをインピンジャー2本に入れ、それぞれを直列に連結し、電解開始10分後からガスを吸収させた。
2本のインピンジャーのヨウ素を常法に従ってヨウ素デンプン反応で滴定したところ、95%が最初のインピンジャーに吸収されていて、二酸化塩素ガス濃度は515ppmと算出された。
3.3×10−3(A)×60(秒)×(273+27)/273×22.4L/96500(クーロン)=0.05mlであり、100ml/分の空気を流しているので、500ppmとなる。
供給する電気量(電解電流値×時間)を基にしてファラデーの法則から算出した二酸化塩素ガス濃度(理論値)と、実際に生成した二酸化塩素ガスのヨウ素デンプン反応滴定による化学分析値(実測値)との関係を表1、図7に示す。
対極が直径8mm長さ50mmの円筒形Ag電極、作用電極が直径1.0mmの円盤形Pt電極であり、対極と電解液との接触面積が動作電極と電解液との接触面積の1600倍である、図1に示す2電極式・定電位電解二酸化塩素濃度測定器を用いて、二酸化塩素ガス発生装置で発生させた二酸化塩素ガスの濃度を測定した。
10 ガス発生電極
11 ガス通過性ガス発生電極
12 ガス発生電極リード
13 キャリアガス入口
14 標準ガス出口
20 対電極
21 対電極板
22 対電極リード
23 対電極ガス出口
30 電解液
30f 液面
40 電解液槽
50 電解液導通部材
51 脚部
51p 保護管
52 頂面(保液部)
60 ガス発生室
70 液相蓋
70b 底部
71 気相蓋
80 Oリング
100 2電極式・定電位電解二酸化塩素濃度測定器
110 センサヘッド部
111 容器
112 ガス透過膜
120 対極
130 作用電極
131 導線
132 絶縁体
140 電解液(電解質溶液)
150 電位規制部
Claims (3)
- ガス透過膜を有する容器内に、電解液と対極と作用電極とを備えるセンサヘッド部と、
上記作用電極の電位を規制する定電圧電源部と、
上記作用電極を流れる電流値を検出する電流検出部と、を備える2電極式定電位電解二酸化塩素濃度測定器であって、
上記電解液が、塩化物イオン(Cl−)を含み、
上記対極が、上記電解液との接触面積が上記作用電極と上記電解液との接触面積の100倍以上である参照電極を兼ねたAgCl/Ag系の電極であり、
上記作用電極の電位を二酸化塩素の還元反応の限界拡散電流の範囲内で一定に保ち、定電位電解することを特徴とする2電極式・定電位電解二酸化塩素濃度測定器。 - さらに、校正用標準ガス発生器を備え、
上記校正用標準ガス発生器が、
ガス通過性を有するガス発生電極と、
上記ガス発生電極と逆極性の対電極と、
上記両電極間に直流電流を印加する定電流電源部と、
NaClO2およびNaClを含む電解液と、
上記電解液を貯留する電解液槽と、
上記電解液槽からの電解液を上記ガス発生電極に導く電解液導通部材と、を備えるものであり、
上記対電極が上記電解液に接触する一方で、上記ガス発生電極の一方の面が上記電解液導通部材に導かれた電解液に接触し他方の面が気相に部分的に露出しており、
上記直流電流と、発生した二酸化塩素ガスを運ぶキャリアガスの流量とで二酸化塩素の濃度を制御することを特徴とする請求項1に記載の2電極式・定電位電解二酸化塩素濃度測定器。 - 上記定電流電源部が、電流波形を変更可能なプログラマブル電流規制電源であり、
上記電流波形が、通電初期に大電流を流した後に級数的に減少させ、その後一定であることを特徴とする請求項2に記載の2電極式・定電位電解二酸化塩素濃度測定器。
Priority Applications (1)
| Application Number | Priority Date | Filing Date | Title |
|---|---|---|---|
| JP2017204641A JP6861416B2 (ja) | 2017-10-23 | 2017-10-23 | 二酸化塩素ガスの濃度測定器 |
Applications Claiming Priority (1)
| Application Number | Priority Date | Filing Date | Title |
|---|---|---|---|
| JP2017204641A JP6861416B2 (ja) | 2017-10-23 | 2017-10-23 | 二酸化塩素ガスの濃度測定器 |
Publications (2)
| Publication Number | Publication Date |
|---|---|
| JP2019078594A JP2019078594A (ja) | 2019-05-23 |
| JP6861416B2 true JP6861416B2 (ja) | 2021-04-21 |
Family
ID=66628407
Family Applications (1)
| Application Number | Title | Priority Date | Filing Date |
|---|---|---|---|
| JP2017204641A Active JP6861416B2 (ja) | 2017-10-23 | 2017-10-23 | 二酸化塩素ガスの濃度測定器 |
Country Status (1)
| Country | Link |
|---|---|
| JP (1) | JP6861416B2 (ja) |
Families Citing this family (1)
| Publication number | Priority date | Publication date | Assignee | Title |
|---|---|---|---|---|
| KR102244024B1 (ko) * | 2019-08-23 | 2021-04-23 | 국방과학연구소 | 다중 멤브레인 구조를 기반으로 민감도를 조절할 수 있는 이온 측정 시스템 |
Family Cites Families (12)
| Publication number | Priority date | Publication date | Assignee | Title |
|---|---|---|---|---|
| DE2930074C2 (de) * | 1979-07-25 | 1983-11-17 | Fresenius AG, 6380 Bad Homburg | Meßvorrichtung für die Bestimmung des Sauerstoffpartialdruckes in Flüssigkeiten und Gasen |
| JPH0224552A (ja) * | 1988-07-12 | 1990-01-26 | Kikuo Oikawa | 二酸化塩素の定量法 |
| JPH0746090B2 (ja) * | 1989-05-10 | 1995-05-17 | 東亜電波工業株式会社 | 溶存二酸化塩素の測定方法 |
| JPH0769299B2 (ja) * | 1989-06-05 | 1995-07-26 | 東亜電波工業株式会社 | 二酸化塩素の測定装置 |
| JPH0769287B2 (ja) * | 1990-03-23 | 1995-07-26 | 東亜電波工業株式会社 | 酸化性ガス測定装置の校正方法 |
| GB9302838D0 (en) * | 1993-02-12 | 1993-03-31 | City Tech | Gas generating apparatus |
| JP3076175B2 (ja) * | 1993-07-02 | 2000-08-14 | 株式会社ナカボーテック | 銀・塩化銀照合電極およびその製造方法 |
| DE19547670A1 (de) * | 1995-12-20 | 1997-06-26 | Prominent Dosiertechnik Gmbh | Amperometrischer Zweielektrodensensor, insbesondere für Wasserstoffperoxid |
| US6300108B1 (en) * | 1999-07-21 | 2001-10-09 | The Regents Of The University Of California | Controlled electroporation and mass transfer across cell membranes |
| JP2004069582A (ja) * | 2002-08-08 | 2004-03-04 | Matsushita Electric Ind Co Ltd | バイオセンサ |
| JP3838435B2 (ja) * | 2003-06-25 | 2006-10-25 | 明胤 秋山 | 次亜塩素酸濃度測定装置 |
| US20070045128A1 (en) * | 2005-08-19 | 2007-03-01 | Honeywell International Inc. | Chlorine dioxide sensor |
-
2017
- 2017-10-23 JP JP2017204641A patent/JP6861416B2/ja active Active
Also Published As
| Publication number | Publication date |
|---|---|
| JP2019078594A (ja) | 2019-05-23 |
Similar Documents
| Publication | Publication Date | Title |
|---|---|---|
| US11913903B1 (en) | Systems and methods for testing and measuring compounds | |
| Vos et al. | Measurement of competition between oxygen evolution and chlorine evolution using rotating ring-disk electrode voltammetry | |
| US9625405B2 (en) | Ozone water concentration measurement apparatus and ozone water concentration measurement method | |
| US5346605A (en) | Apparatus for quantitative determination of chemical oxidizing or reducing agents in a fluid environment | |
| US20030205465A1 (en) | Chloramine amperometric sensor | |
| JP6861416B2 (ja) | 二酸化塩素ガスの濃度測定器 | |
| US5334295A (en) | Micro fuel-cell oxygen gas sensor | |
| TW201300761A (zh) | 氧化性物質之總濃度測定方法、氧化性物質之總濃度測定用濃度計及使用其之硫酸電解裝置 | |
| AU2005285460B2 (en) | Free chlorine sensor | |
| WO2015060328A1 (ja) | 定電位電解式ガスセンサ | |
| JP5710345B2 (ja) | 酸化性物質の総濃度測定方法、酸化性物質の総濃度測定用濃度計およびそれを用いた硫酸電解装置 | |
| JP6426336B2 (ja) | 定電位電解式ガスセンサ | |
| JPH10311815A (ja) | 電気化学式一酸化炭素ガスセンサの劣化判定方法および校正方法 | |
| JP2011007508A (ja) | 遊離残留塩素濃度の測定方法及びこれを用いた次亜塩素酸の生成方法 | |
| JP3106247B2 (ja) | 電解槽 | |
| JP6209327B2 (ja) | 定電位電解式ガスセンサ | |
| US5393392A (en) | Polarographic PPB oxygen gas sensor | |
| CN110579524A (zh) | 用于清洁、调节、校准和/或调整电流传感器的方法 | |
| JP2012117954A (ja) | フッ化水素検出装置 | |
| JP6820550B2 (ja) | ガス発生装置 | |
| JP5212306B2 (ja) | 隔膜式電気化学センサ | |
| US20070227908A1 (en) | Electrochemical cell sensor | |
| JP2005062133A (ja) | 残留塩素濃度測定装置 | |
| JP2020085877A (ja) | 定電位電解式ガスセンサ | |
| JP3443230B2 (ja) | 微量酸素濃度測定装置 |
Legal Events
| Date | Code | Title | Description |
|---|---|---|---|
| A521 | Request for written amendment filed |
Free format text: JAPANESE INTERMEDIATE CODE: A523 Effective date: 20171024 |
|
| A80 | Written request to apply exceptions to lack of novelty of invention |
Free format text: JAPANESE INTERMEDIATE CODE: A80 Effective date: 20171024 |
|
| A621 | Written request for application examination |
Free format text: JAPANESE INTERMEDIATE CODE: A621 Effective date: 20200122 |
|
| A977 | Report on retrieval |
Free format text: JAPANESE INTERMEDIATE CODE: A971007 Effective date: 20201216 |
|
| A131 | Notification of reasons for refusal |
Free format text: JAPANESE INTERMEDIATE CODE: A131 Effective date: 20210106 |
|
| TRDD | Decision of grant or rejection written | ||
| A01 | Written decision to grant a patent or to grant a registration (utility model) |
Free format text: JAPANESE INTERMEDIATE CODE: A01 Effective date: 20210315 |
|
| A61 | First payment of annual fees (during grant procedure) |
Free format text: JAPANESE INTERMEDIATE CODE: A61 Effective date: 20210322 |
|
| R150 | Certificate of patent or registration of utility model |
Ref document number: 6861416 Country of ref document: JP Free format text: JAPANESE INTERMEDIATE CODE: R150 |
|
| R250 | Receipt of annual fees |
Free format text: JAPANESE INTERMEDIATE CODE: R250 |
|
| R250 | Receipt of annual fees |
Free format text: JAPANESE INTERMEDIATE CODE: R250 |
