JP6692097B2 - 電子プレパラートおよび電子プレパラートの組み立て方法 - Google Patents

電子プレパラートおよび電子プレパラートの組み立て方法 Download PDF

Info

Publication number
JP6692097B2
JP6692097B2 JP2016561225A JP2016561225A JP6692097B2 JP 6692097 B2 JP6692097 B2 JP 6692097B2 JP 2016561225 A JP2016561225 A JP 2016561225A JP 2016561225 A JP2016561225 A JP 2016561225A JP 6692097 B2 JP6692097 B2 JP 6692097B2
Authority
JP
Japan
Prior art keywords
image sensor
transparent
sample
transparent film
receiving surface
Prior art date
Legal status (The legal status is an assumption and is not a legal conclusion. Google has not performed a legal analysis and makes no representation as to the accuracy of the status listed.)
Active
Application number
JP2016561225A
Other languages
English (en)
Other versions
JPWO2016084309A1 (ja
Inventor
徹 沖野
徹 沖野
翔太 山田
翔太 山田
廣瀬 裕
裕 廣瀬
加藤 剛久
剛久 加藤
田中 毅
毅 田中
学 鴨志田
学 鴨志田
本村 秀人
秀人 本村
好秀 澤田
好秀 澤田
Current Assignee (The listed assignees may be inaccurate. Google has not performed a legal analysis and makes no representation or warranty as to the accuracy of the list.)
Panasonic Intellectual Property Management Co Ltd
Original Assignee
Panasonic Intellectual Property Management Co Ltd
Priority date (The priority date is an assumption and is not a legal conclusion. Google has not performed a legal analysis and makes no representation as to the accuracy of the date listed.)
Filing date
Publication date
Application filed by Panasonic Intellectual Property Management Co Ltd filed Critical Panasonic Intellectual Property Management Co Ltd
Publication of JPWO2016084309A1 publication Critical patent/JPWO2016084309A1/ja
Application granted granted Critical
Publication of JP6692097B2 publication Critical patent/JP6692097B2/ja
Active legal-status Critical Current
Anticipated expiration legal-status Critical

Links

Images

Classifications

    • GPHYSICS
    • G01MEASURING; TESTING
    • G01NINVESTIGATING OR ANALYSING MATERIALS BY DETERMINING THEIR CHEMICAL OR PHYSICAL PROPERTIES
    • G01N21/00Investigating or analysing materials by the use of optical means, i.e. using sub-millimetre waves, infrared, visible or ultraviolet light
    • G01N21/01Arrangements or apparatus for facilitating the optical investigation
    • GPHYSICS
    • G01MEASURING; TESTING
    • G01NINVESTIGATING OR ANALYSING MATERIALS BY DETERMINING THEIR CHEMICAL OR PHYSICAL PROPERTIES
    • G01N21/00Investigating or analysing materials by the use of optical means, i.e. using sub-millimetre waves, infrared, visible or ultraviolet light
    • G01N21/84Systems specially adapted for particular applications
    • HELECTRICITY
    • H10SEMICONDUCTOR DEVICES; ELECTRIC SOLID-STATE DEVICES NOT OTHERWISE PROVIDED FOR
    • H10FINORGANIC SEMICONDUCTOR DEVICES SENSITIVE TO INFRARED RADIATION, LIGHT, ELECTROMAGNETIC RADIATION OF SHORTER WAVELENGTH OR CORPUSCULAR RADIATION
    • H10F39/00Integrated devices, or assemblies of multiple devices, comprising at least one element covered by group H10F30/00, e.g. radiation detectors comprising photodiode arrays
    • H10F39/80Constructional details of image sensors
    • H10F39/802Geometry or disposition of elements in pixels, e.g. address-lines or gate electrodes
    • HELECTRICITY
    • H10SEMICONDUCTOR DEVICES; ELECTRIC SOLID-STATE DEVICES NOT OTHERWISE PROVIDED FOR
    • H10FINORGANIC SEMICONDUCTOR DEVICES SENSITIVE TO INFRARED RADIATION, LIGHT, ELECTROMAGNETIC RADIATION OF SHORTER WAVELENGTH OR CORPUSCULAR RADIATION
    • H10F39/00Integrated devices, or assemblies of multiple devices, comprising at least one element covered by group H10F30/00, e.g. radiation detectors comprising photodiode arrays
    • H10F39/80Constructional details of image sensors
    • H10F39/811Interconnections

Landscapes

  • Physics & Mathematics (AREA)
  • Health & Medical Sciences (AREA)
  • Life Sciences & Earth Sciences (AREA)
  • Chemical & Material Sciences (AREA)
  • Analytical Chemistry (AREA)
  • Biochemistry (AREA)
  • General Health & Medical Sciences (AREA)
  • General Physics & Mathematics (AREA)
  • Immunology (AREA)
  • Pathology (AREA)
  • Solid State Image Pick-Up Elements (AREA)
  • Microscoopes, Condenser (AREA)
  • Investigating Or Analysing Materials By Optical Means (AREA)

Description

本発明は、電子プレパラート、固体撮像素子、および電子プレパラートの組み立て方法に関する。
患者の患部から直接採取した組織(検体)から病気の診断を行う病理診断は、病名・病状を確定する上で非常に有力な手法である。このような病理診断のため、病院や研究所で行われる検体に対する顕微鏡画像の撮影は、大量の検体に対して行われる。
特許文献1では、検体が受光面上に載置された固体撮像素子と、当該固体撮像素子と検体とを固定する保持具とを備える生物試料観察装置が開示されている。検体を透過した光を固体撮像素子の受光面に結像させることにより、検体の微細構造を撮像する。上記構成によれば、検体と固体撮像素子との間に光学系を配置する必要がないので観察装置を大幅に簡略化できる。
特開平4−316478号公報
しかしながら、特許文献1に開示された従来技術では、固体撮像素子の受光面に検体が直接載置されるため、当該受光面が損傷する場合がある。固体撮像素子が撮像する画像精度およびコストの観点から、例えば、複数の検体の撮像を1つの固体撮像素子で行うことが望ましいが、検体が異なるたびに固体撮像素子と検体とを貼り合わせると、上記受光面の損傷が進行して画像精度が低下していく。
上記課題に鑑み、本発明は、低コストで高い画像精度を有する電子プレパラート、固体撮像素子、および電子プレパラートの組み立て方法を提供する。
上記課題を解決するために、本開示の一態様に係る電子プレパラートは、受光面を有し、当該受光面の上方に配置された検体を透過した光を、前記受光面で受光する固体撮像素子と、前記受光面に配置され、前記受光面を密封する除去可能な不揮発性の透明部材とを備える。
また、本開示の一態様に係る固体撮像素子は、撮像対象物を透過した光を受光する固体撮像素子であって、前記撮像対象物と対向する除去可能な不揮発性の透明部材の面と反対側の面で当該透明部材と接触する受光面と、前記受光面に行列状に配置された複数の画素とを備える。
また、本開示の一態様に係る電子プレパラート組み立てセットは、検体を支持するための透明基板と、前記検体を、前記透明基板とで挟み込むための不揮発性の透明部材と、前記検体を透過した光を、前記透明部材を介して受光するための固体撮像素子と、前記透明基板と前記固体撮像素子とを着脱可能に固定するための固定部材とを備える。
また、本開示の一態様に係る電子プレパラートの組み立て方法は、検体と当該検体を撮像する固体撮像素子とが固定配置された電子プレパラートの組み立て方法であって、前記検体を準備する検体準備ステップと、前記検体と前記固体撮像素子の受光面との間であって、前記受光面と接するように除去可能な不揮発性の透明部材を配置する透明部材配置ステップと、前記検体と前記固体撮像素子とを着脱可能に固定する固定ステップとを含む。
本開示に係る電子プレパラート、固体撮像素子、電子プレパラート組み立てセット、または電子プレパラートの組み立て方法によれば、固体撮像素子の受光面と検体との間に不揮発性の透明部材が介在するので、固体撮像素子の損傷を防止できる。よって、低コストで高い画像精度を有する検体観測データを取得することが可能となる。
図1は、実施の形態1に係る電子プレパラートの外観斜視図である。 図2Aは、実施の形態1に係る電子プレパラートの第1の断面図である。 図2Bは、実施の形態1に係る電子プレパラートの第2の断面図である。 図3Aは、実施の形態1に係るプレパラートの概略構成図である。 図3Bは、実施の形態1に係るプレパラートの断面図である。 図4Aは、実施の形態1に係る第2基材の平面図および断面図である。 図4Bは、実施の形態1に係る第1基材の平面図および断面図である。 図5は、実施の形態1に係る固体撮像素子(イメージセンサ)の平面図および断面図である。 図6は、実施の形態1に係る固体撮像素子(イメージセンサ)の撮像領域の断面構造を示す図である。 図7は、実施の形態1に係るプレパラートの形成方法を説明する工程図である。 図8は、実施の形態1に係る電子プレパラートの組み立て方法を説明する工程図である。 図9は、実施の形態1に係る電子プレパラートが組み込まれたソケットの外観斜視図である。 図10Aは、実施の形態1に係る画像取得装置の開放時の外観斜視図である。 図10Bは、実施の形態1に係る画像取得装置の密閉時の外観斜視図である。 図11は、実施の形態1に係る画像取得装置の機能ブロック図である。 図12は、実施の形態2に係る電子プレパラートの断面図である。 図13は、実施の形態3に係る電子プレパラートの外観斜視図である。 図14Aは、実施の形態3に係る電子プレパラートの第1の断面図である。 図14Bは、実施の形態3に係る電子プレパラートの第2の断面図である。 図15は、実施の形態3に係るプレパラートおよびイメージセンサの形成方法を説明する工程図である。 図16Aは、CCDイメージセンサの構造を示す断面図である。 図16Bは、裏面照射型のCMOSイメージセンサの構造を示す断面図である。
以下、本開示の実施の形態に係る電子プレパラート、固体撮像素子、電子プレパラート組み立てセット、および電子プレパラートの組み立て方法について、図面を参照しながら説明する。なお、以下の実施の形態は、いずれも本発明の一具体例を示すものであり、数値、形状、材料、構成要素、構成要素の配置位置及び接続形態、ステップ、ステップの順序などは一例であり、本発明を限定するものではない。
(実施の形態1)
[1.電子プレパラートの構成]
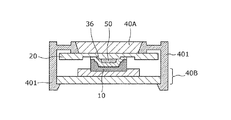
図1は、実施の形態1に係る電子プレパラートの外観斜視図である。また、図2Aは、実施の形態1に係る電子プレパラートの第1の断面図であり、図2Bは、実施の形態1に係る電子プレパラートの第2の断面図である。具体的には、図2Aは、図1の2A−2A線で切断した場合の断面図であり、図2Bは、図1の2B−2B線で切断した場合の断面図である。
なお、本実施の形態では、少なくとも検体(撮像対象物、病理検体)と、固体撮像素子などの電子部品(集積回路、半導体チップ)を備えたもの、透明基板に検体(撮像対象物、病理検体)を乗せ、固体撮像素子などの電子部品(集積回路、半導体チップ)で挟むなどの状態に調整したもの、等を電子プレパラートと呼ぶ。
図1、図2Aおよび図2Bに示すように、本実施の形態に係る電子プレパラート1は、イメージセンサ(固体撮像素子)10と、スライドガラス20と、透明膜30と、封入部材35と、基材40Aおよび40Bとを備える。スライドガラス20、透明膜30、封入部材35および検体50は、プレパラートを構成する。また、基材40Aおよび40Bは、固定部材を構成する。以下、電子プレパラート1の構成要素について説明する。
[1−1.プレパラートの構成]
図3Aは、実施の形態1に係るプレパラートの概略構成図であり、図3Bは、実施の形態1に係るプレパラートの断面図である。具体的には、図3Bは、図3Aの3B−3B線で切断した場合の断面図である。本実施の形態に係るプレパラート60は、観察対象である検体50を観察可能な状態に処理したものである。なお、図3Aおよび図3Bに示されたプレパラート60の配置状態は、図1、図2Aおよび図2Bに示されたスライドガラス20の配置状態と比べて、表面および裏面を逆に示している。
スライドガラス20は、第1主面(表面)および第2主面(裏面)を有する透明基板である。図3Aに示すように、スライドガラス20の表面には、長手方向に沿って、2本の溝が形成されている。この2本の溝は、後述するイメージセンサ10の位置決め用ガイドとして機能する。
検体50は、図3Aおよび図3Bに示すように、スライドガラス20の表面に配置された撮像対象物であり、例えば、患者の患部から直接採取した病理切片であり、その大きさは5mm〜20mm程度であり、厚みは数マイクロメートル程度である。これにより、患者の病理診断を行う。また、検体50は、例えば、学生実験などにおける動物または植物から切り出した細胞組織であってもよい。
封入部材35は、図3Aおよび図3Bに示すように、スライドガラス20の表面上に配置された検体50を覆うように配置された揮発性の封入剤である。封入部材35は、例えば、樹脂で構成され、入射光を低損失で透過し、検体50が外部環境により経時変化するのを防止する機能を有する。
透明膜30は、図3Aおよび図3Bに示すように、スライドガラス20の表面の中央領域に貼り付けられた不揮発性の透明部材であり、検体50および封入部材35を、スライドガラス20とで挟み込んでいる。透明膜30は、入射光を低損失で透過し、検体50および封入部材35が外部環境により経時変化するのを防止する機能を有する。透明膜30の構成については、後述する1−5.透明膜の構成において詳細に説明する。
[1−2.固定部材の構成]
図4Aは、実施の形態1に係る第2基材の平面図および断面図であり、図4Bは、実施の形態1に係る第1基材の平面図および断面図である。
基材40Aは、図4Aに示すように、開口402が設けられた本体部400と、係止部401とを備えた第2基材である。開口402は、入射光を検体50へ案内する機能を有し、断面視において、上底が下底よりも長い台形形状(テーパ形状)となっている。この形状により、図4Aの断面図における上方から下方へ入射する光の集光効率が向上する。
基材40Bは、図4Bに示すように、凹部425を有する上部プレート420と、下部プレート410とを備えた第1基材である。イメージセンサ10は凹部425に配置され、凹部425から下部プレート410にわたって形成された電気配線により、イメージセンサ10の画像信号が外部に出力される。具体的には、例えば、凹部425には、イメージセンサ10の画像信号を上部プレート420へ伝達するための信号入力端子が配置されている。また、下部プレート410の裏面には、電子プレパラート1の外部へ画像信号を出力する外部接続端子が配置されている。そして、基材40Bには、信号入力端子と外部接続端子とを電気的に接続する上記電気配線が形成されている。また、下部プレート410には、基材40B上におけるスライドガラス20の短手方向の位置を固定するためのガイド462が設けられている。
[1−3.各構成要素の配置関係]
図2Aおよび図2Bに示すように、イメージセンサ10、透明膜30、封入部材35、検体50、およびスライドガラス20が、この順で、基材40Bと基材40Aとの間に配置され、基材40Aが基材40Bを係止することにより、これらが固定される。具体的には、係止部401の爪部分が下部プレート410の各側面の中央の凹部分に嵌め込まれることで、これらが固定される。ここで、イメージセンサ10と検体50および封入部材35とは、直接接しておらず、透明膜30のみを介しており、接合されていない。言い換えると、イメージセンサ10の受光面は、透明膜30の封入部材35と接触する面と反対側の面で透明膜30と接触している。これにより、イメージセンサ10とプレパラート60とは、基材40Bおよび基材40Aからなる固定部材により、着脱可能に固定される。
また、図2Bに示すように、イメージセンサ10の端部に形成された樹脂凸部(後述する図5の樹脂凸部16)が、スライドガラス20に形成された溝に嵌め込まれることで、スライドガラス20とイメージセンサ10の受光面との位置が固定される。
[1−4.固体撮像素子の構成]
図5は、実施の形態1に係る固体撮像素子(イメージセンサ)の平面図および断面図である。
図5に示すように、本実施の形態に係るイメージセンサ10は、半導体チップ11と、半導体チップ11の裏面側に配置されたパッケージ基板12と、半導体チップ11とパッケージ基板12とを電気的に接続するワイヤ13と、ワイヤ形成領域に樹脂が充填された樹脂凸部16とを有する。
半導体チップ11は、行列状に配置された複数の画素が配置された撮像領域11Aを有している。電子プレパラート1では、検体50および封入部材35と撮像領域11Aとが、透明膜30を介して対向している。また、半導体チップ11は、撮像領域11Aの周辺領域に、信号出力回路、ノイズ除去回路、ADコンバータなどの信号変換回路、信号増幅回路等を備えている。
一般的なCCD(Charge Coupled Device)イメージセンサおよびCMOS(Complementary Metal−Oxide Semiconductor)イメージセンサの画素サイズは、最新の微細加工技術を用いてもなお、受光に利用可能なスペースは限られている。これは、画素面積のほとんどが、駆動回路のために必要とされる電子部品(電界効果トランジスタなど)によって占有されている為である。この問題を解決して検体50の微細構造を高精度に撮像すべく、本実施の形態に係るイメージセンサ10は、光を捕捉しそれを電気信号に変換する光電変換膜を上層に備える光電変換膜積層型の固体撮像素子である。但し、後述するように本発明に係るイメージセンサ10は、光電変換膜積層型の固体撮像素子に限定されるものではない。
以下、イメージセンサ10が有する画素100の構成について説明する。
図6は、実施の形態1に係る固体撮像素子(イメージセンサ)の撮像領域の断面構造を示す図である。同図に示すように、イメージセンサ10の半導体チップ11は、半導体基板101と、配線層102と、画素電極103Aと、光電変換膜104と、透明電極105とを備える。
配線層102は、半導体基板101上に形成されている。画素電極103Aは、画素100ごとに分離された状態で、配線層102上に形成されている。光電変換膜104は、画素電極103Aの上に形成されている。透明電極105は、光電変換膜104の上に形成されている。
光電変換膜104に用いる材料としては、光から電荷へ変換する効率が高い有機材料または無機材料など、あらゆる材料を用いることができるが、光電変換膜104は、有機材料で構成されていることが好ましい。受光すべき入射光の波長帯域に応じて厚みや形状を調整する必要があるフォトダイオードに対して、有機光電変換膜を光電変換素子として用いた場合には、光吸収率が高いため、膜厚を薄くしても(典型的には0.5um程度)、Siフォトダイオードよりも高い感度を実現できる。さらに、このように光電変換膜を薄くすることによって、各画素に入射する光が斜めに入射する場合でも、光電変換膜内の伝播距離が波長と同程度かそれ以下と短いために、隣接画素へ伝播することなく、すなわち、低クロストークで受光することが可能となる。従って、広受光角を有する光学系を実現することが可能となる。
また、CCDイメージセンサおよび表面照射型CMOSイメージセンサでは、その表面に段差が発生する場合がある。また裏面照射型CMOSイメージセンサでは、高分解能画像を取得するため遮光層を受光面上に形成する場合がある。つまり、検体と対向する受光面は平坦ではない。
これに対して、本実施の形態に係る光電変換膜104を用いた光電変換膜積層型のイメージセンサ10の受光面は、図6から解るように、平坦である。これにより、検体50と受光面との距離を、短くかつ複数の画素間で一様にすることが可能となる。
更に、平坦性の高い光電変換膜積層型のイメージセンサ10と透明膜30を組み合せた場合、検体50と受光面との短い距離を維持し、かつ複数の画素間で一様にすることを維持することが可能となる。
よって、本実施の形態に係る光電変換膜104を用いた光電変換膜積層型のイメージセンサ10、及び光電変換膜積層型のイメージセンサ10を用いた電子プレパラート1(あるいは後述する実施の形態2における電子プレパラート2)は、検体50のより詳細な構造を観察することが可能となる。
上記構成のように、イメージセンサ10では、半導体基板に形成されるフォトダイオードの代わりに、光電変換膜104が半導体基板101の上に形成されている。光電変換膜104および透明電極105は、典型的には、撮像領域11Aの全体にわたり形成されている。
入射光は、光電変換膜104において当該入射光量に応じた電荷に変換され、画素100ごとの電荷が画素電極103Aにより集められる。上記構成によれば、入射光は斜め入射する場合であっても、当該入射光が配線層102の配線によって遮られることがなく、高い集光効率を有することが可能となる。
なお、図6には、画素電極103Aに近接してダミー電極103Bが配置されている。上述したように、光電変換膜を用いたイメージセンサ(「光電変換膜積層型イメージセンサ」と呼ぶ)では、高い集光効率を確保できるが、光電変換膜104が撮像領域11Aにわたり形成されているので、画素100間の境界領域においても電荷が発生し、画素間でのアイソレーションが低下する。この対策として、透明電極105とダミー電極103Bとの間に所定の電位差を印加して、画素の境界領域での発生電荷をダミー電極103Bに引き込ませる。これにより、画素間でのアイソレーションを向上させている。
なお、ダミー電極103Bは、画素間でのアイソレーションを向上させることに限定されない。ダミー電極103Bに引き込まれた電荷を用いて焦点検出を行ってもよい。また、ダミー電極103Bは、なくてもよい。
また、本実施の形態に係るイメージセンサ10は、受光面と検体50までの距離(実質的にはイメージセンサのデバイス表面保護膜と透明膜30の膜厚分である)が短く、つまり、焦点距離が短い。但し、イメージセンサ10の感度特性(つまり、画像の明るさ)を優先させる場合は、透明電極105の上方にマイクロレンズが配置されてもよい。なお、マイクロレンズは、無機材料等を用いてイメージセンサ10の保護膜(最上層膜)の上方に配置されるマイクロレンズ(トップレンズ)と、イメージセンサ10の層間絶縁膜内に配置されるマイクロレンズ(インナーレンズ)を少なくとも含むものであり、言い換えると、本実施の形態に係るイメージセンサ10はトップレンズまたはインナーレンズの少なくとも1つが配置されていてもよい。
一方、撮像領域11Aに入射光を垂直に到達させて(言い換えると、斜め光成分を少なくして)、スミア、混色などの画像特性の向上を優先させる場合は、マイクロレンズを備えない構造することが好ましい。
また、マイクロレンズを設置しないことにより、受光面と検体50との距離を近づけることができ、更に解像度の高い映像を得ることができる。また、マイクロレンズの形成工程を省略することができるため、半導体チップ11の製造コストを低減することができる。
更に、本発明では、マイクロレンズを設置しないことにより、イメージセンサ10自体において高い平坦性を得ることができ、イメージセンサ10上への透明膜30の設置を容易し、検体50のより詳細な構造を観察する効果を高めることができる。
更に、後述するように、マイクロレンズ(トップレンズ)を設置しないことにより、容易に受光面への酸素プラズマ処理(表面処理)を行うことができる。
また、半導体チップ11は、配線層102および半導体基板101内に、画素100ごとに、増幅トランジスタ、リセットトランジスタ、選択トランジスタ、およびこれらを結線する配線が形成されている。これらにより、光電変換膜104で生成された電荷が、イメージセンサ10の出力端子を介して画素信号として出力される。
図5に戻って、イメージセンサ10の構成を説明する。
パッケージ基板12は、半導体チップ11を収容する。半導体チップ11は、接着剤などによりパッケージ基板12上に固定されている。パッケージ基板12の上面には、半導体チップ11と電気的に接続される電極パッド14を有する。パッケージ基板12の裏面には、出力端子17が形成されており、イメージセンサ10の外部と電気的に接続することができる。
出力端子17の形状としては、ボール、バンプ及びランドがあるが、この限りではない。このような出力端子17を選択することで、基材40Bの凹部425に設けられた信号入力端子との接続が容易となる。また、裏面に出力端子17をグリッド状に並べることができるので、多ピン化にも対応できる。
パッケージ基板12の材質は、一例として、セラミックや有機系を用いることができる。セラミックを用いることで、半導体チップ11との温度変化による熱膨張の差を抑えることができ、信頼性を高めることができる。有機系の基板を用いると、低コストで製造することが可能となる。
ワイヤ13は、半導体チップ11上に形成された電極パッド15とパッケージ基板12上に形成された電極パッド14とを電気的に接続する。図5には、ボールボンディングが半導体チップ11で使用され、ステッチボンディングがパッケージ基板12で使用される、いわゆるノーマルボンディング技法が例示されている。
また、ワイヤ13、電極パッド14および15が外気に曝されないように、樹脂凸部16が形成されている。樹脂凸部16は、ワイヤ13、電極パッド14および15を含む領域に樹脂を充填することにより形成される。これにより、ワイヤ13、電極パッド14および15が水分や異物により劣化することを防ぐことができ、信頼性が向上する。さらに、樹脂凸部16の頂上部は、半導体チップ11を挟んで対向する2つの稜線部を形成している。図2Bに示すように、この2つの稜線部がスライドガラス20に形成された溝に嵌め込まれることで、スライドガラス20とイメージセンサ10の受光面との位置が固定され、かつ、半導体チップ11の受光面と検体50とを透明膜30を挟んで近接させることが可能となる。
なお、本実施の形態に係るイメージセンサ10は、ワイヤ13を介して半導体チップ11とパッケージ基板12とを電気的に接続する構造を有しているが、これに限られない。本実施の形態に係るイメージセンサは、ワイヤ構造ではなく、半導体チップ11の半導体基板101を貫通する孔に導電体を埋め込み、半導体基板101の裏面に端子を引き出す、いわゆるTSV(Through Silicon Via)構造を有していてもよい。
[1−5.透明膜の構成]
ここで、図1、図2Aおよび図2Bを参照しながら、本実施の形態に係る電子プレパラート1において、イメージセンサ10とプレパラート60とを着脱可能に固定でき、かつ、高い撮像精度を有することができるための透明膜30の構成について説明する。
透明膜30は、イメージセンサ10の受光面に配置され、当該受光面を密封する不揮発性の透明部材である。また、透明膜30は、イメージセンサ10の受光面から除去可能に配置されている。
言い換えると、透明膜30は、検体50およびイメージセンサ10の受光面に密着するように配置されている。さらに、透明膜30は、検体50およびイメージセンサ10の受光面の凹凸に従って、密着面で自在に変形可能な伸縮性、またはヌレ性を有している。
また、透明膜30は、検体50および封入部材35を、スライドガラス20とで挟み込むことが必要である。これにより、検体50をスライドガラス20に保持させたまま、変質させずに長期保存することが可能となる。
また、透明膜30は、可視光(波長300nm〜800m)範囲において、スライドガラス20の光透過率よりも高いことが好ましく、80%の光透過率を有することが好ましい。これにより、検体50を透過した光を、低損失でイメージセンサ10に到達させることが可能となる。
また、透明膜30と封入部材35との屈折率の差は、0.2以下であることが好ましい。透明膜30と封入部材35との屈折率が異なるほど、検体50を透過した光の直進性が低下して画像の分解能が低下する。この観点から、透明膜30と封入部材35との屈折率の差を略同等とすることにより、検体50を透過した光の直進性が確保されるので、検体50を高分解能で撮像することが可能となる。
また、電子プレパラート1において、高分解能の撮影画像を取得するという観点から、入射光は拡散することなく平行光で検体50およびイメージセンサ10の受光面に到達されることが好ましい。この観点から、検体50とイメージセンサ10の受光面との距離は短いほうが好ましい。より具体的には透明膜30の膜厚は、行列状に配置された複数の画素100の配列ピッチと同程度またはそれ以下であることが好ましい。これにより、イメージセンサ10の画像分解能を低下させることなく、イメージセンサ10の画像分解能を反映した画像を取得することが可能となる。
また、透明膜30の膜厚は、1μm以下であることが、さらに好ましい。これにより、波長帯域が300nm〜800nmである可視光領域におけるイメージセンサ10の高い画像分解能を低下させることなく、イメージセンサ10の高い画像分解能を反映した高精度な画像を取得することが可能となる。
また、透明膜30は、封入部材35と化学反応せずに接していてもよい。これにより、透明膜30の変色および変質が抑制され、検体50を透過した光の低損失性および検体50の長期保存が可能となる。
また、透明膜30は、封入部材35の希釈溶解剤に溶解しない材料で構成されていることが好ましい。封入部材35の希釈溶解剤は、例えば、キシレン系溶剤である。これにより、透明膜30が、プレパラート60の形成過程において封入部材35の希釈溶解剤により変質することが抑制される。よって、検体50を透過した光の低損失性および検体50の長期保存が可能となる。
透明膜30の材料としては、プラスチック樹脂フィルム、無機ガラス系フィルム、あるいはコンポジット材料ガラスフィルムが例示される。
以上、本実施の形態に係る電子プレパラート1によれば、高額な顕微鏡画像撮影装置を用いることなく、イメージセンサ10自体で画像信号(電子信号)の出力ができ、観察に要するコスト(検査コスト)を大きく低減させることができる。つまり、本実施の形態に係る電子プレパラート1は、高度な病理診断を広く普及させることができる。
また、イメージセンサ10の受光面と検体50との間に、上記のような特徴を有する透明膜30が介在するので、イメージセンサ10の高い撮像精度を有しつつイメージセンサ10の損傷を防止できる。よって、低コストで高い画像精度を有する検体観測データを取得することが可能となる。透明膜30を介さずに、イメージセンサ10の受光面と封入部材35とが接した場合、当該受光面と封入部材35とが密着してしまう。これにより、上記受光面が封入部材35により応力を受けることにより、当該受光面が変形または変質する可能性がある。また、上記受光面と封入部材35とを分離する場合にも、当該受光面が変形または変質する可能性がある。これに対し、イメージセンサ10の受光面と封入部材35との間に透明膜30が介在することにより、上記のような受光面の変形または変質を防止することが可能となる。
また、検体50は、透明膜30、スライドガラス20および封入部材35によって保護されるため、検体50の劣化を防止することができる。つまり、検体50を、プレパラート60という形態で保管することにより、長期保管後でも高精度な再検査が可能となる。
[2.電子プレパラートの組み立て方法]
次に、実施の形態に係る電子プレパラート1の組み立て方法を、図7および図8を用いて説明する。
図7は、実施の形態1に係るプレパラートの形成方法を説明する工程図である。また、図8は、実施の形態1に係る電子プレパラートの組み立て方法を説明する工程図である。
まず、図7の(a)に示すように、検体50の前処理を行う(検体準備ステップ)。一例とて、採取した検体を脱水し、パラフィンにより包埋処理を行った後、数μm程度から十数μm程度の所望の厚さ薄切りし、パラフィンを取り除いた検体50を、スライドガラス20の表面に配置する。
次に、図7の(b)に示すように、検体50をスライドガラス20ごと、染色液に浸漬する。これにより、図7の(c)に示すように、検体50が染色される。
次に、図7の(d)に示すように、検体50に封入剤を塗布することで、検体50を覆うように封入部材35を配置する(封入ステップ)。
次に、図7の(e)に示すように、透明膜30の原型である透明シートをスライドガラス20の面方向に引き延ばしながら、スライドガラス20表面の中央領域および封入部材35に密着させることにより、当該透明シートよりも膜厚が小さい透明膜30をスライドガラス20表面に配置する(透明膜配置ステップ)。つまり、検体50および封入部材35を、透明膜30とスライドガラス20とで挟み込むようにスライドガラス20表面に透明膜30を配置する。これにより、図7の(f)に示すように、スライドガラス20と一体化され、外気と遮断するように密封されたプレパラート60が形成される。なお、透明シートを引き延ばず具体的方法として、ローリング方式を用いてもよい。
次に、プレパラート60とイメージセンサ10とを密着固定させる。図8に示すように、イメージセンサ10の受光面と検体50とで透明膜30を挟むように、スライドガラス20とイメージセンサ10とを着脱可能に固定する(固定ステップ)。具体的には、プレパラート60の検体50、封入部材35および透明膜30が配置された表面側を基材40B側に向け、プレパラート60の裏面側を基材40A側に向け、基材40Aとイメージセンサ10が凹部425に嵌め込まれた基材40Bとで、プレパラート60を挟むように固定する。このとき、プレパラート60を平面視した状態で基材40Aの開口402と検体50との位置が一致するようプレパラート60、基材40Aおよび基材40Bの位置関係を調整する。この状態で、係止部401の爪部分を、下部プレート410の各側面の中央の凹部分に嵌め込む。これにより、イメージセンサ10と検体50および封入部材35とは、直接接しない状態で透明膜30のみを介して近接しており、接合されていない。よって、イメージセンサ10とプレパラート60とは、着脱可能に固定されている。
以上、本実施の形態に係る電子プレパラートの組み立て方法によれば、イメージセンサ10の受光面と検体50との間に、上記のような特徴を有する透明膜30が介在するので、イメージセンサ10の高い撮像精度を有しつつイメージセンサ10の損傷を防止できる。
また、一旦固定されたイメージセンサ10とプレパラート60とを、基材40Aと基材40Bとを分離することで、イメージセンサ10の受光面を損傷させることなく分離できるので、1つのイメージセンサ10を、多数のプレパラート60に適用させることが可能となる。よって、低コストで高い画像精度を有する検体観測データを取得することが可能となる。
[3.電子プレパラートの組み立てセット]
なお、本実施の形態1に係る電子プレパラート1は、プレパラート60、イメージセンサ10、ならびに基材40Aおよび基材40Bが組み上げられた完成品の形態であるが、本発明は、当該形態に限られず、プレパラート60、イメージセンサ10および上記固定部材を組み上げる前の態様である電子プレパラート組み立てセットを含む。
つまり、本実施の形態の変形例に係る電子プレパラート組み立てセットは、検体50を支持するためのスライドガラス20と、検体50を封入するための封入部材35と、検体50および封入部材35をスライドガラス20とで挟み込むための透明膜30と、検体50を透過した光を透明膜30を介して受光するためのイメージセンサ10と、スライドガラス20とイメージセンサ10とを着脱可能に固定するための基材40Aおよび40Bとを備える。
上記電子プレパラート組み立てセットの上記パーツを組み上げることにより、実施の形態1に係る電子プレパラート1が作製され、電子プレパラート1と同様の効果が奏される。
[4.電子プレパラートの撮像システム]
次に、電子プレパラート1の撮像システムについて説明する。
[4−1.ソケット]
図9は、実施の形態1に係る電子プレパラートが組み込まれたソケットの外観斜視図である。同図には、電子プレパラート1が、ソケット70に載置された状態が示されている。ソケット70は、ソケット基材71および72と、係合部73と、ヒンジ76とを備える。
ソケット基材71には、電子プレパラート1の基材40Aを挿入可能な開口75と、ソケット基材72とでスライドガラス20を押さえる押圧部74とが設けられている。
ソケット基材72には、係合部73の爪を嵌め込むことが可能な凹部77が設けられている。なお、図示していないが、ソケット基材72には、電子プレパラート1の基材40Bに設けられた外部接続端子と電気的に接続された電気配線が、電子プレパラート1が載置される表面(上面)から裏面(下面)にわたり設けられている。そして、ソケット基材72の下面には、上記電気配線を介してイメージセンサ10の画像信号を外部測定機器へと伝達するための外部接続端子が設けられている。
上記構成により、図9の状態からヒンジ76を回転中心としてソケット基材71を回転させ、係合部73の爪を凹部77に嵌め込むことにより、ソケット基材71がソケット基材72に固定される。これにより、電子プレパラート1が、ソケット基材71および72の間において固定される。この状態で、開口75および開口402を介して、入射光をイメージセンサ10の受光面に到達させることが可能となる。
[4−2.画像取得装置]
図10Aは、実施の形態1に係る画像取得装置の開放時の外観斜視図であり、図10Bは、実施の形態1に係る画像取得装置の密閉時の外観斜視図である。図10Aは、本体部82に設けられたステージ84に、ソケット70(電子プレパラート1を含む)が装填された状態を示している。ステージ84は、ソケット70が着脱可能に接続されるように構成されている。画像取得装置80は、光源83を有しており、ステージ84の姿勢を変化させることにより、複数の異なる照射方向から電子プレパラート1を照射することが可能である。また、画像取得装置80は、開閉可能な蓋部81を有している。蓋部81を閉じることにより、図10Bに示すように、画像取得装置80の内部に暗室を形成することが可能となる。
図11は、実施の形態1に係る画像取得装置の機能ブロック図である。画像取得装置80は、ソケット70に装填された電子プレパラート1のイメージセンサ10に、検体50を透過した光を入射させるための光源83を備えている。
また、画像取得装置80は、制御装置85(コンピュータ)を備えており、制御装置85は、制御部86と、画像処理部87と、メモリ88とを備えている。
制御部86は、イメージセンサ10および光源83を制御することにより、検体50の撮像をイメージセンサ10に行わせる。
なお、イメージセンサ10は、ソケット70に装填されると、基材40Bおよびソケット基材72の各端子および電気配線を介して制御装置85に接続されている。
撮像によって取得された画像データは、画像処理部87による合成および画素補間の処理を受ける。これらの処理により、高い分解能を有する検体50の撮影画像が生成される。この撮影画像は、例えば、ディスプレイ90に表示され、メモリ88またはデータベース91に保存される。
(実施の形態2)
本実施の形態に係る電子プレパラート、固体撮像素子およびその組み立て方法は、実施の形態1に係る電子プレパラートおよび固体撮像素子およびその組み立て方法と比較して、透明膜30の配置構成および形成工程が異なる。以下、本実施の形態に係る電子プレパラート、固体撮像素子およびその組み立て方法について、実施の形態1に係る電子プレパラート1、イメージセンサ10およびその組み立て方法と異なる点を中心に説明する。
[5.電子プレパラートの構成]
図12は、実施の形態2に係る電子プレパラートの断面図である。図12に示すように、本実施の形態に係る電子プレパラート2は、イメージセンサ10と、支持基板21と、透明膜30と、封入部材35とを備える。以下、電子プレパラート2の構成要素について説明する。
支持基板21は、表面および裏面を有する基板である。なお、支持基板21は、透明である必要はなく、なくてもよい。
検体50は、透明膜30のイメージセンサ10と接する面と反対側の面上であって、イメージセンサ10の受光面の上方に配置されている。
封入部材35は、透明膜30のイメージセンサ10と接する面と反対側の面上に配置された検体50を覆うように配置されている。
透明膜30は、イメージセンサ10の受光面を密封するよう、イメージセンサ10に貼り付けられている。
なお、封入部材35および透明膜30の材料、物性、および構造は、実施の形態1に係る封入部材35および透明膜30のそれらと同様である。
図12に示すように、支持基板21、イメージセンサ10、透明膜30、検体50、および封入部材35が、この順で配置され、これらが固定されている。なお、本実施の形態に係る電子プレパラート2は、電子プレパラート1が有する固定部材は不要である。
以上、本実施の形態に係る電子プレパラート2によれば、高額な顕微鏡画像撮影装置を用いることなく、イメージセンサ10自体で画像信号(電子信号)の出力ができ、観察に要するコスト(検査コスト)を大きく低減させることができる。つまり、本実施の形態に係る電子プレパラート2は、高度な病理診断を広く普及させることができる。
また、イメージセンサ10の受光面と検体50との間に、透明膜30が介在するので、イメージセンサ10の高い撮像精度を有しつつイメージセンサ10の損傷を防止できる。よって、低コストで高い画像精度を有する検体観測データを取得することが可能となる。更に、検体を保護するためにカバーガラスで最表面を被覆する構成をとることも可能である。
[6.電子プレパラートの組み立て方法]
次に、実施の形態2に係る電子プレパラート2の組み立て方法を説明する。
まず、透明膜30の原型である透明シートを、イメージセンサ10の受光面方向に引き延ばしながら当該受光面に密着させることにより、当該透明シートよりも膜厚が小さい透明膜30を、当該受光面上に配置する(透明膜配置ステップ)。つまり、上記受光面を、透明膜30の裏面で密封するように当該受光面上に透明膜30を配置する。
次に、検体50の前処理を行う(検体準備ステップ)。一例とて、採取した検体を脱水し、パラフィンにより包埋処理を行った後、数μm程度から数十μm程度の所望の厚さ薄切りし、パラフィンを取り除いた検体50を、透明膜30の表面に配置する。
次に、検体50を、イメージセンサ10および透明膜30ごと染色液に浸漬する。これにより、検体50が染色される。
最後に、検体50に封入剤を塗布することで、検体50を覆うように封入部材35を配置する(封入ステップ)。
以上、本実施の形態に係る電子プレパラートの組み立て方法によれば、イメージセンサ10の受光面と検体50との間に、透明膜30が介在するので、イメージセンサ10の高い撮像精度を有しつつイメージセンサ10の損傷を防止できる。
また、一旦固定されたイメージセンサ10と検体50とを、イメージセンサ10の受光面を損傷させることなく分離できるので、1つのイメージセンサ10を、多数の検体50に適用させることが可能となる。よって、低コストで高い画像精度を有する検体観測データを取得することが可能となる。
(実施の形態3)
本実施の形態に係る電子プレパラート、固体撮像素子およびその組み立て方法は、実施の形態1に係る電子プレパラートおよび固体撮像素子およびその組み立て方法と比較して、検体50とイメージセンサ10との間の配置される部材の配置構成および形成工程が異なる。以下、本実施の形態に係る電子プレパラート、固体撮像素子およびその組み立て方法について、実施の形態1に係る電子プレパラート1、イメージセンサ10およびその組み立て方法と異なる点を中心に説明する。
[7.電子プレパラートの構成]
図13は、実施の形態3に係る電子プレパラートの外観斜視図である。また、図14Aは、実施の形態3に係る電子プレパラートの第1の断面図であり、図14Bは、実施の形態3に係る電子プレパラートの第2の断面図である。具体的には、図14Aは、図13の14A−14A線で切断した場合の断面図であり、図14Bは、図13の14B−14B線で切断した場合の断面図である。
図13、図14Aおよび図14Bに示すように、本実施の形態に係る電子プレパラート3は、イメージセンサ(固体撮像素子)10と、スライドガラス20と、透明オイル層36と、基材40Aおよび40Bとを備える。スライドガラス20、透明オイル層36および検体50は、プレパラートを構成する。また、基材40Aおよび40Bは、固定部材を構成する。
本実施の形態に係る電子プレパラート3は、本実施の形態1に係る電子プレパラート1と比較して、封入部材35が配置されていない点および透明膜30の代わりに透明オイル層36が配置されている点が構成として異なる。
透明オイル層36は、図14Aおよび図14Bに示すように、イメージセンサ10の受光面に塗布された不揮発性の透明部材である。また、透明オイル層36は、検体50を、スライドガラス20とで挟み込んでいる。透明オイル層36は、入射光を低損失で透過し、検体50が外部環境により経時変化するのを防止する機能を有する。透明オイル層36の構成については、後述する7−2.透明オイル層の構成において詳細に説明する。
また、固定部材およびイメージセンサ10の構成については、実施の形態1に係るそれらと同様であるので、ここでは説明を省略する。
[7−1.各構成要素の配置関係]
図14Aおよび図14Bに示すように、イメージセンサ10、透明オイル層36、検体50、およびスライドガラス20が、この順で、基材40Bと基材40Aとの間に配置され、基材40Aが基材40Bを係止することにより、これらが固定される。具体的には、係止部401の爪部分が下部プレート410の各側面の中央の凹部分に嵌め込まれることで、これらが固定される。ここで、イメージセンサ10と検体50とは直接接しておらず、イメージセンサ10の受光面と検体50との間は、透明オイル層36のみで満たされている。言い換えると、イメージセンサ10の受光面は、透明オイル層36の検体50と接触する面と反対側の面で透明オイル層36と接触している。これにより、イメージセンサ10と検体50が配置されたスライドガラス20とは、基材40Bおよび基材40Aからなる固定部材により、着脱可能に固定される。
また、図14Bに示すように、イメージセンサ10の端部に形成された樹脂凸部(図5の樹脂凸部16)が、スライドガラス20に形成された溝に嵌め込まれることで、スライドガラス20とイメージセンサ10の受光面との位置が固定される。
本実施の形態に係るイメージセンサ10は、実施の形態1に係るイメージセンサ10と同様の構成を有するが、透明オイル層36と接する受光面は表面処理として親油性処理(撥水性処理)されていることが好ましい。受光面の親油性処理としては、特に限定されないが、例えば、当該受光面の酸素プラズマ処理(プラズマ処理)などが挙げられる。これにより、撥水性を有する透明オイル層36の油脂成分が、イメージセンサ10の受光面に一様に濡れる。これにより、上記受光面と透明オイル層36との接触界面において空気が介在しない。よって、検体50を透過した入射光は、上記接触界面において空気を通過しないので、入射光の直進性および低損失性が確保される。
更に、上記表面処理を行う場合は、イメージセンサ10にはマイクロレンズ(トップレンズ)を設置していないことがより好ましい。これにより、有機材料等で形成したマイクロレンズに生じるプラズマダメージ(表面劣化、形状劣化、等)を防ぎ、これが原因となるイメージセンサ10の画質不良等を防ぐことができる。
なお、本発明では、透明オイル層36(または透明膜30)と接する受光面の表面処理は、親油性処理(撥水性処理)に限定されるものはなく、透明オイル層36(または透明膜30)の物性(材質)等に応じた表面処理(一例として、親水性処理)を行うこともできる。
なお、本発明では、受光面の表面処理は酸素プラズマ処理(プラズマ処理)に限定されるものではなく、その他の表面処理(一例として、薬液等の塗布、噴霧、または噴射の処理等)を用いることもできる。
なお、上記表面処理は、実施形態1、2で説明した透明膜30と接する受光面に行うことも出来る。
なお、検体50とイメージセンサ10の受光面との間に、透明オイル層36に加えて、実施の形態1に係る封入部材35が介在していてもよい。
[7−2.透明オイル層の構成]
ここで、図13、図14Aおよび図14Bを参照しながら、本実施の形態に係る電子プレパラート3において、イメージセンサ10と検体50が配置されたスライドガラス20とを着脱可能に固定でき、かつ、高い撮像精度を有することができるための透明オイル層36の構成について説明する。
透明オイル層36は、イメージセンサ10の受光面に配置され、当該受光面を密封する不揮発性の透明部材であり、撥水性の油脂材料で構成されている。また、透明オイル層36は、イメージセンサ10の受光面から除去可能に配置されている。
言い換えると、透明オイル層36は、検体50およびイメージセンサ10の受光面に密着するように配置されている。さらに、透明オイル層36は、検体50およびイメージセンサ10の受光面の凹凸に従って、密着面で自在に変形可能な伸縮性、またはヌレ性を有している。
また、透明オイル層36は、検体50を、スライドガラス20とで覆うことが必要である。これにより、検体50をスライドガラス20に保持させたまま、変質させずに長期保存することが可能となる。
また、透明オイル層36は、可視光(波長300nm〜800m)範囲において、スライドガラス20の光透過率よりも高いことが好ましく、80%の光透過率を有することが好ましい。これにより、検体50を透過した光を、低損失でイメージセンサ10に到達させることが可能となる。
また、電子プレパラート3において、高分解能の撮影画像を取得するという観点から、入射光は拡散することなく平行光で検体50およびイメージセンサ10の受光面に到達されることが好ましい。この観点から、検体50とイメージセンサ10の受光面との距離は短いほうが好ましい。より具体的には、透明オイル層36の膜厚は、行列状に配置された複数の画素100の配列ピッチと同程度またはそれ以下であることが好ましい。これにより、イメージセンサ10の画像分解能を低下させることなく、イメージセンサ10の画像分解能を反映した画像を取得することが可能となる。
また、透明オイル層36の膜厚は、1μm以下であることが、さらに好ましい。これにより、波長帯域が300nm〜800nmである可視光領域におけるイメージセンサ10の高い画像分解能を低下させることなく、イメージセンサ10の高い画像分解能を反映した高精度な画像を取得することが可能となる。
透明オイル層36は、不揮発性の油脂であり、好ましくは、第三石油類等の油脂が例示される。
本実施の形態では、検体50とイメージセンサ10の受光面との間には、透明オイル層36のみが介在し、封入部材35を介在しない。これにより、実施の形態1および2と比較して、検体50とイメージセンサ10の受光面との間に、媒質の異なる層は透明オイル層36のみであり、媒質の異なる層数が低減される。よって、入射光の直進性および低損失性が確保される。
また、実施の形態1に係る透明膜30を有する構造において、封入部材35を配置せずに検体50を透明膜30のみで覆った場合、検体50の表面凹凸により、透明膜30と検体50との接触界面において空気を含んでしまう場合がある。ここで、スライドガラス20の屈折率は、例えば、1.45であり、検体50の屈折率は、例えば、1.3以上であり、透明膜30の屈折率は、例えば、1.45以上である。この場合には、検体50を透過した入射光は、上記接触界面における空気(屈折率=1)により屈折してしまう可能性がある。
これに対して、本実施の形態に係る透明オイル層36は、常温では液相状態であるため、検体50との接触界面において、検体50に表面凹凸が存在した場合でも、当該接触界面には空気は介在せず透明オイル層36が充填される。これにより、検体50を透過した入射光は、上記接触界面において空気を通過しないので入射光の直進性および低損失性が確保される。
以上、本実施の形態に係る電子プレパラート3によれば、高額な顕微鏡画像撮影装置を用いることなく、イメージセンサ10自体で画像信号(電子信号)の出力ができ、観察に要するコスト(検査コスト)を大きく低減させることができる。つまり、本実施の形態に係る電子プレパラート3は、高度な病理診断を広く普及させることができる。
また、イメージセンサ10の受光面と検体50との間に、上記のような特徴を有する透明オイル層36が介在するので、イメージセンサ10の高い撮像精度を有しつつイメージセンサ10の損傷を防止できる。よって、低コストで高い画像精度を有する検体観測データを取得することが可能となる。透明オイル層36を介さずに、イメージセンサ10の受光面と検体50またはその封入部材とが接した場合、上記受光面が検体50またはその封入部材により応力を受けることにより、当該受光面が変形または変質する可能性がある。また、上記受光面と検体50またはその封入部材とを分離する場合にも、当該受光面が変形または変質する可能性がある。これに対し、イメージセンサ10の受光面と検体50との間に透明オイル層36が介在することにより、上記のような受光面の変形または変質を防止することが可能となる。
また、検体50は、透明オイル層36およびスライドガラス20によって保護されるため、検体50の劣化を防止することができる。
[8.電子プレパラートの組み立て方法]
次に、実施の形態3に係る電子プレパラート3の組み立て方法を、図15を用いて説明する。
図15は、実施の形態3に係るプレパラートの形成方法を説明する工程図である。
まず、図15の(a1)に示すように、検体50の前処理を行う(検体準備ステップ)。一例とて、採取した検体を脱水し、パラフィンにより包埋処理を行った後、数μm程度から十数μm程度の所望の厚さ薄切りし、パラフィンを取り除いた検体50を、スライドガラス20の表面に配置する。
次に、図15の(b1)に示すように、検体50をスライドガラス20ごと、染色液に浸漬する。これにより、図15の(c1)に示すように、検体50が染色される。
一方、図15の(a2)に示すように、イメージセンサ10の受光面上に、透明オイル36Aを滴下する。ここで、透明オイル36Aの材料としては、不揮発性の油脂が挙げられ、好ましくは、第三石油類等の油脂が例示される。
次に、図15の(b2)に示すように、透明オイル36Aを上記受光面に滴下した後に、所定の時間経過させることにより、または、スピンコートなどにより、上記受光面に透明オイル36Aを均等分散させる。つまり、図15の(a2)および(b2)では、上記受光面を、撥水性の油脂材料で構成された透明オイル層36の裏面で密封するように、当該受光面上に透明オイル層36部材を配置する(透明部材配置ステップ)。
次に、図15の(d)に示すように、スライドガラス20の検体50が配置された面と、透明オイル層36が配置されたイメージセンサ10の受光面とを重ね合わせる。つまり、透明オイル層36の表面に検体50を配置する(透明部材配置ステップ)。
上述した工程により、図15の(e)に示すように、透明オイル層36、検体50、およびスライドガラス20が、この順で重ね合わされ、外気と遮断するように密封されたプレパラート61が形成される。
なお、図15の(b2)に示された、透明オイル36Aを上記受光面に滴下する工程の代わりに、スライドガラス20に配置された検体50に透明オイル36Aを滴下してもよい。これにより、検体50を覆うように、検体50上に透明オイル36Aを均等分散させる。そして、スライドガラス20の検体50および透明オイル36Aが配置された面と、イメージセンサ10の受光面とを重ね合わせてもよい。
次に、イメージセンサ10およびプレパラート61を、基材40Aと基材40Bとで挟み込むことにより固定する。これにより、イメージセンサ10と検体50とは、直接接しない状態で透明オイル層36のみを介して近接しており、接合されていない。よって、イメージセンサ10と検体50が配置されたスライドガラス20とは、着脱可能に固定されている。
以上、本実施の形態に係る電子プレパラートの組み立て方法によれば、イメージセンサ10の受光面と検体50との間に、上記のような特徴を有する透明オイル層36が介在するので、イメージセンサ10の高い撮像精度を有しつつイメージセンサ10の損傷を防止できる。
また、一旦固定されたイメージセンサ10と検体50が配置されたスライドガラス20とを、基材40Aと基材40Bとを分離することで、イメージセンサ10の受光面を損傷させることなく分離できるので、1つのイメージセンサ10を、多数の検体50に適用(リユース)させることが可能となる。よって、低コストで高い画像精度を有する検体観測データを取得することが可能となる。
1つのイメージセンサ10を、多数の検体50に適用(リユース)させる例として以下の態様が挙げられる。
まず、上述した電子プレパラートの組み立て工程を経ることにより、基材40Aおよび基材40Bで一体化されたイメージセンサ10およびプレパラート61の撮像を実行する。
次に、基材40Aおよび基材40Bを、イメージセンサ10およびプレパラート61から外す。この状態で、イメージセンサ10と検体50が配置されたスライドガラス20とは、透明オイル層36のみを介して結合されているため、イメージセンサ10と検体50とを容易に分離することが可能となる。この撮像が終了した検体50上に封入剤を滴下し、かつ、検体50をスライドガラス20とカバーガラスとで挟み込むことにより、撮像済みの検体50は保管可能な状態となる。保管された検体50を再撮像する場合には、キシレンなどの溶媒により封入剤を溶解させて除去した検体50およびスライドガラス20を、透明オイル層36が塗布されたイメージセンサ10に重ね合わせる。
一方、検体50が配置されたスライドガラス20と分離されたイメージセンサ10の受光面には透明オイル36Aが残存しているが、洗浄は不要である。この状態で、または、当該受光面に透明オイル36Aを滴下した状態で、新たな検体50が配置されたスライドガラス20と重ね合わせる。そして、重ね合わされたイメージセンサ10、新たな検体50およびスライドガラス20と、基材40Aと基材40Bとが着脱可能に一体化された電子プレパラート3の撮像を実行する。
以下、上記組み立て、撮像、分離、保管、を繰り返すことにより1つのイメージセンサ10を、多数の検体50に適用(リユース)することが可能となる。
[9.電子プレパラートの組み立てセット]
なお、本実施の形態3に係る電子プレパラート3は、プレパラート61、イメージセンサ10、ならびに基材40Aおよび基材40Bが組み上げられた完成品の形態であるが、本発明は、当該形態に限られず、プレパラート61、イメージセンサ10および上記固定部材を組み上げる前の態様である電子プレパラート組み立てセットを含む。
つまり、本実施の形態の変形例に係る電子プレパラート組み立てセットは、検体50を支持するためのスライドガラス20と、検体50をスライドガラス20とで挟み込むための透明オイル36Aと、検体50を透過した光を、透明オイル層36を介して受光するためのイメージセンサ10と、スライドガラス20とイメージセンサ10とを着脱可能に固定するための基材40Aおよび40Bとを備える。
上記電子プレパラート組み立てセットの上記パーツを組み上げることにより、実施の形態3に係る電子プレパラート3が作製され、電子プレパラート3と同様の効果が奏される。
なお、電子プレパラート3の撮像システムは、実施の形態1に係る電子プレパラート1の撮像システムと同様の構成であるため、説明を省略する。
(その他の実施の形態)
なお、本発明に係る電子プレパラート、固体撮像素子、電子プレパラート組み立てセット、および電子プレパラートの組み立て方法は、実施の形態1〜3に限定されるものではない。各実施の形態における任意の構成要素を組み合わせて実現される別の実施の形態や、各実施の形態に対して本発明の趣旨を逸脱しない範囲で当業者が思いつく各種変形を施して得られる変形例や、本実施の形態に係る電子プレパラートまたは固体撮像素子を内蔵した各種機器も本発明に含まれる。
例えば、本発明に係るイメージセンサ10は、光電変換膜104を用いた光電変換膜積層型イメージセンサに限定されず、以下に示すようなCCDイメージセンサ、CMOSイメージセンサ、または、その他のイメージセンサであってもよい。CCDイメージセンサおよびCMOSイメージセンサは、表面照射型または裏面照射型のいずれであってもよい。
図16Aは、CCDイメージセンサの構造を示す断面図である。図16Aに示すように、CCDイメージセンサ120は、基板122と、基板122の上の絶縁層123と、絶縁層123内に形成された配線124とを有している。基板122には、複数のフォトダイオード121が形成されている。また、配線124上には、遮光層(図示せず)が形成される。また、各トランジスタの図示は省略している。また、表面照射型のCMOSイメージセンサにおけるフォトダイオード近傍の断面構造は、図16AのCCDイメージセンサ120におけるフォトダイオード近傍の断面構造と同様である。
図16Bは、裏面照射型のCMOSイメージセンサの構造を示す断面図である。図16Bに示すように、裏面照射型のCMOSイメージセンサ110は、基板113と、基板113の下方の絶縁層112と、絶縁層112内に形成された配線114とを有している。基板113には、複数のフォトダイオード111が形成されている。同図に示すように、裏面照射型のCMOSイメージセンサ110では、斜め入射の場合であっても、透過光が配線114により遮られることがないという利点を有している。なお、基板113に発生するノイズを低減するため、基板113のうちフォトダイオード111が形成されていない領域に遮光層が形成されてもよい。
本開示に係る電子プレパラート、固体撮像素子、電子プレパラート組み立てセット、および電子プレパラートの組み立て方法は、高画質の画像撮像を低コストで実現できるため、例えば、病理検体の検査に有用である。
1、2、3 電子プレパラート
10 イメージセンサ(固体撮像素子)
11 半導体チップ
11A 撮像領域
12 パッケージ基板
13 ワイヤ
14、15 電極パッド
16 樹脂凸部
20 スライドガラス
21 支持基板
30 透明膜
35 封入部材
36 透明オイル層
36A 透明オイル
40A、40B 基材
50 検体
60、61 プレパラート
70 ソケット
71、72 ソケット基材
73 係合部
74 押圧部
75、402 開口
76 ヒンジ
77、425 凹部
80 画像取得装置
81 蓋部
82、400 本体部
83 光源
84 ステージ
85 制御装置
86 制御部
87 画像処理部
88 メモリ
90 ディスプレイ
91 データベース
100 画素
101 半導体基板
102 配線層
103A 画素電極
103B ダミー電極
104 光電変換膜
105 透明電極
110 CMOSイメージセンサ
111、121 フォトダイオード
112、123 絶縁層
113、122 基板
114、124 配線
120 CCDイメージセンサ
401 係止部
410 下部プレート
420 上部プレート
462 ガイド

Claims (11)

  1. 受光面を有し、当該受光面の上方に配置された検体を透過した光を、前記受光面で受光する固体撮像素子と、
    前記受光面に配置され、前記受光面を密封する除去可能な不揮発性の透明膜と、
    前記透明膜の前記受光面と反対側の面上であって、前記受光面の上方に配置された前記検体を封入するように、前記面上に配置された揮発性の封入部材と、
    前記検体が配置され、前記検体および前記封入部材を、前記透明膜とで挟みこむ透明基板と、
    前記固体撮像素子、前記透明膜、前記封入部材、前記検体、および前記透明基板の順で配置された積層体を挟み込むように当該積層体の両端に配置され、前記透明基板と前記固体撮像素子とを着脱可能となるように固定する第1基材および第2基材と、とを備える
    電子プレパラート。
  2. 前記透明及び前記封入部材の屈折率の差は、0.2以下である
    請求項に記載の電子プレパラート。
  3. 前記透明は、前記封入部材と化学反応せずに接している
    請求項1または2に記載の電子プレパラート。
  4. 前記透明は、前記封入部材の希釈溶解剤に溶解しない材料で構成されている
    請求項に記載の電子プレパラート。
  5. 前記透明は、前記希釈溶解剤であるキシレン系溶剤に溶解しない材料で構成されている
    請求項に記載の電子プレパラート。
  6. 前記透明は、撥水性の油脂材料で構成されている
    請求項1に記載の電子プレパラート。
  7. 前記透明基板は、互いに対向する第1主面および第2主面を有し、
    前記検体は、前記第1主面上に配置され、
    前記第2主面側から前記第1主面側へ入射し前記検体を透過した光を、前記透明を介して前記受光面で受光する
    請求項1〜のいずれか1項に記載の電子プレパラート。
  8. 前記第1基材には、
    前記固体撮像素子で生成された画像信号を伝達するための信号入力端子と、前記電子プレパラートの外部へ前記画像信号を出力する外部接続端子とを電気的に接続する電気配線が形成され、
    前記第2基材には、
    入射光を前記検体へ案内するための開口が設けられており
    前記積層体は、前記第1基材および前記第2基材の一方が他方を係止することにより固定される
    請求項に記載の電子プレパラート。
  9. 検体と当該検体を撮像する固体撮像素子とが固定配置された電子プレパラートの組み立て方法であって、
    透明基板の第1主面上に前記検体を配置する検体準備ステップと、
    透明基板の第1主面上に、前記検体を覆うように揮発性の封入部材を配置する封入ステップと、
    前記検体および前記封入部材と、前記固体撮像素子の受光面との間であって、前記受光面と接するように不揮発性の透明を配置する透明部材配置ステップと、
    前記固体撮像素子、前記透明膜、前記封入部材、前記検体、および前記透明基板の順で配置された積層体を、当該積層体の両端から第1基材と第2基材とで挟み込み、前記透明基板と前記固体撮像素子とを着脱可能に固定する固定ステップとを含む
    電子プレパラートの組み立て方法。
  10. 前記透明部材配置ステップでは、前記透明膜の原型である透明シートを前記透明基板の面方向に引き延ばしながら、前記第1主面の一部および前記封入部材に密着させることにより、前記透明シートよりも膜厚が小さい前記透明膜を前記第1主面上に配置する
    請求項に記載の電子プレパラートの組み立て方法。
  11. 前記透明部材配置ステップでは、前記受光面を、前記透明膜の裏面で密封するように前記受光面上に前記透明膜を配置し、
    前記検体準備ステップでは、前記受光面上に配置された前記透明膜の表面に前記検体を配置し、
    前記封入ステップでは、前記透明膜の前記表面に、前記検体を覆うように封入部材を配置する
    請求項に記載の電子プレパラートの組み立て方法。
JP2016561225A 2014-11-25 2015-11-05 電子プレパラートおよび電子プレパラートの組み立て方法 Active JP6692097B2 (ja)

Applications Claiming Priority (5)

Application Number Priority Date Filing Date Title
JP2014237749 2014-11-25
JP2014237749 2014-11-25
JP2015016096 2015-01-29
JP2015016096 2015-01-29
PCT/JP2015/005538 WO2016084309A1 (ja) 2014-11-25 2015-11-05 電子プレパラート、固体撮像素子、電子プレパラート組み立てセット、および電子プレパラートの組み立て方法

Publications (2)

Publication Number Publication Date
JPWO2016084309A1 JPWO2016084309A1 (ja) 2017-09-07
JP6692097B2 true JP6692097B2 (ja) 2020-05-13

Family

ID=56073908

Family Applications (1)

Application Number Title Priority Date Filing Date
JP2016561225A Active JP6692097B2 (ja) 2014-11-25 2015-11-05 電子プレパラートおよび電子プレパラートの組み立て方法

Country Status (4)

Country Link
US (1) US10837896B2 (ja)
JP (1) JP6692097B2 (ja)
CN (1) CN107110772B (ja)
WO (1) WO2016084309A1 (ja)

Families Citing this family (2)

* Cited by examiner, † Cited by third party
Publication number Priority date Publication date Assignee Title
JP2021005805A (ja) * 2019-06-26 2021-01-14 パナソニックIpマネジメント株式会社 光電センサ、レーザ樹脂溶着における樹脂透過率の測定方法、レーザ樹脂溶着方法、レーザ加工装置
EP4115230A4 (en) * 2020-03-06 2023-08-16 Alentic Microscience Inc. Portable imaging device

Family Cites Families (12)

* Cited by examiner, † Cited by third party
Publication number Priority date Publication date Assignee Title
US4678913A (en) * 1986-01-06 1987-07-07 Walter C. Mccrone Associates, Inc. Method and apparatus for analyzing the nature of a sample
JPH04316478A (ja) 1991-04-12 1992-11-06 Nec Corp 生物試料観察装置、システムおよび方法
EP1169630B1 (en) * 1999-02-17 2017-02-01 Lucid, Inc. Cassette for facilitating optical sectioning of a retained tissue specimen
JP4534352B2 (ja) 2000-12-27 2010-09-01 株式会社ニコン 有機分子検出用半導体素子、有機分子検出用半導体装置及びこれを用いた有機分子の測定方法
JP2002351802A (ja) 2001-05-24 2002-12-06 Cresys:Kk 電子メールを用いたデータ配信方法及びデータ配信システム
JP4396407B2 (ja) * 2004-06-11 2010-01-13 カシオ計算機株式会社 生体高分子分析チップ、生体高分子チップの製造方法
US20100028985A1 (en) * 2005-03-29 2010-02-04 Shimadzu Corporation Reaction Vessel, Reaction Vessel Processing Apparatus and Diagnostic Apparatus
US8027083B2 (en) * 2007-04-20 2011-09-27 International Business Machines Corporation Contact microscope using point source illumination
KR100808114B1 (ko) * 2007-07-18 2008-02-29 (주)실리콘화일 진단장치 및 그 제조방법
WO2011053631A1 (en) * 2009-10-28 2011-05-05 Alentic Microscience Inc. Microscopy imaging
JP2014209088A (ja) * 2013-03-27 2014-11-06 オリンパス株式会社 顕微鏡用放射照度測定器、及び、それを備えた顕微鏡
JP6260871B2 (ja) * 2014-06-27 2018-01-17 パナソニックIpマネジメント株式会社 プレパラート部品セット、プレパラート、プレパラートの作製方法、画像撮影装置、および画像撮影方法

Also Published As

Publication number Publication date
CN107110772B (zh) 2020-05-19
US20170241898A1 (en) 2017-08-24
WO2016084309A1 (ja) 2016-06-02
CN107110772A (zh) 2017-08-29
JPWO2016084309A1 (ja) 2017-09-07
US10837896B2 (en) 2020-11-17

Similar Documents

Publication Publication Date Title
JP3595759B2 (ja) 撮像装置および撮像システム
JP5424371B1 (ja) 固体撮像素子及び撮像装置
CN102110704B (zh) 图像传感器、制造图像传感器的方法以及传感器设备
JP6161522B2 (ja) 撮像素子
JP2019144564A (ja) ソケット
US9054005B2 (en) Semiconductor device, imaging device, method of inspecting semiconductor substrate, and method of fabricating semiconductor device
CN101606381A (zh) 在利用光学堆栈的照相机系统中的杂散光控制及相关方法
TW201250870A (en) Manufacturing method of semiconductor device
WO2013027338A1 (ja) イメージセンサ及びその製造方法並びに検査装置
WO2021005961A1 (ja) 撮像素子および撮像装置
KR20200090846A (ko) 웨이퍼의 검사 방법, 및 웨이퍼
JP6692097B2 (ja) 電子プレパラートおよび電子プレパラートの組み立て方法
JP2013109011A (ja) カメラモジュール
US20230197748A1 (en) Solid-state imaging element and electronic device
US20170241997A1 (en) Chemical sensor, method of producing chemical sensor, and chemical detection apparatus
JP2017220616A (ja) 撮像装置および放射線撮像システム
JP2014075509A (ja) 撮像装置、および検査装置
US9111826B2 (en) Image pickup device, image pickup module, and camera
US20160322410A1 (en) Imaging device, and solid-state image element for use therein
JP2016072266A (ja) 撮像素子パッケージおよび撮像装置
CN105304662A (zh) 一种背照式图像传感器晶圆、芯片及其制造方法
WO2016056191A1 (ja) 固体撮像装置
JP4739697B2 (ja) 固体撮像素子及び内視鏡
JP2009111130A (ja) 撮像装置及びその製造方法
KR102144523B1 (ko) 일체화된 카트리지

Legal Events

Date Code Title Description
A521 Request for written amendment filed

Free format text: JAPANESE INTERMEDIATE CODE: A523

Effective date: 20170411

A621 Written request for application examination

Free format text: JAPANESE INTERMEDIATE CODE: A621

Effective date: 20180926

A131 Notification of reasons for refusal

Free format text: JAPANESE INTERMEDIATE CODE: A131

Effective date: 20190806

A521 Request for written amendment filed

Free format text: JAPANESE INTERMEDIATE CODE: A523

Effective date: 20191002

TRDD Decision of grant or rejection written
A01 Written decision to grant a patent or to grant a registration (utility model)

Free format text: JAPANESE INTERMEDIATE CODE: A01

Effective date: 20200317

A61 First payment of annual fees (during grant procedure)

Free format text: JAPANESE INTERMEDIATE CODE: A61

Effective date: 20200331

R151 Written notification of patent or utility model registration

Ref document number: 6692097

Country of ref document: JP

Free format text: JAPANESE INTERMEDIATE CODE: R151

R250 Receipt of annual fees

Free format text: JAPANESE INTERMEDIATE CODE: R250