JP6607553B2 - VaRTM工法におけるシール構造 - Google Patents

VaRTM工法におけるシール構造 Download PDF

Info

Publication number
JP6607553B2
JP6607553B2 JP2015108084A JP2015108084A JP6607553B2 JP 6607553 B2 JP6607553 B2 JP 6607553B2 JP 2015108084 A JP2015108084 A JP 2015108084A JP 2015108084 A JP2015108084 A JP 2015108084A JP 6607553 B2 JP6607553 B2 JP 6607553B2
Authority
JP
Japan
Prior art keywords
sealant
vacuum bag
bag film
resin injection
injection tube
Prior art date
Legal status (The legal status is an assumption and is not a legal conclusion. Google has not performed a legal analysis and makes no representation as to the accuracy of the status listed.)
Active
Application number
JP2015108084A
Other languages
English (en)
Other versions
JP2016221734A (ja
Inventor
寛 ▲徳▼冨
Current Assignee (The listed assignees may be inaccurate. Google has not performed a legal analysis and makes no representation or warranty as to the accuracy of the list.)
Mitsubishi Aircraft Corp
Original Assignee
Mitsubishi Aircraft Corp
Priority date (The priority date is an assumption and is not a legal conclusion. Google has not performed a legal analysis and makes no representation as to the accuracy of the date listed.)
Filing date
Publication date
Application filed by Mitsubishi Aircraft Corp filed Critical Mitsubishi Aircraft Corp
Priority to JP2015108084A priority Critical patent/JP6607553B2/ja
Publication of JP2016221734A publication Critical patent/JP2016221734A/ja
Application granted granted Critical
Publication of JP6607553B2 publication Critical patent/JP6607553B2/ja
Active legal-status Critical Current
Anticipated expiration legal-status Critical

Links

Images

Landscapes

  • Casting Or Compression Moulding Of Plastics Or The Like (AREA)

Description

本発明は、VaRTM(Vacuum Assisted Resin Transfer Molding:真空樹脂含浸製造)工法におけるシール構造に関する。
VaRTM工法とは、強化繊維基材(ガラス繊維やカーボン繊維等)等の複合材からなる被成形物を成形する工法の一つであり、成形型上に積層した被成形物を真空バッグフィルムで覆い密封し、真空バッグフィルム内を真空状態とすることで、真空バッグフィルム内に樹脂を注入し、被成形物に対して樹脂含浸を行うものである。
VaRTM工法では、真空バッグフィルム内を真空状態とするために、一端部が真空バッグフィルムと成形型との間に挿入され、他端部が吸引ポンプに接続される吸引管を設ける。また、真空バッグフィルム内に樹脂を注入するために、一端部が真空バッグフィルム内と成形型との間に挿入され、他端部が樹脂容器に挿入される樹脂注入管を設ける。
真空バッグフィルムと成形型との間の縁にはシーラントが設けられており、樹脂注入管及び吸引管の上記一端部の挿入部分も、このシーラントにより隙間を埋めることで、真空バッグフィルム内を密封している(例えば下記特許文献1参照)。
特開2012−051130号公報
真空バッグフィルム内を真空状態とする際、樹脂注入管及び吸引管の上記挿入部分のシーラントが真空バッグフィルム内に引き込まれ、シーラントが極端に変形し、隙間が発生してしまうことがある。
樹脂注入管の上記挿入部分に隙間が発生すると、気泡が樹脂中に混入するおそれがある。また、吸引管の上記挿入部分に隙間が発生すると、吸引効果が低下することで真空バッグフィルム内の真空度が低下する。これによって、被成形物の品質に悪影響を及ぼしてしまう。
このような問題を解決するため、樹脂注入管、吸引管に代えてチューブポートを設けることも考えられる。しかしながら、チューブポートの場合、同じものを繰り返し使うことになるため、定期的に掃除しなければならず、余計な手間がかかる。また、製造工程の変更等によって樹脂注入管の位置を変更しなければならない場合に、チューブポートは取り外しにくいため位置を変更することが難しく、不便である。
本発明は、このような技術的状況に鑑みてなされたものであり、真空バッグフィルム内を真空状態とする際に、シーラントにより真空バッグフィルム内の密閉状態を確実に保持することができる、VaRTM工法におけるシール構造を提案することを目的とする。
上記課題を解決する第1の発明に係るVaRTM工法におけるシール構造は、
成形型上において真空バッグフィルムにより被成形物を覆い、該成形型と該真空バッグフィルムとの縁を第1シーラントにより接着し、該成形型と該真空バッグフィルムとの間に挿入した吸引管より、該真空バッグフィルム内の空気を吸引することで、該真空バッグフィルム内を真空状態とし、該成形型と該真空バッグフィルムとの間に挿入した樹脂注入管より、該真空バッグフィルム内に樹脂を注入することにより、該被成形物に対し樹脂含浸を行うVaRTM工法におけるシール構造であって、
前記樹脂注入管及び前記吸引管の周面を、前記第1シーラント上に設けた第2シーラントにより密封し、該第2シーラントにおける前記樹脂注入管及び前記吸引管と前記第1シーラントとの間に第1拡大部を形成した
ことを特徴とする。
上記課題を解決する第2の発明に係るVaRTM工法におけるシール構造は、
上記第1の発明に係るVaRTM工法におけるシール構造において、
前記第2シーラントにおける前記樹脂注入管及び前記吸引管と前記真空バッグフィルムとの間に第2拡大部を形成した
ことを特徴とする。
上記課題を解決する第3の発明に係るVaRTM工法におけるシール構造は、
上記第2の発明に係るVaRTM工法におけるシール構造において、
前記第2シーラントをテープ状とし、前記樹脂注入管の周方向に前記第2シーラントを複数層重ねるように巻き付けることで、前記第1拡大部及び前記第2拡大部を形成した
ことを特徴とする。
上記課題を解決する第4の発明に係るVaRTM工法におけるシール構造は、
上記第1の発明に係るVaRTM工法におけるシール構造において、
前記第2シーラントをテープ状とし、前記樹脂注入管を前記第1シーラントから引き離すように、前記第2シーラントを延伸させて、前記第1拡大部を形成した
ことを特徴とする。
本発明に係るVaRTM工法におけるシール構造によれば、真空バッグフィルム内を真空状態とする際に、シーラントにより真空バッグフィルム内の密閉状態を確実に保持することができる。
本発明に係るVaRTM工法におけるシール構造を説明する断面図である。 本発明の実施例1に係るVaRTM工法におけるシール構造を説明する断面図である。 図2の側面に沿う断面図である。 本発明の実施例2に係るVaRTM工法におけるシール構造を説明する断面図 図4の側面に沿う断面図である。 VaRTM工法を行う装置の平面図である。 VaRTM工法を行う装置の断面図である。 従来図のA‐A矢視図である。
以下、本発明に係るVaRTM工法におけるシール構造について、図1,6〜8を用いて説明する。図6はVaRTM工法を行う装置の上面図(真空バッグフィルムは省略)、図7はVaRTM工法を行う装置の断面図、図8は図6,7のA‐A矢視図である。
図6,7に示すように、VaRTM工法を行う装置は、成形型11と、成形型11上において被成形物10を覆う真空バッグフィルム12と、真空バッグフィルム12内の空気を吸引するための吸引管14と、真空バッグフィルム12内に樹脂を注入するための樹脂注入管13とを備え、真空バッグフィルム12内を真空状態として、樹脂を被成形物10に含浸させる。
成形型11と真空バッグフィルム12との間の縁にシーラント(第1シーラント)15を設けることで、成形型11と真空バッグフィルム12との縁を接着し、これによって被成形物10を密封状態としている。
シーラント15上の任意の位置には管挿入部用シーラント16が接着されて設けられている。図6〜8に示すように、樹脂注入管13及び吸引管14の一端部は、それぞれシーラント15と管挿入部用シーラント16とに挟まれるようにして、成形型11と真空バッグフィルム12との間に挿入されている(図6,7では、樹脂注入管13及び吸引管14の他端部を省略している。実際には、樹脂注入管13の他端部は樹脂容器に挿入され、吸引管14の他端部は真空ポンプに挿入される)。なお、図8では樹脂注入管13側のみを示しているが、吸引管14側も同様である。
このような管挿入部用シーラント16では、真空バッグフィルム12内を真空状態とする際、図7の破線矢印で示す如く、管挿入部用シーラント16及びその近傍のシーラント15が真空バッグフィルム12内に引き込まれるようにしてずれてしまい、シーラントが極端に変形し、隙間が発生してしまう可能性がある。
そこで、本発明に係るVaRTM工法におけるシール構造では、管挿入部用シーラントの形状を変更することで、真空バッグフィルム内を真空状態とする際の隙間の発生を防ぐようにしている。
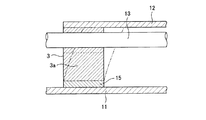
本発明に係るVaRTM工法におけるシール構造を説明する断面図(図6,7のA‐A矢視断面に対応)である図1に示すように、本発明に係るVaRTM工法におけるシール構造では、樹脂注入管13及び吸引管14の周面を、第1シーラント15上に設けた管挿入部用シーラント(第2シーラント)1によって密封する。
管挿入部用シーラント1における、樹脂注入管13とシーラント15との間に、第1拡大部1aを形成する。すなわち、本発明に係るVaRTM工法におけるシール構造では、成形型11から樹脂注入管13までのシーラント厚(管挿入部用シーラント1及びシーラント15の総厚)を大きくする。
これにより、管挿入部用シーラント1及びシーラント15が、真空バッグフィルム12内を真空状態とする際の負圧により引っ張られると、第1拡大部1aすなわちシーラント厚の大きい部分周辺が撓む。したがって、管挿入部用シーラント1及びその近傍のシーラント15の極端な変形を抑制し、隙間の発生を防止することができる。
さらに、本発明に係るVaRTM工法におけるシール構造では、図1に示すように、管挿入部用シーラント1における、樹脂注入管13と真空バッグフィルム12との間に、管挿入部用シーラント1の第2拡大部1bを形成するものとしてもよい。すなわち、本発明に係るVaRTM工法におけるシール構造では、樹脂注入管13から真空バッグフィルム12までのシーラント厚を大きくするようにしてもよい。
これにより、管挿入部用シーラント1及びシーラント15が、真空バッグフィルム12内を真空状態とする際の負圧により引っ張られると、第1拡大部1a周辺と共に第2拡大部1bも撓み、管挿入部用シーラント1及びその近傍のシーラント15の極端な変形をより抑制し、隙間の発生をより防止することができる。
なお、図1では樹脂注入管13側の管挿入部用シーラント1に着目して説明したが、吸引管14側にも同様の管挿入部用シーラントを設ける。
以上が本発明に係るVaRTM工法におけるシール構造についての説明である。以下、本発明に係るVaRTM工法におけるシール構造について、実施例により具体的に説明する。
[実施例1]
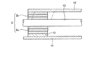
本発明の実施例1に係るVaRTM工法におけるシール構造について、図2,3を用いて説明する。図2は本発明の実施例1に係るVaRTM工法におけるシール構造を説明する断面図(図6,7のA‐A矢視断面に対応)、図3は図2を横から見た断面図(図6のB‐B矢視断面に対応)である。
本発明の実施例1に係るVaRTM工法におけるシール構造では、図2,3に示すように、管挿入部用シーラント2をテープ状のものとし、樹脂注入管13の上記一端部の周方向に管挿入部用シーラント2を複数層重ねるように巻き付けることで、第1拡大部2a(図1の第1拡大部1aに対応)及び第2拡大部2b(図1の第2拡大部1bに対応)を形成する。
第1拡大部2aを形成することにより、成形型11から樹脂注入管13までのシーラント厚が、従来に比べて大きくなる。また、第2拡大部2bを形成することにより、真空バッグフィルム12から樹脂注入管13までのシーラント厚の幅が、従来に比べて大きくなる。
これにより、管挿入部用シーラント2及びシーラント15が、真空バッグフィルム12内を真空状態とする際の負圧により引っ張られると、図3中に二点鎖線で示すように、第1拡大部2a及び第2拡大部2bが撓む。したがって、管挿入部用シーラント2及びその近傍のシーラント15の極端な変形を抑制し、隙間の発生を防止することができる。
なお、上述では樹脂注入管13側の管挿入部用シーラント2に着目して説明したが、吸引管14側にも同様の管挿入部用シーラントを設ける。
[実施例2]
本発明の実施例2に係るVaRTM工法におけるシール構造について、図4,5を用いて説明する。図4は本発明の実施例2に係るVaRTM工法におけるシール構造を説明する断面図(図6,7のA‐A矢視断面に対応)、図5は図4を横から見た断面図(図6のB‐B矢視断面に対応)である。
本発明の実施例2に係るVaRTM工法におけるシール構造では、図4,5に示すように、管挿入部用シーラント3をテープ状のものとし、樹脂注入管13を成形型11から(上方すなわち真空バッグフィルム12側へ)引き離すように、管挿入部用シーラント3を延伸させることで、第1拡大部3a(図1の第1拡大部1aに対応)を形成する。
第1拡大部3aを形成することにより、成形型11及び真空バッグフィルム12から樹脂注入管13までのシーラント厚が、従来に比べて大きくなる。
これにより、管挿入部用シーラント3及びシーラント15が、真空バッグフィルム12内を真空状態とする際の負圧により引っ張られると、図5中に二点鎖線で示すように、第1拡大部3aが撓む。したがって、管挿入部用シーラント3及びその近傍のシーラント15の極端な変形を抑制し、隙間の発生を防止することができる。
また、被成形物10が凸状の成形型11の上に配置され、被成形物10の位置が第1シーラント15よりも比較的高い場合に、本実施例のように、樹脂注入管13あるいは樹脂排出管(図示を省略)も高くすることができ、流路抵抗を上げず、効率よく、被成形物10に樹脂を注入することが出来る。
なお、上述では樹脂注入管13側の管挿入部用シーラント3に着目して説明したが、吸引管14側にも同様の管挿入部用シーラントを設ける。
本発明は、VaRTM工法におけるシール構造として好適である。
1,2,3 管挿入部用シーラント(第2シーラント)
1a,2a,3a 第1拡大部
1b,2b 第2拡大部
10 被成形物
11 成形型
12 真空バッグフィルム
13 樹脂注入管
14 吸引管
15 シーラント(第1シーラント)
16 (従来の)管挿入部用シーラント

Claims (6)

  1. 成形型上において真空バッグフィルムにより被成形物を覆い、該成形型と該真空バッグフィルムとの縁を第1シーラントにより接着し、該成形型と該真空バッグフィルムとの間に挿入した吸引管より、該真空バッグフィルム内の空気を吸引することで、該真空バッグフィルム内を真空状態とし、該成形型と該真空バッグフィルムとの間に挿入した樹脂注入管より、該真空バッグフィルム内に樹脂を注入することにより、該被成形物に対し樹脂含浸を行うVaRTM工法におけるシール構造であって、
    前記樹脂注入管及び前記吸引管の周面を覆うことで密封し、前記第1シーラント上に設けた第2シーラントを備え
    前記第2シーラントは、前記樹脂注入管及び前記吸引管の前記第1シーラント側の端部である一端部と前記第1シーラントとの間に形成された第1拡大部を有することを特徴とするVaRTM工法におけるシール構造。
  2. 前記第2シーラントは、前記樹脂注入管及び前記吸引管と前記真空バッグフィルムとの間に形成された第2拡大部を有し、
    前記第2拡大部は、前記樹脂注入管及び前記吸引管の側端部から該側端部と対向する前記真空バッグフィルムまでの距離よりも、前記樹脂注入管及び前記吸引管の前記一端部とは反対側の端部である他端部から該他端部と対向する前記真空バッグフィルムまでの距離の方が長くなるように、形成されていることを特徴とする請求項1に記載のVaRTM工法におけるシール構造。
  3. 前記第2シーラントをテープ状とし、前記樹脂注入管の周方向に前記第2シーラントを複数層重ねるように巻き付けることで、前記第1拡大部及び前記第2拡大部を形成したことを特徴とする請求項2に記載のVaRTM工法におけるシール構造。
  4. 前記第2シーラントをテープ状とし、前記樹脂注入管を前記第1シーラントから引き離すように、前記第2シーラントを延伸させて、前記第1拡大部を形成したことを特徴とする請求項1に記載のVaRTM工法におけるシール構造。
  5. 成形型上において真空バッグフィルムにより被成形物を覆い、該成形型と該真空バッグフィルムとの縁を第1シーラントにより接着し、該成形型と該真空バッグフィルムとの間に挿入した吸引管より、該真空バッグフィルム内の空気を吸引することで、該真空バッグフィルム内を真空状態とし、該成形型と該真空バッグフィルムとの間に挿入した樹脂注入管より、該真空バッグフィルム内に樹脂を注入することにより、該被成形物に対し樹脂含浸を行うVaRTM工法におけるシール構造であって、
    前記樹脂注入管及び前記吸引管の周面を、前記第1シーラント上に設けた第2シーラントにより密封し、該第2シーラントにおける前記樹脂注入管及び前記吸引管と前記第1シーラントとの間に第1拡大部を形成し、
    前記第2シーラントにおける前記樹脂注入管及び前記吸引管と前記真空バッグフィルムとの間に第2拡大部を形成し、
    前記第2シーラントをテープ状とし、前記樹脂注入管の周方向に前記第2シーラントを複数層重ねるように巻き付けることで、前記第1拡大部及び前記第2拡大部を形成したことを特徴とするVaRTM工法におけるシール構造。
  6. 成形型上において真空バッグフィルムにより被成形物を覆い、該成形型と該真空バッグフィルムとの縁を第1シーラントにより接着し、該成形型と該真空バッグフィルムとの間に挿入した吸引管より、該真空バッグフィルム内の空気を吸引することで、該真空バッグフィルム内を真空状態とし、該成形型と該真空バッグフィルムとの間に挿入した樹脂注入管より、該真空バッグフィルム内に樹脂を注入することにより、該被成形物に対し樹脂含浸を行うVaRTM工法におけるシール構造であって、
    前記樹脂注入管及び前記吸引管の周面を、前記第1シーラント上に設けた第2シーラントにより密封し、該第2シーラントにおける前記樹脂注入管及び前記吸引管と前記第1シーラントとの間に第1拡大部を形成し、
    前記第2シーラントをテープ状とし、前記樹脂注入管を前記第1シーラントから引き離すように、前記第2シーラントを延伸させて、前記第1拡大部を形成したことを特徴とするVaRTM工法におけるシール構造。
JP2015108084A 2015-05-28 2015-05-28 VaRTM工法におけるシール構造 Active JP6607553B2 (ja)

Priority Applications (1)

Application Number Priority Date Filing Date Title
JP2015108084A JP6607553B2 (ja) 2015-05-28 2015-05-28 VaRTM工法におけるシール構造

Applications Claiming Priority (1)

Application Number Priority Date Filing Date Title
JP2015108084A JP6607553B2 (ja) 2015-05-28 2015-05-28 VaRTM工法におけるシール構造

Publications (2)

Publication Number Publication Date
JP2016221734A JP2016221734A (ja) 2016-12-28
JP6607553B2 true JP6607553B2 (ja) 2019-11-20

Family

ID=57746281

Family Applications (1)

Application Number Title Priority Date Filing Date
JP2015108084A Active JP6607553B2 (ja) 2015-05-28 2015-05-28 VaRTM工法におけるシール構造

Country Status (1)

Country Link
JP (1) JP6607553B2 (ja)

Families Citing this family (2)

* Cited by examiner, † Cited by third party
Publication number Priority date Publication date Assignee Title
KR102188243B1 (ko) * 2018-08-08 2020-12-08 전북대학교산학협력단 Vartm을 이용한 복합재료의 성형 장치 및 방법
JP7761897B2 (ja) * 2021-10-01 2025-10-29 東京電力ホールディングス株式会社 VaRTM成形用バギングシートおよびVaRTM成形方法

Family Cites Families (10)

* Cited by examiner, † Cited by third party
Publication number Priority date Publication date Assignee Title
JPH0647754A (ja) * 1992-07-28 1994-02-22 Nippo Sangyo Kk 鋳込成形用の簡易成形型
JP4609745B2 (ja) * 2000-12-06 2011-01-12 東レ株式会社 Frpの真空成形方法
JP4370917B2 (ja) * 2004-01-19 2009-11-25 東レ株式会社 繊維強化樹脂製外板部材の製造方法
JP4961244B2 (ja) * 2007-03-30 2012-06-27 本田技研工業株式会社 繊維強化複合材料の製造装置及びその製造方法
JP2012051130A (ja) * 2010-08-31 2012-03-15 Mitsubishi Electric Corp 繊維強化複合材料の製造方法及びエレベータかごの製造方法
JP5533743B2 (ja) * 2010-09-24 2014-06-25 東レ株式会社 繊維強化プラスチックの製造方法
JP2012214651A (ja) * 2011-04-01 2012-11-08 Mitsubishi Electric Corp 難燃性繊維強化複合材料、サンドイッチパネル、それらの製造方法及びエレベータかご
US8985174B2 (en) * 2011-08-26 2015-03-24 The Boeing Company Integrally stiffened, reusable vacuum bag and method of making the same
JP5843686B2 (ja) * 2012-04-10 2016-01-13 三菱電機株式会社 樹脂拡散媒体の製造方法、及び繊維強化プラスチック成形体の製造方法
US20150336335A1 (en) * 2013-01-09 2015-11-26 Mitsubishi Electric Corporation Fiber-reinforced composite material, method of producing same, and elevator component member and elevator car that use same

Also Published As

Publication number Publication date
JP2016221734A (ja) 2016-12-28

Similar Documents

Publication Publication Date Title
JP7111483B2 (ja) 複雑な表面への対象物の柔軟な真空固定
CN107718593B (zh) 风力发电机组叶片粘接角的灌注方法及风力发电机组叶片
JP2012086547A5 (ja)
WO2012039409A1 (ja) 繊維強化プラスチックの製造方法
JP5991590B2 (ja) 中空部を有する熱可塑性樹脂成形体の製造方法
JP6607553B2 (ja) VaRTM工法におけるシール構造
JP5682843B2 (ja) 長繊維強化樹脂成形体とその製造方法
JP6795349B2 (ja) キャリアフィルム付きガスケットの取り扱い方法
WO2017126189A1 (ja) 複合材の成形方法、複合材の成形用治具及び複合材
JP6515204B2 (ja) ガスケット並びにその製造方法及び取り扱い方法
JP5843686B2 (ja) 樹脂拡散媒体の製造方法、及び繊維強化プラスチック成形体の製造方法
JP4648019B2 (ja) 加圧バッグの製造方法、及び係る加圧バッグを用いた複合材成形品の成形方法
CN108712951A (zh) 复合材料的制造方法
WO2017170206A1 (ja) 強化繊維基材の成形方法
JP6673678B2 (ja) キャリアフィルム付きガスケット及びその製造方法
JP2009143172A (ja) 繊維強化プラスチックの成形方法及びその製造装置
JP2008218287A (ja) 燃料電池用ガスケットの製造方法及びガスケット一体型meaの製造方法
JP5442591B2 (ja) ガスケットの製造方法
WO2015008536A1 (ja) 繊維強化複合材料成形体とその製造方法、及びパネル材
JP2015030286A (ja) 車両構造体およびその製造方法
CN211279816U (zh) 一种动车墙板用模具
JP2007307754A (ja) プリプレグ積層体の製造方法及びその製造装置
JP2009286006A (ja) バキューム成形装置
JP6884205B2 (ja) フィルム一体ガスケット
WO2024048125A1 (ja) 複合材の成形方法及び成形装置

Legal Events

Date Code Title Description
A625 Written request for application examination (by other person)

Free format text: JAPANESE INTERMEDIATE CODE: A625

Effective date: 20180528

A977 Report on retrieval

Free format text: JAPANESE INTERMEDIATE CODE: A971007

Effective date: 20190510

A131 Notification of reasons for refusal

Free format text: JAPANESE INTERMEDIATE CODE: A131

Effective date: 20190521

RD03 Notification of appointment of power of attorney

Free format text: JAPANESE INTERMEDIATE CODE: A7423

Effective date: 20190523

RD04 Notification of resignation of power of attorney

Free format text: JAPANESE INTERMEDIATE CODE: A7424

Effective date: 20190605

RD04 Notification of resignation of power of attorney

Free format text: JAPANESE INTERMEDIATE CODE: A7424

Effective date: 20190529

A521 Request for written amendment filed

Free format text: JAPANESE INTERMEDIATE CODE: A523

Effective date: 20190708

A521 Request for written amendment filed

Free format text: JAPANESE INTERMEDIATE CODE: A523

Effective date: 20190722

TRDD Decision of grant or rejection written
A01 Written decision to grant a patent or to grant a registration (utility model)

Free format text: JAPANESE INTERMEDIATE CODE: A01

Effective date: 20190917

A61 First payment of annual fees (during grant procedure)

Free format text: JAPANESE INTERMEDIATE CODE: A61

Effective date: 20191016

R150 Certificate of patent or registration of utility model

Ref document number: 6607553

Country of ref document: JP

Free format text: JAPANESE INTERMEDIATE CODE: R150

S111 Request for change of ownership or part of ownership

Free format text: JAPANESE INTERMEDIATE CODE: R313113

S531 Written request for registration of change of domicile

Free format text: JAPANESE INTERMEDIATE CODE: R313531

S533 Written request for registration of change of name

Free format text: JAPANESE INTERMEDIATE CODE: R313533

R350 Written notification of registration of transfer

Free format text: JAPANESE INTERMEDIATE CODE: R350