JP6597656B2 - 車両用表示装置 - Google Patents

車両用表示装置 Download PDF

Info

Publication number
JP6597656B2
JP6597656B2 JP2017010424A JP2017010424A JP6597656B2 JP 6597656 B2 JP6597656 B2 JP 6597656B2 JP 2017010424 A JP2017010424 A JP 2017010424A JP 2017010424 A JP2017010424 A JP 2017010424A JP 6597656 B2 JP6597656 B2 JP 6597656B2
Authority
JP
Japan
Prior art keywords
display
warning
translucent
light
unit
Prior art date
Legal status (The legal status is an assumption and is not a legal conclusion. Google has not performed a legal analysis and makes no representation as to the accuracy of the status listed.)
Expired - Fee Related
Application number
JP2017010424A
Other languages
English (en)
Other versions
JP2018118581A (ja
Inventor
浩三 小野
克己 藤田
拓夫 山本
全志 中村
Current Assignee (The listed assignees may be inaccurate. Google has not performed a legal analysis and makes no representation or warranty as to the accuracy of the list.)
Denso Corp
Original Assignee
Denso Corp
Priority date (The priority date is an assumption and is not a legal conclusion. Google has not performed a legal analysis and makes no representation as to the accuracy of the date listed.)
Filing date
Publication date
Application filed by Denso Corp filed Critical Denso Corp
Priority to JP2017010424A priority Critical patent/JP6597656B2/ja
Priority to DE112017005615.2T priority patent/DE112017005615T5/de
Priority to KR1020197010715A priority patent/KR102277852B1/ko
Priority to CN201780069971.3A priority patent/CN109964101B/zh
Priority to PCT/JP2017/033185 priority patent/WO2018088024A1/ja
Publication of JP2018118581A publication Critical patent/JP2018118581A/ja
Priority to US16/395,314 priority patent/US11117468B2/en
Application granted granted Critical
Publication of JP6597656B2 publication Critical patent/JP6597656B2/ja
Expired - Fee Related legal-status Critical Current
Anticipated expiration legal-status Critical

Links

Images

Landscapes

  • Details Of Measuring Devices (AREA)
  • Instrument Panels (AREA)
  • Indicating Measured Values (AREA)

Description

本発明は、車両に搭載される車両用表示装置に関する。
従来、車両に搭載される車両用表示装置が知られている。特許文献1に開示の装置は、表示パネル及び表示板を有している。表示パネルは、各種警告メッセージないしは警告灯等の警告を表示可能に形成されている。表示板は、表示パネルよりも視認側に配置され、窓部において警告の表示を透過させる。
また、表示板は、窓部以外の領域にヘアライン模様を形成している。表示パネルは、ヘアライン模様に連続した模様を、背景として表示している。
特開2008−122214号公報
こうした特許文献1の装置では、警告の表示とヘアライン模様のような表示内容との両方を、同じ表示パネルによって表示しているため、両表示が平面的に視認され、立体感に乏しい。さらに、両表示を同時に表示してしまっているため、警告の表示が目立ち難く、視認性が良好ではなかった。このため、視認者が警告を認識し難いという問題があった。
本発明は、以上説明した問題に鑑みてなされたものであって、その目的は、立体感を向上すると共に、視認性良好に警告を表示することで、視認者が警告を認識し易い車両用表示装置を提供することにある。
本発明は、車両に搭載される車両用表示装置であって、
警告を表示可能に形成された警告表示部(40a,40b)と、
警告表示部よりも視認側に配置され、警告の表示を透過させる透光板(52)を有し、
透光板において、警告の表示と重畳する領域(SPa,SPb)に警告表示部とは別の表示内容を通常時に点灯表示する透光表示部(50a,50b)と、
警告表示部及び透光表示部の表示を制御する表示制御部(78)と、を備え、
表示制御部は、警告表示部の警告を表示する場合に、透光表示部の表示内容を一時的に消灯させ
透光表示部は、
透光板の内部に光を提供する光源部(58)と、
透光板に形成され、光源部からの光を視認側に反射することにより、表示内容を点灯表示する反射部(54)と、を有し、
反射部は、透光板の外縁部に沿って配列された複数の目盛(67a)を含む目盛図柄(67)を、表示内容として有し、
光源部は、各目盛に個別に対応する複数の発光素子(58a)を有し、
表示制御部は、各発光素子の点灯及び消灯を個別に制御することにより、目盛図柄の目盛の一部又は全部を点灯表示させて、車両の状態を表示させる。
このような発明によると、透光表示部は、透光板において、警告の表示と重畳する領域に警告表示部とは別の表示内容を点灯表示する。ここで、警告の表示を透過させる透光板は、警告表示部よりも視認側に配置されているので、警告の表示は、透光表示部の表示内容よりも奥に表示されることとなり、立体感を演出できる。そして、通常時に点灯表示されている透光表示部の表示内容は、警告表示部にて警告を表示する場合に、一時的に消灯される。透光表示部の表示内容が消えることで、警告の表示が視認し易くなるだけでなく、消灯による表示の変化によって警告の表示が目立つため、視認者の注目を集め易くなる。以上により、立体感を向上すると共に、視認性良好に警告を表示することで、視認者が警告を認識し易い車両用表示装置を提供することができる。
なお、括弧内の符号は、記載内容の理解を容易にすべく、後述する実施形態において対応する構成を例示するものに留まり、発明の内容を限定することを意図するものではない。
一実施形態における車両用表示装置の正面図である。 図1のII−II線断面図である。 一実施形態における遮光区画部を透光板側からみた図である。 図3のIV−IV線矢視図である。 図4のV−V線矢視図である。 図3のVI−VI線断面において、遮光区画部と透光板及び光源部との位置関係を示す断面図である。 図3のVII−VII線断面図である。 図2のVIII部を部分的に拡大した拡大断面図である。 一実施形態における反射部における配列領域を部分的に拡大して示す拡大図である。 一実施形態における車両用表示装置の回路等を説明するためのブロック図である。 一実施形態における車両用表示装置によるフローチャートである。 一実施形態における表示の例を示す図であって、透光表示部が表示状態であり、警報表示部が非表示状態である場合を示す図である。 一実施形態における表示の例を示す図であって、透光表示部が非表示状態であり、警報表示部が表示状態である場合を示す図である。 一実施形態における表示の例を示す図であって、透光表示部及び警報表示部が重畳表示されている状態である場合を示す図である。
以下、本発明の一実施形態を図面に基づいて説明する。
図1に示すように、本発明の一実施形態による車両用表示装置100は、車両に搭載され、当該装置100を視認する乗員が着座する座席と対向するインストルメントパネルに設置されている。車両用表示装置100は、乗員が位置することとなる視認側へ向けて車両の状態を表示可能となっている。
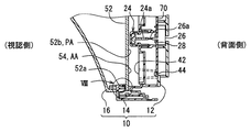
このような車両用表示装置100は、図2にも示すように、ケース部10、指針表示部20a,20b、液晶表示部30、警告表示部40a,40b、透光表示部50a,50b、及びメイン回路基板70を備えている。
ケース部10は、背面ケース12、枠ケース14、及びスモーク板16を備えている。背面ケース12は、例えば遮光性を有する合成樹脂により形成され、各表示部20a,20b,30,40a,40b及びメイン回路基板70を背面側から覆っている。枠ケース14は、例えば遮光性を有する合成樹脂により、装置100の外周輪郭に沿って視認側及び当該視認側とは反対側の背面側に開口部を有する筒状に形成されている。スモーク板16は、例えば着色されたアクリル樹脂等の半透光性樹脂により、枠ケース14の視認側開口部の全面を塞ぐ曲面板状に形成されている。これにより、各表示部20a,20b,30,40a,40b,50a,50bは、スモーク板16を通して乗員に視認されることとなる。本実施形態のスモーク板16は、スモーク調の着色により、透過率が30%程度に設定されているが、30%以上の任意の値に設定されていてもよい。
指針表示部20a,20bは、指針24が指標22を指示することにより、車両の状態を表示する。指標22は、表示板18に設けられている。表示板18は、一般的に文字板とも呼ばれている。表示板18は、例えば透光性を有する合成樹脂からなる基材の視認側の表面に、半透光性又は遮光性の印刷が部分的に施されて、平板状に形成されている。なお、印刷に代えて、塗装が施されていてもよい。
特に本実施形態では、表示板18の左側の領域及び右側の領域にそれぞれ、指針表示部20a,20bが設けられている。ここで、2つの指針表示部20a,20bは互いに同様の構成となっているため、右側の指針表示部20aについて代表して説明する。指針表示部20aの指標22は、表示板18上の印刷により、目盛及び当該目盛に対応する文字を円環状に配列して形成されている。
指針24は、連結部24a及び指示部24bを一体的に有している。連結部24aは、表示板18に空けられた貫通穴を通して配置されており、表示板18よりも背面側のメイン回路基板70に保持された指針駆動モータ26(例えばステッピングモータ)の回転軸26aと連結されている。指示部24bは、表示板18よりも視認側に配置され、表示板18に沿って延伸する針状を呈している。指針24は、指針駆動モータ26の出力に応じて回動するようになっている。
なお、本実施形態において、右側の領域に対応した指針24は、車両の状態として、車両の速度を表示するようになっている。左側の領域に対応した指針24は、車両の状態として、車両のエンジン回転数を表示するようになっている。
液晶表示部30は、表示板18の中央の領域に、2つの指針表示部20a,20bに挟まれた配置にて設けられている。液晶表示部30は、表示板18よりも背面側に配置された液晶パネル32からの表示光が表示板18に印刷が設けられないことで形成された透過領域36を視認側に透過することで、画像を表示可能となっている。
本実施形態の液晶パネル32は、薄膜トランジスタ(Thin Film Transistor、TFT)を用いた液晶パネルであって、2次元方向に配列された複数の液晶画素から形成されるアクティブマトリクス型の液晶パネルとなっている。液晶パネル32は、視認側に矩形状の表示面を形成している。液晶パネル32がバックライト34により背面側から照明されて、画像が表示される。
警告表示部40a,40bは、特に本実施形態では各指針表示部20a,20bよりも下側の2箇所に、表示板の外縁部に沿って、それぞれ設けられている。警告表示部40a,40bは、警告を表示可能に形成されている。具体的に、警告表示部40a,40bは、各種警告を示す複数の警告灯42を有している。各警告灯42は、表示板18に印刷されたマークとして形成されている。
警告表示部40a,40bは、各警告灯42に個別に対応する複数の発光素子44を、メイン回路基板70に保持された状態で有している。当該警告灯に個別に対応する発光素子44が発光し、当該警告灯42のマークを背面側から照明することにより、警告表示部40a,40bは発光表示される。各発光素子44には、発光ダイオードが採用されており、各発光素子44は電源と接続されることで発光する。
警告灯42のマークとしては、乗員がシートベルトを着用していないことを示す警告マーク、車両が半ドア状態であることを示す警告マーク、ブレーキに異常が発生していることを示す警告マーク等が存在している。
こうした警告表示部40a,40bの警告表示は、通常時には非表示状態となっており、異常発生時等に表示される。警告表示部40a,40bの警告の表示色は、赤色に設定されているが、他のアンバー(橙色)等の表示色に設定されてもよい。
透光表示部50a,50bは、警告表示部40a,40bが表示される表示板18よりも視認側に配置されている透光板52を用いて表示を行なう。透光板52は、例えば透光性を有する合成樹脂により、表示板18と略平行に配置された平板状を呈している。そして、透光板52は、その透光性によって、警告表示部40a,40bによる警告の表示を乗員により視認可能に透過させるようになっている。
特に本実施形態では、透光板52のうち、各警告表示部40a,40bと対向する2つの領域、すなわち各警告表示部40a,40bによる警告の表示と重畳する2箇所の領域SPa,SPbに対応して、透光表示部50a,50bがそれぞれ設けられている。右側の透光表示部50a及び左側の透光表示部50bは、1つの透光板52を共有し、さらに互いに同様の構成となっているため、以下では右側の透光表示部50aについて代表して説明する。具体的に、透光表示部50aは、光源部58、遮光区画部60及び反射部54を有している。
光源部58は、光源用回路基板58b上に複数の発光素子58aを配列して形成されている。各発光素子58aには、発光ダイオードが採用されており、各発光素子58aは電源と接続されることで発光する。特に本実施形態では、各発光素子58aがマルチカラーの発光ダイオードとなっているが、点灯状態の発光素子58aは、互いに実質同一の色及び実質同じ輝度で発光を制御されるようになっている。
こうした光源部58は、透光板52の外縁部52aと対向して配置されている。各発光素子58aから発せられた光が当該外縁部52aを介して透光板52の内部に入射することで、光源部58は、透光板52の内部に光を提供可能となっている。
遮光区画部60は、図1,3〜8に示すように、例えば遮光性を有するエストラマにより弾性を有して形成され、光源部58の各発光素子58aを囲い込む中空の筒状を呈している。遮光区画部60において透光板52側には、当該透光板52の外縁部52aと当接し、各発光素子58aに個別に対応した矩形状の開口部61を複数配列している。遮光区画部60において透光板52の反対側は、光源用回路基板58bを配置するために開口しているが、光源用回路基板58bの外縁部と隙間少なく当接する当接壁65が設けられていることで、各発光素子58aの光の漏光を防止するようになっている。
遮光区画部60は、各開口部61から光源用回路基板58bの表面に向かって沿設された区画壁62を有しており、当該区画壁62によって、各発光素子58aに対応した矩形筒状の筒状空間63が形成されている。当該筒状空間63毎に1つの発光素子58aが配置され、区画壁62の端部が光源用回路基板58bの表面と当接することで、各発光素子58aの光の他の筒状空間63への漏光を防止するようになっている。こうして、遮光区画部60は、光源部58において互いに隣り合って配置された発光素子58の間に配置された区画壁62によって、各発光素子58aを区画する。各発光素子58aは、それぞれ、透光板52のうち、外縁部52aの延伸方向に互いにずれた照明範囲に、光を提供する。
また、遮光区画部60の透光板52側には、透光板52の外縁部52a近傍の表面を部分的に覆うカバー部64が形成されている。カバー部64には、透光板52の板厚方向に沿って、当該カバー部64から透光板52の内部へ向かって突出するピン64aが形成されている。一方の透光板52には、ピン64aに対応した嵌合穴52cが形成されており、ピン64aが嵌合穴52cに嵌合している。さらにそのカバー部64は、枠ケース14において視認側から背面側に突出する突起部14aに圧接され、枠ケース14と透光板52との間に挟まれている。こうして、遮光区画部60が安定的に保持されると共に、光源部58の光が漏光を防止されつつ、確実に透光板52の内部に提供される。
反射部54は、図1に示すように、透光板52に形成され、光源部58からの光を視認側に反射することにより、表示内容を点灯表示する。具体的に図9に示すように、反射部54は、複数の微細なサイズに設定された反射素子55を、2次元的に配列して形成されている。各反射素子55は、透光板52の背面側から当該透光板52の内部に凹む凹穴状に形成されている。各反射素子55は、反射面56a、裏面56b、及び2つの側面56cを有している。
反射面56aは、反射素子55のうち、光源部58からの光が入射する外縁部52a側を向いて配置され、光源部58からの光を視認側に反射する。反射面56aは、透光板52の内部に凹となる曲面状に形成されており、少なくとも、各発光素子58aの照明範囲がずれた方向に曲率を有している。特に本実施形態では、反射面56aは、円筒面状に形成され、その母線GLは、背面側から視認側へ向かう程、光源部58から遠ざかるように、透光板52の板厚方向に対して傾斜して配置されている。裏面56bは、反射面56aとは反対側を向いて設けられることで、反射面とは背中合わせに配置された平面状を呈している。2つの側面は、反射面の側端部と裏面の側端部との間に、それぞれ配置され、平面状を呈している。
反射部54において各反射素子55は、透光板52の沿設方向に沿って平坦に形成された平坦部52bを介することで、互いに離間して、1つずつ配置されている。こうした反射素子55が配列された配列領域AAでは光が視認側に反射されることにより、領域AA全体が光って表示される。一方で反射素子55が配置されずに、平坦部52bのみで構成された平坦領域PAでは、光源部58からの光が視認側に略反射されないので、何も表示されない。配列領域AAと平坦領域PAの配置により、反射部54は、図柄を表示可能となっている。なお、図9において実線の矢印は、光源部58からの光が反射される方向を模式的に示している。
具体的に、本実施形態の図柄は、図1に示すように、透光板52の外縁部52aに沿って互いに配列された複数の目盛67aを含む目盛図柄67を、表示内容として表示可能となっている。各目盛67aは、光源部58の各発光素子58aに個別に対応している。詳細に、各目盛67aは、各発光素子58aから遮光区画部60の各開口部61の延長線上に、配置され、その目盛67a自身も、当該延長線に沿った方向に延伸している。各目盛67aの延伸寸法は、透光板52の外縁部52aのうち一方に進むに従って漸次大きくなっている。
なお、本実施形態において、右側の透光表示部50aは、領域SPaにて、警告表示部40aとは別の表示内容として、車両の燃料残量を通常時に点灯表示するようになっている。左側の透光表示部50bは、領域SPbにて、警告表示部40bとは別の表示内容として、車両のエンジン冷却水の水温を通常時に点灯表示するようになっている。各透光表示部50a,50bの表示内容の表示色は、白色に設定されるが、重畳する警告表示部40a,40bの警告表示と異なる表示色であれば他の色に設定されてもよい。
なお、各透光表示部50a,50bの光源部58の発光素子58aを全て消灯した場合には、各反射素子55の反射面56aには光は提供されず、さらに各反射素子55が微細なサイズかつ平坦部52bを介して形成されているので、乗員から目盛図柄67は殆ど視認できなくなってしまう。
メイン回路基板70は、図2に示すように、表示板18及び液晶パネル32の背面側に配置され、背面ケース12によって保持されている。メイン回路基板70には、図10に示す電源回路71、メータ駆動ドライバ72、メータ照明ドライバ73、液晶表示ドライバ74、透光表示ドライバ75a,75b、及び制御回路76等が設けられている。
電源回路71は、リニア方式又はスイッチング方式のDC−DCコンバータである。電源回路71は、車両に搭載されたバッテリ電源と接続されている。電源回路71は、バッテリ電源(+B)から供給される直流電源を例えば5ボルト程度の出力電圧に変圧し、制御回路76及び各ドライバ72,73,74,75a,75bに出力電圧を安定的に供給する。
メータ駆動ドライバ72は、制御回路76からの指令に基づく制御信号を各指針駆動モータ26へ向けて出力する。メータ駆動ドライバ72は、各指針駆動モータ26を駆動することで、各指針24の指示位置を制御する。
メータ照明ドライバ73は、制御回路76からの指令に基づく制御信号を指針表示光源28へ向けて出力する。こうしてメータ照明ドライバ73は、指針表示光源28の発光を制御することで、表示板18上の各指標22及び各指針24を点灯表示させる。
また、メータ照明ドライバ73は、制御回路76からの指令に基づく制御信号を、警告表示部40a,40bを表示させる発光素子44へ向けて出力する。こうしてメータ照明ドライバ73は、警告表示部40a,40bの表示態様を制御する。
液晶表示ドライバ74は、制御回路76からの指令に基づく制御信号を液晶パネル32及びバックライト34へ向けて出力する。こうして液晶表示ドライバ74は、表示面に表示される画像の表示態様を制御する。
透光表示ドライバ75a,75bは、左右の透光表示部50a,50b毎に、1つずつ設けられている。各透光表示ドライバ75a,75bは、制御回路76からの指令に基づく制御信号を対応する透光表示部50a,50bの光源部58へ向けて出力する。こうして各透光表示ドライバ75a,75bは、対応する透光表示部50a,50bの表示態様を制御する。
制御回路76は、装置100の表示を制御する電子回路である。制御回路76は、車両に搭載された車載ネットワーク2の通信パスと通信可能に接続されている。制御回路76は、少なくとも1つのプロセッサ及び記憶部79等を有するマイクロコントローラを主体に構成されている。記憶部79には、表示に必要な表示制御プログラム、及び種々の画像を描画するための画像データ等が格納されている。制御回路76は、記憶部79により記憶された表示制御プログラムをプロセッサによって実行することにより、情報取得部77、表示制御部78、及び発光制御部80等の機能ブロックを構築している。
情報取得部77は、車載ネットワーク2等から、車両の状態を示す種々の情報を取得する。取得する情報としては、車両の速度、エンジン回転数、燃料残量、エンジン冷却水の水温等の他、車両の特定箇所の異常を示す異常情報等が採用されている。情報取得部77は、車両の起動中において情報を継続的に取得する。
表示制御部78は、情報取得部77からの情報に基づき、各ドライバ72,73,74,75a,75bと協働して、装置100の表示を制御する。表示制御部78は、例えば各透光表示部50a,50bの表示を制御する。具体的に、表示制御部78は、情報取得部77が取得した車両の燃料残量の情報に基づいて、右側の透光表示部50aの光源部58において各発光素子58aの点灯及び消灯を個別に制御する。
すなわち、燃料残量が満タン(車両の燃料タンクの上限まで給油された状態)である場合には、表示制御部78は、目盛図柄67の各目盛67aに対応する発光素子58aを全て点灯させる。これにより、各目盛67aが全て点灯表示された状態となり、燃料残量が満タンであることが表示される。一方、燃料残量が満タンよりも少ない所定量である場合には、表示制御部78は、目盛図柄67の各目盛67aに対応する発光素子58aのうち、延伸寸法が小さい左側の一部の目盛67aに対応する一部の発光素子58aを点灯させ、他部の発光素子58aを消灯させる。これにより、一部の発光素子58aに対応する目盛67aのみが点灯表示された状態となり、燃料残量が所定量であることが表示される。
また同様に、表示制御部78は、情報取得部77が取得した車両のエンジン冷却水の水温の情報に基づいて、左側の透光表示部50bの光源部58において各発光素子58aの点灯及び消灯を個別に制御する。
表示制御部78は、また例えば各警告表示部40a,40bの警告の表示を制御する。具体的に、表示制御部78は、情報取得部77が取得した異常情報に基づいて、各警告表示部40a,40bにおける各発光素子44の点灯及び消灯を個別に制御する。すなわち、車両の特定箇所の異常を示す異常情報が取得された場合に、表示制御部78は、各発光素子44のうち、当該異常情報に対応する警告灯42を表示させるための発光素子44を、点灯させる。異常情報が何も取得されていない場合には、表示制御部78は、警告灯42を表示させるための発光素子44を、全て消灯させる。
加えて、表示制御部78は、警告表示部40aと透光表示部50aとの間で、また、警告表示部40bと透光表示部50bとの間で、表示態様を調整する。表示制御部78は、警告表示部40aの警告の表示の少なくとも1つを表示する場合に、当該警告表示部40aと重畳する透光表示部50aの表示内容を一時的に消灯させる。すなわち、右側の警告表示部40aに配置された警告灯42を表示する場合には、右側の透光表示部50aにおける燃料残量の表示が一時的に消灯される。
同様に、表示制御部78は、右側の警告表示部40bの警告の表示の少なくとも1つを表示する場合に、当該警告表示部40bと重畳する透光表示部50bの表示内容を一時的に消灯させる。すなわち、警告表示部40bに配置された警告灯42を表示する場合には、左側の透光表示部50bにおける水温の表示が一時的に消灯される。
より詳細には、表示制御部78は、警告表示部40aの警告が表示されている間、透光表示部50aの表示内容を点滅させる。すなわち、警告表示部40aに配置された警告灯42が表示されている間、透光表示部50aの燃料残量の表示が一時的な消灯と一時的な点灯を繰り返すことで点滅される。
同様に、表示制御部78は、警告表示部40bの警告が表示されている間、透光表示部50bの表示内容を点滅させる。すなわち、警告表示部40bに配置された警告灯42が表示されている間、透光表示部50bの水温の表示が一時的な消灯と一時的な点灯を繰り返すことで点滅される。
その他、表示制御部78は、指針表示部20a,20bの表示、及び液晶表示部30の画像表示等も制御する。
発光制御部80は、PWM制御部81及びデューティ制御部82を含んでいる。PWM制御部81及びデューティ制御部82は、発光制御部78と協働して、パルス信号の制御によって各発光素子58aに印加される電流の実効値を増減させて、各発光素子58aの発光輝度を調整する。発光制御部80は、PWM制御部81及びデューティ制御部82の各制御の切り替え又は各制御の組み合わせにより、透光表示部50a,50bの表示態様を変化させる。PWM制御部81及びデューティ制御部82の少なくとも一方によって生成されたスイッチング指令に基づき、透光表示ドライバ75a,75bから各透光表示部50a,50bの各発光素子58aにパルス信号が印加される。
PWM制御部81は、所定の周期のパルス信号において、電流のオン状態とオフ状態との時間比率を変更し、各発光素子58aの輝度を制御する。こうしたパルス幅変調制御では、電流をオン状態とするパルス幅が広くなり、単位周期あたりでオン状態となる時間比率が高くなる程、発光素子58aの輝度が高くなる。
デューティ制御部82は、電流がオン状態となる時間を一定時間とし、オフ時間の長さを変更することにより、各発光素子58aの輝度を制御する。こうしたパルス幅変調制御では、電流のオフ時間が短くなり、パルス信号の周波数が高く変調される程、発光素子58aの輝度が高くなる。
このような本実施形態の車両用表示装置100(主に表示制御部78)により実行される処理、特に警告表示部40a,40b及び透光表示部50a,50bに関連する処理を、図11のフローチャートに基づいて説明する。本フローチャートは、車両のエンジンスイッチがオン状態となったことを以って開始され、車両のエンジンスイッチがオフ状態になり次第終了するものとする。
まず、ステップS101では、上述の各種制御信号が制御回路76に入力される。ステップS101の処理後、ステップS102へ移る。
ステップS102では、表示制御部78は、表示制御仕様を決定する。ステップS102の処理後、ステップS103へ移る。
ステップS103では、表示制御部78は、各透光表示部50a,50b及び各警告表示部40a,40bを、瞬間的に、重畳表示する。ステップS103の処理後、ステップS104へ移る。
ステップS104では、表示制御部78は、ステップS102にて決定された表示制御仕様に基づいて、各透光表示部50a,50bの車両の状態の表示を開始し、継続する(図12参照)。ステップS104の処理後、ステップS105へ移る。
ステップS105では、表示制御部78は、車両の特定箇所の異常を示す異常情報が入力されなくなると、各警告表示部40a,40bの各警告灯42に点灯表示すべき警告灯42が存在しているか否かを判定する。ステップS105にて否定判定が下された場合、ステップS104へ戻る。ステップS105にて肯定判定が下された場合、ステップS106へ移る。
ステップS106では、表示制御部78は、点灯表示すべき警告灯42を点灯させて、警告の表示を開始する。これと共に、各透光表示部50a,50bのうち、点灯した警告灯42が属する警告表示部40a又は40bに対応する透光表示部50a又は50bを、一時的に消灯する。警告表示部40a,40bの両方に点灯表示する警告灯42が存在する場合には、透光表示部50a,50bの両方を、一時的に消灯する(図13参照)。透光表示部50a,50bの一時的な消灯は、1〜3秒程度の所定時間継続され、その後、ステップS107へ移る。
ステップS107では、表示制御部78は、ステップS106にて点灯を開始した警告灯42について、警告の表示を継続させつつ、一時的に消灯していた透光表示部50a又は50bを点灯表示させて、警告表示部40a又は40bとこれに対応する透光表示部50a又は50bとを重畳表示する(図14参照)。ステップS107の処理後、再びステップS105に移る。
すなわち、ステップS105からステップS107の処理を繰り返すことにより、警告表示部40a又は40bの警告灯42の警告が表示されている間には、対応する透光表示部50a又は50bの表示内容は点滅しているように視認される。
そして、車両の特定箇所の異常を示す異常情報が入力されなくなると、すなわち、異常が解消されて警告の表示が不要になると、ステップS105で否定判定されることとなるので、今度はステップS104とステップS105の処理が繰り返されることとなる。したがって、透光表示部50a,50bの表示内容のみが継続的に表示され、警告表示部40a,40bの警告は、非表示状態となる。
なお、各図において、目盛67a等の複数設けられた要素には、その一部にのみ符号が付されている。
(作用効果)
以上説明した本実施形態の作用効果を以下に説明する。
本実施形態によると、透光表示部50a,50bは、透光板52において、警告の表示と重畳する領域SPa,SPbに警告表示部40a,40bとは別の表示内容を点灯表示する。ここで、警告の表示を透過させる透光板52は、警告表示部40a,40bよりも視認側に配置されているので、警告の表示は、透光表示部50a,50bの表示内容よりも奥に表示されることとなり、立体感を演出できる。そして、通常時に点灯表示されている透光表示部50a,50bの表示内容は、警告表示部40a,40bにて警告を表示する場合に、一時的に消灯される。透光表示部50a,50bの表示内容が消えることで、警告の表示が視認し易くなるだけでなく、消灯による表示の変化によって警告の表示が目立つため、視認者の注目を集め易くなる。以上により、立体感を向上すると共に、視認性良好に警告を表示することで、視認者が警告を認識し易い車両用表示装置100を提供することができる。
また、本実施形態によると、警告表示部40a,40bの警告が表示されている間、透光表示部50a,50bの表示内容が点滅する。このようにすると、点滅により警告の表示に注目が行き易くなると共に、透光表示部50a,50bの表示内容が全く認識できなくなる事態も回避することができる。
また、本実施形態によると、両表示部40a,40b及び50a,50bの表示色が互いに異なるので、両表示の区別が付き易くなり、視認性が高まる。
また、本実施形態によると、透光表示部50a,50bにおける表示内容の点灯表示は、透光板52の内部に光を提供する光源部58からの光を視認側に反射する反射部54により実現されている。こうした表示内容の点灯表示では、斬新な見栄えにより、警告の表示との立体感は一層高まる。そして、斬新な見栄えの表示内容が視認者の注目を引き付けつつ、警告表示部40a,40bにて警告を表示する場合に消灯するので、警告の表示の誘目性も一層高まるのである。
また、本実施形態によると、透光表示部50a,50bの表示内容として、目盛図柄67の目盛67aの一部又は全部が点灯表示されることにより、車両の状態が表示される。警告表示部40a,40bの警告の表示と重畳した領域SPa,SPbにおいて警告とは別の車両の状態を表示することにより、表示スペースが節約できる。
また、本実施形態によると、透光表示部50a,50bは、互いに隣り合って配置された発光素子58aの間に、各発光素子58aを区画する遮光性の遮光区画部60を有する。このようにすると、互いに隣り合って配置された発光素子58aから発せられる光が互いに混ざり合うことが防止されるので、各発光素子58aに個別に対応する目盛67aを独立して発光させることは、容易に実現可能となる。
(他の実施形態)
以上、本発明の一実施形態について説明したが、本発明は、当該実施形態に限定して解釈されるものではなく、本発明の要旨を逸脱しない範囲内において種々の実施形態に適用することができる。
具体的に、変形例1としては、透光表示部50a,50bは、目盛図柄67以外の表示内容を表示するものであってもよい。例えば表示内容として、車両の状態を示すマーク、加飾のための模様等が採用されてもよい。
変形例2としては、透光表示部50a,50bは、光源部58からの光を反射する反射部54により、表示内容を表示するものでなくてもよい。例えば、透光板52として、有機ELディスプレイを採用し、当該有機ELディスプレイにより、表示内容が表示されてもよい。
変形例3としては、警告表示部40a,40bは、表示板18に印刷された警告灯42を点灯させて警告を表示するものでなくてもよい。例えば、警告表示部40a,40bは、液晶パネル又は有機ELディスプレイの画像によって警告を表示してもよい。
変形例4としては、表示制御部78は、警告表示部40a,40bの警告が表示されている間、透光表示部50a,50bの表示内容を消灯し続けるようにしてもよい。
100 車両用表示装置、40a,40b 警告表示部、50a,50b 透光表示部、52 透光板、78 表示制御部、SPa,SPb 警告の表示と重畳する領域

Claims (4)

  1. 車両に搭載される車両用表示装置であって、
    警告を表示可能に形成された警告表示部(40a,40b)と、
    前記警告表示部よりも視認側に配置され、前記警告の表示を透過させる透光板(52)を有し、前記透光板において、前記警告の表示と重畳する領域(SPa,SPb)に前記警告表示部とは別の表示内容を通常時に点灯表示する透光表示部(50a,50b)と、
    前記警告表示部及び前記透光表示部の表示を制御する表示制御部(78)と、を備え、
    前記表示制御部は、前記警告表示部の前記警告を表示する場合に、前記透光表示部の前記表示内容を一時的に消灯させ
    前記透光表示部は、
    前記透光板の内部に光を提供する光源部(58)と、
    前記透光板に形成され、前記光源部からの前記光を視認側に反射することにより、前記表示内容を点灯表示する反射部(54)と、を有し、
    前記反射部は、前記透光板の外縁部に沿って配列された複数の目盛(67a)を含む目盛図柄(67)を、前記表示内容として有し、
    前記光源部は、各前記目盛に個別に対応する複数の発光素子(58a)を有し、
    前記表示制御部は、各前記発光素子の点灯及び消灯を個別に制御することにより、前記目盛図柄の目盛の一部又は全部を点灯表示させて、前記車両の状態を表示させる車両用表示装置。
  2. 前記表示制御部は、前記警告表示部の前記警告が表示されている間、前記透光表示部の前記表示内容を点滅させる請求項1に記載の車両用表示装置。
  3. 前記透光表示部の前記表示内容の表示色は、前記警告表示部の前記警告の表示色と異なる請求項1又は2に記載の車両用表示装置。
  4. 前記透光表示部は、互いに隣り合って配置された前記発光素子の間に、各前記発光素子を区画する遮光性の遮光区画部(60)を有する請求項1から請求項3のいずれか1項に記載の車両用表示装置。
JP2017010424A 2016-11-08 2017-01-24 車両用表示装置 Expired - Fee Related JP6597656B2 (ja)

Priority Applications (6)

Application Number Priority Date Filing Date Title
JP2017010424A JP6597656B2 (ja) 2017-01-24 2017-01-24 車両用表示装置
DE112017005615.2T DE112017005615T5 (de) 2016-11-08 2017-09-14 Anzeigevorrichtung für ein fahrzeug
KR1020197010715A KR102277852B1 (ko) 2016-11-08 2017-09-14 차량용 표시 장치
CN201780069971.3A CN109964101B (zh) 2016-11-08 2017-09-14 车辆用显示装置
PCT/JP2017/033185 WO2018088024A1 (ja) 2016-11-08 2017-09-14 車両用表示装置
US16/395,314 US11117468B2 (en) 2016-11-08 2019-04-26 Display device for vehicle

Applications Claiming Priority (1)

Application Number Priority Date Filing Date Title
JP2017010424A JP6597656B2 (ja) 2017-01-24 2017-01-24 車両用表示装置

Publications (2)

Publication Number Publication Date
JP2018118581A JP2018118581A (ja) 2018-08-02
JP6597656B2 true JP6597656B2 (ja) 2019-10-30

Family

ID=63044273

Family Applications (1)

Application Number Title Priority Date Filing Date
JP2017010424A Expired - Fee Related JP6597656B2 (ja) 2016-11-08 2017-01-24 車両用表示装置

Country Status (1)

Country Link
JP (1) JP6597656B2 (ja)

Family Cites Families (7)

* Cited by examiner, † Cited by third party
Publication number Priority date Publication date Assignee Title
JPS5539284Y2 (ja) * 1975-04-30 1980-09-13
JP2002156251A (ja) * 2000-11-17 2002-05-31 Denso Corp 車両用計器
JP5132016B2 (ja) * 2000-12-26 2013-01-30 矢崎総業株式会社 メータ構造
JP2009186400A (ja) * 2008-02-08 2009-08-20 Calsonic Kansei Corp 車両用計器照明構造
JP5796475B2 (ja) * 2011-11-30 2015-10-21 日本精機株式会社 計器装置
JP6498995B2 (ja) * 2014-05-19 2019-04-10 矢崎総業株式会社 車両用表示装置
JP6478009B2 (ja) * 2014-09-08 2019-03-06 株式会社デンソー 表示装置

Also Published As

Publication number Publication date
JP2018118581A (ja) 2018-08-02

Similar Documents

Publication Publication Date Title
US7762703B2 (en) Heads-up display, motor vehicle and method of operating a heads-up display
CN109964101B (zh) 车辆用显示装置
JP4626710B2 (ja) 車両用表示装置
US20060158320A1 (en) Display device having decorative member on screen
US10266054B2 (en) Vehicle display device
US7278748B2 (en) Display apparatus
US10513182B2 (en) Vehicle display apparatus
JP6798266B2 (ja) 表示装置
JP6597656B2 (ja) 車両用表示装置
US20120087149A1 (en) Ultra-thin light guide for cluster gauge illumination over display structures
JP5083498B2 (ja) 照明装置
JP6615156B2 (ja) 車両表示装置
CN120265489A (zh) 显示系统
US20040189446A1 (en) Vehicle dashboard
JP4881860B2 (ja) 抑制された光および警告用の光で照らされる画面を有する指示器
JP4199383B2 (ja) 計器用表示装置
JP2001066166A (ja) 計器用表示装置
JP2005300359A (ja) 車両用表示装置
JP2003329964A (ja) 表示装置
US10807472B2 (en) Vehicular display device
JP4873318B2 (ja) 表示装置及び警報表示方法
JP7283344B2 (ja) 表示装置
EP3393841B1 (en) Vehicle instrument cluster provided with a monochromatic display
JP2002350193A (ja) 表示装置
JP5228687B2 (ja) 車両用表示装置

Legal Events

Date Code Title Description
A621 Written request for application examination

Free format text: JAPANESE INTERMEDIATE CODE: A621

Effective date: 20180913

A131 Notification of reasons for refusal

Free format text: JAPANESE INTERMEDIATE CODE: A131

Effective date: 20190528

A521 Request for written amendment filed

Free format text: JAPANESE INTERMEDIATE CODE: A523

Effective date: 20190719

TRDD Decision of grant or rejection written
A01 Written decision to grant a patent or to grant a registration (utility model)

Free format text: JAPANESE INTERMEDIATE CODE: A01

Effective date: 20190903

A61 First payment of annual fees (during grant procedure)

Free format text: JAPANESE INTERMEDIATE CODE: A61

Effective date: 20190916

R151 Written notification of patent or utility model registration

Ref document number: 6597656

Country of ref document: JP

Free format text: JAPANESE INTERMEDIATE CODE: R151

LAPS Cancellation because of no payment of annual fees